32004R2086[1]
A Bizottság 2086/2004/EK rendelete (2004. november 19.) az 1606/2002/EK európai parlamenti és tanácsi rendelettel összhangban az egyes nemzetközi számviteli szabványok elfogadásáról szóló 1725/2003/EK rendelet módosításáról
A BIZOTTSÁG 2086/2004/EK RENDELETE
(2004. november 19.)
az 1606/2002/EK európai parlamenti és tanácsi rendelettel összhangban az egyes nemzetközi számviteli szabványok elfogadásáról szóló 1725/2003/EK rendelet módosításáról
(EGT vonatkozású szöveg)
AZ EURÓPAI KÖZÖSSÉGEK BIZOTTSÁGA,
tekintettel az Európai Közösséget létrehozó szerződésre,
tekintettel a nemzetközi számviteli szabványok alkalmazásáról szóló, 2002. július 19-i 1606/2002/EK európai parlamenti és tanácsi rendeletre (1) és különösen annak 3. cikke (1) bekezdésére,
mivel:
(1) Az 1725/2003/EK bizottsági rendelettel (2) egyes, 2002. szeptember 1-jén érvényben lévő nemzetközi szabványok és értelmezések elfogadásra kerültek.
(2) A Nemzetközi Számviteli Szabványok Bizottsága (International Accounting Standards Board, IASB) közzétette a felülvizsgált 39., Pénzügyi eszközök mérlegbe állítása és értékelése nemzetközi számviteli szabványt (International Accounting Standard, IAS) annak a kezdeményezésnek a keretében, amely tizenöt szabványon kívánt javítani az IAS-t 2005-ben első alkalommal alkalmazó társaságok számára. A felülvizsgálat célja az volt, hogy tovább javítsa a meglévő IAS-ek összességének minőségét és összhangját.
(3) Az IASB 2004. március 31-én kiadta a 39. IAS módosítását Pénzügyi eszközök: fedezeti ügyletek mérlegbe állítása és értékelése piaci értéken, a kamatfedezeti portfóliókra tekintettel címen. A javítás általános célja a 39. IAS megvalósításának leegyszerűsítése volt a piaciérték-alapú fedezeti ügyleti elszámolás lehetővé tételével a kamatfedezeti portfóliók esetében.
(4) Az 1606/2002/EK rendelet értelmében a Bizottság célja a nemzetközi számviteli szabványok állandó fórumának létrehozása 2005. január 1-jétől. Ugyanakkor a 39. IAS fontos rendelkezéseinek egy része továbbra is vita tárgyát képezi az IASB, az Európai Központi Bank, a biztonsági felügyeletek és a bankágazat között. Ezen rendelkezések a fedezeti ügyletek mérlegbe állításához és azon lehetőséghez kapcsolódnak, hogy minden pénzügyi eszköz és kötelezettség értékelése piaci értéken történjen. Az összes rendelkezés a szabvány többi részétől teljes mértékben független, eltérő és különálló területeket érint. A 2005. január 1-jei dátum betartása érdekében szükséges a 39. IAS bevezetése az előbbi rendelkezések kivételével.
(5) A 39. IAS lehetővé teszi, hogy minden pénzügyi eszköz és kötelezettség értékelése mindenfajta megszorítás nélkül piaci értéken történjen. Ugyanakkor az IASB nemrégiben közzétett egy, a 39. IAS módosítását javasló kockázatfeltáró tervezetet (vitairat) annak érdekében, hogy a szabványban említett piaci értéken történő értékelés lehetőségét korlátozzák. A javasolt módosítás közvetlen válasz az Európai Központi Bank, a Baseli Bizottság biztonsági felügyeleteinek, valamint a tagállamok értékpapír-szabályozóinak aggodalmaira, miszerint a piaci értéken történő értékelés nem megfelelő alkalmazásra kerülhet, különösen a vállalatok saját kötelezettségeinek esetében. A Bizottság fontosnak és további vizsgálatokat igénylő kérdéseknek tartja ezeket. Az IASB számos észrevételt kapott a felvetett módosítással kapcsolatban, és 2004 végéig határozatot kell hoznia. A rendelet lehetővé teszi a piaci értéken történő értékelés pénzügyi eszközökre való alkalmazását. Ugyanakkor a nem élénk és likvid piacú pénzügyi eszközök esetében a társaságoknak ügyelniük kell arra, hogy a piaci értéken történő értékelés lehetőségét a pénzügyi eszközökre úgy alkalmazzák, hogy az megbízható értékeléshez vezessen.
(6) A teljes körű piaci értékelés lehetőségének nem szabad hatályba lépnie mindaddig, amíg az IASB nem talál megoldást erre a célra, és a Bizottság nem tekinti úgy, hogy az megfelelő. Mivel a teljes körű piaci értékelés csak lehetőség, a hozzá kapcsolódó rendelkezések világosan különböznek és elkülönítendőek a szabvány egyéb részeitől.
(7) A fedezeti ügyletek elszámolásával kapcsolatban még folyik a vita arról, hogy a 39. IAS kellőképpen számításba veszi-e az európai bankok saját módszereit az eszköz- és kötelezettségkezelés területén, különösen rögzített kamatlábak mellett. A vita középpontjában a fedezeti ügyletek hatékonyságát illető szigorú követelmények, illetve annak kérdése áll, hogy a fedezeti ügyleti elszámolás csak a cash-flow-t vagy csak a piaci értéket fedező ügyletekre vonatkozzon.
(8) Számos európai bank úgy ítéli, hogy a 39. IAS nem teszi számára lehetővé a portfólióalapú fedezeti ügyleti elszámolás alkalmazását a törzsbetétjeire, és arra kényszerítené, hogy aránytalan és költséges változtatásokhoz folyamodjon mind az eszköz- és kötelezettségkezelés, mind pedig a számviteli rendszer területén. Mivel a portfóliófedezeti ügyletek - a belső interakcióknak és a nagy számok törvényének köszönhetően - különböznek az egyedi eszközök és kötelezettségek fedezeti ügyleteitől, a bankok úgy ítélik, hogy a törzsbetétek piaci értékbecslésen alapuló fedezeti ügyleti elszámolása megfelel a 39. IAS azon elvének, amely szerint egy látra szóló pénzügyi kötelezettség piaci értéke nem lehet alacsonyabb, mint a látra fizetendő összeg.
(9) Az IASB fontosnak találta annak kérdését, hogy a portfóliófedezeti ügyletek számvitele megtervezhető-e úgy, hogy jobban tükrözze a rögzített kamatlábbal dolgozó bankok sajátosságait. Elsődleges prioritásként egy munkacsoportot hozott létre, amely az európai bankok javaslatait vizsgálja egy új fedezeti ügyleti elszámolási rendszernek a 39. IAS-be történő beillesztése kapcsán (kamatrésfedezet), jobban tükrözve a bankok eszköz- és kötelezettségkezelési módját.
(10) A 39. IAS rendelkezéseit, amelyek közvetlenül kapcsolódnak a portfóliófedezeti ügyletek elszámolási módjához, jelenleg nem kellene kötelező érvényűként alkalmazni, mivel nem tekinthetők véglegesnek és még változhatnak a közeljövőben. A nem kötelező érvényű rendelkezések világosan különböznek és elkülönülnek a standard többi részétől. Ez azokra a rendelkezésekre érvényes, amelyek nem tükrözik a portfólióalapú megközelítést, és éppen ezért nem teszik lehetővé a törzsbetét-portfóliókra alkalmazott fedezeti ügyleti elszámolást, valamint azokra a rendelkezésekre, amelyek az előtörlesztési kockázatot a kamatlábkockázatba olvasztják, ezzel megakadályozva a bankfelügyeletek által elismert kockázatkezelési technikákat. Ugyanakkor a cégek választhatják e rendelkezések alkalmazását, és a teljes fedezeti ügyleti elszámolást hozzáigazíthatják a 39. IAS-hez.
(11) A közösségi jogban a pénzügyi eszközkezelés számviteli szabványának létezése alapvető elemet jelent a cégek 2005-ben alkalmazandó szabványai között. Éppen ezért a cél, hogy mihamarabb - és ha lehetséges, legkésőbb 2005 végéig - kialakuljon egy olyan helyzet, amely lehetővé teszi, hogy a Bizottság elfogadja a 39. IAS módosítását. Ennek megfelelően a Bizottság legkésőbb 2005. december 31-ig felülvizsgálja a 39. IAS alkalmazhatóságát, amint a piaci értéken történő értékelés lehetőségéhez és a fedezeti ügyleti elszámoláshoz kapcsolódó rendelkezéseket az IASB módosította. Az IASB, az Európai Központi Bank és a bankfelügyeletek dolgoznak a teljes piaci értéken történő értékelés lehetősége megoldásán. Ennek megfelelően a Bizottság közelről figyeli a folyamatban lévő munkát, és rendszeresen felül fogja vizsgálni a szabvány alkalmazhatóságát. Hasonlóképpen, a fedezeti ügyleti elszámolással kapcsolatos megfelelő rendelkezések elfogadása a közeljövőben szorosan összefügg az IASB által felállított munkacsoportok előrelépéseivel.
(12) Azok a társaságok, amelyek pénzügyi beszámolóikat első alkalommal készítik el a nemzetközi pénzügyi beszámolási szabványnak (IFRS) megfelelően, és az ehhez a rendelethez tartozó melléklet szerint alkalmazzák a 39. IAS-t, az IFRS 1 értelmében "első alkalommal alkalmazók"-nak tekintendők, megfelelően a 707/2004/EK, valamint ennek a rendeletnek. Az IFRS 1 célja, hogy a teljes IAS/IFRS-ra való áttérés költsége ne haladja meg a pénzügyi beszámolókat alkalmazók hasznát. Ez az érvelés érvényes a jóváhagyott IAS teljes körű alkalmazására történő áttérés esetében. Ennek megfelelően az IFRS 1-ben megtalálható, az IAS/IFRS-re vonatkozó hivatkozásokat, amelyet a 707/2004/EK rendelet fogadott el, az 1606/2002/EK rendelet alapján elfogadott IAS/IFRS-re való hivatkozásként kell értelmezni.
(13) A 39. IAS elfogadása maga után vonja az 1725/2003/EK rendelet által elfogadott 12., 18., 19., 30., 36., 37. és SIC-27 IAS-nek a számviteli szabványok közötti összhang biztosítása érdekében történő módosításait.
(14) Éppen ezért a Bizottság arra a következtetésre jutott, hogy a 39. IAS e rendelet mellékletében megállapított módon megfelel az 1606/2002/EK rendelet 3. cikkében az elfogadáshoz megállapított kritériumoknak.
(15) Az 1725/2003/EK rendeletet ezért megfelelően módosítani kell.
(16) Az ebben a rendeletben előírt rendelkezések összhangban vannak a Számviteli Szabályozási Bizottság véleményével,
ELFOGADTA EZT A RENDELETET:
1. cikk
(1) Az 1725/2003/EK rendelet melléklete a 39. Pénzügyi eszközök: fedezeti ügyletek mérlegbe állítása és értékelése nemzetközi számviteli szabvánnyal (IAS) egészül ki egyes, a piaci értéken történő értékelés lehetőségét érintő, valamint a fedezeti ügyleti elszámolással kapcsolatos rendelkezéseinek kivételével.
A kiegészítés szövege, ahogy az (1) albekezdésben említésre került, e rendelet mellékletében került meghatározásra.
(2) Az (1) bekezdésnek megfelelően a társaságok "első alkalommal alkalmazóknak" tekintendők. Az IFRS 1 hivatkozásait az IAS/IFRS-re az 1606/2002/EK bizottsági rendelet alapján kell az IAS/IFRS-re tett hivatkozásként említeni.
(3) A 12., 18., 19., 30., 36., 37. és a SIC-27, csakúgy mint az 1. számú nemzetközi pénzügyi beszámolási szabvány a 39. IAS B. függelékének megfelelően e rendelet mellékletében megállapított módon módosításra kerül.
2. cikk
Ez a rendelet az Európai Unió Hivatalos Lapjában történő közzététele utáni huszadik napon lép hatályba.
Legkésőbb 2005. január 1-jétől kell alkalmazni.
Kelt Brüsszelben, 2004. november 19-én.
a Bizottság részéről
Frederik BOLKESTEIN
a Bizottság tagja
(1) HL L 243., 2003.9.11., 1. o.
(2) HL L 261., 2003.10.13., 1. o. A legutóbb a 707/2004/EK rendelettel (HL L 111., 2004.4.17., 3. o) módosított rendelet.
MELLÉKLET
NEMZETKÖZI SZÁMVITELI SZABVÁNYOK
IAS-szám
Cím
39. IAS Pénzügyi eszközök: fedezeti ügyletek mérlegbe állítása és értékelése a piaci értéken történő értékelés lehetőségének használatát érintő, valamint a fedezeti ügyleti elszámolást illető egyes rendelkezések kivételével
Sokszorosítása az Európai Gazdasági Térségben megengedett. Minden jog fenntartva az EGT-n kívül, kivéve a személyes felhasználás vagy más jogszerű eljárás céljából történő sokszorosítás jogát. További információ az IASB-től szerezhető be a www.iasb.org címen.
IAS 39 NEMZETKÖZI SZÁMVITELI STANDARD
Pénzügyi instrumentumok: Megjelenítés és értékelés
TARTALOM
Cél
Hatókör
Fogalmak
Beágyazott származékos termékek
Megjelenítés és kivezetés
Kezdeti megjelenítés
Pénzügyi eszköz kivezetése
Átadások, amelyek megfelelnek a kivezetés feltételeinek
Átadások, amelyek nem felelnek meg a kivezetés feltételeinek
Folytatódó részvétel az átadott eszközökben
Valamennyi átadás
A pénzügyi eszközök szokásos módon történő vétele vagy eladása
A pénzügyi kötelezettség kivezetése
Értékelés
Pénzügyi eszközök és pénzügyi kötelezettségek kezdeti értékelése
Pénzügyi eszközök későbbi értékelése
Pénzügyi kötelezettségek későbbi értékelése
A valós értéken történő értékelés szempontjai
Átsorolások
Nyereségek és veszteségek
Pénzügyi eszközök értékvesztése és behajthatatlansága
Amortizált bekerülési értéken nyilvántartott pénzügyi eszközök
A bekerülési értéken nyilvántartott pénzügyi eszközök
Értékesíthető pénzügyi eszközök
Fedezeti ügyletek
Fedezeti instrumentumok
Minősített instrumentumok
Fedezeti instrumentumok megjelölése
Fedezett tételek
Minősített tételek
Pénzügyi tételek fedezett tételekként való megjelölése
Nem pénzügyi tételek fedezett tételekként való megjelölése
Tételek csoportjának fedezett tételekként való megjelölése
Fedezeti elszámolás
Valós érték fedezeti ügyletek
Cash flow fedezeti ügyletek
A nettó befektetés fedezeti ügyletei
Hatálybalépés napja és átmeneti rendelkezések
Egyéb kiadványok visszavonása
A jelen módosított standard hatályon kívül helyezi a (2000-ben módosított) IAS 39 Pénzügyi instrumentumok: megjelenítés és értékelés standardot, és a jelen módosított standardot a 2005. január 1-jén, vagy azt követően kezdődő éves időszakokra kell alkalmazni. A korábbi alkalmazás megengedett.
CÉL
1. A jelen standard célja, hogy megállapítsa a pénzügyi eszközökkel, pénzügyi kötelezettségekkel, valamint egyes, nem pénzügyi tételek adás-vételével kapcsolatos megjelenítési, értékelési és közzétételi alapelveket. A pénzügyi instrumentumokra vonatkozó információk bemutatására és közzétételére az IAS 32 Pénzügyi instrumentumok: közzététel és bemutatás standard határoz meg előírásokat.
HATÓKÖR
2. A jelen standardot kell alkalmaznia valamennyi egységnek valamennyi típusú pénzügyi instrumentumára, az alábbi kivételekkel:
(a) az IAS 27 Konszolidált és egyedi pénzügyi kimutatások, az IAS 28 Társult vállalkozásokban lévő befektetések, vagy a IAS 31 Közös vállalkozásokban lévő érdekeltségek standardok alapján elszámolt leányvállalatokban, társult vállalkozásokban, és közös vállalkozásokban meglévő érdekeltségek. Ugyanakkor azonban, az egységeknek a jelen standardot kell alkalmazniuk a leányvállalatban, társult vállalkozásban, vagy közös vállalkozásban lévő olyan érdekeltségre, amelyet az IAS 27, az IAS 28, vagy az IAS 31 szerint a jelen standard alapján számolnak el. A jelen standardot kell alkalmazniuk az egységeknek továbbá a leányvállalatban, társult vállalkozásban és közös vállalkozásban lévő részesedésekre vonatkozó származékos termékekre, kivéve, ha az adott származékos termék megfelel az egység tőkeinstrumentumának az IAS 32-ben meghatározott definíciójának.
(b) a lízingszerződések alapján fennálló jogok és kötelmek, amelyekre az IAS 17 Lízingek standard vonatkozik. Ugyanakkor azonban:
(i) a lízingbeadónál kimutatott lízing követelésekre vonatkoznak a jelen standard kivezetési és értékvesztésre vonatkozó előírásai (ld. 15-37., 58., 59., 63-65. bekezdések, valamint az A Függelék AG36-AG52. bekezdései és AG84-AG93. bekezdései);
(ii) a lízingbevevőnél elszámolt lízing kötelezettségekre vonatkoznak a jelen standard kivezetésre vonatkozó előírásai (ld. 39-42. bekezdések, valamint az A Függelék AG57-AG63. bekezdései); továbbá
(iii) a lízingügyletekbe beágyazott származékos termékekre vonatkoznak a jelen standard beágyazott származékos termékekre vonatkozó előírásai (ld. 10-13. bekezdések, valamint az A Függelék AG27-AG33. bekezdései).
(c) a munkáltatóknak a munkavállalói juttatási programokból származó jogai és kötelmei, amelyekre az IAS 19 Munkavállalói juttatások standard vonatkozik.
(d) a biztosítási szerződésekből eredő jogok és kötelmek. Ugyanakkor azonban, az egységeknek a jelen standardot kell alkalmazniuk egy olyan pénzügyi instrumentumra, amely egy az IAS 32 6. bekezdésében bemutatott biztosítási (viszontbiztosítási) szerződés formájában jelenik meg, de amely alapvetően az ugyanezen standard 52. bekezdésében leírt pénzügyi kockázatok átszállását foglalja magában. Ezen felül, a biztosítási szerződésekbe beágyazott származékos termékekre vonatkoznak a jelen standard beágyazott származékos termékekre vonatkozó előírásai (ld. 10-13. bekezdések, valamint az A Függelék AG27-AG33. bekezdései).
(e) az egység által kibocsátott pénzügyi instrumentumok, amelyek megfelelnek az IAS 32 tőkeinstrumentum definíciójának (beleértve az opciókat és warrantokat is). Ugyanakkor, az ilyen tőkeinstrumentumok birtokosának alkalmaznia kell a jelen standardot ezekre az instrumentumokra, kivéve, ha azok megfelelnek az (a) albekezdésben meghatározott kivételnek.
(f) a pénzügyi garanciát biztosító szerződések (beleértve a hitelleveleket, és egyéb hitel mulasztási szerződéseket) amelyek alapján meghatározott fizetést kell teljesíteni annak birtokosa számára az olyan veszteségért, amely azért következett be, mert valamely meghatározott adós az adósságinstrumentum (ld. 3. bekezdés) eredeti vagy módosított feltételei alapján annak esedékessé válásakor nem teljesítette fizetési kötelezettségét. Az ilyen pénzügyi garancia szerződést a kibocsátónak kezdetben valós értéken kell elszámolnia, majd később a következők közül a magasabb összegen kell értékelnie: (i) az IAS 37 Céltartalékok, függő kötelezettségek és függő követelések standard alapján elszámolt összeg, és (ii) a kezdetben elszámolt összeg, csökkentve (amikor alkalmazandó) az IAS 18 Bevételek standard alapján elszámolt halmozott amortizációval. A pénzügyi garanciákra alkalmazni kell a jelen standard kivezetésre vonatkozó rendelkezéseit (ld. 39-42. bekezdések, valamint az A Függelék AG57-AG63. bekezdései).
(g) egy üzleti kombináció során keletkező függő ellenértékekre vonatkozó szerződések (ld. az IAS 22 Üzleti kombinációk standard 65-67. bekezdések). E kivétel kizárólag a felvásárlóra vonatkozik.
(h) az olyan szerződések, amelyek éghajlati, geológiai, vagy más fizikai változók alapján írnak elő fizetést (ld. A Függelék AG1. bekezdés). Ugyanakkor azonban az ilyen szerződésekbe beágyazott származékos termékekre vonatkoznak a jelen standard beágyazott származékos termékekre vonatkozó előírásai (pl. ha egy kamat swap olyan éghajlati változótól függ, mint pl. a fűtési időszak napjai, a kamat swap rész beágyazott származékos terméknek minősül, ami a jelen standard hatálya alá esik - ld. 10-13. bekezdések, valamint A Függelék AG27-AG33. bekezdések).
(i) a 4. bekezdésben leírtak kivételével az olyan hitelnyújtási elkötelezettségek, amelyek nettó módon pénzeszközben vagy más pénzügyi instrumentumban nem teljesíthetők. Egy hitelnyújtási elkötelezettség nem minősül nettó módon teljesítettnek pusztán azért, mert a hitelt részletekben folyósítják (pl. a beruházási jelzálog hitel, melyet a beruházás előrehaladásával párhuzamosan, részletekben folyósítanak). Egy piaci kamatláb alatti kamatlábon történő hitelnyújtási elkötelezettség kibocsátójának azt kezdetben valós értéken kell elszámolnia, majd később a következők közül a magasabbon kell értékelnie: (i) az IAS 37 alapján elszámolt összeg, és (ii) a kezdetben elszámolt összeg, csökkentve (amikor alkalmazandó) az IAS 18 alapján elszámolt halmozott amortizációval. A hitelnyújtási elkötelezettség kibocsátójának az IAS 37-et kell alkalmaznia az egyéb olyan hitelnyújtási elkötelezettségekre, amelyek nem esnek a jelen standard hatálya alá. A hitelnyújtási elkötelezettségekre alkalmazni kell a jelen standard kivezetésre vonatkozó rendelkezéseit (ld. 15-42. bekezdések, valamint az A Függelék AG36-AG63. bekezdései).
3. A pénzügyi garanciaszerződésekre vonatkozik a jelen standard abban az esetben, ha ezek alapján a fizetési kötelezettség akkor keletkezik, amikor megváltozik egy meghatározott kamatláb, egy pénzügyi instrumentum ára, tőzsdeáru ára, devizaárfolyam, ár- vagy árfolyamindex, hitelképességi besorolás vagy index, vagy más változó (amelyet néha "mögöttesnek" neveznek). Például egy pénzügyi garanciaszerződés, amely abban az esetben biztosítja a fizetések megtörténtét, amennyiben a hitelminősítés egy bizonyos szint alá csökken, a jelen standard hatálya alá tartozik.
4. Az olyan hitelnyújtási elkötelezettségek, amelyeket az egység nyereséggel vagy veszteséggel szemben valós értéken értékeltként jelöl meg, a jelen standard hatály alá tartozik. Az olyan egységnek, amely a hitelnyújtási elkötelezettségei eredményeként keletkező eszközök tekintetében a múltban röviddel a keletkeztetést követő értékesítési gyakorlatot folytatott, az azonos csoportba tartozó hitelnyújtási elkötelezettségeire a jelen standardot kell alkalmaznia.
5. A jelen standardot kell alkalmazni - oly módon, mintha a szerződés pénzügyi instrumentum volna - azokra a nem pénzügyi tételek vételére vagy eladására vonatkozó szerződésekre, amelyeket készpénzben, vagy más pénzügyi instrumentumban nettósítva, vagy pénzügyi instrumentumok cseréje által is teljesíteni lehet, az olyan szerződések kivételével, amelyeket valamely nem pénzügyi tételnek az egység várható vételi, eladási, vagy felhasználási igényeinek megfelelő átvételének vagy átadásának céljára hoztak létre és tartanak.
6. Számos mód létezik a nem pénzügyi tételek vételére vagy eladására vonatkozó szerződések készpénzben vagy más pénzügyi instrumentumban történő nettósított, vagy a pénzügyi instrumentumok cseréjével megvalósuló teljesítésére. Ezek között vannak az alábbiak:
(a) amikor a szerződés feltételei lehetővé teszik, hogy valamelyik fél azt készpénzben vagy más pénzügyi instrumentumban nettósítva, illetve pénzügyi instrumentumok cseréjével teljesítse;
(b) amikor a készpénzben, vagy más pénzügyi instrumentumban való nettósított, illetve pénzügyi instrumentumok cseréje által történő teljesítést a szerződés feltételei nem tartalmazzák kifejezetten, de az egységnél már létezik gyakorlat a hasonló szerződések készpénzben, vagy más pénzügyi instrumentumban történő nettósított, vagy pénzügyi instrumentumok cseréje által megvalósuló teljesítésére (függetlenül attól, hogy az a másik féllel, nettósító szerződések megkötésével, vagy a szerződés lehívási vagy lejárati idejét megelőző eladása által valósul-e meg).
(c) amikor hasonló szerződéseknél az egység gyakorlata, hogy átveszi az annak tárgyát képező dolgokat, majd ezt követően rövid időn belül értékesíti azokat azzal a céllal, hogy a rövid távú ármozgásokból vagy közvetítői jutalékból nyereségre tegyen szert; valamint
(d) amikor a szerződés tárgyát képező nem pénzügyi tétel azonnal készpénzre váltható.
Az olyan szerződések, amelyekre a (b) és (c) pontok vonatkoznak, nem valamely nem pénzügyi eszköznek az egység várható vételi, eladási, vagy felhasználási igényeinek megfelelő átvételének vagy átadásának céljára hoztak létre, és ennek megfelelően nem tartoznak a jelen standard hatálya alá. Az egyéb olyan szerződéseket, amelyekre az 5. bekezdés vonatkozik, külön kell értékelni annak meghatározására, hogy azok valamely nem pénzügyi eszköznek az egység várható vételi, eladási vagy felhasználási igényeinek megfelelő átvételének vagy átadásának céljára vannak-e létrehozva és tartva, és ennek megfelelően, a jelen standard hatálya alá tartoznak-e.
7. A 6 (a) vagy (d) albekezdések szerint egy készpénzben vagy más pénzügyi instrumentumban nettó módon, vagy pénzügyi instrumentumok cseréje által teljesíthető, nem pénzügyi tétel vételére vagy eladására kiírt opció a jelen standard hatály alá esik. Az ilyen szerződés megkötésének célja nem lehet valamely nem pénzbeni eszköznek az egység várható vételi, eladási vagy felhasználási igényeinek megfelelő átvétele vagy átadása.
FOGALMAK
8. Az IAS 32-ben meghatározott kifejezések a jelen standardban az IAS 32 11. bekezdésében meghatározott értelemben használatosak. Az IAS 32 az alábbi kifejezéseket határozza meg:
- pénzügyi instrumentum
- pénzügyi eszköz
- pénzügyi kötelezettség
- tőkeinstrumentum
továbbá útmutatást nyújt e meghatározások alkalmazására vonatkozóan.
9. A következő kifejezések a jelen standardban a következőkben meghatározott értelemben használatosak:
A származékos termék fogalma
A származékos termék olyan pénzügyi instrumentum vagy más szerződés, amely a jelen standard hatálya alá esik (ld. 2-7. bekezdések), és amely az alábbi három jellemző mindegyikével rendelkezik:
(a) annak értéke egy meghatározott kamatláb, pénzügyi instrumentum ára, tőzsdei áru ára, devizaárfolyam, árindex vagy kamatindex, hitelminősítés vagy hitelindex, vagy ezekhez hasonló (időnként "mögöttesnek" nevezett) változók módosulása miatt változik;
(b) nem igényel kezdeti nettó befektetést vagy kismértékű kezdeti nettó befektetést igényel egyéb olyan típusú szerződésekhez képest, amelyek a piaci körülményekben történt változásokra várhatóan hasonlóan reagálnának; valamint
(c) amelyet egy jövőbeni időpontban rendeznek.
A pénzügyi instrumentumok négy kategóriájának fogalmai
A nyereséggel vagy veszteséggel szemben valós értéken értékelt pénzügyi eszköz vagy pénzügyi kötelezettség olyan pénzügyi eszköz vagy pénzügyi kötelezettség, amelyik megfelel az alábbi kritériumok valamelyikének:
(a) az kereskedési céllal tartottként került besorolásra. Egy pénzügyi eszköz vagy pénzügyi kötelezettség akkor minősül kereskedési céllal tartottnak, ha:
(i) azt alapvetően közeljövőbeni továbbértékesítés vagy visszavásárlás céljára szerezték meg vagy vállalták fel;
(ii) amely egy olyan azonosítható pénzügyi instrumentumokból álló portfolió része, amelyeket együtt kezelnek, és amelyekkel kapcsolatban bizonyíték van a közelmúltbeli tényleges rövid távú nyereségszerzésre; vagy
(iii) egy származékos termék (kivéve az olyan származékos terméket, amely egy megjelölt és hatékony fedezeti instrumentum).
(b) [...] Bármely a jelen standard hatálya alá eső pénzügyi eszköz [...] megjelölhető a kezdeti megjelenítéskor a nyereséggel vagy veszteséggel szemben valós értéken értékelt pénzügyi eszközként [...], kivéve azokat a tőkeinstrumentumokba történő befektetéseket, amelyeknek nincs jegyzett piaci ára valamely aktív piacon, és amelyek valós értéke nem megbízhatóan meghatározható (ld. 46 (c) bekezdés, valamint az A Függelék AG80. és AG81. bekezdései).
A lejáratig tartandó befektetések olyan fix vagy meghatározható kifizetésekkel és fix lejárattal bíró nem származékos pénzügyi eszközök, melyeket az egység határozottan szándékozik és képes a lejáratig megtartani (ld. A Függelék AG16-AG25. bekezdései), ide nem értve az alábbiakat:
(a) amelyeket az egység a kezdeti megjelenítéskor nyereséggel vagy veszteséggel szemben valós értéken értékeltnek jelöl meg;
(b) amelyeket az egység értékesíthetőnek minősít; valamint
(c) amelyek megfelelnek a kölcsönök és követelések fogalmának.
Az egység nem sorolhat be egy pénzügyi eszközt lejáratig tartandónak, ha az egység az aktuális pénzügyi év alatt, vagy a két megelőző pénzügyi év alatt, a lejárat előtt a jelentéktelennél nagyobb összegű (a teljes lejáratig tartandó portfolióhoz viszonyítva jelentéktelennél nagyobb összegű) lejáratig tartandó befektetéseket adott el vagy sorolt át, kivéve ha az értékesítés vagy átsorolások:
(i) olyan közel vannak a lejárathoz, illetve a pénzügyi eszköz lehívási napjáig (pl. kevesebb, mint három hónap van hátra a lejáratig), hogy a piaci kamatlábban bekövetkező változásoknak nem lenne jelentős hatása a pénzügyi eszköz valós értékére;
(ii) akkor következtek be, amikor az egység már lényegében a pénzügyi eszköz teljes eredeti tőkeösszegét visszakapta az ütemezett törlesztéseken vagy előtörlesztéseken keresztül; vagy
(iii) olyan elszigetelt esemény miatt következtek be, amely az egység ellenőrzési körén kívül esik, és amely nem ismétlődő jellegű, és amit az egység ésszerű módon nem láthatott előre.
A kölcsönök és követelések olyan fix vagy meghatározható kifizetéssel rendelkező nem származékos pénzügyi eszközök, amelyek nem jegyzettek egy aktív piacon, és amelyek nem tartoznak az alábbiak közé:
(a) azok, amelyeket az egység azonnal vagy rövid időn belül értékesíteni szándékozik, amelyeket emiatt kereskedési céllal tartottnak kell minősíteni, valamint azok, amelyeket az egység a nyereséggel vagy veszteséggel szemben valós értéken értékeltnek jelölt meg a kezdeti megjelenítéskor;
(b) amelyeket az egység a nyilvántartásba vételkor értékesíthetőnek minősít; valamint
(c) azok, amelyekre lehetséges, hogy a birtokos - a hitelképesség romlásától eltérő okból - nem képes a kezdeti befektetése egészére megtérülést biztosítani, melyeket értékesíthetőnek kell minősíteni.
Egy olyan összevont eszköz állományban szerzett érdekeltség, ami nem kölcsön vagy követelés (pl. kölcsönös befektetési vagy hasonló alapban lévő érdekeltség) nem minősül kölcsönnek vagy követelésnek.
Az értékesíthető pénzügyi eszközök az olyan nem származékos pénzügyi eszközök, amelyeket értékesíthetőnek jelöltek meg vagy amelyeket nem minősítettek (a) kölcsönöknek és követeléseknek, (b) lejáratig tartandó befektetéseknek, vagy (c) a nyereséggel vagy veszteséggel szemben valós értéken értékelt pénzügyi eszközöknek.
A megjelenítésre és az értékelésre vonatkozó fogalmak
Egy pénzügyi eszköz vagy pénzügyi kötelezettség amortizált bekerülési értéke a pénzügyi eszköznek vagy kötelezettségnek a kezdeti megjelenítéskor meghatározott értéke, csökkentve a tőketörlesztésekkel, növelve vagy csökkentve az ezen eredeti érték és a lejáratkori érték közötti különbözet effektív kamatláb módszerrel kiszámolt halmozott amortizációjával, és csökkentve az esetleges értékvesztés vagy behajthatatlanság miatti (közvetlenül, vagy egy értékvesztési számlán keresztül elszámolt) leírással.
Az effektív kamatláb módszer a pénzügyi eszközök és pénzügyi kötelezettségek (vagy a pénzügyi eszközök vagy pénzügyi kötelezettségek csoportja) amortizált bekerülési értékének kiszámítására, valamint a kamat bevételek és kamatráfordítások adott időszakon keresztüli felosztására vonatkozó módszer. Az effektív kamatláb az a kamatláb, amely a pénzügyi instrumentum várható élettartama alatti, vagy amennyiben alkalmazható, egy ennél rövidebb időszak alatti, becsült jövőbeni pénzkifizetéseket vagy pénzbevételeket pontosan a pénzügyi eszköz vagy pénzügyi kötelezettség nettó könyv szerinti értékére diszkontálja. Az effektív kamatláb kiszámításakor az egységnek a pénzügyi instrumentum valamennyi szerződéses feltételét (pl. előtörlesztési, lehívási, vagy hasonló opciók) figyelembe véve kell felbecsülnie a cash flow-kat, ugyanakkor nem kell figyelembe vennie a jövőbeni hitelezési veszteségeket. A számításnak minden olyan a szerződő felek által egymásnak fizetett vagy egymástól kapott díjat és tételt tartalmaznia kell, amelyek elválaszthatatlan részét képezik az effektív kamatlábnak (ld. IAS 18), az ügyleti költségeknek, és bármely egyéb felárnak vagy diszkontnak. Az általános feltételezés szerint a hasonló pénzügyi instrumentumok csoportjának cash flow-i és várható élettartama megbízhatóan megbecsülhetők. Ugyanakkor azonban, azon ritka esetekben, amikor nem lehetséges megbízhatóan felbecsülni a pénzügyi instrumentum (vagy a pénzügyi instrumentumok egy csoportja) cash flow-it vagy várható élettartamát, az egységnek a pénzügyi instrumentum (vagy a pénzügyi instrumentumok csoportja) teljes szerződéses időtartama alatti szerződésen alapuló cash flow-kat kell alkalmaznia.
A kivezetés egy korábban megjelenített pénzügyi eszköz vagy pénzügyi kötelezettség eltávolítása az egység mérlegéből.
A valós érték az az összeg, amelyért jól tájékozott, ügyleti szándékkal rendelkező felek között szokásos piaci feltételek szerint lebonyolított ügylet keretében egy eszközt el lehet cserélni vagy egy kötelezettséget rendezni lehet.
(1) A szokásos módon történő vétel vagy eladás egy pénzügyi eszköz megvásárlása vagy eladása olyan szerződés alapján, amelynek feltételei az eszköz átadását az érintett piacon érvényben lévő általános szabályozás vagy szokványok alapján írják elő.
A tranzakciós költségek olyan járulékos költségek, amelyek közvetlenül egy pénzügyi eszköz vagy pénzügyi kötelezettség megszerzéséhez, kibocsátásához vagy elidegenítéséhez kapcsolódnak (lásd A Függelék AG13. bekezdés). A járulékos költség olyan költség, ami nem merült volna fel, ha az egység nem szerezte volna meg, nem bocsátotta volna ki, vagy nem idegenítette volna el a pénzügyi instrumentumot.
A fedezeti elszámolással kapcsolatos fogalmak
A biztos elkötelezettség meghatározott mennyiségű erőforrásoknak meghatározott jövőbeli időpontban vagy időpontokban, meghatározott áron történő cseréjéről szóló, kötelező érvényű megállapodás.
Az előrejelzett ügylet egy várható, de kötelezettségvállalással nem megerősített jövőbeni ügylet.
A fedezeti instrumentum egy származékos termék vagy (kizárólag a deviza árfolyam változás kockázatának fedezete esetén) olyan nem származékos pénzügyi eszköz, vagy nem származékos pénzügyi kötelezettség, amelynek valós értéke vagy cash flow-i várhatóan ellentételezik egy fedezett tétel valós értékében vagy cash flow-iban bekövetkező változásokat (a 72-77. bekezdések, valamint az A Függelék AG94-AG97. bekezdései részletesen kifejtik a fedezeti instrumentumok fogalmát).
A fedezett tétel egy olyan eszköz, kötelezettség, biztos elkötelezettség, nagyon valószínű előrejelzett ügylet, vagy külföldi tevékenységbe történő nettó befektetés, amely (a) az egységet valós értékben vagy a jövőbeni cash flow-kban bekövetkező változások kockázatának teszi ki, és (b) amelyet fedezettnek megjelöltek (a 78-84. bekezdések, valamint az A Függelék AG98-AG101. bekezdései részletesen kifejtik a fedezett tételek fogalmát).
A fedezeti ügylet hatékonysága az a mérték, amennyire egy fedezett tétel valós értékének vagy cash flow-inak egy fedezett kockázathoz tartozó változásait a fedezeti instrumentum valós értékének vagy cash flow-inak változása ellentételezi (ld. A Függelék AG105-AG113. bekezdések).
BEÁGYAZOTT SZÁRMAZÉKOS TERMÉKEK
10. A beágyazott származékos termék egy olyan hibrid (kombinált) instrumentum alkotórésze, amely ezen kívül egy nem származékos alapszerződést is magában foglal - aminek hatására a kombinált instrumentum néhány cash flow-ja egy önálló származékos termékhez hasonló módon változik. A beágyazott származékos termék eredményeként jön létre azoknak a cash flow-knak egy része vagy az egésze, amelyek máskülönben a szerződés alapján egy meghatározott kamatláb, pénzügyi instrumentum ára, tőzsdei áru ára, devizaárfolyam, ár- vagy árfolyamindex, hitelbesorolás vagy hitel index, vagy más változó alapján mozognának. Az olyan származékos termék, ami a pénzügyi instrumentumhoz kapcsolódik, de szerződés alapján az instrumentumtól függetlenül is átruházható, vagy az adott instrumentumtól eltérő féllel rendelkezik, nem beágyazott származékos termék, hanem elkülönült pénzügyi instrumentum.
11. A beágyazott származékos terméket akkor és csak akkor kell elkülöníteni az alapszerződéstől, és származékos termékként elszámolni a jelen standard alapján, ha:
(a) a beágyazott származékos termék gazdasági jellemzői és kockázatai nincsenek szoros kapcsolatban az alapszerződés gazdasági jellemzőivel és kockázataival (ld. A Függelék AG30. és AG33. bekezdései);
(b) egy különálló instrumentum, ugyanolyan feltételekkel, mint a beágyazott származékos termék, megfelelne a származékos termék fogalmának; és
(c) a hibrid (kombinált) instrumentumot nem a valós értékén értékelik, úgy, hogy a valós érték változásai az eredménykimutatásban kerülnek elszámolásra (azaz a nyereséggel vagy veszteséggel szemben valós értéken értékelt pénzügyi eszközbe vagy pénzügyi kötelezettségbe beágyazott származékos termék nem kerül elkülönítésre).
Ha a beágyazott származékos terméket elkülönítik, az alapszerződést a jelen standard alapján kell elszámolni, ha az magában is pénzügyi instrumentum, és más, megfelelő Standardok alapján kell elszámolni, ha az nem pénzügyi instrumentum. A jelen standard nem foglalkozik annak kérdésével, hogy egy beágyazott származékos terméket elkülönülten kell-e kimutatni magukban a pénzügyi kimutatásokban.
12. Ha az egységnek a jelen standard alapján el kellene különítenie valamilyen beágyazott származékos terméket az alapszerződéstől, de nem képes arra, hogy elkülönülten értékelje a beágyazott származékos terméket a megszerzéskor, vagy egy későbbi beszámolási fordulónapon, akkor az egész kombinált szerződést kereskedési céllal tartott pénzügyi instrumentumként kell kezelnie.
13. Amennyiben egy egység nem képes a beágyazott származékos termék valós értékét megbízhatóan meghatározni annak feltételei alapján (pl. mivel a beágyazott származékos termék egy tőzsdén nem jegyzett tőkeinstrumentumon alapul), a beágyazott származékos termék valós értéke a hibrid instrumentum valós értéke és az alapszerződés valós értéke közötti különbözet, amennyiben azok a jelen standard alapján meghatározhatók. Amennyiben az egység nem képes a beágyazott származékos termék valós értékét e módszer alapján meghatározni, a 12. bekezdés alkalmazandó, és a vegyes instrumentumot kereskedési célra tartottként kezelik.
MEGJELENÍTÉS ÉS KIVEZETÉS
Kezdeti megjelenítés
14. Az egységnek akkor, és csak akkor kell a pénzügyi eszközt vagy a pénzügyi kötelezettséget a mérlegében kimutatnia, amikor az instrumentum szerződéses feltételei rá vonatkozóvá válnak. (A pénzügyi eszközök megvásárlásának "szokásos módja" tekintetében ld. a 38. bekezdést.)
Pénzügyi eszköz kivezetése
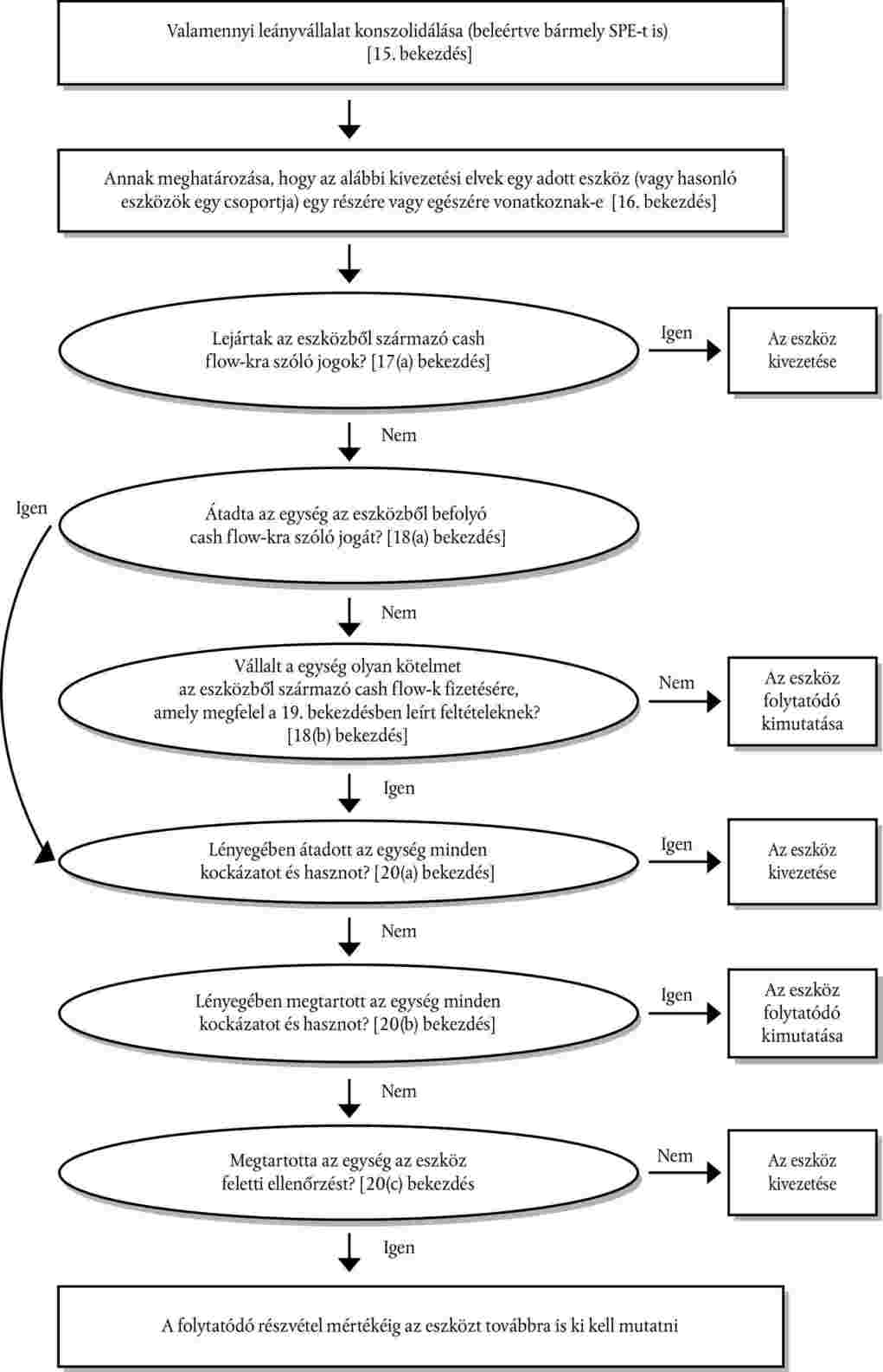
15. A konszolidált pénzügyi kimutatásokban, a 16-23. bekezdések, valamint az A Függelék AG34-AG52. bekezdései alkalmazandók konszolidált szinten. Ugyanakkor, az egység először konszolidálja az összes leányvállalatot az IAS 27 és a SIC-12 Konszolidálás - Speciális célú gazdálkodó szervezetek értelmezés szerint, majd ezután alkalmazza a 16-23. bekezdéseket, és az A Függelék AG34-AG52. bekezdéseit az ennek eredményeként keletkező csoportra.
16. Annak értékelése előtt, hogy a 17-23. bekezdések alapján helyénvaló-e, és milyen mértékig a kivezetés, az egységnek el kell döntenie, hogy az adott bekezdéseket egy pénzügyi eszköz (vagy hasonló pénzügyi eszközök egy csoportja) egy részére vagy egészére kell-e alkalmaznia az alábbiak szerint.
(a) A 17-23. bekezdések akkor, és csak akkor alkalmazandók egy pénzügyi eszköz (vagy hasonló pénzügyi eszközök egy csoportja) egy részére, amennyiben a kivezetés céljából értékelt rész megfelel az alábbi három feltétel valamelyikének.
(i) Az adott rész kizárólag egy pénzügyi eszköz (vagy hasonló pénzügyi eszközök egy csoportja) konkrétan meghatározott cash flow-iból áll. Például, amikor az egység kamatláb sáv megállapodást köt, melynek révén a másik fél jogot szerez a kamatból származó cash flow-kra, de az adósságinstrumentum tőkerész cash flow-ira nem, a 17-23. bekezdéseket a kamat cash flow-kra alkalmazzák.
(ii) Az adott rész kizárólag egy pénzügyi eszköz (vagy hasonló pénzügyi eszközök egy csoportja) cash flow-inak teljesen részarányos részéből áll. Például, amikor az egység olyan megállapodást köt, melynek értelmében a másik fél jogot szerez egy adósságinstrumentum valamennyi cash flow-ja 90 %-ának a megszerzésére, a 17-23. bekezdést ezeknek a cash flow-knak a 90 %-ára alkalmazzák. Amennyiben több fél van, nem szükséges, hogy minden fél arányosan részesedjen a cash flow-kból, feltéve, hogy az átadó egység teljesen arányos résszel rendelkezik.
(iii) Az adott rész kizárólag egy pénzügyi eszköz (vagy hasonló pénzügyi eszközök egy csoportja) konkrétan meghatározott cash flow-inak teljesen részarányos részéből áll. Például, amikor az egység olyan megállapodást köt, melynek értelmében a másik fél jogot szerez egy pénzügyi eszköz kamat cash flow-i 90 %-ának megszerzésére, a 17-23. bekezdést ezeknek a kamat cash flow-knak a 90 %-ára alkalmazzák. Amennyiben több fél van, nem szükséges, hogy minden fél arányosan részesedjen a konkrétan meghatározott cash flow-kból, feltéve, hogy az átadó egység teljesen arányos résszel rendelkezik.
(b) Minden egyéb esetben a 17-23. bekezdéseket a pénzügyi eszköz egészére (vagy a hasonló pénzügyi eszközöket tartalmazó csoport egészére) alkalmazzák. Például, amikor az egység (i) a pénzügyi eszközből (vagy pénzügyi eszközök egy csoportjából) származó pénzbefolyások első vagy utolsó 90 %-ára vonatkozó jogot adja át, vagy (ii) a követelés csoportból származó cash flow-k 90 %-ára vonatkozó jogot adja át, de garanciát biztosít, hogy a vevőt kárpótolja a követelések tőkeértékének 8 %-áig a hitelezési veszteségekért, a 17-23. bekezdéseket a pénzügyi eszköz (vagy a hasonló pénzügyi eszközök egy csoportja) egészére alkalmazzák.
A 17-26. bekezdésekben a "pénzügyi eszköz" kifejezés jelenti a pénzügyi eszköz (vagy hasonló pénzügyi eszközök egy csoportjának) egy részét, a fenti (a) alpontban történt meghatározás alapján, vagy a pénzügyi eszköz egészét (vagy a hasonló pénzügyi eszközök csoportjának egészét).
17. Egy egység egy pénzügyi eszközt akkor, és csak akkor vezethet ki, amikor:
(a) a pénzügyi eszközből származó cash flow-kra vonatkozó szerződéses jog lejár; vagy
(b) az egység a pénzügyi eszközt a 18. és 19. bekezdésben foglaltak alapján átadja, és az átadás a 20. bekezdés alapján megfelel a kivezetés feltételeinek.
(Ld. a 38. bekezdést a pénzügyi eszközök szokásos módon történő értékesítésére vonatkozóan).
18. A vállalkozás kizárólag akkor ad át valamely pénzügyi eszközt, ha:
(a) a pénzügyi eszközből származó cash flow-kra vonatkozó szerződéses jogokat átadja; vagy
(b) a pénzügyi eszköz cash flow-inak átvételére jogosító szerződéses jogokat fenntartja, de szerződéses kötelmet vállal a cash flow-k egy vagy több kedvezményezett számára történő megfizetésére egy olyan megállapodás keretében, ami megfelel a 19. bekezdésben meghatározott feltételeknek.
19. Azokban az esetekben, amikor az egység megtartja a pénzügyi eszköz (az "eredeti eszköz") cash flow-inak átvételére vonatkozó szerződéses jogokat, de szerződéses kötelmet vállal ezen cash flow-k egy vagy több egység számára történő megfizetésére (a "végső kedvezményezettek"), az egység az ügyletet akkor, és csak akkor kezelheti pénzügyi eszköz átadásaként, ha az alábbi három feltétel mindegyike teljesül.
(a) Az egységnek csak akkor van kötelme összegeknek a végső kedvezményezettek felé történő megfizetésére, ha az eredeti eszközből a megfelelő összegek befolynak hozzá. Az egység által rövid távra, a teljes kölcsönadott összeg megtérítésére és egy piaci mértékű járó kamatra vonatkozó joggal nyújtott előlegek nem sértik ezt a feltételt.
(b) Az egység számára az átadási szerződés feltételei tiltják az eredeti eszköz értékesítését vagy a végső kedvezményezettek részére a cash flow-k megfizetésére vonatkozó kötelemhez kapcsolódóan adott biztosítéktól eltérő jelzáloggal való megterhelését.
(c) Az egységnek kötelme van a hozzá befolyt bármely cash flow-kat jelentős késedelem nélkül átutalni a végső kedvezményezettek részére. Ezen felül az egység nem jogosult e cash flow-kat újra befektetni, kivéve a pénzeszközökbe és pénzeszköz egyenértékesekbe történő befektetést (az IAS 7 Cash Flow kimutatások standard meghatározása alapján) a beszedés, valamint a végső kedvezményezettek számára történő átutalás időpontja közötti rövid elszámolási időszak alatt, és az ilyen befektetéseken keletkező kamatokat átadják a végső kedvezményezetteknek.
20. Azokban az esetekben, amikor az egység egy pénzügyi eszközt (ld. 18. bekezdés) átad, értékelnie kell, hogy a pénzügyi eszköz tulajdonlásával járó kockázatokat és hasznokat milyen mértékben tartja meg. Ebben az esetben:
(a) amennyiben az egység lényegileg az összes, a pénzügyi eszköz tulajdonlásával járó kockázatot és hasznot átadja, az egységnek a pénzügyi eszközt ki kell vezetnie, és az átadás eredményeként keletkezett vagy megtartott jogokat vagy kötelmeket elkülönült eszközként vagy kötelezettségként kell megjelenítenie.
(b) amennyiben az egység lényegileg az összes, a pénzügyi eszköz tulajdonlásával járó kockázatot és hasznot megtartja, az egységnek a pénzügyi eszközt továbbra is ki kell mutatnia.
(c) amennyiben az egység nem adja át, és nem is tartja meg lényegileg az összes, a pénzügyi eszköz tulajdonlásával járó kockázatot és hasznot, az egységnek el kell döntenie, hogy az adott pénzügyi eszköz továbbra is a saját ellenőrzése alatt áll-e. Ebben az esetben:
(i) amennyiben az egység nem tartotta meg az ellenőrzést, a pénzügyi eszközt ki kell vezetnie, és az átadás eredményeként keletkezett vagy megtartott jogokat és kötelmeket elkülönült eszközként vagy kötelezettségként kell megjelenítenie.
(ii) amennyiben az egység megtartotta az ellenőrzést, továbbra is ki kell mutatnia a pénzügyi eszközt az abban való folytatódó érdekeltsége erejéig (ld. 30. bekezdés).
21. A kockázatok és hasznok átadását (ld. 20. bekezdés) úgy értékelik, hogy összehasonlítják az egységnek az átadott eszköz nettó cash flow-i összegében és ütemezésében bekövetkező változásoknak való kitettségét az átadás előtt és után. Az egység megtartotta lényegileg az összes, a pénzügyi eszköz tulajdonlásával járó kockázatot és hasznot, ha a pénzügyi eszközből származó jövőbeni nettó cash flow-k jelenértékében bekövetkező változásoknak való kitettsége nem változik meg jelentősen az átadás eredményeként (pl. mivel az egység a pénzügyi eszközt olyan megállapodás alapján adta el, hogy azt egy fix áron, vagy az eladási árnak egy hitelezői megtérüléssel növelt értékén visszavásárolja). Az egység lényegileg az összes, a pénzügyi eszköz tulajdonlásával járó kockázatot és hasznot átadta, ha az ilyen változásoknak való kitettsége már nem jelentős a pénzügyi eszközhöz kapcsolódó jövőbeni nettó cash flow-k jelenértékének teljes változásához képest (pl. mivel az egység a pénzügyi eszközt egy olyan opcióval adta el, hogy azt a visszavásárlás időpontjában lévő valós értéken vásárolja vissza, vagy amikor egy nagyobb pénzügyi eszközre vonatkozó olyan arányos cash flow-kat adott át egy megállapodás, pl. hitel alrészvétel, alapján, ami megfelel a 19. bekezdésben meghatározott feltételeknek.)
22. Gyakran nyilvánvaló, hogy az egység átadta-e vagy sem lényegileg az összes a tulajdonlással járó kockázatot és hasznot, és nincs szükség számítások elvégzésére. Más esetekben szükséges kiszámítani és összehasonlítani az egységnek a jövőbeni nettó cash flow-k jelenértékének változásaival szembeni kitettségét az átadás előtt és után. A számítást és az összehasonlítást az adott időpontban érvényes piaci kamatláb diszkont rátaként történő felhasználásával kell elvégezni. A nettó cash flow-kban bekövetkező valamennyi lehetséges variációt figyelembe kell venni, nagyobb súlyt adva a nagyobb valószínűséggel bekövetkező eredményeknek.
23. Annak megítélése, hogy az egység megtartotta-e az ellenőrzést ( ld . 20 c bekezdés) az átadott eszköz felett, attól függ, hogy az átvevő képes-e az eszközt értékesíteni. Amennyiben az átvevő gyakorlatilag képes az eszköz egészét értékesíteni egy független harmadik fél számára, és ezen képességét egyoldalúan tudja gyakorolni, anélkül, hogy további korlátozásokat kellene bevezetnie az átadásra, az egység nem tartotta meg az ellenőrzést. Minden egyéb esetben, az egység megtartotta az ellenőrzést.
Átadások, amelyek megfelelnek a kivezetés feltételeinek
(ld. 20(a), (c) és (i) pontok)
24. Amennyiben az egység az adott pénzügyi eszközt egy olyan átadás keretében ruházza át, amely teljes egészében megfelel a kivezetés feltételeinek, és megtartja a pénzügyi eszköz egy díj ellenében történő kezelésének a jogát, az adott kezelési szerződésre vonatkozóan egy kezelési eszközt vagy kezelési kötelezettséget kell elszámolnia. Amennyiben a kikötött díj várhatóan nem nyújt fedezetet az egység számára az elvégzendő kezelésre, a kezelési kötelemre egy kezelési kötelezettséget kell megjeleníteni annak valós értékén. Amennyiben a kikötött díj várhatóan meghaladja a kezelés megfelelő ellenértékét, egy kezelési eszközt kell megjeleníteni a kezelési jogra vonatkozóan, melynek összegét a nagyobb pénzügyi eszköz könyv szerinti értékének 27. bekezdés alapján megállapított felosztása alapján kell megállapítani.
25. Amennyiben az átadás eredményeként egy pénzügyi eszköz egésze kivezetésre kerül, de az átadás eredményeként az egység egy új pénzügyi eszközre tesz szert, vagy egy új pénzügyi kötelezettséget vagy kezelési kötelezettséget vállal, az egységnek az új pénzügyi eszközt, pénzügyi kötelezettséget, vagy kezelési kötelezettséget valós értéken kell kimutatnia.
26. Egy pénzügyi eszköz egészének kivezetésekor:
(a) a könyv szerinti értéknek és
(b) (i) a kapott ellenérték (beleértve bármely kapott új eszközt, csökkentve bármely átvállalt kötelezettséggel) és (ii) bármely a közvetlenül a saját tőkében elszámolt halmozott nyereség vagy veszteség összegének (ld. 55(b) bekezdés)
a különbözetét a nyereségben vagy veszteségben kell elszámolni.
27. Amennyiben az átadott eszköz egy nagyobb pénzügyi eszköz része (pl. amikor az egység egy adósságinstrumentum részét képező kamat cash flow-kat adja át, ld. 16(a) bekezdés), és az átadott rész teljes egészében megfelel a kivezetés feltételeinek, a nagyobb pénzügyi eszköz korábbi könyv szerinti értékét meg kell osztani a továbbra is kimutatott rész, valamint a kivezetett rész között, ezeknek a részeknek az átadás napján érvényes relatív valós értékei alapján. E célra, egy megtartott kezelési eszközt olyan részként kell kezelni, amelyik továbbra is kimutatásra kerül. Ilyenkor:
(a) A kivezetett részre felosztott könyv szerinti értéknek és
(b) (i) a kivezetett részre eső kapott ellenérték (beleértve bármely kapott új eszközt, csökkentve bármely átvállalt kötelezettséggel) és (ii) bármely a közvetlenül a saját tőkében elszámolt, a kivezetett részre eső halmozott nyereség vagy veszteség összegének (ld. 55(b) bekezdés)
a különbözetét a nyereségben vagy veszteségben kell elszámolni. A saját tőkében elszámolt halmozott nyereség vagy veszteség összegét a továbbra is kimutatott, és a kivezetett rész között ezeknek a részeknek a relatív valós értékei arányában osztják meg.
28. Amikor az egység a nagyobb pénzügyi eszköz korábbi könyv szerinti értékét megosztja a továbbra is kimutatott és a kivezetett rész között, a továbbra is kimutatott rész valós értékét szükséges meghatároznia. Amennyiben az egység már korábban is értékesített a továbbra is kimutatotthoz hasonló részeket, vagy e részekre vonatkozóan más piaci ügyletek is léteznek, a tényleges ügyletek közelmúltbeli árai nyújtják az adott rész valós értékének a legjobb becslését. Amikor nincs piacon jegyzett ár, vagy közelmúltbeli piaci ügylet a továbbra is elszámolt rész valós értékének alátámasztására, a valós érték legjobb becslését a nagyobb pénzügyi eszköz valós értékének és a kivezetett részért az átvevőtől kapott ellenértéknek a különbözete adja.
Átadások, amelyek nem felelnek meg a kivezetés feltételeinek
(ld. 20(b) bekezdés)
29. Amennyiben az átadás nem eredményez kivezetést, mivel az egység lényegileg az összes az átadott eszköz tulajdonlásával járó kockázatot és hasznot megtartotta, az átadott eszköz egészét továbbra is ki kell mutatni, és a kapott ellenértékre vonatkozóan pénzügyi kötelezettséget kell kimutatni. A későbbi időszakokban az egységnek el kell számolnia az átadott eszközön keletkező bármely jövedelmet, és a pénzügyi kötelezettségen felmerülő bármely költséget.
Folytatódó részvétel az átadott eszközökben
(ld. 20(c) (iii) bekezdés)
30. Ha az egység nem adja át, és nem is tartja meg lényegileg az összes az átadott eszköz tulajdonlásával járó kockázatot és hasznot, de megtartja ellenőrzését az átadott eszköz felett, az egység az átadott eszközben folytatódó részvételének az arányában folytatja az átadott eszköz kimutatását. Az egység átadott eszközre vonatkozó folytatódó részvételének mértéke az a mérték, ameddig az egység az átadott eszköz értékében bekövetkező változások kockázatainak ki van téve. Például:
(a) amikor az egység folytatódó részvétele olyan formában nyilvánul meg, hogy az egység garanciát nyújtott az átadott eszközre, az egység folytatódó részvétele (i) az eszköz összege, és (ii) a kapott ellenértékből az egység által esetlegesen visszafizetendő maximális összeg (a "garancia összege") közül az alacsonyabb.
(b) amikor az egység folytatódó részvétele olyan formában nyilvánul meg, hogy az egység opciót írt ki, vagy opciót vásárolt (vagy mindkettőt) az átadott eszközre vonatkozóan, az egység folytató részvételének mértéke az átadott eszköz azon összege, amelyet az egység visszavásárolhat. Ugyanakkor azonban, egy valós értéken értékelt eszközre vonatkozóan kiírt eladási opció esetében az egység folytatódó részvételének mértéke az átadott eszköz valós értéke és az opció lehívási ára (ld. AG48. bekezdés) közül az alacsonyabbra korlátozódik.
(c) amikor az egység folytatódó részvétele az átadott eszközre vonatkozó készpénzes teljesítési opció vagy más hasonló rendelkezés formáját ölti, az egység folytatódó részvétele ugyanolyan módon kerül értékelésre, mint a fenti (b) pontban megadott nem készpénzes opciókból származó folytatódó részvétel.
31. Amikor az egység a folytatódó részvétele mértékéig továbbra is kimutat egy eszközt, egy kapcsolódó kötelezettséget is megjelenít. A jelen standard egyéb értékelésre vonatkozó rendelkezéseivel ellentétben, az átadott eszköz, valamint a kapcsolódó kötelezettség olyan alapon kerül értékelésre, ami tükrözi az egység által megtartott jogokat és kötelmeket. A kapcsolódó kötelezettség olyan módon kerül értékelésre, hogy az átadott eszköz, valamint a kapcsolódó kötelezettség nettó könyv szerinti értéke:
(a) az egység által megtartott jogok és kötelmek amortizált bekerülési értéke, ha az átadott eszközt amortizált bekerülési értéken értékelik; vagy
(b) az egység által megtartott jogok és kötelmek külön-külön meghatározott valós értékével egyezik meg, ha az átadott eszközt valós értéken értékelik.
32. Az egységnek a folytatódó részvétele mértékéig továbbra is el kell számolnia az átadott eszközből keletkező jövedelmeket, és ki kell mutatni a kapcsolódó kötelezettségre vonatkozóan felmerült költségeket.
33. A későbbi értékelés céljaira, az átadott eszköz, valamint a kapcsolódó kötelezettség valós értékében bekövetkező változások elszámolását egymással konzisztens módon kell végrehajtani, az 55. bekezdéssel összhangban, és azok nem számolhatók el egymással szemben.
34. Ha az egység folytatódó részvétele csak egy pénzügyi eszköz valamely részére vonatkozóan áll fenn (pl. amikor az egység megtart egy opciót az átadott eszköz egy részének a visszavásárlására, vagy egy olyan maradvány részesedést tart meg, ami nem eredményezi lényegileg az összes a tulajdonlással járó kockázat és haszon megtartását, és az egység megtartja az ellenőrzést), az egység a pénzügyi eszköz korábbi könyv szerinti értékét a folytatódó részvétele alapján továbbra is kimutatott rész, valamint a már ki nem mutatott rész között ezeknek a részeknek az átadás időpontjában érvényes relatív valós értékei alapján osztja fel. E célra, a 28. bekezdés rendelkezései alkalmazandók. Ilyenkor:
(a) a jövőben már ki nem mutatott részre eső könyv szerinti értéknek; valamint
(b) (i) a már ki nem mutatott részre eső kapott ellenérték és (ii) az e részre eső, a közvetlenül a saját tőkében elszámolt halmozott nyereség vagy veszteség (ld. 55(b) bekezdés) összegének
a különbözetét a nyereségben vagy veszteségben kell elszámolni. A saját tőkében elszámolt halmozott nyereség vagy veszteség összegét a továbbra is kimutatott, és a továbbiakban már ki nem mutatott rész között az ezen részek relatív valós értékei arányában osztják meg.
35. [...] - Valamennyi átadás
36. Amennyiben az átadott eszköz továbbra is kimutatásra kerül, az eszközt és a kapcsolódó kötelezettséget nem lehet egymással szemben, nettó módon elszámolni. Hasonlóképpen, az egység az átadott eszközből keletkező jövedelmet a kapcsolódó kötelezettségre vonatkozóan keletkezett költséggel szemben nem számíthatja be (ld. IAS 32 42. bekezdés).
37. Amennyiben az átadó nem készpénzes fedezetet (pl. adósság- vagy tőkeinstrumentumokat) nyújt az átvevőnek, a fedezet elszámolása az átadónál és az átvevőnél attól függ, hogy az átvevőnek joga van-e a fedezetet értékesíteni, vagy újra megterhelni, és hogy az átadó követett-e el szerződésszegést. A fedezetet az átadónak és az átvevőnek az alábbiak szerint kell elszámolnia:
(a) Amennyiben az átvevőnek a szerződés vagy szokásjog alapján joga van a fedezetet értékesíteni, vagy újra megterhelni, az átadónak át kell sorolnia az eszközt a mérlegében (pl. hitelfelvétel alapjául szolgáló eszközként, jelzáloggal terhelt tőkeinstrumentumként, vagy visszavásárlási követelésként) a többi eszköztől elkülönítve.
(b) Amennyiben az átvevő értékesíti a számára fedezetként felajánlott eszközt, az értékesítésből befolyó bevételt, valamint a fedezet visszaadására vonatkozó kötelme valós értékét meg kell jelenítenie.
(c) Amennyiben az átadó megszegi a szerződés feltételeit, és elveszti jogosultságát a fedezet visszaszerzésére, ki kell vezetnie a fedezetet, és az átvevőnek kell azt megjelenítenie a saját eszközeként, kezdetben valós értéken értékelve, vagy, amennyiben a fedezetet már eladta, ki kell vezetnie a fedezet visszaadására vonatkozó kötelmét.
(d) A (c) pontban foglaltakat kivéve az átadónak továbbra is nyilván kell tartania a fedezetet eszközei között, és az átvevő nem mutathatja ki a fedezetet eszközként.
A pénzügyi eszközök szokásos módon történő vétele vagy eladása
38. A pénzügyi eszközök szokásos módon történő vételét vagy eladását megfelelően kell kimutatni és kivezetni, a kötési időpont szerinti elszámolás vagy a teljesítési időpont szerinti elszámolás alkalmazásával (ld. A Függelék AG53-AG56. bekezdések).
A pénzügyi kötelezettség kivezetése
39. Az egység akkor, és csak akkor vezethet ki a mérlegéből egy pénzügyi kötelezettséget (vagy a pénzügyi kötelezettség egy részét), amikor az megszűnt - vagyis amikor a szerződésben meghatározott kötelemnek eleget tettek, azt eltörölték, vagy az lejárt.
40. Adósságinstrumentumoknak jelentősen eltérő feltételek melletti cseréjét a meglévő hitelező és adós között az eredeti pénzügyi kötelezettség megszűnéseként és egy új pénzügyi kötelezettség megjelenítéseként kell elszámolni. Hasonlóképpen, egy meglévő pénzügyi kötelezettség, vagy annak egy része feltételeinek jelentős módosítását (függetlenül attól, hogy azt az adós pénzügyi nehézségei okozták-e) az eredeti pénzügyi kötelezettség megszűnéseként és egy új pénzügyi kötelezettség megjelenítéseként kell elszámolni.
41. A megszűnt vagy harmadik félnek átadott pénzügyi kötelezettség (vagy annak része) könyv szerinti értéke, valamint a fizetett ellenérték (beleértve a nem pénzbeni eszköz átadást és átvállalt kötelezettségeket) közötti különbözetet a nyereségben vagy veszteségben kell elszámolni.
42. Amennyiben egy egység valamely pénzügyi kötelezettség egy részét visszavásárolja, a pénzügyi kötelezettség korábban kimutatott könyv szerinti értékét meg kell osztania a továbbra is kimutatott, és a kivezetett rész között, az e részek visszavásárlás napján érvényes relatív valós értékei arányában. Ilyenkor (a) a kivezetett részre felosztott könyv szerinti érték, valamint (b) a kivezetett részért fizetett ellenérték (beleértve a nem pénzbeni eszköz átadást és átvállalt kötelezettségeket is) közötti különbözetet a nyereségben vagy veszteségben kell elszámolni.
ÉRTÉKELÉS
Pénzügyi eszközök és pénzügyi kötelezettségek kezdeti értékelése
43. Egy pénzügyi eszköz vagy pénzügyi kötelezettség kezdeti megjelenítésekor az egységnek azt annak valós értékén kell értékelnie, továbbá, amennyiben a pénzügyi eszköz vagy pénzügyi kötelezettség nem nyereséggel vagy veszteséggel szemben valós értéken értékelt, hozzá kell adni azon ügyleti költségeket, amelyek közvetlenül kapcsolódnak a pénzügyi eszköz vagy a pénzügyi kötelezettség kibocsátásához vagy megszerzéséhez.
44. Ha az egység teljesítési időpont szerinti elszámolást alkalmaz egy olyan eszköz esetében, ami a későbbiekben bekerülési értéken, vagy amortizált bekerülési értéken kerül kimutatásra, az eszközt kezdetben a kötési időpontban érvényes valós értékén kell kimutatni (ld. A Függelék AG53-AG56. bekezdések).
Pénzügyi eszközök későbbi értékelése
45. Egy pénzügyi eszköz bekerülést követő értékelése céljából a jelen standard a pénzügyi eszközöket a 9. bekezdésben meghatározott négy kategóriába sorolja be:
(a) a nyereséggel vagy veszteséggel szemben valós értéken értékelt pénzügyi eszközök;
(b) a lejáratig tartandó befektetések;
(c) a kölcsönök és követelések;
valamint
(d) az értékesíthető pénzügyi eszközök.
E kategóriák vonatkoznak a jelen standard alapján történő értékelésre és nyereség vagy veszteség kimutatásra. Az egység alkalmazhat más elnevezéseket ezekre a kategóriákra, vagy alkalmazhat ettől eltérő kategóriákat az információknak magukban a pénzügyi kimutatásokban való bemutatásához. Az egységnek az IAS 32-ben előírt információkat a megjegyzésekben közzé kell tennie.
46. A kezdeti megjelenítést követően az egységnek pénzügyi eszközeit, az eszköznek minősülő származékos termékeket is beleértve, valós értéken kell értékelnie, - az eladás vagy egyéb elidegenítés miatt felmerülő bármely tranzakciós költségek levonása nélkül -, kivéve a következő pénzügyi eszközöket:
(a) a 9. bekezdésben meghatározott kölcsönök és követelések, melyeket amortizált bekerülési értéken kell értékelni, az effektív kamatláb módszer alkalmazásával;
(b) a 9. bekezdésben meghatározott lejáratig tartandó befektetések, melyeket amortizált bekerülési értéken kell értékelni, az effektív kamatláb módszer alkalmazásával; valamint
(c) az olyan tőkeinstrumentumokba történő befektetések, melyeknek nincs jegyzett piaci ára valamely aktív piacon, és amelyek valós értékét nem lehet megbízhatóan meghatározni, továbbá az ilyen nem jegyzett tőkeinstrumentumokhoz kapcsolódó, és azok átadásával teljesítendő származékos termékek, melyeket bekerülési értéken kell értékelni (ld. A Függelék AG80. és AG81. bekezdések).
A fedezett tételként megjelölt pénzügyi eszközök a 89-102. bekezdésekben meghatározott fedezeti elszámolási előírások szerint kerülnek értékelésre. Valamennyi pénzügyi eszköz - kivéve a nyereséggel vagy veszteséggel szemben valós értéken értékelteket - értékvesztési vizsgálat tárgyát képezi az 58-70. bekezdések, valamint az A Függelék AG84-AG93. bekezdései alapján.
Pénzügyi kötelezettségek későbbi értékelése
47. A kezdeti megjelenítést követően a pénzügyi kötelezettségeket amortizált bekerülési értéken kell kimutatni, az effektív kamatláb módszer alkalmazásával, kivéve:
(a) a nyereséggel vagy veszteséggel szemben valós értéken értékelt pénzügyi kötelezettségeket. Az ilyen kötelezettségeket, beleértve a kötelezettségnek minősülő származékos termékeket is, valós értéken kell értékelni, kivéve az olyan nem jegyzett tőkeinstrumentumhoz kapcsolódó, és azok átadásával teljesítendő származékos termék kötelezettségeket, amelyek valós értékét nem lehet megbízhatóan meghatározni, melyeket bekerülési értéken kell értékelni.
(b) az olyan pénzügyi kötelezettségeket, amelyek akkor keletkeznek, ha egy pénzügyi eszköz átadása nem felel meg a kivezetés feltételeinek, vagy amelyet a folytatódó részvétel módszere alapján mutatnak ki. Az ilyen pénzügyi kötelezettségek értékelésére a 29. és 31. bekezdések vonatkoznak.
A fedezett tételként megjelölt pénzügyi kötelezettségek a 89-102. bekezdéseiben meghatározott fedezeti elszámolási előírások szerint kerülnek értékelésre.
A valós értéken történő értékelés szempontjai
48. Egy pénzügyi eszköz vagy pénzügyi kötelezettség valós értékének a jelen standard vagy az IAS 32 céljaira történő meghatározásakor, az egységnek az A Függelék AG69-AG82. bekezdéseit kell alkalmaznia.
49. A látra szóló pénzügyi kötelezettség (pl. látra szóló betét) valós értéke nem kevesebb, mint a látra szólóan megfizetendő összeg, azon első időponttól diszkontálva, amelytől az összeg megfizetése igényelhető.
Átsorolások
50. Az egység nem sorolhat át egy pénzügyi instrumentumot nyereséggel vagy veszteséggel szemben valós értéken értékelt kategóriába vagy kategóriából, amíg azt tartja vagy az forgalomban van.
51. Amennyiben a szándék vagy képesség megváltozása miatt már nem helyénvaló egy befektetésnek a lejáratig tartandóként való besorolása, azt értékesíthetővé át kell sorolni, valamint valós értéken újra kell értékelni, és a könyv szerinti érték és a valós érték közötti különbözetet az 55(b) bekezdés alapján kell elszámolni.
52. Minden esetben, amikor a lejáratig tartandó befektetések jelentéktelennél nagyobb összegű értékesítése vagy átsorolása nem felel meg a 9. bekezdés egyik feltételének sem, bármely fennmaradó lejáratig tartandó befektetést át kell sorolni értékesíthetővé. Az ilyen átsorolás esetén, azok könyv szerinti értékének és a valós értékének a különbözetét az 55(b) bekezdés alapján kell elszámolni.
53. Amennyiben a megbízható értékelés lehetővé válik valamely olyan pénzügyi eszközre vagy pénzügyi kötelezettségre nézve, amelyre az korábban nem volt lehetséges, és az eszközt vagy kötelezettséget valós értéken kell értékelni, ha a megbízható értékelés lehetséges (ld. 46 (c) és 47. bekezdések), az eszközt vagy kötelezettséget valós értékre át kell értékelni, és a könyv szerinti érték és a valós érték közötti különbözetet az 55. bekezdés alapján kell elszámolni.
54. Ha - a szándék vagy képesség megváltozása miatt, vagy abban a ritka helyzetben, ha a valós értéken történő értékelésnek megbízható módszere többé már nem áll rendelkezésre (ld. 46(c) és 47. bekezdések), vagy mert a 9. bekezdésben hivatkozott "két megelőző pénzügyi év" már eltelt - helyénvalóvá válik egy adott pénzügyi eszközt vagy pénzügyi kötelezettséget bekerülési értéken vagy amortizált bekerülési értéken, nem pedig valós értéken értékelni, a pénzügyi eszköz vagy pénzügyi kötelezettség adott napi, valós értéknek megfelelő könyv szerinti értéke lesz annak az új bekerülési értéke vagy amortizált bekerülési értéke, ahogy megfelelő. Bármely az ezzel az eszközzel kapcsolatban, az 55(b) bekezdés szerint közvetlenül a saját tőkében elszámolt korábbi nyereséget vagy veszteséget a következőképpen kell elszámolni:
(a) fix lejáratú pénzügyi eszköz esetén a nyereséget vagy veszteséget a nyereséggel vagy veszteséggel szemben kell amortizálni a lejáratig tartandó befektetés még hátralévő élettartama alatt, az effektív kamatláb módszer alkalmazásával. Az új amortizált bekerülési érték és a lejárati összeg közötti bármely különbséget szintén a pénzügyi eszköz hátralévő futamideje alatt kell amortizálni, az effektív kamatláb módszer alkalmazásával, hasonlóan a prémium vagy diszkont amortizálásához. Amennyiben a pénzügyi eszköz a későbbiekben értékvesztetté válik, a közvetlenül a saját tőkében elszámolt nyereség vagy veszteség összegét a 67. bekezdésnek megfelelően a nyereségben vagy veszteségben számolják el.
(b) Amennyiben a pénzügyi eszköznek nincs fix lejárata, a nyereséget vagy veszteséget a saját tőkében kell tartani a pénzügyi eszköz értékesítéséig vagy más módon történő elidegenítéséig, melynek időpontjában azt a nyereségben vagy veszteségben kell elszámolni. Amennyiben a pénzügyi eszköz a későbbiekben értékvesztetté válik, a közvetlenül a saját tőkében elszámolt nyereség vagy veszteség összegét a 67. bekezdésnek megfelelően a nyereségben vagy veszteségben számolják el.
Nyereségek és veszteségek
55. Egy fedezeti ügylet részét nem képező (lásd 89-102. bekezdések) pénzügyi eszköz vagy pénzügyi kötelezettség valós értékének megváltozásából adódó nyereség vagy veszteség elszámolása a következőképpen történik.
(a) A nyereséggel vagy veszteséggel szemben valós értéken értékelt pénzügyi eszközön vagy pénzügyi kötelezettségen keletkező nyereséget vagy veszteséget a nyereségben vagy veszteségben kell elszámolni.
(b) Az értékesíthető pénzügyi eszközön keletkező nyereséget vagy veszteséget - az értékvesztés miatti veszteségek (ld. 67-70. bekezdések), valamint az árfolyam nyereségek és veszteségek (ld. A Függelék AG83. bekezdés) kivételével - közvetlenül a saját tőkében kell megjeleníteni, a saját tőke változás kimutatásban (ld. IAS 1 Pénzügyi kimutatások prezentálása standard), a pénzügyi eszköz kivezetéséig, melynek időpontjában a korábban a saját tőkében elszámolt halmozott nyereséget vagy veszteséget a nyereségben vagy veszteségben kell elszámolni. Ugyanakkor azonban, az effektív kamatláb módszer alkalmazásával kiszámolt kamatot (ld. 9. bekezdés) a nyereségben vagy veszteségben számolják el (ld. IAS 18 Bevételek standard). Az értékesíthető tőkeinstrumentumok után járó osztalékokat a nyereségben vagy veszteségben számolják el abban az időpontban, amikor az egység kifizetéshez való joga létrejön (ld. IAS 18).
56. Az amortizált bekerülési értéken (lásd 46. és 47. bekezdések) nyilvántartott pénzügyi eszközök és pénzügyi kötelezettségek esetében nyereséget vagy veszteséget számolnak el az eredménykimutatásban, amikor a pénzügyi eszközt vagy pénzügyi kötelezettséget kivezetik vagy arra értékvesztést számolnak el, valamint az amortizációs folyamaton keresztül. Ugyanakkor azonban, a fedezett tételnek minősülő pénzügyi eszközökre és pénzügyi kötelezettségekre vonatkozóan (ld. 78-84. bekezdések, valamint A Függelék AG98-AG101. bekezdések) a nyereség és veszteség elszámolása a 89-102. bekezdések alapján kell történjen.
57. Amennyiben az egység a pénzügyi eszközöket a teljesítési időpont szerinti elszámolással jeleníti meg (ld. 38. bekezdés, valamint az A Függelék AG53. és A56. bekezdések), az átveendő eszköz valós értékében a kötési időpont és a teljesítési időpont közötti időszakban bekövetkező változásokat nem számolja el a bekerülési értéken vagy amortizált bekerülési értéken nyilvántartott eszközök esetében (kivéve az értékvesztés miatti veszteségeket). A valós értéken nyilvántartott eszközöknél azonban, a valós értékben bekövetkezett változásokat a nyereségben vagy veszteségben, vagy a saját tőkében kell elszámolni, amelyik alkalmazandó az 55. bekezdésnek megfelelően.
Pénzügyi eszközök értékvesztése és behajthatatlansága
58. Az egységnek minden egyes mérleg fordulónapon fel kell mérnie, hogy van-e objektív bizonyítéka annak, hogy egy pénzügyi eszköz vagy pénzügyi eszközcsoport értékvesztett lehet. Ha van bármely ilyen bizonyíték, az egységnek (az amortizált bekerülési értéken nyilvántartott pénzügyi eszközökre) a 63. bekezdést, (a bekerülési értéken nyilvántartott pénzügyi eszközökre) a 66. bekezdést, vagy (az értékesíthető pénzügyi eszközökre) a 67. bekezdést kell alkalmaznia az értékvesztés miatti veszteség összegének a meghatározására.
59. Egy pénzügyi eszköz vagy a pénzügyi eszközök egy csoportja akkor, és csak akkor értékvesztett, és akkor, és csak akkor következett be értékvesztés miatti veszteség, ha objektív bizonyíték létezik az értékvesztésre vonatkozóan olyan egy vagy több esemény eredményeként, amelyek az eszköz kezdeti megjelenítése után történtek ("veszteséget okozó esemény"), és ezen veszteséget okozó eseménynek (vagy eseményeknek) hatása van a pénzügyi eszköz vagy a pénzügyi eszközök egy csoportja becsült jövőbeni cash flow-ira, és annak értéke megbízhatóan becsülhető. Előfordulhat, hogy nem lehet egyetlen olyan elkülönült eseményt azonosítani, ami az értékvesztést okozta. Ehelyett, az értékvesztést okozhatta számos esemény kombinált hatása. A jövőbeni események eredményeként várható veszteségeket, függetlenül attól, hogy azok mennyire valószínűek, nem számolják el. Az objektív bizonyíték arra vonatkozóan, hogy egy adott pénzügyi eszköz vagy eszközcsoport értékvesztett, azokat a megfigyelhető adatokat foglalja magában, amelyek az eszköz tulajdonosának a tudomására jutnak a következő veszteséget okozó eseményekről:
(a) a kibocsátó vagy kötelezett jelentős pénzügyi nehézségei;
(b) szerződésszegés, mint például mulasztás vagy elmaradás a kamatok vagy a tőkerész visszafizetésében;
(c) a hitelező az adósnak jogi vagy gazdasági okokból az adós pénzügyi nehézségeire tekintettel olyan engedményt tesz, amelyet a hitelező máskülönben fontolóra sem venne;
(d) annak valószínűvé válása, hogy az adós ellen csődeljárás vagy más pénzügyi átszervezés indul;
(e) az adott pénzügyi eszköz aktív piacának pénzügyi nehézségek miatti megszűnése;
vagy
(f) megfigyelhető adat arra vonatkozóan, hogy egy pénzügyi eszköz csoport becsült jövőbeni cash flow-iban mérhető csökkenés következett be az eszközök kezdeti megjelenítése óta, bár a csökkenés még nem kimutatható a csoport egyedi pénzügyi eszközeinél, beleértve:
(i) az adósok fizetési helyzetében bekövetkező kedvezőtlen változások (pl. a fizetési késedelmek megnövekedett száma, vagy megnövekedett számú olyan hitelkártya adós, aki elérte a hitellimitet és a minimális havi összeget fizeti);
vagy
(ii) olyan országos vagy helyi gazdasági körülmények, amelyek együtt mozognak a csoportba tartozó eszközökkel kapcsolatos nem teljesítéssel (pl. a munkanélküliségi ráta növekedése az adósok földrajzi területén, ingatlanok árának csökkenése az adott területen jelzálog esetében, olajár csökkenés az olajkitermelők részére olaj eszközökre nyújtott hiteleknél, vagy más olyan kedvezőtlen hatású iparági változások, amelyek hatással vannak a csoportba tartozó adósokra).
60. Ha az aktív piac azért tűnik el, mert az egység pénzügyi instrumentumaival már nem kereskednek nyilvánosan, az nem bizonyíték az értékvesztésre. Az egység hitelképességi besorolásának romlása önmagában nem bizonyíték az értékvesztésre, bár más elérhető információkkal összevetve már bizonyítékul szolgálhat. A pénzügyi eszköz valós értékének az eszköz bekerülési vagy amortizált bekerülési értéke alá csökkenése nem feltétlenül bizonyítéka az értékvesztésnek (pl. egy adósságinstrumentumba történt befektetés valós értékének csökkenése, ami a kockázatmentes kamatláb növekedésének tudható be).
61. Az 59. bekezdésben meghatározott eseménytípusokon túl, a tőkeinstrumentumok értékvesztését alátámasztó objektív bizonyíték lehet az olyan jelentős, kedvezőtlen hatású változásokra vonatkozó információ, melyek abban a technológiai, piaci, gazdasági, vagy jogi környezetben következtek be, amelyben a kibocsátó működik, és amely információ azt jelzi, hogy a tőkeinstrumentumba történt befektetés bekerülési értéke esetleg nem térül meg. Egy tőkeinstrumentumba történt befektetés valós értékében bekövetkező jelentős, vagy hosszabb ideig tartó, annak bekerülési értéke alá való csökkenés szintén az értékvesztés egyik objektív bizonyítéka.
62. Egyes esetekben a pénzügyi eszköz értékvesztésének meghatározásához szükséges megfigyelhető adat korlátozott lehet, vagy már nem teljesen releváns a jelenlegi körülményekre nézve. Például, ez az eset állhat fenn, amikor az adós pénzügyi nehézségekkel küzd, és kevés korábbi adat áll rendelkezésre hasonló adósokra vonatkozóan. Ilyen esetekben, az egységnek saját tapasztalatai alapján kell megítélnie az értékvesztés miatti veszteség becsült értékét. Hasonlóképpen, az egység szintén saját tapasztalatai alapján ítéli meg, hogy egy adott pénzügyi eszköz csoportra vonatkozóan megfigyelhető adatokat korrigálni szükséges-e ahhoz, hogy azok a jelenlegi körülményeket tükrözzék (ld. AG89. bekezdés). Az ésszerű becslések alkalmazása a pénzügyi kimutatások készítésének lényeges része, és nem csorbítja azok megbízhatóságát.
Amortizált bekerülési értéken nyilvántartott pénzügyi eszközök
63. Amennyiben objektív bizonyíték van arra, hogy az amortizált bekerülési értéken nyilvántartott kölcsönökön és követeléseken, vagy lejáratig tartandó befektetéseken értékvesztés miatti veszteség keletkezett, a veszteség összegét az eszköz könyv szerinti értéke, valamint a becsült jövőbeni cash flow-knak (figyelembe nem véve a jövőbeni hitelezési veszteségeket, amelyek még nem merültek fel) a pénzügyi eszköz eredeti effektív kamatlábával (azaz a kezdeti megjelenítéskor kiszámított effektív kamatlábbal) diszkontált jelenértéke közötti különbözetként kell meghatározni. Az eszköz könyv szerinti értékét vagy közvetlenül, vagy egy értékvesztési számla alkalmazásával kell csökkenteni. A veszteség összegét a nyereségben vagy veszteségben kell elszámolni.
64. Az egységnek először azt kell felmérnie, hogy az egyedileg jelentős pénzügyi eszközökre vonatkozóan egyedileg, továbbá az egyedileg nem jelentős pénzügyi eszközök csoportjára egyedileg vagy összevontan fennáll-e objektív bizonyíték az értékvesztésre (ld. 59. bekezdés). Amennyiben az egység úgy találja, hogy nincs objektív bizonyíték valamely egyedileg értékelt pénzügyi eszköz értékvesztésére, akár jelentős az eszköz, akár nem, az adott eszközt beilleszti egy hasonló hitelkockázati jellemzőkkel rendelkező csoportba, és azokat együttesen teszteli értékvesztés szempontjából. Az értékvesztés szempontjából egyedileg megvizsgált eszközöket, amelyekre most számolnak el értékvesztés miatt veszteséget vagy amelyekre a korábbi értékvesztés miatti veszteség megjelenítését folytatják, nem vonják be a csoportos értékvesztési vizsgálatba.
65. Ha egy későbbi időszakban az értékvesztés miatti veszteség csökken, és a csökkenést objektív módon egy olyan eseményhez lehet kapcsolni, amely az értékvesztés elszámolása után következett be (mint például az adós hitelképességi besorolásának javulása), az előzőleg elszámolt értékvesztés miatti veszteséget vissza kell írni, vagy közvetlen módon, vagy pedig az értékvesztési számla módosításával. A visszaírás eredményeként az eszköz könyv szerinti értéke nem haladhatja meg azt az amortizált bekerülési értéket, amely a visszaírás időpontjában lenne akkor, ha értékvesztés elszámolására korábban nem került volna sor. A visszaírt veszteség összegét a nyereségben vagy veszteségben kell elszámolni.
A bekerülési értéken nyilvántartott pénzügyi eszközök
66. Amennyiben objektív bizonyíték van arra, hogy egy nem jegyzett tőkeinstrumentumon, amelyet nem valós értéken tartanak nyilván, mivel annak valós értéke nem határozható meg megbízhatóan, vagy egy ilyen tőkeinstrumentumhoz kapcsolódó és annak átadásával teljesítendő származékos terméken értékvesztés miatti veszteség keletkezett, az értékvesztés miatti veszteség összegét a pénzügyi eszköz könyv szerinti értékének és a becsült jövőbeni cash flow-k hasonló pénzügyi eszközökre alkalmazandó jelenlegi piaci kamatlábbal diszkontált jelenértéke közötti különbözetként határozzák meg (ld. 46(c) bekezdés és A Függelék AG80. és AG81. bekezdések). Az ilyen értékvesztés miatti veszteségeket nem lehet visszaírni.
Értékesíthető pénzügyi eszközök
67. Amikor egy értékesíthető pénzügyi eszköz valós értékében bekövetkezett csökkenés közvetlenül a saját tőkében került elszámolásra, és objektív bizonyíték áll fenn arra vonatkozóan, hogy az eszköz értékvesztett (ld. 59. bekezdés), a saját tőkében közvetlenül elszámolt veszteség halmozott értékét ki kell vezetni a saját tőkéből, és azt a nyereségben vagy veszteségben kell elszámolni annak ellenére, hogy a pénzügyi eszközt nem vezették ki.
68. A 67. bekezdés alapján a saját tőkéből kivezetett és a nyereségben vagy veszteségben elszámolt halmozott veszteség összege az akvizíció költsége (a tőke törlesztés és amortizáció levonása után), valamint a jelenlegi valós érték közötti különbözet kell legyen, csökkentve az adott pénzügyi eszközre vonatkozóan korábban a nyereségben vagy veszteségben elszámolt értékvesztés miatti veszteséggel.
69. Az értékesíthetőként besorolt tőkeinstrumentumba történő befektetésre vonatkozóan, a nyereségben vagy veszteségben elszámolt értékvesztés miatti veszteségeket nem lehet a nyereségen vagy veszteségen keresztül visszaírni.
70. Amennyiben egy későbbi időszak során az értékesíthetőként besorolt adósságinstrumentum valós értéke növekszik, és e növekedés objektív módon hozzárendelhető egy olyan eseményhez, ami azután következett be, hogy az értékvesztés miatti veszteség elszámolásra került a nyereségben vagy veszteségben, az értékvesztés miatti veszteséget vissza kell írni, és a visszaírt összeget a nyereségben vagy veszteségben kell elszámolni.
FEDEZETI ÜGYLETEK
71. Ha egy fedezeti instrumentum és egy fedezett tétel között fennáll a 85-88. bekezdésekben, valamint az A Függelék AG102-AG104. bekezdéseiben leírt megjelölt fedezeti kapcsolat, a fedezeti instrumentumra és a fedezett tételre vonatkozó nyereséget és veszteséget a 89-102. bekezdések szerint kell elszámolni.
Fedezeti instrumentumok
Minősített instrumentumok
72. A jelen standard nem korlátozza azon körülményeket, amelyek fennállása esetén egy származékos terméket fedezeti instrumentumként lehet elszámolni, feltéve, hogy a 88. bekezdésben meghatározott feltételek fennállnak, kivéve bizonyos kiírt opciókat (ld. A Függelék, AG94. bekezdés). Ugyanakkor azonban egy nem származékos pénzügyi eszközt vagy nem származékos pénzügyi kötelezettséget csak árfolyamkockázat fedezetére lehet fedezeti instrumentumként megjelölni.
73. Fedezeti elszámolási célokra kizárólag azon instrumentumok jelölhetők meg fedezeti instrumentumként, amelyek a beszámolót készítő egységen kívüli (azaz a beszámoló által lefedett csoporton, szegmensen vagy egyedi egységen kívüli) felet is bevonnak. Bár egy konszolidált csoporton belüli egyedi egységek vagy egy egységen belüli divíziók köthetnek fedezeti ügyleteket a csoporton belüli más egységekkel vagy az egységen belüli más divíziókkal, az ilyen csoporton belüli ügyleteket a konszolidáció során kiszűrik. Emiatt az ilyen fedezeti ügyletek a csoport konszolidált pénzügyi kimutatásaiban nem felelnek meg a fedezeti elszámolás feltételeinek. Ugyanakkor azonban azok a csoporton belüli egységek saját vagy egyedi pénzügyi kimutatásaiban vagy a szegmens beszámolókban megfelelhetnek a fedezeti elszámolás feltételeinek, feltéve, hogy azok a beszámoló által lefedett egységen vagy szegmensen kívüliek.
Fedezeti instrumentumok megjelölése
74. Rendszerint a valós értéknek egyetlen értéke van a fedezeti instrumentum egészére, és azok a tényezők, amelyek a valós érték változásait eredményezik, egymással kölcsönösen összefüggnek. Ennek megfelelően az egység a fedezeti kapcsolatot a fedezeti instrumentum egészére vonatkozóan jelöli meg. A megengedett kivételek a következők:
(a) amikor egy opciós szerződés belső értéke és időértéke elkülönítésre kerül, és csak az opció belső értékében bekövetkező változást jelölik meg fedezeti instrumentumként, míg az annak időértékében bekövetkezett változást nem;
valamint
(b) amikor egy forward szerződésnek elkülönítik a kamat összetevőjét és az azonnali (spot) árát.
E kivételek azért megengedettek, mert az opció belső értéke, valamint a forward prémiuma általában elkülönülten értékelhető. A dinamikus fedezeti stratégia, amely egy opciós szerződésnek mind a belső, mind az időértékét felméri, megfelelhet a fedezeti elszámolás feltételeinek.
75. A teljes fedezeti instrumentum egy része, például a névleges érték 50 százaléka megjelölhető fedezeti instrumentumként egy fedezeti kapcsolatban. Azonban, a fedezeti kapcsolat nem jelölhető meg egy részére annak az időszaknak, amelyben a fedezeti instrumentum érvényben van.
76. Egy egyedi fedezeti instrumentum megjelölhető fedezetként egynél több típusú kockázatra vonatkozóan is, feltéve, hogy (a) a fedezett kockázatok egyértelműen azonosíthatók; (b) a fedezet hatékonysága bizonyítható; valamint (c) biztosítható, hogy a fedezeti instrumentumnak a különböző kockázati pozíciók specifikusan meg legyenek jelölve.
77. Két vagy több származékos termék, vagy azok részei (vagy árfolyamkockázat fedezeti ügylete esetében, két vagy több nem származékos termék, vagy azok részei, vagy származékos és nem származékos termékeknek vagy azok részeinek a kombinációja), kombináltan is tekinthetők, és közösen is megjelölhetők fedezeti instrumentumként, beleértve azokat az eseteket, amikor az egyes származékos termékekből keletkező kockázatok ellentételezik a más termékekből származókat. Ugyanakkor azonban, egy kamatláb gallér (collar) vagy más származékos instrumentum, amely egy kiírt opciót és egy megvásárolt opciót kombinál, nem felel meg fedezeti instrumentumként, ha az valójában egy nettó kiírt opció (amelyre nettó prémiumot kap az egység.) Hasonlóképpen, két vagy több instrumentum (vagy azok részei) csak akkor jelölhetők meg fedezeti instrumentumként, ha azok egyike sem kiírt opció, vagy nettó kiírt opció.
Fedezett tételek
Minősített tételek
78. A fedezett tétel lehet egy kimutatott eszköz vagy kötelezettség, egy ki nem mutatott biztos elkötelezettség, egy nagy valószínűségű előrejelzett ügylet, vagy egy külföldi szervezetbe történt nettó befektetés. A fedezett tétel lehet (a) egy egyedi eszköz, kötelezettség, biztos elkötelezettség, nagy valószínűségű előrejelzett ügylet, vagy külföldi szervezetbe történt nettó befektetés, (b) hasonló kockázati jellemzőkkel rendelkező eszközök, kötelezettségek, biztos elkötelezettségek, nagy valószínűségű előrejelzett ügyletek, vagy külföldi szervezetbe történt nettó befektetések csoportja, vagy (c) kizárólag a kamatkockázat portfolió fedezete esetén, olyan pénzügyi eszközök vagy pénzügyi kötelezettségek portfoliójának egy része, amelyek osztoznak a fedezett kockázatban.
79. A kölcsönökkel és követelésekkel ellentétben, a lejáratig tartandó befektetések nem lehetnek fedezett tételek a kamatláb- vagy az előteljesítési kockázatra vonatkozóan, mivel a befektetés lejáratig tartandóként történő megjelölésének feltétele egy - a kamatlábváltozások miatt a befektetés valós értékében vagy cash flow-iban bekövetkező változásoktól független - szándék a befektetés lejáratig történő megtartására. Azonban egy lejáratig tartandó befektetés lehet fedezett tétel a devizaárfolyam változásokból eredő kockázatok és a hitelkockázat vonatkozásában.
80. Fedezeti elszámolási célokra kizárólag az egységen kívüli felet is bevonó eszközök, kötelezettségek, biztos elkötelezettségek és nagy valószínűségű előrejelzett ügyletek jelölhetők meg fedezett tételként. Ebből következően, a fedezeti elszámolás az azonos csoportba tartozó egységek vagy szegmensek közötti ügyletek esetében kizárólag az ezen egységek vagy szegmensek saját vagy egyedi pénzügyi kimutatásaiban alkalmazhatók, de a csoport konszolidált pénzügyi kimutatásaiban nem. Ez alól kivételt jelent a csoporton belüli monetáris tétel deviza kockázata (pl. két leányvállalat közötti kötelezettség/követelés), ami minősülhet fedezett tételnek a konszolidált pénzügyi kimutatásokban, amennyiben olyan deviza árfolyam nyereségeknek vagy veszteségeknek való kitettséget eredményez, amelyeket teljes mértékben nem szűrnek ki a konszolidáció során az IAS 21 Az átváltási árfolyamok változásainak hatásai standard alapján. Az IAS 21 alapján a csoporton belüli monetáris tételeken keletkező deviza árfolyam nyereségek és veszteségek akkor nem kerülnek teljes mértékben kiszűrésre a konszolidáció során, ha a csoporton belüli monetáris tétel két olyan, a csoportba tartozó egység között jön létre, amelyek funkcionális pénzneme eltérő.
Pénzügyi tételek fedezett tételekként való megjelölése
81. Amennyiben a fedezett tétel egy pénzügyi eszköz vagy pénzügyi kötelezettség, az megjelölhető fedezett tételként a cash flow-i vagy valós értéke egy részéhez (mint pl. egy vagy több kiválasztott szerződés szerinti cash flow-khoz vagy azok egy részeihez, vagy a valós érték meghatározott százalékához) kapcsolódó kockázatai tekintetében, feltéve, hogy a hatékonyság mérhető. Például, egy kamatozó eszköz vagy kamatozó kötelezettség kamatláb kockázatának elkülöníthető és külön mérhető része megjelölhető fedezett kockázatként (mint pl. egy fedezett pénzügyi instrumentum teljes kamatláb kockázatának a kockázat mentes kamatláb, vagy az összehasonlító kamatláb komponense).
81A. Pénzügyi eszközök vagy pénzügyi kötelezettségek egy portfoliója kamatláb kitettségének valós érték fedezete esetében (és kizárólag ebben az esetben) a fedezett rész valamely deviza összeg tekintetében (pl. dollár, font vagy rand összeg) jelölhető meg, nem pedig valamely egyedi eszközre (kötelezettségre) nézve. Bár a portfolió kockázat kezelési célokból tartalmazhat eszközöket és kötelezettségeket, a megjelölt összeg az eszközök egy összege vagy a kötelezettségek egy összege. Egy eszközöket és kötelezettségeket is tartalmazó nettó összeg megjelölése nem lehetséges. Az egység az ezen megjelölt összeghez kapcsolódó kamatláb kockázat egy részét is fedezheti. Például, egy előtörleszthető eszközöket tartalmazó portfolió fedezete esetén, az egység fedezheti a fedezett kamatlábban bekövetkező változás miatti valós érték változást a várható, nem pedig a szerződéses, átárazási időpontok alapján. [...]
Nem pénzügyi tételek fedezett tételekként való megjelölése
82. Ha a fedezett tétel nem pénzügyi eszköz vagy nem pénzügyi kötelezettség, fedezett tételként megjelölhető, (a) vagy devizakockázatokra, vagy (b) a maga teljességében minden kockázatra, mivel a cash flow-k vagy a valós érték változásainak a devizakockázattól eltérő specifikus kockázatoknak tulajdonítható megfelelő részét nehéz elkülöníteni és értékelni.
Tételek csoportjának fedezett tételekként való megjelölése
83. A hasonló eszközöket vagy hasonló kötelezettségeket kizárólag akkor lehet összevonni és csoportként lefedezni, ha a csoportba tartozó egyedi eszközök és kötelezettségek osztoznak abban a kockázati kitettségben, amelyet fedezettként megjelöltek. Ezen felül, a csoport egyes tételeiben a fedezett kockázatnak tulajdoníthatóan bekövetkező valós érték változásoknak várhatóan arányosnak kell lenniük a tételek csoportjában a fedezett kockázatnak tulajdoníthatóan bekövetkező összesített valós érték változással.
84. Mivel az egység a fedezet hatékonyságát a fedezeti instrumentum (vagy hasonló fedezeti instrumentumok csoportja) és a fedezett tétel (vagy hasonló fedezett tételek csoportja) valós értékében vagy cash flow-jában bekövetkező változásoknak az összehasonlításával méri fel, a fedezeti instrumentum valamely átfogó nettó pozícióval (pl. az összes hasonló lejáratú fix kamatlábú eszköz és fix kamatlábú kötelezettség nettó összegével), nem pedig egy konkrét tétellel való összehasonlítása nem felel meg a fedezeti elszámolás feltételeinek.
Fedezeti elszámolás
85. A fedezeti elszámolás a fedezeti instrumentum és a fedezett tétel valós értéke változásainak a nyereségre és veszteségre gyakorolt, egymást ellentételező hatásait számolja el.
86. A fedezeti kapcsolat háromféle lehet:
(a) valós érték fedezeti ügylet:egy kimutatott eszköz vagy kötelezettség, vagy egy nem kimutatott biztos elkötelezettség, vagy az ilyen eszköz, kötelezettség, és biztos elkötelezettség valós értékében bekövetkező változásoknak való olyan kitettség fedezete, ami egy konkrét kockázatnak tudható be, és amely hatással lehet a nyereségre vagy veszteségre.
(b) cash flow fedezeti ügylet:az olyan cash flow változásoknak való kitettség fedezete, ami (i) egy elszámolt eszközhöz vagy kötelezettséghez (pl. egy változó kamatozású hitel jövőbeni kamatfizetéseinek összessége vagy egy része), vagy egy nagy valószínűségű előrejelzett ügylethez kapcsolódó kockázatnak tudható be, és (ii) hatással lehet a nyereségre vagy veszteségre.
(c) az IAS 21-ben meghatározott, külföldi érdekeltségbe történt nettó befektetés fedezete.
87. Egy biztos elkötelezettség árfolyam kockázatára vonatkozó fedezeti ügyletet valós érték vagy cash flow fedezeti ügyletként is el lehet számolni.
88. Egy fedezeti kapcsolat akkor, és csak akkor felel meg a 89-102. bekezdésben foglalt fedezeti elszámolás feltételeinek, ha az alábbi kritériumok mindegyike teljesül.
(a) A fedezet kezdetén formálisan megjelölésre és dokumentálásra kerül a fedezeti kapcsolat, valamint fedezet vállalásához kapcsolódóan az egység kockázat kezelési célja és stratégiája. E dokumentációnak tartalmaznia kell a fedezeti instrumentumnak, a fedezett tételnek vagy ügyletnek, a fedezett kockázat jellegének, valamint annak azonosítását, hogy az egység hogyan fogja felmérni a fedezeti instrumentum hatékonyságát a fedezett tétel valós értékében vagy cash flow-iban a fedezett kockázatnak tulajdoníthatóan bekövetkező változások ellentételezésében.
(b) A fedezeti ügylet várhatóan nagyon hatékony lesz (lásd a A Függelék AG105-AG113. bekezdések) a fedezett kockázatnak tulajdonítható valós érték vagy cash flow változásokat ellentételező hatások elérésében, az adott fedezeti kapcsolatra vonatkozó, eredetileg dokumentált kockázatkezelési stratégiával összhangban.
(c) A cash flow fedezeti ügylet esetében a fedezeti ügylet tárgyát képező előrejelzett ügyletnek nagyon valószínűnek kell lennie, és a cash flow változásainak való olyan kitettséget kell mutatnia, amely végül hatással lehet a nyereségre vagy veszteségre.
(d) A fedezeti ügylet hatékonysága megbízhatóan mérhető, azaz a fedezett tétel fedezett kockázatnak tulajdonítható valós értéke vagy cash flow-i, valamint a fedezeti instrumentum valós értéke megbízhatóan meghatározható (ld. 46. és 47. bekezdések, valamint az A Függelék AG80. és AG81. bekezdései a valós érték meghatározásához).
(e) A fedezettség folyamatosan értékelésre került és ténylegesen megállapították, hogy a pénzügyi beszámolási időszak egész ideje alatt, melyre vonatkozóan megjelölésre került, nagyon hatékony volt.
Valós érték fedezeti ügyletek
89. Ha a valós érték fedezeti ügylet megfelel a 88. bekezdésben ismertetett feltételeknek az időszakban, akkor azt a következők szerint kell elszámolni:
(a) a fedezeti instrumentum valós értékre történő átértékeléséből (egy származékos fedezeti instrumentum esetén), vagy annak könyv szerinti értéke külföldi pénznem komponensének az IAS 21 szerinti értékeléséből származó nyereséget vagy veszteséget (egy nem származékos fedezeti instrumentum esetén) a nyereségben vagy veszteségben kell elszámolni; valamint
(b) a fedezett tételen keletkező, a fedezett kockázatnak tulajdonítható nyereséggel vagy veszteséggel módosítani kell a fedezett tétel könyv szerinti értékét, és azt a nyereségben vagy veszteségben kell elszámolni. Ez akkor is érvényes, ha a fedezett tétel egyébként bekerülési értéken kerül értékelésre. A fedezett kockázatnak tulajdoníthatóan bekövetkező nyereségnek vagy veszteségnek a nyereségben vagy veszteségben történő elszámolása akkor vonatkozik, ha a fedezett tétel egy értékesíthető pénzügyi eszköz.
89A. A pénzügyi eszközök vagy pénzügyi kötelezettségek portfoliója egy részére vonatkozó kamatláb kockázat valós érték fedezeti ügylete esetében (és csak ebben az esetben) a 89(b) bekezdés rendelkezéseit úgy lehet teljesíteni, hogy a fedezett tételnek betudható nyereséget vagy veszteséget az alábbiak szerint mutatják be:
(a) elkülönült sorban az eszközök között, azon átárazási időszakokra vonatkozóan, amelyeknél a fedezett tétel eszköz;
vagy
(b) külön sorban a kötelezettségek között, azon átárazási időszakokra vonatkozóan, amelyeknél a fedezett tétel kötelezettség.
Az (a) és (b) pontokban hivatkozott külön sort közvetlenül a pénzügyi eszközök és pénzügyi kötelezettségek mellett kell kimutatni. Az e sorokban kimutatott összegeket ki kell vezetni a mérlegből, amennyiben azon eszközök vagy kötelezettségek, amelyekre azok vonatkoznak, kivezetésre kerültek.
90. Amennyiben kizárólag a fedezett tételhez kapcsolódó egyes meghatározott kockázatok kerülnek fedezésre, a fedezett tétel valós értékében a fedezett kockázatoktól függetlenül elszámolt változásokat az 55. bekezdés alapján kell elszámolni.
91. Az egységnek a 89. bekezdésben meghatározott fedezeti elszámolást a jövőre nézve meg kell szüntetnie, ha:
(a) a fedezeti instrumentum lejár vagy eladják, megszüntetik vagy lehívják (ebből a szempontból egy fedezeti instrumentum lecserélése vagy másik instrumentumba történő átforgatása nem lejárat vagy megszüntetés akkor, ha ez a lecserélés vagy átforgatás része az egység dokumentált fedezeti stratégiájának);
(b) a fedezeti ügylet már nem felel meg a fedezeti elszámolás 88. bekezdésben meghatározott feltételeinek; vagy
(c) az egység visszavonja a megjelölést.
92. Az effektív kamatláb alkalmazásával nyilvántartott fedezett pénzügyi instrumentum könyv szerinti értékének 89(b) bekezdésből következő bármilyen módosítását (vagy a kamatláb kockázatra vonatkozó portfolió fedezeti ügylet esetén, a 89A bekezdésben foglalt külön mérlegsort) a nyereségbe vagy veszteségbe kell amortizálni. Az amortizáció legkorábban akkor kezdődhet meg, amikor felmerül a módosítás, és azt legkésőbb addig meg kell kezdeni, amikortól a fedezett tételnek a fedezett kockázatnak tulajdonítható valós érték változások miatti módosítása megszűnik. A módosítás az amortizáció megkezdésének időpontjában érvényes újraszámított effektív kamatlábon alapul. Ugyanakkor azonban amennyiben egy pénzügyi eszközöket vagy pénzügyi kötelezettségeket tartalmazó portfolió kamatláb kockázatára vonatkozó valós érték fedezeti ügylet esetén (és csak ebben az esetben) az újraszámított effektív kamatlábbal való amortizáció nem lehetséges, a módosítás értékét lineáris módszerrel kell amortizálni. A módosítást a pénzügyi instrumentum lejáratáig, vagy egy kamatlábkockázat portfolió fedezeti ügylet esetén a vonatkozó átárazási időszak leteltéig, teljes mértékben amortizálni kell.
93. Azokban az esetekben, amikor a ki nem mutatott biztos elkötelezettség kerül fedezett tételként megjelölésre, a biztos elkötelezettség valós értékében a fedezett kockázatnak tulajdoníthatóan bekövetkező halmozott változást eszközként vagy kötelezettségként kell kimutatni, a kapcsolódó nyereségnek vagy veszteségnek a nyereségben vagy veszteségben történő elszámolásával (ld. 89(b) bekezdés). A fedezeti instrumentum valós értékében bekövetkező változásokat szintén a nyereségben vagy veszteségben kell elszámolni.
94. Azokban az esetekben, amikor az egység olyan biztos elkötelezettséget vállal valamely eszköz megszerzésére, vagy kötelezettség felvállalására, ami fedezett tétel egy valós érték fedezeti ügyletben, az eszköznek vagy kötelezettségnek az abból származó kezdeti könyv szerinti értéke, hogy az egység eleget tett a biztos elkötelezettségének, módosításra kerül, hogy tartalmazza a biztos elkötelezettség valós értékében a fedezett kockázatnak tulajdoníthatóan bekövetkezett, a mérlegben kimutatott halmozott változásokat.
Cash flow fedezeti ügyletek
95. Ha a cash flow fedezeti ügylet megfelel a 88. bekezdésben ismertetett feltételeknek az időszakban, akkor azt a következők szerint kell elszámolni:
(a) a fedezeti instrumentumon képződött nyereségnek vagy veszteségnek azt a részét, amely hatékony fedezetként került meghatározásra (lásd a 88. bekezdést) közvetlenül a saját tőkében kell elszámolni, a tőkeváltozások kimutatásán keresztül (ld. IAS 1); és
(b) a fedezeti instrumentumon elért nyereség vagy veszteség nem hatékony részét a nyereségben vagy veszteségben kell elszámolni.
96. Konkrétabban, a cash flow fedezeti ügyletet a következők szerint számolják el:
(a) a saját tőkének a fedezett tételhez kapcsolódó elkülönült komponensét módosítják a következők közül a kevesebbre (abszolút összegekben):
(i) a fedezeti instrumentumon elért nyereségnek vagy veszteségnek a fedezet kezdetétől halmozott értéke;
valamint
(ii) a fedezett tétel várható jövőbeli cash flow-inak a valós értékében (jelenértékében) a fedezeti ügylet kezdetétől bekövetkezett halmozott változások;
(b) a fedezeti instrumentumon vagy annak megjelölt komponensén (ami nem egy hatékony fedezeti ügylet) keletkező bármely fennmaradó nyereség vagy veszteség a nyereségben vagy veszteségben kerül elszámolásra;
és
(c) amennyiben az egység dokumentált kockázatkezelési stratégiája egy adott fedezeti kapcsolat esetében kizárja a fedezeti instrumentumon képződött nyereség vagy veszteség, vagy a kapcsolódó cash flow-k egy bizonyos komponensét a fedezeti hatékonyság értékeléséből (lásd a 74., 75. és 88(s) bekezdések), akkor a nyereségnek vagy a veszteségnek ezt a kihagyott elemét az 55. bekezdés szerint számolják el.
97. Amennyiben egy előrejelzett ügyletre vonatkozó fedezeti ügylet a későbbiekben valamely pénzügyi eszköz vagy pénzügyi kötelezettség kimutatását eredményezi, a 95. bekezdés alapján közvetlenül a saját tőkében elszámolt kapcsolódó nyereségeket vagy veszteségeket annak az időszaknak a nyereségébe vagy veszteségébe kell átvezetni, amelynek során az eszköz megszerzése, vagy a kötelezettség felvállalása hatással van a nyereségre vagy veszteségre (mint pl. azon időszakokban, amikor kamatbevétel vagy kamatköltség kerül elszámolásra). Ugyanakkor azonban, ha az egység várakozásai szerint a közvetlenül a saját tőkében elszámolt veszteség vagy annak egy része egy vagy több jövőbeni időszak alatt nem fog megtérülni, az egységnek azt a részt, melyre nem várható megtérülés, át kell átsorolnia a nyereségbe vagy veszteségbe.
98. Amennyiben egy előrejelzett ügyletre vonatkozó fedezeti ügylet a későbbiekben valamely nem pénzügyi eszköz vagy nem pénzügyi kötelezettség kimutatását eredményezi, vagy amennyiben egy nem pénzügyi eszközre vagy nem pénzügyi kötelezettségre vonatkozó előrejelzett ügylet biztos elkötelezettséggé válik, melyre valós érték fedezeti elszámolást alkalmaznak, az egységnek az alábbi (a) vagy (b) eljárást kell alkalmaznia:
(a) A 95. bekezdés alapján közvetlenül a saját tőkében elszámolt kapcsolódó nyereséget és veszteséget abban az időszakban vagy időszakokban sorolja át a nyereségbe vagy veszteségbe, amelyben a megszerzett eszköz vagy felvállalt kötelezettség hatással van a nyereségre vagy veszteségre (pl. azon időszakok, amelyekben az értékcsökkenési leírás vagy értékesítési költség elszámolásra kerül). Ugyanakkor azonban, ha az egység várakozásai szerint a közvetlenül a saját tőkében elszámolt veszteség vagy annak egy része egy vagy több jövőbeni időszak alatt nem fog megtérülni, az egységnek azt a részt, melyre nem várható megtérülés, át kell sorolnia a nyereségbe vagy veszteségbe.
(b) a 95. bekezdés alapján közvetlenül a saját tőkében elszámolt kapcsolódó nyereségeket és veszteségeket kivezeti, és azokat az eszköz vagy a kötelezettség eredeti bekerülési értékében vagy egyéb könyv szerinti értékében számolja el.
99. Az egységnek a 98. bekezdés (a) vagy (b) bekezdésében meghatározott módszerek valamelyikét kell alkalmaznia számviteli politikaként, és azt konzisztens módon kell alkalmaznia valamennyi olyan fedezeti ügyletre, amelyre a 98. bekezdés vonatkozik.
100. Minden cash flow fedezeti ügylet esetében, kivéve azokat, amelyekre a 97. és 98. bekezdések vonatkoznak, a közvetlenül a saját tőkében elszámolt összegeket ugyanabban az időszakban vagy időszakokban kell a nyereségben vagy veszteségben figyelembe venni, amikor a fedezett előrejelzett ügylet a nettó nyereségre vagy veszteségre hatást gyakorol (például akkor, amikor az előrejelzett eladás megtörténik).
101. Amennyiben az alábbi körülmények közül bármelyik bekövetkezik, az egységnek a 95-100. bekezdésekben meghatározott fedezeti elszámolást a jövőre nézve meg kell szüntetnie:
(a) A fedezeti instrumentum lejár vagy eladják, megszüntetik vagy lehívják (ebből a szempontból egy fedezeti instrumentum lecserélése vagy másik instrumentumba történő átforgatása nem lejárat vagy megszüntetés akkor, ha ez a lecserélés vagy átforgatás része az egység dokumentált fedezeti stratégiájának). Ebben az esetben azt a fedezeti instrumentumon felhalmozott nyereséget vagy veszteséget, amely közvetlenül a saját tőkében került elszámolásra akkor, amikor a fedezet hatékony volt (lásd a 95(a) bekezdést), továbbra is a saját tőkében kell elkülönülten kimutatni mindaddig, amíg az előrejelzett ügylet be nem következik. Amikor az ügylet bekövetkezik, a 97., 98. és 100. bekezdéseket alkalmazzák.
(b) A fedezeti ügylet már nem felel meg a fedezeti elszámolás 88. bekezdésben meghatározott feltételeinek. Ebben az esetben azt a fedezeti instrumentumon felhalmozott nyereséget vagy veszteséget, amely közvetlenül a saját tőkében került elszámolásra akkor, amikor a fedezet hatékony volt (lásd a 95(a) bekezdést), továbbra is a saját tőkében kell elkülönülten kimutatni, mindaddig, amíg az előrejelzett ügylet be nem következik. Amikor az ügylet bekövetkezik, a 97., 98. és 100. bekezdéseket alkalmazzák.
(c) Az előrejelzett ügylet bekövetkezése már nem várható, mely esetben a fedezeti instrumentumra vonatkozó halmozott nyereség vagy veszteség azon összegét, amely közvetlenül a saját tőkében maradt kimutatva azon időszaktól, amikortól a fedezet hatékony volt (ld. 95(a) bekezdés), a nyereségben vagy veszteségben kell elszámolni. Az olyan előrejelzett ügylet, amely már nem nagyon valószínű (ld. 88c bekezdés) még lehet várhatóan bekövetkező.
(d) Az egység visszavonja a megjelölést. Az előrejelzett ügyletre vonatkozó fedezeti ügylet esetében, azt a fedezeti instrumentumon felhalmozott nyereséget vagy veszteséget, amely közvetlenül a saját tőkében került elszámolásra akkor, amikor a fedezet hatékony volt (lásd a 95(a) bekezdést), továbbra is a saját tőkében kell elkülönülten kimutatni, mindaddig, amíg az előrejelzett ügylet be nem következik. Amikor az ügylet bekövetkezik, a 97., 98. és 100. bekezdéseket alkalmazzák. Amennyiben az ügylet bekövetkezése már nem várható, a közvetlenül a saját tőkében elszámolt halmozott nyereséget vagy veszteséget a nyereségben vagy veszteségben kell elszámolni.
A nettó befektetés fedezeti ügyletei
102. A külföldi érdekeltségben lévő nettó befektetésre vonatkozó fedezeti ügyletek, beleértve az olyan pénzügyi tételre vonatkozó fedezeti ügyletet, amely a nettó befektetés részeként került elszámolásra (ld. IAS 21), a cash flow fedezeti ügyletekhez hasonlóan kell elszámolni:
(a) a fedezeti instrumentumon képződött nyereségnek vagy veszteségnek azt a részét, amely hatékony fedezetként került meghatározásra (lásd a 88. bekezdést) közvetlenül a saját tőkében kell elszámolni, a tőkeváltozások kimutatásán keresztül (ld. IAS 1); és
(b) a nem hatékony részt a nyereségben vagy veszteségben kell elszámolni.
A fedezeti instrumentumon keletkező, a fedezeti ügylet hatékony részéhez kapcsolódó nyereséget vagy veszteséget, amely közvetlenül a saját tőkében került elszámolásra, a külföldi érdekeltség elidegenítésekor kell a nyereségben vagy veszteségben elszámolni.
HATÁLYBALÉPÉS NAPJA ÉS ÁTMENETI RENDELKEZÉSEK
103. Az egységnek a jelen standardot (beleértve annak 2004. márciusában kibocsátott módosításait) a 2005. január 1-jén, vagy azt követően kezdődő éves időszakokra kell alkalmaznia. A korábbi alkalmazás megengedett. Az egység csak akkor alkalmazhatja a jelen standardot (beleértve annak 2004. márciusi módosításait is) 2005. január 1-jét megelőzően kezdődő éves időszakokra, ha egyidejűleg a (2003. decemberében kibocsátott) IAS 32-t is alkalmazza. Ha egy egység egy 2005. január 1-je előtt kezdődő időszakra alkalmazza a jelen standardot, ezt a tényt közzé kell tennie.
104. A jelen standardot visszamenőleges hatállyal kell alkalmazni, kivéve a 105-108. bekezdésben meghatározott eseteket. A legkorábbi bemutatott időszakra vonatkozó felhalmozott eredmény nyitó egyenlegét, valamint minden egyéb összehasonlító adatot úgy kell korrigálni, mintha a jelen standardot mindig is alkalmazták volna, kivéve, ha az információk újra-megállapítása kivitelezhetetlen. Amennyiben az újra-megállapítás kivitelezhetetlen, az egységnek közzé kell tennie ezt a tényt, és jeleznie kell, hogy milyen mértékig kerültek az információk újra-megállapításra.
105. A jelen standard első alkalmazásakor, az egység számára megengedett, hogy egy korábban kimutatott pénzügyi eszközt vagy pénzügyi kötelezettséget a nyereséggel vagy veszteséggel szemben valós értéken értékeltként, vagy értékesíthetőként jelöljön meg, annak ellenére, hogy a 9. bekezdésben előírtak alapján az csak a kezdeti megjelenítéskor lehetséges. Bármely ilyen értékesíthetőként megjelölt pénzügyi eszköz esetében, az egységnek a valós értékben bekövetkező halmozott változásokat a saját tőke egy elkülönített összetevőjeként kell kimutatnia a későbbi kivezetésig vagy értékvesztés elszámolásig, amikor a halmozott nyereség vagy veszteség összegét át kell vezetni a nyereségbe vagy veszteségbe. A nyereséggel vagy veszteséggel szemben valós értéken értékeltként vagy értékesíthetőként megjelölt bármely pénzügyi instrumentumra vonatkozóan az egységnek:
(a) a pénzügyi eszközt vagy pénzügyi kötelezettséget újra meg kell állapítania az összehasonlító pénzügyi kimutatásokban az új megjelölés alkalmazásával; továbbá
(b) az egyes kategóriákba sorolt pénzügyi eszközök és pénzügyi kötelezettségek valós értékét, valamint a korábbi pénzügyi kimutatásokban szereplő besorolást és könyv szerinti értéket közzé kell tennie.
106. A 107. bekezdésben megengedettek kivételével, az egységnek a 15-37. bekezdésekben, valamint az A Függelék AG36-AG52. bekezdéseiben foglalt kivezetési előírásokat a jövőre nézve kell alkalmaznia. Ennek megfelelően, amennyiben az egység pénzügyi eszközöket vezetett ki a (2000-ben módosított) IAS 39 alapján olyan ügylet miatt, ami 2004. január 1. előtt következett be, és ezen eszközök kivezetésére egyénként a jelen standard alapján nem került volna sor, az egység ezen eszközöket nem mutathatja ki.
107. A 106. bekezdés ellenére, az egység visszamenőlegesen is alkalmazhatja a 15-37. bekezdésekben, valamint az A Függelék AG36-AG52. bekezdéseiben foglalt kivezetési előírásokat egy saját döntése szerinti időponttól, feltéve, hogy azok az információk, amelyek szükségesek az IAS 39-nek a múltbeli ügyletek eredményeként kivezetett eszközökre és kötelezettségekre történő alkalmazásához, rendelkezésre álltak ezen ügyletek eredeti elszámolásakor.
108. Az egység nem módosíthatja a nem pénzügyi eszközök és nem pénzügyi kötelezettségek könyv szerinti értékét azért, hogy kivezesse abból a könyv szerinti értékben a cash flow fedezeti ügyletekhez kapcsolódóan annak a pénzügyi évnek a kezdetét megelőzően figyelembe vett nyereséget és veszteséget, amelyben a jelen standard először alkalmazásra kerül. Azon pénzügyi időszak elején, amelyben a jelen standard először alkalmazásra kerül, egy biztos elkötelezettségre vonatkozó olyan fedezeti ügylethez kapcsolódóan közvetlenül a saját tőkében elszámolt összeget, amely a jelen standard alapján valós érték fedezeti ügyletként kerülne elszámolásra, át kell vezetni az eszközök vagy kötelezettségek közé, kivéve, ha az olyan árfolyam kockázatra vonatkozó fedezeti ügylet, amelyet továbbra is cash flow fedezeti ügyletként kezelnek.
EGYÉB KIADVÁNYOK VISSZAVONÁSA
109. A jelen standard felülírja a 2000. októberében módosított IAS 39 Pénzügyi Instrumentumok: Megjelenítés és értékelés standardot.
110. A jelen standard, valamint az ahhoz kapcsolódó Alkalmazási Útmutató hatályon kívül helyezi a korábbi IASC által létrehozott IAS 39 Alkalmazási Útmutató Bizottság által kibocsátott Alkalmazási Útmutatót.
(1) A 48, 49. bekezdések, valamint az A Függelék AG69-AG82. bekezdései tartalmazzák a pénzügyi eszközök és kötelezettségek valós értékének meghatározására szolgáló előírásokat.
A FÜGGELÉK
Alkalmazási útmutató
A jelen függelék a standard elválaszthatatlan részét képezi.
Hatókör (2-7. bekezdések)
AG1. Az olyan szerződéseket, amelyek a fizetést éghajlati, geológiai vagy más fizikai változók alapján írják elő, gyakran biztosítási kötvényként alkalmazzák. (Az éghajlati változókon alapuló szerződéseket néha "időjárási származékos termékeknek" is nevezik). Az ilyen szerződések esetén a fizetés a biztosított egység által elszenvedett veszteségen alapul. Az olyan biztosítási szerződésekből eredő jogok és kötelmek, amelyek nem elsősorban pénzügyi kockázat átadását foglalják magukban, nem tartoznak a jelen standard hatókörébe a 2(d) bekezdés alapján. Egyes szerződések esetén a fizetendő összeg, amely éghajlati, geológiai és egyéb fizikai változókhoz kötött, független a biztosított egység veszteségétől. Az ilyen szerződések nem tartoznak a jelen Standard hatókörébe a 2(h) bekezdés alapján.
AG2. A jelen standard nem módosítja a munkavállalói juttatási programokkal kapcsolatos előírásokat, amelyek az IAS 26 Nyugdíjazási juttatási programok elszámolása és beszámolása standardnak kell megfeleljenek, és az értékesítések vagy szolgáltatási bevételek szintjén alapuló jogdíj megállapodásokkal kapcsolatos előírásokat, amelyeket az IAS 18 Bevételek standard alapján számolnak el.
AG3. Vannak olyan esetek, amikor egy egység saját maga által "stratégiai befektetésnek" tekintett befektetést eszközöl egy másik egység által kibocsátott tőkeinstrumentumba azzal a szándékkal, hogy hosszú távú működési kapcsolatot alakítson ki azzal az egységgel, amelybe befektetett. A befektető egység ilyenkor az IAS 28 Társult vállalkozásokban lévő befektetések standardot alkalmazza annak meghatározására, hogy a tőkemódszer alkalmas-e az ilyen befektetés elszámolására. Hasonlóképpen, a befektető egység az IAS 31 Közös vállalkozásokban lévő érdekeltségek standar delőírásait alkalmazza annak eldöntésére, hogy a részarányos konszolidáció, vagy a tőkemódszer megfelelő-e az ilyen befektetés elszámolására. Ha sem a részarányos konszolidáció, sem pedig a tőkemódszer nem megfelelő, az egység a jelen standardot alkalmazza az érintett stratégiai befektetésre.
AG4. A jelen standard vonatkozik a biztosítók pénzügyi eszközeire és pénzügyi kötelezettségeire, kivéve a biztosítási szerződésekből származó jogokat és kötelmeket, amelyeket a 2(d) bekezdés kizár a standard hatóköréből.
Fogalmak (8-9. bekezdések)
Az effektív kamatláb
AG5. Egyes esetekben a pénzügyi eszközöket nagymértékű árkedvezmény mellett szerzik meg, ami a felmerült hitelezési veszteségeket tükrözi. Az ilyen felmerült hitelezési veszteségeket az egység figyelembe veszi a becsült cash flow-kban az effektív kamatláb kiszámításához.
AG6. Az effektív kamatláb módszer alkalmazásakor, az egység általában az instrumentum várható élettartama alatt amortizálja az effektív kamatláb kiszámításában figyelembe vett díjakat, kapott és adott pontokat, tranzakciós költségeket és az egyéb felárakat vagy diszkontokat. Ugyanakkor egy rövidebb időszakot alkalmaznak, ha ez az az időszak, amelyhez a díjak, fizetett vagy kapott pontok, tranzakciós költségek, felárak vagy diszkontok tartoznak. Ez az eset áll fenn, amikor a változó, amelyre a díjak, fizetett vagy kapott pontok, tranzakciós költségek, felárak vagy diszkontok vonatkoznak, a piaci értékekre átárazásra kerül az instrumentum várható lejárata előtt. Ilyen esetben a megfelelő amortizációs időszak a következő ilyen átárazási időpontig hátralevő időszak. Például, amennyiben egy változó kamatozású instrumentumra vonatkozó felár vagy diszkont az instrumentumon az utolsó kamatfizetés óta felhalmozott kamatot, vagy a kamat piaci szinthez való utolsó igazítása óta eltelt időszak alatti kamatváltozásokat tükrözi, azt a következő piaci szinthez való kamatigazításig terjedő időszak alatt kell amortizálni. Ennek oka, hogy a felár vagy a diszkont a következő kamatmódosításig terjedő időszakra vonatkozik, mivel, ebben az időpontban az a változó, amelyre a felár vagy a diszkont vonatkozik (azaz a kamatláb) a piaci szintre módosul. Amennyiben ugyanakkor a felár vagy a diszkont az instrumentumban meghatározott változó kamat hitelkamat eltérésében (credit spreadben) bekövetkező változások, vagy más olyan változó eredménye, ami nem kerül a piaci szintre kiigazításra, azt az instrumentum várható élettartama alatt kell amortizálni.
AG7. Változó kamatozású pénzügyi eszközök és változó kamatozású pénzügyi kötelezettségek esetén, a cash flow-k meghatározott időszakonként, a piaci kamatláb mozgásainak tükrözése céljából történő újra becslése megváltoztatja az effektív kamatlábat. Amennyiben egy változó kamatozású pénzügyi eszköz vagy egy változó kamatozású pénzügyi kötelezettség kezdetben a futamidő lejáratakor járó vagy fizetendő tőkeösszeggel azonos értéken került kimutatásra, a jövőbeni kamat fizetések újrabecslésének általában nincs jelentős hatása az eszköz vagy kötelezettség könyv szerinti értékére.
AG8. Amennyiben az egység megváltoztatja a fizetendő vagy befolyó összegekre vonatkozó becsléseit, az egységnek a pénzügyi eszköz vagy pénzügyi kötelezettség (vagy a pénzügyi instrumentumok egy csoportja) könyv szerinti értékét módosítania kell, hogy az a tényleges és módosított becsült cash flow-kat tükrözze. Az egység a könyv szerinti értéket a becsült jövőbeni cash flow-knak a pénzügyi instrumentum eredeti effektív kamatlábán számított jelenértéke kiszámításával számítja át. A módosítás bevételként vagy ráfordításként kerül elszámolásra a nyereségben vagy veszteségben.
Származékos termékek
AG9. A származékos termékek tipikus példái a future és forward, a swap és az opciós szerződések. A származékos termékeknek általában van egy névleges értéke, ami lehet egy pénznemnek egy összege, egy adott számú részvény, egy adott számú súly- vagy mennyiség egység vagy más, a szerződésben meghatározott egység. A származékos termék azonban nem kötelezi tulajdonosát vagy kibocsátóját arra, hogy a szerződés megkötésekor befektesse, vagy megkapja a névleges értéket. Alternatív esetben, a származékos ügylet valamely fix összeg megfizetését, vagy egy olyan összeg megfizetését is előírhatja, amely változhat (de nem a mögöttes változásával arányosan) valamely jövőbeni esemény eredményeként, ami nem kapcsolódik a névleges összeghez. Például egy szerződés úgy rendelkezhet, hogy 1 000 CU (1) értékű fix összeget kell fizetni, ha a hat havi LIBOR értéke 100 bázisponttal emelkedik. Az ilyen szerződés származékos termék, még akkor is, ha a névleges érték nincs meghatározva.
AG10. A származékos ügylet fogalmi meghatározása a jelen standardban magában foglalja a bruttó módon, a mögöttes átadásával teljesítendő szerződéseket is (pl. egy forward szerződés egy fix kamatozású hitel instrumentum megvásárlására). Az egységnek lehet olyan nem pénzügyi eszköz megvásárlására vagy eladására vonatkozó szerződése, ami készpénzben vagy más pénzügyi instrumentumban nettó módon, vagy pénzügyi instrunmentumok cseréje által is teljesíthető (pl. egy tőzsdei áru vételére vagy eladására vonatkozó szerződés, fix áron, egy jövőbeni időpontban). Az ilyen szerződés a jelen standard hatálya alá tartozik, kivéve, ha azok valamely nem pénzügyi eszköznek az egység várható vételi, eladási vagy felhasználási igényeinek megfelelő leszállításának céljára vannak létrehozva és tartva (ld. 5-7. bekezdések).
AG11. A származékos ügyletek egyik fogalmi jellemzője az, hogy alacsonyabb kezdeti nettó befektetést jelentenek annál, mint amit más olyan szerződés típusokra igényelnének, amelyek várhatóan hasonló választ adnának a piaci tényezőkben bekövetkező változásokra. Az opciós szerződés megfelel e fogalomnak, mivel a díj alacsonyabb, mint az a befektetés, ami szükséges lenne annak a mögöttes pénzügyi instrumentumnak a megszerzéséhez, amelyhez az opció kapcsolódik. Egy deviza swap, ami egyenlő valós értékű, eltérő pénznemek előzetesen cseréjét írja elő, megfelel a definíciónak, mivel nulla előzetes befektetést jelent.
AG12. A szokásos módon történő vétel vagy eladás fix áras elkötelezettséget keletkeztet a kötési időpont és a teljesítés időpontja között, ami megfelel a származékos ügylet fogalmának. Ugyanakkor az elkötelezettség rövid időtartama miatt az ilyen szerződéseket nem mutatják ki származékos pénzügyi instrumentumként. Ehelyett, a jelen standard speciális elszámolásokat ír elő az ilyen szokásos módú szerződésekre (ld. 38. és AG53-AG56. bekezdések).
Tranzakciós költségek
AG13. A tranzakciós költségek magukba foglalják az ügynököknek (beleértve az értékesítési ügynökként eljáró munkavállalókat), tanácsadóknak, brókereknek és kereskedőknek fizetett díjakat és jutalékokat, a szabályozó hatóságok és értéktőzsdék által kivetett díjakat, az átruházással kapcsolatos adókat és illetékeket. A tranzakciós költségek nem foglalják magukba a hitelezéskor keletkező prémiumot vagy diszkontot, a finanszírozási költségeket, vagy a belső adminisztrációs vagy tartási költségeket.
Kereskedési céllal tartott pénzügyi eszközök és pénzügyi kötelezettségek
AG14. A kereskedés általában aktív és gyakori adás-vételt jelent, és a kereskedési céllal tartott pénzügyi instrumentumokat általában azzal a céllal használják, hogy nyereséget generáljanak a rövid távú ármozgásokból vagy a közvetítői jutalékból.
AG15. A forgatási céllal tartott pénzügyi kötelezettségek magukban foglalják a következőket:
(a) származékos kötelezettségek, amelyek nem fedezeti instrumentumként kerülnek elszámolásra;
(b) egy short eladó által kölcsönkért pénzügyi eszközök leszállítására vonatkozó kötelmek (azaz az egység olyan pénzügyi eszközöket ad el, amelyet kölcsönkért, és még nincs a birtokában);
(c) olyan pénzügyi kötelezettségek, amelyeket rövid időn belüli visszavásárlás céljával vállaltak fel (pl. jegyzett adósságinstrumentum, amelyet a kibocsátó rövid időn belül visszavásárolhat a valós értékben bekövetkező változásoktól függően);
és
(d) olyan pénzügyi instrumentumok, amelyek egy olyan azonosítható pénzügyi instrumentumokból álló portfolió részei, amelyeket együtt kezelnek, és amelyekre vonatkozóan bizonyíték van a közelmúltbeli rövid távú nyereségszerzésre.
Az a tény, hogy egy kötelezettséget kereskedési tevékenység finanszírozására használnak, önmagában nem teszi a kötelezettséget kereskedési célúvá.
Lejáratig tartandó befektetések
AG16. Az egységnek nincs határozott szándéka egy fix lejárattal rendelkező pénzügyi eszközben lévő befektetést a lejáratig tartani, ha:
(a) az egység határozatlan időtartamra szándékozik megtartani a pénzügyi eszközt;
(b) az egység kész arra, hogy eladja a pénzügyi eszközt (kivéve, ha olyan egyedi, a jövőben nem ismétlődő helyzet állna elő, amelyet az egység ésszerű módon nem láthatott előre) válaszul a piaci kamatlábak vagy kockázatok változásaira, a likviditási szükségletekre, az alternatív befektetési lehetőségek elérhetőségének és hozamának változásaira, a finanszírozási források és feltételek változásaira vagy a devizakockázat változásaira;
vagy
(c) a kibocsátó jogosult arra, hogy a pénzügyi eszközt olyan összegben rendezze, ami jelentősen alacsonyabb a pénzügyi eszköz amortizált bekerülési értékénél.
AG17. A változó kamatozású, hitelviszonyt megtestesítő instrumentum kielégítheti a lejáratig tartandó befektetésekre vonatkozó követelményeket. A tőkeinstrumentumok nem lehetnek lejáratig tartandó befektetések, vagy azért, mert határozatlan élettartamúak (mint például a törzsrészvények), vagy pedig azért, mert a tulajdonosuknak járó összeg előre nem rögzített módokon változhat (mint például részvényopciók, warrantok és hasonló jogok). A lejáratig tartandó befektetések definícióját illetően a fix, vagy meghatározható fizetések és a fix lejárat olyan szerződéses megállapodást jelentenek, amely meghatározza a tulajdonos számára történő fizetések, így a kamatfizetések és tőketörlesztések összegeit és időpontjait. A nem fizetés jelentős kockázata nem zárja ki a pénzügyi eszköz lejáratig tartandóként történő besorolását, amennyiben a szerződésen alapuló kifizetések előre meghatározottak, vagy meghatározhatók, és a besorolás egyéb kritériumai teljesülnek. Ha egy lejárat nélküli adósságinstrumentum határozatlan időre biztosít kamatfizetéseket, az instrumentum nem minősíthető lejáratig tartandó befektetésnek, mivel nincs lejárati időpontja.
AG18. A kibocsátó által visszavásárolható (callable) pénzügyi eszközök akkor felelnek meg a lejáratig tartandó befektetésekre vonatkozó kritériumoknak, ha a tulajdonosnak szándékában áll és képes azokat a visszavásárlásig vagy a lejáratig megtartani, és amennyiben a birtokosának lényegében a teljes könyv szerinti érték meg fog térülni. A kibocsátó vételi opciója, ha lehívják, csupán az eszköz lejáratát gyorsítja fel. Ha azonban a pénzügyi eszköz olyan módon vásárolható vissza (callable), hogy a tulajdonosnak nem térül meg lényegében a teljes könyv szerinti érték, akkor a pénzügyi eszköz nem minősíthető lejáratig tartandónak. Annak megállapításakor, hogy a könyv szerinti érték alapvetően megtérül-e, az egység figyelembe vesz bármely kifizetett prémiumot és aktivált tranzakciós költséget.
AG19. Egy eladási opcióval rendelkező pénzügyi eszköz (azaz, a tulajdonosnak joga van kérni, hogy a kibocsátó a lejárat előtt fizesse vissza, vagy váltsa be a pénzügyi eszközt) nem sorolható be lejáratig tartandó befektetésként, mivel egy pénzügyi eszközben lévő eladási opciós feltételre vonatkozó kifizetés nincs összhangban a pénzügyi eszköz lejáratig való megtartására vonatkozó szándék kifejezésével.
AG20. A legtöbb pénzügyi eszközre vonatkozóan, a valós érték megfelelőbb értékelést nyújt, mint az amortizált bekerülési érték. A lejáratig tartandó minősítés egy kivétel ez alól, de csak akkor, ha az egységnek határozott szándéka és képessége van arra, hogy a befektetést a lejáratig megtartsa. Amikor az egység eljárása miatt kétség merül fel az egység arra vonatkozó szándékát vagy képességét illetőn, hogy ezeket a befektetéseket lejáratig megtartsa, a 9. bekezdés ésszerű időszakra kizárja a kivétel alkalmazását.
AG21. Egy rendkívül valószínűtlen "katasztrófa helyzetet", mint például pánikszerű betétkivétel a bankból vagy egy hasonló helyzet egy biztosítótársaságnál az egység nem vesz figyelembe akkor, amikor arról dönt, hogy van-e határozott szándéka és képessége a befektetés lejáratig történő megtartására.
AG22. A lejárat előtti eladások megfelelhetnek a 9. bekezdésben foglalt feltételnek - ezért nem kérdőjelezik meg az egység szándékát más befektetéseknek a lejáratig való tartására - amennyiben azok az alábbiak valamelyikének tulajdoníthatók:
(a) a kibocsátó hitelképességének jelentős romlása. Például, a hitelbesorolás egy külső hitelminősítő ügynökség általi lerontását követő eladás nem feltétlenül kérdőjelezi meg az egység szándékát más befektetéseknek a lejáratig való tartására, ha a lerontás bizonyítékot szolgáltat a kibocsátó hitelképességének a kezdeti megjelenítéskori hitelképességi besoroláshoz viszonyított jelentős romlására. Hasonlóképpen, amennyiben az egység belső minősítéseket alkalmaz a kitettségek értékelésére, az ezen belső minősítésben bekövetkező változások segíthetik azoknak a kibocsátóknak az azonosítását, amelyeknél jelentős romlás következett be a hitelképességben, feltéve, hogy az egység módszere a belső minősítésekre, valamint azok változtatásaira vonatkozóan konzisztens, megbízható, és objektív értékelést biztosít a kibocsátók hitel minőségére vonatkozóan. Amennyiben bizonyíték van arra, hogy a pénzügyi eszköz értékvesztett (ld. 58. és 59. bekezdések), a hitelképességben bekövetkező romlás gyakran jelentősnek minősül.
(b) olyan változás az adótörvényekben, ami megszünteti, vagy jelentősen csökkenti a lejáratig tartandó befektetésre járó kamat adómentes státuszát (de nem az adótörvények olyan változása, amely módosítja a kamatbevételre vonatkozó marginális adókulcsokat).
(c) olyan jelentős üzleti kombináció vagy jelentős átruházás (például egy szegmens eladása), amely miatt szükségessé válik a lejáratig tartandó befektetések eladása vagy átadása, hogy az egység meg tudja tartani a meglévő kamatláb-kockázati pozícióját vagy hitelkockázati politikáját (bár az üzleti kombináció önmagában olyan esemény, ami az egység ellenőrzési körébe tartozik, a kamatláb-kockázati pozíció, vagy a hitelkockázati politika fenntartása érdekében az egység befektetési portfoliójában végrehajtott változások inkább következménynek, mint előre látható eseménynek tekinthetők).
(d) a törvényi vagy szabályozó követelmények olyan változása, amely jelentősen megváltoztatja vagy azt, hogy mi minősül megengedhető befektetésnek, vagy pedig azt, hogy egy bizonyos fajta befektetésből mekkora a maximális tartható állomány, ami miatt az egység elidegeníti a lejáratig tartandó befektetéseket.
(e) jelentős növekedés az iparágban törvényileg elvárt tőkemegfelelésben, ami miatt az egységnek le kell építenie, egyes lejáratig tartandó befektetések eladásával.
(f) a lejáratig tartandó befektetések kockázati súlyának jelentős növekedése a kockázati alapon súlyozott tőkemegfeleltetési számításoknál.
AG23. Az egységnek nincs bizonyított képessége egy fix lejáratú pénzügyi eszközben lévő befektetést lejáratig tartani, ha:
(a) nem rendelkezik azokkal a pénzügyi erőforrásokkal, amelyekkel a befektetés finanszírozását a lejáratig folytathatná;
vagy
(b) olyan meglévő jogi vagy egyéb korlátozások alá esik, amelyek meghiúsíthatják a pénzügyi eszköz lejáratig való megtartására vonatkozó szándékát. (Ugyanakkor azonban, a kibocsátó vételi opciója nem feltétlenül hiúsítja meg az egység szándékát a pénzügyi eszköz lejáratig való megtartására - ld. AG18. bekezdés).
AG24. Lehetnek olyan, az AG16-AG23. bekezdésekben nem szereplő körülmények, amelyek azt jelzik, hogy az egységnek nincs határozott szándéka vagy képessége arra, hogy a befektetést a lejáratig megtartsa.
AG25. Az egység nem csak a pénzügyi eszközök kezdeti megjelenítésekor értékeli a lejáratig tartandó befektetéseinek a lejáratig való megtartására vonatkozó szándékát és képességét, hanem minden egyes későbbi mérlegfordulónapon.
Kölcsönök és követelések
AG26. Bármely fix vagy meghatározható kifizetésekkel rendelkező nem származékos pénzügyi eszköz (beleértve a kölcsönöket, vevő követeléseket, az adósságinstrumentumokban lévő befektetéseket és bankbetéteket) megfelelhet a kölcsönök és követelések definíciójának. Ugyanakkor azonban, egy aktív piacon jegyzett pénzügyi eszköz (mint pl. jegyzett adósságinstrumentum, ld. AG71. bekezdés) nem felel meg a kölcsönként vagy követelésként való besorolás feltételeinek. Az olyan pénzügyi eszközök, amelyek nem felelnek meg a kölcsönök és követelések definíciójának akkor minősíthetők lejáratig tartandó befektetéseknek, ha megfelelnek az lejáratig tartandóvá minősítés feltételeinek (ld. 9. és AG16-AG25. bekezdések). Egy olyan pénzügyi eszköz kezdeti megjelenítésekor, ami egyébként kölcsönként vagy követelésként kerülne besorolásra, az egység azt a nyereséggel vagy veszteséggel szemben valós értéken értékeltként vagy értékesíthetőként is megjelölheti.
Beágyazott származékos termékek (10-13. bekezdések)
AG27. Amennyiben az alapszerződésnek nincs kijelölt vagy meghatározott lejárata, és az egy egység nettó eszközeiben való maradványérdekeltséget testesít meg, a gazdasági jellemzői és kockázatai egy tőkeinstrumentuméval megegyezők, és a beágyazott származékos terméknek ugyanazon egységre vonatkozó tőkejellemzőkkel kell rendelkeznie ahhoz, hogy szorosan kapcsolódónak minősüljön. Amennyiben az alapszerződés nem tőkeinstrumentum, és az megfelel a pénzügyi instrumentum definíciójának, a gazdasági jellemzői és kockázatai egy hitelinstrumentuméval megegyezők.
AG28. Egy beágyazott nem opciós származékos terméket (mint pl. egy beágyazott forward vagy swap) úgy különítenek el az alapszerződésétől annak kifejezett vagy bennefoglalt tartalmi feltételei alapján, hogy annak valós értéke nulla lesz a kezdeti megjelenítéskor. Egy beágyazott opció alapú származékos terméket (mint pl. a beágyazott eladási (put), vételi (call) opció, plafon (cap), padló (floor) vagy "swaption") az opciós jellemző kifejezett feltételei alapján különítik el az alapszerződéstől. Az alapszerződés kezdeti könyv szerinti értéke a beágyazott származékos termék leválasztása utáni maradványérték.
AG29. Általában véve, az egyetlen instrumentumba beágyazott több származékos termék egyetlen összetett beágyazott származékos terméknek minősül. Ugyanakkor azonban a saját tőkeként besorolt származékos termékek (ld. 32. IAS Pénzügyi instrumentumok: Közzététel és beszámolás) az eszközök vagy kötelezettségek közé besoroltaktól elkülönülten kerülnek elszámolásra. Ezen felül, amennyiben az instrumentum egynél több beágyazott származékos termékkel rendelkezik, és azok eltérő kockázati kitettségekkel kapcsolatosak, valamint azok bármikor leválaszthatóak, és függetlenek egymástól, azokat egymástól elkülönülten kell elszámolni.
AG30. A beágyazott származékos termék gazdasági jellemzői és kockázatai nem minősülnek az alapszerződéssel szoros kapcsolatban lévőnek (11(a) bekezdés) a következő példákban. Ilyen körülmények között, feltételezve, hogy a 11(b) (c) bekezdésekben foglalt feltételek is teljesülnek, az egység a jelen standard alapján a beágyazott származékos terméket az alapszerződéstől elkülönítve számolja el:
(a) Egy instrumentumba beágyazott olyan eladási (put) opció, melynek alapján az instrumentum birtokosa kérheti, hogy a kibocsátó vásárolja vissza az instrumentumot készpénz vagy más eszköz valamilyen összegéért, aminek összege valamely tőkeinstrumentum vagy árutőzsdei termék árától vagy árindexétől függ, nem kapcsolódik szorosan az alap adósságinstrumentumhoz.
(b) Egy tőkeinstrumentumba ágyazott vételi (call) opció, amely által a kibocsátó egy meghatározott áron jogosult a tőkeinstrumentumot visszavásárolni, nem kapcsolódik szorosan az alap tőkeinstrumentumhoz annak birtokosa szempontjából (a kibocsátó szempontjából a vételi opció tőkeinstrumentum, feltéve, hogy megfelel e besorolás feltételeinek az IAS 32 alapján, mely esetben az nem tartozik a jelen standard hatálya alá).
(c) Az adósságinstrumentum lejáratig hátralévő időtartamának meghosszabbítására vonatkozó opció vagy automatikus rendelkezés nincsen szoros kapcsolatban az alap adósságinstrumentummal, kivéve, ha a meghosszabbítással egyidejűleg a piaci kamatlábra való kapcsolódó módosítás történik. Amennyiben az egység adósságinstrumentumot bocsát ki, és annak birtokosa kiír egy vételi (call) opciót az adósságinstrumentumra vonatkozóan egy harmadik személy részére, a kibocsátó a vételi (call) opciót úgy tekinti, mintha a hitel instrumentum lejáratig hátralévő időtartama meghosszabbodott volna, feltéve, hogy a kibocsátótól a vételi (call) opció lehívásának eredményeként megkövetelhetik, hogy részt vegyen a hitel instrumentum újra marketingelésében, vagy hogy elősegítse azt.
(d) Egy alap adósságinstrumentumba vagy biztosítási szerződésbe beágyazott részvényindexhez kötött kamat- vagy tőkerész kifizetések - mely által a kamat vagy a tőkerész összege tőkeinstrumentumok értékéhez kötött - nem kapcsolódnak szorosan az alap instrumentumhoz, mivel az alap és a beágyazott származékos termékben foglalt kockázatok eltérőek.
(e) Egy alap adósságinstrumentumba vagy biztosítási szerződésbe beágyazott árutőzsdei árhoz kötött kamat- vagy tőkerész kifizetések - mely által a kamat vagy a tőkerész összege az árutőzsdei áru (pl. arany) értékéhez kötött - nem kapcsolódnak szorosan az alap instrumentumhoz, mivel az alap és a beágyazott származékos termékben foglalt kockázatok eltérőek.
(f) Egy átváltoztatható adósságinstrumentumba beágyazott tőkeinstrumentumra történő átváltási jellemző nem kapcsolódik szorosan az alap adósságinstrumentumhoz az instrumentum birtokosa szempontjából (a kibocsátó szempontjából a tőkére való átválthatósági opció egy tőkeinstrumentum, és az nem tartozik a jelen standard hatálya alá, feltéve, hogy az megfelel az ekként történő besorolás IAS 32-ben meghatározott feltételeinek).
(g) Egy alap adósságinstrumentumba beágyazott vételi (call), eladási (put), beváltási vagy visszafizetési opció nem kapcsolódik szorosan az alap instrumentumhoz, kivéve, ha az opció lehívási ára hozzávetőleg megegyezik az adósságinstrumentum amortizált bekerülési értékével minden egyes lehívási időpontban. Egy beágyazott vételi (call) vagy eladási (put) opciós jellemzővel rendelkező átváltoztatható adósságinstrumentum kibocsátója szemszögéből annak értékelését, hogy a vételi (call) vagy eladási (put) opció szorosan kapcsolódik-e az alap adósságinstrumentumhoz, az előtt kell elvégezni, hogy a saját tőke elem az IAS 32 alapján elkülönítésre kerülne.
(h) A hitelképességi származékos termékek, amelyek valamely alap adósságinstrumentumba vannak beágyazva, és amelyek lehetővé teszik, hogy az egyik fél (a "kedvezményezett") valamely általa tulajdonolt eszköz hitelkockázatát, egy másik félnek (a "kezesnek") átadja, nincsenek szoros kapcsolatban az alap adósságinstrumentummal. Az ilyen hitelképességi származékos termékek lehetővé teszik, hogy a kezes az adott eszközzel kapcsolatos hitelkockázatot annak közvetlen tulajdonlása nélkül vállalja át.
AG31. Példa a hibrid instrumentumra egy olyan pénzügyi instrumentum, ami birtokosának arra biztosít jogot, hogy a pénzügyi instrumentumot eladja a kibocsátó részére egy olyan összegű pénzeszközért vagy más pénzügyi eszközért cserében, amelynek összege valamely olyan részvény vagy árutőzsdei termék árindexében bekövetkező változás alapján változik, ami növekedhet vagy csökkenhet ("eladható instrumentum"). [...] El kell különíteni a beágyazott származékos terméket (azaz egy indexhez kötött tőkerész fizetést) a 11. bekezdés alapján, mivel az alapszerződés az AG27. bekezdés alapján adósságinstrumentum, és az indexhez kötött tőkerész törlesztés az AG30(a) bekezdés alapján nem kapcsolódik szorosan az alap adósságinstrumentumhoz. Mivel a tőkerész törlesztés összege növekedhet vagy csökkenhet, a beágyazott származékos termék egy nem opciós származékos termék, melynek értéke a mögöttes változóhoz kötött.
AG32. Egy olyan eladható instrumentum esetén, amely bármikor az egység nettó vagyonában meglévő részesedéssel megegyező készpénz összegre váltható (mint pl. egy nyíltvégű befektetési alap jegyei, vagy jegyhez kötött befektetési termékek), a beágyazott származékos termék elkülönítésének, valamint minden egyes komponens elszámolásának hatása az, hogy a kombinált instrumentum azon a mérlegfordulónapon megfizetendő visszaváltási összegen kerül értékelésre, amely akkor lenne fizetendő, ha annak birtokosa gyakorolná az instrumentum kibocsátónak történő visszaadására vonatkozó opcióját.
AG33. A beágyazott származékos termék gazdasági jellemzői és kockázatai az alábbi példákban szoros kapcsolatban vannak az alapszerződés gazdasági jellemzőivel és kockázataival. E példákban az egység a beágyazott származékos terméket nem az alapszerződéstől elkülönítve számolja el:
(a) Egy olyan beágyazott származékos termék, amelynek alapjául egy kamatláb vagy egy kamatláb index szolgál, amely megváltoztathatja annak a kamatnak az összegét, amely egyébként fizetendő vagy járó lenne egy kamatozó alap adósságinstrumentum után, szorosan kapcsolódik az alap instrumentumhoz, kivéve, ha a kombinált instrumentum olyan módon is teljesíthető, hogy annak birtokosa számára nem térülne meg a lényegében a teljes kimutatott befektetése, vagy a beágyazott származékos termék legalább megduplázná a birtokos kezdeti megtérülési rátáját az alapszerződésre vonatkozóan, és ez egy olyan megtérülési rátát eredményezhetne, ami legalább kétszerese lenne az alapszerződéssel azonos feltételekkel rendelkező szerződésekre érvényes piaci rátának.
(b) Egy adósságintsrumentum kamatlábára vonatkozó beágyazott padló (floor) vagy plafon (cap) szorosan kapcsolódik az alap instrumentumhoz, feltéve, hogy a plafon (cap) a piaci kamatlábnak megfelelő vagy annál magasabb, és a padló (floor) a piaci kamatlábnak megfelelő vagy annál alacsonyabb az instrumentum kibocsátásának időpontjában, valamint, ha a plafon (cap) és a padló (floor) nem áttételesen van kötve az alapszerződéshez. Hasonlóképpen, egy eszköz (pl. egy árutőzsdei termék) vételére vagy eladására vonatkozó szerződés olyan rendelkezései, amelyek plafon (cap) és padló (floor) értéket állapítanak meg az eszközért fizetendő vagy járó árra vonatkozóan, szorosan kapcsolódnak az alapszerződéshez, amennyiben kezdetben mind a plafon (cap), mind pedig a padló (floor) veszteséges volt, és azok nincsenek áttételesen kötve az alapszerződéshez.
(c) Egy beágyazott deviza származékos termék, ami külföldi fizetőeszközben meghatározott tőke vagy kamat fizetések sorozatát biztosítja, és amely egy alap adósságinstrumentumba van beágyazva (pl. egy két pénznemes kötvény) szorosan kapcsolódik az alap adósságinstrumentumhoz. Az ilyen származékos terméket nem különítik el az alapszerződéstől, mivel az IAS 21 Az átváltási árfolyamok változásainak hatásai standard előírja, hogy a monetáris tételek külföldi pénznemre történő átváltása során keletkező nyereséget vagy veszteséget a nyereségben vagy veszteségben számolják el.
(d) Egy olyan alapszerződésbe beágyazott deviza származékos termék, amely nem pénzügyi instrumentum (mint pl. egy szerződés valamely nem pénzügyi tétel megvásárlására vagy eladására, ahol az ár külföldi pénznemben került meghatározásra), szorosan kapcsolódik az alapszerződéshez, feltéve, hogy nincsen áttételesen kötve az alapszerződéshez, nem tartalmaz opciós jellemzőt, és az alábbi pénznemek valamelyikében írja elő a fizetést:
(i) a szerződés valamelyik jelentős felének a funkcionális pénzneme;
(ii) az a pénznem, amelyben a nemzetközi kereskedelemben szokásosan meghatározzák a vonatkozó megszerzett vagy leszállított termék vagy szolgáltatás árát (mint pl. USD a nyersolaj ügyleteknél);
vagy
(iii) egy olyan pénznem, amit általában alkalmaznak a nem pénzügyi tételek adás-vételi szerződéseiben abban a gazdasági környezetben, ahol az ügylet lebonyolódik (azaz egy viszonylag stabil és likvid pénznem, amelyet a helyi üzleti tranzakciók vagy külkereskedelem során általában használnak).
(Az ilyen szerződés nem minősül beágyazott deviza származékos termékkel rendelkező alapszerződésnek).
(e) Egy "csak-kamat részbe" vagy "csak-tőke részbe" beágyazott előtörlesztési opció szorosan kapcsolódik az alapszerződéshez, feltéve, hogy az alapszerződés (i) eredetileg egy olyan pénzügyi instrumentum szerződés szerinti cash flow-jának beszedésére való jog elkülönítésének eredményeként jött létre, amely önmagában és önmagától nem tartalmazott beágyazott származékos terméket, és amely (ii) nem tartalmaz olyan feltételeket, amelyek az eredeti alap adósság szerződésben ne szerepelnének.
(f) A lízing alapszerződésbe beágyazott származékos termék szorosan kapcsolódik az alapszerződéshez, ha a beágyazott származékos termék (i) egy inflációhoz kötött index, például a lízingfizetéseknek valamilyen fogyasztói árindexhez kötött indexe (feltéve, hogy a lízing főként nem hitelből kerül finanszírozásra, és hogy az index az egység saját gazdasági környezetének az inflációjához van kötve), (ii) a kapcsolódó értékesítéseken alapuló függő bérleti díj, és (iii) a változó kamatlábakhoz kötött függő bérleti díj.
Megjelenítés és kivezetés (14-42. bekezdések)
Kezdeti megjelenítés (14. bekezdés)
AG34. A 14. bekezdésben megfogalmazott alapelv következtében, az egység a származékos termékek alapján fennálló valamennyi szerződéses jogát és kötelmét megjeleníti a mérlegében megfelelően eszközként és kötelezettségként, kivéve az olyan származékos termékeket, amelyek megakadályozzák, hogy pénzügyi eszközök valamely átadása értékesítésként kerüljön elszámolásra (ld. AG49. bekezdés). Amennyiben egy pénzügyi eszköz átadása nem felel meg a kivezetés feltételeinek, az átvevő nem mutathatja ki az átvett eszközt saját eszközeként (ld. AG50. bekezdés).
AG35. A következőkben néhány példa kerül bemutatásra a 14. bekezdésben foglalt elv alkalmazására:
(a) a feltétel nélküli követeléseket és kötelezettségeket akkor mutatják ki eszközként vagy kötelezettségként, amikor az egység szerződő féllé válik, és ennek következményeként jogot szerez arra, hogy a pénzeszközt megkapja, vagy jogi kötelmet vállal arra, hogy azt megfizesse.
(b) az áruk vagy szolgáltatások megvásárlására vagy eladására vonatkozó biztos elkötelezettség eredményeként megszerzendő eszközök vagy felmerülő kötelezettségek általában nem kerülnek elszámolásra mindaddig, amíg legalább a felek egyike nem teljesített a megállapodás alapján. Például, ha egy egység egy biztos megrendelést kap, akkor nem mutatja ki az eszközt (a rendelést feladó egység pedig nem mutatja ki a kötelezettséget) az elkötelezettség időpontjában, hanem addig késlelteti a kimutatást, amíg a megrendelt árukat vagy szolgáltatásokat leszállítják, kézbesítik vagy nyújtják. Amennyiben valamely nem pénzügyi tétel megvásárlására vagy eladására vonatkozó biztos elkötelezettség az 5-7. bekezdések alapján a jelen standard hatálya alá tartozik, annak nettó valós értékét az elkötelezettség időpontjában mutatják ki eszközként vagy kötelezettségként (ld. lenti (c) pont). Ezen felül, amennyiben egy korábban ki nem mutatott biztos elkötelezettséget egy valós érték fedezeti ügyletben fedezett tételként jelölnek meg, a fedezett kockázatnak tulajdonítható valós érték változást eszközként vagy kötelezettségként mutatják ki a fedezeti ügylet kezdetét követően (ld. 93. és 94. bekezdések).
(c) a jelen standard hatálya alá tartozó forward szerződést (ld. 2-7. bekezdések) eszközként vagy kötelezettségként az elkötelezettség időpontjában, nem pedig a teljesítés időpontjában mutatnak ki. Amikor az egység szerződő fellé válik egy forward szerződésben, a jog és a kötelem valós értékei gyakran megegyeznek, így a forward nettó valós értéke nulla. Amennyiben a jog és a kötelem nettó valós értéke nem nulla, a szerződést eszközként vagy kötelezettségként számolják el.
(d) a jelen standard hatálya alá tartozó opciós szerződéseket (ld. 2-7. bekezdések) akkor mutatják ki eszközként vagy kötelezettségként, amikor azok birtokosa vagy kiírója szerződő féllé válik.
(e) a tervezett jövőbeni ügyletek, függetlenül attól, hogy azok mennyire valószínűek, nem eszközök és kötelezettségek, mivel az egység még nem vált szerződő felévé egy szerződésnek.
Pénzügyi eszköz kivezetése (15-37. bekezdések)
AG36. Az alábbi ábra annak értékelését illusztrálja, hogy egy pénzügyi eszközt ki kell-e vezetni, és ha igen, milyen mértékben. [Kép #1]

Kép #1
Olyan megállapodások, amelyek alapján az egység megtartja egy pénzügyi eszköz cash flow-inak átvételére vonatkozó szerződéses jogokat, de szerződéses kötelmet vállal a cash flow-k megfizetésére egy vagy több átvevő felé (18(b) bekezdés).
AG37. A 18(b) bekezdésben leírt helyzet (amikor az egység megtartja egy pénzügyi eszköz cash flow-inak átvételére vonatkozó szerződéses jogokat, de szerződéses kötelmet vállal a cash flow-k megfizetésére egy vagy több átvevő felé) akkor következik be pl., ha az egység egy speciális célra létrehozott szervezet vagy tröszt, és a befektetők részére az általa tulajdonolt pénzügyi eszközökre vonatkozóan haszonhúzói érdekeltségeket bocsát ki, és vállalja e pénzügyi eszközök kezelését. Ilyen esetben a pénzügyi eszközök akkor megfelelnek a kivezetés feltételeinek, amennyiben a 19. és 20. bekezdésben foglalt feltételek teljesülnek.
AG38. A 19. bekezdés alkalmazásakor az egység pl. lehet egy pénzügyi eszköz keletkeztetője, vagy lehet egy olyan csoport, ami magában foglal egy konszolidált speciális célú szervezetet, amely a pénzügyi eszközöket megszerezte, és a cash flow-kat független harmadik személy befektetők számára továbbadja.
A tulajdonlással járó kockázatok és hasznok átadásának értékelése (20. bekezdés)
AG39. Példák arra, amikor egy egység lényegében az összes, a tulajdonlással járó kockázatot és hasznot átadta:
(a) egy pénzügyi eszköz feltétel nélküli eladása;
(b) egy pénzügyi eszköz eladása olyan opcióval, amely alapján a pénzügyi eszköz a visszavásárlás napján érvényes valós értékén vásárolható vissza;
és
(c) egy pénzügyi eszköz eladása egy olyan eladási (put) vagy vételi (call) opcióval együtt, ami nagymértékben veszteséges (azaz olyan opció, ami eddig veszteséges, és nagyon valószínűtlen, hogy lejárata előtt nyereségessé válik).
AG40. Példák arra, amikor egy egység lényegében az összes, a tulajdonlással járó kockázatot és hasznot megtartotta:
(a) olyan eladási és visszavásárlási ügylet, amelyben a visszavásárlási ár egy fix ár vagy az eladási árnak egy hitelezői hozammal növelt értéke;
(b) értékpapír kölcsönzésre szóló megállapodás;
(c) egy pénzügyi eszköz eladása egy teljes megtérülés swappal, ami a piaci kockázati kitettséget visszaadja az egységnek;
(d) egy pénzügyi eszköz eladása egy olyan eladási (put) vagy vételi (call) opcióval együtt, ami nagymértékben nyereséges (azaz olyan opció, ami eddig nyereséges, és nagyon valószínűtlen, hogy lejárata előtt veszteségessé válik);
valamint
(e) rövid lejáratú követelések eladása, amelyben az egység garantálja, hogy kompenzálja az átvevőt a valószínűleg bekövetkező hitelezési veszteségekért.
AG41. Amennyiben az egység úgy ítéli meg, hogy az átadás eredményeként alapvetően átadta lényegében az összes, az átadott eszköz tulajdonlásával járó kockázatot és hasznot, a jövőben nem mutatja ki újra az átadott eszközt, kivéve, ha azt egy új ügyletben újra megszerzi.
Az ellenőrzés átadásának értékelése
AG42. Az egység nem tartotta meg az eszköz ellenőrzését, ha az átvevő gyakorlatilag képes az átadott eszközt értékesíteni. Az egység megtartotta az eszköz ellenőrzését, ha az átvevő gyakorlatilag nem képes az átadott eszközt értékesíteni. Az átvevő képes gyakorlatilag értékesíteni az átadott eszközt, ha azzal egy aktív piacon kereskednek, mivel az átvevő így bármikor visszavásárolhatja azt a piacon, amennyiben azt vissza kell szolgáltatnia az egységnek. Például, az átvevő képes lehet gyakorlatilag értékesíteni az átadott eszközt, ha az átadott eszköz egy olyan opció tárgya, amely lehetővé teszi az egység számára, hogy visszavásárolja azt, de az átvevő az átadott eszközt könnyen megszerezheti a piacon, ha az opció lehívásra kerül. Az átvevő nem képes gyakorlatilag értékesíteni az átadott eszközt, ha az egység fenntart egy ilyen opciót, és az átvevő nem képes az átadott eszközt könnyen beszerezni a piacon, amennyiben az egység az opciót lehívja.
AG43. Az átvevő csak akkor képes gyakorlatilag értékesíteni az átadott eszközt, ha az adott eszközt teljes egészében el tudja adni egy független harmadik személynek, és ezen képességét egyoldalúan képes gyakorolni, anélkül, hogy további korlátozások keletkeznének az átadásra vonatkozóan. A kritikus kérdés az, hogy az átvevő mit képes megtenni a gyakorlatban, és nem az, hogy az átvevőnek mire van szerződéses joga az átvett eszközre vonatkozóan, vagy, hogy milyen szerződéses tiltások léteznek. Különösen:
(a) az átruházott eszköz elidegenítésére vonatkozó szerződéses jognak kicsi a gyakorlati hatása, ha az átadott eszköznek nincs piaca;
és
(b) az átadott eszköz elidegenítésére való képességnek kicsi a gyakorlati hatása, ha azt nem lehet szabadon gyakorolni. Ezen okból:
(i) az átvevő képességének az átadott eszköz elidegenítésére függetlennek kell lennie mások intézkedéseitől (azaz annak egyoldalú képességnek kell lennie);
és
(ii) az átvevőnek képesnek kell lennie az átadott eszköz elidegenítésére anélkül, hogy az átruházáshoz megszorító feltételeket kellene csatolnia (pl. feltételeket arra vonatkozóan, hogy egy hitel eszköz hogyan kerüljön kezelésre, vagy egy opció, amely az átvevőnek jogot biztosít az eszköz visszavásárlására).
AG44. Az, hogy az átvevő valószínűleg nem fogja eladni az átadott eszközt, önmagában nem jelenti azt, hogy az átadó megtartotta az átadott eszköz feletti ellenőrzést. Ugyanakkor azonban, ha egy eladási (put) opció vagy garancia korlátozza az átvevőt az átadott eszköz eladásában, az átadó megtartotta az átadott eszköz feletti ellenőrzést. Például, amikor egy eladási opció vagy garancia kellően értékes, az korlátozza az átvevőt az átruházott eszköz eladásában, mivel az átvevő a gyakorlatban nem adná el az átadott eszközt harmadik személy részére anélkül, hogy hasonló opciót vagy más korlátozó feltételt csatolna. Ehelyett, az átvevő megtartaná az átadott eszközt, hogy megszerezze a garancia vagy eladási (put) opció alapján járó kifizetéseket. Ilyen körülmények között az átadó megtartotta az átadott eszköz feletti ellenőrzést.
Átadások, amelyek megfelelnek a kivezetés feltételeinek
AG45. Az egység megtarthatja az átadott eszközre fizetendő kamatok egy részére szóló jogát az eszközök kezelésének a kompenzációjaként. A kamatfizetéseknek azt a részét, amitől az egység elesne a kezelési szerződés megszűnésekor vagy átadásakor, a kezelési eszközhöz vagy kötelezettséghez rendelik hozzá. A kamatfizetéseknek az a része, amit az egység nem veszítene el, egy "csak-kamat rész" követelés. Például ha az egység semmilyen kamatot nem veszítene a kezelési szerződés megszűnésekor vagy átadásakor, a teljes kamat különbözet (spread) egy "csak-kamat rész" követelés. A 27. bekezdés alkalmazásának céljára a kezelési eszköz és a "csak-kamat rész" követelés valós értékeit használják a követelések könyv szerinti értékének a kivezetett eszközök és a megtartott rész közötti felosztásához. Ha nincs meghatározott kezelési díj, vagy ha a járó kezelési díj várhatóan nem kompenzálja kellőképpen az egységet a kezelési szolgáltatás elvégzéséért, a kezelési kötelmet kötelezettségként, valós értéken mutatják ki.
AG46. Amikor felbecsülik a továbbra is kimutatandó és a kivezetendő részek valós értékeit a 27. bekezdés alkalmazása céljára, az egység a 48., 49. és az AG69-AG82. bekezdésekben foglalt valós érték meghatározási követelményeket alkalmazza, a 28. bekezdésben foglalt követelményeken túl.
Átadások, amelyek nem felelnek meg a kivezetés feltételeinek
AG47. A következő példa a 29. bekezdésben szereplő elv alkalmazását mutatja be. Ha egy egység által, az átadott eszközön nem-fizetés miatt felmerülő veszteségekre adott garancia miatt nem lehet az eszközt kivezetni, mivel az egység lényegében az összes, az átadott eszköz tulajdonlásával járó kockázatot és hasznot megtartotta, az átadott eszközt továbbra is teljes egészében kimutatják és a kapott ellenértéket kötelezettségként jelenítik meg.
Folytatódó részvétel az átadott eszközökben
AG48. A következő példák azt mutatják be, hogy az egységnek miként kell az átadott eszközt és az ahhoz kapcsolódó kötelezettséget a 30. bekezdés szerint értékelnie.
Valamennyi eszköz
(a) Ha egy egység által, az átadott eszközön nem-fizetés miatt felmerülő veszteségekre adott garancia miatt nem lehet az eszközt kivezetni a folytatódó részvétel mértékében, az átadott eszközt az átadás időpontjában (i) az eszköz könyv szerinti értéke, valamint (ii) az átadás során kapott ellenértéknek az a maximális összege, amelynek visszafizetésére az egység kötelezhető ("a garancia összege") közül az alacsonyabbikon értékelik. A kapcsolódó kötelezettséget kezdetben a garancia összegén értékelik, növelve a garancia valós értékével (amely általában a garanciáért kapott ellenérték). Ezt követően a garancia kezdeti valós értékét a nyereségben vagy veszteségben időarányos alapon számolják el (ld. IAS 18), az eszköz könyv szerinti értékét pedig az értékvesztés miatti bármely veszteséggel csökkentik.
Amortizált bekerülési értéken értékelt eszközök
(b) Amennyiben az egység által kiírt eladási (put) opció vagy az egység birtokában lévő vételi (call) opció miatt egy átadott eszközt nem lehet kivezetni és az egység az átadott eszközt amortizált bekerülési értéken értékeli, a hozzá kapcsolódó kötelezettséget annak bekerülési értékén (azaz a kapott ellenértéken) értékelik, módosítva bármely olyan különbségnek az amortizációjával, ami a bekerülési érték és az átadott eszköznek az opció lejárati időpontjában fennálló amortizált bekerülési értéke között van. Például tegyük fel, hogy az átadás időpontjában az eszköz amortizált bekerülési értéke és könyv szerinti értéke 98 CU, az érte kapott ellenérték pedig 95 CU. Az opció lehívásának időpontjában az eszköz amortizált bekerülési értéke 100 CU lesz. A kapcsolódó kötelezettség kezdeti könyv szerinti értéke 95 CU, és a 95 CU és 100 CU közötti különbséget a nyereségben vagy veszteségben az effektív kamatláb módszerének alkalmazásával számolják el. Ha lehívják az opciót, a kapcsolódó kötelezettség könyv szerinti értéke és a lehívási ár közötti bármely különbséget a nyereségben vagy a veszteségben számolnak el.
Valós értéken értékelt eszközök
(c) Ha az egység által megtartott vételi (call) opciós jog miatt nem lehet egy átadott eszközt kivezetni és az egység az eszközt valós értéken értékeli, az eszközt a továbbiakban is valós értéken értékelik. A kapcsolódó kötelezettséget, (i) amennyiben az opció nyereséges vagy nullszaldós, az opció lehívási árának az opció időértékével csökkentett értékén; vagy (ii) ha az opció veszteséges, az átadott eszköz valós értékének az opció időértékével csökkentett értékén értékelik. A kapcsolódó kötelezettség értékének módosítása biztosítja, hogy az eszköz és a kapcsolódó kötelezettség nettó könyv szerinti értéke a vételi (call) opciós jog valós értékét mutatják. Ha például a mögöttes eszköz valós értéke 80 CU, az opció lehívási ára 95 CU és az opció időértéke 5 CU, a kapcsolódó kötelezettség könyv szerinti értéke 75 CU (80 CU - 5 CU) és az átadott eszköz könyv szerinti értéke (azaz valós értéke) 80 CU.
(d) Ha az egység által kiírt eladási (put) opció miatt nem lehet az átadott eszközt kivezetni és az egység az átadott eszközt valós értéken értékeli, a kapcsolódó kötelezettséget az opció lehívási árának az opció időértékével növelt értékén értékelik. Az eszköz valós értéken történő értékelése a valós érték és az opció lehívási ára közül a kisebbikre korlátozódik, mivel az egységnek nincs joga az átadott eszköz valós értékének az opció lehívási ára feletti növekményeire. Ez biztosítja, hogy az eszköz és a kapcsolódó kötelezettség nettó könyv szerinti értéke az eladási opciós kötelem valós értéke. Ha például a mögöttes eszköz valós értéke 120 CU, az opció lehívási ára 100 CU és az opció időértéke 5 CU, a kapcsolódó kötelezettség könyv szerinti értéke 105 CU (100 CU + 5 CU), az átadott eszköz könyv szerinti értéke pedig 100 CU (ami ebben az esetben az opció lehívási ára).
(e) Amennyiben egy megvásárolt vételi (call) és egy kiírt eladási (put) opció formájában lévő gallér (collar) ügylet miatt nem lehet az átadott eszközt kivezetni és az egység az eszközt valós értéken értékeli, az eszközt továbbra is valós értéken értékelik. A kapcsolódó kötelezettséget (i) amennyiben a vételi (call) opció nyereséges vagy nullszaldós, a vételi (call) opció lehívási ára és az eladási (put) opció valós értéke összegének az eladási (put) opció időértékével csökkentett értékén, vagy (ii) amennyiben a vételi (call) opció veszteséges, az eszköz valós értéke és az eladási (put) opció valós értéke összegének az eladási (put) opció időértékével csökkentett értékén értékelik. A kapcsolódó kötelezettség értékének módosítása biztosítja, hogy az eszköz és a kapcsolódó kötelezettség nettó könyv szerinti értéke az egység által birtokolt és kiírt opciók valós értékét mutatják. Például tegyük fel, hogy az egység egy valós értéken értékelt pénzügyi eszközt ad át, ezzel egyidejűleg pedig vételi opciót vesz 120 CU lehívási árral, és kiír egy eladási opciót 80 CU lehívási ár mellett. Tételezzük fel továbbá, hogy az eszköz valós értéke 100 CU az átadás időpontjában. Az eladási és vételi opció időértéke 1 CU, illetve 5 CU. Ebben az esetben az egység egy 100 CU értékű eszközt (az eszköz valós értéke) és egy 96 CU értékű kötelezettséget [(100 CU + 1 CU) - 5 CU] mutat ki. Ennek eredménye 4 CU nettó eszköz érték, ami az egység birtokában lévő és általa kiírt opciók valós értéke.
Valamennyi átadás
AG49. Abban a mértékben, amennyiben egy pénzügyi eszköz átadása nem felel meg a kivezetés feltételeinek, az átadónak az átadáshoz kapcsolódó szerződéses jogait vagy kötelmeit nem számolják el elkülönülten mint származékos termékeket, amennyiben mind a származékos terméknek, mind pedig az átadott eszköznek vagy az átadásból származó kötelezettségnek az együttes kimutatása azt eredményezné, hogy ugyanazokat a jogokat vagy kötelmeket kétszer jelenítenék meg. Például az átadó által megtartott vételi opció miatt lehetséges, hogy pénzügyi eszközök átadását nem lehet értékesítésként elszámolni. Ebben az esetben az eladási opciót nem mutatják ki elkülönülten mint származékos eszközt.
AG50. Abban a mértékben, amennyiben egy pénzügyi eszköz átadása nem felel meg a kivezetés feltételeinek, az átvevő nem mutathatja ki az átvett eszközt saját eszközeként. Az átvevő kivezeti a megfizetett pénzösszeget vagy egyéb ellenértéket, és kimutat egy az átadóval szembeni követelést. Amennyiben az átadónak egyszerre van joga és kötelme arra, hogy egy fix összeg ellenében (például visszavásárlási szerződés révén) visszaszerezze a teljes átadott eszköz feletti ellenőrzést, az átvevő megteheti, hogy követelését kölcsönként vagy követelésként mutatja ki.
Példák
AG51. A következő példák a jelen standardban foglalt kivezetési elvek alkalmazását illusztrálják.
(a) Visszavásárlási megállapodások és értékpapír kölcsönzés.Ha egy pénzügyi eszközt olyan visszavásárlási szerződés alapján értékesítenek, amelyben a visszavásárlási ár egy fix ár vagy az megfelel a hitelezői hozammal növelt eladási árnak, vagy ha azt kölcsönadják egy olyan szerződés alapján, amely előírja az átadónak történő visszaadást, azt nem vezetik ki, mivel az átadó lényegében az összes, a tulajdonlással járó kockázatot és hasznot megtartotta. Amennyiben az átvevő jogot szerez az eszköz értékesítésére vagy elzálogosítására, az átadó az eszközt átsorolja a mérlegében, például mint egy kölcsönadott eszközt vagy visszavásárlási követelést.
(b) Visszavásárlási szerződések és értékpapír kölcsönzés - az eszközök lényegében ugyanazok. Ha egy pénzügyi eszközt ugyanarra vagy lényegében ugyanarra az eszközre irányuló olyan visszavásárlási szerződés alapján értékesítenek, amelyben a visszavásárlási ár egy fix ár vagy az megfelel a hitelezői hozammal növelt eladási árnak, vagy ha pénzügyi eszközt olyan szerződés alapján adják kölcsön, amely ugyanannak vagy lényegében ugyanannak az eszköznek az átadónak történő visszaadását írja elő, azt nem vezetik ki, az átadó lényegében az összes, a tulajdonlással járó kockázatot és hasznot megtartotta.
(c) Visszavásárlási szerződések és értékpapír kölcsönzés - a helyettesítés joga. Ha egy visszavásárlási szerződés, amelyben a visszavásárlási ár egy fix ár, vagy az megfelel a hitelezői hozammal növelt eladási árnak, vagy egy hasonló értékpapír kölcsönzési ügylet az átvevőnek jogot biztosít arra, hogy helyettesíthesse az átadott eszközöket hasonló és azonos valós értékű eszközökkel a visszavásárlás időpontjában, a visszavásárlási szerződés, vagy értékpapír kölcsönzési tranzakció keretében eladott vagy kölcsönbe adott eszközt nem vezetik ki, mivel az átadó lényegében az összes, a tulajdonlással járó kockázatot és hasznot megtartotta.
(d) Elővásárlási jog a visszavásárláskor valós értéken. Ha az egység elad egy pénzügyi eszközt és csak egy elővásárlási jogot tart meg az átadott eszköznek a valós értéken történő visszavásárlására, amennyiben később az átvevő eladja azt, az egység kivezeti az eszközt, mivel lényegében az összes, a tulajdonlással járó kockázatot és hasznot átadta.
(e) "Látszat-eladási" tranzakció. Egy pénzügyi eszköznek röviddel annak eladása után visszavásárlását néha látszateladásnak nevezik. Ez a fajta visszavásárlás nem zárja ki a kivezetést, feltéve, hogy az eredeti tranzakció megfelelt a kivezetés követelményeinek. Ugyanakkor, ha egy pénzügyi eszköz értékesítésére irányuló szerződést egyszerre kötnek meg egy olyan szerződéssel, amelynek célja ugyanannak az eszköznek a visszavásárlása fix áron, vagy egy hitelezői hozammal növelt eladási áron, az eszközt nem vezetik ki.
(f) Jelentősen nyereséges eladási (put) és vételi (call) opciók. Ha egy átadott pénzügyi eszközt az átadó visszahívhat és a vételi (call) opció jelentősen nyereséges, az átadás nem felel meg a kivezetés feltételeinek, mivel az átadó lényegében az összes, a tulajdonlással járó kockázatot és hasznot megtartotta. Hasonlóképpen, ha egy átadott pénzügyi eszközt az átvevő visszaadhat és az eladási (put) opció jelentősen nyereséges, az átadás nem felel meg a kivezetés feltételeinek, mivel az átadó lényegében az összes, a tulajdonlással járó kockázatot és hasznot megtartotta.
(g) Jelentősen veszteséges eladási (put) és vételi (call) opciók. Azt a pénzügyi eszközt, amelyet csak egy, az átvevő által birtokolt jelentősen veszteséges eladási (put) opció, vagy egy, az átadó által birtokolt jelentősen veszteséges vételi (call) opció mellett adtak át, kivezetik. Ennek az az oka, hogy az átadó lényegében az összes, a tulajdonlással járó kockázatot és hasznot átadta.
(h) Olyan vételi opció alá eső, könnyen beszerezhető eszközök, amely nem jelentősen nyereséges, és nem is jelentősen veszteséges. Ha az egység vételi opcióval rendelkezik egy olyan eszközre, amelyet a piacon könnyen be lehet szerezni, és az opció nem jelentősen nyereséges, és nem is jelentősen veszteséges, az eszközt kivezetik. Ennek az az oka, hogy az egység (i) nem tartotta meg és nem is adta át lényegében az összes, a tulajdonlással járó kockázatot és hasznot, valamint (ii) nem tartotta meg az ellenőrzést. Ha azonban az eszközt nem lehet könnyen beszerezni a piacról, a kivezetés nem lehetséges az eszköz értékének azon hányadáig, amely a vételi opció alá esik, mivel az egység megtartotta az eszköz feletti ellenőrzést.
(i) Egy olyan, az egység által kiírt eladási (put) opció alá eső, a piacról nem könnyen beszerezhető eszköz, amely nem jelentősen nyereséges, és nem is jelentősen veszteséges. Amennyiben az egység olyan pénzügyi eszközt ad át amelyet a piacról nem lehet könnyen beszerezni, és olyan eladási (put) opciót ír ki, amely nem jelentősen veszteséges, az egység a kiírt eladási (put) opció miatt lényegében az összes, a tulajdonlással járó kockázatot és hasznot nem tartotta meg és nem is adta át. Az egység megtartja az eszköz feletti ellenőrzést, ha az eladási (put) opció elég értékes ahhoz, hogy az átvevőt megakadályozza az eszköz eladásában, mely esetben az eszközt továbbra is kimutatják az átadó folytatódó részvételének mértékéig (lásd AG44. bekezdés). Az egység átadja az eszköz feletti ellenőrzést, ha az eladási opció nem elég értékes ahhoz, hogy az átvevőt megakadályozza az eszköz eladásában, mely esetben az eszközt kivezetik.
(j) Olyan eszközök, amelyek valós értéken történő eladási (put) vagy vételi (call) opció, vagy forward visszavásárlási szerződés tárgyát képezik. Egy olyan pénzügyi eszköz átadása, amely csak olyan eladási (put) vagy vételi (call) opció vagy forward visszavásárlási szerződés tárgyát képezi, melynek a lehívási vagy visszavásárlási ára megegyezik a pénzügyi eszköz valós értékének a visszavásárlás idején, kivezetést eredményez a lényegében az összes, a tulajdonlással járó kockázat és haszon átadása miatt.
(k) Pénzeszközben teljesített vételi (call) vagy eladási (put) opciók. Az egység értékeli egy olyan pénzügyi eszköznek az átadását, amely egy készpénzben nettó módon teljesítendő eladási (put) vagy vételi (call) opció, vagy forward visszavásárlási szerződés tárgyát képezi, annak megállapítása végett, hogy megtartotta vagy átadta-e lényegében az összes, a tulajdonlással járó kockázatot és hasznot. Amennyiben az egység nem tartotta meg lényegében az összes, az átadott eszköz tulajdonlásával járó kockázatot és hasznot, meghatározza, hogy megtartotta-e az átadott eszköz feletti ellenőrzést. Az, hogy az eladási (put) vagy vételi (call) opció, vagy a forward visszavásárlási szerződés teljesítése pénzeszközben, nettó módon történik, nem jelenti automatikusan azt, hogy az egység átadta az ellenőrzést (ld. az AG44., és a fenti (g), (h) és (i) bekezdéseket).
(l) Ügyfél kiváltási rendelkezés. Az ügyfél kiváltási rendelkezés egy olyan feltétel nélküli visszavásárlási (vételi (call)) opció, amelynek révén az egységnek jogában áll, hogy bizonyos korlátozásokkal terhelten átadott eszközöket visszaszerezzen. Amennyiben az ilyen opció eredményeképpen az egység nem tartja meg és nem is adja át lényegében az összes, az átadott eszközök tulajdonlásával járó kockázatot és hasznot, ez csak a visszavásárlással érintett összeg mértékéig akadályozza meg a kivezetést (feltéve, hogy az átvevő nem adhatja el az eszközöket). Ha például a hitel-eszközök könyv szerinti értéke és átadásának a hozama 100 000 CU, és bármelyik egyedi kölcsön visszahívható, de az összes visszavásárolható kölcsön teljes összege nem haladhatja meg a 10 000 CU összeget, a kölcsönök értékéből 90 000 CU megfelel a kivezetés feltételeinek.
(m) Rendező vételi (call) opció. Egy olyan egység, aki az átadott eszközöket kezelő átadó, rendelkezhet rendező vételi (call) opcióval a fennmaradó átadott eszközök visszavásárlására akkor, amikor a kintlévő pénzügyi eszközök összege olyan meghatározott szintre esik, amelyen az eszközök kezelése már terhessé válik a kezelésből faladó előnyökhöz viszonyítva. Amennyiben az ilyen rendező vételi (call) opció azt eredményezi, hogy az egység nem tartja meg és nem is adja át lényegében az összes, az átadott eszközök tulajdonlásával járó kockázatot és hasznot és az átvevő nem adhatja el az eszközöket, ez csak a vételi opcióval érintett eszközök összegének a mértékéig akadályozza meg a kivezetést.
(n) Alárendelt megtartott kamatok és hitelgaranciák. Az egység biztosíthat az átvevő részére hitelképesség-növelést azáltal, hogy alárendeli az átadott eszközben megtartott kamatainak egy részét vagy egészét. Az egység ugyanakkor hitelgarancia formájában is biztosíthat az átvevő részére hitelképesség-növelést, amely lehet korlátlan, vagy egy bizonyos összegre korlátozódhat. Amennyiben az egység lényegében az összes, az átadott eszköz tulajdonlásával járó kockázatot és hasznot megtartja, az eszközt továbbra is teljes egészében kimutatja. Ha az egység megtartja a tulajdonlással járó kockázatok és hasznok egy részét, de nem tartja meg lényegében az összeset, és megtartja az ellenőrzést, a kivezetés nem lehetséges azon készpénz vagy más eszköz összegének a mértékéig, amelynek megfizetésére az egység kötelezhető.
(o) Teljes hozadéki swap. Az egység eladhat egy pénzügyi eszközt egy átvevőnek és teljes hozadéki swapot köthet az átvevővel, miszerint a mögöttes eszközből származó minden kamat fizetési cash flow-t átutalnak az egységnek egy fix összegű vagy változó kamattal számított kifizetés ellenében, és az egység viseli a mögöttes eszköz valós értékének minden növekedését, vagy csökkenését. Ebben az esetben a teljes eszköz kivezetése tiltott.
(p) Kamatláb swap ügyletek. Az egység átadhat az átvevő részére egy fix kamatozású pénzügyi eszközt és köthet egy kamatláb swap ügyletet az átvevővel, melynek során rögzített kamatot kap és változó kamatot fizet egy olyan névleges összegre vonatkozóan, amely egyenlő az átadott pénzügyi eszköz tőkeösszegével. A kamatláb swap nem zárja ki az átadott eszköz kivezetését, feltéve, hogy a swap keretében járó kifizetések nem függenek az átadott eszközre történő kifizetésektől.
(q) Amortizálódó kamatláb swap ügyletek Az egység átadhat az átvevőnek egy olyan fix kamatozású pénzügyi eszközt, amelyet egy adott időszak során fizetnek ki és köthet az átvevővel egy amortizálódó kamatláb swap ügyletet, melynek során fix kamatot kap és változó kamatot fizet egy névleges összeg alapján. Amennyiben a swap névleges összege úgy amortizálódik, hogy az bármilyen időpontban megfelel a kint lévő átadott pénzügyi eszköz tőkeösszegének, a swap általában azt eredményezi, hogy az egység megtartja a lényeges előtörlesztési kockázatot, amikor is az egység vagy továbbra is kimutatja a teljes átadott eszközt, vagy pedig csak a folytatódó részvételének mértékében mutatja ki az átadott eszközt. Ezzel ellentétben, ha a swap névleges összegének amortizációja nem kapcsolódik az átadott eszköz kintlévő tőkeösszegéhez, ez a swap ügylet nem eredményezi azt, hogy az egység megtartja az eszközzel kapcsolatos előtörlesztési kockázatot. Ennélfogva ez nem zárja ki az átadott eszköz kivezetését, feltéve, hogy a swap keretében történő kifizetések nem függenek az átadott eszközre történő kamat kifizetésektől, és a swap ügylet nem eredményezi azt, hogy az egység megtart bármilyen más jelentős kockázatot vagy hasznot az átadott eszköz tulajdonlásával kapcsolatosan.
AG52. Ez a bekezdés bemutat egy példát a folytatódó részvétel megközelítés alkalmazására akkor, amikor az egység folytatódó részvétele egy pénzügyi eszköz valamely részére vonatkozóan áll fenn. Tegyük fel, hogy az egység előtörleszthető kölcsönök olyan portfóliójával rendelkezik, amelyeknek a kamatszelvénye és az effektív kamatlába 10 százalék, és amelyeknek a tőkeösszege és amortizált bekerülési értéke 10 000 CU. Az egység olyan ügyletet köt, amelyben egy 9 115 CU összegű kifizetés ellenében az átvevő jogot kap 9 000 CU összegben bármely befolyó tőketörlesztésre és annak 9,5 százalékos kamatára. Az egység megtartja a jogot 1 000 CU összegben bármely befolyó tőketörlesztésre és ennek 10 százalékos kamatára, valamint a fennmaradó 9 000 CU összegű tőkének a 0,5 százalékos többlet kamatkülönbözetére. A befolyó előtörlesztéseket az egység és az átvevő között 1:9 arányban osztják meg, de bármely nem teljesítést az egység 1 000 CU-s érdekeltségéből vonnak le mindaddig, amíg ki nem merítik ezt az érdekeltséget. A tranzakció időpontjában a kölcsönök valós értéke 10 100 CU, a 0,5 százalékos kamatkülönbözet becsült valós értéke pedig 40 CU.Az egység úgy ítéli meg, hogy átadta a tulajdonlással járó jelentős hasznok és kockázatok egy részét (például jelentős előtörlesztési kockázatot), de a tulajdonlással járó jelentős hasznok és kockázatok egy részét meg is tartotta (az alárendelt fennmaradó érdekeltség miatt), és megtartotta az ellenőrzést. Ennélfogva a folytatódó részvétel megközelítést alkalmazza.Ennek a Standardnak az alkalmazása végett az egység úgy tekinti a tranzakciót mint (a) egy 1 000 CU összegű, teljesen arányos megtartott érdekeltség megtartását, plusz (b) a megtartott kamat alárendelését annak érdekében, hogy hitelképesség-növelést biztosítson az átvevőnek a hitelezési veszteségekre.Az egység úgy számol, hogy a 9 115 CU összegű, realizált ellenértékből 9 090 CU (a 10 100 CU 90 százaléka) a teljesen arányos 90 százalékos részesedés ellenértékét képviseli. A kapott ellenérték fennmaradó része (25 CU) azt az ellenértéket képviseli, amelyet az egység azért kapott, mert alárendelte a megtartott érdekeltségét annak érdekében, hogy hitelképesség-növelést biztosítson az átvevőnek a hitelezési veszteségekre. Ezen túlmenően, a 0,5 százalék mértékű kamatkülönbözet is a hitelképesség-növelésért kapott ellenértéket testesít meg. Ennek megfelelően, a hitelképesség-növelésért kapott teljes ellenérték 65 CU (25 CU + 40 CU).Az egység kiszámítja a cash flow-k 90 százalékos hányadának értékesítésén keletkezett veszteséget vagy nyereséget. Feltételezve, hogy a 10 százalékos átadott részre és a 90 százalékos megtartott részre nem állnak rendelkezésre elkülönült valós értékek az átadás időpontjában, az egység az eszköz könyv szerinti értékét a 28. bekezdés szerint a következőképpen osztja fel: Becsült valós érték Százalék Felosztott könyv szerinti érték Átadott hányad 9 090 90 % 9 000 Megtartott hányad 1 010 10 % 1 000 Összesen 10 100 10 000 Az egység a cash flow-k 90 százalékának értékesítésén képződött nyereségét vagy veszteségét úgy számolja ki, hogy a kapott ellenértékből levonja az átadott hányad felosztott könyv szerinti értékét, ami 90 CU (9 090 CU - 9 000 CU). Az egység által megtartott hányad könyv szerinti értéke 1 000 CU. Ezen túlmenően, az egység kimutatja azt a folytatódó részvételt, amely annak az eredménye, hogy megtartott érdekeltségeit alárendelte a hitelezési veszteségek fedezésére. Ennek megfelelően, kimutat egy 1 000 CU értékű eszközt (ami azoknak a cash flow-knak a maximális összege, amelyeket az alárendelés miatt nem kapna meg) és egy kapcsolódó kötelezettséget 1 065 CU összegben (ami azoknak a cash flow-knak a maximális összege, amelyeket az alárendelés miatt nem kapna meg, vagyis 1 000 CU plusz a 65 CU értékű alárendelés valós értéke).Az egység a fentiek ismeretében a tranzakciót a következőképpen számolja el: Tartozik Követel Eredeti eszköz - 9 000 Alárendelés miatt kimutatott eszköz, vagy a fennmaradó érdekeltség 1 000 - A kamatkülönbözet formájában kapott ellenértékre kimutatott eszköz 40 - Nyereség vagy veszteség (átadáskori nyereség) - 90 Kötelezettség - 1 065 Kapott pénzeszköz 9 115 - Összesen 10 155 10 155 A tranzakciót követően azonnal az eszköz könyv szerinti értéke 2 040 CU lesz, amelyből 1 000 CU a megtartott hányad felosztott költsége, 1 040 CU pedig az egység folytatódó részvétele annak révén, hogy megtartott érdekeltségét alárendelte a hitelezési veszteségek fedezésére (ami magában foglalja a 40 CU értékű kamatkülönbözetet is).A későbbi időszakokban az egység a hitelképesség-növelésért kapott ellenértéket (65 CU) időarányos alapon számolja el, kamatot határol el a kimutatott eszközre az effektív kamatláb módszerét alkalmazva, valamint kimutatja az esetleges hitelezési veszteségeket a kimutatott eszközökön. Az utóbbi példájaként tételezzük fel, hogy a következő évben hitelezési értékvesztési veszteség keletkezik 300 CU összegű mögöttes kölcsönön. Az egység kimutatott eszközeinek értékét 600 CU-val csökkenti (amelyből 300 CU a megtartott érdekeltségéhez kapcsolódik, 300 CU pedig ahhoz a folytatódó részvételhez, amely abból keletkezik, hogy megtartott érdekeltségét alárendelte a hitelezési veszteségek fedezésére), kimutatott kötelezettségét pedig 300 CU-val csökkenti. Az eredmény egy 300 CU összegű terhelés a nyereségben vagy veszteségben a hitelezési értékvesztés miatt.
A pénzügyi eszközök szokásos módon történő vétele vagy eladása (38. bekezdés)
AG53. A pénzügyi eszközök szokásos módon történő vételét vagy eladását a kötési időpont szerinti vagy a teljesítési időpont szerinti elszámolás alkalmazásával jelenítik meg, amint azt az AG55. és AG56. bekezdések ismertetik. A használt módszert konzisztens módon alkalmazzák minden olyan pénzügyi eszköz vételére és eladására, amely a pénzügyi eszközöknek ugyanazon, a 9. bekezdésben meghatározott kategóriájába tartozik. Ebből a szempontból a kereskedési céllal tartott eszközök a nyereséggel vagy veszteséggel szemben valós értéken értékelt eszközöktől elkülönült kategóriát képeznek.
AG54. Az a szerződés, amely megköveteli vagy engedélyezi a szerződés értékében bekövetkezett változás nettó elszámolását, nem tekinthető szokásos szerződésnek. Ehelyett, az ilyen szerződést származékos termékként számolják el a kötési időpont és a teljesítési időpont közötti időszakban.
AG55. A kötési időpont az az időpont, amikor az egység a pénzügyi eszköz vásárlására vagy eladására elkötelezi magát. A kötési időpont szerinti elszámolás jelenti (a) az átveendő eszköznek és az érte fizetendő kötelezettségnek a kötési időpontban történő kimutatását, és (b) az eladott eszköznek a kivezetését, az elidegenítés bármely nyereségének vagy veszteségének az elszámolását, valamint a vevőtől esedékes követelésnek a kimutatását a kötési időpontban. Kamatot általában nem számítanak fel az eszközre és a vonatkozó kötelezettségre a teljesítés időpontjáig, amikor is a tulajdonjog átszáll.
AG56. A teljesítés időpontja az az időpont, amikor az egység megkapja vagy átadja az eszközt. A teljesítés időpontja szerinti elszámolás jelenti (a) az eszköz kimutatását azon a napon amikor az egység azt megkapta, valamint (b) egy eszköznek a kivezetését és az elidegenítés bármely nyereségének vagy veszteségének az elszámolását azon a napon, amikor azt az egység leszállította. Amikor a teljesítés időpontja szerinti elszámolást alkalmazzák, az egység ugyanolyan módon számolja el az átvett eszköz valós értékének változásait a kötési időpont és a teljesítés időpontja között eltelt időszakban, mint ahogyan a megszerzett eszközre azt elszámolja. Más szóval, az értékváltozást nem mutatják ki a bekerülési értéken vagy amortizált bekerülési értéken nyilvántartott eszközök esetében; a nyereségben vagy veszteségben számolják el a nyereséggel vagy veszteséggel szemben valós értéken értékelt pénzügyi eszközökként besorolt eszközök esetében; és a saját tőkében számolják el az értékesíthető eszközök esetében.
Pénzügyi kötelezettség kivezetése (39-42. bekezdések)
AG57. A pénzügyi kötelezettség (vagy annak egy része) akkor szűnt meg, amikor az adós:
(a) eleget tett a kötelezettségének (vagy a kötelezettség egy részének) azáltal, hogy kifizette a hitelezőt, általában pénzeszközzel, más pénzügyi eszközökkel, árukkal vagy szolgáltatásokkal;
vagy
(b) ha jogilag mentesül a kötelezettségért (vagy annak egy részéért) való elsődleges felelősség alól, vagy törvényi eljárással, vagy pedig a hitelező révén. (Ez a feltétel akkor is fennállhat, ha az adós garanciát adott).
AG58. Ha egy adósságinstrumentum kibocsátója visszavásárolja az adott instrumentumot, az adósság még akkor is megszűnik, ha a kibocsátó az adott instrumentum ügynöke, vagy ha szándékozik azt a közeljövőben újraértékesíteni.
AG59. Egy harmadik félnek történő fizetés, ideértve a letétest is (ezt néha "lényegi hatálytalanító"-nak is nevezik), önmagában, jogi mentesítés nélkül, nem mentesíti az adóst a hitelező felé fennálló elsődleges kötelme alól.
AG60. Ha az adós egy harmadik fél felé teljesít kifizetést egy kötelezettség átvállalásáért, és tájékoztatja a hitelezőjét arról, hogy egy harmadik fél átvállalta tőle a tartozást, az adós nem vezeti ki a tartozást addig, amíg nem teljesül az AG57(b) bekezdésben megfogalmazott feltétel. Ha az adós fizet egy harmadik félnek azért, hogy átvállaljon egy kötelezettséget, és hitelezőjétől jogi mentesülést kap, az adós megszüntette a tartozást. Ugyanakkor ha az adós megállapodik az adóssággal kapcsolatos kifizetések teljesítésében a harmadik fél felé, vagy közvetlenül az eredeti hitelező felé, az adós új adósságkötelmet mutat ki a harmadik fél felé.
AG61. Bár a - jog általi vagy a hitelező általi - jogi mentesülés a kötelezettség kivezetését eredményezi, lehet, hogy az egységnek újabb kötelezettséget kell kimutatnia akkor, ha az átadott pénzügyi eszközökre vonatkozóan a 15-37. bekezdésekben foglalt kivezetési kritériumok nem teljesülnek. Ha ezek a kritériumok nem teljesülnek, az átadott eszközöket nem vezetik ki, és az egység új kötelezettséget mutat ki az átadott eszközökkel kapcsolatosan.
AG62. A 40. bekezdés alkalmazásában a feltételek akkor lényegesen eltérőek, ha az új feltételek alapján a cash flow-k diszkontált jelenértéke, beleértve a kapott és az eredeti effektív kamatlábbal diszkontált díjakkal csökkentett fizetett díjakat, legalább 10 százalékkal eltér az eredeti pénzügyi kötelezettség még hátralévő cash flow-jának diszkontált jelenértékétől. Ha az adósságinstrumentumok cseréjét vagy a feltételek módosítását megszüntetésként számolják el, bármely felmerülő költséget vagy díjat a kötelezettség megszűnésével kapcsolatos nyereségként vagy veszteségként kell elszámolni. Ha a cserét vagy a módosítást nem megszüntetésként számolják el, a felmerülő költségek vagy díjak a kötelezettség könyv szerinti értékét módosítják, és a módosított kölcsön hátralévő futamideje alatt amortizálódnak.
AG63. Néhány esetben a hitelező elengedi egy adós meglévő fizetési kötelmét, az adós azonban garancia kötelmet vállal arra, hogy fizetni fog, ha az elsődleges felelősséget átvállaló fél nem teljesít. Ilyen körülmények között az adós:
(a) új pénzügyi kötelezettséget mutat ki, a garanciavállalással kapcsolatos kötelem valós értéke alapján;
és
(b) egy nyereséget vagy veszteséget számol el (i) bármely megfizetett ellenértéknek, és (ii) az eredeti pénzügyi kötelezettségnek az új pénzügyi kötelezettség valós értékével csökkentett könyv szerinti értékének a különbözete alapján.
Értékelés (43-70. bekezdések)
Pénzügyi eszközök és pénzügyi kötelezettségek kezdeti értékelése (43. bekezdés)
AG64. A kezdeti megjelenítéskor a pénzügyi instrumentumok valós értéke általában a tranzakciós ár (vagyis az adott vagy kapott ellenérték valós értéke, lásd még AG76. bekezdés). Ha azonban az adott vagy kapott ellenérték egy része a pénzügyi instrumentumtól eltérő dologért járt, a pénzügyi instrumentum valós értékét valamilyen értékelési technika alkalmazásával becslik meg (lásd AG74-AG79. bekezdések). Például egy hosszú lejáratú, nem kamatozó kölcsön vagy követelés valós értékét a jövőbeni pénzbefolyásoknak egy hasonló hitelképességi besorolású hasonló instrumentum (a hasonlóság kiterjed a devizanemre, a futamidőre, a kamatláb típusára és egyéb tényezőkre) érvényben lévő piaci kamatlába (i)val történő diszkontálásával becslik meg. Minden további kölcsönadott összeg költség vagy bevétel csökkentés, hacsak nem felel meg egy másfajta eszközként való kimutatás feltételeinek.
AG65. Ha egy egység olyan kölcsönt keletkeztet, amelynek a kamatozása különbözik a piaci kamattól (például 5 százalék, miközben a hasonló kölcsönök piaci kamata 8 százalék), és kompenzációként valamilyen induló kifizetésben részesül, az egység a kölcsönt valós értékén, vagyis a kapott díjjal nettósítva mutatja ki. Az egység a diszkontot nyereségként vagy veszteségként az effektív kamatláb módszer alkalmazásával számolja el.
A pénzügyi eszközök későbbi értékelése (45. és 46. bekezdések)
AG66. Ha egy pénzügyi instrumentumot, amelyet korábban pénzügyi eszközként mutattak ki, valós értéken értékelnek, és a valós értéke nulla alá esik, az a 47. bekezdés alapján egy pénzügyi kötelezettség.
AG67. A következő példa a tranzakciós költségek elszámolását mutatja be egy értékesíthető pénzügyi eszköz kezdeti és későbbi értékelésénél. Egy eszközt 100 CU értéken szereznek meg, plusz 2 CU a vásárlás jutaléka. Kezdetben az eszközt 102 CU értéken mutatják ki. A következő pénzügyi beszámolási fordulónap egy nappal később van, amikor is az eszköz jegyzett piaci ára 100 CU. Ha eladnák az eszközt, 3 CU összegű jutalékot kellene fizetni. Ebben az időpontban az eszközt 100 CU értéken értékelik (figyelmen kívül hagyva az esetleges értékesítési jutalékot), a saját tőkében pedig 2 CU veszteséget számolnak el. Ha az értékesíthető pénzügyi eszköz fix vagy meghatározható kifizetésekre jogosít, a tranzakciós költségeket a nyereségbe vagy veszteségbe az effektív kamatláb módszer felhasználásával amortizálják. Ha az értékesíthető pénzügyi eszköz nem jogosít fix vagy meghatározható kifizetésekre, a tranzakciós költségeket a nyereségben vagy veszteségben akkor mutatják ki, amikor az eszközt kivezetik vagy ha az értékvesztetté válik.
AG68. A kölcsönként vagy követelésként besorolt instrumentumokat amortizált bekerülési értéken értékelik, függetlenül az egység szándékától a lejáratig való tartásukra.
A valós értéken történő értékelés szempontjai (48. és 49. bekezdések)
AG69. A valós érték meghatározása azon a feltételezésen alapul, hogy az egység folytatni fogja tevékenységét anélkül, hogy szándék vagy szükség lenne a felszámolására, üzleti tevékenységének jelentős csökkentésére, vagy ügyletek hátrányos feltételekkel történő megkötésére. Ennek megfelelően a valós érték nem az összeg, amelyet egy egység egy kényszerű tranzakcióban, nem önkéntes alapon történő felszámolás, vagy kényszerű értékesítés során fizetne vagy kapna. Ugyanakkor a valós érték az instrumentum hitelminőségét tükrözi.
AG70. A jelen standard a "vételi (bid) ár" és az "ajánlati (asking) ár" (néha "jelenlegi eladási (offer) ár") kifejezéseket alkalmazza a jegyzett piaci árak vonatkozásában, valamint a "vételi és ajánlati ár közötti különbözet" fogalmát, amely csak a tranzakciós költségeket tartalmazza. A "vételi és ajánlati ár közötti különbözet" fogalma nem tartalmazza a piaci érték megállapítására irányuló egyéb korrekciókat (például partneri hitelkockázat).
Aktív piac: Jegyzett ár
AG71. A pénzügyi instrumentum akkor tekinthető aktív piacon jegyzettnek, ha a jegyzett árakat azonnal és rendszeresen be lehet szerezni a tőzsdéről, kereskedőtől, brókertől, ipari csoporttól, árazási szolgálattól vagy szabályozó testülettől, és ha ezek az árak a szokásos piaci feltételek alapján végbemenő, rendszeres piaci tranzakciók során alakulnak ki. A valós érték olyan árat jelent, amely egy vételre hajlandó vevő és egy eladásra hajlandó eladó között alakul ki, a szokásos piaci feltételekkel. Egy aktív piacon forgatott pénzügyi instrumentum valós értéke megállapításának a célja eljutni arra az árra, amelyen tranzakciót lehetne kötni az adott instrumentumra vonatkozóan a mérleg fordulónapján (az instrumentum módosítása vagy újracsomagolása nélkül), a legelőnyösebb olyan aktív piacon, amelyhez az egységnek közvetlen hozzáférése van. Ugyanakkor az egység módosítja a legelőnyösebb piacon elérhető árat, hogy az tükrözze az adott piacon forgó instrumentumok és az értékelés alatt álló instrumentum közötti különbségeket a partneri hitelkockázat területén. Az aktív piacon publikált jegyzett árak létezése jelenti a valós érték legjobb bizonyítékát, és amikor vannak ilyenek, ezeket használják a pénzügyi eszköz vagy pénzügyi kötelezettség értékelésére.
AG72. A meglévő eszköz vagy a kibocsátandó kötelezettség vonatkozásában a megfelelő jegyzett piaci ár rendszerint a mindenkori vételi (bid) ár, és a megvásárolandó eszköz, vagy a meglévő kötelezettség vonatkozásában a mindenkori ajánlati (asking) ár. Ha egy egységnek egymás piaci kockázatát ellentételező eszközei és kötelezettségei vannak, akkor a piaci középárakat alkalmazhatja az egymást kiegyenlítő kockázati pozíciók valós értékének a megállapítására, és értelemszerűen a vételi (bid) vagy az ajánlati (asking) árat alkalmazhatja a nettó nyitott pozícióra. Amennyiben nem állnak rendelkezésre aktuális vételi (bid) és eladási (offer) árak, úgy a legutóbbi tranzakció során kialakult ár szolgáltathat bizonyítékot a jelenlegi valós értékre, feltéve, hogy nem következett be jelentős változás a gazdasági körülményekben a tranzakció időpontja óta. Amennyiben a tranzakció időpontja óta a körülmények megváltoztak (például megváltozott a kockázatmentes kamatláb egy vállalati kötvény legutóbbi árjegyzését követően), a valós értéknek tükröznie kell a körülmények megváltozását a hasonló pénzügyi instrumentumok aktuális árainak vagy árfolyamainak a figyelembevételével. Hasonlóképpen, ha egy egység bizonyítani tudja, hogy a legutóbbi tranzakciós ár nem a valós érték (például azért, mert azt az összeget tükrözte, amelyet egy egység egy kényszerű tranzakcióban, nem önkéntes alapon történő felszámolás, vagy kényszerű értékesítés során fizetne vagy kapna), az árat módosítják. Pénzügyi instrumentumok adott portfóliójának a valós értéke az instrumentumok számának és az instrumentum jegyzett piaci árának szorzata. Ha egy pénzügyi instrumentum teljes egészére vonatkozóan publikált piaci ár nem létezik, de alkotórészeinek vannak aktív piacai, akkor a valós értéket az alkotórészek megfelelő piaci árai alapján kell felépíteni.
AG73. Ha egy aktív piacon árfolyamot (nem pedig árat) jegyeznek, az egységnek ezt a piacon jegyzett árfolyamot kell használnia az értékelési technika inputjaként a valós érték megállapítására. Ha a piacon jegyzett árfolyam nem veszi figyelembe a hitelkockázatot vagy más olyan tényezőket, amelyeket a piaci résztvevők figyelembe vennének az instrumentum értékelésében, az egység módosítja a valós értéket ezekkel a tényezőkkel.
Nincs aktív piac: Értékelési technika
AG74. Ha egy adott pénzügyi instrumentum piaca nem aktív, az egység valamilyen értékelési technika alkalmazásával állapítja meg a valós értéket. Az értékelési technikák közé tartozik az, hogy egy jól tájékozott, ügyleti szándékkal rendelkező felek közötti, szokásos piaci feltételek mellett lebonyolított tranzakciót vesznek alapul, ha elérhető ilyen adat; egy másik, lényegében azonos instrumentum aktuális piaci értékét veszik figyelembe hivatkozási alapként; továbbá a diszkontált cash flow elemzés; és az opciós árazási modellek. Ha van olyan értékelési technika, amelyet a piaci résztvevők szokásosan használnak az instrumentum árazására, és ez a technika bizonyíthatóan megbízható becsléseket volt képes nyújtani a tényleges piaci tranzakciókban kialakult árakról, akkor az egység ezt a technikát alkalmazza.
AG75. Az értékelési technika használatának az a célja, hogy megállapítsa, milyen tranzakciós ár alakult volna ki az értékelés időpontjában egy szokásos piaci feltételekkel végrehajtott, normál üzleti megfontolások által motivált adásvétel során. A valós értéket egy olyan értékelési technika eredményei alapján kell felbecsülni, amely maximális mértékben használja a piaci inputokat és a lehető legkevésbé támaszkodik az egységre jellemző inputokra. Az értékelési technika várhatóan akkor ad reális becslést a valós értékről, ha (a) ésszerű módon tükrözi azt, hogy a piac várhatóan miként árazná be az instrumentumot, valamint (b) az értékelési technika inputjai ésszerű módon tükrözik a piaci elvárásokat és a pénzügyi instrumentumban rejlő kockázat-hozam tényezők értékeit.
AG76. Ennélfogva az értékelési technika (a) minden olyan tényezőt magában foglal, amelyet a piaci résztvevők figyelembe vennének az ár megállapításakor, valamint (b) megfelel azoknak az elfogadott gazdasági metodikáknak, amelyeket a pénzügyi instrumentumok árazása során alkalmaznak. Időre időre az egység beméri az értékelési technikát és teszteli annak érvényességét azzal, hogy ugyanazon instrumentum (vagyis módosítás és újracsomagolás nélkül) figyelemmel kísérhető aktuális piaci tranzakcióinak árait alkalmazza, vagy bármilyen elérhető és figyelemmel kísérhető piaci adat alkalmazásával. Az egység a piaci adatokat következetes módon ugyanarról a piacról szerzi be, ahol az instrumentumot keletkeztették vagy megvásárolták. Egy adott pénzügyi instrumentum valós értékének a legjobb bizonyítéka a kezdeti megjelenítéskor a tranzakciós ár (vagyis az adott vagy kapott ellenérték valós értéke), hacsak az adott instrumentum valós értékét nem lehet más, ugyanazon instrumentumra (vagyis módosítás és újracsomagolás nélkül) kötött, figyelemmel kísérhető aktuális piaci tranzakciókkal való összehasonlítás útján megállapítani, vagy pedig olyan értékelési technika útján, amelynek a változói csak figyelemmel kísérhető piacokról származó adatokat tartalmaznak.
AG77. Egy pénzügyi instrumentum kezdeti megszerzése vagy keletkeztetése, vagy egy pénzügyi kötelezettség felmerülése olyan piaci tranzakció, amely alapot szolgáltat az adott pénzügyi instrumentum valós értékének a becslésére. Konkrétabban, amennyiben a pénzügyi instrumentum egy adósságinstrumentum (mint például egy kölcsön), akkor annak valós értékét úgy lehet megállapítani, ha figyelembe veszik azokat a piaci körülményeket, amelyek a megszerzése, vagy keletkeztetése időpontjában álltak fenn, valamint a jelenlegi piaci körülményeket, és az egység, vagy mások által jelenleg a hasonló (vagyis a hátralévő futamidő, a cash flow szerkezet, a pénznem, a hitelkockázat, a biztosíték és a kamat-alap alapján hasonló) adósságinstrumentumokra felszámított kamatot. A másik megoldás az, hogy amennyiben nincs változás a hitelfelvevők hitelkockázatában és a vonatkozó hitelkamat eltérésben az adósságinstrumentum keletkeztetését követően, a jelenlegi piaci kamatlábak becslése levezethető a mögöttes adósságinstrumentumnál jobb hitelképességi minőséget tükröző irányadó kamatláb alkalmazásával a hitelkamat eltérést állandónak véve, és módosítva azt az irányadó kamatlábnak a keletkeztetés időpontja óta bekövetkezett változásainak megfelelően. Amennyiben a legutóbbi piaci tranzakció óta a körülmények megváltoztak, az értékelt pénzügyi instrumentum valós értékének kapcsolódó változását úgy határozzák meg, hogy figyelembe veszik a hasonló pénzügyi instrumentumok jelenlegi árait vagy árfolyamát, melyeket értelemszerűen korrigálnak az értékelt instrumentumból fakadó különbségekkel.
AG78. Nem biztos, hogy minden egyes értékelési időpontban elérhetők ugyanazok az információk. Például abban az időpontban, amikor az egység olyan kölcsönt nyújt vagy olyan adósságinstrumentumot szerez be, amellyel nem kereskednek aktívan, az egység rendelkezik egy tranzakciós árral, amely egyben a piaci ár is. Ugyanakkor lehetséges, hogy a következő értékelési időpontban nincsenek új tranzakciós információk, és bár az egység meg tudja állapítani a piaci kamatlábak általános szintjét, lehetséges, hogy nem tudja, hogy a piaci résztvevők milyen hitelezési vagy más piaci kockázatokat vennének figyelembe, ha az instrumentumot ebben az időpontban kellene beárazniuk. Egy egység nem feltétlenül rendelkezik információkkal a nemrégiben lefolytatott tranzakciókról annak megállapításához, hogy mi legyen az alkalmazandó hitelezési kamatkülönbözet az alap kamatlábon felül akkor, amikor a jelenérték számításához diszkontrátát akar megállapítani. Ellenkező bizonyíték hiányában ésszerű azt feltételezni, hogy nem történt változás a hitelezési kamatkülönbözetben ahhoz az értékhez képest, ami a kölcsön nyújtása időpontjában állt fenn. Ugyanakkor azonban az egységtől elvárható, hogy minden ésszerű erőfeszítést megtegyen annak megállapítása érdekében, hogy bizonyítja-e valami ezeknek a tényezőknek a megváltozását. Ha van bizonyíték arra, hogy változás történt, az egységnek figyelembe kell vennie a változás hatásait akkor, amikor a pénzügyi instrumentum valós értékét megállapítja.
AG79. A diszkontált cash flow elemzés alkalmazása során az egység olyan diszkontlába(ka)t alkalmaz, amely(ek) megegyezik(nek) azon pénzügyi instrumentumok aktuális hozamértékeivel, amelyek lényegében ugyanolyan feltételekkel és jellemzőkkel bírnak, beleértve az instrumentum hitelképességét, a hátralévő időszakot, amelyre vonatkozóan a szerződéses kamatláb fix, a tőkeösszeg visszafizetéséig hátralévő időszakot és azt a pénznemet, amelyben a törlesztést teljesíteni kell. A kifejezett kamatlábbal nem rendelkező, rövid lejáratú követeléseket az eredeti számlázott összegben lehet értékelni akkor, ha a diszkontálás hatása nem jelentős.
Nincs aktív piac: Tőkeinstrumentumok
AG80. Az aktív piaci jegyzett árral nem rendelkező tőkeinstrumentumokba tett befektetések, valamint az ilyen nem jegyzett tőkeinstrumentumokhoz kapcsolódó és azok átadásával teljesítendő származékos termékek (lásd a 46(c) és 47. bekezdéseket) valós értéke akkor határozható meg megbízható módon, ha (a) ha az ésszerű valós értékre vonatkozó becslések tartományának változékonysága az adott instrumentum esetében nem jelentős, vagy ha (b) a tartományon belüli különféle becsült értékek előfordulásának valószínűsége ésszerű módon felmérhető és felhasználható a valós értékre vonatkozó becslések során.
AG81. Sok olyan helyzet van, amikor az aktív piaci jegyzett árral nem rendelkező tőkeinstrumentumokba tett befektetések, valamint az ilyen, nem jegyzett tőkeinstrumentumokhoz kapcsolódó és ilyenek átadásával rendezendő származékos termékek (lásd a 46(c) és 47. bekezdéseket) ésszerű valós érték becsléseinek tartománya valószínűleg nem jelentős. Általában megbecsülhető egy olyan pénzügyi eszköz valós értéke, amelyet az egység egy külső féltől szerzett meg. Ugyanakkor, ha az ésszerű, valós értékre vonatkozó becslések tartománya jelentős, és a különféle becsült értékek valószínűségei ésszerűen nem mérhetők fel, az egység nem értékelheti az adott instrumentumot valós értéken.
Az értékelési technikák inputjai
AG82. Egy adott pénzügyi instrumentum valós értékének a becslésére megfelelő technika az, amely figyelembe veszi a megfigyelhető piaci adatokat azokról a piaci körülményekről és más tényezőkről, amelyek valószínűleg hatást gyakorolnak az instrumentum valós értékére. Egy adott pénzügyi instrumentum valós értékét a következő tényezők (és talán még más tényezők) közül egy vagy több határozza meg.
(a) A pénz időértéke (vagyis a kamatláb, az alap vagy a kockázatmentes értéken). Az alap kamatlábakat többnyire meg lehet tudni a megfigyelhető kormányzati kötvényárakból, melyeket gyakran közzé is tesznek a pénzügyi kiadványokban. Ezek a kamatlábak jellemzően a várható cash flow-k várható időpontja szerint változnak a különböző időhorizontokra vonatkozó kamatláb hozam-görbék mentén. Gyakorlati okokból az egység alkalmazhat irányadó rátaként egy széles körben elfogadott és könnyen megfigyelhető általános kamatlábat, mint például a LIBOR-t vagy a swap kamatlábat. (Mivel egy olyan kamatláb, mint a LIBOR, nem tekinthető kockázatmentes kamatlábnak, az adott pénzügyi instrumentum esetében alkalmazandó hitelkockázat-korrekciót az instrumentum hitelkockázatának az irányadó kamatlábban foglalt hitelkockázathoz való viszonyítása alapján határozzák meg). Néhány országban a központi kormányzat által kibocsátott kötvények jelentős hitelkockázatot tartalmazhatnak és lehetséges, hogy szolgáltatnak egy stabil irányadó kamatlábat az adott pénznemre szóló instrumentumok esetében. Ezekben az országokban néhány egység kedvezőbb hitelképességi besorolással és alacsonyabb hitel kamatlábbal rendelkezhet, mint a központi kormányzat. Ilyen esetekben az alap kamatlábat megfelelőbben meg lehet határozni az adott jogrendszer pénznemében kibocsátott legjobb besorolású vállalati kötvények kamatlábára történő hivatkozással.
(b) Hitelkockázat. A hitelkockázatnak a valós értékre gyakorolt hatása levezethető (vagyis az alapkamaton felül a hitelkockázat miatt fizetendő prémium összegét) a különféle hitelképességi besorolású, kereskedelemben forgó instrumentumok megfigyelhető piaci áraiból, vagy pedig azokból a megfigyelhető kamatlábakból, amelyeket a különféle hitelképességi besorolású adósok számára számítanak fel a hitelezők.
(c) Külföldi pénznemek tőzsdei árfolyamai. A legtöbb fontos pénznemre vonatkozóan léteznek aktív tőzsdék és az árakat naponta közlik a pénzügyi kiadványok.
(d) A tőzsdeáruk árai. Számos tőzsdeáru piaci ára kísérhető figyelemmel.
(e) Részvényárfolyamok. Vannak olyan piacok, ahol könnyen megfigyelhetők a kereskedelemben forgó tőkeinstrumentumok árai (és árindexei). Jelenérték technikák alkalmazhatók azon részvény instrumentumok jelenlegi piaci értékének a felbecsülésére, amelyekre vonatkozóan nincsenek megfigyelhető árak.
(f) Változékonyság (vagyis a pénzügyi instrumentum vagy más dolog áraiban bekövetkező változások terjedelme). Az aktív kereskedelemben forgó tételek változékonyságát általában fel lehet becsülni a piac régebbi adatai alapján, vagy pedig a jelenlegi piaci árakban figyelembe vett változékonyságot használva.
(g) Előtörlesztési és visszaváltási kockázat. A múltbeli adatok alapján lehetőség van a pénzügyi eszközök várható előtörlesztésének és a pénzügyi kötelezettségek várható visszaváltásainak a becslésére. (Egy, a partner által visszaváltható pénzügyi kötelezettség valós értéke nem lehet kevesebb, mint a visszaváltási összeg jelenértéke - lásd 49. bekezdés).
(h) Egy pénzügyi eszköz vagy pénzügyi kötelezettség kezelésének költségei. A kezelés költségeit felbecsülni, a más piaci résztvevők által jelenleg használt díjakat alapul véve lehet megbecsülni. Ha egy adott pénzügyi eszköz vagy pénzügyi kötelezettség kezelésének jelentősek a költségei és a többi piaci résztvevőnek hasonló nagyságú költségekre kell számítania, a kibocsátónak figyelembe kell az ilyen költségeket vennie akkor, amikor az adott pénzügyi eszköz vagy pénzügyi kötelezettség valós értékét megállapítja. Valószínű, hogy egy jövőbeni díjakra vonatkozó szerződéses jog valós értéke kezdetben megegyezik az azzal kapcsolatban kifizetett megszerzési költségekkel, kivéve, ha a jövőbeni díjak és a kapcsolódó költségek nincsenek összhangban a piaci összehasonlító adatokkal.
Nyereségek és veszteségek (55-57. bekezdések)
AG83. Az egység az IAS 21 standardot alkalmazza azokra a pénzügyi eszközökre és pénzügyi kötelezettségekre, amelyek az IAS 21 szerinti monetáris tételek, és amelyek értéke külföldi pénznemben van megadva. Az IAS 21 alapján a monetáris eszközökön és kötelezettségeken képződött bármely árfolyamnyereséget vagy -veszteséget a nyereségben vagy veszteségben számolnak el. Ez alól kivételt képeznek azok a monetáris tételek, amelyek fedezeti instrumentumként lettek megjelölve, akár egy cash flow fedezeti ügyletben (lásd 95-101. bekezdések), akár egy nettó befektetés fedezeti ügyletében (lásd 102. bekezdés). Az IAS 21 szerinti árfolyam nyereségek vagy -veszteségek elszámolása céljára az értékesíthető monetáris pénzügyi eszközt úgy kezelik, mintha külföldi pénznemben lenne amortizált bekerülési értéken nyilvántartva. Ennek megfelelően, ezeknek a pénzügyi eszközöknek az esetében az amortizált bekerülési érték változásaiból eredő árfolyam különbözeteket a nyereségben vagy veszteségben számolják el, a könyv szerinti érték egyéb változásait pedig az 55(b) bekezdés szerint jelenítik meg. Azoknak az értékesíthető pénzügyi eszközöknek az esetében, amelyek nem monetáris tételek az IAS 21 szerint (például a tőkeinstrumentumok), az 55(b) bekezdés szerint közvetlenül a saját tőkében kimutatott nyereség vagy veszteség tartalmaz bármely árfolyam alkotórészt is. Amennyiben fedezeti kapcsolat áll fenn egy nem származékos monetáris eszköz és egy nem származékos monetáris kötelezettség között, ezen pénzügyi instrumentumok külföldi pénznem alkotórészeinek változásait a nyereségben vagy veszteségben számolják el.
Pénzügyi eszközök értékvesztése és behajthatatlansága (58-70. bekezdések)
Amortizált bekerülési értéken nyilvántartott pénzügyi eszközök (63-65. bekezdések)
AG84. Egy amortizált bekerülési értéken nyilvántartott pénzügyi eszköz értékvesztését a pénzügyi instrumentum eredeti effektív kamatlábának az alkalmazásával értékelik, mivel az aktuális piaci kamatlábon történő diszkontálás ténylegesen valós érték-alapú értékelést jelentene annál a pénzügyi eszköznél, amelyet máskülönben amortizált bekerülési értéken kellene értékelni. Ha egy kölcsön, követelés vagy lejáratig tartott befektetés feltételeit újratárgyalják vagy azok más módon megváltoznak a kölcsönfelvevő vagy a kibocsátó pénzügyi nehézségei miatt, az értékvesztést a feltételek megváltozása előtti eredeti effektív kamatláb alkalmazásával kell felbecsülni. A rövid lejáratú követelésekhez kapcsolódó cash flow-kat nem diszkontálják akkor, ha a diszkontálás hatása nem jelentős. Ha egy kölcsönnek, követelésnek vagy lejáratig tartandó befektetésnek változó a kamatlába, akkor a 63. bekezdés szerinti értékvesztés megállapításához használandó diszkontráta a szerződés alapján megállapítható aktuális effektív kamatláb(ak). Gyakorlati megoldásként a hitelező megteheti, hogy egy amortizált bekerülési értéken nyilvántartott pénzügyi eszköz értékvesztését egy adott instrumentum valós értéke alapján becsüli meg, egy megfigyelhető piaci ár alkalmazásával. Egy biztosítékkal fedezett pénzügyi eszközből származó jövőbeni cash flow-k becsült jelenértékének a kiszámítása figyelembe veszi a felmondásból származó cash flow-kat, levonva a biztosíték megszerzésének és értékesítésének a költségeit, akár valószínű a felmondás, akár nem.
AG85. Az értékvesztés becslésének folyamata során mérlegelnek minden hitelezési kitettséget, nem csak a rossz adósminősítésűeket. Például, ha egy egység belső hitelminősítési rendszert alkalmaz, akkor minden hitelosztályzatot tekintetbe kell vennie, nem csak azokat, amelyek súlyos romlást jeleznek a hitel minőségében.
AG86. Az értékvesztés miatti veszteségek összegének a becslésére irányuló folyamat eredményezhet egyetlen értéket vagy lehetséges értékek sorozatát. Az utóbbi esetben az egység a tartományon belüli legjobb becsléssel (2) egyenlő értékű értékvesztés miatti veszteséget számol el, figyelembe véve minden olyan releváns információt, amely elérhető volt a pénzügyi kimutatások megjelentetése előtt a mérleg fordulónapján fennálló körülményekről.
AG87. Az értékvesztés együttes kiértékelése céljából a pénzügyi eszközöket olyan hasonló hitelkockázati jellemzők szerint csoportosítják, amelyek jellemzik azt, hogy az adós mennyire lesz képes a szerződés szerint járó valamennyi összeg kifizetésére (például olyan hitelkockázat-értékelő vagy osztályozó folyamat alapján, amely figyelembe veszi az eszköz típusát, az iparágat, a földrajzi elhelyezkedést, a biztosíték fajtáját, a korábbi késedelmeket, és egyéb releváns tényezőket is). A kiválasztott jellemzőknek relevánsnak kell lenniük az ilyen eszközök csoportjaitól várhatók jövőbeni cash flow-k becslésére azáltal, hogy azok jellemzik az adósok képességét minden esedékes tartozásuknak az értékelendő eszközök szerződéses feltételei szerinti megfizetésére. Ugyanakkor a veszteség valószínűsége és az egyéb veszteség statisztikák csoportszinten különböznek (a) az olyan eszközök között, amelyeket értékvesztés szempontjából egyedileg értékeltek, és úgy találtattak, hogy nem értékvesztettek; valamint (b) az olyan eszközök között, amelyeket nem értékeltek egyedileg értékvesztés szempontjából; azzal az eredménnyel, hogy eltérő mértékű értékvesztés megállapítására lehet szükség. Ha egy egység nem rendelkezik hasonló jellemzőket mutató eszközök csoportjával, nem végzi el a további értékelést.
AG88. A csoport alapon elszámolt értékvesztési veszteségek köztes lépést képviselnek az értékvesztés szempontjából együttesen értékelt pénzügyi eszköz csoportban lévő egyedi eszközök értékvesztési veszteségeinek azonosításáig. Amint olyan információk lesznek elérhetők, amelyek konkrétan azonosítják a csoport egyedileg értékvesztett eszközeinek a veszteségeit, ezeket az eszközöket eltávolítják a csoportból.
AG89. Egy értékvesztés szempontjából együttesen értékelt pénzügyi eszköz csoport jövőbeni cash flow-it olyan eszközök múltbeli veszteség tapasztalatai alapján becslik, amelyeknek a hitelkockázati jellemzői hasonlóak a csoportban lévő eszközök hitelkockázati jellemzőihez. Azok az egységek, amelyek nem rendelkeznek egységre jellemző veszteség tapasztalatokkal vagy ilyen irányú tapasztalataik nem elégségesek, a pénzügyi eszközök hasonló csoportjaival kapcsolatos, mások által megszerzett tapasztalatokat használnak. A veszteséggel kapcsolatos múltbeli tapasztalatokat módosítják a jelenlegi megfigyelhető adatok alapján, azon jelenlegi körülmények hatásainak a tükrözése érdekében, amelyek nem voltak hatással arra az időszakra, amelyen a múltbeli veszteség tapasztalatok alapulnak, és azon körülmények múltbeli hatásainak az eltávolítása érdekében, amelyek ma már nem állnak fenn. A jövőbeni cash flow-k változásaira vonatkozó becslések időről időre azokat a változásokat tükrözik és irányukat tekintve azokkal a változásokkal vannak összhangban, amelyek a megfelelő megfigyelhető adatokban következtek be (mint például munkanélküliségi ráták, ingatlan árak, árutőzsdei árak, fizetési státuszok és más olyan tényezők változásai, amelyek jelzik a csoportban bekövetkezett veszteségeket és azok nagyságrendjét). A jövőbeni cash flow-k becslésére használt módszert és feltételezéseket rendszeresen felülvizsgálják annak érdekében, hogy a veszteségekre vonatkozó becslések és a tényleges veszteségekre vonatkozó tapasztalatok közti különbséget csökkentsék.
AG90. Az AG89 bekezdés alkalmazásának példájaként, egy egység úgy ítélheti meg a múltbeli tapasztalatai alapján, hogy a hitelkártya adósságok meg nem fizetésének egyik fő oka az adós elhalálozása. Az egység megfigyeli, hogy az egyik évről a másikra a halálozási ráta nem változik. Mindamellett az egység hitelkártya adósi csoportjának néhány tagja esetleg az adott évben meghalhatott, jelezve, hogy ezeken a kölcsönökön értékvesztés miatti veszteség merült fel akkor is, ha az év végén az egység még nem tudja, hogy konkrétan mely adósok haltak meg. Ezekre a "felmerült, de még nem jelentett" veszteségekre helyénvaló lenne értékvesztési veszteségeket elszámolni. Ugyanakkor azonban nem lenne helyénvaló értékvesztést elszámolni azok miatt a halálesetek miatt, amelyek várhatóan egy jövőbeni időszakban fognak bekövetkezni, mivel az ehhez szükséges káresemény (vagyis az adós halála) még nem következett be.
AG91. Amikor múltbeli veszteség adatokat használnak a jövőbeni cash flow-k megbecsülésére, fontos, hogy a múltbeli veszteség arányokról szóló információkat olyan csoportokra alkalmazzák, amelyeknek a meghatározása azoknak a csoportoknak a meghatározásával konzisztens módon történt, amelyekre vonatkozóan a múltbeli veszteség adatokat megfigyelték. Ennélfogva az alkalmazott módszer alkalmas kell legyen arra, hogy minden egyes csoportot olyan eszközcsoportokban bekövetkezett múltbeli veszteség adatokkal hozzanak összefüggésbe, amelyek hitelkockázati jellemzői hasonlóak voltak, valamint olyan releváns megfigyelhető adatokkal, amelyek a jelenlegi körülményeket tükrözik.
AG92. Képleteken alapuló megközelítések, vagy statisztikai módszerek is használhatók a pénzügyi eszközök adott csoportjában (például kisebb összegű kölcsönökön) bekövetkezett értékvesztés miatti veszteség felmérésére mindaddig, amíg azok összhangban vannak a 63-65., és az AG87-AG91. bekezdésekkel. Bármilyen alkalmazott modellnek tartalmaznia kell a pénz időértékének hatását, figyelembe kell vennie az eszköz hátralévő élettartama alatt várható cash flow-kat (a jövő éven túlmenően is), tekintetbe kell vennie a portfolión belüli kölcsönök korát, továbbá nem állapíthat meg azonnali értékvesztés miatti veszteséget egy pénzügyi eszköz kezdeti megjelenítésekor.
Az értékvesztés elszámolása utáni kamatbevétel
AG93. Amikor értékvesztés miatti veszteség eredményeképpen leírtak egy pénzügyi eszközt vagy hasonló pénzügyi eszközök egy csoportját, a továbbiakban a kamatbevételt annak a kamatlábnak a használatával számolják el, amelyet a jövőbeni cash flow-k diszkontálására használtak akkor, amikor az értékvesztés mértékét becsülték meg.
Fedezeti ügylet (71-102. bekezdések)
Fedezeti instrumentumok (72-77. bekezdések)
Minősített instrumentumok (72 és 73. bekezdések)
AG94. Az egység által kiírt opción a potenciális veszteség sokkal nagyobb is lehet, mint a kapcsolódó fedezett tétel potenciális nyeresége. Más szóval, egy kiírt opció nem tudja hatékonyan csökkenteni egy fedezett tétel nyereségnek vagy veszteségnek való kitettségét. Ennélfogva egy kiírt opció nem minősíthető fedezeti instrumentumnak, hacsak nem egy megvásárolt opció ellentételeként jelölték meg, beleértve azt is, amely be van ágyazva egy pénzügyi instrumentumba (például egy kiírt vételi (call) opció, amelyet egy lehívható kötelezettség fedezésére használnak). Ezzel ellentétben a vásárolt opción realizálható potenciális nyereségek legalább akkorák vagy nagyobbak, mint a veszteségek, és így ez már rendelkezik azzal a képességgel, hogy csökkentse a valós érték vagy a cash flow-k változása miatti nyereségnek vagy veszteségnek való kitettséget. Ennélfogva ez megfelelhet a fedezeti instrumentum feltételeinek.
AG95. Egy amortizált bekerülési értéken nyilvántartott lejáratig tartandó befektetést fedezeti instrumentumként lehet megjelölni egy árfolyam kockázat fedezeti ügyletben.
AG96. Az olyan nem jegyzett tőkeinstrumentumokba tett befektetések, amelyeket nem valós értéken tartanak nyilván, mivel a valós értéküket nem lehet megbízható módon megállapítani, vagy az olyan származékos termékek, amelyek ilyenfajta, nem jegyzett tőkeinstrumentumokhoz kapcsolódnak és ilyenek átadásával rendezendők (ld. a 46(c) és 47. bekezdéseket), nem jelölhetők meg fedezeti instrumentumként.
AG97. Egy egység saját tőkeinstrumentumai nem az egység pénzügyi eszközei vagy pénzügyi kötelezettségei, és ennélfogva nem jelölhetők meg fedezeti instrumentumként.
Fedezett tételek (78-84. bekezdések)
Minősített tételek (78-80. bekezdések)
AG98. Egy üzleti tevékenység megszerzésére vonatkozó biztos elkötelezettség egy üzleti kombináció keretében nem lehet fedezett tétel, kivéve az árfolyam kockázat fedezése tekintetében, mivel a többi fedezendő kockázatot nem lehet konkrétan beazonosítani és értékelni. A többi ilyen kockázat általános üzleti kockázat.
AG99. Egy tőkemódszerrel bevont befektetés nem lehet fedezett tétel egy valós érték fedezeti ügyletben, mivel a tőkemódszer a befektetőnek a társult vállalkozás felmerült nettó nyereségéből vagy veszteségéből való részesedését számolja el, nem pedig a befektetés valós értékének a változásait. Hasonló okból, egy konszolidált leányvállalatba való befektetés nem lehet fedezett tétel egy valós érték fedezeti ügyletben, mivel a konszolidáció az anyavállalatnak a leányvállalat felmerült nettó nyereségéből vagy veszteségéből való részesedését számolja el, nem pedig a befektetés valós értékének a változásait. Egy külföldi érdekeltségbe történt befektetés fedezeti ügylete már más eset, mivel ez a külföldi pénznemnek való kitettség fedezete, nem pedig a befektetés értékének a változásait fedező valós érték fedezeti ügylet.
Pénzügyi tételek fedezett tételekként való megjelölése (81. és 81A. bekezdések)
AG99A. [...] Az egység megteheti, hogy a teljes pénzügyi eszköz vagy pénzügyi kötelezettség összes cash flow-it jelöli meg fedezett tételként, de csak egy bizonyos kockázattal szemben fedezi azokat (például csak olyan változásokra, amelyek a LIBOR változásaiból erednek.). Például egy olyan pénzügyi kötelezettség esetében, amelynek az effektív kamatlába 100 bázisponttal a LIBOR alatt van, az egység a teljes kötelezettséget megjelölheti fedezett tételként (vagyis a tőkét plusz a kamatokat LIBOR mínusz 100 bázispont értéken), és fedezheti azokat a valós érték vagy cash flow változásokat a teljes kötelezettségen belül, amelyek a LIBOR változásnak tulajdoníthatók. Az egység egy az 'egy az egyhez' fedezeti aránytól eltérő arányt is választhat annak érdekében, hogy javítsa a fedezeti ügylet hatékonyságát az AG100. bekezdésben leírtak szerint.
AG99B. Ezen túlmenően, ha egy fix kamatozású pénzügyi instrumentumot fedezeti ügylettel fedeznek annak keletkeztetése után bizonyos idővel, közben pedig megváltoznak a kamatlábak, az egység megjelölhet egy irányadó kamatlábbal egyenlő hányadot.[...] Például tételezzük fel, hogy egy egység 100 CU értékű, fix kamatozású pénzügyi eszközt keletkeztet, amelynek az effektív kamatlába 6 százalék akkor, amikor a LIBOR értéke 4 százalék. Valamivel később megkezdi ennek az eszköznek a fedezését, amikor a LIBOR értéke 8 százalékra nőtt, az eszköz valós értéke pedig 90 CU-ra csökkent. Az egység kiszámolja, hogy ha az eszközt abban az időpotban vette volna, amikor először megjelölte az eszközt mint fedezett tételt, az eszköz akkori valós értékén, vagyis 90 CU-on, az effektív hozam 9,5 százalék lett volna. [...]Az egység megjelölheti a 8 százalékos LIBOR hányadot, amely részben a szerződéses kamat cash flow-kból, részben pedig a jelenlegi valós érték (vagyis 90 CU) és a lejáratkor visszafizetendő összeg (vagyis 100 CU) különbségéből tevődik össze.
Nem pénzügyi tételek megjelölési fedezett tételekként (82. bekezdés)
AG100. Egy nem pénzügyi eszköz vagy nem pénzügyi kötelezettség valamelyik alkotórészének vagy összetevőjének az árváltozása általában nem jár olyan kiszámítható, külön is mérhető hatással az adott tétel árára, mint ami összehasonlítható lenne az olyan hatásokkal, mint például a piaci kamatlábak változása egy kötvény árára. Így egy nem pénzügyi eszköz vagy kötelezettség csak a maga teljességében, vagy pedig árfolyam kockázatok tekintetében lehet fedezett tétel. Amennyiben különbség van a fedezeti instrumentum és a fedezett tétel feltételei között (mint például akkor, ha brazil kávé tervezett vásárlását olyan forward szerződéssel fedezik, amely egyébként hasonló feltételek mellett kolumbiai kávé megvételét irányozza elő), a fedezeti kapcsolat még megfelelhet a fedezeti kapcsolat feltételeinek, feltéve, hogy a 88. bekezdésben foglalt valamennyi feltétel teljesül, beleértve azt a feltételt is, hogy a fedezeti ügylet várhatóan jelentősen hatékony lesz. Ebből a szempontból a fedezeti instrumentum összege nagyobb és kisebb is lehet mint a fedezett eszközé, amennyiben az javítja a fedezeti kapcsolat hatékonyságát. Például regressziós analízist lehet végezni a fedezett tétel (például egy brazil kávéval lefolytatott tranzakció) és a fedezeti instrumentum (például egy kolumbiai kávéval lefolytatott tranzakció) közötti kapcsolat megállapítása végett. Amennyiben valós statisztikai kapcsolat áll fenn a két változó között (vagyis a brazil kávé és a kolumbiai kávé egységára között), a regressziós görbe meredekségét lehet felhasználni annak a fedezeti aránynak a megállapítására, amely maximálni fogja a várható hatékonyságot. Például ha a regressziós görbe meredeksége 1,02, akkor a 0,98 egységnyi fedezett tétel és 1,00 egységnyi fedezeti instrumentum arány maximalizálja a várható hatékonyságot. Ugyanakkor a fedezeti kapcsolat hatékonytalanságot is eredményezhet, amelyet a nyereségben vagy veszteségben számolnak el a fedezeti kapcsolat fennállása alatt.
Tételek csoportjának megjelölése fedezett tételekként (83. és 84. bekezdések)
AG101. Egy átfogó nettó pozíció (pl. az összes hasonló futamidejű fix kamatlábú eszköz és fix kamatlábú kötelezettség nettó értéke), nem pedig egy konkrét fedezett tétel fedezete nem felel meg a fedezeti elszámolás feltételeinek. Ugyanakkor az ilyenfajta fedezeti kapcsolat esetében a fedezeti elszámolásnak a nettó nyereségre vagy veszteségre gyakorolt hatása tekintetében körülbelül ugyanaz az eredmény érhető el, ha a mögöttes tételek egy részét jelölik meg fedezett tételként. Például, ha egy banknak 100 CU összegű eszköze és 90 CU összegű kötelezettsége van, amelyek hasonló kockázatúak és hasonló feltételekkel bírnak, és a bank a nettó 10 CU összegű kitettségét fedezi, akkor megjelölhet fedezett tételként ezen eszközeiből 10 CU összegűt. Ez a fajta megjelölés alkalmazható, ha ezek az eszközök és kötelezettségek fix kamatozású instrumentumok, mely esetben valós érték fedezeti ügylet keletkezik, vagy ha azok változó kamatozású instrumentumok, mely esetben cash flow fedezeti ügylet keletkezik. Hasonlóképpen, ha egy egység biztos elkötelezettséget vállalt arra, hogy 100 CU összegben megvásárol valamit külföldi pénznemért, és arra is biztos elkötelezettsége van, hogy 90 CU összegű külföldi pénznemben elad valamit, a 10 CU nettó összeget úgy fedezheti le, hogy vásárol egy származékos terméket, és azt fedezeti instrumentumként jelöli meg a 100 CU összegű biztos vételi elkötelezettségből 10 CU-hoz.
Fedezeti elszámolás (85-102. bekezdések)
AG102. Valós érték fedezeti ügylet például egy fix kamatozású adósságinstrumentum - kamatlábak változásából fakadó - valós érték-változásának való kitettség fedezése. Ilyen fedezeti ügyletet a kibocsátó és a tulajdonos egyaránt köthet.
AG103. Cash flow fedezeti ügylet például az, ha swapot használnak egy változó kamatozású adósság fix kamatozású adóssággal való kiváltására (vagyis valamilyen jövőbeni tranzakció fedezete, ahol a fedezett jövőbeni cash flow-k a jövőbeni kamatfizetések).
AG104. Egy biztos elkötelezettség fedezete (például egy olyan fűtőanyag árváltozás fedezete, amelynek az az oka, hogy egy elektromos közmű szolgáltató ki nem mutatott szerződéses elkötelezettséget vállalt arra, hogy fix áron vásárol fűtőanyagot) valójában egy valós értékváltozásnak való kitettség lefedezését jelenti. Ennek megfelelően az ilyenfajta fedezeti ügylet valós érték fedezeti ügylet. Ugyanakkor a 87. bekezdés alapján egy biztos elkötelezettségből fakadó árfolyam kockázat fedezetét alternatív módon cash flow fedezeti ügyletnek is el lehet számolni.
A fedezeti hatékonyság értékelése
AG105. Egy fedezeti ügylet csak akkor tekinthető nagyon hatékonynak, ha mindkét következő feltételnek eleget tesz:
(a) A fedezeti ügylet kezdetén és az azt követő időszakok során a fedezeti ügylet várhatóan nagyon hatékony lesz azokat a valós érték vagy cash flow változásokat ellentételező hatások elérésében, amelyek a fedezett kockázatnak tulajdoníthatók abban az időszakban, amelyre a fedezetet megjelölték. Ezt a várakozást többféleképpen lehet bizonyítani, például össze lehet hasonlítani a fedezett tétel valós értékében vagy cash flow-iban a fedezett kockázatnak tulajdonítható múltbeli változásokat a fedezeti instrumentum valós értékében vagy cash flow-iban bekövetkezett múltbeli változásokkal, vagy pedig bemutatható, hogy nagyfokú statisztikai korreláció áll fenn a fedezett tétel és a fedezeti instrumentum valós értéke vagy cash flow-i között. Az egység egy az 'egy az egyhez' fedezeti aránytól eltérő arányt is választhat annak érdekében, hogy javítsa a fedezeti ügylet hatékonyságát az AG100. bekezdésben leírtak szerint.
(b) A fedezeti ügylet tényleges eredményei a 80-125 százalékos tartományon belülre esnek. Például ha tényleges eredmények olyanok, hogy a fedezeti instrumentumon keletkezett veszteség 120 CU összegű, a pénzeszköz instrumentumon keletkezett nyereség pedig 100 CU összegű, akkor az ellentételezés megadható 120/100-nak, ami 120 százalék, vagy pedig 100/120-nak, ami 83 százalék. Ebben a példában, feltételezve, hogy a fedezeti ügylet megfelel az (a) pontban foglalt feltételnek, az egység arra a következtetésre jutna, hogy a fedezeti ügylet nagyon hatékony volt.
AG106. A hatékonyságot legalább az egység éves vagy évközi pénzügyi kimutatásainak elkészítésekor értékelik.
AG107. A jelen standard nem határoz meg kizárólagos módszert a fedezeti hatékonyság mérésére. Az, hogy az egység milyen módszert fogad el a fedezeti ügylet hatékonyságának mérésére, a kockázatkezelési stratégiájától függ. Ha például az egység kockázatkezelési stratégiája azt írja elő, hogy a fedezeti instrumentum összegét időről időre módosítani kell a fedezett pozícióban bekövetkezett változásokat tükrözendő, az egységnek csak azt kell bizonyítania, hogy a fedezeti ügylet várhatóan nagyon hatékony lesz a fedezeti instrumentum összegének következő módosításáig tartó időszakban. Bizonyos esetekben az egység a különböző típusú fedezeti ügyletek esetében különböző módszereket alkalmaz. Az egység fedezeti ügyleti stratégiájáról vezetett dokumentációjának tartalmaznia kell azt, hogy milyen eljárással értékeli a hatékonyságot. Ezek az eljárások rögzítik, hogy az értékelés minden, az adott fedezeti eszközön keletkezett nyereséget vagy veszteséget tartalmaz-e, vagy kizárják az instrumentum időértékét.
AG107A. [...]
AG108. Ha a fedezeti instrumentum és a fedezett eszköz, kötelezettség, biztos elkötelezettség vagy a nagyon valószínű előrejelzett ügylet legfontosabb feltételei azonosak, a valós értéknek és a cash flow-knak a fedezett kockázatnak tulajdonítható változásai valószínűleg teljes mértékben kiegyensúlyozzák egymást a fedezeti ügylet megkötésekor és később is. Például egy kamatláb-csereügylet (swap) valószínűleg hatékony fedezeti ügylet, ha a névleges érték, a tőkeösszeg, a futamidő, az átárazási időpontok, a kamatfizetési és tőketörlesztési időpontok, és a kamatok mérésének alapja megegyezik a fedezeti instrumentum és a fedezett tétel esetében. Ezen túlmenően tőzsdei áruk nagyon valószínű előrejelzett megvásárlásának a fedezése egy forward szerződéssel valószínűleg nagyon hatékony, ha:
(a) a forward szerződés ugyanannak az árutőzsdei terméknek ugyanakkora mennyiségben történő megvásárlására szól, ugyanabban az időben és ugyanazon a helyen, mint a előrejelzett vétel;
(b) a forward szerződés valós értéke kezdetben nulla;
és
(c) a forward szerződésben szereplő diszkont vagy prémium változását kizárják a hatékonyság méréséből, és közvetlenül a nettó nyereségben vagy veszteségben veszik figyelembe, vagy pedig a nagyon valószínű előrejelzett ügyletből várható cash flow-k változása az árutőzsdei termék forward árán alapul.
AG109. Előfordul, hogy a fedezeti instrumentum csak a fedezett kockázat egy részét ellentételezi. Például, a fedezeti ügylet nem lenne teljesen hatékony, ha a fedezeti instrumentum és a fedezett tétel eltérő pénznemben lenne megadva, és a két pénznem árfolyama nem mozog együtt. A kamatlábkockázatnak származékos termék felhasználásával való fedezése pedig nem lehet teljesen hatékony, ha a származékos termék valós értékének változása részben a másik fél hitelkockázatának tulajdonítható.
AG110. Ahhoz, hogy a fedezeti elszámolás feltételeinek megfeleljen, a fedezeti ügyletnek egy konkrétan beazonosított és megjelölt kockázatra kell vonatkoznia, nem csupán az egység általános üzleti kockázataira, és végső soron hatással kell lennie az egység nyereségére vagy veszteségére. Egy fizikailag létező eszköz avulásából fakadó kockázatnak vagy az ingatlanok állami kisajátításából fakadó kockázatnak a fedezete nem felel meg a fedezeti elszámolás feltételeinek; a hatékonyság nem mérhető, mivel ezeket a kockázatokat nem lehet megbízhatóan mérni.
AG111. Kamatlábkockázat esetében a fedezeti ügylet hatékonysága felmérhető egy olyan pénzügyi eszköz és kötelezettség lejárati táblának az elkészítésével, amely bemutatja a nettó kamatláb kitettséget minden egyes időszakra vonatkozóan, feltéve, hogy ezt a nettó kitettséget össze lehet kapcsolni azzal a konkrét eszközzel vagy kötelezettséggel (vagy eszközök vagy kötelezettségek konkrét csoportjával, vagy azok egy konkrét hányadával), amelyikből ez a nettó kitettség ered, és a fedezeti ügylet hatékonyságát ezzel az eszközzel vagy kötelezettséggel szemben mérik.
AG112. Egy fedezeti ügylet hatékonyságának mérésekor az egységnek általában számításba kell vennie a pénz időértékét. Nem szükséges, hogy a fedezett tétel fix rátája pontosan megegyezzen a valós érték fedezeti ügyletként megjelölt swap ügylet fix rátájával. Hasonlóképpen egy kamatozó eszköz vagy kötelezettség változó kamatlábának sem kell megegyeznie a cash flow fedezeti ügyletként megjelölt swap ügylet változó kamatlábával. A swap ügylet valós értéke annak nettó teljesítéséből adódik. A swap ügylet fix és változó kamatlábai megváltozhatnak a nettó teljesítésre gyakorolt hatás nélkül, amennyiben mindkettő ugyanazzal az összeggel változik meg.
AG113. Ha egy egység már nem felel meg a fedezeti ügylet hatékonysági kritériumainak, az egység a fedezeti elszámolást attól időponttól kezdve fejezi be, amikor utoljára bizonyította a fedezeti hatékonyságnak való megfelelést. Ha azonban az egység megjelöli azt az eseményt vagy körülményekben bekövetkezett változást, amely a fedezeti kapcsolat hatékonysági kritériumoknak való meg nem felelését okozta, és kimutatja, hogy a fedezeti ügylet hatékony volt az eseményt vagy körülményekben bekövetkezett változást megelőzően, az egység a fedezeti elszámolást az esemény vagy a körülményekben bekövetkezett változás időpontjával fejezi be.
Valós érték fedezeti elszámolás kamatlábkockázatok portfolió fedezeti ügylete során
AG114. A pénzügyi eszközök vagy pénzügyi kötelezettségek egy portfoliójához kapcsolódó kamatláb kockázatok valós érték fedezeti ügylete esetében az egység akkor tesz eleget a jelen Standard követelményeinek, ha megfelel az alábbi (a)-(i) pontokban és az AG115-AG132. bekezdésekben foglaltaknak.
(a) A kockázatkezelési folyamata keretében az egység azonosítja azoknak a tételeknek a portfolióját, amelyeknek a kamatkockázatait le kívánja fedezni. A portfolió állhat csak eszközökből, csak kötelezettségekből, vagy eszközökből és kötelezettségekből egyaránt. Az egység azonosíthat két vagy több portfoliót is (például megteheti, hogy az értékesíthető eszközeit egy külön portfolióba csoportosítja), mely esetben az alábbi útmutatást külön alkalmazza minden egyes portfolióra.
(b) Az egység a portfoliót elemzés alapján átárazási időszakokra osztja fel a várható, nem pedig a szerződés szerinti átárazási időpontok szerint. Az átárazási időszakokra való felbontás többféleképpen végezhető el, például úgy is, hogy a cash flow-kat azokra az időszakokra ütemezik be, amelyekben várhatóan bekövetkeznek, vagy pedig a névleges tőkeösszegeket ütemezik be minden időszakra, amíg az átárazás várhatóan be nem következik.
(c) Ennek az elemzésnek az alapján az egység eldönti, hogy mekkora összeget kíván lefedezni. Az egység fedezett tételként megjelöli a meghatározott portfolióból azt az eszköz-, vagy kötelezettség összeget (de nem egy nettó összeget), amely egyenlő azzal az összeggel, amelyet fedezettként kíván megjelölni. [...]
(d) Az egység megjelöli a fedezni kívánt kamatlábkockázatot. Ez a kockázat lehet a fedezeti pozícióban lévő tételek kamatláb kockázatának egy része is, mint például az irányadó kamatláb (például a LIBOR).
(e) Az egység minden egyes átárazási időszakra vonatkozóan megjelöl egy vagy több fedezeti instrumentumot.
(f) A fenti (c)-(e) pontok szerint elvégzett megjelölések használatával, kezdetben és a következő időszakok során az egység felbecsüli, hogy a fedezeti ügylet várhatóan nagyon hatékony lesz-e abban az időszakban, amelyikre a fedezeti ügyletet megjelölték.
(g) Az egység időről időre meghatározza a ((c) pontban megjelölt) fedezett tétel valós értékének a ((d) pontban megjelölt) fedezett kockázatnak tulajdonítható változását [...]. Feltéve, hogy a fedezeti ügyletet ténylegesen nagyon hatékonynak ítélték akkor, amikor az egység dokumentált hatékonyság mérési módszere szerint felmérték, az egység a fedezett tétel valós értékének a változását a nyereségben vagy veszteségben számolja el nyereségként vagy veszteségként, és kimutatja azt a két mérlegtétel közül az egyikben, a 89A bekezdésben leírtak szerint. A valós érték változását nem szükséges egyedi eszközökhöz vagy kötelezettségekhez rendelni.
(h) Az egység meghatározza az ((e) pontban megjelölt) fedezeti instrumentum(ok) valós értékváltozását, és azt nyereségként vagy veszteségként a nyereségben vagy veszteségben számolja el. A fedezeti instrumentum valós értékét a mérlegben eszközként vagy kötelezettségként mutatják ki.
(i) A hatékonyság bármely hiányát (3) a nyereségben vagy veszteségben kell elszámolni, mint a (g) pontban hivatkozott és a (h) pontban hivatkozott valós érték közötti különbséget.
AG115. Ezt a megközelítést az alábbiakban részletesebben is bemutatjuk. Ezt a megközelítést csak olyan kamatlábkockázatok valós érték fedezeti ügyleteire lehet alkalmazni, amelyek pénzügyi eszközök vagy pénzügyi kötelezettségek portfoliójához kapcsolódnak.
AG116. Az AG114(a) bekezdésben megjelölt portfólió eszközöket és kötelezettségeket egyaránt tartalmazhat. De az is lehetséges, hogy ez a portfólió csak eszközöket vagy csak kötelezettségeket tartalmazzon. A portfoliót használják annak az eszköz vagy kötelezettség összegnek a meghatározására, amelyet az egység le kíván fedezni. Ugyanakkor nem maga a portfolió kerül fedezett tételként megjelölésre.
AG117. Az AG114(b) bekezdésben foglaltak alkalmazásakor az egység úgy határozza meg egy adott tétel várható átárazási időpontját, mint a tétel várható lejárati időpontja és a piaci ráták szerinti átárazás időpontja közül a korábbi időpontot. A várható átárazási időpontokat a fedezeti ügylet kezdetén és annak teljes időtartamára vonatkozóan felbecslik, a múltbeli tapasztalatok és a többi rendelkezésre álló információ alapján, beleértve az előtörlesztési kamatokra, a kamatlábakra és a kettő közötti kölcsönhatásokra vonatkozó információkat és várakozásokat is. Azok az egységek, akik nem rendelkeznek egységre jellemző tapasztalatokkal vagy ilyen irányú tapasztalataik nem elégségesek, a hasonló pénzügyi eszközökkel kapcsolatos, mások által megszerzett tapasztalatokra hagyatkoznak. Ezeket a becsléseket időről időre felülvizsgálják és aktualizálják a tapasztalatok fényében. Egy olyan fix kamatozású tétel esetében, amelynél lehetőség van az előtörlesztésre, a várható átárazási időpont az az időpont, amikor az adott tételt várhatóen előtörlesztik, kivéve, ha a piaci ráták szerinti átárazás már korábban megtörténik. Hasonló tételekből álló csoport esetében a várható átárazási időpontokon alapuló időszakokra történő felosztás olyan formában is megtörténhet, hogy a csoport valamilyen százalékát, nem pedig az egyes tételeket rendelik hozzá az egyes időszakokhoz. Az egység más módszereket is alkalmazhat ehhez az allokációhoz. Például előtörlesztési kamat multiplikátort is használhat arra, hogy az amortizálódó kölcsönöket időszakokhoz rendelje a várható átárazási időpontok alapján. Ugyanakkor azonban az ilyen hozzárendelés során alkalmazott módszernek összhangban kell lennie az egység által alkalmazott kockázatkezelési eljárásokkal és célokkal.
AG118. Az AG114(c) bekezdésben alkalmazott megjelölés példájaképpen, ha egy adott átárazási időszakban az egység úgy becsüli, hogy 100 CU összegben rendelkezik fix kamatozású eszközökkel és 80 CU összegben fix kamatozású kötelezettségekkel, és úgy dönt, hogy a 20 CU összegű nettó pozícióját teljes mértékben lefedezi, akkor fedezett tételként 20 összegű eszközállományt jelöl meg (eszközei egy részét). (4) A megjelölést "egy pénznem egy összegeként" fejezik ki (például dollár, euró, font vagy rand összegként), nem pedig egyedi eszközökként. Ebből az következik, hogy minden olyan eszköz (vagy kötelezettség), amelyből a fedezett összeget származtatják - vagyis a fenti példában a teljes 100 összegű eszközállomány olyan tétel kell legyen, amelynek a valós értéke a fedezett kamatláb változása következtében maga is megváltozik. [...]
AG119. Az egység azoknak a megjelölési és dokumentációs követelményeknek is meg kell, hogy feleljen, amelyeket a 88(a) bekezdés ismertet. Kamatláb kockázatok portfolió fedezete esetén ez a megjelölés és dokumentáció meghatározza az egység politikáját minden olyan változóra vonatkozóan, amelyek segítségével meghatározza a fedezett összeget, és az egység politikáját arra, hogy miként méri a hatékonyságot, beleértve a következőket:
(a) mely eszközöket és kötelezettséget kell szerepeltetni a portfolió fedezeti ügyletben, és milyen alapon döntenek arról, hogy kiveszik azokat a portfolióból.
(b) hogyan becsüli meg az egység az átárazási időpontokat, beleértve azt is, hogy milyen kamatláb feltételezések támasztják alá az előtörlesztési kamatlábakra vonatkozóan becsléseket, és hogy milyen alapon változtathatók meg ezek a becslések. Ugyanazt a módszert használják azokra a kezdeti becslésekre, amelyeket akkor végeznek el, amikor egy eszközt vagy kötelezettséget a portfolióba tesznek, és ezeknek a becsléseknek a később felülvizsgálatakor.
(c) az átárazási időszakok száma és hossza.
(d) az egység milyen gyakorisággal teszteli a hatékonyságot[...].
(e) az egység által használt módszer az eszközök vagy kötelezettségek azon összegének a meghatározására, amelyet fedezett tételként jelölnek meg [...].
(f) az, hogy [...] az egyes átárazási időszakokra elkülönülten, összességében valamennyi időszakra vonatkozóan, vagy pedig a kettő valamilyen kombinációjának alkalmazásával történik a tesztelés.
A fedezeti kapcsolat megjelölésére és dokumentálására meghatározott politikáknak összhangban kell lenniük az egység kockázatkezelési eljárásaival és céljaival. A politikákat nem lehet önkényesen megváltoztatni. Ezeket a piaci körülmények változásaival és egyéb tényezőkkel kell igazolni, és azoknak az egység által alkalmazott kockázatkezelési eljárásokon és célokon kell alapulniuk és azzal összhangban kell lenniük.
AG120. Az AG114(e) bekezdésben hivatkozott fedezeti instrumentum lehet egy egyedi származékos termék vagy pedig származékos termékek egy portfóliója, amelyen belül minden egyes származékos tétel az AG114(d) bekezdésben megjelölt fedezett kamatláb kockázatnak való kitettséget tartalmaz (például olyan kamatláb swap ügyletek portfóliója, amelyek mindegyike tartalmaz LIBOR-nak való kitettséget). Egy ilyen származékos termék portfólió egymást kiegyenlítő kockázati pozíciókat is tartalmazhat. Ugyanakkor nem tartalmazhat kiírt opciókat vagy nettó kiírt opciókat, mivel a Standard (5) nem teszi lehetővé azt, hogy ilyen opciókat fedezeti instrumentumként jelöljenek ki (kivéve azt az esetet, amikor egy kiírt opciót egy megvásárolt opció ellentételeként jelölnek meg). Ha a fedezeti instrumentum egynél több átárazási időszakra kiterjedően fedezi le az AG114(c) bekezdésben megjelölt összeget, minden általa lefedezett időszakhoz hozzá kell rendelni. Ugyanakkor a teljes fedezeti instrumentumot fel kell osztani ezekre az átárazási időszakokra, mivel a Standard (6) nem engedélyezi azt, hogy egy fedezeti kapcsolatot csak annak az időszaknak egy részére jelöljenek meg, amelyben az adott fedezeti instrumentum érvényben van.
AG121. Amikor egy egység felméri egy előtörleszthető tétel valós értékváltozását az AG114(g) bekezdésnek megfelelően, a kamatláb változása kétféleképpen gyakorol hatást az előtörleszthető tétel valós értékére: hatással van a szerződés szerinti cash flow-k valós értékére és annak az előtörlesztési opciónak a valós értékére is, amelyet az előtörleszthető tétel tartalmaz. A Standard 81. bekezdése megengedi azt, hogy az egység fedezett tételként egy azonos kockázati kitettséget tartalmazó pénzügyi eszköz vagy pénzügyi kötelezettség valamilyen hányadát jelölje meg, feltéve, hogy a hatékonyság mérhető. [...]
AG122. A standard nem határozza meg azt, hogy milyen technikák segítségével kell megállapítani az AG114(g) bekezdésben hivatkozott összeget, vagyis a fedezett tétel azon valós értékváltozását, amely a fedezett kockázatnak tulajdonítható. [...] Nem helyénvaló azt feltételezni, hogy a fedezett tétel valós értékváltozásai egyenlőek a fedezeti instrumentum értékváltozásaival.
AG123. A 89A bekezdés előírja, hogy amennyiben a fedezett tétel egy adott átárazási időszakra vonatkozóan eszköz, akkor az annak értékében bekövetkezett változást az eszközökön belül egy külön tételsorban kell szerepeltetni. Ezzel szemben ha a fedezeti tétel egy adott átárazási időszakra vonatkozóan kötelezettség, akkor az annak értékében bekövetkezett változást a kötelezettségeken belül egy külön tételsorban kell szerepeltetni. Ezek az AG114(g) bekezdésben hivatkozott külön sorok. Az egyedi eszközhöz (vagy kötelezettségekhez) való konkrét hozzárendelés nem követelmény.
AG124. Az AG114(i) bekezdés megjegyzi, hogy hatékonytalanság keletkezik abban a mértékben, amennyiben a fedezett tétel azon valós értékváltozása, amely a fedezett kockázatnak tudható be, különbözik a fedezeti származékos termék valós értékváltozásától. Ez a különbség számos okból előállhat, beleértve a következőket:
(a) [...]
(b) a fedezeti portfolió egyes tételei értékvesztetté válnak, vagy kivezetik azokat;
(c) a fedezeti instrumentum és a fedezett eszköz fizetési időpontjai eltérnek;
valamint
(d) egyéb okok miatt [...]
Ezt a hatékonytalanságot (7) azonosítani kell és a nyereségben vagy veszteségben kell elszámolni.
AG125. Általánosságban a fedezeti ügylet hatékonysága javul:
(a) ha az egység a különféle előtörlesztési jellemzőkkel bíró tételeket időben olyan módon sorolja be, amely figyelembe veszi az előtörlesztési magatartás különbözőségeit.
(b) amikor nagyobb számú tétel van a portfolióban. Amikor a portfolió csak néhány tételt tartalmaz, viszonylag magas hatékonytalanság valószínűsíthető abban az esetben, ha az egyik tételt a vártnál korábban vagy később előtörlesztik. Ezzel szemben amikor a portfolió sok tételt tartalmaz, az előtörlesztési magatartást pontosabban előre lehet jelezni.
(c) amikor a használt átárazási időszakok szűkebbek (például egy hónap, szemben a három hónapos átárazási időszakokkal). A szűkebb átárazási időszakok csökkentik a fedezett tétel és a fedezeti instrumentum (átárazási időszakon belüli) átárazási és fizetési időpontjai közötti bármely elcsúszás hatását.
(d) amikor nagyobb gyakorisággal korrigálják a fedezeti instrumentum összegét a fedezett tétel változásainak tükrözése érdekében (például azért, mert változnak az előtörlesztési várakozások).
AG126. Az egység időről időre teszteli a hatékonyságot. [...]
AG127. A hatékonyság mérésekor az egység megkülönbözteti a meglévő eszközök (kötelezettségek) becsült átárazási időpontjainak a felülvizsgálatát az új eszközök (vagy kötelezettségek) keletkeztetésétől, melyekből csak az előbbi keletkeztet hatékonytalanságot. [...] Ha már elszámolták a hatékonytalanságot a fentiek szerint, az egység új becslést készít az összes eszközre (vagy kötelezettségre) vonatkozóan minden egyes átárazási időszakban, bevonva azokat az új eszközöket (vagy kötelezettségeket) is, amelyeket a legutóbbi hatékonysági tesztelés óta keletkeztettek, és egy új összeget jelöl meg fedezett tételként, valamint egy új százalékos értéket fedezett százalékos értékként. [...]
AG128. Olyan tételeket, amelyeket eredetileg beütemeztek egy átárazási időszakba, a vártnál korábbi előtörlesztés vagy értékvesztés, illetve értékesítés miatti leírás következtében kivezethetnek. Amikor erre sor kerül, az AG114(g) bekezdésben hivatkozott külön sorban szereplő valós érték változásból azt az összeget, amely a kivezetett tétellel kapcsolatos, el kell távolítani a mérlegből, és a tétel kivezetésekor felmerült nyereségben vagy veszteségben kell szerepeltetni. Ebből a célból ismerni kell az(oka)t az átárazási időszako(ka)t, amely(ek)be a kivezetett tételt beütemezték, mivel ez határozza meg azt az átárazási időszakot (azokat az átárazási időszakokat), amelyekből a tételt el kell távolítani, így azt az összeget is, amelyet az AG114(g) bekezdésben hivatkozott külön tételsorból el kell távolítani. Ha egy tételt kivezetésekor meg lehet állapítani, hogy melyik időszakban szerepelt, akkor abból az időszakból kell eltávolítani. Ha ez nem lehetséges, akkor a legkorábbi időszakból távolítják el abban az esetben, ha a kivezetésre a vártnál korábbi előtörlesztés miatt került sor; vagy pedig minden olyan időszakhoz hozzárendelik szisztematikus és racionális alapon, amely a kivezetett tételt tartalmazta abban az esetben, ha a tételt eladták vagy az értékvesztetté vált.
AG129. Ezen túlmenően bármely olyan egy adott időszakhoz kapcsolódó összeget, amelyet még nem vezettek ki, amikor az időszak lejárt, ebben az időpontban a nyereségben vagy veszteségben számolnak el (ld. 89A bekezdés). [...]
AG130. [...]
AG131. Amennyiben az adott átárazási időszakhoz tartozó összeg úgy csökken le, hogy a hozzá tartozó eszközöket (vagy kötelezettségeket) nem vezetik ki, az AG114(g) bekezdésben hivatkozott külön tételsorhoz kapcsolódó, a csökkenéshez tartozó összeget a 92. bekezdésben foglaltak szerint kell amortizálni.
AG132. Az egység megteheti, hogy az AG114-AG131. bekezdésekben foglalt megközelítést olyan portfólió fedezeti ügyletre alkalmazza, amelyet korábban cash flow fedezeti ügyletként számolt el az IAS 39 szerint. Ebben az esetben az egységnek vissza kell vonnia a cash flow fedezeti ügylet korábbi, a 101(d) bekezdés szerinti megjelölését, és az abban a bekezdésben foglalt követelményeket kell alkalmaznia. Ezzel együtt a fedezeti ügyletet újra meg kell jelölnie mint valós érték fedezeti ügyletet, és az AG114-AG131. bekezdésekben foglalt megközelítést a jövőre nézve kell alkalmaznia, az elkövetkező elszámolási időszakokra.
(1) A jelen útmutatóban a pénzegységek kimutatása "deviza egységben" (CU-ban) történik.
(2) A IAS 37. standard 39. bekezdése tartalmaz iránymutatást arról, hogy miként kell megállapítani a legjobb becslést a lehetséges kimenetelek tartományában.
(3) Ebben az összefüggésben ugyanazokat a lényegességi megfontolásokat kell alkalmazni, mint amelyek az IFRS-ek során alkalmazandók.
(4) A Standard megengedi azt, hogy az egység a rendelkezésére álló, minősített eszközök vagy kötelezettségek bármilyen öszegét megjelölje, vagyis ebben a példában 0 és 100 között bármilyen összegű eszköz kijelölhető.
(5) lásd 77. és AG94 bekezdések
(6) lásd 75. bekezdés
(7) Ebben az összefüggésben ugyanazokat a lényegességi megfontolásokat kell alkalmazni, mint amelyek az IFRS-ek során alkalmazandók.
B FÜGGELÉK
Egyéb kiadványok módosításai
A jelen függelékben szereplő módosítások a 2005. január 1-jén vagy azt követően kezdődő éves időszakokra alkalmazandók. Ha egy egység a jelen standardot egy korábbi időszakra alkalmazza, ezeket a módosításokat erre a korábbi időszakra alkalmazni kell.
Az IFRS módosításai
B1. Az IFRS 1 A Nemzetközi Pénzügyi Beszámolási Standardok első alkalmazása standard az alábbiak szerint módosul.
Standard
Hozzáadásra kerülnek a 25A, 27A, 36A és 47A bekezdések, és a 13., 27. és 30. bekezdések az alábbiak szerint módosulnak:
13. Az egység választhatja az alábbi felmentések közül egy vagy több alkalmazását:
(a) ....
(e) összetett pénzügyi instrumentumok (23. bekezdés);
(f) leányvállalatok, társult vállalkozások és közös vállalkozások eszközei és kötelezettségei (24. és 25. bekezdések);
és
(g) korábban kimutatott pénzügyi instrumentumok megjelölése (25A bekezdés).
Korábban kimutatott pénzügyi instrumentumok megjelölése
25A. Az IAS 39 Pénzügyi instrumentumok: Megjelenítés és értékelés standard megengedi, hogy egy pénzügyi instrumentumot annak kezdeti megjelenítésekor nyereséggel vagy veszteséggel szemben valós értéken értékelt vagy értékesíthető pénzügyi eszközként vagy pénzügyi kötelezettségként jelöljenek meg. Ezen előírással ellentétben, az egység számára megengedett, hogy e megjelölést az IFRS-ekre való áttérés időpontjában tegye meg.
27. A 27A bekezdésben megengedettek kivételével, az első alkalmazónak az IAS 39 kivezetési előírásait a jövőre nézve kell alkalmaznia a 2004. január 1-jén vagy azt követően bekövetkező ügyletekre. Más szavakkal, amennyiben az első alkalmazó nem származékos eszközöket vagy nem származékos kötelezettségeket vezetett ki a korábbi számviteli szabályozása alapján egy 2004. január 1-je előtt bekövetkezett ügylet eredményeként, ezen eszközöket és kötelezettségeket az IFRS-ek alapján nem mutathatja ki (kivéve, ha azok egy később bekövetkező ügylet vagy esemény eredményeként megfelelnek a kimutatás feltételeinek).
27A. A 27. bekezdés ellenére, az egység visszamenőlegesen is alkalmazhatja az IAS 39 kivezetési előírásait egy saját döntése szerinti időponttól, feltéve, hogy az IAS 39-nek a múltbeli ügyletek eredményeként kivezetett eszközökre és kötelezettségekre történő alkalmazásához szükséges információk rendelkezésre álltak akkor, amikor ezen ügyleteket eredetileg elszámolták.
30. Amennyiben az IFRS-ekre történő áttérést megelőzően az egység valamely ügyletet fedezeti ügyletként jelölt meg, de az nem felel meg az IAS 39 fedezeti elszámolásra meghatározott feltételeinek, az egységnek az IAS 39 91. és 101. bekezdését kell alkalmaznia a fedezeti elszámolás megszüntetésére. Az IFRS-ekre történő áttérés előtt megkötött ügyleteket visszamenőlegesen nem lehet fedezeti ügyletként megjelölni.
Az összehasonlító adatok IAS 39-nek megfelelő újra-megállapítására vonatkozó követelmény alóli felmentés
36A. Az első IFRS pénzügyi kimutatásaiban az az egység, amely 2006. január 1-jét megelőzően tér át az IFRS-ekre, legalább egy éves összehasonlító adatot kell bemutasson, de ezen összehasonlító információknak nem kell megfelelniük az IAS 32 és az IAS 39 standardoknak. Amennyiben az egység választja, hogy olyan összehasonlító adatokat ad meg, amelyek nem felelnek meg az IAS 32 és az IAS 39 standardoknak, az áttérés első évében:
(a) a korábbi számviteli szabályozását kell alkalmazza az összehasonlító adatokban szereplő, az IAS 32 és az IAS 39 hatálya alá eső pénzügyi instrumentumokra;
(b) közzé kell tegye ezt a tényt, valamint az ezen információ előállításának alapját;
továbbá
(c) közzé kell tegye azon főbb módosítások jellegét, amelyek szükségesek lennének ahhoz, hogy az információk megfeleljenek az IAS 32 és az IAS 39 standardoknak. Az egységnek nem kell e módosításokat számszerűsítenie. Ugyanakkor azonban az egységnek az összehasonlító időszak beszámolási fordulónapjára vonatkozó mérleg (vagyis az a mérleg, ami a korábbi számviteli szabályozás alapján összeállított összehasonlító adatokat tartalmazza), valamint az első IFRS szerinti beszámolási időszak kezdetére vonatkozó mérleg (vagyis az az első időszak, amely az IAS 32 és az IAS 39 standardoknak megfelelő információkat tartalmazza) közötti módosítást oly módon kell kezelnie, mintha az a számviteli politika változásából keletkezett volna, és meg kell felelnie az IAS 8 28(a)-(f) bekezdésében meghatározott közzétételi előírásoknak. A 28(f) bekezdés csak a mérlegben az összehasonlító időszak beszámolási időpontjában kimutatott összegekre vonatkozik.
Azon egység esetében, amely választja, hogy olyan összehasonlító adatokat mutat be, amelyek nem felelnek meg az IAS 32 és az IAS 39 standardoknak, az "IFRS-re történő áttérés időpontjára" történő hivatkozások, kizárólag az IAS 32 és az IAS 39 vonatkozásában, az első IFRS szerinti beszámolási időszak kezdetét jelentik.
Pénzügyi eszközök vagy pénzügyi kötelezettségek kimutatása
43A. Az egység számára megengedett, hogy a 25A bekezdéssel összhangban egy korábban kimutatott pénzügyi eszközt vagy pénzügyi kötelezettséget a nyereséggel vagy veszteséggel szemben valós értéken értékeltként vagy értékesíthetőként jelöljön meg. Az egységnek közzé kell tennie az egyes kategóriákba sorolt pénzügyi eszközök és pénzügyi kötelezettségek valós értékét, valamint a korábbi pénzügyi kimutatásokban szereplő besorolást és könyv szerinti értéket.
A Függelék
Az alábbi új meghatározások kerültek be:
Első IFRS szerinti beszámolási időszak Az egység első IFRS pénzügyi kimutatásai mérlegfordulónapján végződő beszámolási időszak.
Az IAS 12 módosításai
B2. Az IAS 12 Nyereségadók standard az alábbiak szerint módosul:
A 20. bekezdés első mondatának szövege a következők szerint módosul:
20. Az IFRS-ek lehetővé teszik vagy előírják bizonyos eszközök valós értéken történő nyilvántartását vagy átértékelését (ld. például az IAS 16 Ingatlanok, gépek és berendezések, az IAS 38 Immateriális javak, az IAS 39 Pénzügyi instrumentumok: megjelenítés és értékelés, és az IAS 40 Befektetési célú ingatlanok standardokat).
Az IAS 18 módosításai
B3. Az IAS 18 Bevételek standard az alábbiak szerint módosul:
A 30. bekezdés szövege a következők szerint módosul:
30. A bevételt a következők alapján kell elszámolni:
(a) a kamatot az IAS 39 9. és AG5-AG8. bekezdéseiben meghatározott effektív kamatláb módszer alkalmazásával kell elszámolni;
(b) a jogdíjakat a rájuk vonatkozó megállapodás tartalmának megfelelően, az időbeli elhatárolás elve alapján kell elszámolni; és
(c) az osztalékokat akkor kell elszámolni, amikor a részvényeseknek a kifizetéshez való joga létrejön.
A 31. bekezdés törlésre kerül.
Az IAS 19 módosításai
B4. [A módosítás nem vonatkozik magukra a standardokra]
Az IAS 30 módosításai
B5. Az IAS 30 Közzétételek a bankok és hasonló pénzügyi intézmények pénzügyi kimutatásaiban standard az alábbiak szerint módosul.
A 8. bekezdés szövege a következők szerint módosul:
8. A bankok eltérő módszereket alkalmaznak a pénzügyi kimutatásaikban szereplő tételek megjelenítésére és értékelésére. Bár kívánatos lenne ezeknek a módszereknek az összehangolása, ez kívül esik ennek a standardnak a hatókörén. Annak érdekében, hogy megfeleljenek az IAS 1 A pénzügyi kimutatások prezentálása standard követelményeinek, és ezáltal lehetővé tegyék, hogy a felhasználók megértsék, hogy milyen alapelvek szerint készültek a bank pénzügyi kimutatásai, szükség lehet a következő tételekre vonatkozó számviteli politikák közzétételére:
....
(d) a kölcsönökből és előlegekből keletkező értékvesztés miatti veszteségek meghatározásának, valamint a behajthatatlan kölcsönök és előlegek leírásának alapelve (lásd a 43-49. bekezdéseket);
és
....
A 10. bekezdés szövege a következők szerint módosul:
10. A többi standard követelményein túlmenően, az eredménykimutatásban szereplő közzétételeknek, vagy a pénzügyi kimutatásokhoz fűzött megjegyzéseknek ki kell terjedniük - de nem korlátozódnak - a következő bevételi és ráfordítási tételekre:
Kamat és kamat jellegű bevételek;
Kamatköltség és kamat jellegű kifizetések;
Osztalékbevétel;
Díj- és jutalékbevétel;
Fizetett díjak és jutalékok;
Forgatási célú értékpapírokból származó nyereségek és veszteségek különbözete;
Befektetési célú értékpapírokból származó nyereségek és veszteségek különbözete;
Devizaműveletekből származó nyereségek és veszteségek különbözete;
Egyéb működési bevétel;
Kölcsönök és előlegek értékvesztés miatti veszteségei;
Általános ügyviteli költségek;
és
Egyéb működési költségek.
A 13. bekezdés szövege a következők szerint módosul:
13. A bevételi és ráfordítási tételeket nem lehet nettósítani, kivéve a fedezeti ügyletekhez kapcsolódó, vagy az IAS 32 szerint nettósított eszközökhöz és kötelezettségekhez kapcsolódó tételeket.
A 14. bekezdés szövege a következők szerint módosul:
14. A fedezeti ügyletekhez és az IAS 32-ben leírtak szerint nettósított eszközökhöz és kötelezettségekhez kapcsolódó esetektől eltérő nettósítás megakadályozza, hogy a felhasználók meg tudják ítélni a bank elkülönült tevékenységeinek teljesítményét és az egyes eszközcsoportokon elért megtérülést.
A 23. bekezdés törlésre kerül.
A 24. és 25. bekezdések szövege a következők szerint módosul:
24. A banknak közzé kell tennie a pénzügyi eszközei és kötelezettségei minden csoportjának a valós értékét az IAS 32 Pénzügyi instrumentumok: közzététel és bemutatás standard követelményeinek megfelelően.
25. Az IAS 39 a pénzügyi eszközöket négy csoportba sorolja: kölcsönök és követelések, lejáratig tartandó befektetések, nyereséggel vagy veszteséggel szemben valós értéken értékelt pénzügyi eszközök, és értékesíthető pénzügyi eszközök. A bank közzéteszi legalább ennek a négy pénzügyi eszközcsoportnak a valós értékét.
A 26. bekezdésben, a (b)(iv) és (v) albekezdések törlésre kerülnek.
A 28. bekezdés utolsó mondata törlésre kerül.
A 43. és 44. bekezdések szövege a következők szerint módosul:
43. A banknak a következőket kell közzétennie:
(a) a számviteli politika azon részét, amely leírja, hogy a behajthatatlan kölcsönöket és előlegeket milyen alapon számolja el ráfordításként és írja le;
(b) a kölcsönökkel és előlegekkel kapcsolatos értékvesztés miatti veszteségek nyilvántartására szolgáló bármely értékvesztési számla mozgásának részletei az időszak folyamán. Elkülönülten kell közzétennie a behajthatatlan kölcsönök és előlegek értékvesztés miatti veszteségére az időszak folyamán ráfordításként elszámolt összeget, a tárgyidőszakban leírt kölcsönök és előlegek összegét, valamint a kölcsönök és előlegek miatt korábban leírt, de az időszak folyamán megtérült összeget.
(c) a kölcsönökkel és az előlegekkel kapcsolatos értékvesztés miatti veszteségek nyilvántartására szolgáló értékvesztési számlák összesített összegét a mérlegfordulónapon.
44. A kölcsönökre és előlegekre vonatkozóan az IAS 39 alapján elszámolt értékvesztés miatti veszteségen felül tartalékolt összegeket a felhalmozott eredmény elkülönítéseként kell elszámolni. Minden olyan jóváírás, amely az ilyen összegek csökkentéséből származik, a felhalmozott eredményt növeli, és nem kerül figyelembevételre az időszak nyereségének vagy veszteségének meghatározásában.
A 45. bekezdés törlésre kerül.
A 46. bekezdés szövege a következők szerint módosul:
46. A helyi körülmények vagy jogi szabályozás előírhatják vagy lehetővé tehetik, hogy a bank az IAS 39-ben előírtak alapján elszámolt veszteségeken felüli összegeket tartalékoljon a kölcsönök és előlegek értékvesztés miatti veszteségeire. Az ilyen tartalékolt összegek a felhalmozott eredmény elkülönítését jelentik, és nem minősülnek ráfordításnak az eredmény meghatározásánál. Hasonlóképpen, minden olyan jóváírás, amely az ilyen összegek csökkentéséből származik, a felhalmozott eredményt növeli, és nem kerül figyelembevételre a nyereség vagy veszteség meghatározásában.
A 47. bekezdés szövege a következők szerint módosul:
47. Egy bank pénzügyi kimutatásai felhasználóinak ismerniük kell a kölcsönökre és előlegekre vonatkozó értékvesztés miatti veszteségeknek a bank pénzügyi helyzetére és teljesítményére gyakorolt hatását; így jobban meg tudják ítélni, hogy a bank milyen hatékonyan használta fel forrásait. Ezért a bank közzéteszi, hogy mennyi volt a kölcsönökkel és előlegekkel kapcsolatos értékvesztés miatti veszteségek nyilvántartására szolgáló értékvesztési számlák összesített összege a mérleg fordulónapján, és hogyan mozgott az értékvesztési számla a beszámolási időszak folyamán. Az értékvesztési számla változásait - beleértve a korábban leírt, majd a beszámolási időszakban megtérült összegeket is - elkülönülten mutatják be.
A 48. bekezdés törlésre kerül.
A 49. bekezdés szövege a következők szerint módosul:
49. Amennyiben a kölcsönök és előlegek nem hajthatók be, azokat leírják és összegüket az értékvesztés miatti veszteségek nyilvántartására szolgáló értékvesztési számlával szemben számolják el. Egyes esetekben ezen kölcsönök és előlegek addig nem kerülnek leírásra, amíg minden szükséges jogi eljárás be nem fejeződik, és az értékvesztés miatti veszteség végleges összege meghatározásra nem kerül. Más esetekben korábban kerülnek leírásra, például akkor, ha a hitelfelvevő egy adott időszakban esedékes kamatokból semmit sem fizetett, és a tőkéből sem térített vissza semmit. Mivel a behajthatatlan kölcsönök és előlegek leírásának ideje változó, a bruttó kölcsön- és előlegállomány, valamint az értékvesztés miatti veszteségek nyilvántartására szolgáló értékvesztési számla összege hasonló körülmények között is jelentősen eltérhet. Ezért a bank közzéteszi a behajthatatlan kölcsönök és előlegek leírására alkalmazott politikáját.
Az 58. bekezdés (c) albekezdésének szövege a következők szerint módosul:
(c) a beszámolási időszakban a kölcsönökön és előlegeken keletkezett értékvesztés miatti veszteségekre elszámolt ráfordítás összege, valamint az értékvesztési számla összege a mérleg fordulónapján;
és
...
Az IAS 32 módosításai
B6. Az IAS 32 Pénzügyi instrumentumok: Közzététel és bemutatás standard az alábbiak szerint módosul.
A 96. bekezdés szövege a következők szerint módosul (az új szöveg aláhúzva).
96. Az egységnek a jelen standardot a 2005. január 1-jén, vagy azt követően kezdődő éves időszakokra kell alkalmaznia. A korábbi alkalmazás megengedett. Az egység a jelen standardot a 2005. január 1-jét megelőzően kezdődő éves időszakokra csak akkor alkalmazhatja, ha a (2003-ban módosított) IAS 39-et is alkalmazza, beleértve annak 2004. márciusi módosításait is. Amennyiben az egység a jelen standardot egy 2005. január 1. előtt kezdődő időszakra alkalmazza, ezt a tényt közzé kell tennie.
Az IAS 36 módosításai
B7. Az IAS 36 Eszközök értékvesztése standard az alábbiak szerint módosul:
Standard
Az 1. bekezdés szövege a következők szerint módosul:
1. A jelen standardot kell alkalmazni valamennyi eszköz értékvesztésének elszámolásánál, kivéve:
...
(e) az IAS 39 Pénzügyi instrumentumok: Megjelenítés és értékelés standard hatálya alá tartozó pénzügyi eszközöket;
...
Az IAS 37 módosításai
B8. Az IAS 37 Céltartalékok, függő kötelezettségek és függő követelések standard az alábbiak szerint módosul.
Az 1. és 2. bekezdések szövege a következők szerint módosul:
1. A jelen standardot valamennyi egységnek alkalmaznia kell a céltartalékok, függő kötelezettségek és függő követelések elszámolására, kivéve azokat:
(a) amelyek jövőben teljesülő szerződésekből származnak, kivéve, ha a szerződés hátrányos;
(b) amelyek a biztosítási kötvény-tulajdonosokkal kötött szerződések alapján a biztosító társaságoknál merülnek fel; és
(c) amelyek más standardok hatálya alá tartoznak.
2. A jelen standard nem vonatkozik az IAS 39 Pénzügyi instrumentumok: Megjelenítés és értékelés standard hatálya alá tartozó pénzügyi instrumentumokra beleértve a garanciát. Az IAS 39 hatálya alá nem tartozó pénzügyi garanciákra a jelen standard vonatkozik az IAS 39 2(f) bekezdésében leírtak alapján.
A SIC 27 módosításai
B9. [A módosítás nem vonatkozik a magára a standardra]
Lábjegyzetek:
[1] A dokumentum eredetije megtekinthető CELEX: 32004R2086 - https://eur-lex.europa.eu/legal-content/HU/ALL/?uri=CELEX:32004R2086&locale=hu