31977L0313[1]
A Tanács irányelve (1977. április 5.) a folyadékmérőkre (kivéve a vízmérőkre) vonatkozó tagállami jogszabályok közelítéséről
A TANÁCS IRÁNYELVE
(1977. április 5.)
a folyadékmérőkre (kivéve a vízmérőkre) vonatkozó tagállami jogszabályok közelítéséről
(77/313/EGK)
AZ EURÓPAI KÖZÖSSÉGEK TANÁCSA,
tekintettel az Európai Gazdasági Közösséget létrehozó szerződésre és különösen annak 100. cikkére,
tekintettel a Bizottság javaslatára,
tekintettel az Európai Parlament véleményére ( 1 ),
tekintettel a Gazdasági és Szociális Bizottság véleményére ( 2 ),
mivel a tagállamokban kötelező rendelkezések határozzák meg a folyadékmérő műszerek felépítését és ellenőrzési módszereit, amelyek tagállamonként különböznek, és következésképpen akadályozzák e műszerek kereskedelmét; mivel ezért szükséges e rendelkezéseknek a közelítése;
mivel a legutóbb a 72/427/EGK irányelvvel ( 3 ) módosított, a mérőműszerekkel és a metrológiai ellenőrzés módszereivel kapcsolatos közös rendelkezésekre vonatkozó tagállami jogszabályok közelítéséről szóló, 1971. július 26-i 71/316/EGK tanácsi irányelv ( 4 ) megállapította az EGK-típusjóváhagyási és az EGK-elsőhitelesítési eljárásokat a mérőműszerek tekintetében; mivel az említett irányelvvel összhangban meg kell határozni a folyadékok (kivéve a víz) mérőrendszereinek tervezésére és működésére vonatkozó műszaki követelményeket;
mivel a folyadékmérőkre (kivéve a vízmérőkre) vonatkozó tagállami jogszabályok közelítéséről szóló, 1971. július 26-i 71/319/EGK tanácsi irányelv ( 5 ) és a folyadékmérők (kivéve a vízmérők) segédkészülékeire vonatkozó tagállami jogszabályok közelítéséről szóló, 1971. október 12-i 71/348/EGK tanácsi irányelv ( 6 ) megállapította azokat a műszaki tervezési és működési követelményeket, amelyeket e mérőóráknak ki kell elégíteni; mivel a 71/319/EGK irányelv megállapítja azt, hogy egy vagy több folyadékmérő órát (kivéve a vízmérőket) tartalmazó mérőrendszerek külön irányelv tárgyát képezik,
ELFOGADTA EZT AZ IRÁNYELVET:
1. cikk
Ez az irányelv olyan folyadékok (a víz kivételével) térfogatmérő műszereire vonatkozik, amelyeknél a folyadékáramlás a mérőkamrák mozgó falainak elmozdulását idézi elő.
2. cikk
Az EGK-jelekkel és -jelzésekkel ellátható mérőrendszerek leírása ezen irányelv mellékletében található. Ezek EGK-típusjóváhagyási eljárás tárgyát képezik, ha a melléklet rendelkezései ezt előírják, és EGK-elsőhitelesítés tárgyát képezik az ezen irányelv mellékletében megadott feltételek mellett.
A mellékletben megadott feltételek mellett az EGK-típusjóváhagyás megadható mérőrendszerek alkatrészeinek és részegységeinek is.
3. cikk
A tagállamok mérésügyi tulajdonságok alapján nem tagadhatják meg, nem tilthatják és nem korlátozhatják a folyadékok (kivéve a vizet) olyan mérőrendszereinek a forgalomba hozatalát és használatát, amelyek az ezen irányelvben és a 71/316/EGK irányelvben meghatározott jelekkel és jelzésekkel vannak ellátva.
A tagállamok mérésügyi tulajdonságok alapján nem tagadhatják meg, nem tilthatják és nem korlátozhatják a mérőrendszerek olyan alkatrészeinek és részegységeinek a forgalomba hozatalát, amelyek EGK-típusjóváhagyási jellel vannak ellátva.
4. cikk
1. A tagállamok hatályba léptetik azokat a törvényi, rendeleti és közigazgatási rendelkezéseket, amelyek szükségesek ahhoz, hogy ennek az irányelvnek az értesítést követő 18 hónapon belül megfeleljenek. Erről haladéktalanul tájékoztatják a Bizottságot.
2. A tagállamok közlik a Bizottsággal nemzeti joguknak azokat a főbb rendelkezéseit, amelyeket az ezen irányelv által szabályozott területen fogadnak el.
5. cikk
Ennek az irányelvnek a tagállamok a címzettjei.
MELLÉKLET
1. MÉRŐRENDSZEREKRE VONATKOZÓ ÁLTALÁNOS KÖVETELMÉNYEK
1.1. Fogalommeghatározások
1.1.1. Mérőrendszer
A folyadékok (kivéve a vizet) mérőrendszerei a 71/319/EGK irányelvnek megfelelő mérőórán és az esetlegesen ahhoz kapcsolódó, a 71/348/EGK irányelvnek megfelelő segédkészüléken kívül magukban foglalják az összes felszerelést, amelyek a megbízható mérést biztosítják, vagy amelyeket a működés elősegítésére szántak, és minden egyéb felszerelést, amely bármely módon befolyásolhatja a mérést.
Ha több, külön mérési műveletet végző mérőóra működik egy közös részegységben, akkor minden mérőórát úgy kell tekinteni, mint amely a közös részegységgel együtt egy mérőrendszert alkot.
Ha több mérőórát egyetlen mérési műveletre szántak, akkor a mérőórákat úgy kell tekinteni, hogy azok egyetlen mérőrendszert alkotnak.
1.1.2. Legkisebb kiadható mennyiség
A mérőrendszerekre vonatkozó legkisebb kiadható mennyiséget a 71/319/EGK és a 71/348/EGK irányelv követelményeinek megfelelően határozzák meg, tekintetbe véve ezen irányelv előírásait.
Folyadék fogadásának mérésére tervezett mérőrendszerekben a legkisebb folyadéktérfogatot, amelynek mérése engedélyezhető, legkisebb befogadásnak hívják. A legkisebb kiadható mennyiségre fent meghatározott követelmények hasonló módon alkalmazandóak a legkisebb befogadásra is.
1.1.3. Gázleválasztó
A gázleválasztó a folyadékban lévő levegőnek vagy gáznak megfelelő szerkezettel történő folyamatos leválasztására és eltávolítására szolgáló berendezés.
A gázeltávolító eszköz alapvetően automatikus működésű. E követelménytől el lehet tekinteni, amennyiben rendelkezésre áll egy, a folyadék áramlását automatikusan leállító mechanizmus, abban az esetben, ha fennáll annak a kockázata, hogy levegő vagy gáz kerül a mérőbe. Ebben az esetben a mérés folytatása csak akkor lehetséges, ha a levegőt vagy a gázt, akár automatikusan, akár kézi megoldással eltávolították.
1.1.4. Gázelszívó
A gázelszívó olyan készülék, amelyet arra terveztek, hogy elszívja a csövekben a mérő előtt felhalmozódott, a folyadékkal csak kevéssé keveredett levegőt vagy gázokat.
A gázleválasztóhoz tartozó gázeltávolító eszközre vonatkozó fenti követelmények a gázelszívóra is vonatkoznak.
1.1.5. Különleges gázelszívó
A különleges gázelszívó olyan készülék, amely a gázleválasztóhoz hasonlóan, de kevésbé szigorú működési feltételek mellett folyamatosan kiválasztja a folyadékban lévő levegőt vagy gázokat, és automatikusan leállítja a folyadék áramlását, ha fennáll annak a kockázata, hogy a folyadékkal gyengén keveredett levegő- vagy gázfelhalmozódások bejutnak a mérőbe.
1.1.6. Kondenzedény
A kondenzedény egy zárt tartály, amelyet arra terveztek, hogy a nyomás alatt lévő, cseppfolyósított gáz mérésére szolgáló mérőrendszerekben összegyűjtse a mérendő folyadékban lévő gázokat, és sűrítse azokat a mérés előtt.
1.1.7. Gázjelző
A gázjelző egy olyan eszköz, amely a folyadékáramban esetlegesen jelen lévő levegő- vagy gázbuborékok egyszerű észlelését teszi lehetővé.
1.1.8. Figyelőüveg
A figyelőüveg olyan eszköz, amelyen át ellenőrizni lehet, hogy a mérőrendszer vagy annak egy része teljesen megtelt-e folyadékkal.
1.2. Hatály
Az 1. szakasz általános követelményei minden típusú mérőrendszer esetében alkalmazandók, kivéve, ha a 2. szakasz másképpen rendelkezik.
1.3. Mérőórák, a térfogatáram határai
Mérőrendszerbe épített mérőórákra az összes segédkészülékkel együtt EGK-típusjóváhagyást kell szerezni az adott folyadék normál üzemi körülmények közötti működésére vonatkozóan.
Ezekre a mérőórákra külön EGK-típusjóváhagyást kell adni, vagy be kell vonni azokat annak a mérőrendszernek az EGK-típusjóváhagyásba, amelybe be vannak építve. Egy mérőrendszer térfogatáramra vonatkozó határértékei (legnagyobb és legkisebb térfogatáram) különbözhetnek a beépített mérőórák határértékeitől. Ezekben az esetekben ellenőrizni kell, hogy a mérőrendszer legnagyobb és legkisebb térfogatárama összeegyeztethető-e a mérőóra összetartozó adataival. Egy mérőórának minden esetben teljesítenie kell a 71/319/EGK irányelv követelményeit, akkor is, ha rendelkezik jóváhagyással a mérőrendszerekben történő beépítéssel kapcsolatosan. Ha egy mérőrendszerbe egymással párhuzamosan több mérőórát építenek be, akkor az egyes mérőórák legnagyobb és legkisebb térfogatáramának összegét - az ebben a mellékletben meghatározott különleges esetek kivételével - figyelembe kell venni a mérőrendszer térfogatáramra vonatkozó határértékeinek megállapítása során. A mérőrendszer legnagyobb térfogatáramának legalább kétszer akkorának kell lennie, mint a mérőórájának vagy mérőóráinak a teljes legkisebb térfogatárama.
1.4. Átadás-átvételi pont
1.4.1. A mérőrendszereknek tartalmazniuk kell egy pontot a szállított vagy fogadott folyadék mennyiségének meghatározására, amelynek neve átadás-átvételi pont. Ez az átadás-átvételi pont a szállítási rendszerekben a mérőóra után helyezkedik el, fogadórendszerekben pedig a mérőóra előtt.
1.4.2. A mérőrendszereket két típusba lehet sorolni: "üres tömlős" rendszerek és "teli tömlős" rendszerek, ahol a tömlő elnevezés tartalmazza a merev csővezetékeket is.
1.4.2.1. Az üres tömlős rendszerek szállítóberendezés esetében olyan mérőrendszerek, amelyekben az átadás-átvételi pont a szállítási tömlő előtt helyezkedik el. Az átadás-átvételi pont formája vagy figyelőüveg, vagy zárószerkezet, mindkét esetben olyan rendszerrel kombinálva, amely biztosítja a szállítótömlő kiürítését minden mérési művelet után.
1.4.2.2. A teli tömlős rendszerek szállítóberendezés esetében olyan mérőrendszerek, amelyek átadás-átvételi pontja egy, a szállítási csővezetékben elhelyezett zárószerkezetből áll. Ha a csővezeték szabad véggel rendelkezik, akkor a zárószerkezetet ehhez a véghez a lehető legközelebb kell elhelyezni.
1.4.2.3. Fogadóberendezés esetében ugyanezek a követelmények értelemszerűen vonatkoznak a fogadócsövekre a mérőeszköz előtt.
1.5. Szűrők
A mérőrendszereknek a mérőóra előtt tartalmazniuk kell egy eszközt, amelynek feladata a folyadékban lévő szilárd szennyeződések összegyűjtése (szűrő). A szűrőket, amennyire lehetséges, úgy kell elhelyezni, hogy könnyen hozzáférhetőek legyenek.
1.6. A levegő vagy a gázok eltávolítása
1.6.1. Általános követelmény
A mérőrendszereket olyan módon kell szerelni, hogy szokásos üzemi működés közben ne tegyék lehetővé a levegő bejutását vagy a gázok kibocsátását a folyadékba a mérőóra előtt. Ha kétség merül fel ennek a követelménynek a teljesülésével kapcsolatosan, akkor a mérőrendszernek tartalmaznia kell egy gázleválasztót, ami lehetővé teszi a folyadékban esetlegesen jelen lévő levegő vagy nem feloldott gázok megfelelő elvezetését a mérőórán való áthaladás előtt.
A gázeltávolító berendezésnek megfelelőnek kell lennie az adagolási feltételekhez, és olyan módon kell azt kialakítani, hogy a levegő és a gázok hatására a mérési eredményben jelentkező további hiba ne haladja meg a következőket:
- nem folyékony élelmiszerek esetében, amelyek viszkozitása 1mPa·s-nál nem nagyobb, a mért mennyiség 0,5 %-át,
- folyékony élelmiszerek és 1mPa·s-nál nagyobb viszkozitású folyadékok esetében a mért mennyiség 1 %-át.
Mindazonáltal nem szükséges, hogy a hiba a legkisebb kiadható mennyiség 1 %-a alatt maradjon.
1.6.2. Szivattyúzott áramlás
1.6.2.1. Figyelemmel az 1.6.6. pontra, ha a szivattyúnál a bemeneti nyomás - akár csak ideiglenesen - az atmoszferikus nyomás alá vagy a folyadék telített gőznyomása alá süllyed, akkor gázleválasztót kell alkalmazni.
1.6.2.1.1. 100 m3/h-t meg nem haladó legnagyobb térfogatáram melletti üzemelésre szánt gázleválasztókra külön EGK-típusjóváhagyás vonatkozhat, vagy a jóváhagyása benne lehet annak a mérőrendszernek az EGK-típusjóváhagyásában, amelynek részét képezi, ha e melléklet az adott rendszer jóváhagyását kötelezővé teszi. A 100 m3/h-t meghaladó legnagyobb térfogatáram-érték mellett működő gázleválasztók esetében azonban a típusjóváhagyást meg lehet adni egy azonos tervezésű, de kisebb méretekben készített típus jóváhagyása alapján. Azok a gázleválasztók, amelyek önálló EGK-típusjóváhagyással rendelkeznek, gázjelző nélküli mérőrendszerekben is alkalmazhatók.
1.6.2.1.2. A gázleválasztót alapvetően a szivattyú után kell elhelyezni. Ezt az eszközt mindazonáltal egybe lehet építeni a szivattyúval.
A gázleválasztót mindig a lehető legközelebb kell elhelyezni a mérőórához úgy, hogy az áramlás miatti nyomásesés a két részegység között elhanyagolható legyen.
1.6.2.1.3. A gázleválasztó működési határai a következők:
a) legnagyobb térfogatáram vagy térfogatáramok egy vagy több meghatározott folyadékra;
b) a gázleválasztó készülék megfelelő működésével összeegyeztethető legnagyobb és legkisebb nyomáshatárok.
1.6.2.1.4. Ha egy gázleválasztónak 100 m3/h-t meg nem haladó legnagyobb térfogatáramon kell működnie, és arra külön EGK-típusjóváhagyás vonatkozik, akkor annak az 1.6.1. pontban rögzített hibahatárokon belül biztosítania kell a mérendő folyadékba keveredett levegő vagy gázok kiküszöbölését a következő vizsgálati feltételek mellett:
a) a mérőrendszernek a gázleválasztóra előírt legnagyobb térfogatáramon és legkisebb nyomáson kell üzemelnie;
b) a folyadékhoz képest a levegő vagy a gázok bármely aránya megengedhető, ha a gázleválasztót olyan térfogatáramra tervezték, amely 20 m3/h vagy alacsonyabb, 30 %-ra kell korlátozni, ha a gázleválasztót olyan legnagyobb térfogatáramra tervezték, amely magasabb, mint 20 m3/h. (A levegőt és a gázokat légköri nyomáson kell mérni, hogy meghatározható legyen azok százaléka.)
Ezenkívül az automatikus gázleválasztónak megfelelően kell működnie a gázleválasztóra előírt legnagyobb nyomáson.
1.6.2.1.5. Ha a gázleválasztót úgy hagyták jóvá, mint egy jóváhagyott mérőrendszerbe épített részegységet, az 1.6.2.1.4. pont követelményeit lehet rá alkalmazni. Ebben az esetben gázjelző nem szükséges.
Ha a mérőrendszer magában foglalja az 1.1.7. pontban meghatározott gázjelzőt, akkor a gázleválasztónak az 1.6.1. pontban rögzített hibahatárokon belül biztosítania kell a mérendő folyadékba keveredett levegő vagy gázok leválasztását a következő vizsgálati feltételek mellett:
a) a mérőrendszernek a legnagyobb térfogatáramon és a legkisebb nyomáson kell működnie;
b) a levegőnek vagy a gázoknak a folyadékhoz viszonyított aránya ne haladja meg:
- a 20 %-ot a nem folyékony élelmiszerekre és olyan folyadékokra vonatkozóan, amelyek viszkozitása nem haladja meg 1 mPa·s-t,
- a 10 %-ot az folyékony élelmiszerekre és egyéb olyan folyadékokra vonatkozóan, amelyek viszkozitása 1 mPa·s felett van ( 7 ).
Ha a levegőnek vagy a gázoknak a folyadékhoz viszonyított aránya meghaladja a fenti százalékokat és a gázleválasztó a legnagyobb megengedett hibák tekintetében nem tesz eleget a követelményeknek, akkor a gáz- vagy levegőbuborékoknak világosan láthatóaknak kell lenniük a gázjelzőben.
1.6.2.2. Ha a szivattyúbemenetnél a nyomás mindig nagyobb, mint a légköri nyomás és a folyadék telített gőznyomása, és ha nincs gázleválasztó, akkor gázelszívó vagy különleges gázelszívó válik szükségessé akkor, ha fennáll a lehetősége annak, hogy gázok keletkezzenek a szivattyú és a mérőeszköz között, amikor nincs áramlás, vagy ha gázfelhalmozódások juthatnak be a csövekbe (pl. amikor az ellátótartály teljesen üres) úgy, hogy a legkisebb kiadható mennyiség 1 %-át meghaladó speciális hibát okoznak.
1.6.2.2.1. A 100 m3-t meg nem haladó legnagyobb térfogatáramon működő gázelszívóra, valamint a különleges gázelszívóra vagy külön EGK-típusjóváhagyás vonatkozik, vagy a jóváhagyás benne lehet annak a mérőrendszernek az EGK-jóváhagyásában, amelyiknek a részét képezi, amennyiben e melléklet a mérőrendszer típusjóváhagyását írja elő.
A 100 m3-t meghaladó legnagyobb térfogatáramon működő gázelszívók esetén azonban a típusjóváhagyást meg lehet adni azonos tervezésű és kisebb méretű jóváhagyott típus alapján.
A külön EGK-típusjóváhagyással rendelkező gázelszívókat és különleges gázelszívókat lehet használni a gázjelző nélküli mérőrendszerekhez.
1.6.2.2.2. A gázelszívót vagy különleges gázelszívót elvileg a szivattyú után kell szerelni. A szivattyúval azonban egybe is építhető.
Mindkét esetben lehetőleg a csővezeték legmagasabb pontjára kell szerelni, lehetőleg a mérő elé és ahhoz a lehető legközelebb. Ha a mérő szintje alá szerelik, egy - ha szükséges, nyomáshatároló szeleppel ellátott - visszacsapó szerkezetet kell beépíteni, amely megakadályozza, hogy a szelep és a mérő közötti csövek kiürüljenek.
Ha a mérő előtti csővezetékben több magas pont van, több gázelszívóra is szükség lehet.
1.6.2.2.3. A gázelszívó vagy különleges gázelszívó működési határai ugyanazok, mint a gázleválasztóra az 1.6.2.1.3. pontban meghatározottak, ideértve a legkisebb kiadható mennyiséget, amelyre ezeket a szerkezeteket gyártották.
1.6.2.2.4. Egy gázelszívónak vagy különleges gázelszívónak a mérőrendszer legnagyobb térfogatáramán biztosítania kell a gáz- vagy levegőfelhalmozódás kiküszöbölését, amelynek mértéke, légköri nyomáson mérve, legalább egyenlő a legkisebb kiadható mennyiséggel, anélkül, hogy a járulékos hiba nagyobb lenne, mint a legkisebb kiadható mennyiség 1 %-a. A különleges gázelszívónak ezenkívül arra is képesnek kell lennie, hogy folyamatosan leválassza azt a gáz- vagy levegőmennyiséget, amely a szállított folyadék 5 %-ával egyenlő a legnagyobb térfogatáramon anélkül, hogy az ebből eredő járulékos hiba meghaladná az 1.6.1. pontban rögzített határokat.
1.6.2.3. Az 1.6.2.1. és 1.6.2.2. pontok követelményei nem tiltják meg a kézi vagy automatikus elszívóberendezések jelenlétét a nagyméretű, helyhez kötött létesítményekben.
1.6.2.4. Ha a folyadék szállításáról úgy gondoskodnak, hogy a használati feltételektől függetlenül sem gáz, sem levegő nem keletkezhet, és nem hatolhat be a felvevőcsövekbe mérés közben a mérő előtt, akkor nincs szükség gázleválasztó szerkezetre, amennyiben az a gázképződés, amely esetleg előfordulhat az olyan időszak alatt, amikor nincs áramlás, nem okoz a legkisebb kiadható mennyiség 1 %-át meghaladó specifikus hibát.
1.6.3. Nem szivattyúzott áramlás
1.6.3.1. Nem szükséges gázleválasztó olyan esetekben, amikor a mérőrendszert a gravitáció működteti szivattyú használata nélkül, és ha a mérőeszköz előtt a csővezeték valamennyi részében a folyadék nyomása és magában a mérőrendszerben a nyomás nagyobb, mint a telített gőznyomás, vagy a légköri nyomás. A mérőrendszer üzembe helyezése után olyan kialakítás szükséges, amely biztosítja, hogy a rendszer helyesen feltöltött állapotban maradjon.
1.6.3.2. Ha a folyadék nyomása feltehetően kisebb, mint a légköri nyomás, de nagyobb, mint a telített gőznyomás, egy arra alkalmas szerkezettel meg kell gátolni a levegőnek a mérőbe jutását.
1.6.3.3. Ha a mérőrendszert gáznyomás működteti, a gáznak a mérőbe jutását meg kell akadályozni egy megfelelő szerkezettel.
1.6.3.4. A mérő és az átadás-átvételi pont között a folyadék nyomásának minden körülmények között magasabbnak kell lennie, mint a folyadék telített gőznyomása.
1.6.4. A gáz eltávolítása
A gázleválasztó gázeltávolító csöve nem tartalmazhat olyan kézzel állítható szelepet, amelynek a lezárása megakadályozza a gázleválasztó működését. Ha biztonsági okból szükség van ilyen szelepre, akkor biztosítani kell a karbantartás lehetőségét nyitott helyzetben, egy záróberendezés segítségével.
1.6.5. Örvénylésgátló szerkezet
Ha általános követelmény, hogy a mérőrendszer tartálya teljesen kiüríthető legyen, akkor a tartály kimenő nyílását örvénylésgátló szerkezettel kell ellátni, kivéve azt az esetet, amikor a rendszerbe gázleválasztót építettek be.
1.6.6. Viszkózus folyadék
Mivel a gázleválasztó és gázelszívó hatékonysága a folyadék viszkozitásának növekedésével csökken, ezeket a szerkezeteket nem kell felszerelni olyan folyadékok esetén, amelyek dinamikus viszkozitása 20 °C-on meghaladja a 20 mPa·s-ot. A szivattyút úgy kell kialakítani, hogy a bemeneti nyomás mindig nagyobb legyen, mint a légköri nyomás. Ha ez a feltétel bármilyen okból valószínűleg nem teljesül, akkor egy eszközt kell elhelyezni, amely automatikusan megállítja a folyadék áramlását, amint a bemeneti nyomás a külső légköri nyomás alá süllyed. Nyomásmérőt kell használni ennek a nyomásnak a figyelésére. Ezekre a feltételekre nincs szükség, ha a mérőrendszerbe beépítettek olyan szerkezeteket, amelyek biztosítják, hogy nem juthat be levegő a csökkentett nyomásnak kitett csőszakaszok csatlakozási pontjain.
Amikor a mérőrendszert nem használják, a csöveket az átadás-átvételi pontig folyadékkal feltöltve kell tartani.
1.7. Gázjelző
1.7.1. A mérőrendszereket el lehet látni gázjelzővel. A gázjelzőt kötelezővé lehet tenni a 2. szakaszban előírt esetekben.
1.7.2. A gázjelzőt úgy kell tervezni, hogy kielégítően mutassa a gáz vagy a levegő jelenlétét a folyadékban.
1.7.3. A gázjelzőt a mérőóra után kell elhelyezni.
1.7.4. Üres tömlős mérőrendszerben a gázjelző figyelőüveg is lehet és átadás-átvételi pontként is használható.
1.7.5. A gázjelzőt el kell látni leeresztőcsavarral vagy más lefúvatószerkezettel, ha az a csővezeték magas pontján van. A csöveket nem szabad a lefúvatószerkezethez kötni. Áramlásjelzőket (pl. pörgettyű) is be lehet építeni a gázjelzőbe, amennyiben az nem akadályozza, hogy láthatóvá váljanak a gázképződmények a folyadékban.
1.8. A mérőrendszer teljes feltöltése
1.8.1. A szokásos üzemi működés közben a mérőeszközt és a csöveket a mérőtől az átadás-átvételi pontig automatikusan folyadékkal feltöltve kell tartani, továbbá akkor is, amikor a rendszer használaton kívül van.
Ha ennek a feltételnek nem tesznek eleget, különösen olyan esetben, amikor helyhez kötött a telepítés, akkor lehetővé kell tenni a mérőrendszer teljes feltöltésének kézi elvégzését, egészen az átadás-átvételi pontig, és annak figyelemmel kísérését a mérés alatt, valamint akkor, amikor a rendszer használaton kívül áll. A levegőnek és a gázoknak a mérőrendszerből történő teljes leválasztása érdekében a megfelelő helyeken, ha lehetséges, kis nézőablakokkal ellátott lefúvatószerkezeteket kell elhelyezni.
1.8.2. A mérő és az átadás-átvételi pont közötti csövek a hőmérséklet-változás hatására általában nem eredményezhetnek nagyobb hibát, mint a legkisebb kiadható mennyiség 1 %-a.
A 2. szakasz írja elő, hogy milyen műszaki feltételeket kell teljesíteni bizonyos különleges esetekben, hogy ennek a követelménynek eleget lehessen tenni.
1.8.3. Szükség esetén a mérő után elhelyezett nyomást fenntartó szerkezetet kell beszerelni, amely biztosítja, hogy a gázleválasztóban és a mérőeszközben a nyomás mindig nagyobb legyen, mint a légköri nyomás és a folyadék telített gáznyomása.
1.8.4. Visszacsapó szeleppel kell ellátni azokat a mérőrendszereket, amelyekben fennáll annak a lehetősége, hogy a szivattyú leállításakor a folyadék az üzemi áramlási irány ellenében folyik. A visszacsapó szelepben szükség esetén nyomáskorlátozó szerkezet van.
1.8.5. Üres tömlős mérőrendszerekben a mérő utáni, és ha szükséges, a mérő előtti csöveknek legyen egy magas pontjuk úgy, hogy a mérőrendszer valamennyi része állandóan feltöltve maradjon. Az 1.4.2.1. pontban említett szállítási tömlő ürítését légtelenítéssel kell biztosítani. Bizonyos esetekben ezt egyedi szerkezettel - segédszivattyú vagy sűrítettgáz-befecskendező - lehet helyettesíteni. A 10 m3-nél kevesebb legkisebb kiadható mennyiségre tervezett mérőrendszerekben e szerkezeteknek automatikusan kell működniük.
1.8.6. Teli tömlős mérőrendszerekben a tömlő szabad végébe beépített szerkezetnek kell biztosítania, hogy a tömlőt ne lehessen kiüríteni olyan időszakban, amikor a rendszert nem használják. Ennek a követelménynek cseppfolyósított gázra nem kell vonatkoznia.
Amikor e beépített szerkezet után zárószerkezetet helyeznek el, a köztük lévő csőszakasz térfogatának a lehető legkisebbnek kell lennie, és semmi esetre sem lehet több, mint a legnagyobb megengedett hiba a mérőrendszer legkisebb kiadható mennyiségére.
Olyan rendszerek esetében, amelyekkel viszkózus folyadékokat szándékoznak mérni, a szórófej végét úgy kell megtervezni, hogy ne maradjon benne több folyadék, mint a mérőrendszer legkisebb kiadható mennyisége legnagyobb megengedett hibájának 0,4-szerese.
1.8.7. Ha a tömlő több részegységből áll, ezeket vagy egy speciális csatlakozóval kell egyesíteni, hogy a tömlőt telt állapotban lehessen tartani, vagy olyan összekötő rendszert kell alkalmazni, amely vagy zárt, vagy biztosítja, hogy a részegységeket speciális szerszám nélkül gyakorlatilag lehetetlen legyen szétválasztani.
1.9. A feltöltött tömlő belső térfogatának megváltozása
Tömlőcsévével ellátott mérőrendszerben, feltöltött tömlők esetén, a belső térfogatnak a feltekercselt és nyomásmentes állapotból a fel nem tekercselt és nyomás alatti, de folyadékáramlás nélküli állapot közötti változásból eredő megnövekedése nem lehet több, mint a legkisebb kiadható mennyiségre vonatkozó legnagyobb megengedett hiba kétszerese.
Ha a mérőrendszernek nincs tömlődobja, akkor a belső térfogat növekedése nem haladhatja meg a legkisebb kiadható mennyiségre vonatkozó legnagyobb megengedett hibát.
1.10. Elágazások
1.10.1. Folyadékot szállító mérőrendszerekben a mérőeszköz után csak akkor engedhetők leágazások, ha azokat úgy alakították ki, hogy biztosítsák: egyszerre csak egy nyílásból folyik ki a folyadék. Olyan mérőrendszerekben, amelyek folyadékot vesznek fel, a mérő előtt csak akkor engedhetők meg leágazások, ha a kialakításuk biztosítja, hogy a folyadék felvétele egyszerre csak egy csövön keresztül történik.
Ezektől a követelményektől csak akkor megengedett az eltérés, ha a szállítórendszereket specifikusan úgy szerelték, hogy egyszerre csak egy felhasználót lássanak el, és ha a felvevő rendszerek egyszerre csak egy szállítótól tudnak felvenni.
1.10.2. Azokban a mérőrendszerekben, amelyek vagy üres vagy teli tömlővel működnek, és amelyekben hajlékony csövek vannak, visszacsapó szelepet kell beépíteni a merev csővezetékbe, amely a teli tömlőhöz vezet, közvetlenül a szelektor szelep alatt. Ezenkívül a szelektor szelep egyetlen állásban sem teheti lehetővé az üres tömlőként működő adagoló tömlővel való összeköttetést, továbbá a teli tömlőhöz vezető csövekkel való összeköttetést.
1.11. Megkerülő ágak
A mérőt megkerülő ágakat vakkarimákkal kell lezárni. Ha a működési körülmények a mérő megkerülését szükségessé teszik, akkor azt le kell zárni, vagy egy közbülső figyelőszeleppel ellátott zárókoronggal vagy egy kettős lezárószerkezettel. Lehetővé kell tenni plombák alkalmazását.
1.12. Szelepek és ellenőrző rendszerek
1.12.1. Ha fennáll a kockázata, hogy a szállítási feltételek a mérő túlterheléséhez vezethetnek, biztosítani kell egy áramláskorlátozó szerkezetet. Ezt a mérő után kell elhelyezni, ha nyomásveszteséget okoz. Lehetővé kell tenni plombák alkalmazását.
1.12.2. A többutú szelepek működő részegységei különböző helyzeteinek láthatóaknak és azonosíthatóaknak kell lenniük, és azokat bevágásokkal, ütközőkkel vagy más rögzítő szerkezetekkel ellátni. Ettől a követelménytől akkor lehet eltérni, ha a kezelőkar szomszédos helyzetei 90 o-os, vagy annál nagyobb szöget zárnak be.
1.12.3. A visszatartó szelepeket és a nem a mért mennyiség meghatározására használt lezárásokat szükség esetén el kell látni leeresztőszelepekkel, amelyek levezetik a mérőrendszeren belül keletkező, rendellenesen nagy nyomásokat.
1.13. Mérőrendszerek elrendezése
A mérőrendszereket olyan módon kell szerelni, hogy a jelzőberendezés a szokásos használati körülmények között világosan látható legyen. Lehetőséget kell biztosítani a jelzőberendezésnek, és ha van, a gázleválasztó gázjelzőjének ugyanabból a helyzetből történő megfigyelésére. A leplombált szerkezeteknek könnyen hozzáférhetőeknek kell lenni, az adattáblákat eltávolíthatatlanul rögzíteni kell, továbbá a jogszabály szerinti jelöléseknek tisztán olvashatóaknak és letörölhetetleneknek kell lenniük.
1.14. Helyszíni hitelesítési eszközök
A 3.2. pontban meghatározott telepítési hitelesítés lehetőségét biztosítani kell. Szükség esetén csővezetéket kell biztosítani a megmért folyadék visszavezetésére egy tárolótartályba. Szükség szerint a telepített rendszert fel kell szerelni hőmérséklet- és nyomáskiegyenlítőkkel, különösen akkor, ha a mérőrendszer működése vagy ellenőrzése megköveteli ezeknek a tényezőknek az ismeretét.
1.15. A mérőrendszer jellemzői
A mérőrendszer jellemzői a következők:
- legnagyobb és legkisebb térfogatáram,
- legnagyobb üzemi nyomás,
- ha szükséges, a legkisebb üzemi nyomás,
- a megmérendő folyadék vagy folyadékok és a kinematikus vagy dinamikus viszkozitási határértékek, amikor a folyadékok természetének jelzése nem elegendő a viszkozitásuk megállapítására,
- a legkisebb kiadható mennyiség,
- a hőmérsékleti tartomány olyan esetben, amikor a folyadékot -10 C alatti vagy +50 C feletti hőmérsékleten lehet mérni.
1.16. Jelölések
A mérőrendszeren vagy a részegységen, amelyre kiadták a típusjóváhagyást, világosan és olvasható módon, a kijelző szerkezet számlapján vagy egy külön adattáblán fel kell tüntetni a következő információkat:
a) az EGK-típusjóváhagyás jele;
b) a gyártó azonosító jele vagy neve;
c) a gyártó megnevezése, ha van ilyen;
d) a sorszám és a gyártás éve;
e) a mérőrendszer jellemzői az 1.15. pontban meghatározottak szerint;
f) a típus-jóváhagyási igazolásban meghatározott minden kiegészítő tájékoztatás.
Ha egy mérőrendszerben több mérőeszköz működik közös részegységek igénybevételével, akkor a rendszer valamennyi részéhez szükséges jelöléseket együtt, egy adattáblán lehet megadni.
A mérőrendszer részét képező mérőeszköz kijelzőszerkezetének számlapján lévő jelölések nem állhatnak ellentétben a mérőrendszer adattábláján megadottakkal.
Ha a mérőrendszer szétszerelés nélkül szállítható, az egyes részekre vonatkozó jelölések egyetlen adattáblán, együttesen is feltüntethetők.
1.17. Lezárások
A lezárások lehetőleg ólomzárak legyenek. Bizonyos csípőfogóval alkalmazott lezárások azonban megengedettek törékeny műszereken, vagy ahol ezek a lezárások kielégítően védve vannak a véletlen letörés veszélyétől.
A lezárásoknak minden esetben hozzáférhetőeknek kell lenniük.
Lezárást kell biztosítani a mérőrendszer valamennyi, a mérés pontosságát befolyásoló művelet elvégzésére alkalmas részén. Nem kell lezárást biztosítani olyan összeköttetéseken, amelyeket csak egyedi szerszám segítségével lehet szétszerelni.
A tervezés során helyet kell biztosítani a részleges EGK-elsőhitelesítési jel elhelyezésére.
A 71/316/EGK irányelv II. mellékletében a 3.3.2.1. pontban meghatározott bélyegzőtábla mérőrendszerhez történő lezárhatóságát biztosítani kell. Ezt össze lehet vonni az 1.16. pontban meghatározott, a mérőrendszeren lévő minősítési táblával.
Folyékony élelmiszerek esetében alkalmazott mérőrendszereknél a lezárást nem szabad úgy rögzíteni, hogy a rendszert tisztítás céljából szét ne lehessen szedni.
2. A KÜLÖNBÖZŐ TÍPUSÚ MÉRŐRENDSZEREKRE VONATKOZÓ KÜLÖNLEGES KÖVETELMÉNYEK
2.1. Folyékony üzemanyag mérőrendszerei ( 8 )
2.1.1. A folyékony üzemanyag mérőrendszerével a folyékony üzemanyagok közúti járművek üzemanyagtartályaiba történő bejuttatását mérik.
A sétahajók és kisrepülőgépek üzemanyag-feltöltő mérőrendszereit folyékonyüzemanyag-mérő rendszereknek kell tekinteni.
Rendelkezhetnek saját ellátórendszerrel, vagy a tervezés szerint részei lehetnek egy központi ellátórendszernek.
E mérőrendszerek legnagyobb és legkisebb térfogatáram-aránya legalább 10:1 kell, hogy legyen.
2.1.2. Ha a mérőrendszernek saját ellátórendszere van, akkor a gázleválasztót, amennyiben lehetséges, közvetlenül a mérő bemenete elé kell szerelni.
Ez a gázleválasztó meg kell, hogy feleljen az 1.6.2.1.4. vagy az 1.6.2.1.5. pontban ( 9 ) meghatározott követelményeknek.
Ez utóbbi esetben nem megengedett az 1.7.5. pontban meghatározott lefúvatószerkezet.
2.1.3. Ha a mérőrendszert arra tervezték, hogy egy központi ellátórendszerhez csatlakozzék, vagy ha az üzemanyag-feltöltés távolról történik, akkor az 1.6. pont általános szabályait kell alkalmazni.
2.1.4. A folyékonyüzemanyag-mérő rendszer térfogatjelzőjét a 71/348/EGK irányelv melléklete 1.1., 1.2., 1.3. és 1.5. pontjának megfelelően nullázószerkezettel, valamint összegzőszámlálóval is el kell látni.
Ahol ezekben a mérőrendszerekben árjelző is van, az árjelzőt is el kell látni nullázószerkezettel.
Az árjelző és térfogatjelző visszaállító szerkezeteit olyan módon kell beépíteni, hogy ezek bármelyikének a nullázása automatikusan nullázza a másikat is.
2.1.5. Ha a mérőrendszernek saját, villanymotorral üzemeltetett ellátórendszere van, akkor fel kell szerelni egy szerkezetet, amely azután, hogy a motort leállították, megakadályozza a folyadék további szállítását mindaddig, amíg a jelző vissza nem állt nullára.
A folyadékkibocsátás alatt semmilyen körülmények között nem lehet lehetséges a nullázás.
2.1.6. Az 1.8.4. pontban meghatározott visszacsapó szerkezet kötelező. A szerkezetet a gázleválasztó és a mérő közé kell szerelni. El lehet helyezni azonban közvetlenül a mérő után is, ha a gázleválasztót a mérő szintje fölé szerelték. Ebben az esetben egyesíteni lehet az 1.8.3. pontban meghatározott, a nyomást fenntartó szerkezettel. Ha a visszacsapót a gázleválasztó és a mérő közé szerelik, az ebből eredő nyomásveszteségnek elég alacsonynak kell lenni ahhoz, hogy elhanyagolhatónak lehessen tekinteni.
2.1.7. A teli tömlős mérőrendszer tömlőinek tartalmazniuk kell egy kézzel zárható szerkezetet, amely eleget tesz az 1.8.6. pont követelményeinek.
A kizárólag kézzel működtetett szivattyúval ellátott teli tömlős mérőrendszerbe csak az 1.8.6. pontban meghatározott zárószerkezetet kell beépíteni.
2.1.8. A 60 liter/perc legnagyobb térfogatáramú, vagy ennél kisebb térfogatáramú mérőrendszerek legkisebb kiadható mennyisége nem haladhatja meg az 5 litert.
2.1.9. Ha a mérőeszközbe nyomtatót szereltek, akkor azt össze kell kötni a térfogatjelzőt nullázó szerkezettel. Ennek az elrendezésnek lehetővé kell tennie, hogy a nyomtatványt a kinyomtatás után, a mutatott kijelzéssel összehasonlítva ellenőrizni lehessen.
2.1. 10 A 3.2. pontnak megfelelően a folyékonyüzemanyag-mérő rendszerek első hitelesítését egy vagy két szakaszban kell elvégezni attól függően, hogy van vagy nincs saját ellátórendszerük.
2.2. Közúti tartálykocsikra szerelt mérőrendszerek alacsony viszkozitású (viszkozitás 20 mPa·s) és légköri nyomáson tárolt folyadék szállítására, kivéve a folyékony élelmiszereket
2.2.1. A 2.2. pont követelményei a közúti tartálykocsikra vagy szállítható tartályokra szerelt mérőrendszerekre vonatkoznak.
A mérőrendszereket fel lehet szerelni egy vagy több rekeszt tartalmazó közúti tartálykocsikra, ebben az esetben minden rekeszt el kell látni saját (kézi vagy automatikus) zárószeleppel.
2.2.2. Minden mérőrendszert vagy a más jogszabályokban előírt termékre kell használni, vagy a termékek azon kategóriájára, amelyre megadták a mérő EGK-típusjóváhagyását.
A csöveket úgy kell tervezni, hogy könnyen megakadályozható legyen a mérőrendszerben a termékek keveredése.
2.2.3. Ha a tartályt pótkocsira vagy félpótkocsira szerelik, akkor a mérőrendszert el lehet helyezni magán a vontatón vagy a vontatott pótkocsin.
2.2.4. A közúti tartálykocsira szerelt mérőrendszer lehet üres vagy teli tömlős típusú. Lehet egy üres és egy teli tömlője, vagy két eltérő méretű teli tömlője, amelyek elrendezése olyan, hogy azok váltakozva működnek.
Az átváltás nem lehet lehetséges egy mérési ciklus alatt.
2.2.5. Ha a mérőeszközt felszerelték nyomtatóval, a nyomtatvány kinyomtatását össze lehet kapcsolni a térfogatjelző nullázásával.
2.2.6. A közúti tartálykocsira szerelt mérőrendszert lehet úgy tervezni, hogy csak szivattyúval, csak a gravitáció által, szivattyúval vagy gravitáció által, vagy gáznyomás mellett működjön.
2.2.6.1. A kizárólag szivattyúval ellátott mérőrendszer üzemeltethető teli vagy üres tömlős rendszerként.
2.2.6.1.1. Ha fennáll a kockázata annak, hogy az 1.6.2.4. pont követelményei nem teljesülnek, a mérőeszköz elé gázkiküszöbölőt kell tenni, mint például:
a) megfelelő gázleválasztó, amely kielégíti a 21.6.2.1.4. vagy az 1.6.2.1.5. pont ( 10 ) követelményeit;
b) gázelszívó;
c) különleges gázelszívó.
Ha mérőrendszerben a mérő kimeneti nyomása a légköri nyomás alá eshet, de magasabb marad, mint a mért folyadék telített gőznyomása, akkor a fent említett szerkezeteket egyesíteni kell egy automatikus szerkezettel, amely lelassítja és leállítja az áramlást, hogy megakadályozza a levegő bejutását a mérőbe.
Ha nem áll fenn a kockázata annak, hogy a mérőeszköz kimeneti nyomása a légköri nyomás alá eshet (különösen így van ez a csak teli tömlős rendszereknél), nincs szükség az áramlást lelassító és leállító automatikus szerkezetre.
2.2.6.1.2. Az automatikus leállítószerkezettel ellátott speciális gázelszívót az 1.1.8. pontnak megfelelően figyelőüveggel kell ellátni.
2.2.6.1.3. A közúti tartálykocsik rekeszeit el kell látni örvénylésgátlóval, kivéve ha a mérőrendszernek van az 1.6.2.1.4. pont követelményeit kielégítő gázleválasztója.
2.2.6.2. A kizárólag a gravitáció által működő mérőrendszereknek meg kell felelniük a következő követelményeknek:
2.2.6.2.1. A mérőrendszert úgy kell megtervezni, hogy a rekesz vagy a rekeszek teljes tartalmát olyan térfogatáramon lehessen mérni, amely nagyobb vagy egyenlő a mérőrendszer legkisebb térfogatáramával.
2.2.6.2.2. Ha fennáll a kapcsolat a mérő és a tartályban lévő gázfázis között, akkor megfelelő szerkezettel meg kell akadályozni, hogy gáz jusson a mérőbe.
2.2.6.2.3. A tartály rekeszeit örvénylésgátlóval kell ellátni, kivéve, ha a mérőrendszer rendelkezik az 1.6.2.1.4. pontban meghatározott gázleválasztóval.
2.2.6.2.4. Az 1.6.3.1., az 1.6.3.2. és az 1.6.3.4. pont követelményeit alkalmazni kell. Gyorsítószivattyú alkalmazható az átadás-átvételi pont alatt, ha a fenti követelményeknek eleget tettek. A szivattyú nem okozhat nyomásesést a mérőben.
2.2.6.2.5. Nincs szükség gázjelzőre azokban a mérőrendszerekben, amelyekben közvetlenül az átadás-átvételi pont után speciális gázelszívó van egy automatikus leállítószerkezettel, és amelyeknek állandó légtelenítési összeköttetésük van a légkörrel.
Kötelező azonban a gázjelző az olyan mérőrendszerekben, amelyekben kézi légtelenítés van közvetlenül az átadás-átvételi pont után, kivéve azokat a rendszereket, amelyekben a nyomás nem eshet a légköri nyomás alá.
2.2.6.3. A szivattyúval vagy gravitációval működő mérőrendszereknek eleget kell tenniük a 2.2.6.1. és a 2.2.6.2. pont követelményeinek.
2.2.6.4. A gáznyomással táplált mérőrendszerek működhetnek üres vagy teli tömlős rendszerekként. A gáznak a mérőbe történő belépését megakadályozó, az 1.6.3.3. pontban előírt készüléket a mérővel összekötő szerkezetben nem lehet olyan szűkület vagy részegység, amely valószínűleg nyomásveszteséget okozhat, és a folyadékban oldott gázok kiszabadításával gázképződményeket hozhat létre.
Az ilyen rendszerekben a tartályon belüli nyomást jelző nyomásmérőnek kell lennie. A nyomásmérő számlapján fel kell tüntetni a megengedett nyomástartományt.
2.3. A tengeri, a vasúti és a közúti tartálykocsikból történő lefejtésnél alkalmazott fogadó mérőrendszerek
2.3.1. Tengeri, vasúti és közúti tartálykocsikból lefejtett folyadékok térfogatának mérésére szánt mérőrendszereknél be kell építeni egy közbenső tartályt, amelyben a folyadék szintje határozza meg az átadás-átvételi pontot.
Ezt a közbenső tartályt meg lehet tervezni úgy, hogy elvégezze a gáz kiküszöbölését.
2.3.1.1. Vasúti és közúti tartálykocsik esetében a közbenső tartálynak automatikusan fenn kell tartania egy állandó szintet, amely látható, vagy egyébként más módon észlelhető egy mérési ciklus indításakor és befejezésekor. Az állandó szint megengedett eltérései egy olyan térfogatnak kell, hogy megfeleljenek, amely nem több, mint a legkisebb kiadható mennyiségre legnagyobb megengedett hiba.
2.3.1.2. Tengeri tartályhajók esetében az állandó szint automatikus fenntartását nem szükséges biztosítani; ha nincs ilyen előírás, akkor a tartalom változásának mérhetőnek kell lennie.
Ha a tengeri tartályt a tartály aljában elhelyezett szivattyúval ürítik ki, akkor a közbenső tartályt csak a feltöltés kezdetén és végén kell használni.
2.3.1.3. A 2.3.1.1. és a 2.3.1.2. pontok szerinti esetekben a közbenső tartály átmérője olyan kell, hogy legyen, hogy a legkisebb kiadható mennyiség mellett a legnagyobb megengedett hibával egyenlő mennyiség legalább 2 mm szintkülönbségnek feleljen meg.
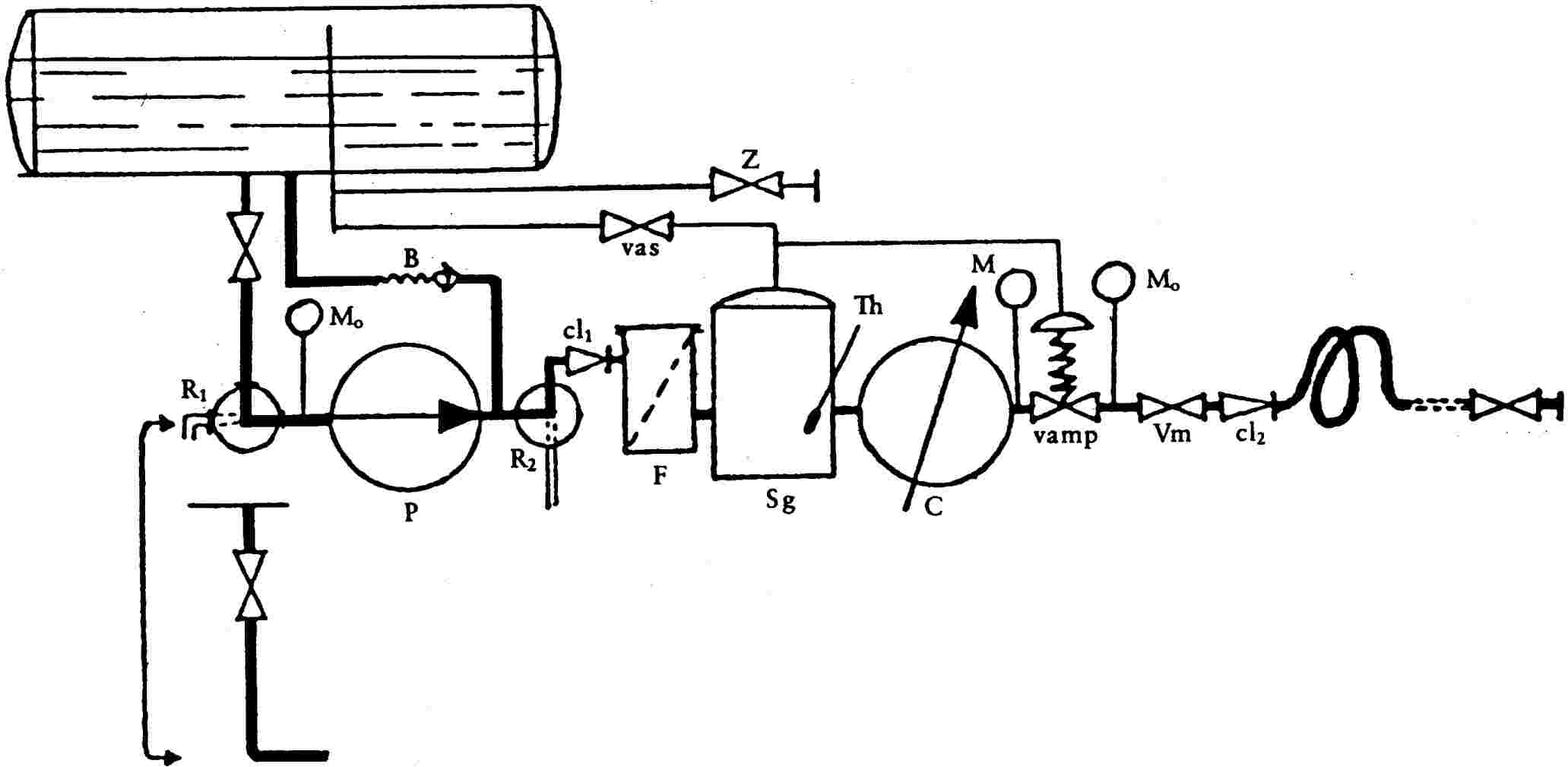
2.4. Helyhez kötött vagy közúti tartálykocsira szerelt mérőrendszerek cseppfolyósított gáz (kivéve hűtőfolyadék) mérésére
2.4.1. E mérőrendszerek esetében állandó, merev csöves összeköttetésnek kell lennie a mérőrendszer és a betáplálótartály között. Visszacsapó szelepet kell szerelni a betáplálótartály és a mérő közé.
2.4.2. A mérő után elhelyezett, a nyomást fenntartó szerkezetnek kell biztosítania a termék folyékony halmazállapotát a mérőn belül a mérési folyamat alatt. A kívánt nyomást állandó értéken vagy a mérési feltételekhez hozzáigazított értéken lehet fenntartani.
2.4.2.1. Ha a nyomást állandó értéken tartják, akkor ez az érték legalább a termék gőznyomásával egyenlő kell, hogy legyen olyan hőmérsékleten, amely 15 oC-kal magasabb, mint a lehető legnagyobb üzemi hőmérséklet. Lehetőséget kell biztosítani a nyomásfenntartó eszköz leplombálására.
2.4.2.2. Ha a nyomást hozzáigazítják a mérési feltételekhez, akkor az a mérés alatt legalább 100 kPa-lal (1 bar) haladja meg a folyadék gőznyomását. Ennek a működésnek automatikusnak kell lennie.
2.4.2.3. Ipari használatú, helyhez kötött mérőrendszerek esetében az illetékes mérésügyi szolgálat engedélyezheti kézi szabályozású nyomásfenntartó használatát, ebben az esetben a mérőeszköz kimenetén a nyomás ne legyen kevesebb, mint a termék gőznyomása olyan hőmérsékleten, amely 15 oC-kal magasabb, mint a folyadék hőmérséklete mérés közben. A mérőrendszeren egy diagramot kell elhelyezni, amely a termék gőznyomását a hőmérséklet függvényében mérve ábrázolja. Ha várható, hogy ezeknek a mérőrendszereknek hosszabb időn át felügyelet nélkül kell üzemelniük, a hőmérsékletet és a nyomást regisztráló készülékkel folyamatosan fel kell jegyezni.
2.4.3. Gázkiküszöbölő szerkezetet kell biztosítani a mérőeszköz előtt, ami gázleválasztóból vagy kondenzedényből áll.
2.4.3.1. A gázleválasztónak meg kell felelnie az 1. szakaszban meghatározott általános követelményeknek, vagy magának a cseppfolyósított gáznak a tekintetében, vagy a nagy viszkozitású folyadékok tekintetében.
A hitelesítés nehézségére tekintettel azonban jóvá lehet hagyni egy olyan gázleválasztót, amelynek a térfogata nem kevesebb, mint az 1 perc alatt szállított térfogat 1,5 %-a a legnagyobb térfogatáramon, ha a mérőeszközt a tárolótartállyal összekötő cső nem hosszabb 25 m-nél. Ha a cső hossza meghaladja a 25 m-t, a gázleválasztó tényleges térfogata nem lehet kevesebb, mint a legnagyobb térfogatáramon 1 perc alatt szállított térfogat 3 %-a.
Nem szükséges gázjelzőt vagy figyelőüveget felszerelni a cseppfolyósított gáz mérőrendszerére.
A gázkiürítő csövet össze lehet kötni a betáplálótartályban a gázfázist tartalmazó térrel vagy egy önálló nyomásfenntartó eszközzel, amely a mérő kimenetén lévő nyomásnál 50-100 kPa-lal (0,5-1 barral) alacsonyabb nyomásra van beállítva. A csőben lehet egy lezárószelep, de annak nem szabad a mérési folyamat alatt zárhatónak lennie.
2.4.3.2. A kondenzedény térfogata attól függ, mekkora a csövek térfogata az ellátótartály szelepe és a mérő utáni nyomásfenntartónak a szelepe között. A térfogat nem lehet kevesebb, mint annak a csökkenésnek a kétszerese, amely előfordulhat a folyadék térfogatában, ha a hőmérséklet olyan értékkel csökken, amelyet hagyományosan 10 °C-ban rögzítenek a légkörrel érintkező csövek esetében, és 2 °C-ban a föld alatti vagy hőszigetelt csövek esetében. A térfogat értékeléséhez a következő hőtágulási együtthatókat kell használni a tényleges értékek helyett: 3×10-3/fok Celsius propán és propilén esetében, és 2×10-3/fok Celsius bután és butadién esetében. Egyéb, nagy gőznyomású termékeknél az alkalmazandó együttható értékeit az illetékes mérésügyi szolgálatnak kell előírnia.
A kondenzedényt kézi működtetésű lefúvatószerkezettel kell ellátni.
A kondenzedényt a mérőrendszerben a csővezeték legmagasabb pontján kell elhelyezni.
Az előző módszerrel kiszámított térfogatot a csővezeték legmagasabb pontjain elhelyezett több kondenzedény között meg lehet osztani.
2.4.4. Hőmérő zsákokat kell biztosítani a mérő közvetlen közelében. Az alkalmazott hőmérőnek olyan kell, hogy legyen a skálaosztása, amely nem haladja meg a 0,5 oC-ot, és a hőmérőt ellenőrizni kell.
Nyomásmérőt kell szerelni a mérő és a nyomásfenntartó eszköz közé.
Közúti tartálykocsira szerelt mérőrendszerben egy nyomásmérő aljzat is elegendő.
2.4.5. Amikor a mérési eljárást közúti tartálykocsira szerelt mérőrendszeren végzik el, akkor nem lehet összeköttetés a szállítótartályban lévő gázfázisok és a felvevőtartály között.
2.4.6. Biztonsági szelepet lehet beépíteni a mérőrendszerbe a rendellenesen nagy nyomás megakadályozása céljából. A mérő után elhelyezett biztonsági szelep a légkörbe kell, hogy nyíljon, vagy össze kell kötni a felvevőtartállyal.
A mérő előtt elhelyezett biztonsági szelepet semmi esetre sem szabad összekötni a mérőt a megkerülő ágakon keresztül a mérő után elhelyezett szelepekkel.
2.4.7. Ha a működési feltételek szükségessé teszik a levehető tömlők használatát, akkor a tömlőknek töltve kell maradniuk, ha a térfogatuk nagyobb, mint a legkisebb kiadható mennyiségre vonatkozó legnagyobb megengedett hiba.
A levehető teli tömlőket különleges, a teli tömlőkhöz való "csatlakozókkal" kell ellátni. Ha szükséges, kézi működtetésű lefúvatószerkezetet kell biztosítani e tömlők végein.
2.4.8. Az 1.11. pontban bármely, a mérőt megkerülő ágakra előírt, közbülső figyelőszeleppel ellátott kettős zárószerkezetet biztonsági okból le kell tudni zárni. Ilyen esetekben a két lezárószelep között és a rendszer bármely más, ezzel egyenértékű helyén nyomásmérőknek kell figyelemmel kísérniük az esetleges szivárgásokat.
2.5. Tejre alkalmazott mérőrendszerek
2.5.1. A 2.5. pont követelményei vonatkoznak azokra a hordozható mérőrendszerekre, amelyekkel azt ellenőrzik, hogy a gyűjtőtartályok mennyi tejet vesznek fel, vonatkoznak továbbá a felvételhez használt helyhez kötött mérőrendszerekre és a leadáshoz használt hordozható vagy helyhez kötött mérőrendszerekre.
2.5.2. A felvevőberendezésnél az átadás-átvételi pont az állandó szint abban a tartályban, amelyet a mérő előtt helyeznek el. Ennek az állandó szintnek minden egyes mérési művelet előtt és után láthatónak kell lennie, és automatikusan vissza kell állnia.
2.5.2.1. Ha a mérőt szivattyú látja el, akkor az állandó szintű tartályt a szivattyú elé vagy a szivattyú és a mérő közé lehet szerelni.
2.5.2.1.1. Az első esetben magát a tartályt fel lehet tölteni a gravitáció segítségével a keverők kiürítése által, vagy egy külső segédszivattyú vagy vákuumrendszer segítségével.
Ha a tejet szivattyúval vagy vákuumrendszerrel juttatják a tartályba, akkor gázkiküszöbölőre van szükség, mely állandó szintű tartállyal kombinálható.
2.5.2.1.2. A második esetben az állandó szintű tartály gázkiküszöbölőként működik.
2.5.2.2. Az 1.8.3. pontban meghatározott követelmények ellenére a mérő működhet vákuumrendszer segítségével. Ebben az esetben, mivel az állandó szintű tartály és a mérő közötti csövek belsejében a nyomás alacsonyabb, mint a légköri nyomás, a csővezeték csatlakozásainak tökéletesen szivárgásmenteseknek kell lenniük. Ennek a szivárgásmentességnek az ellenőrzésére lehetőséget kell biztosítani.
2.5.2.3. A felvétel valamennyi esetében az állandó szint feletti csöveket szokásos üzemi működési feltételek esetén automatikus szerkezettel teljesen ki kell üríteni.
2.5.2.4. Az állandó szintet figyelőüvegen keresztül vagy szintjelzővel kell figyelemmel kísérni. A szint állandónak minősül, amikor két vonal közötti olyan sávban van, amely térfogatban nem jelent nagyobb különbséget, mint a legkisebb kiadható mennyiségre vonatkozó legnagyobb megengedett hiba kétszerese. A két vonal közötti távolságnak legalább 15 mm-nek kell lennie.
2.5.2.5. Ha a 2.5.2.4. pont követelményeinek kielégítése érdekében lassítószerkezetet építenek be a mérőrendszerbe, a lassítás időtartama alatt a térfogatáram nem süllyedhet a legkisebb térfogatáram alá.
2.5.2.6. Ha a felvevőberendezésben a mért folyadékot olyan szinten szállítják, amely alacsonyabban van, mint a mérő, akkor automatikus szerkezetnek kell biztosítania a légkörnél magasabb nyomást a mérő kimeneténél.
2.5.3. A tejhez használt mérőrendszereknek eleget kell tenniük az 1. szakasz követelményeinek.
2.5.4. Az 1. szakasznak a levegő vagy gázok eltávolítására vonatkozó általános követelményei ellenére a gázkiküszöbölő berendezésnek csak a működési feltételek esetén kell eleget tennie az 1.6.1. pont követelményeinek, azaz akkor, amikor levegő áramlik be minden mérési ciklus elején és végén.
Felvevőberendezésnél a felhasználónak képesnek kell lennie megbizonyosodni az összeillesztések szivárgásmentességéről, hogy a mérés közben ne juthasson be levegő a mérő előtt. Szállítóberendezésnél a rendszert úgy kell összeállítani, hogy az ellátótartálytól haladó összekötő csövekben a folyadéknyomás mindig pozitív legyen.
3. EGK-TÍPUSJÓVÁHAGYÁS ÉS EGK-ELSŐHITELESÍTÉS
3.1. EGK-típusjóváhagyás
3.1.1. A következő rendszereket EGK-típusjóváhagyásnak vetik alá:
- a 2.1. pontban meghatározott folyékony üzemanyagok mérőrendszerei. Ha az ilyen rendszereket egy központi ellátórendszerben történő felállításra tervezték, akkor a típus-jóváhagyási igazoláshoz egy vagy több mintarajzot is csatolnak, amelyek a használat helyén történő felállítás feltételeit mutatják be,
- a 2.2. pontban meghatározott közúti tartálykocsikra szerelt mérőrendszerek alacsony viszkozitású (viszkozitás 20 mPa·s) és légköri nyomáson tárolt folyadék szállítására, kivéve az folyékony élelmiszereket,
- a 2.4. pontban meghatározott helyhez kötött vagy közúti tartálykocsira szerelt mérőrendszerek cseppfolyósított gáz (kivéve hűtőfolyadék) mérésére,
- a 2.5. pontban meghatározott tejnél alkalmazott mérőrendszerek.
3.1.2. Vizsgálatok
3.1.2.1. A vizsgálatok elvégzése során a használati szabványokat és azok alkalmazását úgy kell megállapítani, hogy a kalibrálási módszer mérési bizonytalansága lehetőleg ne haladja meg a vizsgált mérőrendszerre vonatkozó legnagyobb megengedett hiba egyötödét.
3.1.2.2. A mérő vizsgálata
Először meg kell határozni a hibagörbét a térfogatáram függvényében, kellő számú mérési pontot használva a legkisebb és a legnagyobb térfogatáram között. Különösen ellenőrizni kell a mérő hibasávjának szélességét a mérési tartományban, kisebb jelentőségű a hibagörbe helyzete a nulla vonalhoz képest.
Szükség lehet vizsgálatok végzésére a térfogatáram-tartományokon túl is.
Amennyiben lehetséges, a vizsgálatokat a működési határértékeken is célszerű elvégezni, vagyis a legnagyobb és a legkisebb hőmérsékletre, az előírt viszkozitásra és a legkisebb kiadható mennyiségre.
A legkisebb kiadható mennyiség vizsgálatainak esetét kivéve, a vizsgálati adagot úgy kell kiválasztani, hogy az elég nagy legyen annak biztosításához, hogy az értékmutató szerkezet felbontása soha ne legyen kisebb, mint a legnagyobb megengedett hiba egyharmada.
Amikor az EGK-típusjóváhagyást már megadták a mérőeszközre és a segédberendezésekre, igazolni kell, hogy a mérő és a mérőrendszer jellemzői összhangban vannak-e. Ha igen, akkor a mérőt nem kell további vizsgálatoknak alávetni, de meg kell határozni a mérőrendszer legkisebb kiadható mennyiségét a 71/319/EGK irányelv melléklete I. fejezetének 4.2. pontja szerint.
Ha a mérőeszköz jellemzői nem összeegyeztethetők a mérőrendszerével, vagy ha nem adták volna meg a típusjóváhagyást a mérőeszközre (és a segédberendezésekre), akkor a teljes mérőrendszert ezen irányelvnek, valamint a 71/319/EGK irányelvnek és 71/348/EGK irányelvnek megfelelően meg kell vizsgálni.
3.1.2.3. Levegő, illetve gáz eltávolításának vizsgálatai
A vizsgálatoknak ki kell mutatniuk, hogy a levegő- vagy gázkiküszöbölő eleget tesz az 1.6.2.1.4., az 1.6.2.1.5. és az 1.6.2.2.4. pont követelményeinek.
Ha gázelszívókat és különleges gázelszívókat szereltek fel, a folyamatos kiküszöbölést az elfolyási oldalon elhelyezett megfelelő térfogatmérő mérési eredményeivel történő összehasonlítással, levegő vagy gáz hozzáadásával és anélkül kell ellenőrizni.
Amennyiben különleges gázelszívókat szerelnek fel, vizsgálni kell a tartály teljes kiürítését is. Ha lehet, a vizsgálatokat a legkedvezőtlenebb folyadékkal kell elvégezni. Amennyiben modellen vagy a tényleges berendezés lekicsinyített modelljén történik a vizsgálat, akkor figyelembe kell venni a hasonlósági törvényeket a viszkozitásra (Reynolds), a gravitációra (Froude) és felületi feszültségre (Weber) vonatkozóan. Általános szabályként a modelleken csak indokolt esetben végezhető vizsgálat.
3.1.2.4. Különleges mérőrendszerek vizsgálata
3.1.2.4.1. Folyékony üzemanyag mérőrendszerei
A vizsgálat összetevői:
a) a mérő ellenőrzése, a segédberendezés ellenőrzése és az ilyen berendezés (árjelző, nyomtató, nullázószerkezet stb.) befolyásának dokumentálása;
b) a gázkiküszöbölő ellenőrzése;
c) a tömlőtérfogat állandóságának ellenőrzése;
d) az árjelző szabályos előrehaladását igazoló különleges ellenőrzés (az árjelző első részegységében szabálytalan előrehaladást válthat ki a szállítószelep hirtelen zárása).
3.1.2.4.2. Cseppfolyósított gáz mérőrendszere.
A vizsgálat összetevői:
a) ellenőrzés a hatékonysági tartomány rajzai és a gázleválasztók tervei alapján;
b) a gázleválasztóba beépíthető gázkiküszöbölő (szintszabályozó) működésének vizsgálata.
A nyomásfenntartó szerkezetet is ellenőrizni kell a rajzon. A hitelesítő szervezet különleges esetekben modellvizsgálatot is előírhat.
3.1.3. A 2.2. és 2.4. pontban meghatározott mérőrendszerek esetében az EGK-típusjóváhagyást a benyújtott rajzok és ábrák alapján meg lehet adni, ha azok összhangban vannak a 4. szakasz rendelkezéseivel.
3.2. EGK-elsőhitelesítés
3.2.1. Általános rendelkezések
3.2.1.1. Az EGK-elsőhitelesítést egy vagy két szakaszban lehet végrehajtani.
3.2.1.1.1. Egy szakaszban lehet elvégezni abban az esetben, ha az egész rendszert teljességében egy gyártó állította elő, szétszerelés nélkül lehet szállítani, és olyan feltételek mellett lehet ellenőrizni, amelyek szerint üzemeltetni szándékozzák.
3.2.1.1.2. Minden egyéb esetben két szakaszban kell elvégezni.
Az első szakasz csak a mérőre vonatkozik, vagy a hozzá tartozó segédberendezéssel együtt szerelt mérőre, függetlenül attól, hogy azok egy részegységbe tartoznak, vagy sem.
Az első szakasz vizsgálatát próbapadon végzik (lehetőleg a gyártó üzemében), vagy beüzemelt mérőrendszerben. Ebben a lépésben a mérésügyi vizsgálatok más folyadékkal is elvégezhetők, mint amelyekre a rendszert szánják.
A második szakasz a mérőrendszert a szokásos működési feltételek mellett vizsgálja. Ezt a telepítés helyén kell elvégezni, a szokásos működési feltételek mellett, és azzal a folyadékkal, amelyre szánták a mérőrendszert.
A második szakaszt azonban el lehet végezni egy, az érintett hitelesítő szervezet által kiválasztott helyen, ha a mérőrendszer szétszerelés nélkül szállítható és a vizsgálatok olyan feltételek mellett végezhetők el, mint amelyekkel a mérőrendszert üzemeltetni szándékozzák.
3.2.2. Vizsgálatok
3.2.2.1. Ha az EGK-elsőhitelesítést egy lépésben hajtják végre, akkor a 3.2.2.2. pontban meghatározott minden vizsgálatot el kell végezni.
3.2.2.2. Ha a vizsgálatokat két szakaszban hajtják végre:
Az első lépés a következőkből áll:
- a mérő jóváhagyott típusnak való megfelelőségének vizsgálata, ideértve a kisegítő berendezést is (a vonatkozó típusnak való megfelelőség),
- a mérőeszköz metrológiai vizsgálata, ideértve a kisegítő berendezést is.
A második szakasz a következőkből áll:
- a mérőrendszer jóváhagyott típusnak való megfelelőségének vizsgálata, ideértve a mérőeszközt és annak kisegítő berendezését is,
- a mérőeszköznek és a kisegítő berendezésnek a mérőrendszeren belüli metrológiai vizsgálata,
- a gázkiküszöbölő működési vizsgálata, ha van ilyen; nem szükséges ellenőrizni, hogy az 1.6. pont szerint a szerkezetre megállapított legnagyobb megengedett hibákat túllépték-e,
- a szükséges nyomásfenntartó szerkezetek beállításának ellenőrzése,
- a tömlők belső térfogateltéréseinek ellenőrzése teli tömlős rendszerben,
- az üledéki mennyiségek meghatározása üres tömlős rendszerben.
4. KÖZÚTI TARTÁLYKOCSIKRA SZERELT MÉRŐRENDSZEREK
4.1. Általános követelmények
A 2.2. és 2.4. pontban megnevezett közúti tartálykocsikra szerelt mérőrendszerek a benyújtott okmányok vizsgálata alapján kaphatnak EGK-típusjóváhagyást, ha ezek megfelelnek a 4.2. pontban meghatározott vázlatrajzok egyikének, és eleget tesznek a következőkben kifejtett követelményeknek:
4.1.1. Az 1.16. pontban előírt jelöléseket ki kell egészíteni a kiválasztott vázlatrajz jelölésével.
4.1.2. A mérőrendszer részegységeinek rendelkezniük kell EGK-típusjóváhagyással, ha ezt a folyadékmérőkre (kivéve a vízmérőkre) vonatkozó 1971. július 26-i 71/319/EGK irányelv vagy a folyadékmérők (kivéve a vízmérők) segédkészülékeire vonatkozó 1971. október 12-i 71/348/EGK irányelv, vagy ezen irányelv előírja.
4.1.3. Ha egy tartálynak több rekesze van, a rekeszekből kivezető csöveket vagy külön lehet hozzákötni egy mérőrendszerhez, vagy egy gyűjtővezetéken keresztül, hacsak nincs a vonatkozó szabványos elrendezésben másképp előírva. Minden esetben érvényesek a 2.2.1. pont második bekezdésének a rendelkezései.
Ha a mérőrendszert gyűjtővezetéken keresztül csatlakoztatják több rekeszhez, akkor kell lennie egy olyan szerkezetnek, amely megakadályozza, hogy a rekeszek egyidejűleg lépjenek kapcsolatba a mérőrendszerrel. E követelménynek azonban nem kell eleget tenni, ha a mérőrendszer rendelkezik a 1.6.2.1.4. pont szerinti gázleválasztóval.
4.1.4. Ha a közúti tartálykocsinak két mérőrendszere van, amelyeket szükség szerint össze lehet kötni egy vagy több specifikus rekesszel, a csöveket és a szelepeket úgy kell elrendezni, hogy a két mérőrendszert ne lehessen egyidejűleg ugyanazokhoz a rekeszekhez kötni. Ezenkívül a rekeszek és a mérőrendszer közötti összeköttetéseket egyértelműen meg kell jelölni, ami megakadályozza, hogy az egyik rekeszt tévesen összekössék a másik rekeszhez tartozó mérőrendszerrel.
4.1.5. Ha az örvénylésgátló alkalmazása előírt követelmény, akkor az örvénylésgátlót össze lehet kapcsolni a rekesz alján lévő szeleppel.
4.1.6. A rekeszek és a mérőrendszer közötti csöveket, szelepeket és sapkákat olyan módon kell elrendezni, hogy a mérőrendszer ne legyen összeköthető egy attól különálló tartállyal.
4.1.7. A szűrő szokásos esetben vagy közvetlenül a mérő elé van szerelve, vagy beépített a gázmentesítőbe.
4.1.8. Azoknál a szerkezeteknél, amelyek lehetővé teszik a mérőeszközön való áthaladás nélküli szállítást, a nemzeti szabályozás szerint lehetőséget kell biztosítani a plombálásra.
4.1.9. Ha a mérőrendszerben két-útú szelep van, azt úgy kell kivitelezni, hogy megakadályozza a három nyílás közötti egyidejű kapcsolatot.
4.2. Szabványos elrendezések

S 1 vázlatrajz
Nehézségi erő általi működés folyamatos légnyomás-kiegyenlítővel az átadás-átvételi ponton
Lehetővé teszi: Csak mért szállítást tesz lehetővé (üres tömlős)
Magyarázat az S 1 vázlatrajzhoz
Ha a tartálynak több rekesze van, a mérőrendszert gyűjtővezeték közbeiktatása nélkül közvetlenül és tartósan össze kell kötni egy pontosan meghatározott rekesszel.
A : Örvénylésgátló készülék.
F
:
Szűrő. A szűrőt olyan módon kell tervezni és szerelni, hogy meg lehessen tisztítani a mérőeszköz vagy a figyelőüveg (V1, illetve V2) kiürítése nélkül.
Az egész szűrőnek az átadás-átvételi pont alatt kell elhelyezkednie.
T1, T2
:
Gázkiürítésre engedélyezett változatok:
T1 : lefúvó és visszacsapó szelepek, amelyek megakadályozzák a gáz bejutását a mérőeszközbe,
T2 : visszaáramlás a tartályrekesz gázterébe.
car : Visszacsapó szelep, amely megakadályozza a gáz áramlását, amennyiben felmelegedés okozta túlnyomás lép fel a tartályban.
C : Mérő.
Vm : Működtető szelep.
I. és II. : Üres tömlős szállítási rendszer változatai.
V1 : Figyelőüveg.
V2 : Az 1.1.8. pontban meghatározott, gázkijelzőként is szolgáló figyelőüveg.
at
:
Megfelelő keresztmetszetű folyamatos légnyomás-kiegyenlítésre szolgáló légnyomás-kiegyenlítő, amely biztosítja, hogy a mérőeszközben a nyomás legalább a légköri nyomással egyenlő legyen.
Tartós légnyomás-kiegyenlítést lehet biztosítani egy szelep nélküli függőleges csővel. Ha ezt a csövet összekötik a tartály tetejével, nincs szükség a "car" visszacsapó szelepre.
H : A folyadék felső szintje.
h : A tartály aljának magassága az átadás-átvételi pont felett. Ennek elegendő nagynak kell lennie ahhoz, hogy legalább olyan áramlási sebességet biztosítson, amely megegyezik a mérő által mérendő legkisebb áramlási sebességgel, amíg a tartály ki nem ürül.

S 2 vázlatrajz
Nehézségi erő általi működés folyamatos légnyomás-kiegyenlítő nélkül az átadás-átvételi ponton
| Lehetővé teszi: | a) a mért szállítást (üres tömlős); b) a mérés nélküli szállítást, a tartály kiürítését és feltöltését a folyadéknak a mérőn való áthaladása nélkül. |
Magyarázat az S 2 vázlatrajzhoz
A rekeszek és a mérőrendszer között a csövezésnek olyannak kell lennie, amely biztosítja a tartós összeköttetést.
A : Örvénylésgátló készülék.
R
:
Két-útú szelep, amely lehetővé teszi a mért szállítást, a mérés nélküli szállítást, a tartály kiürítését és feltöltését a folyadéknak a mérőn történő áthaladása nélkül.
A szelep használata megengedett. Helyettesíthető közvetlen összeköttetéssel is.
F : Szűrő. A leeresztő szelep beépítése a rendszerbe csak akkor engedélyezett, ha visszacsapó szelepet foglal magában, ami megakadályozza, hogy gáz jusson be a mérőrendszerbe.
Pgs : Az 1.1.5. pontban meghatározott különleges gázelszívó.
V1 : A különleges gázelszívó figyelőüvege.
T1, T2, T3, T4
:
A légnyomás-kiegyenlítő készülékre engedélyezett változatok:
T1 : visszatérés a tartályba,
T2 : légtelenítés a légkörbe,
T3 : a gázok által elsodort folyadékrészecskéket felfogó edény,
T4 : lefúvó szelep.
C : Mérő.
va : A különleges gázelszívót automatikusan lezáró szelep, amikor a nyomás nem elegendő ahhoz, hogy megakadályozza a gázkiválasztást a mérőeszközben, vagy amikor gáz gyűlik össze a speciális gázelszívóban. Ezenkívül ennek a szelepnek zárnia kell, amennyiben hiba van a vezérlő rendszerben.
I. és II.
:
Az üres tömlős szállítási rendszer változatai:
I. változat : figyelőüveg V2,
II. változat : Az 1.1.8. pontban meghatározott, a gázkijelző V3 feladatát is ellátó figyelőüveg.
Vm
:
Működtető szelep
A "va" automatikus szelepet és a "Vm" működtető szelepet egyesíteni lehet egy speciális szeleppé, amely mindkét feladatot ellátja. Ebben az esetben a két feladatnak egymástól függetlennek kell lennie.
A II. változatban a speciális szelepet a V3 figyelőüveg után kell elhelyezni.
at : Kézi vezérlésű légnyomás-kiegyenlítés. Automatikus is lehet (pl. automatikusan lezár a mérés közben és kinyit a mérés elvégzését követően).
H : A folyadék felső szintje.
h : A tartály aljának magassága az átadás-átvételi pont felett. Ennek elegendő nagynak kell lennie ahhoz, hogy legalább olyan áramlási sebességet biztosítson, amely megegyezik a mérő által mérendő legkisebb áramlási sebességgel, amíg a tartály ki nem ürül.

S 3 vázlatrajz
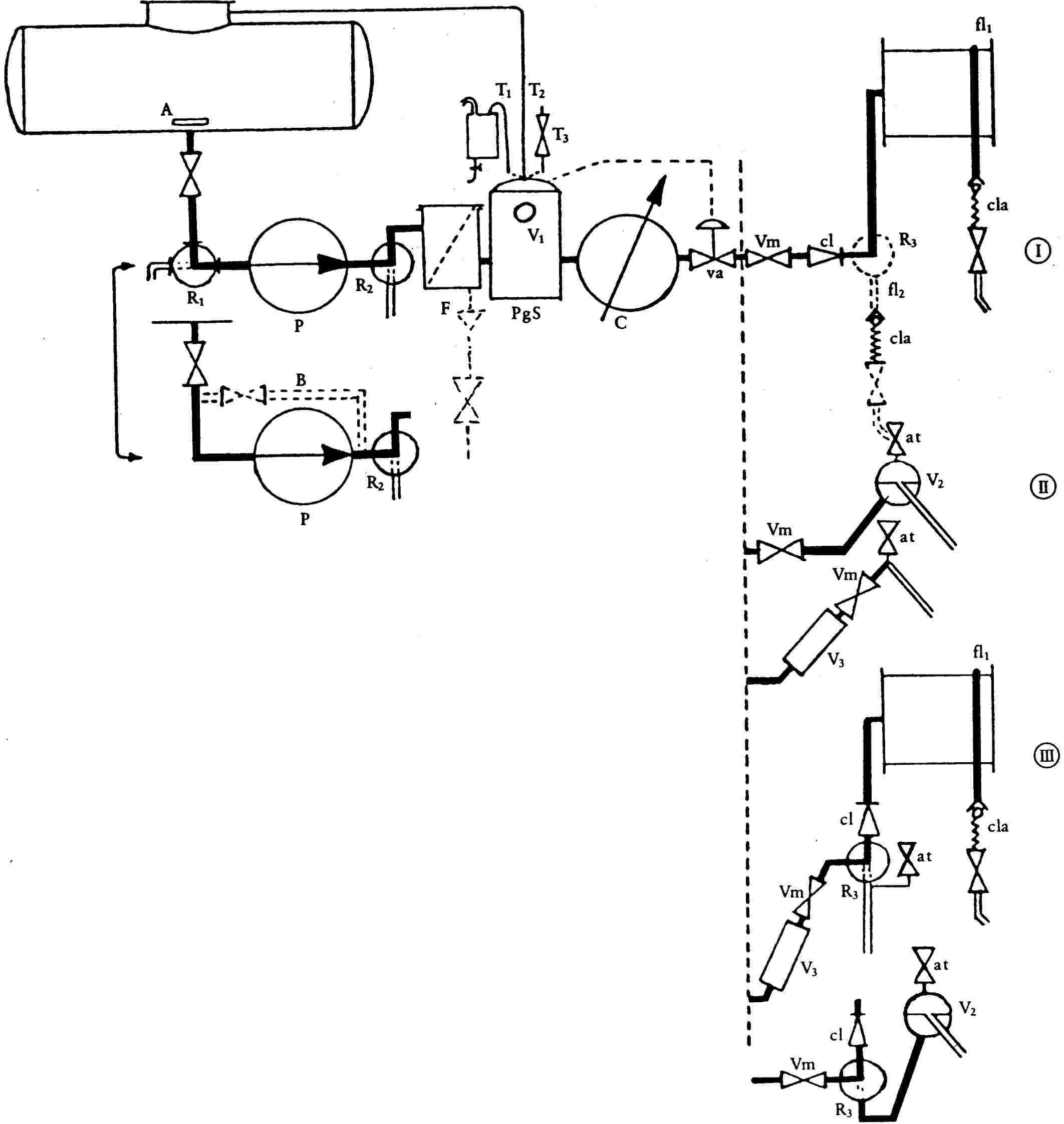
A mérőrendszer magában foglal egy szivattyút, egy gázleválasztót és egy vagy két teli tömlőt.
| Lehetővé teszi: | a) a mért szállítást szivattyúval (teli tömlős); b) a mérés nélküli szállítást (szivattyúval vagy anélkül), a tartály kiürítést és feltöltését folyadéknak a mérőn való áthaladása nélkül. |
Magyarázat az S 3 vázlatrajzhoz
R1
:
Két-útú szelep, amely lehetővé teszi a mért szállítást, a mérés nélküli szállítást, továbbá a tartály kiürítését és feltöltését a folyadéknak a mérőn történő áthaladása nélkül.
A szelep használata megengedett, de helyettesíthető közvetlen összeköttetéssel is.
P : Szivattyú. A szivattyú mindkét áramlási irányban működtethető. Ebben az esetben visszacsapó szelepet kell alkalmazni az R2 szelep és az Sg gázleválasztó között.
R2 : Választható két-útú szelep, a mérés nélküli szállításhoz.
F : Szűrő. A szűrő ellátható leeresztő szeleppel.
Sg : Gázleválasztó, e melléklet 1.6.2.1.4. pontja szerint. A gázleválasztóban a folyadékszintnek magasabbnak kell lennie, mint a mérőben.
T1, T2
:
A légtelenítő készülékre engedélyezett változatok:
T1 : közvetlen visszatérés a tartályba,
T2 : visszatérés a tartályba a gázok által elsodort folyadékrészecskéket felfogó edényen keresztül.
C : Mérő.
Vm : Működtető szelep.
cl : Visszacsapó szelep.
fl1 : Teli tömlő a dobon.
fl2 : Adott esetben egy második, nagyon rövid teli tömlő a dobon a nagy áramlási sebességű szállításhoz.
cla : A teli tömlő kiürülését megakadályozó szelep.
R3 : Olyan készülék, amely lehetővé teszi a szállítást a tömlők bármelyikében, egy kéttömlős mérőrendszerben. A készüléknek meg kell felelnie az 1.10.1. pont első bekezdése, valamint a 2.2.4. pont második bekezdése követelményeinek.

S 4 vázlatrajz
A mérőrendszer magában foglal egy szivattyút, egy gázleválasztót, egy üres tömlőt, vagy egy teli és egy üres tömlőt.
| Lehetővé teszi: | a) a mért szállítást szivattyúval (teli vagy üres tömlős); b) a mért gravitációs szállítást (üres tömlős); c) a mérés nélküli szállítást (szivattyúval vagy anélkül), a tartály kiürítést és feltöltését a folyadéknak a mérőn való áthaladása nélkül. |
Magyarázat az S 4 vázlatrajzhoz
R1
:
Két-útú szelep, amely lehetővé teszi a mért szállítást, a mérés nélküli szállítást, továbbá a feltöltést a folyadéknak a mérőn történő áthaladása nélkül.
Ez a szelep szabadon választható, de helyettesíteni lehet közvetlen összeköttetéssel is.
P : Szivattyú. A szivattyú mindkét áramlási irányban működtethető. Ebben az esetben visszacsapó szelepet kell alkalmazni az R2 szelep és az Sg gázleválasztó között.
B : Választható megkerülő ág, amely mért gravitációs (üres tömlős) szállítást is lehetővé tesz. Ez a megkerülő ág csak akkor engedélyezett, ha nincs R1 szelep.
R2 : Választható két-útú szelep a mérés nélküli szállításhoz.
F : Szűrő. A szűrő ellátható leeresztő szeleppel.
Sg : Gázleválasztó, e melléklet 1.6.2.1.4. pontja szerint. A gázleválasztóban a folyadékszintnek magasabbnak kell lennie, mint a mérőben.
car : Visszacsapó szelep a gáz áramlásának megakadályozására (üres tömlős szállítás esetében).
C : Mérő.
M
:
Nyomásmérő-csatlakoztatás, az alkalmazása csak akkor kötelező, ha van megkerülő ág.
A nyomásmérő-csatlakoztatás lehetővé teszi nyomásmérő felszerelését, amely műszerrel az első hitelesítés során ellenőrizhető, hogy a mérőeszközben a nyomás legalább egyenlő legyen a légköri nyomással a gravitációs szállítás alatt.
at : Automatikus vagy kézzel állítható légnyomás-kiegyenlítés. Ha van megkerülő ág, akkor ennek a légnyomás-kiegyenlítésnek automatikusnak kell lennie és elegendő keresztmetszetűnek, hogy biztosítsa, hogy a mérőeszközben a nyomás legalább egyenlő legyen a légköri nyomással.
Vm : Működtető szelep.
I. és II.
:
A szállítókészülék változatai:
I. változat : üres tömlős,
II. változat : egy üres és egy teli tömlős kombinációja.
cl : Visszacsapó szelep.
V1 : Figyelőüveg.
V2 : A gázkijelző feladatát is ellátó, az 1.1.8. pontban meghatározott figyelőüveg.
fl1 : Teli tömlő a dobon.
cla : Szelep, amely megakadályozza, hogy a teli tömlő kiürüljön.
R3 : Készülék, amely lehetővé teszi a szállítást az üres vagy a teli tömlőn keresztül. A készüléknek meg kell felelnie a 1.10.1. pont első bekezdése, valamint a 2.2.4. pont második bekezdése követelményeinek.

S 5 vázlatrajz
A mérőrendszer magában foglal egy szivattyút, egy gázleválasztót és egy vagy két teli tömlőt.
Csak mért szállítást tesz lehetővé szivattyúval (teli tömlős).
Magyarázat az S 5 vázlatrajzhoz
Ha a tartálynak több rekesze van, a mérőrendszert közvetlenül és tartósan össze kell kötni egy pontosan meghatározott rekesszel, gyűjtővezeték nélkül.
A : Örvénylésgátló készülék.
V : "Nyitott vagy zárt" típusú szelep, amely gyakorlatilag lehetetlenné teszi a szivattyú szívóoldalán történő lefojtását.
M : Nyomásmérő, amely ellenőrzi, hogy a szivattyúbemenetnél a nyomás soha nem kisebb, mint a légköri nyomás.
P : Szivattyú.
F
:
Szűrő.
Leeresztő szelep csak akkor alkalmazható, ha van benne visszacsapó szelep, amely megakadályozza, hogy gáz jusson be a mérőrendszerbe.
Pg : Gázelszívó. Két változat, T1 és T2 és csak a légtelenítő készülékhez engedélyezett.
T1 : Közvetlen összeköttetés a gázelszívó és a tartály között. Ebben az esetben a csöveknek be kell vezetniük a tartályba a fal mentén, ami megkönnyíti a folyadékrészecskék és a gázok leválasztását.
T2 : Visszatérés a tartályba a gázok által elsodort folyadékrészecskéket felfogó edényen keresztül.
C : Mérő.
Vn : Működtető szelep.
cl : Visszacsapó szelep.
fl1 : Teli tömlő a dobon.
fl2 : Lehetőség egy második, nagyon rövid tömlő használatára a nagy áramlási sebességű szállításokhoz.
cla : A teli tömlő kiürülését megakadályozó szelep.
R : Készülék, amely lehetővé teszi, hogy bármelyik tömlővel lehessen szállítani egy kéttömlős mérőrendszerben. A készüléknek meg kell felelni az 1.10.1. pont első bekezdése, valamint a 2.2.4. pont második bekezdése követelményeinek.

S 6 vázlatrajz
A mérőrendszer magában foglal egy tápszivattyúval kombinált gázleválasztót, egy vagy több teli tömlőt vagy egy üres tömlőt, vagy egy teli és egy üres tömlőt.
| Lehetővé teszi: | a) a mért szállítást szivattyúval (teli vagy üres tömlős); b) a mérés nélküli szállítást szivattyúval vagy szivattyú nélkül, a folyadéknak a mérőn történő áthaladása nélkül, továbbá a tartály kiürítést és feltöltését a folyadéknak a mérőn való áthaladása nélkül. |
Magyarázat az S 6 vázlatrajzhoz
R1
:
Két-útú szelep, amely lehetővé teszi a mért szállítást, a mérés nélküli szállítást szivattyúval, és a tartály kiürítését és feltöltését a folyadéknak a mérőn való áthaladása nélkül.
A szelep használata megengedett. Helyettesíthető közvetlen összeköttetéssel is.
F : Szűrő.
SgP : Tápszivattyúval kombinált gázleválasztó a 1.6.2.1.2. pont első bekezdése szerint. Teljesítenie kell az 1.6.2.1.4. pontban rögzített követelményeket. EGK-típusjóváhagyással kell rendelkeznie.
cl1 : Visszacsapó szelep. Ez a szelep lehet a mérő után.
R2 : Választható két-útú szelep a mérés nélküli szállításhoz.
C : Mérő.
I., II., III.
:
A szállítókészülék változatai
I. : egy vagy két teli tömlős,
II. : üres tömlős,
III. : egy teli és egy üres tömlős kombinációja.
Vm : Működtető szelep.
V1 : Figyelőüveg.
V2 : A gázkijelző feladatát is ellátó, az 1.1.8. pontban meghatározott figyelőüveg.
fl1 : Teli tömlő.
fl2 : Adott esetben egy második (nagyon rövid) tömlő a nagy áramlási sebességű szállításokhoz.
cla : A teli tömlő kiürülését megakadályozó szelep.
cl2 : Visszacsapó szelep.
at : Automatikus vagy kézi vezérlésű légnyomás-kiegyenlítés.
R3 : Készülék, amely lehetővé teszi a két rendelkezésre álló szállítási módszer bármelyikével történő szállítást. A készülék feleljen meg a 1.10.1. pont első bekezdése, valamint a 2.2.4. pont második bekezdése követelményeinek.

S 7 vázlatrajz
A mérőrendszer magában foglal egy szivattyút, egy speciális gázelszívót, egy vagy két teli tömlőt és egy üres tömlőt, vagy egy teli és egy üres tömlőt.
| Lehetővé teszi: | a) a mért szállítást szivattyúval (teli vagy üres tömlős); b) a mért gravitációs szállítást (üres tömlős); c) a mérés nélküli szállítást szivattyúval vagy anélkül, a folyadéknak a mérőn történő áthaladása nélkül, és a tartály kiürítését és feltöltését a folyadéknak a mérőn való áthaladása nélkül. |
Magyarázat az S 7 vázlatrajzhoz
Ha a tartálynak több rekesze van, és ha lehetséges gyűjtővezeték használata, a rekeszek aljában lévő szelepeknek és a bemenő cső szelepeinek "nyitott vagy zárt" típusúaknak kell lenniük. A rekeszek és a mérőrendszer közötti csöveket tartósan kell csatlakoztatni.
A : Örvénylésgátló készülék.
R1
:
Két-útú szelep, amely lehetővé teszi a mért szállítást, a mérés nélküli szállítást és a tartály kiürítését és feltöltését a folyadéknak a mérőn való áthaladása nélkül.
A szelep használata megengedett, de helyettesíthető közvetlen összeköttetéssel is.
P : Szivattyú. A szivattyú mindkét áramlási irányban működtethető. Ebben az esetben visszacsapó szelepet kell alkalmazni az R2 szelep és a PgS gázleválasztó között.
B : Választható megkerülő ág, amely lehetővé teszi a mért gravitációs szállítást (üres tömlős). Ez a megkerülő ág csak akkor engedélyezett, ha nincs R1 szelep.
R2 : Választható két-útú szelep a mérés nélküli szállításhoz.
F : Szűrő. Leeresztő szelep csak akkor engedélyezett, ha van benne visszacsapó szelep, amely megakadályozza, hogy gáz jusson be a mérőrendszerbe.
PgS : Különleges, az 1.1.5. pont szerinti gázelszívó.
V1 : A különleges gázelszívó figyelőüvege.
T1, T2, T3
:
A légtelenítő készülék változatai:
T1 : edény a gázok által elsodort folyadékrészecskék felfogásához,
T2 : visszatérés a tartályba,
T3 : lefúvó szelep.
C : Mérő.
va : Szelep, amelyet automatikusan lezár a különleges gázelszívó, amikor a nyomás nem elegendő ahhoz, hogy megakadályozza a gázkiválasztást a mérőben, vagy amikor gázok halmozódnak fel az elszívóban. A szelepnek zárnia kell a vezérlő rendszerben előforduló hiba esetén is.
I., II., III.
:
A szállítókészülék változatai:
I. : egy vagy két teli tömlős,
II. : üres tömlős,
III. : egy üres és egy teli tömlős kombinációja.
Vm
:
Működtető szelep.
A "va" automatikus szelep és a "Vm" működtető szelep lehetnek egy speciális szeleppé kombinálva, amely mindkét feladatot ellátja. Ebben az esetben a két feladatnak egymástól függetlennek kell lennie. Ezt a speciális szelepet a "V3" figyelőüveg után kell elhelyezni, azokban a változatokban (II. és III.), amelyekben van ilyen.
cl : Visszacsapó szelep.
V2 : Figyelőüveg.
V3 : A gázkijelző feladatát is ellátó, az 1.1.8. pontban meghatározott figyelőüveg.
fl1 : Teli tömlő a dobon.
fl2 : Adott esetben egy második, nagyon rövid tömlő a nagy áramlási sebességű szállításokhoz.
cla : Szelep, amely megakadályozza, hogy a teli tömlő kiürüljön.
at : Automatikus vagy kézi vezérlésű légnyomás-kiegyenlítés.
R3 : Készülék, amely lehetővé teszi a szállításokat a két rendelkezésre álló szállítási módszerrel. A készülék feleljen meg a 1.10.1. pont első bekezdése, valamint a 2.2.4. pont második bekezdése követelményeinek.

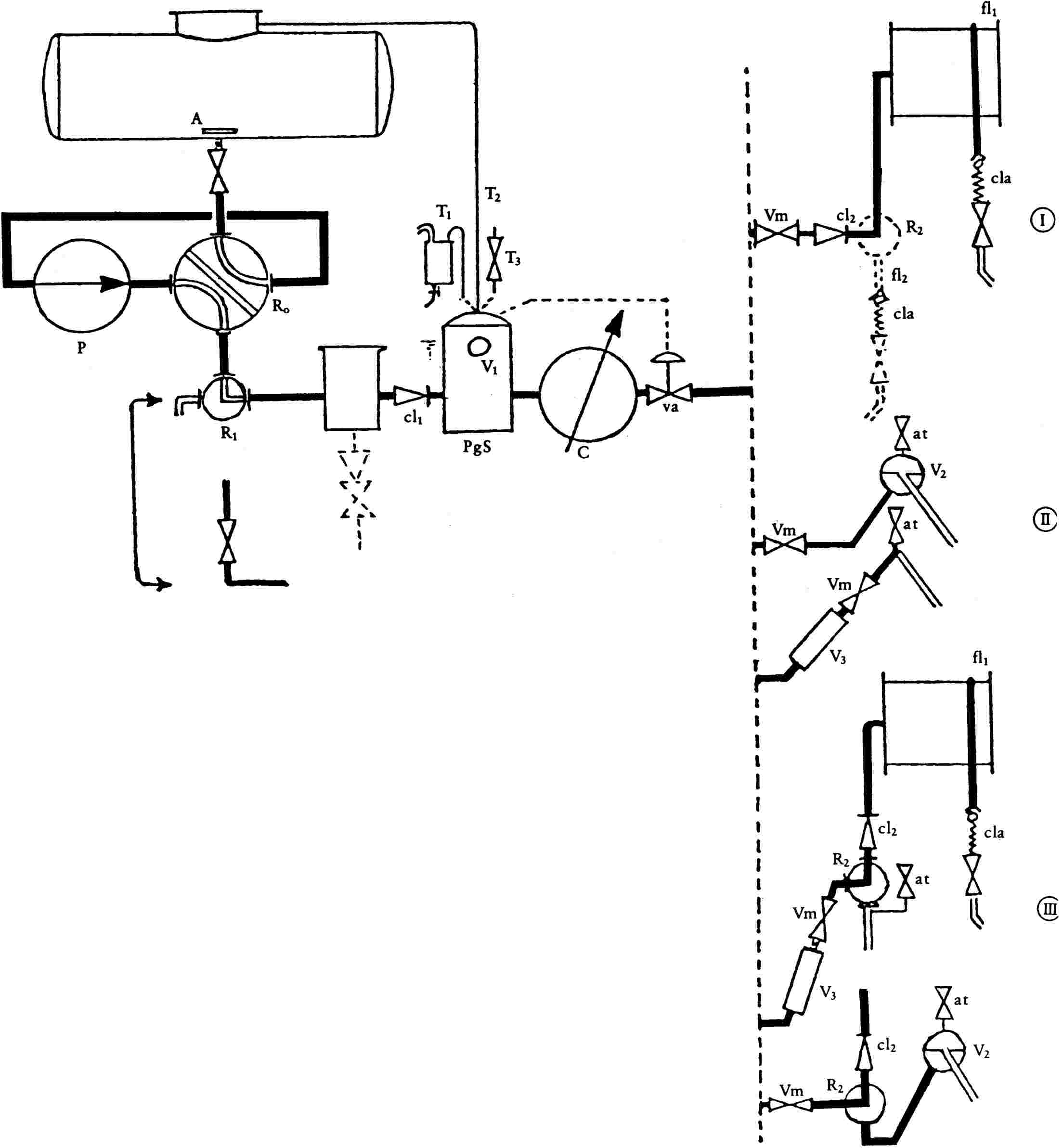
S 8 vázlatrajz
A mérőrendszer magában foglal egy szivattyút, egy három-útú szelepet, egy speciális gázelszívót, egy vagy két teli tömlőt vagy egy üres tömlőt, vagy egy teli és egy üres tömlőt.
| Lehetővé teszi: | a) a mért szállítást szivattyúval (teli vagy üres tömlős); b) a gravitációs szállítást (üres tömlős); c) a mérés nélküli szállítást szivattyúval vagy anélkül, a folyadéknak a mérőn történő áthaladása nélkül, és a tartály kiürítését és feltöltését a folyadéknak a mérőn való áthaladása nélkül. |
Magyarázat az S 8 vázlatrajzhoz
Ha a tartálynak több rekesze van, és ha lehetséges gyűjtővezeték használata, a rekeszek aljában lévő szelepeknek és a bemenő cső szelepeinek "nyitott vagy zárt" típusúaknak kell lenniük. A rekeszek és a mérőrendszer közötti csöveket tartósan kell csatlakoztatni.
A : Örvénylésgátló készülék.
P : Szivattyú
Ro
:
három-útú szelep, amely az R1 és R2 szelepekkel együtt lehetővé teszi a következő műveletek elvégzését:
1. mért vagy mérés nélküli szállítást szivattyúval (teli vagy üres tömlős),
2. mért vagy mérés nélküli gravitációs szállítást (üres tömlős), a tartály kiürítését és feltöltését,
3. a tartály feltöltését a P szivattyú segítségével.
R1 : Választható két-útú szelep. Helyettesíthető közvetlen összeköttetéssel is.
F
:
Szűrő.
Leeresztő szelep csak akkor engedélyezett, ha van benne visszacsapó szelep, amely megakadályozza, hogy gáz jusson be a mérőrendszerbe.
cl1 : Visszacsapó szelep.
PgS : Különleges, az. 1.1.5 pontban meghatározott gázelszívó.
V1 : Figyelőüveg a speciális gázelszívóhoz.
T1, T2, T3
:
A légtelenítő készülék változatai:
T1 : edény a gázok által elsodort folyadékrészecskék felfogásához,
T2 : visszatérés a tartályba,
T3 : lefúvó szelep.
C : Mérő.
va : Szelep, amelyet automatikusan lezár a speciális gázelszívó, amikor a nyomás nem elegendő ahhoz, hogy megakadályozza a gázkiválasztást a mérőeszközben, vagy amikor gázok halmozódnak fel az elszívóban. A szelepnek zárnia kell a vezérlő rendszerben előforduló hiba esetén is.
I., II., III.
:
A szállítókészülék változatai:
I. : egy vagy két teli tömlős,
II. : üres tömlős,
III. : egy üres és egy teli tömlős kombinációja.
Vm
:
Működtető szelep.
A "va" automatikus szelep és a "Vm" működtető szelep lehetnek egy speciális szeleppé kombinálva, amely mindkét feladatot ellátja. Ebben az esetben a két feladatnak egymástól függetlennek kell lennie. Ezt a speciális szelepet a "V3" figyelőüveg után kell elhelyezni, azokban a változatokban (II és III), amelyekben van ilyen.
cl2 : Visszacsapó szelep.
V2 : Figyelőüveg.
V3 : A gázkijelző feladatát is ellátó, az 1.1.8. pontban meghatározott figyelőüveg.
fl1 : Teli tömlő a dobon.
fl2 : Adott esetben egy második (nagyon rövid) teli tömlő, a nagy áramlási sebességű szállításokhoz.
cla : A teli tömlő kiürülését megakadályozó szelep.
at : Automatikus vagy kézi vezérlésű légnyomás-kiegyenlítés.
R2 : Készülék, amely lehetővé teszi a szállításokat a két rendelkezésre álló szállítási módszerrel. A készülék feleljen meg a 1.10.1. pont első bekezdése, valamint a 2.2.4. pont második bekezdése követelményeinek.

S 9 vázlatrajz
A mérőrendszer magában foglal egy szivattyút, egy gázleválasztót, egy nyomásfenntartó szelepet és egy teli tömlőt.
| Lehetővé teszi: | a) a mért szállítást szivattyúval (teli tömlős); b) a mérés nélküli szállítást szivattyúval vagy szivattyú nélkül, a folyadéknak a mérőn történő áthaladása nélkül, és a tartály kiürítését és feltöltését a folyadéknak a mérőn való áthaladása nélkül. |
Magyarázat az S 9 vázlatrajzhoz
R1
:
Két-útú szelep a mért szállításhoz, a tartály kiürítéséhez és feltöltéséhez a folyadéknak a mérőn való áthaladása nélkül.
A szelep használata megengedett. Helyettesíthető közvetlen összeköttetéssel is.
P : Szivattyú.
B : Állítható megkerülő ág, a tartállyal összekötve.
R2 : Választható két-útú szelep, a mérés nélküli szállításhoz.
cl1 : Visszacsapó szelep, amelyet a 2.4.1. pont ír elő. Elhelyezhető a szűrő és a gázleválasztó között is.
F : Szűrő.
Sg : Gázleválasztó, e melléklet 1.6.2.1.4. pontja, vagy a 2.4.3.1. pont második bekezdése szerint. Ez a légtelenítő készülék a tartály gázfázisával van összeköttetésben. vas: Biztonsági okokból felszerelhető szelep az Sg gázleválasztó készülékre, a tartály és a "vamp" szelephez vezető leágazás közé.
C : Mérő.
vamp : Automatikus nyomásfenntartó szelep, amely úgy van beállítva, hogy legalább 100 kPa-lal magasabb nyomást tartson fenn, mint a tartályban lévő telített gőz nyomása.
Vm : Működtető szelep.
cl2 : Visszacsapó szelep.
Z : A jármű tartályrekeszének gázterében lévő cső, amely csak a folyadék betöltésére és visszanyerésére szolgál a mérőrendszer hitelesítése során.
Th : Hőmérő. A hőmérőnek a mérő közelében kell lennie, vagy a gázleválasztóban, vagy a mérő be- vagy kimeneti oldalán.
M : Kötelező nyomásmérő.
M0 : Választható nyomásmérő.
Megjegyzés:
a) A 2.4.5. pontban előírt követelményeknek történő megfelelés érdekében egyértelműen fel kell tüntetni egy adattáblán, hogy a jármű tartályának gáztere és a vevő tartályának gáztere nem állhatnak kapcsolatban egymással.
b) Be lehet építeni biztonsági szelepeket, ebben az esetben ezeknek meg kell felelni a 2.4.6. pont követelményeinek.
( 1 ) HL C 125., 1976.6.8., 43. o.
( 2 ) HL C 131., 1976.6.12., 53. o.
( 3 ) HL L 291., 1972.12.28., 156. o.
( 4 ) HL L 202., 1971.9.6., 1. o.
( 5 ) HL L 202., 1971.9.6., 32. o.
( 6 ) HL L 239., 1971.10.25., 9. o.
( 7 ) A tapasztalat szerint az a) és b) albekezdésben meghatározott követelmény egy helyesen felszerelt gázleválasztó esetén teljesül, ha a hatásos térfogata a mérőrendszeren jelzett legnagyobb térfogatáram mellett a percenkénti szállítás térfogatának legalább 8 %-a.
( 8 ) További rendelkezések lépnek később hatályba a folyékony tüzelőanyagok mérőrendszereivel kapcsolatosan, amelyek tartalmazzák a következőket:
- motorbenzinek keverési mérőórái,
- motorbenzinek és kenőolajok keverési mérőórái,
- elektromos vagy elektronikus kijelzők és kiegészítő eszközök,
- automatikus eszközök és
- cseppfolyósított gázokhoz szánt mérőrendszerek.
( 9 ) Azoknak a gázleválasztóknak az esetében, amelyek az 1.6.2.1.5. pontnak felelnek meg, a tapasztalat szerint a követelmény általában teljesül, ha a gázleválasztó hatásos térfogata a mérőrendszer tábláján jelzett legnagyobb térfogatáram mellett a percenkénti szállítás térfogatának legalább 5 %-a.
( 10 ) Azoknak a gázleválasztóknak az esetében, amelyek az 1.6.2.1.5. pontnak felelnek meg, a tapasztalat szerint a követelmény általában teljesül, ha a gázleválasztó hatásos térfogata a mérőrendszer tábláján jelzett legnagyobb térfogatáram mellett a percenkénti szállítás térfogatának legalább 5 %-a.
Lábjegyzetek:
[1] A dokumentum eredetije megtekinthető CELEX: 31977L0313 - https://eur-lex.europa.eu/legal-content/HU/ALL/?uri=CELEX:31977L0313&locale=hu Utolsó elérhető, magyar nyelvű konszolidált változat CELEX: 01977L0313-19820722 - https://eur-lex.europa.eu/legal-content/HU/ALL/?uri=CELEX:01977L0313-19820722&locale=hu