32009L0076[1]
Az Európai Parlament és a Tanács 2009/76/EK irányelve ( 2009. július 13. ) a kerekes mezőgazdasági vagy erdészeti traktorok vezetőire ható zajszintről (kodifikált változat)
AZ EURÓPAI PARLAMENT ÉS A TANÁCS 2009/76/EK IRÁNYELVE
(2009. július 13.)
a kerekes mezőgazdasági vagy erdészeti traktorok vezetőire ható zajszintről
(kodifikált változat)
(EGT-vonatkozású szöveg)
AZ EURÓPAI PARLAMENT ÉS AZ EURÓPAI UNIÓ TANÁCSA,
tekintettel az Európai Közösséget létrehozó szerződésre és különösen annak 95. cikkére,
tekintettel a Bizottság javaslatára,
tekintettel az Európai Gazdasági és Szociális Bizottság véleményére (1),
a Szerződés 251. cikkében megállapított eljárásnak megfelelően (2),
mivel:
(1) A kerekes mezőgazdasági vagy erdészeti traktorok vezetőire ható zajszintre vonatkozó tagállami jogszabályok közelítéséről szóló, 1977. március 29-i 77/311/EGK tanácsi irányelvet (3) több alkalommal (4) jelentősen módosították. Az áttekinthetőség és ésszerűség érdekében ezt az irányelvet kodifikálni kell.
(2) A 77/311/EGK irányelv egyike a mezőgazdasági vagy erdészeti traktorok, azok pótkocsijainak és cserélhető vontatott munkagépeinek, beleértve ezek rendszereit is, továbbá alkatrészeinek és önálló műszaki egységeinek típusjóváhagyásáról szóló, 2003. május 26-i 2003/37/EK európai parlamenti és tanácsi irányelv (5) által felváltott, a kerekes mezőgazdasági vagy erdészeti traktorok típusjóváhagyására vonatkozó tagállami jogszabályok közelítéséről szóló, 1974. március 4-i 74/150/EGK tanácsi irányelv szerinti EK-típus-jóváhagyási rendszerre vonatkozó egyedi irányelveknek, amely műszaki előírásokat állapít meg a kerekes mezőgazdasági vagy erdészeti traktorok kiképzését és felépítését illetően a vezetőkre ható zajszintre való tekintettel. Ezek a műszaki előírások a tagállamok jogszabályainak közelítésére vonatkoztak annak érdekében, hogy a 2003/37/EK irányelv szerinti EK-típus-jóváhagyási eljárás alkalmazható legyen minden traktortípus esetében. Következésképpen a 2003/37/EK irányelv által meghatározott, a mezőgazdasági vagy erdészeti traktorok, azok pótkocsijainak és cserélhető vontatott munkagépeinek, beleértve ezek rendszereit is, továbbá alkatrészeinek és önálló műszaki egységeinek típusjóváhagyására vonatkozó rendelkezések ezen irányelvre is alkalmazandók.
(3) Ez az irányelv nem érinti a IV. melléklet B. részében meghatározott irányelveknek a nemzeti jogba történő átültetésére és alkalmazására vonatkozó határidőkkel kapcsolatos tagállami kötelezettségeket,
ELFOGADTA EZT AZ IRÁNYELVET:
1. cikk
(1) Ezen irányelv alkalmazásában (mezőgazdasági vagy erdészeti) "traktor" minden kerekes vagy lánctalpas, legalább kéttengelyű gépjármű, amelynek fő funkciója a vonóteljesítmény kifejtéséből áll, és amelyet különösen meghatározott eszközök, gépek vagy pótkocsik vontatására, tolására, hordozására vagy meghajtására alakítottak ki, és amelyeket mezőgazdasági vagy erdészeti alkalmazásra szántak. E jármű teher vagy utasok szállítására is felszerelhető.
(2) Ezen irányelv csak az (1) bekezdésben meghatározott, pneumatikus gumiabronccsal felszerelt traktorokra alkalmazandó, amelyek legnagyobb tervezési sebessége 6 és 40 km/h között van.
2. cikk
(1) A tagállamok nem tagadhatják meg a traktotípusok tekintetében az EK-típusjóváhagyás, illetve a traktortípusra vonatkozó nemzeti típusjóváhagyás megadását a vezetőre ható zajszintre hivatkozva, ha a zajszint az alábbi határértékeket nem lépi túl:
- 90 dB(A) az I. mellékletnek megfelelően,
vagy
- 86 dB(A) a II. mellékletnek megfelelően.
(2) Azokkal a járművekkel kapcsolatban, amelyek nem felelnek meg az ezen irányelvben megállapított előírásoknak, az ezen irányelv tárgyával összefüggő indokok alapján a tagállamok:
- nem adnak ki EK-típusjóváhagyást,
- megtagadhatják a nemzeti típusjóváhagyás megadását.
(3) Azokkal az új járművekkel kapcsolatban, amelyek nem felelnek meg az ezen irányelvben megállapított előírásoknak, az ezen irányelv tárgyával összefüggő indokok alapján a tagállamok:
- nem tekintik érvényesnek a 2003/37/EK irányelvvel összhangban az új járművekhez mellékelt megfelelőségi igazolásokat az említett irányelv 7. cikke (1) bekezdésének alkalmazásában,
- megtagadhatják az ilyen új járművek nyilvántartásba vételét, értékesítését vagy forgalomba helyezését.
(4) A tagállamok nem tagadhatják meg a traktorok nyilvántartásba vételét, illetve nem tilthatják meg azok értékesítését, vagy forgalomba helyezését a vezetőre ható zajszintre hivatkozva, ha a zajszint az alábbi határértékeket nem lépi túl:
- 90 dB(A) az I. mellékletnek megfelelően,
vagy
- 86 dB(A) a II. mellékletnek megfelelően.
3. cikk
Ezen irányelv alkalmazásában "vezetőfülke" minden olyan merev elemből készült, átlátszó, vagy nem átlátszó felépítmény, amely teljesen körülveszi a vezetőt és elkülöníti őt a külvilágtól, és amely a vezető munkája közben folyamatosan zárva tartható.
4. cikk
A tagállamok meghoznak minden szükséges rendelkezést annak érdekében, hogy a traktorok értékesítésére vonatkozó reklámtevékenység semmi olyan, a vezetőre ható zajszinttel kapcsolatos jellemzőt ne sugalljon, amellyel a traktorok ténylegesen nem rendelkeznek.
5. cikk
Az I., II. és III. mellékletekben foglalt előírásoknak a műszaki fejlődéshez történő hozzáigazításához szükséges módosításokat a 2003/37/EK irányelv 20. cikk (3) bekezdésében említett eljárásnak megfelelően kell elfogadni.
6. cikk
A tagállamok közlik a Bizottsággal nemzeti joguknak azokat a főbb rendelkezéseit, amelyeket az ezen irányelv által szabályozott területen fogadnak el.
7. cikk
A IV. melléklet A. részében meghatározott jogi aktusokkal módosított 77/311/EGK irányelv hatályát veszti, a IV. melléklet B. részében meghatározott irányelveknek a nemzeti jogba történő átültetésére és alkalmazására vonatkozó határidőkkel kapcsolatos tagállami kötelezettségek sérelme nélkül.
A hatályon kívül helyezett irányelvre való hivatkozásokat az ezen irányelvre való hivatkozásként kell értelmezni az V. mellékletben foglalt megfelelési táblázattal összhangban.
8. cikk
Ez az irányelv az Európai Unió Hivatalos Lapjában való kihirdetését követő huszadik napon lép hatályba.
Ezt az irányelvet 2010. január 1-től kell alkalmazni.
9. cikk
Ennek az irányelvnek a tagállamok a címzettjei.
Kelt Brüsszelben, 2009. július 13-án.
az Európai Parlament részéről
az elnök
H.-G. PÖTTERING
a Tanács részéről
az elnök
E. ERLANDSSON
(1) HL C 120., 2008.5.16., 15. o.
(2) Az Európai Parlament 2008. február 19-i véleménye (a Hivatalos Lapban még nem tették közzé) és a Tanács 2009. június 25-i határozata.
(3) HL L 105., 1977.4.28., 1. o.
(4) Lásd a IV. melléklet A. részét.
(5) HL L 171., 2003.7.9., 1. o.
I. MELLÉKLET
MÉRŐMŰSZEREK, MÉRÉSI FELTÉTELEK ÉS MÓDSZEREK
1. MÉRTÉKEGYSÉG ÉS MÉRŐMŰSZER
1.1. Mértékegység
A zajszintet dB-ben, "A" hangnyomásszint-méréssel kell megállapítani. Ennek rövidítése dB(A).
1.2. Mérőműszer
A vezetőre ható zajszintet olyan zajszintmérő (hangnyomásszint-mérő) műszerrel kell mérni, amely megfelel a Nemzetközi Elektrotechnikai Bizottság 179/1965 sz. kiadványának első kiadásában leírtaknak.
Amennyiben a műszer kijelzője változó értékeket mutat, akkor a legnagyobb értékek átlagát kell leolvasni.
2. MÉRÉSI FELTÉTELEK
A méréseket az alábbi feltételek mellett végzik el:
2.1. a traktornak terheletlennek kell lennie, azaz nem tartalmazhat kiegészítőket, de hűtőfolyadékkal, kenőanyagokkal, tüzelőanyaggal fel lehet töltve, szerszámokkal és vezetővel együtt. A vezető nem viselhet a szokásosnál vastagabb ruházatot, sálat, vagy fejfedőt. A traktoron nem lehetnek olyan tárgyak, amelyek akusztikus szempontból zavaró hatásúak lehetnek;
2.2. a gumiabroncsokat a gyártó által előírt nyomásra kell felfújni, a motor, a sebességváltónak és a meghajtott tengelyeknek rendes üzemi hőmérsékletűnek kell lenniük, és a hűtőzsaluk (amennyiben van ilyen) a mérés ideje alatt teljesen nyitva állnak;
2.3. a motor által, vagy attól függetlenül hajtott kiegészítő berendezéseket, pl. ablaktörlő, fűtőventilátor, TLT stb., a mérés ideje alatt ki kell kapcsolni, ha ezek működése a zajszintet befolyásolja; a rendes üzemeltetés során működő berendezéseknek (pl. a motor hűtőventillátora) a mérés ideje alatt is működniük kell;
2.4. a mérést szabad térben, háttérzaj-mentes környezetben kell elvégezni. Ez lehet pl. egy 50 m sugarú nyílt terület, amelynek középső, legalább 20 m sugarú részének vízszintesnek kell lennie. Lehet egy vízszintes útszakasz is, lehetőleg szilárd, hézagmentes burkolattal. A helyszín legyen tiszta, és lehetőleg száraz (ne legyen rajta pl. kavics, lomb, hó stb.). Lejtők, egyenetlenségek csak oly mértékben lehetnek, hogy az ezek miatt keletkező zajszint-ingadozások a mérőműszer hibahatárán belül maradjanak;
2.5. a pálya felszínének olyan állapotban kell lennie, hogy a gumikerekek ne okozzanak túlságosan nagy gördülési zajt;
2.6. a méréseket száraz, szélmentes időben kell végezni.
A szél és egyéb zajforrások által okozott, a vezetőre ható háttérzaj hangnyomás-szintjének legalább 10 dB(A)-val kell kisebbnek lennie a traktor zajszintjénél;
2.7. amennyiben a mérési eredmények rögzítéséhez egy másik járművet használnak, akkor ennek a vizsgált járműtől kellő távolságban kell haladnia úgy, hogy a két jármű zaja ne legyen egymásra hatással. A mérés alatt a vizsgált jármű nyomvonalának 20 m-es környezetében sem oldalt, sem a jármű előtt vagy mögött ne legyenek zavaró tárgyak, vagy hangvisszaverő felületek. Ez a feltétel akkor teljesül, ha az ilyen tárgyak miatt keletkező zajszint-ingadozás a műszer mérési pontosságán belül marad; ha ez a feltétel nem teljesül, akkor a zavarás ideje alatt a mérést abba kell hagyni;
2.8. egy mérési sorozat minden mérését ugyanazon az útszakaszon kell elvégezni.
3. MÉRÉSI MÓDSZER
3.1. A mérőmikrofont az ülés középsíkjától 250 mm távolságra kell elhelyezni arra az oldalra, amelyiken a nagyobb zajszint tapasztalható. A mikrofon membránja a menetiránnyal megegyező irányba áll, és a mikrofon közepe felfelé 790 mm, előre 150 mm távolságra van a III. mellékletben meghatározott ülés-referenciaponttól. A mikrofon erős rezgéseit meg kell akadályozni.
3.2. A dB(A)-ban mért legnagyobb hangnyomásszint mérése érdekében a következőképpen kell eljárni:
3.2.1. a jármű típusának megfelelő vezetőfülkével ellátott traktorok esetében az első méréssorozat közben a vezetőfülkén lévő összes nyílásnak (ajtó, ablak stb.) zárva kell lennie;
3.2.1.1. egy második méréssorozat alatt minden olyan nyílást nyitva kell tartani, amely így nyitott állapotában nem veszélyezteti a közúti forgalomban való részvételt, azonban a felhajtható szélvédő üveget lehajtott állapotban kell tartani;
3.2.2. a zajszintet a mérőműszeren a kijelző lassú üzemmódjában akkor kell leolvasni, amikor a jármű 7,5 km/h haladási sebességéhez legközelebb álló sebességfokozatban halad előre, olyan terhelés mellett, amelyhez a legnagyobb zajszint tartozik.
A fordulatszám-szabályzó kart a legnagyobb fordulatszámra kell állítani. Terheletlen indítás után a terhelést a legnagyobb zajszint eléréséig kell növelni. Minden terhelés-növekedés után meg kell várni, hogy a hangnyomásszint értéke a műszer kijelzőjén állandósul;
3.2.3. a zajszintet a mérőműszeren a kijelző lassú üzemmódjában akkor kell leolvasni, amikor a jármű bármelyik olyan, a 3.2.2. pontban meghatározottól eltérő sebességfokozatban halad előre, amelynél a mért hangnyomásszint legalább 1 dB(A) nagyságban eltér a 3.2.2. pontban meghatározott sebességfokozatnál mért hangnyomásszint értékétől, olyan terhelés mellett, amelyhez a legnagyobb zajszint tartozik.
A fordulatszám-szabályzó kart a legnagyobb fordulatszámra kell állítani. Terheletlen indítás után a terhelést a legnagyobb zajszint eléréséig kell növelni. Minden terhelés-növekedés után addig kell várni, amíg a hangnyomásszint értéke a műszer kijelzőjén nem állandósul;
3.2.4. végül meg kell mérni a hangnyomásszintet a jármű típusától függő, a legnagyobb sebességgel haladó, terheletlen traktoron is.
3.3. A mérési jelentésnek a következő zajszinteket kell tartalmaznia:
3.3.1. a 7,5 km/h haladási sebességhez legközelebb álló sebességfokozatban mért hangnyomásszint;
3.3.2. a 3.2.3. alpontban leírtak szerint mért minden más sebességfokozathoz tartozó hangnyomás-szint;
3.3.3. legnagyobb tervezett sebességgel haladó traktoron mért hangnyomásszint.
4. ÉRTÉKELÉS
A 3.2.1., 3.2.2., 3.2.3. és 3.2.4. pontok szerint mért hangnyomásszintek nem haladhatják meg a 2. cikkben megállapított határértékeket.
II. MELLÉKLET
MÉRŐMŰSZEREK, MÉRÉSI FELTÉTELEK ÉS MÓDSZEREK
1. MÉRTÉKEGYSÉG ÉS MÉRŐMŰSZER
1.1. Mértékegység
A zajszintet dB-ben, "A" hangnyomásszint-méréssel kell megállapítani. Ennek rövidítése dB(A).
1.2. Mérőműszer
A vezetőre ható zajszintet olyan zajszintmérő (hangnyomásszint-mérő) műszerrel kell mérni, amely megfelel a Nemzetközi Elektrotechnikai Bizottság 179/1965. sz. publikációjának első kiadásában leírtaknak.
Amennyiben a műszer kijelzője változó értékeket mutat, akkor a legnagyobb értékek átlagát kell leolvasni.
2. MÉRÉSI FELTÉTELEK
A méréseket az alábbi feltételek mellett végzik el:
2.1. a traktornak terheletlennek kell lennie, azaz nem tartalmazhat kiegészítőket, de hűtőfolyadékkal, kenőanyagokkal, tüzelőanyaggal fel lehet töltve, szerszámokkal és vezetővel együtt. A vezető nem viselhet a szokásosnál vastagabb ruházatot, sálat, vagy fejfedőt. A traktoron nem lehetnek olyan tárgyak, amelyek akusztikus szempontból zavaró hatásúak lehetnek;
2.2. a gumiabroncsokat a gyártó által előírt nyomásra kell felfújni, a motor, a sebességváltónak és a meghajtott tengelyeknek rendes üzemi hőmérsékletűnek kell lenniük, és a hűtőzsaluk (amennyiben van ilyen) a mérés ideje alatt teljesen nyitva állnak;
2.3. a motor által, vagy attól függetlenül hajtott kiegészítő berendezéseket, pl. ablaktörlő, fűtőventilátor, TLT stb., a mérés ideje alatt ki kell kapcsolni, ha ezek működése a zajszintet befolyásolja; a rendes üzemeltetés során működő berendezéseknek (pl. a motor hűtőventilátora) a mérés ideje alatt is működniük kell;
2.4. a mérést szabad térben, háttérzaj-mentes környezetben kell elvégezni. Ez lehet pl. egy 50 m sugarú nyílt terület, amelynek középső, legalább 20 m sugarú részének vízszintesnek kell lennie. Lehet egy vízszintes útszakasz is, lehetőleg szilárd, hézagmentes burkolattal. A helyszín legyen tiszta, és lehetőleg száraz (ne legyen rajta pl. kavics, lomb, hó stb.). Lejtők, egyenetlenségek csak oly mértékben lehetnek, hogy az ezek miatt keletkező zajszint-ingadozások a mérőműszer hibahatárán belül maradjanak;
2.5. a pálya felszínének olyan állapotban kell lennie, hogy a gumikerekek ne okozzanak túlságosan nagy gördülési zajt;
2.6. a méréseket száraz, szélmentes időben kell végezni.
A szél és egyéb zajforrások által okozott, a vezetőre ható háttérzaj hangnyomás-szintjének legalább 10 dB(A)-val kell kisebbnek lennie a traktor zajszintjénél;
2.7. amennyiben a mérési eredmények rögzítéséhez egy másik járművet használnak, akkor ennek a vizsgált járműtől kellő távolságban kell haladnia úgy, hogy a két jármű zaja ne legyen egymásra hatással. A mérés alatt a vizsgált jármű nyomvonalának 20 m-es környezetében sem oldalt, sem a jármű előtt vagy mögött ne legyenek zavaró tárgyak, vagy hangvisszaverő felületek. Ez a feltétel akkor teljesül, ha az ilyen tárgyak miatt keletkező zajszint-ingadozás a műszer mérési pontosságán belül marad; ha ez a feltétel nem teljesül, akkor a zavarás ideje alatt a mérést abba kell hagyni;
2.8. egy mérési sorozat minden mérését ugyanazon az útszakaszon kell elvégezni.
3. MÉRÉSI MÓDSZER
3.1. A mérőmikrofont az ülés középsíkjától 250 mm távolságra kell elhelyezni arra az oldalra, amelyiken a nagyobb zajszint tapasztalható. A mikrofon membránja a menetiránnyal megegyező irányba áll, és a mikrofon közepe fölfelé 790 mm, előre 150 mm távolságra van a III. mellékletben meghatározott ülés-referenciaponttól. A mikrofon erős rezgéseit meg kell akadályozni.
3.2. A hangnyomásszint meghatározásához a következőképpen kell eljárni:
3.2.1. a traktornak legalább háromszor kell elhaladnia ugyanazon az útvonalon, mindig egyenletes sebességgel; amelyek időtartama legalább 10 s;
3.2.2. a jármű típusának megfelelő vezetőfülkével ellátott traktorok esetében az első méréssorozat közben a vezetőfülkén lévő összes nyílás (ajtó, ablak stb.) zárva van.
3.2.2.1. a második méréssorozat alatt minden olyan nyílást nyitva kell tartani, amely nyitott állapotban nem veszélyezteti a közúti forgalomban való részvételt, azonban a felhajtható szélvédő üveget lehajtott állapotban kell tartani;
3.2.3. a zajszintet a motor legnagyobb fordulatszámán kell leolvasni a hangszintmérő lassú üzemmódjában, azaz a névleges fordulatszám mellet a traktornak a 7,5 km/h haladási sebességhez legközelebb álló sebességfokozatban kell haladnia.
4. ÉRTÉKELÉS
A 3.2.2. és 3.2.3. pontok szerint mért hangnyomásszintek nem haladhatják meg a 2. cikkben megállapított határértékeket.
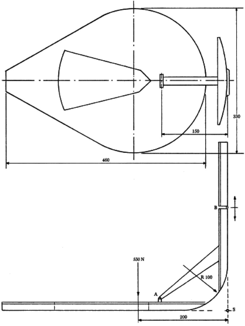
III. MELLÉKLET
AZ ÜLÉS REFERENCIAPONTJÁNAK MEGHATÁROZÁSA
1. FOGALOMMEGHATÁROZÁS
1.1. Az ülés referenciapontja (S) az ülés középső hosszanti síkjában az a pont, ahol az alsó háttámla érintősíkja és a vízszintes sík metszi egymást. Ez a vízszintes sík az üléslap alsó felületét 150 mm-rel az ülés referenciapontja előtt metszi.
2. AZ ÜLÉS REFERENCIAPONTJÁNAK MEGHATÁROZÁSA
2.1. A referenciapont a melléklet függelékében szereplő 1. és 2. ábrák felhasználásával kapható meg, így lehetővé válik a vezető által okozott terhelés szimulálása.
2.2. Az ülést a függőleges beállítási tartomány középpontjába kell igazítani, a beállítás független a vízszintes beállítástól. A mikrofon elhelyezésének az I. és II. melléklet 3. pontjában leírt meghatározásához az ülésnek a vízszintes beállítási tartomány középpontjában vagy ahhoz minél közelebb kell lennie.
3. A SZERKEZET LEÍRÁSA
3.1. A 2.1. pontban leírt eszköz egy üléslapból és két támlalapból áll.
3.2. Az alsó háttámlalap az ülőcsont (A) és az ágyék (B) tájékán kapcsolódik, az összekapcsolódás (B) magassága állítható legyen (lásd a 2. ábrát).
4. A SZERKEZET BEÁLLÍTÁSA
A szerkezetet az alábbiak szerint kell beállítani:
4.1. a szerkezetet az ülésre kell helyezni;
4.2. 550 N erővel kell megterhelni az (A) csukló előtt 50 mm-rel, majd a két háttámlalapot enyhén érintőlegesen a háttámlának nyomják;
4.3. amennyiben nem lehetséges egy határozott érintővonalat meghatározni a háttámla alsó területén, az alsó háttámlalapot függőleges helyzetben enyhén a háttámlának kell nyomni;
4.4. olyan üléseknél, ahol a felfüggesztést a vezető súlyától függően lehet igazítani, a felfüggesztést úgy kell beállítani, hogy az ülés a két szélső helyzettől egyenlő távolságra lévő pont legyen.
Függelék
1. ábra

2. ábra

IV. MELLÉKLET
A. RÉSZ
A hatályon kívül helyezett irányelv és módosításainak listája
(lásd a 7. cikket)
| A Tanács 77/311/EGK irányelve (HL L 105., 1977.4.28., 1. o.) | |
| A Tanács 82/890/EGK irányelve (HL L 378., 1982.12.31., 45. o.) | Kizárólag az 1. cikk (1) bekezdésében a 77/311/EGK irányelvre vonatkozó utalás tekintetében |
| Az Európai Parlament és a Tanács 97/54/EK irányelve (HL L 277., 1997.10.10., 24. o.) | Kizárólag az 1. cikk első francia bekezdésében a 77/311/EGK irányelvre vonatkozó utalás tekintetében |
| A Bizottság 96/627/EK határozata (HL L 282., 1996.11.1., 72. o.) | |
| A Bizottság 2000/63/EK határozata (HL L 22., 2000.1.27., 66. o.) | |
| A Bizottság 2006/26/EK irányelve (HL L 65., 2006.3.7., 22. o.) | Kizárólag a 2. cikk és a II. melléklet |
B. RÉSZ
A nemzeti jogba való átültetésre és alkalmazásra előírt határidők listája
(lásd a 7. cikket)
| Jogi aktusok | Átültetés határideje | Alkalmazás napja |
| 77/311/EGK | 1978. október 1. | — |
| 82/890/EGK | 1984. június 22. | — |
| 97/54/EK | 1998. szeptember 22. | 1998. szeptember 23. |
| 96/627/EK | 1999. szeptember 29. | — |
| 2000/63/EK | 2001. szeptember 30. | — |
| 2006/26/EK | 2006. december 31. (1) | — |
(1) Összhangban a 2006/26/EK irányelv 5. cikkével:
"(1) 2007. január 1-jei hatállyal azokkal a járművekkel kapcsolatban, amelyek megfelelnek az ezen irányelvvel módosított 74/151/EGK, 78/933/EGK, 77/311/EGK és 89/173/EGK irányelvben megállapított előírásoknak, az érintett irányelv tárgyával kapcsolatos okok alapján a tagállamok:
a) nem tagadhatják meg EK-típusjóváhagyás vagy nemzeti típusjóváhagyás kiadását;
b) nem tilthatják meg ilyen járművek nyilvántartásba vételét, értékesítését vagy forgalomba helyezését.
(2) 2007. július 1-jei hatállyal azokkal a járművekkel kapcsolatban, amelyek nem felelnek meg az ezen irányelvvel módosított 74/151/EGK, 78/933/EGK, 77/311/EGK és 89/173/EGK irányelvben megállapított előírásoknak, az érintett irányelv tárgyával kapcsolatos okok alapján a tagállamok:
a) nem adnak ki további EK-típusjóváhagyást;
b) megtagadhatják a nemzeti típusjóváhagyás megadását.
(3) 2009. július 1-jei hatállyal azokkal a járművekkel kapcsolatban, amelyek nem felelnek meg az ezen irányelvvel módosított 74/151/EGK, 78/933/EGK, 77/311/EGK és 89/173/EGK irányelvekben megállapított előírásoknak, az érintett irányelv tárgyával kapcsolatos okok alapján a tagállamok:
a) a 2003/37/EK irányelv rendelkezéseivel összhangban, a 7. cikk (1) bekezdésének alkalmazásában az ilyen új járművekhez kiadott megfelelőségi igazolásokat érvényüket vesztettnek tekintik;
b) megtagadhatják az ilyen új járművek nyilvántartásba vételét, értékesítését vagy forgalomba helyezését."
V. MELLÉKLET
Megfelelési táblázat
| 77/311/EGK irányelv | 2006/26/EK irányelv | Ez az irányelv |
| 1. cikk | 1. cikk | |
| 2. cikk, első bekezdés, első albekezdés | 2. cikk (1) és (4) bekezdés | |
| 2. cikk, első bekezdés, második albekezdés | — | |
| 2. cikk, (2) bekezdés | — | |
| 5. cikk, (2) bekezdés | 2. cikk, (2) bekezdés | |
| 5. cikk, (3) bekezdés | 2. cikk, (3) bekezdés | |
| 3., 4. és 5. cikk | 3., 4. és 5. cikk | |
| 6. cikk, (1) bekezdés | — | |
| 6. cikk, (2) bekezdés | 6. cikk | |
| — | 7. cikk | |
| — | 8. cikk | |
| 7. cikk | 9. cikk | |
| I. melléklet | I. melléklet | |
| II. melléklet | II. melléklet | |
| III. melléklet | III. melléklet | |
| — | IV. melléklet | |
| — | V. melléklet |
Lábjegyzetek:
[1] A dokumentum eredetije megtekinthető CELEX: 32009L0076 - https://eur-lex.europa.eu/legal-content/HU/ALL/?uri=CELEX:32009L0076&locale=hu A dokumentum konszolidált változatai magyar nyelven nem elérhetőek.