32010L0019[1]
A Bizottság 2010/19/EU irányelve ( 2010. március 9. ) a 91/226/EGK tanácsi irányelvnek és a 2007/46/EK európai parlamenti és tanácsi irányelvnek a gépjárművek és pótkocsijaik egyes kategóriáinak a felcsapódó víz elleni védelme területén a műszaki fejlődéshez való hozzáigazítás céljából történő módosításáról
A BIZOTTSÁG 2010/19/EU IRÁNYELVE
(2010. március 9.)
a 91/226/EGK tanácsi irányelvnek és a 2007/46/EK európai parlamenti és tanácsi irányelvnek a gépjárművek és pótkocsijaik egyes kategóriáinak a felcsapódó víz elleni védelme területén a műszaki fejlődéshez való hozzáigazítás céljából történő módosításáról
(EGT-vonatkozású szöveg)
AZ EURÓPAI BIZOTTSÁG,
tekintettel az Európai Unió működéséről szóló szerződésre,
tekintettel a gépjárművek és pótkocsijaik, valamint az ilyen járművek rendszereinek, alkatrészeinek és önálló műszaki egységeinek jóváhagyásáról szóló, 2007. szeptember 5-i 2007/46/EK európai parlamenti és tanácsi irányelvre (keretirányelv) ( 1 ) és különösen annak 39. cikke (2) bekezdésére,
mivel:
(1) A gépjárművek és pótkocsijaik egyes kategóriáinak a felcsapódó víz elleni védelmére vonatkozó tagállami jogszabályok közelítéséről szóló, 1991. március 27-i 91/226/EGK tanácsi irányelv ( 2 ) egyike az egyedi irányelveknek a 2007/46/EK irányelv alapján meghatározott EK-típus-jóváhagyási eljárás vonatkozásában. A járművek rendszereivel, alkatrészeivel és önálló műszaki egységeivel kapcsolatos 2007/46/EK irányelv rendelkezései így a 91/226/EGK irányelvre is vonatkoznak.
(2) Tekintettel arra, hogy az EK-típus-jóváhagyási eljárás alkalmazása kötelező a 2007/46/EK irányelvvel érintett összes jármű-kategóriára, harmonizált követelmények meghatározása szükséges a 91/226/EGK irányelv által érintett összes jármű-kategória felcsapódó víz elleni védelmével kapcsolatban. Ezenkívül tisztázni kell azt, hogy ezek a követelmények nem kötelezők a terepjáró járművekre. Végül, a megszerzett tapasztalatokra tekintettel, a 91/226/EGK irányelvet és - következésképpen - a 2007/46/EK irányelv IV. mellékletét a műszaki fejlődéshez kell igazítani.
(3) Ezért a 91/226/EGK és a 2007/46/EK irányelvet ennek megfelelően módosítani kell.
(4) Az ebben az irányelvben meghatározott intézkedések összhangban vannak a "Műszaki Bizottság - Gépjárművek" véleményével,
ELFOGADTA EZT AZ IRÁNYELVET:
1. cikk
A 91/226/EGK irányelv a következők szerint módosul:
1. a Mellékletek jegyzéke, valamint az I., a II. és a III. melléklet ezen irányelv I. melléklete szerint módosul;
2. az "Ábrák" című számozatlan melléklet helyébe az ezen irányelv II. mellékletében foglalt szöveg lép.
3. cikk
(1) 2011. április 9-én kezdődő hatállyal a felcsapódó víz elleni védelem tekintetében a tagállamok nem tagadják meg az EK- vagy a nemzeti típusjóváhagyás megadását azon járművek vagy alkatrészek részére, amelyek megfelelnek az ezen irányelvvel módosított 91/226/EGK irányelvben foglalt követelményeknek.
(2) 2011. április 9-én kezdődő hatállyal a felcsapódó víz elleni védelem tekintetében a tagállamok megtagadják az EK- vagy a nemzeti típusjóváhagyás megadását azon járművek vagy alkatrészek részére, amelyek nem felelnek meg az ezen irányelvvel módosított 91/226/EGK irányelvben foglalt követelményeknek.
(3) Ha a 2007/46/EK irányelv szerint teljes jármű EK-típusjóváhagyására irányuló kérelmet nyújtanak be, azok a járműtípusok, amelyek már részesültek felcsapódó víz elleni védelemre is kiterjedő nemzeti vagy EK-típusjóváhagyásban, mentesülnek a 91/226/EGK irányelvben meghatározott, a felcsapódó víz elleni védelemre vonatkozó követelmények alól.
4. cikk
(1) A tagállamok legkésőbb 2011. április 8-ig elfogadják és kihirdetik azokat a törvényi, rendeleti és közigazgatási rendelkezéseket, amelyek szükségesek ahhoz, hogy ennek az irányelvnek megfeleljenek. E rendelkezések szövegéről haladéktalanul tájékoztatják a Bizottságot.
Ezeket a rendelkezéseket 2011. április 9-től alkalmazzák.
Amikor a tagállamok elfogadják ezeket a rendelkezéseket, azokban hivatkozni kell erre az irányelvre, vagy azokhoz hivatalos kihirdetésük alkalmával ilyen hivatkozást kell fűzni. A hivatkozás módját a tagállamok határozzák meg.
(2) A tagállamok közlik a Bizottsággal nemzeti joguknak azokat a főbb rendelkezéseit, amelyeket az ezen irányelv által szabályozott területen fogadnak el.
5. cikk
Ez az irányelv az Európai Unió Hivatalos Lapjában történő kihirdetését követő huszadik napon lép hatályba.
6. cikk
Ennek az irányelvnek a tagállamok a címzettjei.
I. MELLÉKLET
1. A 91/226/EGK irányelv mellékleteinek listája a következőképpen módosul:
a) A II. melléklet 3. függelékének címe helyébe a következő lép:
"Adatközlő lap az EK-alkatrész-típusjóváhagyáshoz".
b) A III. melléklet címének helyébe a következő lép:
"III. melléklet
:
A járművek EK-típusjóváhagyásának a felcsapódó víz ellenivédőrendszerek rögzítésével kapcsolatos követelményei
1. függelék : Adatközlő lap az EK-jármű-típusjóváhagyáshoz
2. függelék : Az EK-jármű-típusbizonyítvány mintája".
c) Az "ÁBRÁK: (1-9)" sor helyébe következő lép:
"V. melléklet : 1-9. ábra".
2. A 91/226/EGK irányelv I. melléklete a következőképpen módosul:
a) A 9., 10. és 11. pont helyébe a következő szöveg lép:
"9. Felemelhető tengely
»Felemelhető tengely«: a 97/27/EK irányelv I. mellékletének 2.15. pontjában meghatározott tengely.
10. Terheletlen jármű
»Terheletlen jármű«: a 2007/46/EK európai parlamenti és tanácsi irányelv ( 3 ) I. mellékletének 2.6. pontjában meghatározottak szerinti menetkész gépjármű.
11. Futófelület
»Futófelület«: a gumiabroncs a 92/23/EGK irányelv II. mellékletének 2.8. pontjában meghatározottak szerinti része.
b) Az I. melléklet az alábbi 13., 14. és 15. ponttal egészül ki:
"13. Nyerges vontató
»Nyerges vontató«: a 97/27/EK irányelv I. mellékletének 2.1.1.2.2. pontjában meghatározottak szerinti vontatójármű.
14. Műszakilag megengedett össztömeg
»Műszakilag megengedett össztömeg«: a 97/27/EK irányelv I. mellékletének 2.6. pontjában meghatározottak szerint a terhelt jármű legnagyobb tömege.
15. Járműtípus
»Járműtípus«: a felcsapódó víz elleni védelem vonatkozásában olyan teljes, nem teljes vagy befejezett járművek, amelyek a következő szempontok tekintetében nem különböznek egymástól:
- a felcsapódó víz elleni védőberendezés típusa (a járműre szerelve),
- a felcsapódó víz elleni védőberendezés gyártó szerinti típusjelölése."
3. A 91/226/EGK irányelv II. melléklete a következőképpen módosul:
a) A 2-3.4.3. pont helyébe a következő szöveg lép:
"2. Az EK-alkatrész-típusjóváhagyás kérelmezése
2.1. Valamely felcsapódó víz elleni védőberendezés-típus 2007/46/EK irányelv 7. cikke szerinti EK-alkatrész-típusjóváhagyására vonatkozó kérelmet a gyártó nyújtja be.
2.2. Az adatközlő lap mintáját a 3. függelék tartalmazza.
2.3. A típus-jóváhagyási vizsgálatok elvégzéséért felelős műszaki szolgálathoz az alábbiakat kell benyújtani:
Négy minta: ezek közül három vizsgálati célokat szolgál, a negyediket pedig a laboratórium köteles megőrizni későbbi ellenőrzés céljából. A vizsgálólaboratórium további mintákat is igényelhet.
2.4. Jelölések Minden egyes mintán világosan és letörölhetetlenül fel kell tüntetni a kereskedelmi nevet vagy védjegyet és a típus jelét, továbbá megfelelő nagyságú helyet kell kihagyni az EK-alkatrész-típusjóváhagyási jel számára.
3. Az EK-alkatrész-típusjóváhagyás megadása
3.1. A vonatkozó követelmények teljesülése esetén a 2007/46/EK irányelv 10. cikke szerint meg kell adni az EK-típusjóváhagyást.
3.2. Az EK-típusbizonyítvány mintája a 4. függelékben található.
3.3. A 2007/46/EK irányelv VII. mellékletével összhangban jóváhagyási számmal kell ellátni a felcsapódó víz elleni védőberendezés minden jóváhagyott típusát. Ugyanaz a tagállam nem adhatja ugyanazt a számot a felcsapódó víz elleni védőberendezés egy másik típusának.
3.4. Valamennyi, ezen irányelv szerint jóváhagyott valamely típusnak megfelelő kivitelű felcsapódó víz elleni védőberendezést el kell látni az EK-alkatrész-típusjóváhagyási jellel úgy, hogy az letörölhetetlen és könnyen olvasható legyen akkor is, amikor a berendezést rögzítették a járműre.
3.5. Az energiaelnyelő típusú berendezések esetében »A« betűvel, a levegő/víz szétválasztó típusú berendezések esetében »S« betűvel kell a jóváhagyási jelet kiegészíteni a 2007/46/EK irányelv VII. melléklete függelékének 1.3. pontjával összhangban."
b) Az 1-4. függelék helyébe a következő szöveg lép:
"1. függelék
Az energiaelnyelő típusú, felcsapódó víz elleni védőberendezésekkel kapcsolatos vizsgálatok
1. Alapelv
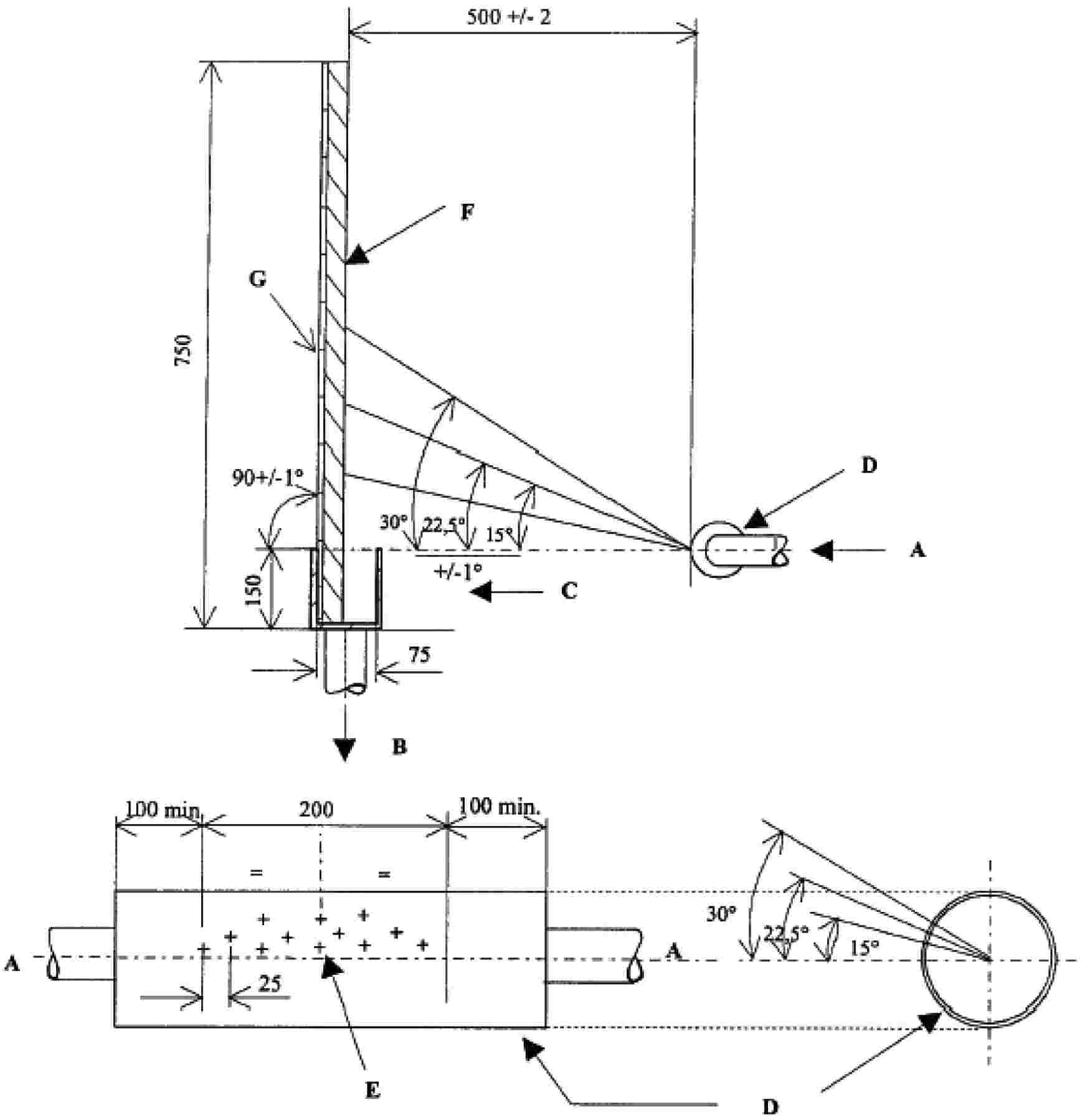
E vizsgálat célja annak számszerűsítése, hogy egy berendezés milyen mértékben képes visszatartani a sugársorozatban ráirányított vizet. A vizsgálati berendezés célja azoknak a körülményeknek a reprodukálása, amelyek között a berendezésnek valamely járműre történő felszerelését követően működnie kell, legalábbis ami az abroncs futófelülete által a talajról felhordott víz mennyiségét és sebességét illeti.
2. Berendezések
A vizsgálati berendezések leírását lásd az V. melléklet 8. ábráján.
3. Vizsgálati körülmények
3.1. A vizsgálatokat zárt helyiségben, légmozgás nélküli környezetben kell elvégezni.
3.2. A környezeti hőmérséklet és a próbadarabok hőmérséklete 21 (± 3) °C legyen.
3.3. Deionizált vizet kell használni.
3.4. A próbadarabokat nedvesítéssel kell mindegyik vizsgálathoz előkészíteni.
4. Eljárás
4.1. A vizsgálandó eszköznek egy 500 (+0/-5) mm széles és 750 mm hosszú mintáját a vizsgálóberendezés függőleges vázához kell erősíteni, meggyőződve arról, hogy a minta jól fekszik a vízgyűjtő határfelületei között, továbbá hogy a vizet semmilyen akadály nem tudja eltéríteni sem a berendezésen történő becsapódás előtt, sem azután.
4.2. A víz áramlási sebességét 0,675 (+/-0,01) l/s értékre kell beállítani, és 500 (+/-2) mm-es vízszintes távolságból rá kell irányítani a mintára legalább 90 liter, de legfeljebb 120 liter vizet (V. melléklet, 8. ábra).
4.3. Hagyni kell, hogy a víz a mintáról a gyűjtőbe csepegjen. Ki kell számítani az összegyűjtött és a szétfröccsent víz mennyisége közötti különbséget (százalékban).
4.4. A vizsgálatot ötször kell elvégezni a mintán a 4.2. és a 4.3. pontnak megfelelően. Meg kell határozni az öt vizsgálatból álló sorozat átlagos százalékos arányát.
5. Eredmények
5.1. A 4.4. pontban kiszámított átlagos százalékos aránynak legalább 70 %-nak kell lennie.
5.2. Amennyiben az öt vizsgálatból álló sorozatban az összegyűjtött víz legnagyobb és legkisebb százalékos aránya több mint 5 %-kal eltér az átlagos százaléktól, akkor az öt vizsgálatból álló sorozatot meg kell ismételni.
Amennyiben a második öt vizsgálatból álló sorozatban a visszanyert víz legnagyobb és legkisebb százalékos aránya ismét több mint 5 %-kal eltér az átlagos százaléktól, és ha az alsó érték nem felel meg az 5.1. pont követelményeinek, akkor a típusjóváhagyás nem adható meg.
5.3. Ellenőrizni kell, hogy a berendezés függőleges helyzete befolyásolja-e a kapott eredményeket. Ha igen, akkor a 4.1-4.4. pontban leírt eljárást meg kell ismételni azokban a pozíciókban, amelyek az összegyűjtött víz legnagyobb és legkisebb százalékos arányát eredményezték; az 5.2. pontban foglalt követelmények továbbra is érvényben maradnak.
Az egyes eredmények középértékét kell ezután venni az átlagos százalékos arány megadásához. Az átlagos százalékos aránynak legalább 70-nek kell lennie.
2. függelék
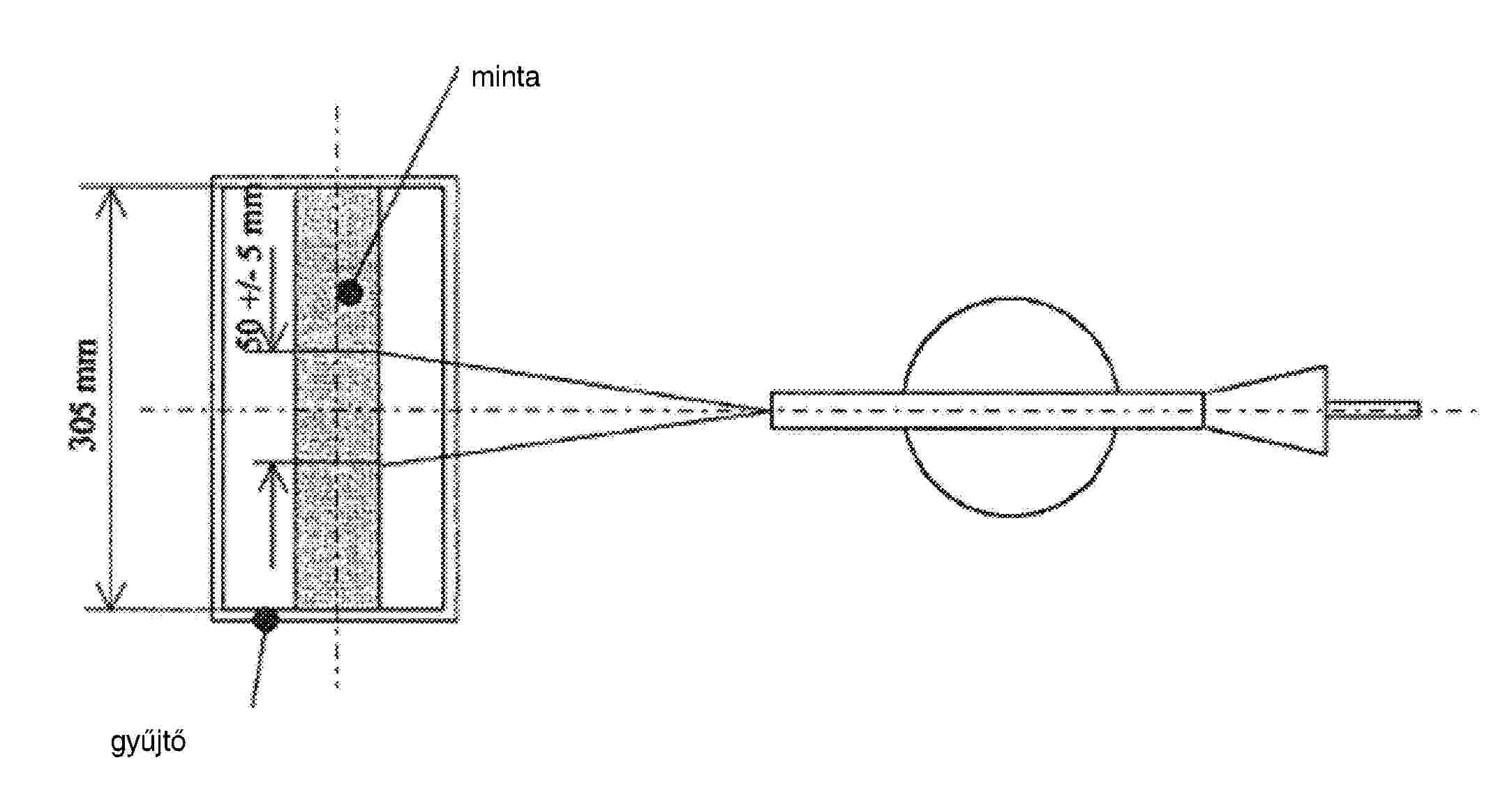
A levegő/víz szétválasztó típusú, felcsapódó víz elleni védőberendezésekkel kapcsolatos vizsgálatok
1. Alapelv
A vizsgálat célja valamely vízvisszatartásra készült porózus anyag hatékonyságának a meghatározása, amelynek vízzel való bepermetezése egy túlnyomásos levegő/víz porlasztó segítségével történik.
A vizsgálóberendezésnek azokat a körülményeket kell szimulálnia, amelyek között a berendezésnek valamely járműre történő rögzítését követően kell működnie, legalábbis ami az abroncs futófelülete által a talajról felhordott víz mennyiségét és sebességét illeti.
2. Berendezés
A vizsgálati berendezés leírását lásd az V. melléklet 9. ábráján.
3. Vizsgálati körülmények
3.1. A vizsgálatokat zárt helyiségben, légmozgás nélküli környezetben kell elvégezni.
3.2. A környezeti hőmérséklet és a próbadarabok hőmérséklete 21 (± 3) °C legyen.
3.3. Deionizált vizet kell használni.
3.4. A próbadarabokat nedvesítéssel kell mindegyik vizsgálathoz előkészíteni.
4. Eljárás
4.1. Egy 305 × 100 mm méretű mintát függőlegesen a vizsgálóberendezéshez kell erősíteni, majd meg kell győződni arról, hogy a minta és a felső ívelt lemez között nincs rés, valamint a tálca megfelelő helyzetben van. A porlasztótartályt meg kell tölteni 1 ± 0,005 liter vízzel, és az ábrán látható módon kell elhelyezni.
4.2. A porlasztót a következők szerint kell beállítani:
nyomás (a porlasztónál): 5 bar + 10 % / - 0 %
áramlási sebesség: 1 liter/perc ± 5 mp
porlasztás: körkörös, 50 ± 5 mm átmérőjű, a mintától 200 ± 5 mm-re, 5 ± 0,1 mm átmérőjű fúvókával.
4.3. Porlasztani kell mindaddig, amíg eloszlik a vízköd, és fel kell jegyezni az eltelt időt. Hagyni kell, hogy a víz 60 másodpercen keresztül a mintából a tálcára folyjon, majd meg kell mérni az összegyűjtött víz mennyiségét. Meg kell mérni a porlasztótartályban maradt víz mennyiségét. Ki kell számítani az összegyűjtött és a porlasztott víz mennyiségi különbséget (százalékban).
4.4. A vizsgálatot ötször kell elvégezni, és meg kell határozni az összegyűjtött mennyiség átlagos százalékos arányát. Minden egyes vizsgálat előtt ellenőrizni kell a tálca, a porlasztótartály, valamint a mérőedény száraz voltát.
5. Eredmények
5.1. A 4.4. pontban kiszámított átlagos százalékos aránynak legalább 85 %-nak kell lennie.
5.2. Amennyiben egy öt vizsgálatból álló sorozatban az összegyűjtött víz legnagyobb és legkisebb százalékos aránya több mint 5 %-kal eltér az átlagértéktől, az öt vizsgálatból álló sorozatot meg kell ismételni. Amenynyiben az összegyűjtött víz legnagyobb és legkisebb százalékos aránya a második öt vizsgálatból álló sorozatban is több mint 5 %-kal eltér az átlagos értéktől, és amennyiben az alsó érték nem felel meg az 5.1. pont követelményeinek, úgy a típusjóváhagyás nem adható meg.
5.3. Amennyiben az eszköz függőleges helyzete befolyásolja a kapott eredményeket, úgy a 4.1-4.4. pontban leírt eljárást olyan pozíciókban kell megismételni, amelyek az összegyűjtött víz legnagyobb és legkisebb százalékos arányát eredményezik; az 5.2. pont követelményei továbbra is érvényben maradnak.
Az egyes vizsgálatok eredménye szempontjából az 5.1. pont követelményeit kell érvényesnek tekinteni.
3. függelék
... számú adatközlő lap a felcsapódó víz elleni védőberendezések EK-alkatrész-típusjóváhagyásához (91/226/EGK irányelv)
Az alábbi adatokat, szükség szerint, három példányban, tartalomjegyzékkel együtt kell benyújtani. A rajzokat megfelelő méretben, kellő részletességgel, A4-es formátumban vagy A4-es formátumra összehajtogatva kell beadni. Amennyiben vannak fényképek, azoknak megfelelően részletesnek kell lenniük.
Ha a rendszerek, alkatrészek vagy önálló műszaki egységek elektronikus vezérléssel működnek, ezek teljesítményére vonatkozóan is kell adatokat szolgáltatni.
0. ÁLTALÁNOS
0.1. Gyártmány (a gyártó kereskedelmi neve):
0.2. Típus:
0.5. A gyártó neve és címe:
0.7. Alkatrészek és önálló műszaki egységek esetében az EK-típus-jóváhagyási jel helye és rögzítésének módja:
0.8. Az összeszerelő üzem(ek) címe(i):
1. A BERENDEZÉS LEÍRÁSA
1.1. A felcsapódó víz elleni védőberendezés műszaki leírása, feltüntetve a működési alapelvet és az elvégzendő vizsgálatot:
1.2. Felhasznált anyagok:
1.3. Kellő részletességű és megfelelő léptékű rajz(ok) az azonosítás lehetővé tétele céljából. A rajznak jeleznie kell az EGK-alkatrész-típusjóváhagyási jel elhelyezésére előirányzott helyet:
Dátum
Aláírás
4. függelék

Kiegészítés
a felcsapódó víz elleni védőberendezéseket érintő ... számú EK-típusbizonyítványhoz, a legutoljára a 2010/19/EU irányelvvel módosított 91/226/EGK irányelvre tekintettel
1. Kiegészítő információk
1.1. A berendezés működési elve: energiaelnyelő/levegő/víz szétválasztó ( 4 ):
1.2. A felcsapódó víz elleni védőberendezések jellemzői (rövid leírás, védjegy vagy név, szám(ok)):
5. Megjegyzések (adott esetben):
4. A 91/226/EGK irányelv III. melléklete a következőképpen módosul:
a) A 0.1. és a 0.2. pont helyébe a következő szöveg lép:
"HATÁLY
0.1. A 2007/46/EK irányelv II. mellékletében meghatározottak szerinti N és O kategóriájú járműveket - a terepjáró járművek kivételével - a jelen mellékletben foglalt követelményeknek megfelelően kell kialakítani, és/vagy a felcsapódó víz elleni védőberendezésekkel felszerelni. Az alvázas/vezetőfülkés járművek esetében ezek a követelmények csak a vezetőfülke által takart kerekekre alkalmazhatók.
A 7,5 tonna legnagyobb megengedett tömeget meghaladó N1 és N2 kategóriájú járművek esetében a gyártó kérésére a 78/549/EGK irányelv ( 5 ) követelményei alkalmazhatók ezen irányelv követelményeinek alternatívájaként.
0.2. Az I. melléklet 4. pontjában megállapított, felcsapódó víz elleni védőberendezésekre vonatkozó jelen melléklet követelményei nem kötelezőek a 7,5 tonna legnagyobb megengedett tömeget meg nem haladó N, O1 és O2 kategóriájú járművek, az alvázas/vezetőfülkés járművek, a felépítmény nélküli járművek vagy az olyan járművek esetében, ahol a felcsapódó víz elleni védőberendezések jelenléte összeegyeztethetetlen a járművek felhasználásával. Ha azonban az ilyen járműveket mégis ellátják ilyen védőberendezésekkel, akkor azoknak teljesíteniük kell az ebben az irányelvben foglalt követelményeket.
b) A 4. pont helyébe a következő szöveg lép:
"4. A külső sárvédő perem helyzete
A külső abroncsfal hosszirányú érintő síkja - eltekintve a gumiabroncs útfelület-közeli kiboltosodásától - és a sárvédő perem belső széle közötti »c« távolság 100 mm-nél nem lehet nagyobb (V. melléklet, 1a. és 1b. ábra)."
c) A 4.1. és 4.2. pontot el kell hagyni.
d) A 7.1.1. pont helyébe a következő szöveg lép:
"7.1.1. A sárvédőknek a közvetlenül az abroncs vagy abroncsok fölötti, előtti és mögötti zónát a következőképpen kell takarniuk:
a) szólótengely vagy tengelycsoportok esetében az első szélnek (C) úgy kell előrenyúlnia, hogy elérje azt az O-Z vonalat, ahol a θ (téta) = a vízszintes sík fölött legfeljebb 45°.
A leghátsó szélnek (V. melléklet, 2. ábra) oly módon kell lefelé nyúlnia, hogy legfeljebb 100 mm-rel legyen a kerék középpontján keresztülhaladó vízszintes vonal fölött;
b) tengelycsoportok esetében a θ szög csak a legelső tengelyre vonatkozik, és a leghátsó szél magasságával kapcsolatos követelmény csak a leghátsó tengelyre vonatkozik;
c) a sárvédő teljes »q« szélességének (V. melléklet, 1a. ábra) legalább olyannak kell lennie, hogy elfedje az abroncs »b« vagy - ikerkerekek esetén - két abroncs »t« teljes szélességét, figyelembe véve az abroncs/kerék egységnek a gyártó által meghatározott határhelyzeteit. A »b« és »t« méreteket a kerékagy magasságában kell mérni, figyelmen kívül hagyva az abroncsfalakon található összes jelzést, bordát, védőszalagot stb."
e) A 7.1.3. pont helyébe a következő szöveg lép:
"7.1.3. Ha a felszerelt sárvédők több alkatrészből állnak, akkor azokon nem lehet semmilyen olyan nyílás, amelyen a jármű mozgása közben vízpermet hatolhat át. Ez a követelmény akkor tekinthető teljesítettnek, ha a jármű terhelt vagy terheletlen állapotában a kerék középpontjából kifelé az abroncs futófelületére és a sárvédők által takart tartományon belül áramló radiális vízsugár mindig nekiütközik a felcsapódó víz elleni védőberendezés egy részének."
f) A 7.2.1., 7.2.2. és 7.2.3. pont helyébe a következő szöveg lép:
"7.2.1. Egyes tengelyek esetében a külső sárvédő perem alsó széle nem helyezkedhet el az alábbi távolságokon és sugarakon kívül, a kerék középpontjától mérve, a legalsó szélső pontok kivételével, amelyek lekerekítettek lehetnek (V. melléklet, 2. ábra).
Pneumatikus felfüggesztés:
SZÖVEG HIÁNYZIK |

Kép #1

Kép #2
Mechanikus felfüggesztés
a) általános eset } Rv ≤ 1,8 R
b) nem kormányzott kerekek olyan járművek esetében, amelyek műszakilag megengedett legnagyobb tömege több mint 7,5 t } Rv ≤ 1,5 R
ahol R a járműre szerelt abroncs sugara, Rv pedig az a sugárként kifejezett távolság, amelynél a külső sárvédő perem alsó széle elhelyezkedik.
7.2.2. Tengelycsoportok esetében a 7.2.1. pontban meghatározott követelmények nem vonatkoznak az első és az utolsó tengely középpontján áthaladó függőleges keresztirányú síkok közötti részre, ahol a külső sárvédő peremek egyenesek lehetnek a felcsapódó víz elleni védőberendezés folytonosságának biztosítása érdekében (V. melléklet, 4. ábra).
7.2.3. A felcsapódó víz elleni védőberendezés legfelső és legalsó pontja (a sárvédő és a külső sárvédő perem) közötti távolság - a sárvédőre merőleges bármelyik keresztmetszetben mérve (lásd az V. melléklet 1b. és 2. ábráját) - a kerék középpontján vagy tengelycsoportok esetében az első kerék középpontján keresztülhaladó függőleges vonal mögötti egyik pontnál sem lehet 45 mm-nél kevesebb. Ez a méret e vonal előtt fokozatosan csökkenthető."
g) A szöveg az alábbi 7.2.5. és 7.2.6. ponttal egészül ki:
"7.2.5. A 7.2.3. és 7.2.4. pont követelményeit nem szükséges helyileg figyelembe venni, ha a sárvédő perem egymáshoz képest elmozduló több különböző elemből tevődik össze.
7.2.6. Az (1978. évi ISO 612 szabvány 6.20. pontjában meghatározott) alacsony alvázú félpótkocsikhoz előirányzott vontatók, nevezetesen azok, amelyek az útfelülethez viszonyítva legfeljebb 1 100 mm kapcsolócsap-magassággal rendelkezhetnek, olyan módon tervezhetők meg, hogy mentesüljenek a 7.1.1.a., 7.1.3. és 7.2.4. pont követelményei alól. Ebben a tekintetben a sárvédőknek és a sárvédő peremeknek nem szükséges takarniuk a hátsó tengelyek abroncsai fölött közvetlenül elhelyezkedő területet, amikor ezeket a vontatókat félpótkocsihoz csatlakoztatják azért, hogy a felcsapódó víz elleni védőberendezés ne váljon hasznavehetetlenné. Az ilyen járművek sárvédői és sárvédő peremei azonban feleljenek meg a fenti pontok követelményeinek azokban a szakaszokban, amelyek 60°-nál nagyobb szögben vannak a kerék középpontján áthaladó függőleges vonaltól, ezen abroncsok előtt és mögött.
Ezért ezeket a járműveket úgy kell megtervezni, hogy megfeleljenek az első bekezdésben meghatározott követelményeknek, amikor félpótkocsi nélkül közlekednek.
E követelmények teljesíthetősége érdekében a sárvédők és a sárvédő peremek például egy levehető résszel rendelkezhetnek."
h) A 7.3.1. pont helyébe a következő szöveg lép:
"7.3.1. A sárfogó szélességének a 7.1.1. c) pontban megadott »q«-ra vonatkozó követelményeknek kell megfelelnie, kivéve, amikor a sárfogó a sárvédőkön belül van, amely esetben a sárfogó szélességének legalább az abroncs futófelületének szélességével kell megegyeznie.
A sárfogók sárvédő alatt elhelyezett részének szélessége feleljen meg az ebben a bekezdésben foglalt feltételnek, mindkét oldalon 10 mm-es tűréssel."
i) A 7.3.3. pont helyébe a következő szöveg lép:
"7.3.3. Az alsó szél legnagyobb magassága nem haladhatja meg a 200 mm-t (V. melléklet, 3. ábra)
Ez a távolság 300 mm-re emelkedik annak az utolsó tengelynek az esetében, amelynél a külső sárvédő perem alsó szélének Rv radiális távolsága nem nagyobb, mint az ugyanarra a tengelyre felszerelt abroncsok sugárméretei.
A sárfogó alsó szélének útfelülettől mért legnagyobb magassága 300 mm-re emelhető, ha azt a gyártó műszakilag megfelelőnek tartja a felfüggesztési jellemzők figyelembevételével."
j) A 7.3.5. pontban a "4b. ábrára" történő hivatkozás helyébe az "V. melléklet 4. ábrájára" történő hivatkozás lép.
k) A 9.3.2.1. pont helyébe a következő szöveg lép:
"9.3.2.1. A felcsapódó víz elleni védőberendezés alsó széle legfeljebb 200 mm-rel lehet a talaj fölött.
A sárfogó alsó szélének útfelülettől mért legnagyobb magassága 300 mm-re emelhető, ha azt a gyártó műszakilag megfelelőnek tartja a felfüggesztési jellemzők figyelembevételével.";
l) A szöveg az alábbi 10. ponttal egészül ki:
"10. Tengelycsoport esetében egy tengely felcsapódó víz elleni védőberendezésének, amely hátrafelé nem a legtávolabbi, nem kell feltétlenül elfednie az abroncs futófelületének teljes szélességét, ha helyileg lehetőség adódik a felcsapódó víz elleni védőberendezés és a tengelyek szerkezete, vagy az alváz felfüggesztése közötti kölcsönhatásra."
m) A függeléket el kell hagyni.
n) A szöveg az alábbi 1. és 2. függelékkel egészül ki:
"1. függelék
... SZÁMÚ ADATKÖZLŐ LAP A JÁRMŰVEK EK-TÍPUSJÓVÁHAGYÁSÁVAL KAPCSOLATBAN, A FELCSAPÓDÓ VÍZ ELLENI VÉDŐRENDSZEREK RÖGZÍTÉSÉRE VONATKOZÓAN (A LEGUTOLJÁRA A 2010/19/EU IRÁNYELVVEL MÓDOSÍTOTT 91/226/EGK IRÁNYELV) ( 6 )
(A magyarázó megjegyzéseket lásd a 2007/46/EK irányelv I. mellékletében.)
Az alábbi adatokat, szükség szerint, három példányban, tartalomjegyzékkel együtt kell benyújtani. A rajzokat megfelelő méretben, kellő részletességgel, A4-es formátumban vagy A4-es formátumra összehajtogatva kell beadni. Amennyiben vannak fényképek, azoknak megfelelően részletesnek kell lenniük.
Ha a rendszerek, alkatrészek vagy önálló műszaki egységek elektronikus vezérléssel működnek, ezek teljesítményére vonatkozóan is kell adatokat szolgáltatni.
0. ÁLTALÁNOS
0.1. Gyártmány (a gyártó kereskedelmi neve):
0.2. Típus:
0.2.1. Kereskedelmi név/nevek (ha vannak):
0.3. Típusazonosító ismertetőjelek, amennyiben azok fel vannak tüntetve a járművön (b)
0.3.1. Az ismertetőjelek feltüntetési helye:
0.4. Jármű-kategória (c):
0.5. A gyártó neve és címe:
0.8. Az összeszerelő üzem(ek) címe(i):
1. A JÁRMŰ ÁLTALÁNOS MŰSZAKI JELLEMZŐI
1.1. Egy reprezentatív jármű fényképei és/vagy rajzai:
1.3. Tengelyek és kerekek száma:
1.3.1. Két kerékkel ellátott tengelyek száma és helyzete:
1.3.2. Kormányzott tengelyek száma és helyzete
2. TÖMEGEK ÉS MÉRETEK (f) (g)
(kg-ban és mm-ben) (adott esetben utalva a rajzokra)
2.1. Tengelytáv(ok) (teljes terhelésnél) (g) (l):
2.6. Menetkész tömeg (minden változatra a legnagyobb és a legkisebb értékkel)
A jármű tömege felépítménnyel együtt, a nem az M1 kategóriába tartozó vontató esetén - amennyiben azt a gyártó beszerelte - csatlakozóberendezéssel együtt, menetkész állapotban, vagy az alváz tömege, illetve az alváz tömege vezetőfülkével együtt, felépítmény és/vagy csatlakozóberendezés nélkül, amennyiben a felépítményt vagy a csatlakozóberendezést a gyártó nem szerelte be (ideértve a folyadékokat, szerszámokat, pótkereket, ha van, valamint a járművezetőt, autóbuszok esetén a kísérő személyt, amennyiben van kísérőülés a járműben (h) (minden változatra a legnagyobb és a legkisebb értékkel):
2.6.1. A fenti tömeg tengelyek közötti megoszlása, és félpótkocsi vagy középtengelyes pótkocsi esetén a terhelés az összekapcsolási ponton (minden változatra a legnagyobb és a legkisebb értékkel):
2.8. A gyártó által megadott, műszakilag megengedett legnagyobb össztömeg (i) (3):
9. FELÉPÍTMÉNY
9.20. Felcsapódó víz elleni védőrendszer
9.20.0. Felszerelve: igen/nem/nem teljes (1)
9.20.1. A jármű rövid leírása, tekintettel a felcsapódó víz elleni védelemre és annak alkotóelemeire:
9.20.2. A felcsapódó víz elleni védőrendszer részletes rajza és a járművön való elhelyezkedése, mutatva a 91/226/EGK irányelv V. mellékletének ábráin meghatározott méreteket, és figyelembe véve az abroncs/kerék szélsőséges kombinációit:
9.20.3. A felcsapódó víz elleni védőberendezés(ek) jóváhagyási száma(i), ha van(nak):
Dátum, iktatás
2. függelék

Kiegészítés
A JÁRMŰVEK TÍPUSJÓVÁHAGYÁSÁT ÉRINTŐ ... SZÁMÚ EK-TÍPUSBIZONYÍTVÁNYHOZ, A LEGUTOLJÁRA A 2010/19/EU IRÁNYELVVEL MÓDOSÍTOTT 91/226/EGK IRÁNYELVRE TEKINTETTEL
1. Kiegészítő információk
1.1. A felcsapódó víz elleni védőberendezések jellemzői (típus, rövid leírás, védjegy vagy név, alkatrész-típusjóváhagyási szám(ok)):
5. Megjegyzések (ha vannak):"
II. MELLÉKLET
"V. MELLÉKLET
ÁBRÁK
1a. ábra
Az (a) sárvédő (q) szélessége, valamint a (j) sárvédő perem helyzete

Megjegyzés: A számok a III. melléklet vonatkozó pontjaira utalnak.
1b. ábra
Példa a külső sárvédő perem mérésére

2. ábra
A sárvédő és a külső sárvédő perem méretei

Megjegyzés:
1. A számok a III. melléklet vonatkozó pontjaira utalnak.
2. T : a sárvédő kiterjedése.
3. ábra
A sárvédő és a sárfogó helyzete

Megjegyzés: A számok a III. melléklet vonatkozó pontjaira utalnak.
4. ábra
A felcsapódó víz elleni (energiaelnyelő típusú) védőberendezéseket magában foglaló, felcsapódó víz elleni védőrendszerek (sárvédő, sárfogó, külső sárvédő perem) összeállítását bemutató ábra, tengelycsoport esetében

5. ábra
A felcsapódó víz elleni (energiaelnyelő típusú) védőberendezéseket magában foglaló, felcsapódó víz elleni védőrendszer összeállítását bemutató ábra, nem kormányzott vagy saját kormányzású kerekekkel ellátott tengelyek esetében
(III. melléklet - 6.2. és 8. pont)

a) Tengelycsoport, ahol az abroncsok közötti távolság kisebb, mint 250 mm

b) Egyes tengelyek vagy tengelycsoport, ahol az abroncsok közötti távolság legalább 250 mm
6. ábra
Levegő/víz szétválasztó típusú felcsapódó víz elleni védőberendezésekkel felszerelt felcsapódó víz elleni védőrendszer összeállítását bemutató ábra, kormányzott, saját kormányzású vagy nem kormányzott kerekekkel ellátott tengelyek esetében

Megjegyzés:
1. A számok a III. melléklet vonatkozó pontjaira utalnak.
2. T : a sárvédő kiterjedése.
7. ábra
A felcsapódó víz elleni védőberendezéseket (sárvédő, sárfogó, külső sárvédő perem) magában foglaló, felcsapódó víz elleni védőrendszer összeállítását bemutató ábra, tengelycsoport esetében, ahol az abroncsok közötti távolság nem haladja meg a 300 mm-t

Megjegyzés:
1. A számok a III. melléklet vonatkozó pontjaira utalnak.
2. T : a sárvédő kiterjedése.
8. ábra
Vizsgálóberendezés energiaelnyelő típusú, felcsapódó víz elleni védőberendezésekhez
(II. melléklet, 1. függelék)

Megjegyzés:
A = vízellátás szivattyúból
B = vízáramlás a gyűjtőtartály felé
C = az 500 (+ 5/- 0) mm hosszú és 75 (+ 2/- 0) mm széles belső méretű gyűjtő
D = rozsdamentes acélcső, külső átmérő 54 mm, falvastagság 1,2 (+/- 0,12) mm, belső és külső felületi érdesség (Ra) 0,4 és 0,8 μm között
E = 12 db hengeres, sugárszerűen fúrt lyuk, sorjamentes szögletes széllel. A cső belsején és külsején mért átmérőjük: 1,68 (+ 0,010/- 0) mm.
F = 500 (+ 0/- 5) mm széles vizsgálandó minta
G = szilárd sima lap
Valamennyi lineáris méret mm-ben van feltüntetve.
9. ábra
Vizsgálóberendezés levegő/víz szétválasztó típusú, felcsapódó víz elleni védőberendezésekhez
(II. melléklet, 2. függelék)


"
( 1 ) HL L 263., 2007.10.9., 1. o.
( 2 ) HL L 103., 1991.4.23., 5. o.
( 3 ) HL L 263., 2007.10.9., 1. o."
( 4 ) A nem kívánt rész törlendő."
( 5 ) HL L 168., 1978.6.26., 45. o."
( 6 ) Az N1 kategóriájú járművek esetében, illetve a műszakilag a 7,5 tonna legnagyobb megengedett tömeget meg nem haladó, a jelen irányelv III. mellékletének 0.1. pontjában foglalt eltérést használó N2 kategóriájú járművek esetében a 78/549/EGK irányelv II. mellékletében meghatározott adatközlő lap is használható.
Lábjegyzetek:
[1] A dokumentum eredetije megtekinthető CELEX: 32010L0019 - https://eur-lex.europa.eu/legal-content/HU/ALL/?uri=CELEX:32010L0019&locale=hu Utolsó elérhető, magyar nyelvű konszolidált változat CELEX: 02010L0019-20110716 - https://eur-lex.europa.eu/legal-content/HU/ALL/?uri=CELEX:02010L0019-20110716&locale=hu