32013L0008[1]
A Bizottság 2013/8/EU irányelve ( 2013. február 26. ) a kerekes mezőgazdasági vagy erdészeti traktorok egyes alkatrészeiről és jellemzőiről szóló 2009/144/EK európai parlamenti és tanácsi irányelvnek a műszaki rendelkezései kiigazítása céljából való módosításáról
A BIZOTTSÁG 2013/8/EU IRÁNYELVE
(2013. február 26.)
a kerekes mezőgazdasági vagy erdészeti traktorok egyes alkatrészeiről és jellemzőiről szóló 2009/144/EK európai parlamenti és tanácsi irányelvnek a műszaki rendelkezései kiigazítása céljából való módosításáról
(EGT-vonatkozású szöveg)
AZ EURÓPAI BIZOTTSÁG,
tekintettel az Európai Unió működéséről szóló szerződésre,
tekintettel a mezőgazdasági vagy erdészeti traktorok, azok pótkocsijainak és cserélhető vontatott munkagépeinek, beleértve ezek rendszereit is, továbbá alkatrészeinek és önálló műszaki egységeinek típusjóváhagyásáról, valamint a 74/150/EGK irányelv hatályon kívül helyezéséről szóló, 2003. május 26-i 2003/37/EK európai parlamenti és tanácsi irányelvre (1) és különösen annak 19. cikke (1) bekezdésének b) pontjára,
mivel:
(1) A 2009/144/EK európai parlamenti és tanácsi irányelv (2) IV. melléklete általános rendelkezéseket és követelményeket állapít meg a traktorok és vontatmányok közötti mechanikus kapcsolókra, valamint a kapcsolási pontra ható függőleges terhelésre vonatkozóan.
(2) Az elmúlt években újfajta kapcsolók kerültek forgalomba az Unióban, amelyek nemzeti jóváhagyása jelenleg folyik az ISO-szabványok alapján. Ezek az elfordulásgátló vonókengyelek (ISO 6489-5:2011), a vonógömbök (ISO 24347:2005) és a vonócsapok (ISO 6489-4:2004).
(3) A kialakult piaci helyzetet figyelembe véve az esetleges biztonsági és gazdasági hatások minimalizálása érdekében, valamint azért, hogy az említett kapcsolók EK-típusjóváhagyást kaphassanak, az érintett kapcsolókat és a megfelelő ISO-szabványokat fel kell venni a 2009/144/EK irányelvbe.
(4) A 2009/144/EK irányelvet ezért ennek megfelelően módosítani kell.
(5) Az ezen irányelvben foglalt rendelkezések összhangban vannak a 2003/37/EK irányelv 20. cikke (1) bekezdésének értelmében létrehozott bizottság véleményével,
ELFOGADTA EZT AZ IRÁNYELVET:
1. cikk
A 2009/144/EK irányelv IV. melléklete ezen irányelv melléklete szerint módosul.
2. cikk
(1) A tagállamok legkésőbb 2014. április 1-jéig elfogadják és kihirdetik azokat a törvényi, rendeleti és közigazgatási rendelkezéseket, amelyek szükségesek ahhoz, hogy ennek az irányelvnek megfeleljenek. E rendelkezések szövegét haladéktalanul eljuttatják a Bizottsághoz.
Amikor a tagállamok elfogadják ezeket a rendelkezéseket, azokban hivatkozni kell erre az irányelvre, vagy azokhoz hivatalos kihirdetésük alkalmával ilyen hivatkozást kell fűzni. A hivatkozás módját a tagállamok határozzák meg.
(2) A tagállamok közlik a Bizottsággal nemzeti joguk azon főbb rendelkezéseinek szövegét, amelyeket az ezen irányelv által szabályozott területen fogadnak el.
3. cikk
Ez az irányelv az Európai Unió Hivatalos Lapjában való kihirdetését követő huszadik napon lép hatályba.
4. cikk
Ennek az irányelvnek a tagállamok a címzettjei.
Kelt Brüsszelben, 2013. február 26-án.
a Bizottság részéről
az elnök
José Manuel BARROSO
(1) HL L 171., 2003.7.9., 1. o.
(2) HL L 27., 2010.1.30., 33. o.
MELLÉKLET
A 2009/144/EK irányelv IV. melléklete a következőképpen módosul:
1. Az 1.1. pont helyébe a következő szöveg lép:
1.1. "Mechanikus kapcsoló a traktor és a vontatmány között«: olyan alkatrészek, amelyeket a traktorra és a vontatmányra azért szerelnek fel, hogy mechanikus kapcsolatot hozzanak létre a két járműegység között.
Ezen irányelv csak a traktorok mechanikus kapcsolóinak alkatrészeire vonatkozik.
A traktorok mechanikus kapcsolói között a következő alaptípusok különböztethetők meg:
- vonókengyel (lásd az 1. függelék 1. és 2. ábráját),
- elfordulásgátló vonókengyel (lásd az 1. függelék 1d. ábráját),
- vonóhorog (lásd az ISO 6489-1:2001 szabvány »Kapcsolószerkezet méretei« című 1. ábráját),
- traktorvonórúd (lásd az 1. függelék 3. ábráját),
- vonógömb (lásd az 1. függelék 4. ábráját),
- vonócsap (lásd az 1. függelék 5. ábráját)."
2. A 2.7. pont helyébe a következő szöveg lép:
2.7. A befogópofának legalább 90°-os szögben lehetővé kell tennie a vonógyűrűk axiális elfordulását a kapcsolószerkezet hosszanti tengelye körül jobbra vagy balra, 30-150 Nm közötti, rögzített fékezési nyomatékkal.
A vonóhorognak, az elfordulásgátló vonókengyelnek, a vonógömbnek és a vonócsapnak legalább 20°-os szögben lehetővé kell tennie a vonórúdgyűrű axiális elfordulását a kapcsoló hosszanti tengelye körül jobbra vagy balra."
3. A 3.1. pont helyébe a következő szöveg lép:
"3.1. Méretek
A traktorok mechanikus kapcsolószerkezeteinek meg kell felelniük az 1. függelék 1-5. ábrája és 1. táblázata szerinti méreteknek."
4. A 3.3.1. pont helyébe a következő szöveg lép:
"3.3.1. A legnagyobb statikus függőleges terhelést a gyártó határozza meg. A terhelés azonban nem haladhatja meg a 3 000 kg-ot, a vonógömböt kivéve, amelynek esetében a megengedett legnagyobb terhelés 4 000 kg."
5. A 3.4.1. pont a következő mondattal egészül ki:
"Az mt, mlt, ma és mla tömegek kg-ban vannak megadva."
6. A 4.2. pont helyébe a következő szöveg lép:
4.2. A mechanikus kapcsoló valamennyi típusa esetében a kérelemhez csatolni kell az alábbi dokumentumokat és adatokat:
- a kapcsolókészülék méretarányos rajzai (három példányban). E rajzokon különösen fontos részletesen feltüntetni az előírt méreteket, valamint megadni a készülék szerelési méreteit,
- rövid műszaki leírás a kapcsolókészülékről, amely meghatározza a konstrukció típusát és a felhasznált anyagot,
- nyilatkozat a 2. függelékben a dinamikus vizsgálathoz megállapított D értékéről vagy a 3. függelékben a statikus vizsgálathoz megállapított, a pótkocsi műszakilag megengedhető legnagyobb terhelt tömege másfélszeresének megfelelő T (tonnában megadott vontatható tömeg) értékéről, valamint a kapcsolási pontra ható (kg-ban megadott) S legnagyobb függőleges terhelésről,
- egy vagy több mintakészülék, a műszaki szolgálat igénye szerint."
7. Az 5.1.3. és 5.1.4. pont helyébe a következő szöveg lép:
"5.1.3. ha a szilárdság ellenőrzése a 2. függelék szerint történik (dinamikus vizsgálat):
D megengedett értéke (kN-ban),
S statikus függőleges terhelés értéke (kg-ban);
5.1.4. ha a szilárdság ellenőrzése a 3. függelék szerint történik (statikus vizsgálat):
a T vontatható tömeg (tonnában) és a kapcsolási pontra ható S függőleges terhelés (kg-ban)."
8. A 6. pont helyébe a következő szöveg lép:
"6. HASZNÁLATI UTASÍTÁS
Minden mechanikus kapcsolókészülékhez mellékelni kell a gyártó használati utasítását. Ezen utasításnak tartalmaznia kell az EK-alkatrész-típusjóváhagyás számát, valamint a kapcsolón elvégzett vizsgálattól függően a D (kN) vagy T (tonna) értékét."
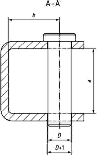
9. Az 1. függelék a következőképpen módosul:
a) a függelék az 1c. ábra után a következő 1d. ábrával és 1. táblázattal egészül ki:
"1d. ábra
Elfordulásgátló vonókengyel (az ISO 6489-5:2011 szabvány szerint)
[Kép #1] | [Kép #2] |

Kép #1

Kép #2
1. táblázat
Pótkocsik és munkagépek vonókengyeleinek alakja és mérete
Függőleges terhelés S kg | D értéke D kN | Alak | Méret mm | ||
D ±0,5 | a min. | b min. | |||
≤ 1 000 | ≤ 35 | w | 18 | 50 | 40 |
≤ 2 000 | ≤ 90 | x | 28 | 70 | 55 |
≤ 3 000 | ≤ 120 | y | 43 | 100 | 80 |
≤ 3 000 | ≤ 120 | z | 50 | 110 | 95” |
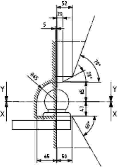
b) a függelék a következő 4. és 5. ábrával egészül ki:
"4. ábra
Vonógömb (az ISO 24347:2005 szabvány szerint)
[Kép #3] | [Kép #4] |
[Kép #5] | [Kép #6] |

Kép #3

Kép #4

Kép #5

Kép #6
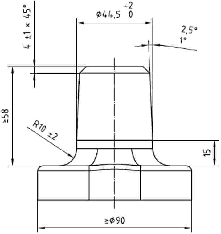
5. ábra
Vonócsap (az ISO 6489-4:2004 szabvány szerint)
[Kép #7] | |
[Kép #8] | [Kép #9] |
[Kép #10] | [Kép #11] ” |

Kép #7

Kép #8

Kép #9

Kép #10

Kép #11
10. A 2. függelék a következőképpen módosul:
a) a 2. pontban az ötödik és hatodik bekezdés helyébe a következő szöveg lép:
"A nyomvonalra merőleges, függőleges erőösszetevőket az S statikus, függőleges terhelés (kg) fejezi ki.
Az MT és MR műszakilag megengedett tömeget a gyártó adja meg."
b) a 3.2. pont helyébe a következő szöveg lép:
"3.2. Vizsgálati erők
A vizsgálati erő geometriai értelemben a vízszintes és függőleges vizsgálati összetevőkből áll az alábbiak szerint:

ahol:
[Kép #12] váltakozó erő esetében,

Kép #12
vagy
[Kép #13] növekvő erő (húzás vagy nyomás) esetében,

Kép #13
[Kép #14] (kN-ban kifejezve)

Kép #14
S = statikus vonórúdterhelés (nyomvonalra merőleges terhelés, kg-ban kifejezve)."
11. A 3. függelék 1.5. pontjának helyébe a következő szöveg lép:
1.5. Az 1.4.2. pontban leírt vizsgálat előtt el kell végezni egy másik vizsgálatot is, amelynek során a gyártó által ajánlott (daN-ban kifejezett, g · S/10-nek megfelelő) legnagyobb megengedett függőleges erő háromszorosának megfelelő terhelést kell a kapcsolókészülék vonatkoztatási középpontjára kifejteni, 500 daN kiindulási terheléssel kezdve fokozatosan fölfelé haladva.
A vizsgálat során a kapcsolókészülék alakváltozása nem lehet nagyobb, mint a fellépő legnagyobb rugalmas alakváltozás 10 %-a.
Ennek ellenőrzését a (daN-ban kifejezett, g · S/10-nek megfelelő) függőleges erő megszüntetése és az 500 daN kiindulási terhelés visszaállítása után kell elvégezni."
12. A 4. függelék az alábbi példával egészül ki:
"Példa az EK-típusjóváhagyási jelre

A fenti EK-alkatrész-típusjóváhagyási jelet viselő kapcsolókészülékre az EK-alkatrész-típusjóváhagyást Németországban (e1) adták meg a 38-363 számon, és azon statikus szilárdságvizsgálatot (S) végeztek."
13. Az 5. függelék a következőképpen módosul:
a) a cím helyébe a következő szöveg lép:
"ÉRTESÍTÉS MEGHATÁROZOTT KAPCSOLÓKÉSZÜLÉK (VONÓKENGYEL, ELFORDULÁSGÁTLÓ VONÓKENGYEL, VONÓHOROG, TRAKTORVONÓRÚD, VONÓGÖMB VAGY VONÓCSAP) SZILÁRDSÁGA, MÉRETEI ÉS A KAPCSOLÁSI PONTRA HATÓ FÜGGŐLEGES TERHELÉS TEKINTETÉBEN TÖRTÉNŐ EK-ALKATRÉSZTÍPUSJÓVÁHAGYÁSÁNAK MEGADÁSÁRÓL, ELUTASÍTÁSÁRÓL, VISSZAVONÁSÁRÓL VAGY KITERJESZTÉSÉRŐL"
b) a 2. pont helyébe a következő szöveg lép:
2. A kapcsolókészülék típusa (vonókengyel, elfordulásgátló vonókengyel, vonóhorog, traktorvonórúd, vonógömb vagy vonócsap) (2)"
c) az 5.1. és 5.2. pont helyébe a következő szöveg lép:
"5.1. Dinamikus vizsgálat:
D értéke:
... (kN)
függőleges terhelés a kapcsolási ponton (S):
... (kg)
5.2. Statikus vizsgálat:
T vontatható tömeg:
... (tonna)
függőleges terhelés a kapcsolási ponton (S):
... (kg)"
14. A 7. függelék 9. pontja helyébe a következő szöveg lép:
9. Megengedett függőleges statikus terhelés a kapcsolási ponton:
... (kg)"
Lábjegyzetek:
[1] A dokumentum eredetije megtekinthető CELEX: 32013L0008 - https://eur-lex.europa.eu/legal-content/HU/ALL/?uri=CELEX:32013L0008&locale=hu