32009L0144[1]
Az Európai Parlament és a Tanács 2009/144/EK irányelve ( 2009. november 30.) a kerekes mezőgazdasági vagy erdészeti traktorok egyes alkatrészeiről és jellemzőiről (kodifikált változat)
AZ EURÓPAI PARLAMENT ÉS A TANÁCS 2009/144/EK IRÁNYELVE
(2009. november 30.)
a kerekes mezőgazdasági vagy erdészeti traktorok egyes alkatrészeiről és jellemzőiről
(kodifikált változat)
(EGT-vonatkozású szöveg)
AZ EURÓPAI PARLAMENT ÉS AZ EURÓPAI UNIÓ TANÁCSA,
tekintettel az Európai Gazdasági Közösséget létrehozó szerződésre és különösen annak 95. cikkére,
tekintettel a Bizottság javaslatára,
tekintettel a Gazdasági és Szociális Bizottság véleményére ( 1 ),
a Szerződés 251. cikkében megállapított eljárásnak megfelelően ( 2 ),
mivel:
(1) A kerekes mezőgazdasági vagy erdészeti traktorok egyes alkatrészeire és jellemzőire vonatkozó tagállami jogszabályok közelítéséről szóló, 1988. december 21-i 89/173/EGK tanácsi irányelvet ( 3 ) több alkalommal jelentős mértékben módosították ( 4 ). Az átláthatóság és az ésszerűség érdekében az említett irányelvet kodifikálni kell.
(2) A 89/173/EGK irányelv egyike a mezőgazdasági vagy erdészeti traktorok, azok pótkocsijainak és cserélhető vontatott munkagépeinek, beleértve ezek rendszereit is, továbbá alkatrészeinek és önálló műszaki egységeinek típusjóváhagyásáról szóló, 2003. május 26-i 2003/37/EK európai parlamenti és tanácsi irányelv ( 5 ) által hatályon kívül helyezett 74/150/EGK tanácsi irányelv szerinti EK-típusjóváhagyási rendszerre vonatkozó egyedi irányelveknek, és technikai előírásokat állapít meg a kerekes mezőgazdasági és erdészeti traktorok kialakítását és felépítését illetően a kormányberendezésre való tekintettel. Ezek a technikai előírások a tagállamok jogszabályainak közelítésére vonatkoztak annak érdekében, hogy a 2003/37/EK irányelv szerinti EK-típusjóváhagyási eljárást alkalmazni lehessen minden traktortípus esetében. Következésképpen a 2003/37/EK irányelv által meghatározott, a mezőgazdasági és erdészeti traktorok, azok pótkocsijainak és cserélhető vontatott munkagépeinek, beleértve ezek rendszereit is, továbbá alkatrészeinek és önálló műszaki egységeinek típusjóváhagyására vonatkozó rendelkezések ezen irányelvre is alkalmazandók.
(3) Azon műszaki követelmények, amelyeknek a nemzeti jogszabályok alapján a traktoroknak meg kell felelniük, többek között méreteikre, tömegükre, sebességszabályozóikra, hajtóelemeik, kinyúló részeik és kerekeik védelmére, a vontatmányok fékműködtetésére, a szélvédőkre és egyéb üvegezésekre, a traktor és a vontatmány közötti mechanikus kapcsolatra, valamint a kötelező táblák és feliratok helyzetére és a traktortestre történő felerősítésük módjára is vonatkoznak.
(4) Figyelembe kell venni az Egyesült Nemzetek Európai Gazdasági Bizottsága (ENSZ EGB) által elfogadott technikai követelményeket, az ENSZ EGB kerekes járművekre és az azokba szerelhető, illetve az azokon használható berendezésekre és tartozékokra vonatkozó egységes műszaki előírások elfogadásáról, valamint az ezen előírások alapján kibocsátott jóváhagyások kölcsönös elismerésének feltételeiről szóló megállapodásához ( 6 ) csatolt megfelelő rendeletek szerint.
(5) Ez az irányelv nem érinti a VII. melléklet B. részében említett irányelvek nemzeti jogba történő átültetésére és alkalmazására vonatkozó határidőkkel kapcsolatos tagállami kötelezettségeket,
ELFOGADTA EZT AZ IRÁNYELVET:
1. cikk
(1) Ezen irányelv alkalmazásában a "traktor" a 2003/37/EK európai parlamenti és tanácsi irányelv 2. cikkének j) pontjában meghatározott traktort jelenti.
(2) Ezen irányelv alkalmazásában a traktorkategóriák a 2003/37/EK irányelv II. mellékletében meghatározott kategóriák.
(3) Ezt az irányelvet a T1, T2, T3 és T4 kategóriájú traktorokra kell alkalmazni.
2. cikk
(1) Azon traktorok tekintetében, amelyek megfelelnek az ezen irányelvben lefektetett követelményeknek, a tagállamok ezen irányelv tárgyával kapcsolatos okok alapján:
a) nem tagadhatják meg az EK-típusjóváhagyás vagy a nemzeti típusjóváhagyás kiadását;
b) nem tagadhatják meg ilyen traktorok nyilvántartásba vételét, illetve nem tilthatják meg azok értékesítését, forgalomba helyezését vagy használatát.
A traktor használatára vonatkozó első albekezdés rendelkezéseitől eltérve, a tagállamok a vontatható tömeg(ek)re vonatkozó indokolással továbbra is alkalmazhatják a területük domborzati viszonyaiból adódó különleges követelményeket tükröző nemzeti előírásaikat, az I. melléklet 2.2. pontja által a vontatható tömegekre megadott határokon belül, amennyiben ez nem jár a traktor megváltoztatásával vagy további kiegészítő nemzeti típusjóváhagyással.
(2) Azon traktorok tekintetében, amelyek nem felelnek meg az ezen irányelvben lefektetett követelményeknek, a tagállamok ezen irányelv tárgyával kapcsolatos okok alapján:
a) nem adnak ki EK-típusjóváhagyást;
b) megtagadhatják a nemzeti típusjóváhagyás megadását.
(3) Azon új traktorok tekintetében, amelyek nem felelnek meg az ezen irányelvben lefektetett követelményeknek, a tagállamok ezen irányelv tárgyával kapcsolatos okok alapján:
a) az ilyen új traktorokhoz a 2003/37/EK irányelv rendelkezéseivel összhangban kiadott megfelelőségi igazolásokat az említett irányelv 7. cikkének (1) bekezdése alkalmazásában érvényüket vesztettnek tekintik;
b) jogukban áll megtagadni az ilyen új traktorok nyilvántartásba vételét, értékesítését vagy forgalomba helyezését.
3. cikk
(1) A tagállamok megadják az EK-típusjóváhagyást minden olyan típusú szélvédőre vagy más üvegtáblára és/vagy mechanikus kapcsolóra, amely kielégíti a III. és/vagy IV. mellékletben meghatározott szerkezeti és vizsgálati követelményeket.
(2) Amennyiben szükséges, azon tagállam, amely az EK-típusjóváhagyást az alkatrészre vonatkozóan megadta - adott esetben a többi tagállam illetékes hatóságaival együttműködve - megteszi a szükséges intézkedéseket annak ellenőrzésére, hogy a gyártott típusok megfelelnek-e a jóváhagyott típusnak. Ezen ellenőrzésnek eseti vizsgálatokra kell korlátozódnia.
4. cikk
A tagállamok minden olyan típusú szélvédőre, más üvegtáblákra, illetve mechanikus kapcsolószerkezetre, amelyet a 3. cikk szerint jóváhagynak, a III. mellékletben vagy a IV. mellékletben megadott példáknak megfelelő EK-alkatrész-típusjóváhagyási jelet adnak ki a traktor, szélvédő vagy mechanikus kapcsolószerkezet gyártója vagy annak meghatalmazott képviselője részére.
A tagállamok minden szükséges intézkedést megtesznek annak érdekében, hogy magakadályozzák az olyan jelzések használatát, amelyek a 3. cikk szerinti EK-alkatrész-típusjóváhagyással ellátott berendezések más berendezésekkel történő összetévesztéséhez vezethetnek.
5. cikk
A tagállamok nem tilthatják meg szerkezeti megoldásukra hivatkozva a szélvédők, egyéb üvegtáblák vagy mechanikus kapcsolószerkezetek forgalomba hozatalát, ha azok EK-alkatrész-típusjóváhagyási jellel vannak ellátva.
Bármely tagállam megtilthatja azonban olyan szélvédők, más üvegtáblák vagy mechanikus kapcsolószerkezetek forgalmazását, amelyek rendelkeznek ugyan EK-alkatrész-típusjóváhagyási jellel, de nem egyeznek meg a jóváhagyott típussal.
E tagállam köteles haladéktalanul tájékoztatni a többi tagállamot és a Bizottságot a megtett intézkedésről, megjelölve döntésének okait.
6. cikk
A tagállamok illetékes hatóságai egy hónapon belül megküldik a többi tagállam illetékes hatóságai részére a III. vagy IV. mellékletben szereplő minta szerinti alkatrésztípus-bizonyítvány másolatát minden olyan szélvédőre, más üvegtáblára vagy mechanikus kapcsolószerkezetre vonatkozóan, amelyet jóváhagynak, vagy amelynek jóváhagyását megtagadják.
7. cikk
(1) Ha az EK-alkatrész-típusjóváhagyást megadó tagállam megállapítja, hogy az ugyanazon EK-alkatrész-típusjóváhagyási jelet viselő több szélvédő, más üvegtábla vagy mechanikus kapcsolószerkezet nem felel meg az általa jóváhagyott típusnak, megteszi a szükséges intézkedéseket annak biztosítására, hogy a gyártott modellek megfeleljenek a jóváhagyott típusnak.
E tagállam illetékes hatósága tájékoztatja a többi tagállam illetékes hatóságait a meghozott intézkedésekről, amelyek szükség esetén - amennyiben komoly és ismétlődő eltérésről van szó - az EK-alkatrész-típusjóváhagyás visszavonásáig terjedhetnek.
E hatóságok ugyanezen intézkedéseket teszik meg, ha egy másik tagállam illetékes hatóságától ilyen eltérésről tájékoztatást kapnak.
(2) A tagállamok illetékes hatóságai egy hónapon belül tájékoztatják egymást az EK-alkatrész-típusjóváhagyás visszavonásáról és az intézkedés okairól.
8. cikk
Az ezen irányelv végrehajtására vonatkozó rendelkezések alapján hozott minden olyan döntést, amellyel valamely szélvédő vagy mechanikus kapcsolószerkezet EK-alkatrész-típusjóváhagyását megtagadják vagy visszavonják, vagy amelyek forgalmazását vagy használatát megtiltják, részletesen meg kell indokolni.
Az ilyen döntésekről értesíteni kell az érintett felet, akit egyúttal tájékoztatni kell azon jogorvoslati lehetőségekről is, amelyekkel a tagállamok hatályos jogszabályai alapján élhet, illetve azon határidőkről, amelyeken belül a jogorvoslat igénybe vehető.
9. cikk
Az I.-VI. melléklet követelményeinek a műszaki fejlődéshez való hozzáigazításához szükséges módosításokat a 2003/37/EK irányelv 20. cikkének (3) bekezdésében említett eljárással összhangban kell elfogadni.
10. cikk
A tagállamok közlik a Bizottsággal nemzeti joguk azokat a főbb rendelkezéseit, amelyeket az ezen irányelv által szabályozott területen fogadnak el.
11. cikk
A VII. melléklet A. részében felsorolt aktusokkal módosított 89/173/EGK irányelv hatályát veszti, a VII. melléklet B részében említett irányelveknek a nemzeti jogba történő átültetésére és alkalmazására vonatkozó határidőkkel kapcsolatos tagállami kötelezettségek sérelme nélkül.
A hatályon kívül helyezett irányelvre történő hivatkozásokat erre az irányelvre történő hivatkozásként kell értelmezni a VIII. mellékletben szereplő megfelelési táblázattal összhangban.
12. cikk
Ez az irányelv az Európai Unió Hivatalos Lapjában való kihirdetését követő huszadik napon lép hatályba.
Ezt a irányelvet 2010. június 1-jétől kell alkalmazni.
13. cikk
Ennek az irányelvnek a tagállamok a címzettjei.
A MELLÉKLETEK JEGYZÉKE
| I. MELLÉKLET: | Méretek és vontatható tömeg | 
| Függelék: | Melléklet az EK-típusbizonyítványhoz | 
| II. MELLÉKLET: | Sebességszabályozó, valamint a hajtóelemek, a kiálló részek és a kerekek védelme, különleges alkalmazásokra vonatkozó kiegészítő biztonsági követelmények, kezelési útmutató | 
| Függelék: | Melléklet az EK-típusbizonyítványhoz | 
| III. A. MELLÉKLET: | A szélvédő és egyéb üvegezések – felszerelési követelmények, fogalommeghatározások, alkatrész-típusjóváhagyási kérelem, alkatrész-típusjóváhagyás, jelölések, általános műszaki követelmények, vizsgálatok és gyártásmegfelelőség | 
| Függelék: | Példák alkatrész-típusjóváhagyási jelekre | 
| III. B. MELLÉKLET: | Tájékoztatás az EK-alkatrész-típusjóváhagyásról, az EK alkatrész-típusjóváhagyás megtagadásáról, az EK-alkatrész-típusjóváhagyás kiterjesztéséről, az EK-alkatrész-típusjóváhagyás visszavonásáról | 
| 1. függelék: | Edzett üvegből készült szélvédők | 
| 2. függelék: | Nem szélvédő céljára szolgáló, egyenletesen edzett üvegtáblák | 
| 3. függelék: | Rétegelt üvegből készült szélvédők | 
| 4. függelék: | Nem szélvédő céljára szolgáló rétegelt üvegtáblák | 
| 5. függelék: | Kombinált üveg-műanyag szélvédők | 
| 6. függelék: | Nem szélvédő céljára szolgáló kombinált üveg-műanyag táblák | 
| 7. függelék: | Kettős üvegezésű egységek | 
| 8. függelék: | A szélvédők jegyzékének tartalma | 
| III. C. MELLÉKLET: | Általános vizsgálati feltételek | 
| III. D. MELLÉKLET: | Edzett üvegből készült szélvédők | 
| III. E. MELLÉKLET: | Nem szélvédő céljára szolgáló, egyenletesen edzett üvegtáblák | 
| III. F. MELLÉKLET: | Közönséges rétegelt üvegből készült szélvédők | 
| III. G. MELLÉKLET: | Nem szélvédők céljára szolgáló, rétegelt üvegtáblák | 
| III. H. MELLÉKLET: | Kezelt, rétegelt üvegből készült szélvédők | 
| III. I. MELLÉKLET: | Belső oldalukon műanyaggal bevont biztonsági üvegtáblák | 
| III. J. MELLÉKLET: | Üveg-műanyag szélvédők | 
| III. K. MELLÉKLET: | Nem szélvédők céljára szolgáló üveg-műanyag táblák | 
| III. L. MELLÉKLET: | Kettős üvegezésű egységek | 
| III. M. MELLÉKLET: | Szélvédők csoportosítása alkatrész-típusjóváhagyási vizsgálathoz | 
| III. N. MELLÉKLET: | A szegmensmagasságok mérése és az ütközési pontok helyzete | 
| III. O. MELLÉKLET: | A gyártásmegfelelőség ellenőrzése | 
| III. P. MELLÉKLET: | Melléklet az EK-típusbizonyítvány | 
| IV. MELLÉKLET: | Mechanikus kapcsolók a traktor és a vontatmány között, valamint a kapcsolási pontra ható függőleges terhelés | 
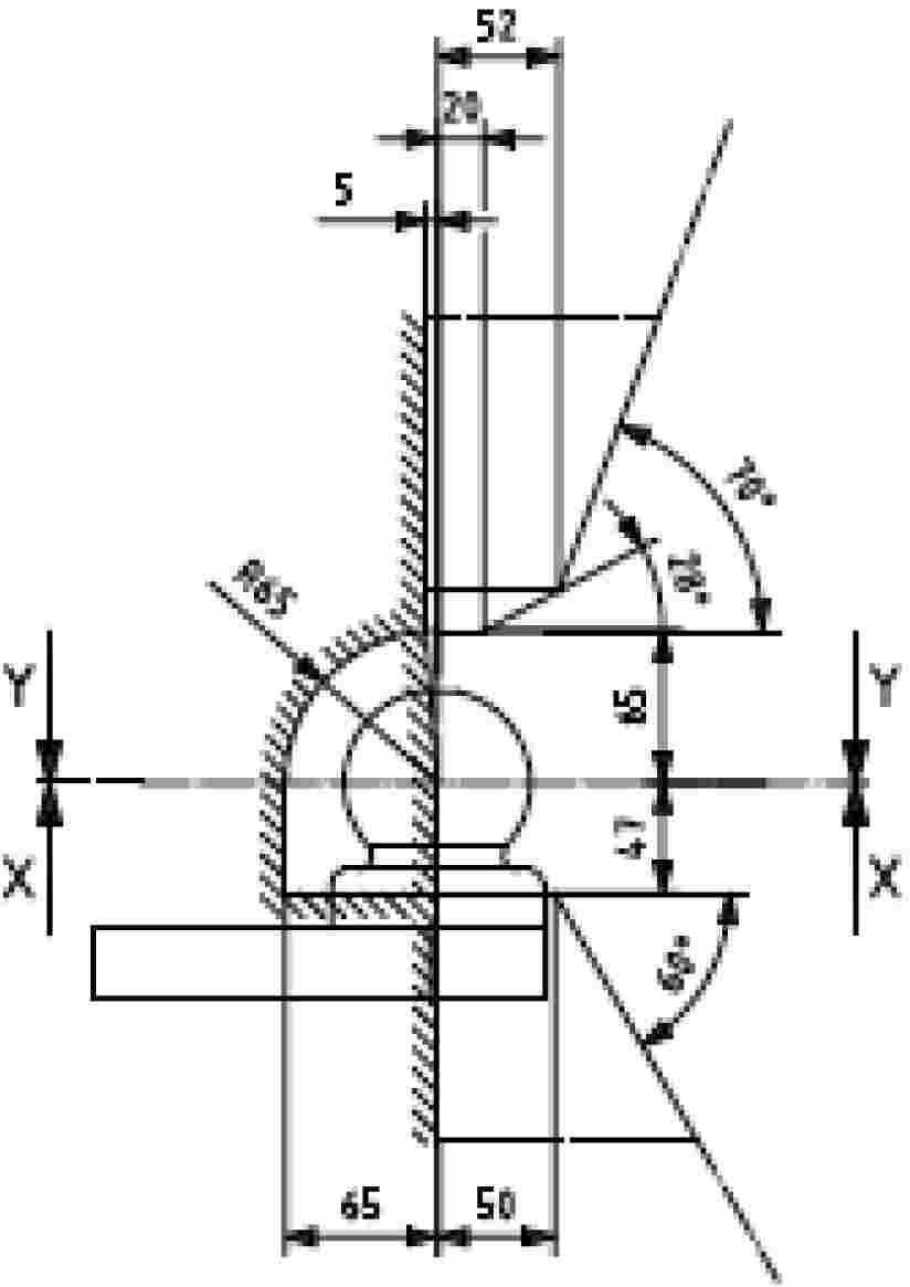
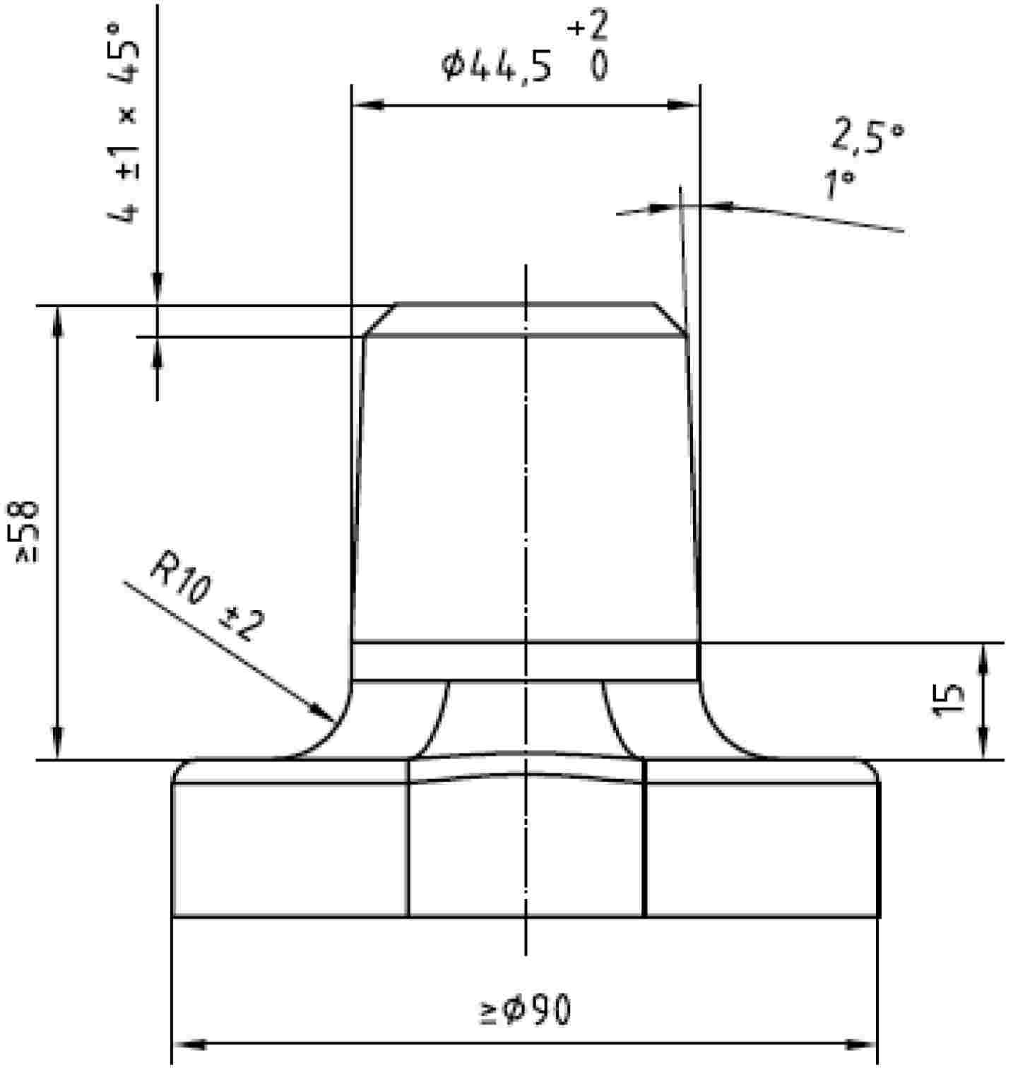
| 1. függelék: | A mechanikus kapcsoló alkatrészeinek rajzai | 
| 2. függelék: | Dinamikus vizsgálati módszer | 
| 3. függelék: | A kapcsolószerkezet statikus vizsgálati módszere | 
| 4. függelék: | Alkatrész-típusjóváhagyási jel | 
| 5. függelék: | EK-alkatrész-típusbizonyítvány minta | 
| 6. függelék: | Az EK-típusjóváhagyás megadásának feltételei | 
| 7. függelék: | Melléklet az EK-típusbizonyítványhoz | 
| V. MELLÉKLET: | A kötelező táblák és feliratok elhelyezkedése és felerősítési módja a traktortestre | 
| Függelék: | Melléklet az EK-típusbizonyítványhoz | 
| VI. MELLÉKLET: | A vontatott járművek fékműködtetése és fékcsatlakozás a traktor és a vontatott jármű között | 
| Függelék: | Melléklet az EK-típusbizonyítványhoz | 
| VII. MELLÉKLET: | A. rész: A hatályon kívül helyezett irányelv és egymást követő módosításainak listája | 
| B. rész: A nemzeti jogba való átültetésre és alkalmazásra előírt határidők listája | |
| VIII. MELLÉKLET: | Megfelelési táblázat | 
I. MELLÉKLET
Méretek és vontatható tömeg
1. MEGHATÁROZÁSOK
1.1. Hosszúság:
- azon távolság, amelyet a legelső és leghátsó pontokon (ezek legkedvezőtlenebb helyzetében) átmenő és a traktor hossztengelyére merőleges függőleges síkok között mérnek, figyelmen kívül hagyva:
-
- a visszapillantó tükröket,
- az indítófogantyúkat,
- az első vagy oldalsó helyzetjelző (oldaljelző) lámpákat.
1.2. Szélesség:
- azon távolság, amelyet a legszélső, oldalsó pontokon átmenő és a traktor hossztengelyével párhuzamos síkok között mérnek, figyelmen kívül hagyva:
-
- a visszapillantó tükröket,
- az irányjelzőket,
- az első vagy oldalsó, illetve hátsó helyzetjelző (oldaljelző) lámpákat; a parkolólámpákat,
- a gumiabroncsoknak a traktor tömege következtében fellépő alakváltozását,
- az összehajtható elemeket, pl. lehajtható lábtámaszok, rugalmas sárvédők stb.
1.3. Magasság:
- a talaj és a traktornak a talajtól legnagyobb távolságra lévő pontja között mért függőleges távolság, az antenna figyelmen kívül hagyásával. E magasság megállapításakor a traktort: - a gyártó által meghatározott legnagyobb gördülési sugarú, új gumiabroncsokkal kell felszerelni.
1.4. Megengedett vontatható tömeg:
- az a tömeg, amelyet egy adott típusú traktor vontathat. Ez állhat egy vagy több vontatott pótkocsiból, illetve mezőgazdasági vagy erdészeti eszközből. Különbséget kell tenni a gyártó által meghatározott, műszakilag megengedhető és az alábbi 2.2. pont szerint hatóságilag megengedett vontatható tömeg között.
1.5. Vonószerkezet:
a traktorra felszerelt részegység, amely a traktor és a vontatmány között mechanikus kapcsolatot létesít.
1.6. A traktor saját tömege üzemkész állapotban (mt):
a 2003/37/EK irányelv I. mellékletének 2.1.1. pontja szerint meghatározott tömeg.
1.7. Műszakilag megengedett vontatható tömeg(ek):
- fékezetlen vontatható tömeg,
- függetlenül fékezett vontatható tömeg (a 76/432/EGK ( 7 ) irányelv I. mellékletének 1.12. pontja szerint),
- tehetetlenségi erővel fékezett vontatható tömeg (a 76/432/EGK irányelv I. mellékletének 1.14. pontja szerint),
- hidraulikusan vagy pneumatikusan fékezett vontatható tömeg: e fékezés lehet folytonos, félig folytonos vagy független segédenergiával működő rendszerű, a 76/432/EGK irányelv I. mellékletének 1.9., 1.10. és 1.11. pontja szerint.
2. KÖVETELMÉNYEK
2.1. Méretek
A traktor megengedhető legnagyobb méretei az alábbiak:
2.1.1. hossz: 12 m.
2.1.2. szélesség: 2,55 m (figyelmen kívül hagyva a földdel érintkező abroncsperemet).
2.1.3. magasság: 4 m.
2.1.4. A méretek ellenőrzésére szolgáló méréseket az alábbiak szerint kell elvégezni:
- az 1.6. pont szerinti terheletlen traktoron, menetkész állapotban,
- vízszintes, sík felületen,
- álló traktoron, kikapcsolt motorral,
- új, a gyártó által megadott üzemi nyomásra fújt gumiabroncsokkal,
- zárt ajtókkal és ablakokkal,
- a kormánykerék "egyenesen előre" helyzetében,
- a traktorhoz mezőgazdasági vagy erdészeti eszközt nem kapcsolva.
2.2. Megengedett vontatható tömeg
2.2.1. A megengedett vontatható tömeg nem haladhatja meg a következőket:
2.2.1.1. az 1.7. pont szerinti műszakilag megengedett, a traktor gyártója által ajánlott vontatható tömeg;
2.2.1.2. az EK-alkatrész-típusjóváhagyásban a vonókészülékre meghatározott vontatható tömeg.
2.2.2. Ha valamely tagállam a 2. cikk (2) bekezdését alkalmazza, úgy a vontatható tömeg(ek)et a traktor járműokmányában fel kell tüntetni.
Függelék
MINTA
A hatóság neve
MELLÉKLET VALAMELY TRAKTORTÍPUS EK-TÍPUSBIZONYITVÁNYÁHOZ A MÉRETEKRE ÉS A VONTATHATÓ TÖMEGEKRE VONATKOZÓAN
(A mezőgazdasági vagy erdészeti traktorok, azok pótkocsijainak és cserélhető vontatott munkagépeinek, beleértve ezek rendszereit is, továbbá alkatrészeinek és önálló műszaki egységeinek típusjóváhagyásáról szóló, 2003. május 26-i 2003/37/EK európai parlamenti és tanácsi irányelv 4. cikkének (2) bekezdése)
EK-típusjóváhagyás száma: ...
1. Alkatrészek vagy jellemzők:
1.1. Méretek
1.1.1. Hossz: ... m
1.1.2. Szélesség: ... m
1.1.3. Magasság: ... m
1.2. Vontatható tömegek:
1.2.1. Fékezetlen vontatható tömeg: ... kg
1.2.2. Függetlenül fékezett vontatható tömeg: ... kg
1.2.3. Tehetetlenségi erővel fékezett vontatható tömeg: ... kg
1.2.4. Hidraulikusan vagy pneumatikusan segített fékrendszerrel felszerelt vontatható tömeg: ... kg
2. A traktor gyártmánya, vagy gyártójának cégneve:
...
3. A traktor típusa, adott esetben kereskedelmi neve:
...
4. A gyártó neve és címe: ...
...
5. A gyártó meghatalmazott képviselőjének neve és címe (adott esetben):
...
...
6. A traktor az EK-típusjóváhagyásra átadva:
...
7. Típus-jóváhagyási vizsgálatot végző műszaki szolgálat:
...
...
8. E szolgálat által kiállított jegyzőkönyv kelte:
...
9. A szolgálatot kiállított jegyzőkönyv száma:
...
10. Az EK-típusjóváhagyás a méretekre és a vonatkozóan megadva/elutasítva ( 8 ):
11. Helye: ...
12. Kelt: ...
13. Aláírás: ...
14. A fenti EK-típusjóváhagyás számával ellátott alábbi okmányokat csatolták e bizonyítványhoz:
... méretezett rajzok;
... a traktor rajza vagy fényképe.
Az adatokat a többi tagállam illetékes hatóságainak kérésükre meg kell küldeni.
15. Megjegyzések:
...
...
II. MELLÉKLET
Sebességszabályozó, valamint a hajtóelemek, a kiálló részek és a kerekek védelme, különleges alkalmazásokra vonatkozó kiegészítő biztonsági követelmények, kezelési útmutató
1. SEBESSÉGSZABÁLYOZÓ
1.1. Ha a gyártó rendes kivitelben sebességszabályozót épít be, akkor azt úgy kell megtervezni és beépíteni, hogy a traktor megfeleljen a legnagyobb tervezési sebességről szóló 2009/60/EK ( 9 ) irányelvnek.
2. A HAJTÓELEMEK, A KIÁLLÓ RÉSZEK ÉS A KEREKEK VÉDELME
2.1. Általános előírások
2.1.1. A traktorokon a hajtóelemeket, a kiálló részeket és a kerekeket úgy kell megtervezni, felszerelni, illetve védeni, hogy azok ne okozhassanak rendes használat esetén személyi sérülést.
2.1.2. A 2.1.1. pont szerinti követelmények akkor tekinthetők teljesítettnek, ha teljesülnek a 2.3. pont követelményei. A 2.3. ponttól eltérő megoldások akkor engedélyezhetőek, ha a gyártó tanúsítja, hogy azok legalább egyenértékűek a 2.3. pontban előírt követelményekkel.
2.1.3. A védőberendezéseket erősen kell a traktorhoz rögzíteni. Az "erős rögzítés" azt jelenti, hogy a berendezéseket csak szerszám segítségével lehet eltávolítani.
2.1.4. A motorburkolatokat, tetőket, illetve motorházfedeleket, amelyek lecsapódásuk esetén balesetet okozhatnak, úgy kell kialakítani, hogy a véletlen lecsukódás ellen védve legyenek (pl. biztosítókészülék vagy megfelelő felszerelés vagy tervezés révén).
2.1.5. Egy védőkészülék több veszélyes pontot is védhet. Ha azonban a beállításra, karbantartásra vagy zavarelhárításra szolgáló berendezések - amelyek csak járó motor esetén működtethetőek - egyetlen védőszerkezet alá vannak szerelve, úgy további védőkészüléket is fel kell szerelni.
2.1.6. Azon biztosítóelemeket (pl. rugós kapcsok vagy lemezek), amelyek
- pillanatnyi szétkapcsolású (gyorskioldó) rögzítőelemek (pl. csapszegek),
- és
- szerszám nélkül nyitható biztonsági védőkészülékek (pl. motorburkolat) rögzítőelemeinek biztosítására szolgálnak,
szilárdan kell rögzíteni a traktorhoz vagy a védőkészülékhez.
2.2. Fogalommeghatározások
2.2.1. "Védőkészülék": olyan eszköz, amelynek feladata a veszélyes részek védelme. Ezen irányelv értelmében ide tartoznak a védőlemezek, fedelek vagy védőrácsok.
2.2.1.1. "Védőlemez": olyan védőkészülék, amely közvetlenül a veszélyes alkatrész előtt helyezkedik el, és amely akár önmagában, akár más alkatrésszel együtt minden oldalról védelmet nyújt a veszélyes alkatrésszel való érintkezés ellen.
2.2.1.2. "Fedél" vagy "burkolat": olyan védőkészülék, amely a veszélyes alkatrész előtt helyezkedik el, és annak megérintése ellen a fedett oldal felől nyújt védelmet.
2.2.1.3. "Védőrács": olyan védőkészülék, amely korlát, rács vagy ezekhez hasonló szerkezeti elem segítségével teremti meg azon szükséges biztonsági távolságot, amely megakadályozza a veszélyes alkatrész érintését.
2.2.2. "Veszélyes rész": minden olyan pont, amely a traktor rögzített vagy mozgatható alkatrészeinek elrendezése vagy tervezése miatt balesetveszélyt jelent. Veszélyes részek különösen a becsípést, nyírást, vágást és szúrást okozó helyek, valamint a behúzási és ráfutási részek.
2.2.2.1. "Becsípési hely": olyan veszélyes hely, ahol alkatrészek mozdulnak el egymáshoz vagy rögzített alkatrészekhez képest úgy, hogy személyeket vagy ezek testrészeit becsíphetik.
2.2.2.2. "Nyíró rész": olyan veszélyes hely, ahol alkatrészek mozognak egymáson vagy más alkatrészeken úgy, hogy személyeket vagy ezek testrészeit becsíphetik és elnyírhatják.
2.2.2.3. "Vágási, behatolási vagy szúrási hely": olyan veszélyes hely, ahol mozgó vagy rögzített, éles, hegyes vagy tompa alkatrészek személyeket vagy ezek testrészeit megsebesíthetik.
2.2.2.4. "Elkapási hely": olyan veszélyes hely, ahol éles kinyúlások, fogak, csapok, csavarok, zsírzó gombok, tengelyek, tengelyvégek és más alkatrészek úgy mozognak, hogy azokba személyek, ezek testrészei vagy ruházata beleakadhatnak, és azokat magukkal húzhatják.
2.2.2.5. "Behúzási vagy ráfutási hely": olyan veszélyes hely, ahol alkatrészek mozgásuk révén nyílást szűkítenek, és így a közelben álló személyeket, ezek testrészeit vagy ruházatát elkaphatják.
2.2.3. "Elérési távolság": azon legnagyobb távolság, amelyet személyek bizonyos testrészei elérhetnek felfelé, lefelé, befelé, fentről, körben vagy valamin keresztül bármiféle tárgy használata nélkül (1. ábra).
2.2.4. "Biztonsági távolság": az elérési távolságnak vagy a testméreteknek megfelelő távolság a biztonsági ráhagyással megnövelve (1. ábra).
2.2.5. "Vezérlőszerv": olyan készülék, amelynek közvetlen működtetésével megváltoztatható a traktor vagy bármely hozzákapcsolt berendezés állapota vagy üzemmódja.
2.2.6. "Rendes működtetés": a traktornak a gyártó által meghatározott rendeltetés szerinti használata olyan üzemeltető által, aki ismeri a traktor jellemzőit, és betartja a gyártó által a kezelési útmutatóban leírt és a traktoron jelek formájában feltüntetett működtetési, karbantartási és biztonsági előírásokat.
2.2.7. "Véletlen érintkezés": egy személy tevékenységéből eredő, nem tervezett érintkezés a személy és egy veszélyes hely között a traktor rendes működtetése és karbantartása közben.
2.3. Biztonsági távolságok a veszélyes alkatrészek érintésének elkerülésére
2.3.1. A biztonsági távolságot azon helyektől kell mérni, amelyek a talajszinttől, illetve a traktor működtetéséhez, kezeléséhez és ellenőrzéséhez elérhetőek. A "traktor kezelése és ellenőrzése" csak azon műveleteket jelenti, amelyeket maga a járművezető végez rendes körülmények között, a használati utasítással összhangban. A biztonsági távolságok meghatározásakor alapelv, hogy a traktor rendeltetésszerű állapotban van, és hogy nem használnak fel semmilyen eszközt a veszélyes rész elérésére.
A biztonsági távolságokat a 2.3.2.1.-2.3.2.5. pont tartalmazza. Bizonyos esetekben vagy meghatározott alkatrészekre vonatkozóan a megfelelő biztonsági szint akkor teljesül, ha a traktor megfelel a 2.3.2.6.-2.3.2.14. pont követelményeinek.
2.3.2. A veszélyes helyek védelme
2.3.2.1. Felfelé
A biztonsági távolság felfelé, egyenesen álló személyek esetén 2 500 mm (lásd 1. ábra).

1. ábra
2.3.2.2. Lefelé, fentről
Biztonsági ráhagyás korlát feletti eléréshez:
a = a talajszint és a veszélyes hely közti távolság,
b = a korlát vagy a védőkészülék magassága,
c = vízszintes távolság a veszélyes hely és a korlát között (lásd 2. ábra).

2. ábra
Korlát fölött lefelé történő elérés esetén a biztonsági távolságokat az 1. táblázatban megadottak szerint kell betartani.
1. Táblázat
| (mm) | ||||||||
| a: a veszélyes hely távolsága a talajtól | A védőeszköz peremének magassága, b | |||||||
| 2 400 | 2 200 | 2 000 | 1 800 | 1 600 | 1 400 | 1 200 | 1 000 | |
| Vízszintes távolság a veszélyes ponttól, c | ||||||||
| 2 400 | — | 100 | 100 | 100 | 100 | 100 | 100 | 100 | 
| 2 200 | — | 250 | 350 | 400 | 500 | 500 | 600 | 600 | 
| 2 000 | — | — | 350 | 500 | 600 | 700 | 900 | 1 100 | 
| 1 800 | — | — | — | 600 | 900 | 900 | 1 000 | 1 100 | 
| 1 600 | — | — | — | 500 | 900 | 900 | 1 000 | 1 300 | 
| 1 400 | — | — | — | 100 | 800 | 900 | 1 000 | 1 300 | 
| 1 200 | — | — | — | — | 500 | 900 | 1 000 | 1 400 | 
| 1 000 | — | — | — | — | 300 | 900 | 1 000 | 1 400 | 
| 800 | — | — | — | — | — | 600 | 900 | 1 300 | 
| 600 | — | — | — | — | — | — | 500 | 1 200 | 
| 400 | — | — | — | — | — | — | 300 | 1 200 | 
| 200 | — | — | — | — | — | — | 200 | 1 100 | 
2.3.2.3. Elérés körben
Legalább az alábbi 2. táblázat szerinti biztonsági ráhagyást kell betartani akkor, ha az érintett testrész nem érheti el a veszélyes helyet. A biztonsági ráhagyás alkalmazásakor azon feltevésből kell kiindulni, hogy a szóban forgó testrész fő ízülete erősen a védőkészülék pereméhez nyomódik. A biztonsági ráhagyás követelményei csak akkor tekinthetők teljesítettnek, ha biztosítva van, hogy a testrész nem tolódhat előbbre a veszélyes hely irányában vagy azon keresztül.
2. Táblázat
| Testrész | bizt. táv | Ábra | 
| Kéz az első ujjizületől az ujjhegzig | ≥ 120 | [Kép #1] | 
| Kéz az első csuklótólujjhegzig | ≥ 230 | [Kép #2] | 

Kép #1

Kép #2
| Testrész | bizt. táv | Ábra | 
| Kar az könyöktől az ujjhegzig | ≥ 550 | [Kép #3] | 
| Kar a válltől az ujjhegyig | ≥ 850 | [Kép #4] | 

Kép #3

Kép #4
2.3.2.4. Benyúlás és átnyúlás
Ha nyílásokba lehet benyúlni vagy nyílásokon lehet átnyúlni a veszélyes alkatrészekig, úgy a 3. és a 4. táblázat szerinti biztonsági távolságokat kell betartani.
Az egymáshoz képest mozgó alkatrészek, illetve a rögzített alkatrészek mentén mozgó elemek nem tekintendők veszélyforrásnak, amennyiben távolságuk nem haladja meg a 8 mm-t.
3. Táblázat
| ujjhegy | ujj | kéz a hüvelykujj párnáig | kar a hónaljig | — | |
| [Kép #5] | [Kép #6] | [Kép #7] | [Kép #8] | ||
| 4 < a ≤ 8 | 8 < a ≤ 12 | 12 < a ≤ 20 | 20 < a ≤ 30 | 30 < a ≤ 135 maximum | > 135 | 
| b ≥ 15 | b ≥ 80 | b ≥ 120 | b ≥ 200 | b ≥ 850 | — | 

Kép #5

Kép #6

Kép #7

Kép #8
4. Táblázat
| ujjhegy | ujj | kéz a hüvelykujj párnáig | kar a hónaljig | — | |
| [Kép #9] | [Kép #10] | [Kép #11] | [Kép #12] | ||
| 4 < a ≤ 8 | 8 < a ≤ 12 | 12 < aa ≤ 25 | 20 < a ≤ 40 | 40 < a ≤ 250 maximum | > 250 | 
| b ≥ 15 | b ≥ 80 | b ≥ 120 | b ≥ 200 | b ≥ 850 | — | 

Kép #9

Kép #10

Kép #11

Kép #12
2.3.2.5. Biztonsági távolságok becsípési helyek esetén
A becsípési hely nem tekinthető veszélyesnek a vázolt testrészre vonatkozóan, ha a biztonsági távolságok meghaladják az 5. táblázat szerinti értékeket és biztosított, hogy a mellette lévő, legszélesebb testrész nem dugható be.
5. Táblázat
| Testrész | Törsz | Lábszár | Lábfej | Kar | Kéz, csukló, ököl | Ujjak | 
| Bizt. táv. | 500 | 180 | 120 | 100 | 25 | |
| Illusztráció | [Kép #13] | [Kép #14] | [Kép #15] | [Kép #16] | [Kép #17] | [Kép #18] | 

Kép #13

Kép #14

Kép #15

Kép #16

Kép #17

Kép #18
2.3.2.6. Vezérlőszervek
A két pedál közötti rés, valamint azon nyílások, amelyeken a vezérlő szervek átmennek, nem tekinthetők becsípő vagy nyíró résznek.
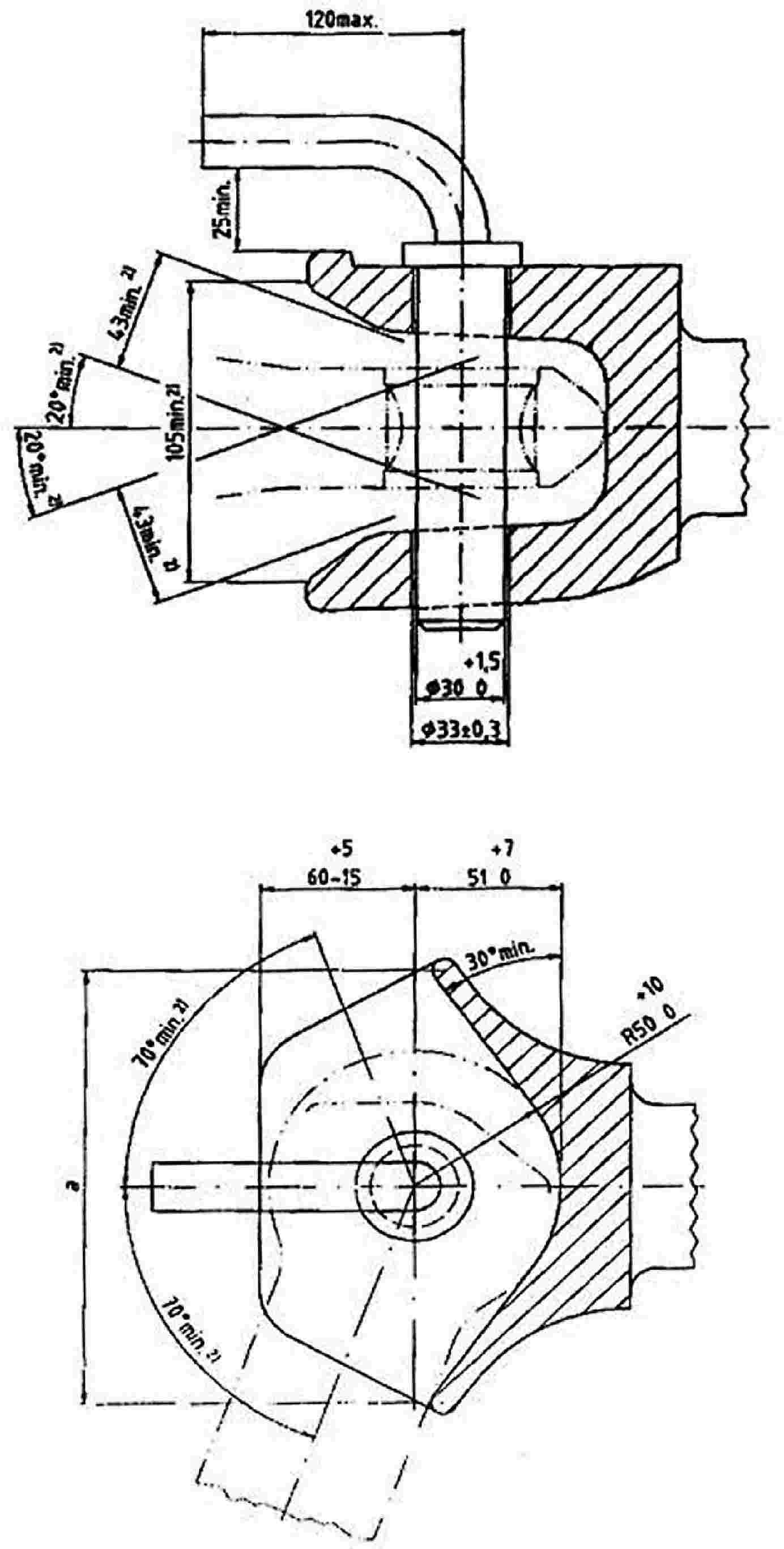
2.3.2.7. Hátsó hárompont-kapcsoló
2.3.2.7.1. A hárompont-kapcsoló rendszerben az emelőrudak csuklópontjainak középsíkján áthaladó sík mögött legalább 25 mm biztonsági ráhagyást kell fenntartani a mozgó részek között minden pontra vagy az emelőszerkezet mozgási tartományának minden pontjára - a felső és az alsó 0,1 n szakasz kivételével -; továbbá 25 mm távolságot, vagy legalább 30 fokos szöget kell fenntartani az olyan, ollózó mozgást végző alkatrészekre, amelyeknek a szöge változó (lásd 3. ábra). A felső és alsó szakaszon 0,1 n-nel csökkentett n' mozgási tartományt az alábbiak szerint kell meghatározni (lásd 4. ábra). Amennyiben az alsó függesztő karokat az emelőszerkezet közvetlenül működteti, úgy a referenciasíkot e függesztő karok középső keresztirányú függőleges szimmetriasíkja határozza meg:

3. ábra
Jelmagyarázat:
A = Emelőkar
B = Alsó felfüggesztő kar
C = Emelőrúd
D = Traktoralváz
E = Az emelőrúd forgócsapjának tengelyén átmenő sík
F = Emelőrúd játékának burkológörbéje

4. ábra
2.3.2.7.2. A hidraulikus emelőegység n mozgási tartománya tekintetében az alsó összekötőkar csatlakozó pontjának alsó A helyzetét behatárolja az 1994. decemberi ISO 730 szabvány 1. része szerinti "14"-es méret, míg a felső B helyzetet a hidraulikarendszer legnagyobb elmozdulása határolja be. Az n' elmozdulás a felülről és alulról 0,1 n-nel csökkentett n elmozdulásnak felel meg, és meghatározza az A' és B' közötti függőleges távolságot.
2.3.2.7.3. Ezenfelül, az n' mozgási tartományon belül egy legalább 25 mm-es biztonsági ráhagyást kell fenntartani az emelőrudak profilja körül, a szomszédos alkatrészekhez viszonyítva.
2.3.2.7.4. Ha a hárompont-függesztő szerkezeten olyan kapcsolókészülékek használatára kerül sor, amelyek nem igénylik kezelő jelenlétét a traktor és a munkagép között (pl. gyorskapcsoló készülék esetén), úgy a 2.3.2.7.3. pont előírásait nem kell figyelembe venni.
2.3.2.7.5. A kezelési utasítás pontos tájékoztatást tartalmaz a 2.3.2.7.1. pont első mondatában meghatározott sík előtti veszélyes helyekre vonatkozóan.
2.3.2.8. Első hárompont-kapcsoló
2.3.2.8.1. Az emelőegység n mozgási tartományának minden pontjában - kivéve az alsó és felső 0,1 n szakaszokat - legalább 25 mm biztonsági ráhagyást kell fenntartani a mozgó részek között; legalább 30°-os szöget vagy 25 mm biztonsági ráhagyást pedig akkor, ha az ollózó mozgást végző alkatrészek szöge egymáshoz képest változik. A felső és alsó véghelyzetben 0,1 n-nel csökkentett n' mozgási tartományt az alábbiak szerint kell meghatározni (lásd a 4. ábrát is).
2.3.2.8.2. A hidraulikus emelőegység n mozgási tartománya tekintetében az alsó összekötő kar csatlakozási pontjának alsó A véghelyzetét az 1998. márciusi ISO 8759 szabvány 2. része szerinti "14"-es méret, míg a felső B véghelyzetet a hidraulika legnagyobb elmozdulása határolja be. Az n' mozgási tartomány a felülről és alulról 0,1 n-nel csökkentett n mozgási tartomány és megfelel az A' és B' pontok közötti függőleges távolságnak.
2.3.2.8.3. Ha az első hárompont-kapcsoló berendezés alsó összekötő karjaihoz olyan kapcsolót (pl. gyorskapcsoló készülék) használnak, amelyik nem teszi szükségessé kisegítő személy jelenlétét a traktor és a hozzákapcsolt munkagép között az összekapcsolás folyamán, úgy a 2.3.2.8.1. pont szerinti követelményeket nem kell alkalmazni a 250 mm sugarú körzetben azon pontoktól, ahol az alsó karok a traktorhoz vannak kapcsolva. Legalább 25 mm biztonsági ráhagyást kell azonban fenntartani minden esetben a szomszédos alkatrészektől az emelőrudak és munkahengerek külső felülete körül, a meghatározott n' mozgási tartományon belül.
2.3.2.9. A vezetőülés és környezete
Amennyiben a traktor vezetője ülő helyzetben van, minden becsípő vagy nyíró résznek úgy kell elhelyezkednie, hogy azok a kezével vagy a lábával elérhető távolságon kívül essenek. E követelmény akkor tekinthető teljesítettnek, ha az alábbi feltételek megvalósulnak:
2.3.2.9.1. A vezetőülés mind a hosszirányú, mind a függőleges beállítási tartomány közepén helyezkedik el. A járművezető elérési tartománya A és B mezőkre van felosztva. E mezők gömbközéppontja az ülés referenciapontja előtt 60 mm-rel és felette 580 mm-el helyezkedik el (lásd 5. ábra). Az A mező egy 550 mm átmérőjű gömb, a B mező pedig e gömb és egy 1 000 mm átmérőjű gömb között helyezkedik el.

5. ábra
2.3.2.9.2. Az A mezőben 120 mm, a B mezőben pedig 25 mm biztonsági távolságot kell fenntartani a becsípő és a nyíró részektől, és legalább 30 fokos szöget kell fenntartani, ha a nyíró mozgást végző alkatrészek szöge változó.
2.3.2.9.3. Az A mezőben csak azon becsípő és nyíró részeket kell figyelembe venni, amelyeket külső energiaforrásról működtetett alkatrészek képeznek.
2.3.2.9.4. Ha a veszélyes helyeket az ülés közelében lévő szerkezeti elemek jelentik, úgy legalább 25 mm biztonsági távolságot kell fenntartani az ilyen elem és az ülés között. Nincs veszélyes hely a vezetőülés háttámlája és a szomszédos, mögötte levő alkatrészek között, ha az alkatrészek simák, az ülés háttámlája lekerekített és nincsenek éles részei.
2.3.2.10. Utasülés (ha van ilyen)
2.3.2.10.1. Ha valamely alkatrész veszélyt jelenthet a lábak számára, úgy gondoskodni kell olyan védőkészülékről, amely az ülésfelület első élétől kezdődően lefelé, egy 800 mm sugarú félgömbfelületen belül véd.
2.3.2.10.2. A 2.3.2.9. pont szerinti (lásd 6. ábra) A és B mezőben lévő veszélyes helyeket védeni kell egy olyan gömbterületen belül, amelynek középpontja 670 mm magasságban helyezkedik el az utasülés első élének közepe felett.

6. ábra
2.3.2.11. Keskeny nyomtávú traktorok és T4.3 kategóriájú traktorok.
2.3.2.11.1. A 87/402/EGK tanácsi irányelv ( 10 ) 1. cikke második francia bekezdésében meghatározott keskeny nyomtávú traktorok és a 2003/37/EK irányelv II. melléklete B. fejezetének 1. függelékének I. részében meghatározott T4.3 kategóriájú traktorok esetében a 2.3.2.9. szakasz követelményei nem vonatkoznak azon mezőre, amely a haladási irányhoz képest keresztirányú és hátrafelé 45 fokban döntött sík alatt található, valamint az ülés ellenőrzési pontja mögött 230 mm-re lévő ponton áthalad (lásd 7. ábra). Ha e mezőben bármilyen veszélyes pont található, úgy a traktoron megfelelő figyelmeztető jelzéseket kell elhelyezni.

7. ábra
2.3.2.11.2. A vezetőüléshez való hozzáférésre a 80/720/EGK tanácsi irányelv ( 11 ) I. mellékletének II.1. és II.2. pontja vonatkozik.
2.3.2.11.3. A vezérlőszervekre a 80/720/EGK irányelv I. mellékletének I.6. pontja vonatkozik.
2.3.2.11.4. A jármű hossztengelyére merőleges és terheletlen pedál (tengelykapcsoló és/vagy üzemi fék) középpontján átmenő vonatkozási sík előtt lévő forró kipufogó alkatrészeket le kell burkolni, ha a síkhoz a felső tartományban (a talajszint felett 700 mm-rel) 300 mm-nél, az alsó tartományban pedig 150 mm-nél közelebb vannak (lásd 8. ábra). A védendő területet oldalirányban a traktor és a kipufogó rendszer körvonalai határolják.
A fellépő lépcső alatt lévő forró kipufogó alkatrészeket függőleges vetületükben be kell fedni vagy valamilyen más hővédelemmel kell ellátni.

8. ábra
2.3.2.12. Hajlékony hidraulikus tömlők elrendezése és megjelölése
2.3.2.12.1. A tömlőket védeni kell mind a mechanikus, mind a hő okozta sérülésektől.
2.3.2.12.2. A tömlőkön egyértelműen azonosítható módon és letörülhetetlenül az alábbi adatokat kell feltüntetni:
- a tömlő gyártójának jele,
- a gyártás időpontja (év, hónap),
- a megengedett legnagyobb dinamikus üzemi túlnyomás.
2.3.2.12.3. A vezető- és/vagy utasülés közelében elhelyezett hajlékony hidraulikus tömlőket úgy kell elrendezni és védeni, hogy meghibásodásuk esetén ne okozhassanak személyi sérülést.
2.3.2.13. Kormányzás és lengőtengely
Az egymáshoz vagy rögzített alkatrészekhez képest mozgó részeket - amennyiben azok a 2.3.2.9. és 2.3.2.10. pont szerinti tartományon belül vannak - megfelelő védőelemmel kell ellátni.
Csuklós kormányzás esetén letörölhetetlen és egyértelmű jelöléseknek kell lenniük a traktor mindkét oldalán a csuklós kapcsolat tartományában, szemléltető ábrával vagy feliratokkal jelezve, hogy a csuklós kapcsolat védelem nélküli tartományán belül nem szabad tartózkodni. A megfelelő utalásokat a kezelési utasításnak is tartalmaznia kell.
2.3.2.14. Traktorra szerelt erőátviteli tengelyek Az erőátviteli tengelyeket (pl. négykerék-hajtás esetén) - amelyek csak akkor forognak, ha a traktor mozgásban van - védelemmel kell ellátni, ha azok a 2.3.2.9. és 2.3.2.10. pontban meghatározott tartományban találhatók.
2.3.2.15. Szabad tér a hajtókerekek körül
2.3.2.15.1. A kerekek védőburkolata elhelyezésének a szabad tér tekintetében ki kell elégítenie az alábbi követelményeket.
2.3.2.15.2. A "szabad tér" az a távolság, amelynek meg kell maradnia a hajtókerekek gumiabroncsa körül a jármű szomszédos alkatrészeihez képest.
A hajtókerekek körüli szabad térnek a legnagyobb méretű gumiabroncs felszerelése esetén meg kell felelnie a 9. ábra és a 6. táblázat által meghatározott méreteknek.

9. ábra
6. Táblázat
| Rendes traktorok | Keskeny nyomtávú traktorok | ||
| a | h | a | h | 
| mm | mm | mm | mm | 
| 40 | 60 | 15 | 30 | 
A 9. ábrán és a 6. táblázatban ábrázoltnál kisebb védőtávolság - a 2.3.2.9. és 2.3.2.10. pont szerinti távolságon kívül - is megengedett olyan keskeny nyomtávolságú traktoroknál, amelyek sárvédőjének feladata a kerékre tapadt sár eltávolítása is.
2.3.2.16. Forró felületek Azokat a forró felületeket, amelyekhez az üzemeltető a traktor rendes működtetése során hozzáérhet, le kell fedni vagy szigetelni. Ez vonatkozik azokra a forró felületekre, amilyenek a lépcsők, korlátok, kapaszkodók, valamint a traktor azon szerves részei, amelyek a be- és kiszállást segítik, és amelyekhez az üzemeltető véletlenül hozzáérhet.
2.3.2.17. Az akkumulátorsaru lefedése A nem földelt sarukat védeni kell a véletlen rövidzárlattól.
2.4. Az ülés referenciapontjának meghatározására szolgáló eljárás
2.4.1. Általános előírások
Bármilyen típusú kárpitozott ülés referenciapontjának meghatározási módszere és az ehhez szükséges készülék az alábbi ismertetésben található.
2.4.2. Fogalommeghatározások
Az ülés referenciapontja (ÜRP):
az a pont, amelyik a 10. ábra szerinti készülék függőleges, hosszirányú középsíkjában található, amely készülék a vezetőülésen a 2.4.4. és 2.4.6. ponttal összhangban van elhelyezve.
Az ülés referenciapontját a járműhöz képest kell meghatározni, és ezért annak helye nem változik az ülés állításával és/vagy lengőmozgásával.
2.4.3. Készülék az ülés referenciapontjának (ÜRP) meghatározására
Az ÜRP meghatározására szolgáló készüléknek meg kell felelnie a 10. ábrának. E készülék tömege 6 ±1 kg, alsó felülete pedig sík és csiszolt.
2.4.4. Az ülés beállítása az ÜRP meghatározásához
Ha az ülés és annak rugózása állítható, úgy az ÜRP meghatározása előtt az ülést a következők szerint kell beállítani:
a) minden beállításnak - előre, hátra, fel és dőlésben is - középhelyzetben kell lennie. Amennyiben ez nem lehetséges, úgy a középhelyzet alatti vagy feletti legközelebbi helyzetet kell beállítani;
b) az állítható rugózást úgy kell beállítani, hogy az mozgási tartománya közepén legyen, ha a készülék a helyén van és azt le is terhelték. A rugózást e helyzetben reteszelni kell mindaddig, amíg a referenciapont meghatározásra kerül;
c) a nem állítható rugózást olyan függőleges helyzetben kell rögzíteni, amely megfelel annak, amikor a készülék terhelt állapotban a helyén van;
d) ha a fenti beállítások ellenkeznek a gyártó egyértelmű utasításaival, úgy a gyártó azon útmutatásait kell követni, amelyek egy 75 kg-os járművezetőre történő beállításra vonatkoznak.
Megj.: Egy 75 kg tömegű járművezető megközelítőleg megfelel azon tömegnek, amelyet az ülésre helyezett, 65 kg tömeggel terhelt készülék tesz ki.
2.4.5. Az x', y' és z' vonatkoztatási tengelyek meghatározása az ÜRP-hez
A koordinátákat a következő módon kell meghatározni:
a) az ülésszerelvény egyik oldalán, azon felerősítő furat helyének meghatározása, amelyik a leghátsó helyzetben van;
b) ha e furat tengelye párhuzamos a készülék forgástengelyével, úgy ez az y' tengely (az ülésen lévő járművezetőhöz képest balról jobbra mutat - lásd 11. ábra);
c) ha a furat tengelye párhuzamos az ülés középvonalán átmenő függőleges síkkal, úgy azon egyenest kell y' tengelynek tekinteni, amely az említett forgástengellyel párhuzamos, és átmegy az ülés tartósíkjának és a fent említett furat tengelyének a metszéspontján (lásd 12. ábra);
d) minden más esetben az y' tengelyt a mérendő ülés paramétereivel összhangban kell meghatározni;
e) az x' és a z' tengelyt úgy kell meghatározni, mint az y' tengelyen átmenő vízszintes és függőleges síknak az ülés középvonalán átmenő függőleges síkkal való metszésvonalát. Az x' tengely előre, a z' tengely felfelé mutat (lásd 11. és 12. ábra).
2.4.6. Az ülés referenciapontjának (ÜRP) meghatározási módszere
Az ülés referenciapontját (ÜRP) a 10. ábra szerinti készülékkel az alábbiak szerint kell meghatározni:
a) az ülést egy vászondarabbal le kell fedni a készülék helyzetbeállításának megkönnyítésére;
b) a készüléket (járulékos tömeg nélkül) az ülőpárnára kell helyezni, és hátrafelé a háttámlához kell nyomni;
c) a készülék teljes tömegét terheléssel 6 ±1 kg-ról 26 ±1 kg-ra kell növelni. A függőleges erők támadáspontjának 40 mm-re kell lennie a készülék vízszintes részén jelölt ÜRP előtt (lásd 10. ábra);
d) a készüléket kétszer, kb. 100 N vízszintes erővel kell terhelni a referenciapontnál, a 10. ábra szerint;
e) további tömegeket kell a terheléshez adni úgy, hogy a készülék teljes tömege 65 ±1 kg-ra változzon. A hozzáadott tömegekből adódó súlyerő támadáspontjának 40 mm-re kell lennie a készülék vízszintes részén jelölt ÜRP előtt (lásd a 10. ábra);
f) az ülés mindkét oldalán, az ülés hosszirányú középvonalától azonos távolságban lévő két függőleges síkban, ± 1 mm-es pontossággal meg kell mérni a készülékkel kijelölt referenciaponton átmenő tengelyen e síkok metszéspontjának a 2.4.5. pont szerinti koordinátáit.
A két síkon így mért értékek számtani középértékei az ÜRP koordinátái;
g) azon feltételeket, amelyek a sík meghatározásának módszeréből következnek és eltérnek az e melléklet szerinti eljárástól, vagy amelyek hibás eredmény forrásai lehetnek, fel kell jegyezni és ugyancsak fel kell jegyezni a hibás eredmények okait is.

10. ábra Készülék az ülés referenciapontjának (ÜRP) meghatározására

11. ábra Az ÜRP vonatkozási tengelyeinek meghatározása
(a felerősítő furat tengelye párhuzamos a hát/comb forgástengellyel)

12. ábra Az ÜRP három vonatkoztatási tengelyének meghatározása
(a felerősítő furat tengelye párhuzamos az ülés középvonalán átmenő függőleges síkkal)
3. KIEGÉSZÍTŐ BIZTONSÁGI KÖVETELMÉNYEK KÜLÖNLEGES ALKALMAZÁSOKHOZ
3.1. Leeső tárgyak ellen védő szerkezetek
A leeső tárgyak ellen védő szerkezeteknek (ha vannak) meg kell felelniük az OECD 10. kódexének ( 12 ).
3.2. A kezelőt védő szerkezetek
3.2.1. A kezelőt védő szerkezeteknek (ha vannak) meg kell felelniük az ISO 8084:2003 szabványnak ( 13 ).
3.2.2. A 3.2.1. pont rendelkezéseinek sérelme nélkül a III. A. melléklet 1.1.3. pontja szerinti, üvegezéssel ellátott traktorok - az erdészeti célú alkalmazások kivételével - kezelőt védő szerkezetekkel felszerelt traktoroknak tekintendők.
3.3. Veszélyes anyagokkal történő érintkezés megelőzése
Az EN 15695-1:2009 szabvány követelményei alkalmazandók a 2003/37/EK irányelv 2. cikkének j) pontjában meghatározott valamennyi traktorra, ha azokat olyan körülmények között használják, amelyek veszélyes anyagokkal történő érintkezés kockázatával járhatnak; ilyen esetben a kezelőfülkének a szabvány 2., 3. vagy 4. szintjének követelményeit kell teljesítenie. Le kell írni a megfelelő szint kiválasztásának kritériumait, amelyeknek összhangban kell állniuk a kezelési útmutatóban feltüntetett kritériumokkal. Peszticidek permetezéséhez a kezelőfülkének 4. szintűnek kell lennie.
4. KEZELÉSI ÚTMUTATÓ
A kezelési útmutatónak meg kell felelnie az ISO 3600:1996 szabványnak ( 14 ), a 4.3. szakasz (Gépek jelölése) kivételével.
4.1. A kezelési útmutatónak különösen, illetve az ISO 3600:1996 szabvány követelményein kívül a következőket kell tartalmaznia:
a) a kezelő számára a kezelőszervekhez viszonyítva ergonomikus testhelyzetet biztosító, valamint a teljes test rázkódása okozta kockázatot minimálisra csökkentő ülésbeállítás és felfüggesztés;
b) a fűtő-, szellőző és légkondicionáló rendszer (ha van) használata és beállítása;
c) a motor beindítása és leállítása;
d) a vészkijáratok helye és nyitásának módja;
e) felszállás a traktorra és leszállás a traktorról;
f) az ízelt kormányzású traktorok csuklós tengelye körüli veszélyes terület;
g) egyedi eszközök használata (ha vannak);
h) a szervizelés és a karbantartás biztonságos módszerei;
i) tájékoztatás a hidraulikus tömlők ellenőrzésének gyakoriságáról;
j) a traktor vontatására vonatkozó utasítások;
k) az emelők biztonságos használatára és az ajánlott támasztópontokra vonatkozó utasítások;
l) az akkumulátorokkal és üzemanyagtartályokkal kapcsolatos veszélyek;
m) a traktor használatának tiltása, ha borulásveszély áll fenn, azzal a megjegyzéssel, hogy a felsorolás nem teljes;
n) forró felületekkel kapcsolatos, egyéb kockázatok, úgy mint olaj vagy hűtőfolyadék töltése forró motorba vagy hajtóműbe;
o) a leeső tárgyak ellen védő szerkezet (ha van ilyen) védelmi szintje;
p) a veszélyes anyagok elleni védelem (ha van ilyen) szintje;
q) a kezelőt védő szerkezet (ha van ilyen) védelmi szintje.
4.2. Traktorra szerelt gépek, pótkocsik és cserélhető vontatott gépek összekapcsolása, szétkapcsolása és használata
A kezelési útmutatónak tartalmaznia kell a következőket:
a) figyelmeztetés a traktorra szerelt vagy vontatott gép vagy pótkocsi kezelési útmutatójában szereplő utasítások szigorú betartására, valamint arra, hogy csak valamennyi utasítást betartva működtessék a traktor - gép vagy traktor - pótkocsi összeállítást;
b) figyelmeztetés a távolságtartásra a hárompontos kapcsolórendszer ellenőrzésekor;
c) arra vonatkozó figyelmeztetés, hogy a felszerelt gépet le kell engedni a talajra a traktorról való leszállás előtt;
d) teljesítményleadó tengely fordulatszáma a felszerelt gép vagy vontatott jármű függvényében;
e) kizárólag megfelelő védőburkolattal ellátott teljesítményleadó tengelyek használatának követelménye;
f) tájékoztatás a hidraulikus kapcsolókról és azok funkciójáról;
g) tájékoztatás a hárompontos kapcsolórendszer maximális emelési kapacitásáról;
h) tájékoztatás az össztömeg, a tengelyterhelés, a gumiabroncs terhelhetőségének és a szükséges minimális ellensúly meghatározásáról;
i) tájékoztatás a rendelkezésre álló fékberendezésekről és azok vontatott járművekkel való kompatibilitásáról;
j) a vonóhorog megengedett függőleges terhelése a hátsó gumiabroncs méretétől és a horog típusától függően;
k) tájékoztatás a teljesítményleadó tengelyek és munkagépek együttes használatáról, valamint arról, hogy a tengelyek műszakilag lehetséges dőlésszöge a pajzs formájától és méretéről és/vagy védett terétől függ, beleértve a csökkentett méretű 3. típusú teljesítményleadó tengely esetében szükséges külön tájékoztatást;
l) a megengedett legnagyobb vontatható tömeget feltüntető, előírt táblára vonatkozó adatok ismétlése;
m) arra vonatkozó figyelmeztetés, hogy ne tartózkodjanak a traktor és a vontatott jármű között.
4.3. Zajszintre vonatkozó nyilatkozat A kezelési útmutatónak meg kell adnia a kezelő fülét érő, a 2009/76/EK ( 15 ) európai parlamenti és tanácsi irányelv szerint mért zajszint értékét és a mozgásban lévő traktor 2009/63/EK ( 16 ) európai parlamenti és tanácsi irányelv VI. melléklete szerint mért zajszintjét.
4.4. Rezgésekre vonatkozó nyilatkozat A kezelési útmutatónak meg kell adnia a rezgés 78/764/EGK ( 17 ) tanácsi irányelv szerint mért szintjét.
4.5. A traktor következő főbb üzemmódjai esetében indokoltan várható és megállapítható, hogy különös veszélyekkel járhatnak a következők:
a) homlokrakodóval végzett munka (leeső tárgyak kockázata);
b) erdészeti alkalmazás (leeső és/vagy a kezelőfülkébe behatoló tárgyak kockázata);
c) traktorra szerelt vagy vontatott permetezőgéppel végzett munka (veszélyes anyagok kockázata).
Különös figyelmet kell fordítani a kezelési útmutatóban a traktor és a fenti berendezések együttes használatára.
4.5.1. Homlokrakodó
4.5.1.1. A kezelési útmutatónak tartalmaznia kell a homlokrakodóval végzett munkával járó veszélyek leírását, valamint az ilyen veszélyek elkerülésének magyarázatát.
4.5.1.2. A kezelési útmutatóban fel kell tüntetni a traktor felépítményén azokat a rögzítési pontokat, amelyekre a homlokrakodót fel kell szerelni, valamint a felhasználandó szerelvények méretét és minőségét is. Ha nincsenek ilyen rögzítési pontok, a kezelési útmutatóban meg kell tiltani homlokrakodók felszerelését.
4.5.1.3. A programozható hidraulikus lefutástervezéssel rendelkező traktorok esetében kötelező tájékoztatást adni arról, hogyan kell a rakodó hidraulikát úgy csatlakoztatni, hogy ne működjön ez a funkció.
4.5.2. Erdészeti alkalmazás
4.5.2.1. Amennyiben mezőgazdasági traktort erdészeti célra használnak, a megállapított veszélyek a következők:
a) ledőlő fa, elsősorban abban az esetben, ha a traktor hátuljára szerelik a famarkolót;
b) kezelőfülkébe behatoló tárgyak, elsősorban abban az esetben, ha csörlőt szerelnek a traktor hátuljára.
4.5.2.2. A kezelési útmutatónak tájékoztatást kell adnia a következőkről:
a) a 4.5.2.1. pontban leírt veszélyek fennállása;
b) bármilyen esetleg rendelkezésre álló, opcionális berendezés, amellyel elháríthatók ezek a veszélyek;
c) a traktoron lévő rögzítési pontok, ahova a védőszerkezetek felszerelhetők, valamint a felhasználandó szerelvények mérete és minősége; ha nincs lehetőség megfelelő védőszerkezetek felszerelésére, azt meg kell említeni;
d) a védőszerkezetek körébe tartozó, a kezelőállást a ledőlő fáktól védő keret vagy a fülke ajtaját, tetejét és ablakait védő (hálós) rács;
e) a leeső tárgyak ellen védő szerkezet (ha van) hatásossága.
4.5.3. Permetezőgéppel végzett munka (veszélyes anyagok kockázata)
A veszélyes anyagok elleni védelem EN 15695-1:2009 szabványnak megfelelő szintjét le kell írni a kezelési útmutatóban.
Függelék
MINTA
A hatóság neve
MELLÉKLET TRAKTORTÍPUSNAK A SEBESSÉGSZABÁLYOZÓK, VALAMINT A HAJTÓELEMEK, A KIÁLLÓ RÉSZEK ÉS A KEREKEK VÉDELME, A KÜLÖNLEGES ALKALMAZÁSOKRA VONATKOZÓ KIEGÉSZÍTŐ BIZTONSÁGI KÖVETELMÉNYEK, ILLETVE A KEZELÉSI ÚTMUTATÓ TEKINTETÉBEN TÖRTÉNŐ JÓVÁHAGYÁSÁRA VONATKOZÓ EK-TÍPUS-JÓVÁHAGYÁSI BIZONYÍTVÁNYHOZ
(A mezőgazdasági vagy erdészeti traktorok, azok pótkocsijainak és cserélhető vontatott munkagépeinek, beleértve ezek rendszereit is, továbbá alkatrészeinek és önálló műszaki egységeinek típusjóváhagyásáról szóló, 2003. május 26-i 2003/37/EK európai parlamenti és tanácsi irányelv 4 cikkének (2) bekezdése)
EK-típusjóváhagyás száma: ...
1. Alkatrészek vagy jellemzők:
1.1. Sebességszabályzó (ha van ilyen):
1.2. A hajtóegységek, kinyúló részek és kerekek védelme
1.3. Különleges alkalmazásokra vonatkozó kiegészítő biztonsági követelmények (ha van ilyen):
1.3.1. Leeső tárgyak ellen védő szerkezetek
1.3.2. A kezelőt védő szerkezetek
1.3.3. Veszélyes anyagokkal történő érintkezés megelőzése.
2. A traktor gyártmánya (vagy gyártójának cégneve):
...
...
3. A traktor típusa és adott esetben kereskedelmi neve:
...
...
4. A gyártó neve és címe:
...
...
5. A gyártó meghatalmazott képviselőjének neve és címe (adott esetben):
...
...
6. Az 1. pont szerinti alkatrészek és/jellemzők leírása:
...
7. A traktor EK-típusjóváhagyásra átadva:
...
8. A típus-jóváhagyási vizsgálatot végző műszaki szolgálat:
...
...
9. E szolgálat által kiállított jegyzőkönyv kelte:
...
10. E szolgálat által kiállított jegyzőkönyv száma:
...
11. Az EK-típusjóváhagyás a sebességszabályzóra, a hajtóelemekre, a kinyúló részek és a kerekek védelmére vonatkozóan megadva/elutasítva ( 18 ).
12. Hely: ...
13. Kelt: ...
14. Aláírás: ...
15. A fenti EK-típusjóváhagyás számával ellátott alábbi okmányokat csatolták e bizonyítványhoz:
... méretezett rajzok;
... a traktor vizsgált alkatrészeinek rajza vagy fényképe;
... kezelési útmutató.
Ezen adatokat a többi tagállam illetékes hatóságainak kérésükre meg kell küldeni.
16. Megjegyzések:
...
...
...
III. A. MELLÉKLET
Szélvédő és egyéb üvegezések Felszerelési követelmények, fogalommeghatározások, alkatrész-típusjóváhagyási kérelem, alkatrész-típusjóváhagyás, jelölések, általános műszaki követelmények, vizsgálatok és gyártásmegfelelőség
1. FELSZERELÉSI ELŐÍRÁSOK
1.1. A mezőgazdasági és erdészeti traktorokat a gyártó választása alapján felszerelheti:
1.1.1. olyan szélvédőkkel és egyéb üvegtáblákkal, amelyek megfelelnek e melléklet előírásainak;
1.1.2. az e melléklet szerinti "egyéb üvegtáblákra" alkalmazandó előírásoknak megfelelő szélvédővel, kivéve az ezen irányelv III. C. mellékletének 9.1.4.2. pontja szerinti üvegtáblákat (üvegtáblák 70 %-nál kisebb rendes fényáteresztő képességgel);
1.1.3. nem szélvédőként engedélyezett a szilárd műanyag üveg, ahogy azt a 92/22/EGK tanácsi rendelet ( 19 ) vagy a 43. sz. ENSZ EGB rendelet 14. melléklete jóváhagyja.
2. FOGALOMMEGHATÁROZÁSOK
Ezen irányelv alkalmazásában:
2.1. "edzett üveg": olyan, egyetlen üvegrétegből képzett üvegtábla, amelyet különlegesen hőkezeltek a mechanikai szilárdság növelése és a törés utáni szilánkosodás szabályozása céljából;
2.2. "rétegelt üvegtábla": olyan két vagy több üvegrétegből összeállított üvegtábla, amelynek rétegeit közbenső műanyagrétegek rögzítik egymáshoz. Ez lehet:
2.2.1. "közönséges": ha a táblát alkotó egyik üvegréteg sem kezelt; illetve
2.2.2. "kezelt": ha legalább az egyik összetevő üvegréteg hőkezelt a mechanikai szilárdság növelése és a törés utáni szilánkosodás szabályozása céljából;
2.3. "műanyag bevonatú biztonsági üveg": a 2.1. és a 2.2. pont szerinti olyan üvegtábla, amelynek belső felületén műanyag réteg található;
2.4. "üveg-műanyag biztonsági üvegezés": olyan, egy réteg üvegből és egy vagy több réteg műanyagból álló rétegelt üvegtábla, amelynek legalább egyik műanyag rétege közbenső funkciót lát el. Az üvegezés traktorra helyezésekor a műanyag rétegnek a belső felületen kell lennie;
2.5. "szélvédő csoport": olyan különböző méretű és alakú szélvédők által alkotott csoport, amelynek bevizsgált mechanikai és szilánkosodási tulajdonságai vannak, és ugyancsak vizsgálattal ellenőrzött a környezettel szembeni ellenálló képessége;
2.5.1. "lapos szélvédő": olyan szélvédő, amelynek névleges görbülete nem eredményez 10 mm/m értéket meghaladó eltérést a síktól;
2.5.2. "ívelt szélvédő": olyan szélvédő, amelynek névleges görbülete meghaladja a 10 mm/m értéket;
2.6. "kettős ablak": a traktor ugyanazon nyílásába behelyezett különálló két táblából összeállított készlet;
2.7. "kettős üvegezés": olyan két, gyárilag tartósan összeszerelt üvegtáblából álló egység, ahol az üvegtáblákat egyenletes rés határolja el egymástól;
2.7.1. "szimmetrikus kettős üvegezés": olyan kettős üvegezés, amelynél az üvegezést alkotó két üvegtábla azonos típusú (edzett vagy rétegelt üveg stb.), és ezek elsődleges, továbbá másodlagos jellemzői azonosak;
2.7.2. "aszimmetrikus kettős üvegezés": olyan kettős üvegezés, amelynél az üvegezést alkotó két üvegtábla különböző típusú (edzett vagy rétegelt üveg stb.), vagy ezek elsődleges és/vagy másodlagos jellemzői eltérőek;
2.8. "elsődleges jellemző": olyan jellemző, amely lényegesen megváltoztatja az üvegtábla optikai és/vagy mechanikai tulajdonságait a traktorban betöltött funkciójuk tekintetében. E fogalom vonatkozik a kereskedelmi névre vagy márkajelre is;
2.9. "másodlagos jellemző": olyan jellemző, amely jelentősen megváltoztathatja az üvegtábla optikai és/vagy mechanikai tulajdonságait azon funkció tekintetében, amelyet az üvegtáblának a traktorban be kell tölteni. Az ilyen változás jelentőségét egy nehézségi fok szerinti besorolás alapján kell kiértékelni;
2.10. "nehézségi fok": minden másodlagos jellemző tekintetében a gyakorlatban megfigyelt változásokra alkalmazható, kétfokozatú minősítő rendszer. Az "1"-es nehézségi fokról a "2"-esre történő átmenet azt jelenti, hogy további vizsgálatok szükségesek;
2.11. "a szélvédő kiterített területe": azon legkisebb téglalap alakú üvegterület, amelyből a szélvédő gyártható;
2.12. "a szélvédő dőlésszöge": egy függőleges vonal és a szélvédő felső és alsó szélén áthaladó egyenes vonal által bezárt szög; e két vonalnak a traktor hossztengelye mentén függőleges síkban kell lennie.
2.12.1. A dőlésszöget vízszintes felületen álló, terheletlen traktoron kell mérni.
2.12.2. A hidropneumatikus, hidraulikus vagy pneumatikus rugózású, illetve a szabad magasság terheléstől függő automatikus beállításra szolgáló készülékkel felszerelt traktor vizsgálata a gyártó által meghatározott rendes üzemi körülmények között történik.
2.13. "h jelű szegmens magasság": az üvegtábla belső felülete és a két szélén áthaladó sík között derékszögben mérhető legnagyobb távolság. E távolságot az üvegfelülethez való rendes közelítéssel kell meghatározni (lásd III. N. melléklet, 1. ábra).
2.14. "Üvegtábla típus": a 2.1.-2.4. pontban meghatározott olyan üvegtáblák, amelyek különösen a III. D.-III. L. melléklet szerinti elsődleges és másodlagos jellemzők tekintetében nem különböznek lényegesen egymástól.
2.14.1. Ugyan az elsődleges jellemzők változása azt jelenti, hogy a gyártmány új típusú, egyes esetekben azonban az alak és a méretek megváltozása nem követeli meg szükségszerűen a teljes körű vizsgálatsorozat végrehajtását. Az egyes mellékletek szerinti bizonyos vizsgálatokhoz az üvegtáblák egy csoportba sorolhatók, ha nyilvánvaló, hogy elsődleges jellemzőik hasonlóak.
2.14.2. Az olyan eltéréseket mutató üvegtáblák azonos típusúaknak tekinthetők, amelyek eltérései csak a másodlagos jellemzőkben mutatkoznak meg; bizonyos vizsgálatok azonban ilyen üvegtáblamintákon is elvégezhetőek, ha e vizsgálatok a vizsgálati feltételekben kifejezetten elő vannak írva.
2.15. "r görbület": a szélvédő - ívének legnagyobb görbületű felületén mért - legkisebb sugarának közelítő értéke.
3. AZ ALKATRÉSZ-TÍPUSJÓVÁHAGYÁSI KÉRELEM
3.1. Az üvegtábla EK-alkatrész-típusjóváhagyási kérelmét a biztonsági üvegtábla gyártója vagy szabályszerűen meghatalmazott képviselője nyújtja be valamennyi biztonsági üvegtípusra. E kérelmet csak egy tagállamban lehet benyújtani.
3.2. A biztonsági üvegek minden típusának kérelméhez 3 példányban az alábbi dokumentumokat és adatokat kell mellékelni:
3.2.1. az összes elsődleges és másodlagos jellemzőt tartalmazó műszaki leírás; és,
3.2.1.1. ha nem szélvédőről, hanem más üvegezésről van szó, akkor legfeljebb A/4-es méretű vagy ilyenre összehajtogatott rajzok, a következő adatokkal:
- a legnagyobb terület,
- az üvegtábla két szomszédos oldala által bezárt legkisebb szög, és
- adott esetben a legnagyobb szegmensmagasság;
3.2.1.2. szélvédők esetén:
3.2.1.2.1. azon szélvédők jegyzéke, amelyekre az alkatrész-típusjóváhagyást kérik, valamint a traktor gyártójának neve és a traktor típusa;
3.2.1.2.2. 1:10 méretarányú rajzok és ábrák a szélvédőkről, valamint azok traktorba való beépítéséről, elegendő részletességgel ahhoz, hogy bemutassák a következőket:
3.2.1.2.2.1. a szélvédő helyzete az R referenciaponthoz képest a 2008/2/EK tanácsi irányelv ( 20 ) I. mellékletének 1.2. pontja szerint;
3.2.1.2.2.2. a szélvédő dőlésszöge;
3.2.1.2.2.3. azon mező helyzete és mérete, amelynek optikai tulajdonságait vizsgálni kell, és adott esetben a differenciált hőkezelésnek alávetett terület;
3.2.1.2.2.4. a szélvédő kiterített területe;
3.2.1.2.2.5. a szélvédő legnagyobb szegmensmagassága; és
3.2.1.2.2.6. a szélvédő görbülete (kizárólag a szélvédők csoportosításához);
3.2.1.3. kettős üvegezés esetén legfeljebb A/4-es vagy ilyenre összehajtogatott rajzok, amelyeken a 3.2.1.1. pont szerinti információkon kívül szerepeltetni kell a következőket:
- a kettős üvegezést alkotó egyes üvegtáblák típusa,
- a kötés típusa (szerves, üveg-üveg vagy üveg-fém),
- a két üvegtábla közötti rés névleges vastagsága.
3.3. Ezenkívül a kérelmezőnek elegendő számú vizsgálati darabot és az érintett típusok kész üvegtábláiból mintát kell rendelkezésre bocsátania; ezek darabszámában szükség esetén a vizsgálatok elvégzéséért felelős műszaki szolgálattal lehet megállapodni.
3.4. Az illetékes hatóság a típusjóváhagyás megadása előtt ellenőrzi, hogy megtörténtek-e a megfelelő intézkedések egy olyan hatékony ellenőrzés biztosítására, amely felderíti, hogy a gyártás megfelel-e az előírásoknak.
4. JELÖLÉSEK
4.1. Minden biztonsági üvegtáblán - beleértve a típusjóváhagyásra benyújtott mintákat és próbadarabokat is - fel kell tüntetni a gyártó kereskedelmi nevét vagy márkajelét. E megjelölésnek világosan olvashatónak és eltávolíthatatlannak kell lennie.
5. ALKATRÉSZ-TÍPUSJÓVÁHAGYÁS
5.1. Ha az alkatrész-típusjóváhagyáshoz benyújtott minták megfelelnek az alábbi 5-7. pontok szerinti követelményeknek, úgy a biztonsági üvegtábla kérdéses típusára a jóváhagyást meg kell adni.
5.2. Alkatrész-típusjóváhagyási számot kell kijelölni minden, a III. E., III. G., III. K. és III. L. melléklet szerinti típusra, illetve szélvédők esetén minden jóváhagyott csoportra. Az első két számjegy (89/173/EGK irányelv eredeti formája esetén jelenleg 00) jelöli azon módosítások sorozatát, amelyek magukban foglalják ez utóbbi irányelv által hatályon kívül helyezett 89/173/EGK irányelvhez készült legújabb fő műszaki módosításokat a jóváhagyás megadásának időpontjában. A tagállam ugyanazon számot a biztonsági üvegtáblák másik típusára vagy csoportjára nem alkalmazhatja.
5.3. A biztonsági üvegtábla valamely típusára vonatkozóan az ezen irányelv szerint megadott alkatrész-típusjóváhagyásról, a jóváhagyás kiterjesztéséről, illetve megtagadásáról a tagállamokat a III. B. mellékletben és annak függelékeiben megadott mintákkal összhangban elkészített értesítés útján tájékoztatni kell.
5.3.1. Szélvédők esetében az EK-alkatrész-típusjóváhagyásról szóló értesítéshez mellékelni kell egy dokumentumot, amely a jóváhagyott csoporthoz tartozó összes szélvédőtípust felsorolja a csoport jellemzőivel együtt, a III. B. melléklet 8. függelékével összhangban.
5.4. A 4.1. pontban meghatározott jelölésen túl az EK-alkatrész-típusjóváhagyás jelét jól láthatóan el kell helyezni minden olyan biztonsági üvegtáblán és kettős üvegezésű egységen, amely megfelel az ezen irányelv alapján jóváhagyott típusnak. Emellett felhelyezhető minden olyan különleges alkatrész-típusjóváhagyási jel is, amelyet egy kettős üvegezésű egység minden üvegtáblájára alkalmazni kell.
E típus-jóváhagyási jel a következőkből áll:
5.4.1. egy négyszög, amelyben "e" betű található, ezt követi azon ország megkülönböztető száma, amelyik a típusjóváhagyást megadta ( 21 );
5.4.2. a négyszögtől jobbra az 5.4.1. szerinti alkatrész-típusjóváhagyási szám.
5.5. A fent leírt EK-típusjóváhagyási jel közelében további jelöléseket kell elhelyezni, az alábbiak szerint:
5.5.1. Szélvédő esetén:
I : edzett üvegre (I/P ha bevonatos) ( 22 ),
II : közönséges rétegelt üvegre (II/P ha bevonatos) (22) ,
III : kezelt rétegelt üvegre (III/P ha bevonatos) (22) ,
IV : üveg-műanyag üvegezésre;
5.5.2. V : olyan üvegtábla esetén, amely eltér azon szélvédőtől, amelyre a III. C. melléklet 9.1.4.2. pontjának előírásai vonatkoznak;
5.5.3. VI : kettős üvegezésű egység esetén;
5.5.4. T : olyan szélvédők esetén, amelyek a nem szélvédő céljára szolgáló üvegtáblákra előírt követelményeknek felelnek meg, kivéve azokat, amelyekre a III. C. melléklet 9.1.4.2. pontjának előírásai vonatkoznak (üvegtáblák 70 %-nál kisebb rendes fényáteresztő képességgel). A nem szélvédő céljára szolgáló üvegtáblák követelményeinek megfelelő szélvédő esetén azonban a "T" jelölés csak a III. G. melléklet 3.3.2. pontja szerinti 4,0 m +25/-0 mm ejtési magasságról fejformával végzett ütközéses vizsgálat után helyezhető el.
5.6. Az EK-alkatrész-típusjóváhagyási jelnek és a többi jelölésnek jól olvashatónak és eltávolíthatatlannak kell lennie.
5.7. A melléklet függeléke példákat tartalmaz az alkatrész-típusjóváhagyási jelekre.
6. ÁLTALÁNOS MŰSZAKI KÖVETELMÉNYEK
6.1. Az összes üvegtáblának, de különösen azoknak, amelyekből szélvédőket gyártanak, megfelelő minőségűnek kell lenniük ahhoz, hogy a lehető legnagyobb mértékben csökkentsék a testi sérülés veszélyét üvegtörés esetén. Az üvegnek megfelelően ellenállónak kell lennie a rendes forgalomban valószínűleg bekövetkező váratlan eseményekkel szemben, továbbá a környezeti, hőmérsékleti viszonyokkal, vegyi hatásokkal, égéssel és kopással szemben.
6.2. A biztonsági üvegnek ezenkívül megfelelő mértékben átlátszónak kell lennie, nem okozhatja a szélvédőn keresztül nézett tárgyak észrevehető torzulását, és nem vezethet a közúti közlekedési jelek és jelzések színeinek összetévesztéséhez. A járművezetőnek még a szélvédő törése esetén is világosan látnia kell az utat ahhoz, hogy biztonságosan le tudja fékezni, és meg tudja állítani a traktort.
7. KÜLÖN KÖVETELMÉNYEK
Attól függően, hogy melyik kategóriába tartozik, minden biztonságiüveg-típusnak meg kell felelnie az alábbi külön követelményeknek:
7.1. az edzett üveg anyagú szélvédők a III. D. mellékletben foglalt követelményeknek;
7.2. a nem szélvédők céljára szolgáló, egyenletesen hőkezelt üvegtáblák a III. E. mellékletben foglalt követelményeknek;
7.3. a közönséges rétegelt üvegből készült szélvédők a III. F. mellékletben foglalt követelményeknek;
7.4. a nem szélvédők céljára szolgáló közönséges rétegelt üvegtáblák a III. G. mellékletben foglalt követelményeknek;
7.5. a kezelt rétegelt üvegből készült szélvédők a III. H. mellékletben foglalt követelményeknek;
7.6. a műanyag bevonatú biztonsági üvegtáblák - a fentiekben felsorolt követelményeken túl - a III. I. mellékletben foglalt követelményeknek;
7.7. az üveg-műanyag szélvédők a III. J. mellékletben foglalt követelményeknek;
7.8. a nem szélvédők céljára szolgáló üveg-műanyag táblák a III. K. mellékletben foglalt követelményeknek;
7.9. a kettős üvegezésű egységek a III. L. mellékletben foglalt követelményeknek.
8. VIZSGÁLATOK
8.1. Az alábbi vizsgálatokat kell elvégezni:
8.1.1. Szilánkosodás
A vizsgálat célja:
8.1.1.1. annak ellenőrzése, hogy az üvegtábla törése következtében keletkezett szilánkok és törött részek olyanok-e, hogy a minimálisra csökkentik a sérülésveszélyt; és
8.1.1.2. szélvédők esetén a törés után fennmaradt látási viszonyok ellenőrzése.
8.1.2. Mechanikai szilárdság
8.1.2.1. Ütközésvizsgálat golyóval
E vizsgálat végrehajtása kétféle módon történik, egy 227 g tömegű, illetve egy 2 260 g tömegű golyó segítségével.
8.1.2.1.1. Vizsgálat a 227 g tömegű golyóval: a vizsgálat célja a rétegelt üveg közbenső rétege tapadásának és az egyenletesen hőkezelt üveg mechanikai szilárdságának ellenőrzése.
8.1.2.1.2. Vizsgálat 2 260 g tömegű golyóval: a vizsgálat célja a rétegelt üveg által a golyó behatolásával szemben tanúsított ellenállásnak az ellenőrzése.
8.1.2.2. Ütközéses vizsgálat fejformával
E vizsgálat célja annak ellenőrzése, hogy az üvegtábla megfelel-e a sérülések korlátozására vonatkozó követelményeknek akkor, amikor a járművezető vagy az utas feje nekiütődik a szélvédőnek, a nem szélvédő céljára szolgáló rétegelt üveg vagy üveg-műanyag táblának, illetve az oldalsó ablakokként használt kettős üvegezésű egységeknek.
8.1.3. Környezettel szembeni ellenálló képesség
8.1.3.1. Koptatási vizsgálat
A vizsgálat célja annak megállapítása, hogy a biztonsági üvegtábla kopásállósága meghalad-e egy bizonyos értéket.
8.1.3.2. Vizsgálat magas hőmérsékleten
E vizsgálat célja annak ellenőrzése, hogy keletkeznek-e buborékok, illetve egyéb hibák a rétegelt üveg vagy üveg-műanyagtábla közbenső rétegében, amennyiben ezek hosszabb ideig magasabb hőmérséklet hatásának vannak kitéve.
8.1.3.3. Sugárzásállósági vizsgálat
E vizsgálat célja annak megállapítása, hogy a sugárzásnak hosszabb ideig kitett rétegelt üveg, üveg-műanyag vagy műanyag bevonatú üvegtáblák fényáteresztő képessége jelentős mértékben csökken-e vagy megváltozik-e az üvegezés színe.
8.1.3.4. A nedvességállóság vizsgálata
E vizsgálat célja annak ellenőrzése, hogy a rétegelt üveg, az üveg-műanyag tábla vagy a műanyag bevonatú üvegtábla jelentősebb károsodás nélkül ellenáll-e a környezeti nedvesség hosszabb ideig tartó hatásának.
8.1.3.5. A hőmérséklet-változással szembeni ellenállás vizsgálata
E vizsgálat célja annak megállapítása, hogy a 2.3. és 2.4. pont szerinti biztonsági üvegezéshez alkalmazott műanyagok jelentős károsodás nélkül ellenállnak-e hosszabb időn keresztül a szélsőséges hőmérsékleti hatásoknak.
8.1.4. Az optikai minőség jellemzői
8.1.4.1. A fényáteresztés vizsgálata
E vizsgálat célja annak megállapítása, hogy a biztonsági üvegtáblák rendes fényáteresztő képessége meghaladja-e az előírt értéket.
8.1.4.2. Az optikai torzítás vizsgálata
E vizsgálat célja annak ellenőrzése, hogy a szélvédőn át látott tárgyak torzulása meghaladja-e azt a mértéket, amely már valószínűleg megzavarja a járművezetőt.
8.1.4.3. A másodlagos képszétválás vizsgálata
E vizsgálat célja annak ellenőrzése, hogy a másodlagos kép szögben mért különválása az elsődleges képtől meghaladja-e a meghatározott értéket.
8.1.4.4. A színazonosítás vizsgálata
E vizsgálat célja annak ellenőrzése, hogy a szélvédőn keresztül nézve fennáll-e a színek összetévesztésének veszélye.
8.1.5. A tűzállóság vizsgálata
E vizsgálat célja annak ellenőrzése, hogy a 2.3. és 2.4. pont szerinti biztonsági üvegtábla belső felületének elegendően alacsony-e az égési sebessége.
8.1.6. A vegyi anyagokkal szembeni ellenállás vizsgálata
E vizsgálat célja annak megállapítása, hogy a 2.3. és 2.4. pont szerinti biztonsági üvegtábla belső felülete képes-e károsodás nélkül ellenállni a traktoron előforduló vagy az abban használatos vegyi eredetű anyagok (pl. tisztítószerek stb.) hatásainak.
8.2. A 2.1.-2.4. pont szerinti üvegtábla-kategóriákra előírt vizsgálatok
8.2.1. A biztonsági üvegtáblákon el kell végezni az alábbi táblázatban felsorolt vizsgálatokat
| Szélvédők | Nem szélvédők céljára szolgáló egyéb üvegtáblák | |||||||||
| Edzett üveg | Közönséges rétegelt üveg | Kezelt rétegelt üveg | Üveg-műanyag | Edzett üveg | Rétegelt üveg | Üveg-műanyag | ||||
| I | I/P | II | II/P | III | III/P | IV | ||||
| Szilánkosodás | D/2 | D/2 | — | — | H/4 | H/4 | — | E/2 | — | — | 
| Mechanikai szilárdság | ||||||||||
| 227 g-os golyó | — | — | F/4.3. | F/4.3. | F/4.3. | F/4.3. | F/4.3. | E/3.1. | G/4 | G/4 | 
| 2 260 g-os golyó — | — | — | F/4.2. | F/4.2. | F/4.2. | F/4.2. | — | — | — | — | 
| ütközéses vizsgálat fejformával (1) | D/3 | D/3 | F/3 | F/3 | F/3 | F/3 | J/3 | — | G/3 (3) | K/3 (3) | 
| koptatás | ||||||||||
| külső felület | — | — | F/5.1. | F/5.1. | F/5.1. | F/5.1. | F/5.1. | — | F/5.1. | F/5.1. | 
| belső felület | — | I/2 | — | I/2 | — | I/2 | I/2 | I/2 (2) | I/2 (2) | I/2 | 
| magas hőmérséklet | — | — | C/5 | C/5 | C/5 | C/5 | C/5 | — | C/5 | C/5 | 
| sugárzás | — | C/6 | C/6 | C/6 | C/6 | C/6 | C/6 | — | C/6 | C/6 | 
| nedvességállóság | — | C/7 | C/7 | C/7 | C/7 | C/7 | C/7 | C/7 (2) | C/7 | C/7 | 
| fényáteresztés | C/9.1. | C/9.1. | C/9.1. | C/9.1. | C/9.1. | C/9.1. | C/9.1. | C/9.1. | C/9.1. | C/9.1. | 
| optikai torzítás | C/9.2. | C/9.2. | C/9.2. | C/9.2. | C/9.2. | C/9.2. | C/9.2. | — | — | — | 
| másodlagos kép | C/9.3. | C/9.3. | C/9.3. | C/9.3. | C/9.3. | C/9.3. | C/9.3. | — | — | — | 
| színazonosítás | C/9.4. | C/9.4. | C/9.4. | C/9.4. | C/9.4. | C/9.4. | C/9.4. | — | — | — | 
| ellenállás hőmérséklet-változással szemben | — | C/8 | — | C/8 | — | C/8 | C/8 | C/8 (2) | C/8 (2) | C/8 | 
| tűzállóság | — | C/10 | — | C/10 | — | C/10 | C/10 | C/10 (2) | C/10 (2) | C/10 | 
| ellenállás vegyszerrel szemben | — | C/11 | — | C/11 | — | C/11 | C/11 | C/11 (2) | C/11 (2) | C/11 | 
| (1)   E vizsgálatot el kell végezni a III. melléklet 3. pontja szerinti kettős üvegezésű egységeken is. (2) Ha a belső oldalon műanyag bevonat van. (3) E vizsgálatot 4 m + 25/–0 mm ejtési magasságból kell végezni az 1,5 m + 25/–0 mm helyett, ha az üvegtáblákat a traktorok szélvédőjeként használják. Megjegyzés: A táblázat szerinti hivatkozás (pl. K/3) a III. K melléklet 3. pontját jelenti, ahol a kérdéses vizsgálatot és az átvételi követelményeket előírták. | ||||||||||
8.2.2. A biztonsági üvegtáblára akkor kell megadni az alkatrész-típusjóváhagyást, ha az megfelel a fenti táblázatban említett megfelelő rendelkezések valamennyi előírásának.
9. A TÍPUSJÓVÁHAGYÁS MÓDOSÍTÁSA VAGY KITERJESZTÉSE A BIZTONSÁGI ÜVEGTÁBLA VALAMELY TÍPUSÁRA
9.1. A biztonsági üvegtábla valamely típusának valamennyi módosításáról, illetve szélvédők esetén a csoporthoz újabb szélvédők hozzáadásáról értesíteni kell azon hatóságot, amelyik a biztonsági üvegtábla típusát jóváhagyta. E hatóság:
9.1.1. megállapíthatja, hogy a végrehajtott módosítások valószínűleg nem járnak jelentősen káros hatással, és hogy szélvédők esetén az új típus beletartozik a jóváhagyott szélvédőcsoportba, és a biztonsági üvegtábla minden esetben még megfelel a követelményeknek; vagy
9.1.2. a vizsgálat végrehajtásáért felelős műszaki szolgálattól egy új vizsgálati jegyzőkönyvet kérhet.
9.2. Tájékoztatás
9.2.1. Az alkatrész-típusjóváhagyás megerősítéséről, visszautasításáról vagy kiterjesztéséről a tagállamokat az 5.3. pontban előírt eljárással összhangban tájékoztatni kell.
9.2.2. Az alkatrész-típusjóváhagyás kiterjesztését megadó illetékes hatóságnak sorozatszámmal kell jelölnie a kiterjesztésre vonatkozó minden tájékoztatást.
10. GYÁRTÁSMEGFELELŐSÉG
10.1. Az olyan biztonsági üvegeket, amelyekre az e melléklet és az azt követő mellékletek szerint megadták a típusjóváhagyást, úgy kell gyártani, hogy azok megfeleljenek a jóváhagyott típusnak és teljesítsék a 6., 7. és 8. pont követelményeit.
10.2. A 10.1. pont szerinti követelmények teljesülését gyártás közben állandóan ellenőrizni kell.
10.3. Az alkatrész-típusjóváhagyás jogosultjának különösen:
10.3.1. gondoskodnia kell arról, hogy a gyártmány minőségének ellenőrzésére szolgáló eljárások rendelkezésre álljanak;
10.3.2. hozzá kell férnie azon berendezésekhez, amelyek a jóváhagyott típusnak való megfelelőség ellenőrzéséhez szükségesek;
10.3.3. rögzítenie kell a vizsgálati eredmények adatait, és az igazgatási hatósággal kötött megállapodás szerinti időpontra rendelkezésre kell bocsátania az ezzel kapcsolatos alátámasztó dokumentumokat ( 23 );
10.3.4. elemeznie kell minden vizsgálati típus eredményét, hogy ellenőrizze és biztosítsa a termék jellemzőinek azonosságát, figyelembe véve az ipari termelésben megengedhető eltéréseket;
10.3.5. biztosítania kell, hogy minden gyártmánytípushoz legalább a III. O. melléklet szerinti vizsgálatokat elvégezzék; és
10.3.6. biztosítania kell, hogy ha valamely minta vagy vizsgálati darab nem egyezik a kérdéses vizsgálati típussal, úgy további mintákat vegyenek és megvizsgálják azokat.
Meg kell tenni minden szükséges lépést ahhoz, hogy az érintett gyártásban a megfelelőség helyreálljon.
10.4. Az illetékes hatóság bármikor ellenőrizheti az egyes gyártóegységekben alkalmazott, a megfelelőség ellenőrzésre szolgáló módszereket (lásd a III. O. melléklet 1.3. pontja).
10.4.1. A vizsgálati és termelési adatokat minden ellenőrzéskor be kell mutatni az ellenőrnek.
10.4.2. Az ellenőr a gyártó laboratóriumában való vizsgálat céljából szúrópróbaszerűen mintákat vehet. A minták minimális darabszáma a gyártó saját ellenőrzési eredményeinek figyelembevételével határozható meg.
10.4.3. Ha a minőségi színvonal nem látszik kielégítőnek, vagy ha szükségesnek tűnik a 10.4.2. pont szerinti vizsgálatok érvényességének ellenőrzése, úgy az ellenőr mintákat választhat ki, amelyeket el kell küldeni azon műszaki szolgálathoz, amelyik elvégezte az alkatrész-típusjóváhagyási vizsgálatot.
10.4.4. Az illetékes hatóság bármely, az ezen irányelvben előírt vizsgálatot elvégezhet.
10.4.5. Az ellenőrzés gyakorisága rendszerint évi két alkalom. Ha bármely ilyen ellenőrzés nem kielégítő eredményt ad, úgy az illetékes hatóságnak gondoskodnia kell arról, hogy minden szükséges lépést megtegyenek a gyártásmegfelelőség lehető leggyorsabb helyreállításáért.
11. SZANKCIÓK A GYÁRTÁSMEGFELELŐSÉG NEM TELJESÜLÉSE ESETÉN
11.1. Az ezen irányelv szerinti valamely biztonsági üvegtáblatípusra megadott alkatrész-típusjóváhagyás visszavonható, ha nem teljesül a 10.1. pont szerinti követelmény.
11.2. Ha valamely tagállam egy általa korábban kiadott típusjóváhagyást visszavon, úgy erről a többi tagállamot azonnal értesítenie kell, az alkatrész-típusbizonyítvány másolatának megküldésével, ahol nagybetűkkel a bizonyítvány alján fel kell tüntetni az "ALKATRÉSZ-TÍPUSJÓVÁHAGYÁS VISSZAVONVA" szavakat, valamint a keltezést és az aláírást.
12. A GYÁRTÁS VÉGLEGES BESZÜNTETÉSE
Ha az alkatrész-típusjóváhagyás jogosultja végleg beszünteti azon biztonsági üvegtáblatípus gyártását, amelyet ezen irányelvvel összhangban hagytak jóvá, úgy erről tájékoztatnia kell azon hatóságot, amely a jóváhagyást megadta. E hatóságnak értesítenie kell a többi tagállamot a III. B. melléklet szerinti mintának megfelelő típus-jóváhagyási értesítés másolata útján.
13. AZ ALKATRÉSZ-TÍPUSJÓVÁHAGYÁSI VIZSGÁLAT LEFOLYTATÁSÁÉRT FELELŐS MŰSZAKI SZOLGÁLATOK ÉS A JÓVÁHAGYÓ HATÓSÁGOK NEVE ÉS CÍME
Minden tagállamnak közölnie kell a többi tagállammal és a Bizottsággal az alkatrész-típusjóváhagyási vizsgálatok lefolytatásáért felelős műszaki szolgálatok és az EGK-alkatrész-típusjóváhagyást kibocsátó hatóságok nevét és címét, ahová a más tagállamokban kibocsátott alkatrész-típusbizonyítványt és az alkatrész-típusjóváhagyás megtagadását, illetve visszavonását tartalmazó bizonyítványokat meg kell küldeni.
Függelék
PÉLDÁK ALKATRÉSZ-TÍPUSJÓVÁHAGYÁSI JELEKRE
(Lásd III. A. melléklet 5.5. pontját)
Hőkezelt üvegből készült szélvédők

A hőkezelt (edzett) üvegből készült szélvédőn látható fenti alkatrész-típusjóváhagyási jel azt jelenti, hogy a kérdéses alkatrészt Franciaországban hagyták jóvá (e 2) ezen irányelv szerint, a 001247 alkatrész-típusjóváhagyási szám alatt.
Műanyag bevonatú edzett üvegből készült szélvédők

A műanyag bevonatú edzett üvegből készült szélvédőn látható fenti alkatrész-típusjóváhagyási jel azt jelenti, hogy a kérdéses alkatrészt Franciaországban hagyták jóvá (e 2) ezen irányelv szerint, a 001247 alkatrész-típusjóváhagyási szám alatt.
Közönséges rétegelt üvegből készült szélvédők

A közönséges rétegelt üvegből készült szélvédőn látható fenti alkatrész-típusjóváhagyási jel azt jelenti, hogy a kérdéses alkatrészt Franciaországban hagyták jóvá (e 2) ezen irányelv szerint, a 001247 alkatrész-típusjóváhagyási szám alatt.
Műanyag bevonatú, közönséges rétegelt üvegből készült szélvédők

A műanyag bevonatú, közönséges rétegelt üvegből készült szélvédőn látható fenti alkatrész-típusjóváhagyási jel azt jelenti, hogy a kérdéses alkatrészt Franciaországban hagyták jóvá (e 2) ezen irányelv szerint, a 001247 alkatrész-típusjóváhagyási szám alatt.
Kezelt rétegelt üvegből készült szélvédők

A kezelt rétegelt üvegből készült szélvédőn látható fenti alkatrész-típusjóváhagyási jel azt jelenti, hogy a kérdéses alkatrészt Franciaországban hagyták jóvá (e 2) ezen irányelv szerint, a 001247 alkatrész-típusjóváhagyási szám alatt.
Üveg-műanyag szélvédők

Az üveg-műanyag szélvédőn látható fenti alkatrész-típusjóváhagyási jel azt jelenti, hogy a kérdéses alkatrészt Franciaországban hagyták jóvá (e 2) ezen irányelv szerint, a 001247 alkatrész-típusjóváhagyási szám alatt.
70 %-nál kisebb rendes fényáteresztő képességű, nem szélvédők céljára szolgáló üvegtáblák

Az olyan üvegtáblán, amely nem szélvédő céljára szolgál, és amelyre a III. C. melléklet 9.1.4.2. pontjának követelményei vonatkoznak, a fenti alkatrész-típusjóváhagyási jel azt jelenti, hogy a kérdéses alkatrészt Franciaországban hagyták jóvá (e 2) ezen irányelv szerint, a 001247 alkatrész-típusjóváhagyási szám alatt.
70 %-nál kisebb rendes fényáteresztő képességű, kettős üvegezésű egységek

A kettős üvegezésű egységen látható fenti alkatrész-típusjóváhagyási jel azt jelenti, hogy a kérdéses alkatrészt Franciaországban hagyták jóvá (e 2) ezen irányelv szerint, a 001247 alkatrész-típusjóváhagyási szám alatt.
Nem szélvédők céljára szolgáló olyan üvegtáblák, amelyeket traktorokon szélvédőként használnak

Az üvegtáblán látható fenti alkatrész-típusjóváhagyási jel azt jelenti, hogy a traktorokon szélvédőként használt kérdéses alkatrészt Franciaországban hagyták jóvá (e 2) ezen irányelv szerint, a 001247 alkatrész-típusjóváhagyási szám alatt.
70 % vagy ezt meghaladó rendes fényáteresztő képességű, nem szélvédők céljára szolgáló üvegtáblák

Az olyan nem szélvédők céljára szolgáló üvegtáblán látható fenti alkatrész-típusjóváhagyási jel, amelyre a III. C melléklet 9.1.4.1. pontjának követelményei vonatkoznak, azt jelenti, hogy a kérdéses alkatrészt Franciaországban hagyták jóvá (e 2) ezen irányelv szerint, a 001247 alkatrész-típusjóváhagyási szám alatt.
III. B. MELLÉKLET
A hatóság neve
[Legnagyobb méret: A/4 (210 × 297 mm)]
Tájékoztatás
- az EK-alkatrész-típusjóváhagyásról,
- az EK-alkatrész-típusjóváhagyás megtagadásáról,
- az EK-alkatrész-típusjóváhagyás kiterjesztéséről,
- az EK-alkatrész-típusjóváhagyás visszavonásáról ( 24 ) a 2009/144/EK irányelv szerinti biztonsági üvegtábla típusára
EK-típusjóváhagyás száma: ... a kiterjesztés száma: a kiterjesztés száma: ...
1. A biztonsági üvegtábla kategóriája:
...
2. Az üvegtábla leírása (lásd 1., 2., 3., 4., 5., 6. és 7. melléklet (24) ), valamint szélvédők esetében a 8. melléklet szerinti lista:
...
...
3. Kereskedelmi név vagy márkajel:
...
4. A gyártó neve vagy címe:
...
...
5. A gyártó képviselőjének neve és címe (adott esetben):
...
6. Alkatrész-típusjóváhagyásra átadva:
...
7. A típus-jóváhagyási vizsgálatok lefolytatásáért felelős műszaki szolgálat:
...
8. A vizsgálati jegyzőkönyv kelte:
...
9. A vizsgálati jegyzőkönyv száma:
...
10. Az alkatrész-típusjóváhagyás megadva/elutasítva/kiterjesztve/visszavonva (24) :
...
11. A típusjóváhagyás kiterjesztésének indokai:
...
...
...
12. Megjegyzések:
...
...
...
13. Hely: ...
14. Kelt: ...
15. Aláírás: ...
16. Jegyzék mellékelve azon dokumentumokról, amelyek a hatóságnál elhelyezett alkatrész-típusjóváhagyási iratokat tartalmazzák; e dokumentumok kívánságra rendelkezésre állnak.
1. függelék
EDZETT ÜVEGBŐL KÉSZÜLT SZÉLVÉDŐK
(A III. D. vagy III. I. mellékletben meghatározott elsődleges és másodlagos jellemzők)
Az alkatrész-típusjóváhagyás száma: ... A kiterjesztés száma: ...
Elsődleges jellemzők
- Alakkategória: ...
- Vastagságkategória: ...
- A szélvédő névleges vastagsága: ...
- A műanyag bevonat(ok) fajtája és típusa: ...
- A műanyag bevonat(ok) vastagsága: ...
Másodlagos jellemzők
- Az anyag fajtája (táblaüveg, úsztatott üveg, síküveg): ...
- Az üveg színezése: ...
- A műanyag bevonat(ok) színezése: ...
- Behelyezett vezetékek (igen/nem): ...
- Vakítást gátló csíkok beépítve (igen/nem): ...
Megjegyzések:
...
...
...
...
...
Mellékelt dokumentumok: szélvédők jegyzéke (lásd 8. függelék)
2. függelék
NEM SZÉLVÉDŐ CÉLJÁRA SZOLGÁLÓ, EGYENLETESEN EDZETT ÜVEGTÁBLÁK
(A III. E. vagy III. I. mellékletben meghatározott elsődleges és másodlagos jellemzők)
Az alkatrész-típusjóváhagyás száma: ... A kiterjesztés száma: ...
Elsődleges jellemzők
- Nem szélvédő céljára szolgál (igen/nem):
- Traktorszélvédő: ...
- Alakkategória: ...
- Edzési eljárás jellege: ...
- Vastagságkategória: ...
- A műanyag bevonat(ok) fajtája és típusa: ...
Másodlagos jellemzők
- Az anyag fajtája (táblaüveg, úsztatott üveg, síküveg): ...
- Az üveg színezése: ...
- A műanyag bevonat(ok) színezése: ...
- Behelyezett vezetékek (igen/nem): ...
- Vakítást gátló csíkok beépítve (igen/nem): ...
Jóváhagyott szempontok
- Legnagyobb terület (síküveg): ...
- Legkisebb szög: ...
- Legnagyobb kifejtett felület (hajlított üveg): ...
- Legnagyobb ívmagasság: ...
Megjegyzések:
...
...
...
...
...
Mellékelt dokumentumok: szélvédők jegyzéke (adott esetben) (lásd 8. függelék)
3. függelék
RÉTEGELT ÜVEGBŐL KÉSZÜLT SZÉLVÉDŐK
(közönséges, kezelt vagy műanyag bevonatú)
(A III. F., III. H. vagy a III. I. mellékletben meghatározott elsődleges és másodlagos jellemzők)
Az alkatrész-típusjóváhagyás száma: ... Kiterjesztés száma: ...
Elsődleges jellemzők
- Üvegrétegek száma: ...
- Közbenső rétegek száma: ...
- Szélvédő névleges vastagsága: ...
- Közbenső réteg(ek) névleges vastagsága: ...
- Különleges üvegkezelés: ...
- Közbenső réteg(ek) fajtája és típusa: ...
- Műanyag bevonat(ok) fajtája és típusa: ...
Másodlagos jellemzők
- Az anyag fajtája (táblaüveg, úsztatott üveg, síküveg): ...
- Az üveg színezése (színtelen/színezett): ...
- Műanyag bevonat(ok) színezése (teljes/részleges): ...
- Behelyezett vezetékek (igen/nem):
- Vakítást gátló csíkok beépítve (igen/nem):
Megjegyzések:
...
...
...
...
...
Mellékelt dokumentumok: szélvédők jegyzéke (lásd 8. függelék)
4. függelék
NEM SZÉLVÉDŐ CÉLJÁRA SZOLGÁLÓ RÉTEGELT ÜVEGTÁBLÁK
(A III. G. vagy a III. I. mellékletben meghatározott elsődleges és másodlagos jellemzők)
Az alkatrész-típusjóváhagyás száma: ... Kiterjesztés száma: ...
Elsődleges jellemzők:
- Nem szélvédő céljára szolgál (igen/nem):
- Traktorszélvédő: ...
- Üvegrétegek száma: ...
- Közbenső rétegek száma: ...
- Vastagsági kategória: ...
- Közbenső réteg(ek) névleges vastagsága: ...
- Különleges üvegkezelés: ...
- Közbenső réteg(ek) fajtája és típusa: ...
- Műanyag bevonat(ok) fajtája és típusa: ...
- Műanyag bevonat(ok) vastagsága: ...
Másodlagos jellemzők:
- Az anyag fajtája (táblaüveg, úsztatott üveg, síküveg): ...
- A közbenső réteg(ek) színezése (teljes/részleges): ...
- Az üveg színezése: ...
- A műanyag bevonat(ok) színezése: ...
- Behelyezett vezetékek (igen/nem):
- Vakítást gátló csíkok beépítve (igen/nem):
Megjegyzések:
...
...
...
...
...
Mellékelt dokumentumok: szélvédők jegyzéke (adott esetben) (lásd 8. függelék)
5. függelék
KOMBINÁLT ÜVEG-MŰANYAG SZÉLVÉDŐK
(A III. J. mellékletben meghatározott elsődleges és másodlagos jellemzők)
Az alkatrész-típusjóváhagyás száma: ... Kiterjesztés száma: ...
Elsődleges jellemzők:
- Alakkategória: ...
- Műanyag rétegek száma: ...
- Névleges üvegvastagság: ...
- Az üveg kezelése (igen/nem):
- A szélvédő névleges vastagsága: ...
- A közbenső rétegként alkalmazott műanyag réteg(ek) névleges vastagsága: ...
- A közbenső rétegként alkalmazott műanyag réteg(ek) fajtája és típusa: ...
- A külső rétegként alkalmazott műanyag réteg fajtája és típusa: ...
Másodlagos jellemzők:
- Az anyag fajtája (táblaüveg, úsztatott üveg, síküveg): ...
- Az üveg színezése: ...
- A műanyag bevonatok színezése (teljes/részleges): ...
- Behelyezett vezetékek (igen/nem):
- Vakítást gátló csíkok beépítve (igen/nem):
Megjegyzések:
...
...
...
...
...
Mellékelt dokumentumok: szélvédők jegyzéke (lásd 8. függelék)
6. függelék
NEM SZÉLVÉDŐ CÉLJÁRA SZOLGÁLÓ KOMBINÁLT ÜVEG-MŰANYAG TÁBLÁK
(A III. K. mellékletben meghatározott elsődleges és másodlagos jellemzők)
Az alkatrész-típusjóváhagyás száma: ... Kiterjesztés száma: ...
Elsődleges jellemzők
- Nem szélvédő céljára szolgál (igen/nem):
- Traktorszélvédő: ...
- Műanyag rétegek száma: ...
- Az üveg összetevő vastagsága: ...
- Az üveg összetevő kezelt (igen/nem):
- Az üvegtábla névleges vastagsága: ...
- A közbenső rétegként alkalmazott műanyag réteg(ek) névleges vastagsága: ...
- A közbenső rétegként alkalmazott műanyag réteg(ek) fajtája és típusa: ...
- A külső rétegként alkalmazott műanyag réteg fajtája és típusa: ...
Másodlagos jellemzők:
- Az anyag fajtája (táblaüveg, úsztatott üveg, síküveg): ...
- Az üveg színezése (színtelen/színezett): ...
- A műanyag bevonat(ok) színezése (teljes/részleges): ...
- Behelyezett vezetékek (igen/nem):
- Vakítást gátló csíkok beépítve (igen/nem):
Megjegyzések:
...
...
...
...
...
Mellékelt dokumentumok: szélvédők jegyzéke (adott esetben) (lásd 8. függelék)
7. függelék
KETTŐS ÜVEGEZÉSŰ EGYSÉGEK
(A III. L. mellékletben meghatározott elsődleges és másodlagos jellemzők)
Az alkatrész-típusjóváhagyás száma: ... Kiterjesztés száma: ...
Elsődleges jellemzők
- A kettős üvegezésű egységek szerkezete (szimmetrikus/aszimmetrikus): ...
- Névleges résvastagság: ...
- Az összeállítás módja: ...
- A III. E., III. G., III. I., III. K. mellékletben meghatározott egyes üvegtípusok: ...
Mellékelt dokumentum
Adatlap az aszimmetrikus, kettős üvegezésű egység két üvegtáblájához, azon melléklettel összhangban, amely szerint az üvegtáblákat vizsgálták vagy jóváhagyták.
Adatlap az aszimmetrikus, kettős üvegezésű egység minden egyes üvegtáblájához, azon melléklettel összhangban, amely szerint ezen üvegtáblákat vizsgálták vagy jóváhagyták.
Megjegyzések:
...
...
...
...
...
8. függelék
A SZÉLVÉDŐK JEGYZÉKÉNEK TARTALMA ( 25 )
Minden olyan szélvédőre, amelyre ezen alkatrész-típusjóváhagyás kiterjed, legalább a következő adatokat meg kell adni:
- Traktor gyártója: ...
- Traktor típusa: ...
- Kiterített terület (F): ...
- Szegmens magasság (h): ...
- Görbület (r): ...
- Beépítési szög (a): ...
- A referenciapont koordinátát (A, B, C) a szélvédő felső szélének középpontjához viszonyítva:
- ...

III. C. MELLÉKLET
Általános vizsgálati feltételek
1. SZILÁNKOSODÁSI VIZSGÁLATOK
1.1. A vizsgálandó üvegtáblát nem szabad mereven rögzíteni; hozzáerősíthető azonban egy ugyanolyan nagyságú üvegtáblához, a szélei körül alkalmazott ragasztószalag segítségével.
1.2. A szilánkosításhoz egy kb. 75 gramm tömegű kalapácsot vagy ezzel azonos eredményt adó hasonló eszközt kell használni. A csúcs görbületi sugara 0,2 mm ±0,05 mm.
1.3. Minden előírt ütközési ponton el kell végezni egy vizsgálatot.
1.4. Fényképészeti másolópapíron kell megvizsgálni a szilánkokat, az ütközéstől számított legkésőbb 10 másodperccel kezdődő és az ütközéstől számított legfeljebb 3 perc múlva befejeződő exponálással. Csak a kezdeti törést ábrázoló legsötétebb vonalakat kell figyelembe venni. A laboratóriumnak meg kell őriznie a kapott szilánkosodási fénykép másolatait.
2. ÜTKÖZÉSVIZSGÁLAT GOLYÓVAL
2.1. Vizsgálat 227 g tömegű golyóval
2.1.1. A készülék
2.1.1.1. A vizsgálatot egy 227 g ±2 g tömegű és kb. 38 mm átmérőjű edzett acélgolyóval kell végezni.
2.1.1.2. A golyót előírt magasságból szabadesésben leejtő vagy egy olyan készüléket kell választani, amely a szabadesésnek megfelelő sebességet ad a golyónak. A golyó kilövésére szolgáló készülék használata esetén, a sebesség legnagyobb eltérése a szabadeséssel elért sebesség 1 %-a lehet.
2.1.1.3. Az 1. ábra szerinti tartószerkezet két, 15 mm széles megmunkált peremekkel rendelkező acélkeretből áll, amelyek egymás fölött helyezkednek el, és ezeken kb. 3 mm vastagságú, 15 mm szélességű, 50 IRHD keménységű gumitömítések vannak.
Az alsó keret egy kb. 150 mm magas acéldobozon fekszik. A vizsgálati darabot a felső keret tartja a helyén, amelynek tömege kb. 3 kg. A tartókeret egy kb. 12 mm vastag acéllemezre van hegesztve és ezt egy kb. 3 mm vastagságú és 50 IRHD keménységű gumilemez közbeiktatásával kell a padlóra helyezni.

1. ábra - Tartószerkezet golyóval végzett vizsgálathoz
2.1.2. Vizsgálati feltételek
- hőmérséklet: 20 °C ±5 °C
- nyomás: 860-1 060 mbar
- relatív páratartalom: 60 % ±20 %.
2.1.3. A vizsgálati darab
A vizsgálati darab egy 300 +10/-0 mm oldalú, sík négyzet.
2.1.4. A vizsgálati eljárás
A vizsgálati darabot közvetlenül a vizsgálat előtt legalább 4 órán keresztül az előírt hőmérsékleten kell tartani.
Ezután a vizsgálati darabot a készülékbe kell helyezni (2.1.1.3.). A vizsgálati darab síkjának 3°-os pontossággal kell merőlegesnek lennie a golyó beesési irányára.
A becsapódási pontnak 6 m vagy ennél kisebb ejtési magasság esetén a vizsgálati darab geometriai középpontjától számított 25 mm-en belül kell lennie, illetve ha az ejtési magasság több mint 6 m, úgy az nem lehet távolabb 50 mm-nél a vizsgálati darab középpontjától. A golyónak a vizsgálati darab azon felületéhez kell ütődnie, amely a biztonsági üvegtábla külső felületét képezi, amikor az a gépjárműre van szerelve. A golyóval csak egy ütközés végezhető.
2.2. Vizsgálat 2 260 g tömegű golyóval
2.2.1. A készülék
2.2.1.1. 2 260 g ±20 g tömegű és kb. 82 mm átmérőjű edzett acélgolyó.
2.2.1.2. A golyót előírt magasságból szabadesésben leejtő vagy egy olyan készüléket kell választani, amely a szabadesésnek megfelelő sebességet ad a golyónak. A golyó kilövésére szolgáló készülék használata esetén, a sebesség legnagyobb eltérése a szabadeséssel elért sebesség 1 %-a lehet.
2.2.1.3. A tartószerkezet az 1. ábra szerinti és azonos a 2.1.1.3. pontban leírtakkal.
2.2.2. Vizsgálati feltételek
- hőmérséklet: 20 °C ±5 °C,
- nyomás: 860-1 060 mbar,
- relatív páratartalom: 60 % ±20 %.
2.2.3. A vizsgálati darab
A vizsgálati darab egy 300 +10/-0 mm oldalszélességű sík négyzet, vagy olyan sík négyzet, amelyet a szélvédő vagy más ívelt biztonsági üvegtábla legsimább részéből kell kivágni.
Alternatív esetben vizsgálható a teljes szélvédő, illetve más biztonsági üvegtábla is. Ekkor ügyelni kell arra, hogy a biztonsági üvegtábla és a tartószerkezet közötti érintkezés megfelelő legyen.
2.2.4. A vizsgálati eljárás
A vizsgálati darabot közvetlenül a vizsgálatot megelőzően legalább 4 óra időtartamon keresztül az előírt hőmérsékleten kell tartani.
Ezután be kell helyezni a tartószerkezetbe (2.1.1.3.). A vizsgálati darab síkjának 3° pontossággal kell merőlegesnek lennie a golyó beesési irányára.
Üveg-műanyag üvegezés esetén a vizsgálati darabot hozzá kell erősíteni a tartószerkezethez.
Az ütközési pont a vizsgálati darab geometriai középpontjától nem lehet 25 mm-nél távolabb. A golyónak a vizsgálati darab azon felületéhez kell ütődnie, amely a biztonsági üvegtábla belső felületét képezi, amikor az a gépjárműre van szerelve. A golyóval csak egy ütközés végezhető.
3. ÜTKÖZÉSES VIZSGÁLAT FEJFORMÁVAL
3.1. A készülék
3.1.1. Cserélhető nemezzel bevont, fából készült kereszttartóval ellátott vagy anélküli, rétegelt keményfából készült, gömb vagy félgömb alakú mesterséges fejforma. A gömbrész és a kereszttartó között nyakalakú közdarab van, a kereszttartó másik oldalán pedig felerősítő rúd helyezkedik el.
Méretek a 2. ábra szerint.
A készülék teljes tömege 10 kg ± 0,2 kg.

2. ábra - Fejformatömeg
3.1.2. A fejformatömeg meghatározott magasságból szabadesésben való ejtésére szolgáló vagy azt egy olyan sebességre felgyorsító készülék, amelyet e fej alakú tömeg szabadeséssel érne el.
A fejformatömeg kilövésére szolgáló készülék használata esetén a sebesség maximális eltérése a szabadesésnél elért sebesség ± 1 %-a lehet.
3.1.3. A 3. ábra szerinti tartószerkezet lapos vizsgálati darabok vizsgálatára szolgál. A készülék két acélkeretből áll, az egymásra illeszkedően megmunkált keretek pereme 50 mm széles, rajtuk kb. 3 mm vastag, 15 mm ±1 mm széles, 70 IRHD keménységű gumitömítés helyezkedik el.
A felső keretet az alsóhoz legalább 8 csavar rögzíti.
3.2. Vizsgálati feltételek
3.2.1. hőmérséklet: 20 °C ±5 °C,
3.2.2. nyomás: 860-1 060 mbar,
3.2.3. relatív páratartalom: 60 % ±20 %.

3. ábra - Tartószerkezet fejformával végzett ütközéses vizsgálathoz
(1) A legkisebb ajánlott forgatónyomaték 20 M-re 30 Nm.
3.3. Vizsgálati eljárás
3.3.1. Vizsgálat egy sík vizsgálati darabon
Az 1 100 +5/-2 mm hosszúságú, 500 +5/-2 mm szélességű sík vizsgálati darabot közvetlenül a vizsgálatot megelőzően legalább 4 órán keresztül állandó, 20 °C ±5 °C hőmérsékleten kell tartani. A vizsgálati darabot rögzíteni kell a tartókeretekben (3.1.3.), a csavarokat úgy kell meghúzni, hogy a vizsgálati darab elmozdulása a vizsgálat során ne haladhassa meg a 2 mm-t. A darab síkjának merőlegesnek kell lennie a tömeg beesési irányára. A tömeg legfeljebb 40 mm távolságra csapódhat be azon felület geometriai középpontjától, amely a biztonsági üvegtábla belső felületét képezi, amikor az a gépjárműre van szerelve. A golyóval csak egy ütközés végezhető.
A nemeztakaró ütközési felületét 12 vizsgálat után kell cserélni.
3.3.2. Teljes szélvédőn végzett vizsgálatok (csak 1,5 m vagy ennél kisebb ejtési magasság esetén használhatók)
A szélvédőt szabadon a tartószerkezetre kell helyezni, amelynek teljes kerületén egy 70 IRHD keménységű, kb. 3 mm vastagságú gumiszalag van úgy, hogy az érintkezés egy kb. 15 mm szélességű felületen történik. A tartószerkezet egy merev elemből áll és a szélvédő alakjának megfelelően úgy van kiképezve, hogy a fejformatömeg a szélvédő belső felületéhez ütődjön. Szükség esetén a szélvédőt megfelelő szerkezet segítségével a vizsgálati kerethez kell erősíteni. A tartószerkezetet merev állványra kell helyezni, egy 70 IHRD keménységű, kb. 3 mm vastag gumilemez közbeiktatásával.
A szélvédő felületének lényegében merőlegesnek kell lennie a fejforma beesési irányára.
A fejformatömegnek azon felület geometriai középpontjától számított 40 mm-en belüli távolságban kell hozzáütődnie a szélvédőhöz, amely az üvegtábla belső felületét képezi, amikor az a gépjárműre van szerelve. A golyóval csak egy ütközés végezhető.
A nemeztakaró becsapódási felületét 12 vizsgálat után kell cserélni.
4. KOPTATÁSI VIZSGÁLAT
4.1. A készülék
4.1.1. A 4. ábrán vázlatosan bemutatott koptatókészülék ( 26 ) a következőkből áll:
- középpontjában rögzített vízszintes forgóasztal, amely az óramutató járásával ellentétesen forog 65-75/min fordulatszámmal, és
- [Kép #19]

Kép #19
4. ábra - A koptatókészülék vázlata
- két, tömeggel terhelt párhuzamos kar, melyek mindegyike egy speciális koptatókereket tart, amely egy golyóscsapágyazott vízszintes tengelyen szabadon mozog; mindegyik koptatókerék egyenként 500 g tömeggel terheli a vizsgálati darabot.
A koptatókészülék forgóasztalának szabályosan, gyakorlatilag egy síkban kell forognia (az eltérés e síktól nem haladhatja meg a ± 0,05 mm-t, az asztal peremétől 1,6 mm távolságban mérve). A kerekeket úgy kell felszerelni, hogy azok a forgó vizsgálati darabbal érintkezve ellentétes irányban forogjanak, így a vizsgálati minta minden fordulata alatt kétszer fejtenek ki nyomó- és koptatóhatást az ívelt vonalak mentén, egy kb. 30 cm2 nagyságú gyűrű alakú területen.
4.1.2. A koptatókerekek ( 27 ) - amelyek mindegyike 45-50 mm átmérőjű és 12,5 mm vastagságú - középkemény gumiba ágyazott különleges finomszemcséjű koptatóanyagból állnak. A kerekek keménysége 72 ±5 IRHD, a koptatófelület középvonalán egymástól azonos távolságban lévő négy ponton mérve; az alkalmazott nyomás függőlegesen hat a kerékátmérő mentén, és az értékeket a nyomás teljes kifejtésétől számított 10 másodpercen belül kell leolvasni.
A koptatókerekeket a használathoz egy sík üvegtáblán lassan forgatva kell előkészíteni annak érdekében, hogy felületük tökéletesen egyenletes legyen.
4.1.3. A fényforrás olyan izzólámpa, amelynek izzószálai egy 1,5 × 1,5 × 3 mm méretű párhuzamos csőben találhatóak. Az alkalmazott feszültségnek olyannak kell lennie, hogy a színhőmérséklet 2 856 ±50 K legyen. A feszültséget ±1/1 000-re stabilizálni kell. Az e feszültség ellenőrzésére használt mérőműszernek megfelelő pontosságúnak kell lennie.
4.1.4. Az optikai rendszer egy legalább 500 mm fókusztávolságú (f), színeltérésekre korrigált lencse. A teljes lencsenyílás nem lehet nagyobb f/20-nál. A lencse és a fényforrás közötti távolságot úgy kell beállítani, hogy lényegében párhuzamos fénysugár alakuljon ki. Egy fényrekeszt kell beiktatni, amely a fénysugár átmérőjét 7 mm-re ±1 mm korlátozza. E fényrekeszt a lencsétől 100 mm ±50 mm távolságban kell elhelyezni, a fényforrástól távolabbi oldalon.
4.1.5. A szórt fényt mérő berendezés (lásd 5. ábra) egy 200-250 mm átmérőjű integráló gömbbel rendelkező fotocella. A gömbnek fénybevezető és fénykivezető nyílása van. A fénybevezető nyílás kör alakú és átmérője legalább kétszer akkora, mint a fénysugár átmérője. A gömb fénykivezető nyílását vagy fénycsapdával, vagy visszaverő etalonnal kell ellátni, a 4.4.3. pont szerinti eljárás alapján. A fénycsapda akkor nyeli el a fényt, ha a fénysugár útjában nincs vizsgálati darab.
A fénysugár tengelyének át kell mennie a fénybevezető és kivezető nyílás középpontján. A fénykivezető nyílás b átmérőjének 2a × tg 4° nagyságúnak kell lennie, ahol a a gömb átmérője.
A fotocellát úgy kell felszerelni, hogy azt ne érhesse a fénybevezető nyílásból vagy az etalonból közvetlenül érkező fény.
Az integráló gömb és a fényvisszaverő etalon belső felületének azonos fényvisszaverő képességűnek, mattnak és nem szelektívnek kell lennie. A fotocella kimenetének az alkalmazott fényintenzitások tartományában ± 2 %-on belül lineárisnak kell lennie.
A készülék szerkezetének olyannak kell lennie, hogy ne legyen megfigyelhető kitérés a galvanométeren akkor, ha a gömb sötét. A teljes készüléket rendszeres időközökben ellenőrizni kell, meghatározott homályosságú kalibrálási etalonok segítségével. Ha a homályosságméréseket a fentiektől eltérő készülékkel vagy módszerekkel végzik, úgy szükség esetén az eredményeket korrigálni kell, úgy, hogy azok megegyezzenek a fent leírt készülékkel kapott eredményekkel.

5. ábra - Szórt fény mérésére szolgáló berendezés
4.2. Vizsgálati feltételek
4.2.1. Hőmérséklet: 20 °C ±5 °C
4.2.2. Nyomás: 860-1 060 mbar
4.2.3. Relatív páratartalom: 60 % ±20 %.
4.3. Vizsgálati darabok
A vizsgálati darabok olyan lapos négyzetek, amelyek oldalai 100 mm méretűek, mindkét felületük lényegében sík és párhuzamos, és szükség esetén a középpontba fúrt, 6,4 +0,2/-0 mm átmérőjű rögzítő furattal rendelkeznek.
4.4. Vizsgálati eljárás
A koptatási vizsgálatot a vizsgálati darab azon felületén kell elvégezni, amelyik a járműbe szerelt biztonsági üvegtábla külső oldalának felel meg, azonban műanyag bevonatú üvegtábla esetén a belső oldalnak megfelelő felületen is.
4.4.1. A vizsgálati darabot közvetlenül koptatás előtt és után az alábbi módon kell megtisztítani:
a) tiszta folyóvíz alatt vászonanyaggal letörölni;
b) desztillált, illetve ásványi anyagoktól mentes vízzel leöblíteni;
c) oxigénnel vagy nitrogénnel szárazra fúvatni;
d) az esetleges víznyomokat nedves vászonnal finoman felitatva eltávolítani. Ha szükséges, akkor két vászon közé helyezve, finoman nyomkodva kell szárítani.
Az ultrahangos berendezéssel való kezelést kerülni kell. Tisztítás után a darabokat csak a szélüknél szabad megfogni, és azokat oly módon kell tárolni, hogy a felületek károsodása vagy szennyeződése megelőzhető legyen.
4.4.2. A vizsgálati darabokat legalább 48 órán keresztül 20 °C ±5 °C hőmérsékleten 60 % ±20 % relatív páratartalmú környezetben kell tárolni.
4.4.3. A vizsgálati darabot közvetlenül az integráló gömb fénybevezető nyílása elé kell helyezni. A vizsgálati darab felületének merőlegese és a fénysugár tengelye által bezárt szög 8°-nál nem lehet nagyobb.
Négy értéket kell leolvasni az alábbi táblázatokban megadottak szerint:
| Leolvasás | Vizsgálati darabbal | Fénycsap-dával | Fényvisszaverő etalonnal | A képviselt mennyiség | 
| T1 | nem | nem | igen | beeső fény | 
| T2 | igen | nem | igen | a vizsgálati darabon áthaladó teljes fény | 
| T3 | nem | igen | nem | a készülék által szórt fény | 
| T4 | igen | igen | nem | a készülék és a vizsgálati darab által szórt fény | 
A T1, T2, T3 és T4 leolvasást a vizsgálati darab más-más meghatározott helyein meg kell ismételni az egyenletesség megállapítása érdekében.
Ki kell számítani a Tt = T2/T1 teljes áteresztőképességi együtthatót.
A Td szórt áteresztőképességi együtthatót az alábbiak szerint kell kiszámítani:
Td = (T4 - T3(T2/T1))/T1
A százalékos szórt homályosságot vagy a szórt fényt vagy mindkettőt az alábbiak szerint kell kiszámítani:
(Td/Tt) × 100 (%)
A fenti képlettel összhangban kell meghatározni a nem koptatott felület egymástól egyenlő távolságban lévő legalább négy pontján a vizsgálati darab kezdeti homályosságát. Minden egyes vizsgálati darabra ki kell számítani az eredmények átlagát. Négy mérés helyett az átlagérték a vizsgálati darab egyenletesen, legalább 3/min fordulatszámon történő forgatásával is meghatározható.
Három vizsgálatot kell végrehajtani azonos terheléssel minden biztonsági üvegtáblán. A homályosságot kell használni a felszín alatti kopás mértékeként, miután a vizsgálati darabon elvégezték a koptatási vizsgálatot.
A fenti képlettel összhangban meg kell határozni a koptatott pálya által szórt fényt a pálya hosszában egymástól egyenlő távolságban lévő, legalább négy ponton. Minden vizsgálati darabra ki kell számítani az eredmények átlagát. Négy mérés helyett az átlag a vizsgálati darab egyenletesen, 3/min fordulatszámon történő forgatásával is meghatározható.
4.5. A koptatási vizsgálatot kizárólag akkor kell elvégezni, ha a vizsgálólaboratórium a rendelkezésére álló információk alapján azt szükségesnek ítéli. Üveg-műanyagok kivételével, például az anyagvastagságban vagy a közbenső rétegben bekövetkezett változások esetén további vizsgálat rendszerint nem szükséges.
4.6. A másodlagos jellemzők nehézségi foka A másodlagos jellemzők figyelmen kívül maradnak.
5. VIZSGÁLAT MAGAS HŐMÉRSÉKLETEN
5.1. Eljárás
100 °C hőmérsékletre kell felmelegíteni három vizsgálati mintadarabot vagy három, legalább 300 × 300 mm méretű olyan darabot, amelyet a laboratórium az esettől függően három szélvédőből vagy három nem szélvédő céljára szolgáló üvegtáblából vett, és amelyeknek egyik oldala a tábla felső széléből van.
E hőmérsékletet két órán keresztül fenn kell tartani, majd a vizsgálati mintákat hagyni kell szobahőmérsékletűre lehűlni. Ha a biztonsági üvegtábla mindkét külső felülete szervetlen anyagból készült, úgy a vizsgálat oly módon is elvégezhető, hogy a vizsgálati darabot függőlegesen, forrásban lévő vízbe merítik az előírt időtartamra, ügyelve a nemkívánatos hősokk elkerülésére. Ha a mintákat szélvédőkből vágták ki, úgy minden vizsgálati darab egyik széle a szélvédő szélének része legyen.
5.2. Másodlagos jellemzők nehézségi foka
| Színtelen | Színezett | |
| A közbenső réteg színezése | 1 | 2 | 
Az egyéb másodlagos jellemzők figyelmen kívül maradnak.
5.3. Az eredmények kiértékelése
5.3.1. A magas hőmérséklettel szembeni ellenállás-vizsgálat eredménye akkor pozitív, ha buborékok vagy más hibák nem keletkeztek a nem vágott széltől 15 mm-nél nagyobb távolságban, vagy a vizsgálati darab, illetve a minta vágott szélétől 25 mm-nél nagyobb távolságban, illetve a vizsgálat alkalmával keletkező repedésektől 10 mm nél nagyobb távolságban.
5.3.2. Az alkatrész-típusjóváhagyás céljából bemutatott vizsgálatidarab- vagy mintasorozat a magas hőmérséklettel szembeni ellenállás vizsgálata szempontjából akkor megfelelő, ha a következő feltételek valamelyike teljesül:
5.3.2.1. minden vizsgálat kielégítő eredményt ad; vagy
5.3.2.2. az egyik vizsgálat eredménye ugyan nem megfelelő, de az új vizsgálatidarab- vagy mintasorozaton végzett további vizsgálatsorozat kielégítő eredményeket ad.
6. A SUGÁRZÁSÁLLÓSÁG VIZSGÁLATA
6.1. Vizsgálati módszer
6.1.1. A készülék
6.1.1.1. Sugárzási forrás, amely egy közepes nyomású, ózonmentes típusú, függőleges tengelyű, csöves kvarcizzóval ellátott higanygőz ívfénylámpa. A lámpa névleges méretei: hossza 360 mm; átmérője 9,5 mm. Az ív hossza 300 ±4 mm. A lámpát 750 ±50 W teljesítménnyel kell működtetni.
Olyan más sugárzó forrás is használható, amely ugyanazon hatásokat hozza létre, mint a fent leírt lámpa. Annak ellenőrzésére, hogy a felhasznált másik forrás hatásai azonosak, összehasonlítást kell végezni, megmérve a 300-450 nm hullámhossztartományban kibocsátott energia nagyságát; alkalmas szűrőkkel minden egyéb hullámhosszt ki kell szűrni. Ezután e másik sugárzóforrást e szűrőkkel kell használni.
Olyan biztonsági üvegtáblák esetén, amelyekre nincs kielégítő korreláció e vizsgálat és a felhasználási feltételek között, a vizsgálati feltételeket felül kell vizsgálni.
6.1.1.2. A tápfeszültség-transzformátornak és a kondenzátornak a lámpát legalább 1 100 V indító csúcsfeszültséggel és 500 ±50 V üzemi feszültséggel kell ellátnia.
6.1.1.3. Készülék, amely a vizsgálati darabok rögzítésére és az egyenletes besugárzás érdekében a középpontban elhelyezett sugárzóforrás körül percenként 1-5/min fordulatszámmal való forgatására szolgál.
6.1.2. A vizsgálati darabok
6.1.2.1. A vizsgálati darabok mérete: 76 × 300 mm.
6.1.2.2. A vizsgálati darabokat a laboratóriumban az alábbi módon kell kivágni az üvegtáblák felső részéből:
- a nem szélvédő céljára szolgáló üvegtáblák esetén a vizsgálati darab felső szélének meg kell felelnie a tábla felső szélének;
- szélvédők esetén a vizsgálati darab felső szélének meg kell felelnie azon mező felső határának, amelyben a rendes áteresztőképességet e melléklet 9.1.2.2. pontjával összhangban ellenőrzik és meghatározzák.
6.1.3. Vizsgálati eljárás
Besugárzás előtt ellenőrizni kell a három vizsgálati minta rendes áteresztőképességi együtthatóját az e melléklet 9.1.1.-9.1.2. pontjában meghatározott eljárás szerint. A minták egy részét védeni kell a sugárzástól, majd a mintát a lámpa tengelyétől 230 mm-re a vizsgálóberendezésbe kell helyezni, a lámpa tengelyével párhuzamosan. A vizsgálat alatt a darabok hőmérsékletét 45 °C ±5 °C hőmérsékleten kell tartani. A darabok azon felületének, amely a traktor üvegezett külső részét alkotja, a lámpával szemben kell lennie. A 6.1.1.1. pont szerinti lámpatípus esetén a sugárzási idő 100 óra.
A besugárzás után ismét meg kell mérni az egyes minták besugárzott felületén a fényáteresztő képességet.
6.1.4. A fenti eljárással összhangban minden vizsgálati darabot vagy mintát (összesen hármat) ki kell tenni a sugárzás hatásának úgy, hogy a sugárzás a vizsgálati darab vagy minta minden pontjában az alkalmazott közbenső rétegen ugyanazon hatást eredményezze, mint amelyet 100 órán át tartó 1 400 W/m2 erősségű napsugárzás hozna létre.
6.2. Másodlagos jellemzők nehézségi foka
| Színtelen | Színezett | |
| Az üveg színezése | 2 | 1 | 
| A közbenső réteg színezése | 1 | 2 | 
Az egyéb másodlagos jellemzők figyelmen kívül maradnak.
6.3. Az eredmények kiértékelése
6.3.1. A sugárzásállósági vizsgálat eredménye akkor pozitív, ha az alábbi feltételek teljesülnek:
6.3.1.1. az e melléklet 9.1.1. és 9.1.2. pontjával összhangban mért teljes fényáteresztő képesség nem csökken a besugárzás előtti eredeti érték 95 %-a alá, és semmi esetre sem kisebb a következő értéknél:
6.3.1.1.1. 70 % olyan nem szélvédő céljára szolgáló üvegtáblák esetén, amelyeknek meg kell felelniük a járművezető bármely irányú látóterére vonatkozó követelményeknek;
6.3.1.1.2. 75 % szélvédő esetén azon mezőben, amelyben a rendes fényáteresztő képességet az alábbi 9.1.2.2. pont szerint kell ellenőrizni.
6.3.1.2. A vizsgálati darab vagy minta azonban fehér háttér előtt nézve kismértékű színeződést mutathat a sugárzás után, de egyéb hibája nem lehet.
6.3.2. Az alkatrész-típusjóváhagyás céljából bemutatott vizsgálatidarab- vagy mintasorozat a sugárzásállósági vizsgálat szempontjából akkor megfelelő, ha az alábbi feltételek valamelyike teljesül:
6.3.2.1. az összes vizsgálat eredménye megfelelő; vagy
6.3.2.2. az egyik vizsgálat eredménye ugyan nem megfelelő, de az új vizsgálatidarab- vagy mintasorozaton végzett további vizsgálatsorozat kielégítő eredményeket ad.
7. NEDVESSÉGÁLLÓSÁGI VIZSGÁLAT
7.1. Vizsgálati eljárás
3 db, legalább 300 × 300 mm méretű, négyzet alakú vizsgálati mintát vagy vizsgálati darabot két hétig zárt tartályban, függőlegesen kell tartani, ahol a hőmérséklet állandóan 50 °C ±2 °C, a relatív páratartalom pedig 95 % ±4 % ( 28 ).
A darabokat úgy kell előkészíteni, hogy:
- minden vizsgálati darab legalább egyik széle a szélvédő eredeti szélének feleljen meg,
- ha egyszerre több vizsgálati darabot kell vizsgálni, úgy közöttük megfelelő távolságot kell biztosítani.
Intézkedéseket kell hozni annak elkerülése érdekében, hogy a próbakamra falán vagy mennyezetén képződő kondenzvíz a vizsgálati darabokra kerüljön.
7.2. A másodlagos jellemzők nehézségi foka
| Színtelen | Színezett | |
| A közbenső réteg színezése | 1 | 2 | 
Az egyéb másodlagos jellemzők figyelmen kívül maradnak.
7.3. Az eredmények kiértékelése
7.3.1. A nedvességállóság vonatkozásában a biztonsági üvegtáblák akkor tekinthetők megfelelőnek, ha a nem vágott szélektől 10 mm-nél, illetve a vágott szélektől 15 mm-nél nagyobb távolságban semmilyen jelentős elváltozás nem tapasztalható közönséges és rétegelt üvegek esetében szobahőmérsékleten eltöltött 2 óra után, illetve műanyag bevonatú üvegtáblák és műanyag üvegezések esetében ugyancsak szobahőmérsékleten eltöltött 48 óra után.
7.3.2. Az alkatrész-típusjóváhagyás céljából bemutatott vizsgálatidarab- vagy mintasorozat a nedvességállóság szempontjából akkor tekinthető megfelelőnek, ha az alábbiak közül valamelyik feltétel teljesül:
7.3.2.1. minden vizsgálat eredménye megfelelő; vagy
7.3.2.2. az egyik vizsgálat eredménye ugyan nem megfelelő, de az új vizsgálatidarab- vagy mintasorozaton végzett további vizsgálatsorozat kielégítő eredményeket ad.
8. HŐMÉRSÉKLET-VÁLTOZÁSSAL SZEMBENI ELLENÁLLÁS VIZSGÁLATA
8.1. Vizsgálati módszer
Két 300 × 300 mm méretű vizsgálati darabot 6 óra időtartamra - 40 °C ±5 °C hőmérsékletű zárt kamrába kell helyezni, majd ezeket környezeti levegőn, 23 °C ±2 °C hőmérsékleten kell tárolni egy óra időtartamon keresztül vagy annyi ideig, amíg a vizsgálati darab hőmérséklete állandósul. Ezután 3 óra időtartamra 72 °C ±2 °C hőmérsékletű légáramba kell helyezni a vizsgálati darabokat. Ezután a vizsgálati darabokat ismét 23 °C ±2 °C hőmérsékletű környezeti levegőn kell tartani és meg kell várni, amíg e hőmérsékletre lehűlnek, majd ezután kell elvégezni a vizsgálatot.
8.2. Másodlagos jellemzők nehézségi foka
| Színtelen | Színezett | |
| A közbenső műanyag réteg vagy bevonat elszíneződése | 1 | 2 | 
Az egyéb másodlagos jellemzők figyelmen kívül maradnak.
8.3. Az eredmények kiértékelése
A hőmérséklet-változással szembeni ellenállás vizsgálati eredménye akkor tekinthető megfelelőnek, ha a vizsgálati darabokon nincs repedés, elhomályosodás, rétegelválás vagy egyéb nyilvánvaló hiba.
9. AZ OPTIKAI MINŐSÉG JELLEMZŐI
9.1. Fényáteresztés vizsgálata
9.1.1. A készülék
9.1.1.1. Olyan izzólámpából álló fényforrás, amelynek izzószála egy 1,5 × 1,5 × 3 mm méretű párhuzamos csőben van elhelyezve. A lámpa izzószálán a feszültségnek olyannak kell lennie, hogy a színhőmérséklet 2 856 K ±50 K értéket érjen el. E feszültséget1/1 000 pontossággal stabilizálni kell. A feszültségmérőnek megfelelő pontosságúnak kell lennie.
9.1.1.2. Olyan optikai rendszer, amely legalább 500 mm fókusztávolságú és színeltérésre korrigált lencséből áll. A teljes lencsenyílás nem lehet nagyobb f/20-nál. A lencse és a fényforrás közötti távolságot úgy kell beállítani, hogy egy lényegében párhuzamos fénysugár alakuljon ki.
A fénysugár átmérőjének 7 mm ±1 mm-re való korlátozása érdekében egy fényrekeszt kell beiktatni. E fényrekeszt a fényforrástól távolabbi oldalon, a lencsétől 100 mm ±50 mm távolságra kell elhelyezni.
9.1.1.3. Mérőberendezés: a vevő relatív spektrumérzékenységének lényegében meg kell egyeznie a fotopikus látásra vonatkozó CIE (Commission Internationale de l'Éclairage) ( 29 ) szabvány szerinti fotometriai megfigyelő készülék relatív spektrumos fényhatékonyságával. A vevő érzékeny felülete fényszóró közeggel van bevonva, és nagysága legalább kétszerese az optikai rendszer által kibocsátott fénysugár keresztmetszetének. Integráló gömb használatakor a gömb nyílásának keresztmetszete a sugár párhuzamos részének keresztmetszetét legalább kétszeresen meghaladja.
A vevő és a hozzá tartozó műszer linearitásának jobbnak kell lennie, mint a skála effektív részének 2 %-a. A vevőnek a fénysugár tengelyén kell feküdnie.
9.1.2. Vizsgálati eljárás
A vevő érzékenységét jelző műszert úgy kell beállítani, hogy a kijelzőeszköz 100 skálarészértéket mutasson, amennyiben nincs biztonsági üvegtábla a fény útjában. Ha nem esik fény a vevőre, úgy a műszeren leolvasott értéknek 0-nak kell lennie.
A biztonsági üvegtáblát a vevőtől a vevő átmérőjének kb. ötszörösével megegyező távolságban kell elhelyezni. A biztonsági üvegtáblát a fényrekesz és a vevő közé kell helyezni, és úgy kell beállítani, hogy a fénysugár beesési szöge 0° ±5° legyen. A biztonsági üvegtábla fényáteresztési együtthatóját meg kell mérni, és a jelzőműszeren minden mérési pontra le kell olvasni az n osztásszámot. A τr fényáteresztési együttható rendes értéke n/100.
9.1.2.1. Szélvédőkhöz más vizsgálati módszerek is alkalmazhatóak; a szélvédő leglaposabb részéből kivágott vizsgálati mintát vagy olyan különlegesen előkészített sík négyzetet kell e célra felhasználni, amelynek anyag- és vastagsági jellemzői megegyeznek a szélvédő jellemzőivel, a méréseket az üvegtáblára merőlegesen kell elvégezni.
9.1.2.2. A vizsgálatot az e melléklet 9.2.5.2. pontja szerinti I mezőben kell végrehajtani.
9.1.2.3. Olyan traktorok esetén, amelyeknél nem lehet meghatározni a 9.2.5.2 pontban meghatározott I mezőt, a vizsgálatot az e melléklet 9.2.5.3. pontja szerinti I' mezőben kell elvégezni.
9.1.3. A másodlagos jellemzők nehézségi foka
| Színtelen | Színezett | |
| Az üveg elszíneződése | 1 | 2 | 
| A közbenső réteg elszíneződése (rétegelt szélvédők esetén) | 1 | 2 | 
| nincs | van | |
| Árnyékoló- és/vagy sötétítősávok | 1 | 2 | 
Az egyéb másodlagos jellemzők figyelmen kívül maradnak.
9.1.4. Az eredmények kiértékelése
9.1.4.1. Szélvédők esetében a 9.1.2. pont szerint mért fényáteresztési együttható nem lehet kisebb 75 %-nál; nem szélvédő céljára szolgáló ablakok esetén ezen érték nem lehet kisebb 70 %-nál.
9.1.4.2. Olyan ablakok esetében, amelyek a járművezető látótere szempontjából lényegtelen helyeken találhatók (pl. üvegtetők stb.), az üvegtáblák rendes fényáteresztési együtthatója 70 %-nál kisebb lehet. Megfelelő szimbólummal kell jelölni azon ablakokat, amelyek fényáteresztési együtthatója kisebb 70 %-nál.
9.2. Az optikai torzítás vizsgálata
9.2.1. Alkalmazási kör
A meghatározott eljárás egy olyan vetítéses módszer, amely lehetővé teszi a biztonsági üvegtábla optikai torzításának értékelését.
9.2.1.1. Fogalommeghatározások
9.2.1.1.1. Optikai eltérés: a biztonsági üvegtáblán keresztül nézett pont valódi és látszólagos iránya által bezárt szög. E szög nagysága a nézet irányvonalának beesési szögétől, az üvegtábla vastagságától és dőlésétől, valamint a beesési ponton lévő görbületi sugártól függ.
9.2.1.1.2. Optikai torzítás MM' irányban: a biztonsági üvegtábla felületén az M és M' pontok között mért Δα szögeltérés algebrai különbsége; e két pont közötti távolságot úgy kell megválasztani, hogy vetületeik között a látás irányára merőleges síkban a távolság egy adott Δx legyen (lásd 6. ábra).
Az óramutató járásával ellentétes irányú eltérés pozitív, míg az ezzel ellenkező irányú negatív.
9.2.1.1.3. Optikai torzítás az M ponton: a legnagyobb optikai torzítás az M ponttól az összes MM' irányra.
9.2.1.2. A készülék
A módszer értelmében a vizsgálandó biztonsági üvegtáblán keresztül egy képernyőre ki kell vetíteni valamilyen alkalmas diát (rasztert). A torzítás mértékét az mutatja, hogy a kivetített kép alakja mennyire változik meg akkor, ha a fény útjába biztonsági üvegtáblát helyeznek. A készülék a 9. ábrán látható elrendezésben a következő elemekből áll:

6. ábra - Az optikai torzítás vázlatos ábrázolása
| Megjegyzések: | Δα = α1 – α2, | azaz az MM’ irányú optikai torzítás | 
| Δx = MC | azaz a látás irányával párhuzamos és az M, valamint M’ pontokon átmenő két egyenes vonal közötti távolság | 

7. ábra - A vetítő optikai elrendezése
9.2.1.2.1. Jó minőségű, nagy intenzitású pontszerű fényforrással rendelkező vetítő, amelynek például a következő jellemzői vannak:
- legalább 90 mm fókusztávolság,
- kb. 1/2,5 nyílás,
- 150 W-os kvarc halogénlámpa (szűrő nélküli használatnál),
- 250 W-os kvarc halogénlámpa (egy zöld szűrő használata esetén).

8. ábra - A dia kinagyított részlete
A diavetítő vázlatát a 7. ábra mutatja. Egy 8 mm átmérőjű fényrekeszt kell elhelyezni kb. 10 mm-rel az elülső lencse előtt.
9.2.1.2.2. A diák (raszterek) pl. sötét háttéren lévő fényes körök rendszeréből állnak (lásd 8. ábra). A diának elég jó minőségűnek és megfelelő élességűnek kell lennie ahhoz, hogy lehetővé tegye a mérés elvégzését 5 %-nál kisebb hibával. A vizsgálandó biztonsági üvegtábla nélkül a körök méreteinek olyanoknak kell lenniük, hogy ha ezeket kivetítik, úgy ((R1 + R2)/R1) átmérőjű körök rendszerét alkossák, ahol Δx = 4 mm (lásd 6. és 9. ábra).

9. ábra - Az optikai torzítás vizsgálatára alkalmazott készülék
9.2.1.2.3. Tartóállvány, lehetőleg olyan, amely lehetővé teszi a függőleges és vízszintes letapogatást, továbbá a biztonsági üveg forgatását.
9.2.1.2.4. Ellenőrző sablon a méretváltozás mérésére, ha gyors értékelésre van szükség. A 10. ábra egy megfelelő szerkezetet mutat be.

10. ábra - Példa egy megfelelő ellenőrző sablonra
9.2.1.3. Vizsgálati eljárás
9.2.1.3.1. Általános követelmények
A biztonsági üvegtáblát a jelzett dőlésszöggel kell a tartóállványra szerelni (9.2.1.2.3.). A vizsgálathoz használt képet át kell vetíteni a vizsgálandó területen. A biztonsági üvegtáblát el kell fordítani, illetve függőlegesen vagy vízszintesen el kell mozdítani, hogy az előírt teljes terület vizsgálható legyen.
9.2.1.3.2. Értékelés ellenőrző sablonnal
Ahol elegendő az olyan gyors értékelés, amelyben a lehetséges hibahatár elérheti a 20 %-ot, az A értékét (lásd 10. ábra) az eltérés változását megadó ΔαL határértékből, valamint a biztonsági üvegtábla és a képernyő közötti távolságot megadó R2 értékből a következők szerint kell kiszámítani:
A = 0,145 ΔαL · R2
A vetített kép átmérőjének változása Δd és a szögeltérés változása Δα közötti összefüggést az alábbi képlet adja:
Δd = 0,29 Δα · R2
ahol:
Δd mm-ben megadva
A mm-ben megadva
ΔαL ívpercben megadva
Δα ívpercben megadva
R2 m-ben megadva.
9.2.1.3.3. Mérés fotoelektromos készülékkel
Ha a hibahatárérték 10 %-át el nem érő pontosságú mérésre van szükség, akkor úgy kell mérni a vetítési tengelyen a Δd-t, hogy a fényfolt szélességének értékét azon a ponton kell venni, ahol a fényerősség a fénypont fényerőssége legnagyobb értékének 0,5-szerese.
9.2.1.4. Az eredmények megadása
A biztonsági üvegtáblák optikai torzítását úgy lehet meghatározni, hogy meg kell mérni a Δd értékét a felület bármely pontján és minden irányban, a Δα max érték meghatározása érdekében.
9.2.1.5. Alternatív eljárás
A vetítési módszerek alternatívájaként a sztrioszkopós eljárás is megengedett, feltéve hogy megmarad a 9.2.1.3.2. és 9.2.1.3.3. pont szerinti mérési pontosság.
9.2.1.6. A Δx távolságnak 4 mm-nek kell lennie.
9.2.1.7. A szélvédőt ugyanazon dőlésszögben kell felszerelni, ahogyan az a traktoron is felszerelésre kerül.
9.2.1.8. A vízszintes síkban a vetítés tengelye megközelítőleg derékszöget zár be az e síkban lévő szélvédő nyomvonalával.
9.2.2. A méréseket az e melléklet 9.2.5.2. pontjában meghatározott I mezőben kell végezni.
9.2.2.1. Olyan traktorok esetében, amelyeknél az e melléklet 9.2.5.2. pontjában meghatározott I mező nem állapítható meg, a vizsgálatot az e melléklet 9.2.5.3. pontjában meghatározott I' mezőben kell végezni.
9.2.2.2. A traktortípus A vizsgálatot akkor kell megismételni, ha a szélvédőt olyan típusú traktorra kell felszerelni, amelyen az első látótér eltér azon traktortípus látóterétől, amelyre a szélvédőt már jóváhagyták.
9.2.3. A másodlagos jellemzők nehézségi foka
9.2.3.1. Az anyag fajtája
| Csiszolt (tábla) üveg | Úsztatott üveg | Síküveg | 
| 1 | 1 | 2 | 
9.2.3.2. Egyéb másodlagos jellemzők
Az egyéb másodlagos jellemzők figyelmen kívül maradnak.
9.2.4. A minták száma A vizsgálatra négy mintát kell benyújtani.
9.2.5. A traktor szélvédők látómezőjének meghatározása
9.2.5.1. A látómezőt az alábbiak alapján kell meghatározni:
9.2.5.1.1. a vonatkoztatási pontot a 2008/2/EK irányelv I. mellékletének 1.2. pontja határozza meg. E pont a továbbiakban O-val van jelölve;
9.2.5.1.2. az OQ egyenes, az a vízszintes egyenes, amely áthalad a vonatkoztatási ponton és merőleges a traktor hosszanti középsíkjára.
9.2.5.2. Az I mező a szélvédőnek azon mezője, amelyet a szélvédőn az alábbi 4 sík metszésvonala határol:
| P1 | — | függőleges sík, amely átmegy az O-n és 15°-os szöget zár be a traktor hosszanti középsíkjának bal oldalával, | 
| P2 | — | a traktor hosszanti középsíkjához képest a P1-gyel szimmetrikus, függőleges sík; Ha ez nem lehetséges (pl. hosszanti szimmetria-középsík hiányában), úgy a P2 a P1-gyel – a traktornak a vonatkoztatási ponton átmenő hosszsíkjához képest – szimmetrikus sík, | 
| P3 | — | az OQ egyenesen áthaladó sík, amely a vízszintes síkkal felül 10°-os szöget zár be, | 
| P4 | — | az OQ egyenesen áthaladó sík, amely a vízszintes síkkal alul 8°-os szöget zár be. | 
9.2.5.3. Olyan traktorok esetében, amelyekre nem állapítható meg az ezen irányelv 9.2.5.2. pontjában meghatározott I mező, az I' mező a szélvédő teljes felületét alkotja.
9.2.6. Az eredmények kiértékelése
Az optikai torzítás szempontjából a szélvédőtípus akkor tekinthető megfelelőnek, ha a vizsgálatra benyújtott négy mintán az optikai torzítás nem haladja meg sem az I, sem az I' mezőben a 2′ ívpercnyi legnagyobb értéket.
9.2.6.1. A 100 mm szélességű kerületi mezőben nem szabad mérést végezni.
9.2.6.2. Osztott szélvédőknél a szélvédő osztószerkezetéhez illeszkedő tábla szélétől számított 35 mm széles sávon belül nem szabad mérést végezni.
9.3. A másodlagos képszétválás vizsgálata
9.3.1. Hatály
Kétféle elismert eljárás létezik:
- a céltárgyas vizsgálat, és
- a kollimációs teleszkóppal végzett vizsgálat.
E vizsgálati módszerek alkalmazhatók alkatrész-típusjóváhagyáshoz, minőség-ellenőrzéshez vagy értékelési célokra.
9.3.1.1. Céltárgyas vizsgálat
9.3.1.1.1. A készülék
E módszernél egy megvilágított céltárgyat kell a biztonsági üvegtáblán keresztül vizsgálni. A céltárgy készülhet olyan kivitelben, hogy a vizsgálat egyszerű megfelel/nem felel meg alapon legyen végezhető.
A céltárgy lehetőleg a következő típusok valamelyike:
a) megvilágított, gyűrű alakú céltárgy, amelynek D külső átmérője η ívperc szöget zár be az x méterre lévő ponton (11.a. ábra); vagy
b) a céltárgy egy megvilágított gyűrű és folt, amelyek méretei olyanok, hogy a folt szélén lévő ponttól a kör belsejében lévő legközelebbi pontig mért D távolság az x méterre lévő ponton η ívperc szöget zár be (11.b. ábra),
ahol:
η a másodlagos képszétválás határértéke,
x a biztonsági üvegtábla és a céltárgy közötti távolság (min. 7 m),
D az alábbi képlet szerint:
D = x · tan η
A megvilágított céltárgy egy kb. 300 × 300 × 150 mm méretű világítódobozból áll, amelynek elejét célszerű olyan üvegből készíteni, amely vagy nem áttetsző fekete papírral, vagy matt fekete festékkel van befedve. A dobozt egy megfelelő fényforrásnak kell megvilágítania. A doboz belsejét matt fehér festékkel kell befesteni. Más céltárgyalakok is használhatók, mint pl. amilyet a 14. ábra szemléltet. Elfogadható a céltárgyrendszer vetítőrendszerrel való helyettesítése és a keletkező képek képernyőn történő vizsgálata.
9.3.1.1.2. Vizsgálati eljárás
A biztonsági üvegtáblát alkalmas állványra kell szerelni, az előírt dőlésszögben úgy, hogy a megfigyelés a céltárgy közepén áthaladó vízszintes síkban legyen végezhető.
A világítódobozt egy sötét vagy félig sötét szobában kell szemlélni a vizsgálandó terület egyes részein keresztül azért, hogy érzékelhető legyen a megvilágított céltárggyal összefüggő bármely másodlagos kép jelenléte. A biztonsági üvegtáblát szükség esetén forgatni kell, hogy a megfigyelés helyes iránya megmaradjon. Az egylencsés vizsgálat alkalmazható.
9.3.1.1.3. Az eredmények megadása
Meg kell határozni, hogy:
- az (a) céltárgy használatakor (lásd 11.a. ábra) a kör elsődleges és másodlagos képe különválik-e, azaz a mért érték az η határértéket meghaladja-e, vagy
- a (b) céltárgy használatakor (lásd 11.b. ábra) a folt másodlagos képe túlnyúlik-e a kör belső szélének érintési pontján, azaz a mért érték az η határértéket meghaladja-e.

11. ábra - A céltárgyak méretei

12. ábra - A készülék elrendezése

| 1. | izzólámpa | 
| 2. | gyűjtőlencse nyílása > 8,6 mm | 
| 3. | csiszolt üvegszűrő nyílása > gyűjtőlencse nyílása | 
| 4. | kb. 0,3 mm átmérőjű középső furatú színszűrő, átmérő > 8,6 mm | 
| 5. | polárkoordináta-lemez, átmérő > 8,6 mm | 
| 6. | színtelen lencse, f ≥ 86 mm, nyílás 10 mm | 
| 7. | színtelen lencse, f ≥ 86 mm, nyílás 10 mm | 
| 8. | fekete folt, kb. 0,3 mm átmérő | 
| 9. | színtelen lencse, f = 20 mm, nyílás ≤ 10 mm | 
13. ábra - Készülék a kollimációs teleszkóppal végzett vizsgálathoz
9.3.1.2. Kollimációs teleszkóppal végzett vizsgálat
Szükség esetén az e pont szerinti eljárást kell alkalmazni.
9.3.1.2.1. A készülék
A készülék egy kollimátorból (fénypárhuzamosítóból) és egy teleszkópból áll, és a 13. ábra szerint állítható fel. Használható azonban bármilyen egyenértékű optikai rendszer is.
9.3.1.2.2. Eljárás
A kollimációs teleszkóp a végtelenben állítja elő a polárkoordináta-rendszer képét, közepén fényes folttal (lásd 14. ábra). A megfigyelő teleszkóp fókuszsíkjában a kivetített fényes foltnál valamivel nagyobb átmérőjű kis homályos folt látható az optikai tengelyen, amely ily módon elsötétíti a fényes pontot.

14. ábra - Példa a kollimációs teleszkóppal végzett vizsgálati megfigyelésre
Ha egy olyan vizsgálati darabot helyeznek a teleszkóp és a kollimátor közé, amely másodlagos képet állít elő, akkor egy második, kevésbé fényes folt jelenik meg a polárkoordináta-rendszer közepétől bizonyos távolságra. A másodlagos képszétválás a teleszkópon keresztül látható pontok közötti távolságként olvasható le (lásd 14. ábra). (A sötét folt és a polárkoordináta-rendszer közepén lévő fényes folt közötti távolság jelenti az optikai eltérítést.)
9.3.1.2.3. Az eredmények megadása
A biztonsági üvegtáblát először egyszeri letapogatási módszerrel kell vizsgálni annak meghatározására, hogy melyik terület adja a legerősebb másodlagos képet. E területet ezután kollimátoros teleszkóprendszerrel kell megvizsgálni a megfelelő beesési szög mellett. Ezután meg kell mérni a legnagyobb másodlagos képszétválást.
9.3.1.3. A megfigyelés irányának a vízszintes síkban hozzávetőlegesen derékszöget kell bezárnia a szélvédőnek e síkban lévő nyomvonalával.
9.3.2. A méréseket a traktor kategóriájának megfelelően kell elvégezni a 9.2.2. pont szerinti mezőkben.
9.3.2.1. A traktortípus
A vizsgálatot meg kell ismételni, ha a szélvédőt olyan típusú traktorra kell felszerelni, amelynek első látótere eltér azon traktor látóterétől, amelyre a szélvédőt már jóváhagyták.
9.3.3. A másodlagos jellemzők nehézségi foka
9.3.3.1. Az anyag fajtája
| Csiszolt (tábla) üveg | Úsztatott üveg | Síküveg | 
| 1 | 1 | 2 | 
9.3.3.2. Egyéb másodlagos jellemzők
Az egyéb másodlagos jellemzők figyelmen kívül maradnak.
9.3.4. A minták száma A vizsgálatra négy mintát kell benyújtani.
9.3.5. Az eredmények kiértékelése
A másodlagos képszétválás szempontjából a szélvédőtípus akkor tekinthető megfelelőnek, ha a vizsgálatra benyújtott négy mintán az elsődleges és másodlagos kép szétválása nem haladja meg a 15′ ívperc maximális értéket.
9.3.5.1. Nem szabad mérést végezni a 100 mm szélességű kerületi mezőben.
9.3.5.2. Osztott szélvédőknél a szélvédő osztószerkezetéhez illeszkedő tábla szélétől számított 35 mm széles sávon belül nem szabad mérést végezni.
9.4. A színazonosítás vizsgálata
Ha valamelyik szélvédő a 9.2.5.2. vagy a 9.2.5.3. pont szerint meghatározott mezőkben színezett, úgy négy szélvédőt kell vizsgálni a következő színek azonosíthatósága szempontjából:
- fehér,
- szelektív sárga,
- vörös,
- zöld,
- kék,
- borostyánsárga.
10. A TŰZÁLLÓSÁG VIZSGÁLATA
10.1. Cél és alkalmazási kör
E módszer lehetővé teszi kis láng hatását követően a traktorok utasterében használt anyagok vízszintes égési sebességének meghatározását. E módszer lehetővé teszi a traktor belső berendezése anyagainak és alkatrészeinek külön-külön vagy együttesen történő vizsgálatát 15 mm vastagságig. E módszert kell alkalmazni az ilyen anyagok gyártási egységességének megítélésére az égési viselkedés szempontjából. Mivel sok különbség van a valóságos helyzet (alkalmazás és elhelyezkedés a traktoron belül, használati feltételek, gyulladási forrás stb.) és az itt leírt pontos vizsgálati körülmények között, ezért e módszer nem tekinthető minden valóságos, a traktoron belüli égési jellemző értékelésére alkalmasnak.
10.2. Fogalommeghatározások
10.2.1. Égési sebesség: az e módszerrel mért égett távolság és a távolság leégetéséhez szükséges idő hányadosa.
Mértékegysége: mm/min.
10.2.2. Összetett anyag: olyan több, hasonló vagy különböző anyagrétegből álló anyag, amely anyagrétegek közvetlenül a felületükön történő ragasztással, bevonással, hegesztéssel stb. vannak összefogva. Amikor különböző anyagok szakaszosan vannak összekötve egymással (pl. varrással, nagyfrekvenciás hegesztéssel, szegecseléssel), ami lehetővé teszi a 10.5. pont szerinti egyedi mintavételt, úgy az ilyen anyagokat nem kell összetett anyagoknak tekinteni.
10.2.3. Hatásnak kitett oldal: az utastér (utasfülke) felé néző oldal, ha az anyag a traktorba be van szerelve.
10.3. Eljárási elv
A mintát vízszintesen egy U alakú tartóban tartva 15 másodpercig égéskamrában, meghatározott, kis energiájú láng hatásának kell kitenni, ahol a láng a minta szabad végére hat. A vizsgálat meghatározza, hogy a láng kioltódik-e és mikor, és hogy mennyi idő kell ahhoz, hogy a láng a mért távolságot megtegye.
10.4. A készülék
10.4.1. Az égéskamra (15. ábra) lehetőség szerint rozsdaálló acélból készül a 16. ábrán megadott méretekkel. A kamra elején lángálló megfigyelőablak van, amely elfoglalhatja az egész előoldalt, és amely hozzáférést lehetővé tevő ajtóként is kialakítható.
Az égéskamra alján szellőzőfuratok vannak, tetején pedig körben szellőzőnyílás található. Az égéskamra négy lábon, 10 mm magasban áll.
A kamra egyik végén nyílás lehet, a mintát tartalmazó mintatartó bevezetésére; a másik végén pedig a gázellátást biztosító cső számára van furat. A megolvadt anyagot tálcában kell felfogni (lásd 17. ábra), amelyet a kamra alján a szellőzőfuratok között kell elhelyezni, a szellőzőfuratok eltakarása nélkül.

15. ábra - Példa égéskamra kialakítására mintatartóval és csepegtetőtálcával

16. ábra - Égéskamra kialakítási minta

17. ábra - Jellegzetes csepegtetőtálca
10.4.2. Korrózióálló anyagból készült, két U-alakú fémlemezből vagy keretből álló egyszerű mintatartó. A méreteket a 18. ábra szemlélteti.
Az alsó lemezen csapok találhatók, a felsőn az ezeknek megfelelő furatok azért, hogy a minta felfogása biztos legyen. A csapok mérési pontokként is szolgálnak az égési távolság elején és végén.
A tartó 0,25 mm átmérőjű hőálló huzalokkal van ellátva, amelyek az alsó U-alakú kereten 25 mm-es közökben van kifeszítve (lásd 19. ábra).

18. ábra - Példa mintatartó kialakítására

19. ábra - Példa az alsó U-keret szerkezetének huzaltartó részletére
A minták alsó oldala síkjának 178 mm-re kell lennie az alaplap fölött. A mintatartó első szélének a kamra végétől 22 mm távolságra kell lennie; a hosszanti oldalai és a kamra oldalai közötti távolságnak 50 mm-nek kell lennie (mind belső méretek) (lásd 15. és 16. ábra).
10.4.3. Gázégő. A kis tűzforrást egy 9,5 mm belső átmérőjű Bunsen-égő biztosítja. A vizsgálókamrában ez úgy van elhelyezve, hogy a fúvókája közepe 19 mm-re van a minta nyitott vége alsó szélének közepe alatt (lásd 16. ábra).
10.4.4. Vizsgálati gáz. Az égőhöz vezetett gáz fűtőértéke kb. 37 MJ/m3 (pl. földgáz).
10.4.5. Legalább 110 mm hosszú, 25 mm-ként 7 vagy 8 sima lekerekített foggal ellátott fémfésű.
10.4.6. 0,5 másodperc pontosságú stopperóra.
10.4.7. Füstszekrény. Az égéskamra egy füstszekrénybe helyezhető, feltéve hogy ez utóbbi belső térfogata legalább hússzorosa és legfeljebb 110-szerese az égéskamra térfogatának, és feltéve hogy a füstszekrény magassági, szélességi vagy hosszúsági méretei közül egyik sem haladja meg a másik két méret bármelyikének 2,5-szeresét.
A vizsgálat előtt mérni kell a füstszekrényen áthaladó levegő függőleges sebességét az égéskamra tervezett helye előtt és mögött 100 mm-rel. A sebességnek 0,10 és 0,30 m/s között kell lennie, a kezelő személyt az égéstermékek jelenléte miatt esetlegesen érő terhelések elkerülése érdekében. Használható természetes szellőzésű és megfelelő levegősebességű füstszekrény is.
10.5. Minták
10.5.1. Alak és méretek
A minták alakját és méreteit a 20. ábra adja meg. A minta vastagsága megfelel a vizsgálandó gyártmány vastagságának. Ez azonban nem lehet nagyobb 13 mm-nél. Ha a mintavétel megengedi, úgy a mintának teljes hosszúságában állandó keresztmetszetűnek kell lennie. Ha a gyártmány alakja és méretei nem teszik lehetővé a megadott méretű minta vételét, úgy az alábbi legkisebb méreteket kell figyelembe venni:
a) 3-60 mm széles mintáknál a hosszúság 356 mm legyen. Ebben az esetben az anyagot a gyártmány szélességében kell vizsgálni;
b) 60-100 mm széles mintáknál a hosszúság legalább 138 mm legyen. Ebben az esetben a lehetséges égési távolság a minta hosszának felel meg, ahol a mérés az első mérési pontnál kezdődik;
c) a 60 mm-nél keskenyebb és 356 mm-nél rövidebb minták, valamint a 60-100 mm széles és 138 mm-nél rövidebb, illetve 3 mm-nél keskenyebb minták e módszerrel nem vizsgálhatók.
10.5.2. Mintavétel
A vizsgálandó anyagból legalább öt mintát kell venni. Olyan anyagoknál, amelyeknek az égési sebessége az anyag iránya szerint változik (ezt előzetes vizsgálatokkal kell megállapítani), öt (vagy ennél több) mintát kell venni, és azokat oly módon kell a vizsgálóberendezésbe helyezni, hogy lehetőség legyen a legnagyobb égési sebesség mérésére. Ha az anyagot meghatározott szélességűre vágva szállítják, úgy a teljes szélességre kiterjedve egy legalább 500 mm hosszúságú darabot kell kivágni. Az ily módon levágott darabból az anyag szélétől legalább 100 mm távolságban és egymástól azonos távolságra levő pontokon kell mintákat venni.
Ugyanilyen módon kell mintákat venni a kész gyártmányokból, ha ezt a gyártmány alakja megengedi. Ha a gyártmány vastagsága meghaladja a 13 mm-t, úgy azt 13 mm-re kell csökkenteni azon oldal mechanikai megmunkálásával, amely nem az utastér felé néz.
Az összetett anyagokat (lásd 10.2.2. pont) oly módon kell vizsgálni, mintha homogének lennének.
Különböző összetételű, egymásra helyezett rétegekből álló anyagok esetén, amelyek nem összetett anyagok, külön-külön kell vizsgálni az utastér felé néző felülettől számított 13 mm mélységen belüli minden anyagréteget.

20. ábra - A minta
10.5.3. Kondicionálás
A mintákat legalább 24 órán át, de legfeljebb 7 napig kell 23 °C ±2 °C hőmérsékleten és 50 % ±5 % relatív páratartalmon kondicionálni, és e körülményeket egészen a vizsgálatig fenn kell tartani.
10.6. Vizsgálati eljárás
10.6.1. A bolyhozott vagy csomózott felületű mintákat sík felületre kell helyezni, és a bolyhozás ellenében kétszer át kell fésülni a fésűvel (lásd 10.4.5. pont).
10.6.2. A mintát oly módon kell a mintatartóba helyezni (lásd 10.4.2. pont), hogy a hatásnak kitett oldal lefelé, a láng felé nézzen.
10.6.3. A gázlángot 30 mm magasságra kell beállítani az égéskamrában lévő jelzés segítségével, lezárt égő levegőbevezető nyílásnál. Az első vizsgálat megkezdése előtt a lángnak legalább egy percig kell égnie ahhoz, hogy stabilizálódjon.
10.6.4. A mintatartót az égéskamrába kell tolni oly módon, hogy a minta vége ki legyen téve a láng hatásának, és 15 másodperc elteltével el kell zárni a gázt.
10.6.5. Az égési idő mérése abban a pillanatban kezdődik, amikor a láng támadási pontja áthalad az első mérési ponton. A láng terjedését azon az oldalon (a felső vagy alsó) kell figyelni, amelyik gyorsabban ég.
10.6.6. Az égési idő mérése akkor fejeződik be, amikor a láng odaér az utolsó mérési ponthoz, vagy ha kialszik azelőtt, hogy elérné e pontot. Ha a láng nem éri el az utolsó mérési pontot, úgy az azon pontig megtett távolságot kell mérni, ahol a láng kialudt. Az égéstávolság a minta felületén vagy belsejében az égéssel roncsolt rész.
10.6.7. Ha a minta nem gyullad meg vagy nem ég tovább azt követően, hogy az égő kialudt, vagy a láng kialszik, mielőtt elérné az első mérési pontot, tehát az égési időt mérni nem lehet, úgy a vizsgálati jegyzőkönyvbe 0 mm/s égési sebességet kell bejegyezni.
10.6.8. Vizsgálatsorozat vagy ismételt vizsgálatok esetén a vizsgálat megkezdése előtt meg kell bizonyosodni arról, hogy az égéskamra és a mintatartó hőmérséklete nem haladja meg a 30 °C fokot.
10.7. Számítás
Az alábbi képlet adja meg mm/min mértékegységben a B égési sebességet:
B = (s/t) × 60
ahol:
s az égéstávolság mm-ben,
t az s távolság leégetéséhez szükséges idő másodpercben.
10.8. A másodlagos jellemzők nehézségi foka
A másodlagos jellemzők figyelmen kívül maradnak.
10.9. Az eredmények kiértékelése
Az égési viselkedés (tűzállóság) szempontjából a műanyag bevonatú (2.3. pont) és a műanyag biztonsági üvegezés (2.4. pont) akkor tekinthető megfelelőnek, ha az égési sebesség nem haladja meg a 250 mm/min értéket.
11. VEGYI ANYAGOKKAL SZEMBENI ELLENÁLLÁS VIZSGÁLATA
11.1. Használandó vegyi anyagok
11.1.1. Nem szemcsés szappanoldat: 1 tömegszázalék kálium-oleát ionmentesített vízben.
11.1.2. Ablaktisztító szer: izopropanol vagy dipropilénglikol-monometil-éter vizes oldata, mindegyik 5-10 tömegszázalék koncentrációban, illetve ammóniumhidroxid vizes oldata 1-5 tömegszázalék koncentrációban.
11.1.3. Nem hígított denaturált szesz: 1 térfogatrész metil-alkohol 10 térfogatrész etil-alkoholban.
11.1.4. Referenciabenzin: 50 térfogatszázalék toluol, 30 térfogatszázalék 2,2,4-trimetil-pentán, 15 térfogatszázalék 2,4,4-trimetil-1-pentán és 5 térfogatszázalék etil-alkohol keveréke.
11.1.5. Referenciakerozin: 50 térfogatszázalék n-oktán és 50 térfogatszázalék n-dekán keveréke.
11.2. Vizsgálati módszer
A két 180 × 25 mm méretű vizsgálati darab mindegyikét vizsgálni kell a 11.1. pontban megadott vegyi anyagokkal, és új vizsgálati darabot kell használni mindegyik vizsgálathoz és gyártmányhoz. Minden vizsgálat után a gyártó előírásaival összhangban meg kell tisztítani a vizsgálati darabot, majd 48 órán át 23 °C ±2 °C hőmérsékleten és 50 % ±5 % relatív páratartalmon kell tartani. E körülményeket fenn kell tartani a vizsgálatok alatt. A vizsgálati darabokat 1 percre teljesen be kell meríteni a vizsgálófolyadékba, majd ki kell venni és azonnal meg kell szárítani egy (tiszta) nedvszívó pamutronggyal.
11.3. Másodlagos jellemzők nehézségi foka
| Színtelen | Színezett | |
| A műanyag közbenső réteg vagy bevonat elszíneződése | 1 | 2 | 
Az egyéb másodlagos jellemzők figyelmen kívül maradnak.
11.4. Az eredmények kiértékelése
11.4.1. A vegyi anyagokkal szembeni ellenállás vizsgálata akkor tekinthető pozitívnak, ha a vizsgálati darabokon nem figyelhető meg lágyulás, ragadósság, felületi repedés vagy az átlátszóság nyilvánvaló csökkenése.
11.4.2. A vegyi anyagokkal szembeni ellenállás szempontjából az alkatrész-típusjóváhagyásra benyújtott vizsgálatidarab-sorozat akkor tekinthető megfelelőnek, ha az alábbi feltételek valamelyike teljesül:
11.4.2.1. minden vizsgálat eredménye megfelelő;
11.4.2.2. miután egy vizsgálat eredménye nem volt megfelelő, a vizsgálati darabok egy új sorozatán további vizsgálatokat kell végezni, és ezek megfelelő eredményeket adnak.
III. D. MELLÉKLET
Edzett üvegből készült szélvédők
1. TÍPUSMEGHATÁROZÁS
Az edzett üvegből készült szélvédőket akkor kell különböző típusúaknak tekinteni, ha azok egymástól az alábbi fő- vagy másodlagos jellemzők közül legalább egyben eltérnek.
1.1. Fő jellemzők:
1.1.1. kereskedelmi név vagy márkajel;
1.1.2. alak és méretek.
A szilánkosodás és a mechanikai tulajdonságok vizsgálatának tekintetében az edzett üvegből készült szélvédők a következő két csoport valamelyikéhez tartoznak:
1.1.2.1. lapos szélvédők; és
1.1.2.2. ívelt szélvédők.
1.1.3. A vastagságkategóriák, amelyekben a névleges "e" vastagság található (± 0,2 mm gyártási tűrés megengedett):
| — I. kategória: | e ≤ 4,5 mm | |
| — II. kategória: | 4,5 mm < | e ≤ 5,5 mm | 
| — III. kategória: | 5,5 mm < | e ≤ 6,5 mm | 
| — VI. kategória: | 6,5 mm < | e | 
1.2. A másodlagos jellemzők:
1.2.1. Az anyag fajtája (csiszolt/tábla üveg, úsztatott üveg, síküveg).
1.2.2. Színezés (színtelen vagy színezett).
1.2.3. Behelyezett vezeték nélküli vagy vezetékkel.
1.2.4. Sötétítősávokkal ellátott vagy anélküli.
2. A SZILÁNKOSODÁS VIZSGÁLATA
2.1. A másodlagos jellemzők nehézségi foka
2.1.1. Csak az anyag fajtáját kell figyelembe venni.
2.1.2. Az úsztatott üveg és a síküveg nehézségi fokát azonosnak kell tekinteni.
2.1.3. A szilánkosodási vizsgálatokat meg kell ismételni csiszolt üvegről úsztatott üvegre vagy síküvegre történő áttéréskor és fordítva.
2.1.4. A vizsgálatokat meg kell ismételni, ha sötétítősávként nem festett sávokat használnak.
2.2. A minták száma
Hat darab mintát kell használni a legkisebb kiterített felületű, és hat darabot a legnagyobb kiterített felületű sorozatból, a III. M. melléklet szerint kiválasztva.
2.3. Az üveg különböző felületei
Az edzett üvegből készült szélvédőnek két fő mezőt (F I. és F II.) kell tartalmaznia. Tartalmazhat közbenső F III. mezőt is.
A mezőket az alábbiak szerint kell meghatározni:
2.3.1. F I. mező: finoman szilánkosodó peremmező, legalább 7 cm szélességben, körben a szélvédő szélén, egy külső 2 cm széles sávval, amelyet a vizsgálati eredmény értékelésekor nem kell figyelembe venni.
2.3.2. F II. mező: a látómezőbe eső, változóan szilánkosodó mező, amely mindig tartalmaz egy legalább 20 cm magas és 50 cm széles négyszög alakú területet.
2.3.2.1. A négyszög alakú rész középpontja egy 10 cm sugarú körön belül van, a középpont pedig a vonatkoztatási pont vetülete.
2.3.2.2. Olyan traktoroknál, amelyeken a vonatkoztatási pont nem határozható meg, a látómező helyzetét a vizsgálati jegyzőkönyvben fel kell tüntetni.
2.3.2.3. Az említett négyszög magassága 15 cm-re csökkenthető olyan szélvédőknél, amelyek magassága nem éri el a 44 cm-t.
2.3.3. F III. mező: közbenső mező, amely 5 cm-nél nem szélesebb, és az F I. és F II. mező között található.
2.4. Vizsgálati módszer
A módszert a III. C. melléklet 1. pontja írja le.
2.5. Ütközési pontok (lásd III. N. melléklet, 2. ábra).
2.5.1. Az ütközési pontokat az alábbiak szerint kell kiválasztani:
1. pont: az F II. mező középső részében, nagy- vagy kis feszültségű területen.
2. pont: az F III. mezőben, a lehető legközelebb az F II. mező függőleges szimmetriasíkjához.
3. és 3'. pont: 3 cm-re a mintadarab egyik felezőjének élétől; ha van fogónyom, úgy az egyik ütközési pontnak közel kell esnie azon élhez, amelyen a fogónyom van, a másiknak pedig az ellenkező élhez.
4. pont: a leghosszabb felező azon pontján, ahol a görbületi sugár a legkisebb.
5. pont: 3 cm-re a minta élétől azon a ponton, ahol az él görbületi sugara a legkisebb, a jobb vagy a bal oldalon.
2.5.2. A szilánkosodási vizsgálatot az 1., 2., 3., 3'., 4. és 5. pontok mindegyikén el kell végezni.
2.6. Az eredmények kiértékelése
2.6.1. A vizsgálat akkor kielégítő, ha a szilánkosodás kielégíti a 2.6.1.1., 2.6.1.2. és 2.6.1.3. pont összes követelményét.
2.6.1.1. F I. mező
2.6.1.1.1. Egy 5 × 5 cm méretű négyzetben a szilánkok száma nem lehet kevesebb 40-nél, és nem lehet több 350-nél; ha azonban a szilánkok száma kevesebb 40-nél, az eredmény elfogadható, ha egy olyan 10 × 10 cm méretű négyzetben, amely tartalmazza az 5 × 5 cm-es négyzetet, a szilánkok száma nem kevesebb 160-nál.
2.6.1.1.2. A fenti szabály tekintetében az olyan szilánkok, amelyek a négyzet szélén túlnyúlnak, fél szilánknak számítanak.
2.6.1.1.3. A szilánkosodást nem kell vizsgálni egy 2 cm szélességű sávban a minta szélén körben - mivel e sáv az üveg keretét képezi - sem pedig az ütközés pontjától számított 7,5 cm sugarú körön belül.
2.6.1.1.4. Egy mezőben legfeljebb 3 db olyan szilánk engedhető meg, amelynek területe a 3 cm2-t meghaladja. Ezen szilánkok közül kettő darab nem lehet ugyanazon a 10 cm átmérőjű körön belül.
2.6.1.1.5. Nyújtott alakú szilánkok megengedhetők, amennyiben végeik nem pengeélűek és hosszuk nem haladja meg a 7,5 cm-t, kivéve a 2.6.2.2. pont szerinti esetet. Ha e nyújtott alakú szilánkok az üveg széléig terjednek, úgy azzal nem alkothatnak 45°-nál nagyobb szöget.
2.6.1.2. F II. mező
2.6.1.2.1. A törés után megmaradó láthatóságot a 2.3.2. pont szerinti négyszög alakú területen kell vizsgálni. E négyszögben a 2 cm2-nél nagyobb méretű szilánkok összesített felületének legalább a négyszög területének 15 %-át kell kitennie; azonban 44 cm-nél kisebb magasságú szélvédők vagy olyan szélvédők esetében, amelyeknek beépített helyzetben a függőlegestől való eltérése 15°-nál kisebb, a láthatóság arányának legalább a megfelelő négyszög területe 10 %-ának kell lennie.
2.6.1.2.2. A 2.6.2.2. pont szerinti eset kivételével egyetlen szilánk felülete sem lehet 16 cm2-nél nagyobb.
2.6.1.2.3. Az ütközési ponttól számított 10 cm sugarú körön belül, de a körnek csak az F II. mezőhöz tartozó részében, három darab olyan szilánk engedhető meg, amelyek területe nagyobb 16 cm2-nél, de kisebb 25 cm2-nél.
2.6.1.2.4. A szilánkoknak közel szabályos alakúaknak kell lenniük, és nem lehet olyan jellegű pontjuk, amelyeket a 2.6.1.2.4.1. pont leír. Bármely 50 × 20 cm méretű négyszögben maximum 10 db szabálytalan alakú szilánk megengedett, és nem lehet 25 db-nál több e szilánkok száma a szélvédő teljes felületén.
E szilánkok egyikének sem lehet 35 mm-nél hosszabb hegye a 2.6.1.2.4.1. pontban leírtakkal összhangban mérve.
2.6.1.2.4.1. A szilánkot akkor kell szabálytalannak tekinteni, ha nem helyezhető be egy 40 mm átmérőjű körbe, ha legalább egy darab 15 mm-nél hosszabb csúcsa van a csúcs végétől azon szakaszig mérve, amelynek szélessége azonos az üvegezés vastagságával, illetve ha egy vagy több olyan csúcsa van, amelynek csúcsszöge kisebb 40°-nál.
2.6.1.2.5. Nyújtott alakú szilánkok jelenléte megengedett az F II. mezőben, ha hosszúságuk nem haladja meg a 10 cm-t (a 2.6.2.2. pont szerinti eset kivételével).
2.6.1.3. F III. mező
A szilánkosodás jellemzőinek e mezőben a két szomszédos (F I. és F II.) mezőre megengedett szilánkosodási jellemzők között kell lenniük.
2.6.2. Az alkatrész-típusjóváhagyásra benyújtott szélvédő a szilánkosodás szempontjából akkor megfelelő, ha az alábbi feltételek közül legalább egy teljesül:
2.6.2.1. a 2.5.1. pont szerinti ütközési pontokon végzett vizsgálatok mind kielégítő eredményt adtak;
2.6.2.2. a 2.5.1. pont szerinti ütközési pontoknál végzett vizsgálatok közül egy nem adott kielégítő eredményt, de az eltérés nem haladja meg az alábbiakat:
F I. mező: legfeljebb 5 darab 7,5 és 15 cm közötti hosszúságú szilánk;
F II. mező: legfeljebb 3 darab 16 és 20 cm2 közé eső szilánk, azon a 10 cm-es sugarú körön kívül, amelynek középpontja a becsapódási pont;
F III. mező: legfeljebb 4 darab 10 és 17,5 cm közötti hosszúságú szilánk,
és egy új mintadarabon végzett ismételt vizsgálatnál a 2.6.1. pont követelményei teljesülnek vagy az eltérések a fenti határokon belül maradnak.
2.6.2.3. Ha a 2.5.1. pont szerinti ütközési pontoknál végzett összes vizsgálat közül kettő nem ad kielégítő eredményt az eltérésekre, de azok a 2.6.2.2. pont értékeit nem haladják meg, és egy új mintasorozaton végzett további vizsgálatok kielégítik a 2.6.1. pont követelményeit, vagy az új sorozatból legfeljebb két mintán jelentkeznek a 2.6.2.2. pont szerinti határokat meghaladó eltérések.
2.6.3. Ha a vizsgálat a fenti eltéréseket mutatja, úgy ezeket a vizsgálati jegyzőkönyvben fel kell tüntetni és a szélvédő érintett alkatrészeinek fényképét a jegyzőkönyvhöz kell csatolni.
3. ÜTKÖZÉSES VIZSGÁLAT FEJFORMÁVAL
3.1. A másodlagos jellemzők nehézségi foka
A másodlagos jellemzők figyelmen kívül maradnak
3.2. A minták száma
3.2.1. Az edzett üvegből készült szélvédők minden csoportjából meg kell vizsgálni négy, közelítőleg a legkisebb kiterített felülettel, illetve négy, közelítőleg a legnagyobb kiterített felülettel rendelkező mintát, amelynél mind a nyolc mintának ugyanolyan típusúnak kell lennie, mint amilyeneket a szilánkosodási vizsgálatokhoz kiválasztottak (lásd 2.2. pont).
3.2.2. A vizsgálólaboratórium saját belátása szerint a szélvédők minden vastagsági kategóriájára 6 db (1 100 mm + 5 mm/- 2 mm) x (500 mm + 5 mm/- 2 mm) méretű vizsgálati mintát vizsgálhat meg.
3.3. Vizsgálati módszer
3.3.1. A módszert a III. C. melléklet 3. pontja írja le.
3.3.2. Az ejtési magasság 1,5 m +0/-5 mm.
3.4. Az eredmények kiértékelése
3.4.1. A vizsgálat eredménye kielégítő, ha a szélvédő vagy a mintadarab eltörik.
3.4.2. A fejformával végzett ütközéses vizsgálat szempontjából az alkatrész-típusjóváhagyásra benyújtott minták akkor tekinthetők megfelelőnek, ha az alábbi feltételek valamelyike teljesül:
3.4.2.1. minden vizsgálat kielégítő eredményt ad;
3.4.2.2. egy vizsgálat nem kielégítő, azonban az új mintasorozattal végzett ismételt vizsgálat kielégítő eredményeket ad.
4. AZ OPTIKAI MINŐSÉG JELLEMZŐI
A III. C. melléklet 9. pontja szerinti, az optikai minőség jellemzőire vonatkozó követelmények minden típusú szélvédőre érvényesek.
III. E. MELLÉKLET
Nem szélvédő céljára szolgáló, egyenletesen edzett üvegtáblák ( 30 )
1. TÍPUSMEGHATÁROZÁS
Az egyenletesen edzett üvegtáblákat akkor kell különböző típushoz tartozónak tekinteni, ha az alábbi fő- vagy másodlagos jellemzők közül legalább egyben eltérnek egymástól.
1.1. Fő jellemzők:
1.1.1. kereskedelmi név vagy márkajel;
1.1.2. az edzési folyamat jellege (termikus vagy vegyi);
1.1.3. az alakkategória: két kategória különböztethető meg:
1.1.3.1. lapos üvegtáblák;
1.1.3.2. lapos és ívelt üvegtáblák;
1.1.4. vastagságkategóriák, amelyekben a névleges "e" vastagság a következő kategóriákba esik (± 0,2 mm gyártási tűrés megengedett):
| — I. kategória: | e ≤ 3,5 mm | |
| — II. kategória: | 3,5 mm < | e ≤ 4,5 mm | 
| — III. kategória: | 4,5 mm < | e ≤ 6,5 mm | 
| — VI. kategória: | 6,5 mm < | e | 
1.2. Másodlagos jellemzők:
1.2.1. az anyag fajtája (csiszolt táblaüveg, úsztatott üveg, síküveg);
1.2.2. színezés (színtelen vagy színezett);
1.2.3. behelyezett vezetékkel vagy anélkül gyártott.
2. A SZILÁNKOSODÁS VIZSGÁLATA
2.1. A másodlagos jellemzők nehézségi foka
| Anyag | Nehézségi fok | 
| táblaüveg | 2 | 
| úsztatott üveg | 1 | 
| síküveg | 1 | 
Az egyéb másodlagos jellemzők figyelmen kívül maradnak.
2.2. A vizsgálati minták kiválasztása
2.2.1. Minden alak- és vastagsági kategóriából nehezen előállítható mintákat kell kiválasztani vizsgálati célra az alábbi előírások alapján:
2.2.1.1. Lapos üvegtáblák esetén két olyan mintasorozatról kell gondoskodni, amelyek a következőknek felelnek meg:
2.2.1.1.1. a legnagyobb kiterített felület;
2.2.1.1.2. a legkisebb szög két szomszédos oldal között.
2.2.1.2. Lapos és ívelt üvegtáblák esetén három olyan mintasorozatról kell gondoskodni, amelyek a következőknek felelnek meg:
2.2.1.2.1. a legnagyobb kiterített felület;
2.2.1.2.2. a legkisebb szög két szomszédos oldal között;
2.2.1.2.3. a legnagyobb szegmensmagasság.
2.2.2. A legnagyobb S területnek megfelelő mintákon végzett vizsgálatok bármely olyan terület esetén használhatóak, amely kisebb S ± 5 %-nál.
2.2.3. Ha a vizsgálat alá vetett minták γ szöge kisebb 30°-nál, úgy a vizsgálatok alkalmazhatók minden olyan üvegtáblánál, amelynek a szöge nagyobb, mint γ-5°.
Ha a vizsgálat alá vetett minták γ szöge meghaladja a 30°-ot vagy egyenlő azzal, úgy a vizsgálatok alkalmazhatók minden olyan üvegtáblánál, amely legalább 30°-os szöggel rendelkezik.
2.2.4. Ha a vizsgálat alá vetett minták h szegmensmagassága nagyobb 100 mm-nél, úgy a vizsgálatok alkalmazhatók minden olyan üvegtáblánál, amelynek szegmensmagassága kisebb, mint h + 30 mm.
Ha a vizsgálat alá vetett minták szegmensmagassága nem haladja meg a 100 mm-t, úgy a vizsgálatok minden olyan üvegtáblára alkalmazhatók, amelyek szegmensmagassága legfeljebb 100 mm.
2.3. A minták száma sorozatonként
A minták száma az egyes csoportokban - az 1.1.3. pont szerinti alakkategóriáknak megfelelően - a következő:
| Az üvegtábla fajtája | A minták száma | 
| lapos (két sorozat) | 4 | 
| lapos és ívelt (három sorozat) | 5 | 
2.4. Vizsgálati módszer
2.4.1. A módszert a III. C. melléklet 1. pontja írja le.
2.5. Ütközési pontok (lásd a III. N. melléklet 3. ábrája)
2.5.1. Lapos üvegtáblák és ívelt üvegtáblák esetében az ütközési pontok, amelyeket egyrészt a III. N. melléklet 3.(a) és 3.(b) ábrája, másrészt a III. N. melléklet 3.(c) ábrája mutat be az alábbiak:
1. pont: 3 cm-re az üvegtábla széleitől, azon a részen, ahol az él görbületi sugara a legkisebb;
2. pont: 3 cm-re az egyik felező szélétől, azon az oldalon, ahol az üvegtáblán fogónyom van (ha van ilyen);
3. pont: az üveg geometriai középpontjában;
4. pont: kizárólag ívelt üvegtáblák esetén; a legnagyobb felezőn a tábla azon részén, ahol a görbületi sugár a legkisebb.
2.5.2. Minden előírt ütközési ponton csak egyetlen vizsgálatot kell végezni.
2.6. Az eredmények kiértékelése
2.6.1. A vizsgálati eredmények kielégítők, ha a szilánkosodás eleget tesz az alábbi feltételeknek:
2.6.1.1. a szilánkok száma bármely 5 × 5 cm2-es négyzetben nem kevesebb 40-nél és nem több 400-nál, illetve 3,5 mm-nél nem vastagabb üveg esetén 450-nél.
2.6.1.2. A fenti szabály alkalmazásában a négyzet valamely oldalán átnyúló szilánk fél szilánknak számít.
2.6.1.3. Nem kell vizsgálni a szilánkosodást a minta szélén az üveg keretét képező 2 cm széles sávban, sem pedig az ütközési ponttól számított 7,5 cm sugarú körön belül.
2.6.1.4. A 2.6.1.3. pont szerinti helyek kivételével, nem megengedhetőek a 3 cm2-nél nagyobb szilánkok.
2.6.1.5. Kisszámú, nyújtott alakú szilánk megengedett, feltéve hogy:
- végeik nem pengeélűek,
- ha az üvegtábla széléig érnek, úgy azzal 45°-nál nagyobb szöget nem képeznek,
hosszuk nem haladja meg a 7,5 cm-t (kivéve a 2.6.2.2. pont szerinti esetet).
2.6.2. A szilánkosodás szempontjából az alkatrész-típusjóváhagyásra benyújtott minták akkor tekinthetők megfelelőnek, ha az alábbiak közül legalább egy feltétel teljesül:
2.6.2.1. a 2.5.1. pont szerinti ütközési pontokon minden vizsgálat kielégítő eredménnyel jár;
2.6.2.2. a 2.5.1. pont szerinti ütközési pontokon végzett vizsgálatok közül egy nem kielégítő eredménnyel végződik, de az eltérés nem haladja meg az alábbi értékeket:
- ötnél nem több olyan szilánk, amelynek hossza 6-7,5 cm közötti,
- ötnél nem több olyan szilánk, amelynek hossza 7,5-10 cm közötti,
és az új mintasorozaton elvégzett ismételt vizsgálat vagy eleget tesz a 2.6.1. pont követelményeinek, vagy az eltérések a fenti leíráson belül maradnak.
2.6.2.3. A 2.5.1. pont szerinti ütközési pontokon végzett vizsgálatok közül kettő nem kielégítő eredményű az eltérések tekintetében, amelyek azonban a 2.6.2.2. pont szerinti határértéket nem lépik túl, de az új mintasorozaton végzett további vizsgálati sorozatok eredménye megfelel a 2.6.1. pont előírásainak, vagy az új sorozat maximum két mintáján kapott eredmények eltérései a 2.6.2.2. pont szerinti határértékeken belül vannak.
2.6.3. Ha a vizsgálat a fent leírt eltéréseket állapítja meg, úgy azokat fel kell jegyezni a vizsgálati jegyzőkönyvbe, és az üvegtábla érintett részének fényképeit a jegyzőkönyvhöz kell csatolni.
3. A MECHANIKAI SZILÁRDSÁG VIZSGÁLATA
3.1. Vizsgálat 227 g tömegű golyóval
3.1.1. A másodlagos jellemzők nehézségi foka
| Anyag | Nehézségi fok | Színezés | Nehézségi fok | 
| csiszolt üveg | 2 | színtelen | 1 | 
| úsztatott üveg | 1 | színezett | 2 | 
| síküveg | 1 | 
Az egyéb másodlagos jellemzők (vannak-e beépített vezetékek) figyelmen kívül maradnak.
3.1.2. A vizsgált minták száma
Hat mintát kell vizsgálni minden, a fenti 1.1.4. pontban meghatározott vastagságkategóriában.
3.1.3. A vizsgálat módszere
3.1.3.1. A vizsgálat módszerét a III. C. melléklet 2.1. pontja írja le.
3.1.3.2. Az ejtési magasságot (a golyó aljától a vizsgált darab felső felületéig) a következő táblázat tünteti fel, az üvegtábla vastagságától függően:
| Az üvegtábla névleges vastagsága (e) | Ejtési magasság | 
| e ≤ 3,5 mm | 2,0 m + 5 / – 0 mm | 
| 3,5 mm < e | 2,5 m + 5 / – 0 mm | 
3.1.4. Az eredmények kiértékelése
3.1.4.1. A vizsgálat eredményét akkor kell megfelelőnek tekinteni, ha a vizsgált darab nem törik el.
3.1.4.2. A mechanikai szilárdság szempontjából az alkatrész-típusjóváhagyásra benyújtott vizsgálati darabokat akkor kell megfelelőnek tekinteni, ha a következő feltételek közül legalább egy teljesül:
3.1.4.2.1. egynél nem több vizsgálat adott nem kielégítő eredményt;
3.1.4.2.2. két vizsgálat nem kielégítő eredményt adott, de az új, hat próbadarabból álló készleten végzett további vizsgálatok kielégítő eredményeket adnak.
4. AZ OPTIKAI MINŐSÉG JELLEMZŐI
4.1. Fényáteresztés
A szabályos fényáteresztési tényezőre vonatkozó, a III. C. melléklet 9.1. pontjában meghatározott követelmények vonatkoznak a járművezető látása szempontjából lényeges helyeken található egyenletesen edzett üvegtáblákra vagy üvegtáblarészekre.
III. F. MELLÉKLET
Közönséges rétegelt üvegből készült szélvédők
1. TÍPUSMEGHATÁROZÁS
A közönséges rétegelt üvegből készült szélvédőket akkor kell különböző típushoz tartozónak tekinteni, ha a következő fő vagy másodlagos jellemzők közül legalább egyben eltérnek.
1.1. A fő jellemzők a következők:
1.1.1. kereskedelmi név vagy márkajel;
1.1.2. alak és méretek.
A közönséges rétegelt üvegből készült szélvédőket a mechanikai tulajdonságok és a környezeti hatásokkal szembeni ellenállóság vizsgálata szempontjából egy csoportba tartozóknak kell tekinteni;
1.1.3. az üvegrétegek száma;
1.1.4. a szélvédő névleges "e" vastagsága, ahol 0,2 n mm (ahol n a szélvédőben az üvegrétegek száma) gyártási tűrés a névleges érték alatt és felett megengedett;
1.1.5. a közbenső réteg vagy rétegek névleges vastagsága;
1.1.6. a közbenső réteg vagy rétegek fajtája (pl. PVB vagy más műanyag közbenső rétegek vagy rétegek).
1.2. A másodlagos jellemzők a következők:
1.2.1. az anyag fajtája (csiszolt táblaüveg, úsztatott üveg, síküveg);
1.2.2. a közbenső rétegek színezése (színtelen vagy teljesen, illetve részlegesen színezett);
1.2.3. az üveg színezése (színtelen vagy színezett);
1.2.4. beépített vezetékekkel vagy anélkül;
1.2.5. beépített sötétítősávval vagy anélkül.
2. ÁLTALÁNOS KÖVETELMÉNYEK
2.1. Közönséges rétegelt üvegből készült szélvédők esetében a fejformával végzett ütközéses vizsgálaton (3.2. pont) és az optikai tulajdonságok vizsgálatán kívül minden vizsgálatot lapos vizsgálati darabokon kell elvégezni, amelyeket vagy tényleges szélvédőkből vágnak ki, vagy külön e célra készítenek. Mindkét esetben a vizsgálati daraboknak minden szempontból szigorúan reprezentatívaknak kell lenniük azon sorozatban gyártott szélvédők tekintetében, amelyekre az alkatrész-típusjóváhagyást kérik.
2.2. Az egyes vizsgálatok előtt a vizsgálati darabokat legalább négy órán át 23 °C ± 2 °C hőmérsékleten kell tárolni. A vizsgálatokat a mintáknak a tárolóból való kivételét követő lehető legrövidebb időn belül el kell végezni.
3. ÜTKÖZÉSES VIZSGÁLAT FEJFORMÁVAL
3.1. A másodlagos jellemzők nehézségi foka
A másodlagos jellemzők figyelmen kívül maradnak.
3.2. Ütközéses vizsgálat fejformával teljes szélvédőn
3.2.1. A minták száma
A III. M. melléklet előírásaival összhangban négy mintát kell kiválasztani vizsgálatra a legkisebb kiterített felületű sorozatból és négy mintát a legnagyobb kiterített felületű sorozatból.
3.2.2. Vizsgálati módszer
3.2.2.1. Az eljárást a III. C. melléklet 3.3.2. pontja írja le.
3.2.2.2. Az ejtési magasság 1,5 m +0/- 5 mm.
3.2.3. Az eredmények kiértékelése
3.2.3.1. A vizsgálatot akkor kell kielégítőnek tekinteni, ha a következő feltételek teljesülnek:
3.2.3.1.1. a minta úgy törik el, hogy számos, kör alakú repedés keletkezik, amelyeknek a középpontja közelítőleg az ütközés pontjában van, és az ütközés pontjához legközelebb eső repedések e ponttól legfeljebb 80 mm-re vannak;
3.2.3.1.2. az üvegrétegek a közbenső műanyag rétegről nem válhatnak le. Egy vagy több részleges leválás a közbenső rétegről legfeljebb 4 mm szélességben a repedés bármelyik oldalán megengedett, az ütközés pontjával azonos középpontú, 60 mm átmérőjű körön kívül.
3.2.3.1.3. Az ütközés oldalán:
3.2.3.1.3.1. a közbenső rétegnek nem szabad fedetlenné válnia 20 cm2-nél nagyobb felületen;
3.2.3.1.3.2. a közbenső rétegben legfeljebb 35 mm hosszú szakadás megengedett.
3.2.3.2. A fejformával végzett vizsgálat szempontjából a jóváhagyásra benyújtott minták akkor tekinthetők megfelelőnek, ha a következő két feltétel egyike teljesül:
3.2.3.2.1. mindegyik vizsgálat kielégítő eredményt ad; vagy
3.2.3.2.2. az egyik vizsgálat eredménye ugyan nem megfelelő, de az új vizsgálatidarab- vagy mintasorozaton végzett további vizsgálatsorozat kielégítő eredményeket ad
3.3. Ütközéses vizsgálat fejformával lapos vizsgálati darabokon
3.3.1. Vizsgálati darabok száma
Hat lapos, 1 100 × 500 mm +5/-2 mm méretű vizsgálati darabot kell vizsgálni.
3.3.2. Vizsgálati módszer
3.3.2.1. Az alkalmazandó módszert a III. C. melléklet 3.3.1. pontja írja le.
3.3.2.2. Az ejtési magasság 4 m +25/- 0 mm.
3.3.3. Az eredmények kiértékelése
3.3.3.1. E vizsgálat akkor ad kielégítő eredményt, ha a következő feltételek teljesülnek:
3.3.3.1.1. a vizsgálati darab enged és eltörik oly módon, hogy számos, kör alakú repedés keletkezik, amelyeknek a középpontja közelítőleg az ütközési pont;
3.3.3.1.2. a közbenső rétegben a szakadás megengedett, feltéve hogy a bábu feje nem megy át a vizsgálati darabon;
3.3.3.1.3. nem válnak le nagyobb üvegszilánkok a közbenső rétegről.
3.3.3.2. A fejformával való ütközéses vizsgálat szempontjából a jóváhagyásra benyújtott vizsgálati darabokat akkor kell megfelelőnek tekinteni, ha a következő két feltétel közül az egyik teljesül:
3.3.3.2.1. minden vizsgálat kielégítő eredményt ad; vagy
3.3.3.2.2. egy vizsgálat nem ad kielégítő eredményt, de új vizsgálati darabokon elvégzett további vizsgálatok kielégítő eredményeket adnak.
4. A MECHANIKAI SZILÁRDSÁG VIZSGÁLATA
4.1. A másodlagos jellemzők nehézségi foka
A másodlagos jellemzők figyelmen kívül maradnak.
4.2. Vizsgálat 2 260 g tömegű golyóval
4.2.1. A vizsgálati darabok száma
Hat négyzet alakú, 300 mm +10/-0 mm oldalhosszúságú vizsgálati darabot kell a vizsgálatnak alávetni.
4.2.2. Vizsgálati módszer
4.2.2.1. Az alkalmazandó módszert a III. C. melléklet 2.2. pontja írja le.
4.2.2.2. Az ejtési magasság (a golyó alsó szélétől a vizsgálati darab felső felületéig) 4 m +25/- 0 mm.
4.2.3. Az eredmények kiértékelése
4.2.3.1. A vizsgálat eredménye akkor tekinthető kielégítőnek, ha a golyó nem megy át az üvegezésen az ütközés pillanatától számított öt másodpercen belül.
4.2.3.2. Az alkatrész-típusjóváhagyásra benyújtott vizsgálati darabok akkor tekinthetők megfelelőnek a 2 260 g tömegű golyóval végzett vizsgálat szempontjából, ha a következő két feltétel közül az egyik teljesül:
4.2.3.2.1. mindegyik vizsgálat kielégítő eredményt ad; vagy
4.2.3.2.2. az egyik vizsgálat eredménye ugyan nem megfelelő, de az új vizsgálatidarab- vagy mintasorozaton végzett további vizsgálatsorozat kielégítő eredményeket ad.
4.3. Vizsgálat 227 g tömegű golyóval
4.3.1. A másodlagos jellemzők nehézségi foka
A másodlagos jellemzők figyelmen kívül maradnak.
4.3.2. A vizsgálati darabok száma
20 db négyzet alakú, 300 mm +10/-0 mm oldalhosszúságú vizsgálati darabot kell a vizsgálatnak alávetni.
4.3.3. Vizsgálati módszer
4.3.3.1. Az alkalmazandó módszert a III. C. melléklet 2.1. pontja írja le. 10 mintát kell vizsgálni + 40 °C ± 2°C hőmérsékleten, és 10 mintát - 20 °C ± 2°C hőmérsékleten.
4.3.3.2. A különböző vastagsági kategóriákra vonatkozó ejtési magasságot és a levált szilánkok tömegét az alábbi táblázat adja meg:
| + 40 °C | – 20 °C | |||
| A vizsgálati darab vastagsága | Ejtési magasság | A szilánkok megengedett legnagyobb tömege | Ejtési magasság | A szilánkok megengedett legnagyobb tömege | 
| mm | m (1) | g | m (1) | g | 
| e ≤ 4,5 | 9 | 12 | 8,5 | 12 | 
| 4,5 < e ≤ 5,5 | 10 | 15 | 9 | 15 | 
| 5,5 < e ≤ 6,5 | 11 | 20 | 9,5 | 20 | 
| e > 6,5 | 12 | 25 | 10 | 25 | 
| (1) Az ejtési magasság értékében + 25/– 0 mm eltérés megengedett. | ||||
4.3.4. Az eredmények kiértékelése
4.3.4.1. A vizsgálat eredményét akkor kell kielégítőnek tekinteni, ha a következő feltételek teljesülnek:
- a golyó nem megy át a vizsgálati darabon,
- a vizsgálati darab nem törik szét darabokra,
- a közbenső réteg nem szakad el, az ütközés pontjával ellentétes üvegoldalon levált szilánkok tömege nem haladja meg a 4.3.3.2. pontban megadott megfelelő értékeket.
4.3.4.2. A 227 g tömegű golyóval végzett vizsgálat szempontjából az alkatrész-típusjóváhagyásra benyújtott vizsgálati darabokat akkor kell megfelelőnek tekinteni, ha az alábbi feltételek közül az egyik teljesül:
4.3.4.2.1. legalább nyolc vizsgálat kielégítő eredményt ad mindegyik vizsgálati hőmérsékleten; vagy
4.3.4.2.2. kettőnél több vizsgálat eredménye nem kielégítő az alkalmazott vizsgálati hőmérsékleteken, de az új vizsgálati darabokon végzett további vizsgálatok kielégítő eredményt adnak.
5. A KÖRNYEZETI HATÁSOKKAL SZEMBENI ELLENÁLLÓ KÉPESSÉG VIZSGÁLATA
5.1. A kopásállóság vizsgálata
5.1.1. Nehézségi fok és vizsgálati módszer
A III. C. melléklet 4. pontjának követelményei érvényesek, a vizsgálatot 1 000 forgási cikluson át kell folytatni.
5.1.2. Az eredmények kiértékelése
A biztonsági üvegtáblát a kopásállóság szempontjából kielégítőnek kell tekinteni, ha a vizsgálati darab kopása következtében a fényszórás nem haladja meg a 2 %-ot.
5.2. Magas hőmérséklettel szembeni ellenállás
A III. C. melléklet 5. pontjának követelményei érvényesek.
5.3. Sugárzásállóság vizsgálata
5.3.1. Általános követelmények
E vizsgálatot csak akkor kell elvégezni, ha azt a laboratórium szükségesnek tartja a közbenső rétegre vonatkozó, birtokában lévő adatok alapján.
5.3.2. A III. C. melléklet 6. pontjában foglalt követelmények érvényesek.
5.4. Nedvességállóság vizsgálata
A III. C. melléklet 7. pontjában foglalt követelmények érvényesek.
6. OPTIKAI TULAJDONSÁGOK
A III. C. melléklet 9. pontjában az optikai tulajdonságokra vonatkozó előírások érvényesek valamennyi szélvédőtípusra.
III. G. MELLÉKLET
Nem szélvédők céljára szolgáló rétegelt üvegtáblák ( 31 )
1. TÍPUSMEGHATÁROZÁS
A nem szélvédők céljára szolgáló rétegelt üvegtáblák akkor tekinthetők különböző típusokhoz tartozóknak, ha az alábbi fő vagy másodlagos jellemzők közül legalább az egyikben különböznek.
1.1. A fő jellemzők a következők:
1.1.1. kereskedelmi név vagy márkajel;
1.1.2. a táblának azon vastagsági kategóriája, amelybe az "e" névleges vastagság tartozik: (± 0,2n mm gyártási tűrés megengedett, ahol n az üvegrétegek száma):
| — I. kategória | e ≤ 5,5 mm, | |
| — II. kategória: | 5,5 mm < | e ≤ 6,5 mm, | 
| — III. kategória: | 6,5 mm < | e | 
1.1.3. a közbenső réteg vagy rétegek névleges vastagsága;
1.1.4. a közbenső réteg vagy rétegek fajtája és típusa, pl. PVB vagy más műanyag alapú közbenső réteg vagy rétegek;
1.1.5. bármely különleges (elő)kezelés, amelynek az üveg valamelyik rétegét esetleg már alávetették.
1.2. A másodlagos jellemzők a következők:
1.2.1. az anyag fajtája (csiszolt táblaüveg, úsztatott üveg, síküveg);
1.2.2. a közbenső réteg(ek) színezése (színtelen vagy teljesen, illetve részlegesen színezett);
1.2.3. az üveg színezése (színtelen vagy színezett).
2. ÁLTALÁNOS KÖVETELMÉNYEK
2.1. A nem szélvédők céljaira szolgáló rétegelt üvegtáblák esetében a vizsgálatokat lapos vizsgálati darabokon kell elvégezni, amelyeket vagy a valódi üvegtáblákból vágnak ki, vagy külön e célra készítenek. A vizsgálati daraboknak mindkét esetben szigorúan meg kell egyezniük azon üvegtáblákkal, amelyek gyártásához az alkatrész-típusjóváhagyást kérik.
2.2. Az egyes vizsgálatok elvégzése előtt a rétegelt üveg vizsgálati darabokat legalább 4 órán át 23 °C ±2 °C hőmérsékleten kell tartani. A vizsgálati darabokon a vizsgálatokat ezeknek a tárolóból való kivételét követő lehető legrövidebb időn belül el kell végezni.
2.3. E melléklet előírásait teljesítettnek kell tekinteni, ha az alkatrész-típusjóváhagyásra benyújtott üveg összetétele megegyezik egy olyan szélvédő összetételével, amelyet már a III. F., III. H. vagy a III. I. melléklet rendelkezéseivel összhangban jóváhagytak.
3. ÜTKÖZÉSES VIZSGÁLAT FEJFORMÁVAL
3.1. A másodlagos jellemzők nehézségi foka
A másodlagos jellemzők figyelmen kívül maradnak.
3.2. A vizsgálati darabok száma
Hat darab sík, 1 100 × 500 mm (+25/-0 mm) méretű vizsgálati darabbal kell a vizsgálatot végrehajtani.
3.3. Vizsgálati módszer
3.3.1. Az alkalmazandó módszer megegyezik a III. C. melléklet 3. pontjában leírt módszerrel.
3.3.2. Az ejtési magasság 1,50 m +0/-5 mm. E magasságot 4 m +25/-0 mm-re kell növelni, ha az üvegtábla traktor szélvédőként kerül felhasználásra.
3.4. Az eredmények kiértékelése
3.4.1. A vizsgálat megfelelő eredményűnek minősül, ha teljesülnek az alábbi feltételek:
3.4.1.1. a mintadarab enged és eltörik, illetve azon megközelítőleg az ütközési pontnak megfelelő középponttal kör alakú repedések láthatók;
3.4.1.2. a közbenső rétegben felléphetnek repedések, de a próbabábu feje nem hatolhat át az üvegen;
3.4.1.3. nagyobb üvegdarabok nem válhatnak le a közbenső rétegről.
3.4.2. A fejformával végzett ütközéses vizsgálat szempontjából az alkatrész-típusjóváhagyási vizsgálatra benyújtott vizsgálati darabok sorozata akkor tekinthető megfelelőnek, ha az alábbi két feltétel valamelyike teljesül:
3.4.2.1. minden vizsgálat eredménye kielégítő; vagy
3.4.2.2. nem megfelelő eredményű vizsgálat esetén, az új vizsgálati darabokon elvégzett további vizsgálatok kielégítő eredményeket adnak.
4. MECHANIKAI SZILÁRDSÁG VIZSGÁLATA - 227 G TÖMEGŰ GOLYÓVAL VÉGZETT VIZSGÁLAT
4.1. A másodlagos jellemzők nehézségi foka
A másodlagos jellemzők figyelmen kívül maradnak.
4.2. A vizsgálati darabok száma
A vizsgálatot négy darab sík, négyzet alakú 300 mm (+10/-0 mm) oldalhosszúságú vizsgálati darabon kell elvégezni.
4.3. Vizsgálati módszer
4.3.1. Az alkalmazandó módszert a III. C. melléklet 2.1. pontjának előírásai adják meg.
4.3.2. Az ejtési magasságot (a golyó alsó pontjától a vizsgálati darab felső felületéig) az alábbi táblázat tartalmazza a névleges vastagság függvényében:
| Névleges vastagság | Ejtési magasság | |
| e ≤ 5,5 mm | 5 m | + 25 mm/– 0 mm | 
| 5,5 mm ≤ e ≤ 6,5 mm | 6 m | |
| 6,5 mm ≤ e | 7 m | |
4.4. Az eredmények kiértékelése
4.4.1. A vizsgálat eredménye kielégítőnek minősül, ha teljesülnek az alábbi feltételek:
- a golyó nem hatol át a vizsgálati darabon,
- a vizsgálati darab nem törik darabokra,
- az ütközés pontjával szemközti oldalon esetlegesen leváló szilánkok teljes tömege nem haladja meg a 15 g-ot.
4.4.2. A mechanikai szilárdság szempontjából az alkatrész-típusjóváhagyási vizsgálatra benyújtott vizsgálati darabok akkor tekinthetők megfelelőnek, ha az alábbi feltételek valamelyike teljesül:
4.4.2.1. valamennyi vizsgálat kielégítő eredményű; vagy
4.4.2.2. legfeljebb két vizsgálat nem kielégítő eredményű, azonban egy új mintasorozaton elvégzett ismételt vizsgálat kielégítő eredményt ad.
5. A KÖRNYEZETTEL SZEMBENI ELLENÁLLÓSÁG VIZSGÁLATA
5.1. Kopásállóság vizsgálata
5.1.1. Nehézségi fok és vizsgálati módszer
A III. C. melléklet 4. pontjában leírt követelményeket kell alkalmazni, a vizsgálatot 1 000 forgási cikluson át kell végezni.
5.1.2. Az eredmények kiértékelése
A biztonsági üvegtábla a kopásállóság szempontjából akkor tekinthető megfelelőnek, ha a kopás következtében bekövetkező fényszórás a vizsgálati darabon nem haladja meg a 2 %-ot.
5.2. Magas hőmérséklettel szembeni ellenállás vizsgálata
A III. C. melléklet 5. pontjában leírt követelményeket kell alkalmazni.
5.3. Sugárzásállóság vizsgálata
5.3.1. Általános követelmények
E vizsgálatot csak akkor kell elvégezni, ha a laboratórium azt a közbenső réteggel kapcsolatban birtokában lévő információk alapján hasznosnak ítéli.
5.3.2. A III. C. melléklet 6. pontjában leírt követelményeket kell alkalmazni.
5.4. Nedvességállóság vizsgálata
5.4.1. A III. C. melléklet 7. pontjában leírt követelményeket kell alkalmazni.
6. OPTIKAI TULAJDONSÁGOK
6.1. Fényáteresztő képesség
A nem szélvédők céljára szolgáló üvegtáblákra, illetve a járművezető kilátása szempontjából lényeges helyeken lévő üvegtábla részekre a III. C. melléklet 9.1. pontjában leírt rendes fényáteresztési követelmények érvényesek.
III. H. MELLÉKLET
Kezelt, rétegelt üvegből készült szélvédők
1. TÍPUSMEGHATÁROZÁS
A kezelt, rétegelt üvegből készült szélvédőket akkor kell különböző típusokhoz tartozónak tekinteni, ha az alábbi fő vagy másodlagos jellemzők közül legalább az egyikben különböznek.
1.1. A fő jellemzők a következők:
1.1.1. kereskedelmi név vagy márkajel;
1.1.2. alak és méretek.
A kezelt, rétegelt üvegből készült szélvédőket egy csoportba tartozónak kell tekinteni a szilánkosodásra, a mechanikai tulajdonságokra és a környezettel szembeni ellenállóságra vonatkozó vizsgálatok szempontjából:
1.1.3. az üvegrétegek száma;
1.1.4. a szélvédő "e" névleges vastagsága, ahol 0,2 n mm (n az üvegrétegek száma a szélvédőben) gyártási tűrés megengedett a névleges vastagság fölött vagy alatt;
1.1.5. bármely különleges (elő)kezelés, amelynek a szélvédő egy vagy több üvegrétegét alávetették;
1.1.6. a közbenső réteg vagy rétegek névleges vastagsága;
1.1.7. a közbenső réteg vagy rétegek fajtája és típusa (pl. PVB vagy más műanyag közbenső réteg vagy rétegek).
1.2. A másodlagos jellemzők a következők:
1.2.1. az anyag fajtája (csiszolt táblaüveg, úsztatott üveg, síküveg);
1.2.2. a közbenső réteg vagy rétegek színezése (színtelen vagy teljesen, illetve részlegesen színezett);
1.2.3. az üveg színezése (színtelen vagy színezett);
1.2.4. beépített vezetékek megléte vagy hiánya;
1.2.5. beépített sötétítősávok megléte vagy hiánya.
2. ÁLTALÁNOS KÖVETELMÉNYEK
2.1. A kezelt, rétegelt üvegből készült szélvédők esetében - a teljes szélvédőn végzett fejformával történő ütközéses vizsgálat és az optikai tulajdonságok vizsgálata kivételével - a vizsgálatokat mintákon és/vagy külön e célra készített lapos vizsgálati darabokon kell végezni. A vizsgálati daraboknak azonban minden szempontból szigorúan meg kell felelniük azon üvegtábláknak, amelyek gyártásához az alkatrész-típusjóváhagyást kérik.
2.2. Az egyes vizsgálatok elvégzése előtt a mintákat vagy vizsgálati darabokat legalább 4 órán át 23 °C ±2 °C hőmérsékleten kell tartani. A vizsgálati darabokon vagy mintákon a vizsgálatokat ezeknek a tárolóból való kivételét követő lehető legrövidebb időn belül el kell végezni.
3. ELŐÍRT VIZSGÁLATOK
A kezelt, rétegelt üvegből készült szélvédőkön az alábbi vizsgálatokat kell elvégezni:
3.1. a III. F. mellékletben a közönséges rétegelt szélvédőkre vonatkozóan előírt vizsgálatok;
3.2. az alábbi 4. pontban leírt szilánkosodási vizsgálat.
4. SZILÁNKOSODÁSI VIZSGÁLAT
4.1. A másodlagos jellemzők nehézségi foka
| Anyag | Nehézségi fok | 
| táblaüveg | 2 | 
| úsztatott üveg | 1 | 
| síküveg | 1 | 
4.2. A minták vagy vizsgálati darabok száma
A vizsgálathoz egy 1 100 × 500 mm (+5/-2 mm) méretű vizsgálati darabot vagy ütközési pontonként egy-egy külön mintát kell használni.
4.3. Vizsgálati módszer
A III. C. melléklet 1. pontjában leírt módszert kell alkalmazni.
4.4. Ütközési pont vagy pontok
Az üvegtábla minden külső kezelt rétegén, a minta vagy a vizsgálati darab középpontján kell kijelölni az ütközési pontot.
4.5. Az eredmények kiértékelése
4.5.1. A szilánkosodási vizsgálatot akkor kell kielégítő eredményűnek tekinteni az egyes ütközési pontokon, ha a 2 cm2-nél nagyobb szilánkok összfelülete a III. D. melléklet 2.3.2. pontjában meghatározott négyszög felületének legalább 15 %-át kiteszi.
4.5.1.1. Minta esetében:
4.5.1.1.1. a négyszög középpontja egy olyan 10 cm sugarú körben van, amelynek a középpontja a 2008/2/EK irányelv I. mellékletének 1.2. pontja szerint meghatározott vonatkoztatási pont vetületén található.
4.5.1.1.2. Olyan traktorok esetében, amelyeken nem határozható meg a vonatkoztatási pont, a kilátási mező helyzetét jelezni kell a vizsgálati jegyzőkönyvben.
4.5.1.1.3. A négyszög magassága 15 cm-re csökkenthető olyan szélvédők esetében, amelyek magassága nem éri el a 44 cm-t, vagy amelyek beépítési szöge a függőlegeshez viszonyítva kisebb, mint 15°; a kilátási arány pedig a megfelelő négyszög területének legalább 10 %-a.
4.5.1.2. Vizsgálati darabok esetében a négyszög középpontjának a vizsgálati darab hosszabbik tengelyén kell lennie, 450 mm-re valamelyik szélétől.
4.5.2. Az alkatrész-típusjóváhagyásra benyújtott mintákat vagy vizsgálati darabokat a szilánkosodás szempontjából megfelelőnek kell tekinteni, ha az alábbi feltételek valamelyike teljesül:
4.5.2.1. a vizsgálat minden ütközési pontra kielégítő eredményt ad; vagy
4.5.2.2. egy négy vizsgálati darabból álló új sorozaton elvégzett ismételt vizsgálat - azon ütközési pontok mindegyikére, amelyek korábban nem megfelelő eredményt adtak - a négy vizsgálat mindegyikére kielégítő eredményt ad.
III. I. MELLÉKLET
Belső oldalukon műanyaggal bevont biztonsági üvegtáblák
1. A III. D.- III. H. Mellékletben meghatározott biztonsági üvegek anyagainak, ha belső oldalukon műanyag bevonat van, nemcsak a megfelelő mellékletekben leírt előírásoknak kell megfelelniük, hanem az alábbi követelményeknek is:
2. KOPÁSÁLLÓSÁG VIZSGÁLATA
2.1. Nehézségi fok és vizsgálati módszer
A műanyag bevonatot 100 forgási cikluson át kell vizsgálni a III. C. melléklet 4. pontjában írt követelményekkel összhangban.
2.2. Az eredmények kiértékelése
A műanyag bevonatot a kopásállóság tekintetében kielégítőnek kell tekinteni, ha a koptatás következtében a vizsgálati darab fényszórása nem haladja meg a 4 %-ot.
3. NEDVESSÉGÁLLÓSÁG VIZSGÁLATA
3.1. Műanyag bevonatú, edzett biztonsági üvegek esetében a nedvességállósági vizsgálatot is el kell végezni.
3.2. A III. C. melléklet 7. pontja szerinti követelményeket kell alkalmazni.
4. HŐMÉRSÉKLET-VÁLTOZÁSSAL SZEMBENI ELLENÁLLÁS VIZSGÁLATA A III. C. melléklet 8. pontja szerinti követelményeket kell alkalmazni.
5. TŰZÁLLÓSÁGI VIZSGÁLAT A III. C. melléklet 10. pontja szerinti követelményeket kell alkalmazni.
6. VEGYI ANYAGOKKAL SZEMBENI ELLENÁLLÁS A III. C. melléklet 11. pontja szerinti követelményeket kell alkalmazni.
III. J. MELLÉKLET
Üveg-műanyag szélvédők
1. TÍPUSMEGHATÁROZÁS
Az üveg-műanyag szélvédőket különböző típusúnak kell tekinteni, ha az alábbi fő vagy másodlagos jellemzők közül legalább egyben különböznek.
1.1. A fő jellemzők a következők:
1.1.1. kereskedelmi név vagy márkajel;
1.1.2. alak és méretek.
Az üveg-műanyag szélvédőket a mechanikai szilárdság, a környezeti hatásokkal szembeni ellenállás, a hőmérséklet-változásokkal szembeni ellenállás és a vegyi anyagokkal szembeni ellenállás vizsgálata szempontjából egy csoportba tartozónak kell tekinteni;
1.1.3. a műanyag rétegek száma;
1.1.4. a szélvédő "e" névleges vastagsága; ± 0,2 mm gyártási tűrés megengedett;
1.1.5. az üvegréteg névleges vastagsága;
1.1.6. a közbenső rétegként szereplő műanyag réteg(ek) névleges vastagsága;
1.1.7. a közbenső rétegként szereplő műanyag réteg(ek) fajtája és típusa (pl. PVB vagy más anyag) és a belső felületen lévő műanyag réteg fajtája és típusa.
1.1.8. Bármely különleges eljárás, amellyel az üvegtáblát esetleg kezelték.
1.2. A másodlagos jellemzők a következők:
1.2.1. az anyag fajtája (táblaüveg, úsztatott üveg, síküveg);
1.2.2. a műanyag rétegek színezése (színtelen vagy teljesen, illetve részlegesen színezett);
1.2.3. az üveg színezése (színtelen vagy színezett);
1.2.4. beépített vezetékek megléte vagy hiánya;
1.2.5. beépített sötétítősávok megléte vagy hiánya.
2. ÁLTALÁNOS KÖVETELMÉNYEK
2.1. A fejformával végzett ütközéses vizsgálat (3.2. pont) és az optikai tulajdonságok vizsgálatának kivételével az üveg-műanyag szélvédők esetében a vizsgálatokat vagy valódi szélvédőből kivágott, vagy külön e célra gyártott lapos vizsgálati darabokon kell elvégezni. A vizsgálati daraboknak mindkét esetben, minden tekintetben szigorúan meg kell egyezniük azon sorozatban gyártott szélvédőkkel, amelyek gyártásához az alkatrész-típusjóváhagyást kérik.
2.2. Az egyes vizsgálatok elvégzése előtt a vizsgálati darabokat legalább 4 órán át 23 °C ±2 °C hőmérsékleten kell tartani. A vizsgálatokat a vizsgálati daraboknak a tárolóból való kivételét követően a lehető legrövidebb időn belül el kell végezni.
3. ÜTKÖZÉSES VIZSGÁLAT FEJFORMÁVAL
3.1. A másodlagos jellemzők nehézségi foka
A másodlagos jellemzők figyelmen kívül maradnak.
3.2. Fejformával végzett ütközéses vizsgálat teljes szélvédőn
3.2.1. A minták száma
A legkisebb és a legnagyobb kiterített felületű sorozatból a III. M. melléklet előírásaival összhangban kiválasztott 4-4 mintán kell a vizsgálatokat elvégezni.
3.2.2. Vizsgálati módszer
3.2.2.1. Az alkalmazandó módszert a III. C. melléklet 3.3.2. pontjának előírásai adják meg.
3.2.2.2. Az ejtési magasság 1,50 m +0/-5 mm.
3.2.3. Az eredmények kiértékelése
3.2.3.1. A vizsgálat eredményét kielégítőnek kell tekinteni, ha az alábbi feltételek teljesülnek:
3.2.3.1.1. az üvegréteg eltörik, és rajta számos, kör alakú repedés látható, amelyek középpontja megközelítőleg azonos az ütközési ponttal; az ütközési ponthoz legközelebbi repedések nincsenek attól 80 mm-nél nagyobb távolságra;
3.2.3.1.2. az üvegréteg továbbra is a közbenső műanyag réteghez tapad. A közbenső rétegről való egy vagy több részleges, legfeljebb 4 mm szélességű leválás megengedhető a repedés mindkét oldalán, ha ezek az ütközési ponttól számított 60 mm átmérőjű körön kívül helyezkednek el;
3.2.3.1.3. a közbenső rétegben egy, legfeljebb 35 mm hosszúságú szakadás megengedhető az ütközés felőli oldalon.
3.2.3.2. A fejformával végzett ütközéses vizsgálat szempontjából az alkatrész-típusjóváhagyásra benyújtott vizsgálatidarab-sorozat akkor tekinthető megfelelőnek, ha az alábbi két feltétel valamelyike teljesül:
3.2.3.2.1. valamennyi vizsgálat kielégítő eredményt ad; vagy
3.2.3.2.2. nem kielégítő eredményt adó vizsgálat esetében egy új vizsgálatidarab-sorozaton ismételten elvégzett vizsgálatok kielégítő eredményeket adnak.
3.3. Fejformával végzett ütközéses vizsgálat lapos vizsgálati darabokon
3.3.1. A vizsgálati darabok száma
Hat darab, 1 100 × 500 mm (+5/-2 mm) méretű, lapos vizsgálati darabot kell vizsgálni.
3.3.2. Vizsgálati módszer
3.3.2.1. A III. C. melléklet 3.3.1. pontjában leírt módszert kell alkalmazni.
3.3.2.2. Az ejtési magasság 4 m +25/-0 mm.
3.3.3. Az eredmények kiértékelése
3.3.3.1. A vizsgálat eredményét kielégítőnek kell tekinteni, ha az alábbi feltételek teljesülnek:
3.3.3.1.1. az üvegréteg enged és eltörik, valamint rajta több, kör alakú repedés látható, amelyek középpontja megközelítőleg egybeesik az ütközési ponttal;
3.3.3.1.2. a közbenső rétegben szakadások megengedhetők, de a próbabábu feje nem hatolhat át az üvegen;
3.3.3.1.3. a közbenső rétegről nem válik le nagyobb üvegszilánk.
3.3.3.2. A fejformával végzett ütközéses vizsgálat szempontjából az alkatrész-típusjóváhagyás céljából benyújtott vizsgálatidarab-sorozat akkor tekinthető megfelelőnek, ha az alábbi két feltétel valamelyike teljesül:
3.3.3.2.1. valamennyi vizsgálat kielégítő eredménnyel jár; vagy
3.3.3.2.2. nem kielégítő eredményt adó vizsgálat esetében egy új vizsgálatidarab-sorozaton ismételten elvégzett vizsgálatok kielégítő eredményeket adnak.
4. MECHANIKAI SZILÁRDSÁG VIZSGÁLATA
4.1. Nehézségi fok, vizsgálati módszer és az eredmények kiértékelése
A III. F. melléklet 4. pontjában leírt követelményeket kell alkalmazni.
4.2. Azonban a III. F. melléklet 4.3.4.1. pontjában megfogalmazott követelményt nem kell alkalmazni.
5. KÖRNYEZETI HATÁSOKKAL SZEMBENI ELLENÁLLÓSÁG VIZSGÁLATA
5.1. Kopásállóság vizsgálata
5.1.1. A külső felület kopásállóságának vizsgálata
5.1.1.1. A III. F. melléklet 5.1. pontjában leírt követelményeket kell alkalmazni.
5.1.2. A belső felület kopásállóságának vizsgálata
5.1.2.1. A III. I. melléklet 2. pontjában leírt követelményeket kell alkalmazni.
5.2. Magas hőmérséklettel szembeni ellenállás vizsgálata
A III. C. melléklet 5. pontjában leírt követelményeket kell alkalmazni.
5.3. Sugárzásállóság vizsgálata
A III. C. melléklet 6. pontjában leírt követelményeket kell alkalmazni.
5.4. Nedvességállóság vizsgálata
A III. C. melléklet 7. pontjában leírt követelményeket kell alkalmazni.
5.5. Hőmérséklet-változásokkal szembeni ellenállás vizsgálata
A III. C. melléklet 8. pontjában leírt követelményeket kell alkalmazni.
6. OPTIKAI TULAJDONSÁGOK
Minden szélvédőtípusra a III. C. melléklet 9. pontjában megadott, az optikai tulajdonságokra vonatkozó követelmények érvényesek.
7. TŰZÁLLÓSÁG VIZSGÁLATA
A III. C. melléklet 10. pontjában leírt követelményeket kell alkalmazni.
8. VEGYI ANYAGOKKAL SZEMBENI ELLENÁLLÁS VIZSGÁLATA
A III. C. melléklet 11. pontjában leírt követelményeket kell alkalmazni.
III. K. MELLÉKLET
Nem szélvédők céljára szolgáló üveg-műanyag táblák ( 32 )
1. TÍPUSMEGHATÁROZÁS
A nem szélvédők céljára szolgáló üveg-műanyag táblákat különböző típusúnak kell tekinteni, ha az alábbi fő vagy másodlagos jellemzők közül legalább az egyikben különböznek.
1.1. A fő jellemzők a következők:
1.1.1. kereskedelmi név vagy márkajel;
1.1.2. a névleges vastagságra "e" alkalmazható vastagság kategória, ± 0,2 mm gyártási tűrés megengedett:
| — I. kategória: | e ≤ 3,5 mm | 
| — II. kategória: | 3,5 mm < e ≤ 4,5 mm | 
| — III. kategória: | 4,5 mm < e | 
1.1.3. közbenső réteg(ek) ként szereplő műanyag réteg(ek) névleges vastagsága;
1.1.4. az üvegtábla névleges vastagsága;
1.1.5. közbenső réteg(ek) ként szereplő műanyag réteg(ek) típusa (pl. PVB vagy más anyag) és a belső felületen levő műanyag réteg típusa.
1.1.6. Bármely különleges kezelés, amelynek az üvegréteget esetleg alávetették.
1.2. A másodlagos jellemzők a következők:
1.2.1. az anyag fajtája (táblaüveg, úsztatott üveg, síküveg);
1.2.2. a műanyag réteg(ek) színezése (színtelen vagy teljesen, illetve részlegesen színezett);
1.2.3. az üveg színezése (színtelen vagy színezett).
2. ÁLTALÁNOS KÖVETELMÉNYEK
2.1. Nem szélvédők céljára szolgáló üveg-műanyag táblák esetében a vizsgálatokat lapos vizsgálati darabokon kell elvégezni, amelyeket vagy normál üvegtáblából vágnak ki, vagy külön e célra készítenek. A vizsgálati daraboknak mindkét esetben, minden tekintetben szigorúan meg kell egyezniük azon üveg-műanyag táblákkal, amelyek gyártásához az alkatrész-típusjóváhagyást kérik.
2.2. Az egyes vizsgálatok elvégzése előtt az üveg-műanyag táblák vizsgálati darabjait legalább négy órán át 23 °C ±2 °C hőmérsékleten kell tartani. A vizsgálatokat a vizsgálati darabok tárolóból való kivételét követően a lehető legrövidebb időn belül el kell végezni.
2.3. E melléklet előírásait teljesítettnek kell tekinteni, ha az alkatrész-típusjóváhagyásra benyújtott üvegtábla összetétele megegyezik a III. J. melléklet előírásai alapján már jóváhagyott szélvédő összetételével.
3. ÜTKÖZÉSES VIZSGÁLAT FEJFORMÁVAL
3.1. A másodlagos jellemzők nehézségi foka
A másodlagos jellemzők figyelmen kívül maradnak.
3.2. A vizsgálati darabok száma
A vizsgálatot hat darab sík, 1 100 × 500 mm (+5/-2 mm) méretű vizsgálati darabon kell elvégezni.
3.3. Vizsgálati módszer
3.3.1. A III. C. melléklet 3. pontjában leírt módszert kell alkalmazni.
3.3.2. Az ejtési magasság 1,50 m +0/-5 mm. (E magasságot traktor szélvédőjeként használt üvegtáblák esetében 4 m-re (+25/-0 mm) kell növelni.)
3.4. Az eredmények kiértékelése
3.4.1. A vizsgálat eredményét kielégítőnek kell tekinteni, ha az alábbi feltételek teljesülnek:
3.4.1.1. az üvegréteg eltörik, és rajta számos repedés látható;
3.4.1.2. a közbenső rétegben felléphetnek szakadások, de a próbabábu feje nem hatolhat át a vizsgálati darabon;
3.4.1.3. a közbenső rétegről nem válhat le nagyobb üvegdarab.
3.4.2. A fejformával végzett ütközéses vizsgálat szempontjából az alkatrész-típusjóváhagyási vizsgálatra benyújtott valamely vizsgálatidarab-sorozat akkor tekinthető megfelelőnek, ha az alábbi két feltétel valamelyike teljesül:
3.4.2.1. valamennyi vizsgálat kielégítő eredményt ad; vagy
3.4.2.2. nem kielégítő eredménnyel járó vizsgálat esetében egy új vizsgálatidarab-sorozaton ismételten elvégzett vizsgálatok kielégítő eredményeket adnak.
4. MECHANIKAI SZILÁRDSÁG VIZSGÁLATA - VIZSGÁLAT 227 G TÖMEGŰ GOLYÓVAL
4.1. A III. G. melléklet 4. pontjában leírt követelményeket kell alkalmazni, a 4.3.2. pontban szereplő táblázat kivételével, amelynek helyére az alábbi táblázat kerül:
| Névleges vastagság | Ejtési magasság | |
| e ≤ 3,5 mm | 5 m | + 25/– 0 mm | 
| 3,5 mm < e ≤ 4,5 mm | 6 m | |
| e > 4,5 mm | 7 m | |
4.2. Azonban a III. G. melléklet 4.4.1. pontjának harmadik bekezdését nem kell alkalmazni.
5. KÖRNYEZETI HATÁSOKKAL SZEMBENI ELLENÁLLÁS VIZSGÁLATA
5.1. Kopásállóság vizsgálata
5.1.1. A külső felület kopásállóságának vizsgálata
A III. G. melléklet 5.1. pontjának követelményeit kell alkalmazni.
5.1.2. A belső felület kopásállóságának vizsgálata
A III. I. melléklet 2.1. pontjának követelményeit kell alkalmazni.
5.2. Magas hőmérséklettel szembeni ellenállás vizsgálata
A III. C. melléklet 5. pontjának követelményeit kell alkalmazni.
5.3. Sugárzásállóság vizsgálata
A III. C. melléklet 6. pontjának követelményeit kell alkalmazni.
5.4. Nedvességállóság vizsgálata
A III. C. melléklet 7. pontjának követelményeit kell alkalmazni.
5.5. Hőmérséklet-változásokkal szembeni ellenállás vizsgálata
A III. C. melléklet 8. pontjának követelményeit kell alkalmazni.
6. OPTIKAI TULAJDONSÁGOK
Az üvegtáblákra vagy a járművezető kilátása szempontjából alapvető fontosságú helyeken lévő üvegtáblarészekre a III. C. melléklet 9.1. pontjának fényáteresztési követelményeit kell alkalmazni.
7. TŰZÁLLÓSÁGI VIZSGÁLAT
A III. C. melléklet 10. pontjának követelményeit kell alkalmazni.
8. VEGYI ANYAGOKKAL SZEMBENI ELLENÁLLÁS
A III. C. melléklet 11. pontjának követelményeit kell alkalmazni.
III. L. MELLÉKLET
Kettős üvegezésű egységek
1. TÍPUSMEGHATÁROZÁS
A kettős üvegezésű egységeket különböző típusúnak kell tekinteni, ha az alábbi fő vagy másodlagos jellemzők közül legalább az egyikben különböznek.
1.1. A fő jellemzők a következők:
1.1.1. kereskedelmi név vagy márkajel;
1.1.2. a kettős üvegezésű egység felépítése (szimmetrikus vagy aszimmetrikus);
1.1.3. az egyes összetevő üvegtáblák típusa a III. E., III. G. vagy III. K. melléklet 1. pontja szerinti meghatározásban;
1.1.4. a két üvegtábla közötti rés névleges szélessége;
1.1.5. a ragasztás típusa (szerves, üveg-üveg vagy üveg-fém).
1.2. A másodlagos jellemzők a következők:
1.2.1. Az egyes összetevő üvegtáblák másodlagos jellemzői a III. E., III. G. vagy III. K. melléklet 1.2. pontja szerinti meghatározásban.
2. ÁLTALÁNOS KÖVETELMÉNYEK
2.1. A kettős üvegezésű egységet alkotó egyes üvegtábláknak vagy megfelelő típusjóváhagyással kell rendelkezniük, vagy meg kell felelniük a vonatkozó mellékletben (III. E., III. G. vagy III. K.) leírt követelményeknek.
2.2. Az "e" névleges résszélességű, kettős üvegezésű egységeken elvégzett vizsgálatokat minden olyan kettős üvegezésű egységre érvényesnek kell tekinteni, amelynek jellemzői az előbbiekkel megegyeznek, és amelynek névleges résszélessége "e" ± 3 mm. Azonban az alkatrész-típusjóváhagyás kérelmezője a legnagyobb és a legkisebb résszélességű mintát is benyújthatja vizsgálatra.
2.3. Olyan kettős üvegezésű egységek esetében, amelyeknek legalább az egyik táblája rétegelt üveg vagy üveg-műanyag, a vizsgálati darabokat a vizsgálatok elvégzése előtt legalább négy órán át 23 °C ±2 °C hőmérsékleten kell tartani. A vizsgálatokat a vizsgálati darabok tárolóból való kivételét követően a lehető legrövidebb időn belül el kell végezni.
3. ÜTKÖZÉSES VIZSGÁLAT FEJFORMÁVAL
3.1. A másodlagos jellemzők nehézségi foka
A másodlagos jellemzők figyelmen kívül maradnak.
3.2. A mintadarabok száma
A vizsgálatokat az összetevő üvegtáblák minden vastagságkategóriájára, valamint minden egyes résszélességre (lásd 1.1.4. pont) hat-hat mintadarabon kell elvégezni, amelyek mérete 1 100 × 500 mm (+5/-2 mm).
3.3. Vizsgálati módszer
3.3.1. A III. C. melléklet 3. pontjában leírt eljárást kell alkalmazni.
3.3.2. Az ejtési magasság 1,5 m (+0/-5 mm).
3.3.3. Az aszimmetrikus összetételű kettős üvegezés esetében mindkét oldalon három vizsgálatot kell végezni.
3.4. Az eredmények kiértékelése
3.4.1. Két egyenletesen edzett üvegtáblából álló kettős üvegezés:
a vizsgálat akkor tekinthető megfelelőnek, ha mindkét összetevő eltörik.
3.4.2. Nem szélvédő céljára szolgáló két rétegelt üvegtáblából álló kettős üvegezés:
a vizsgálat akkor tekinthető megfelelőnek, ha az alábbi követelmények teljesülnek:
3.4.2.1. a vizsgálati darab mindkét összetevője enged és eltörik, továbbá rajtuk kör alakú repedések láthatók, amelyek középpontja megközelítőleg egybeesik az ütközési ponttal;
3.4.2.2. a közbenső rétegben lehetnek szakadások, de a próbabábu feje nem hatolhat át a vizsgálati darabon;
3.4.2.3. a közbenső rétegről nem válhatnak le nagyobb üvegszilánkok.
3.4.3. Nem szélvédő céljára szolgáló, egy egyenletesen edzett üvegtáblából és egy rétegelt üveg vagy üveg-műanyag táblából álló kettős üvegezés.
A vizsgálat akkor tekinthető megfelelőnek, ha az alábbi követelmények teljesülnek:
3.4.3.1. az edzett üvegtábla eltörik;
3.4.3.2. a rétegelt üveg vagy üveg-műanyag tábla enged és eltörik, továbbá repedések láthatók rajta, amelyek középpontja megközelítőleg egybeesik az ütközési ponttal;
3.4.3.3. a közbenső réteg(ek)ben lehetnek szakadások, de a próbabábu feje nem hatolhat át a vizsgálati darabon;
3.4.3.4. a közbenső rétegről nem válhat le nagyobb üvegszilánk.
3.4.4. Az alkatrész-típusjóváhagyási vizsgálatra benyújtott valamely vizsgálatidarab-sorozat akkor tekinthető megfelelőnek a fejformával végzett ütközéses vizsgálat szempontjából, ha az alábbi két feltétel valamelyike teljesül:
3.4.4.1. valamennyi vizsgálat kielégítő eredményt ad; vagy
3.4.4.2. nem kielégítő eredménnyel járó vizsgálat esetében egy újabb vizsgálatidarab-sorozaton ismételten elvégzett vizsgálatok kielégítő eredményeket adnak.
4. OPTIKAI TULAJDONSÁGOK
A kettős üvegezésű egységekre, vagy a járművezető kilátása szempontjából alapvető helyeken levő, kettős üvegezésű részekre a III. C. melléklet 9.1. pontjában leírt rendes fényáteresztő képességi követelményeket kell alkalmazni.
III. M. MELLÉKLET
Szélvédők csoportosítása alkatrész-típusjóváhagyási vizsgálathoz
1. A következő tulajdonságokat kell figyelembe venni:
1.1. szélvédő kiterített felülete;
1.2. szegmensmagasság;
1.3. görbület.
2. Egy vastagsági osztály egy csoportot képez.
3. Az osztályozást a kiterített felület nagysága szerint emelkedő sorrendben kell elvégezni. Ki kell választani az öt legnagyobb és az öt legkisebb kiterített felületet, és azokat a következőképpen kell számozni:
| 1. | a legnagyobb felületű | 1. | a legkisebb felületű | 
| 2. | az 1.-nél közvetlenül kisebb | 2. | az 1.-nél közvetlenül nagyobb | 
| 3. | a 2.-nál közvetlenül kisebb | 3. | a 2.-nál közvetlenül nagyobb | 
| 4. | a 3.-nál közvetlenül kisebb | 4. | a 3.-nál közvetlenül nagyobb | 
| 5. | a 4.-nél közvetlenül kisebb | 5. | a 4.-nél közvetlenül nagyobb | 
4. A 3. pont szerinti mindkét sorozatban a szegmensmagasság jelölése a következő:
| 1. | a legnagyobb szegmensmagasság, | 
| 2. | a közvetlenül kisebb szegmensmagasság, | 
| 3. | az előző értéknél közvetlenül kisebb szegmensmagasság stb. | 
5. A 3. pont szerinti mindkét sorozatban a görbületi sugár jelölése a következő:
| 1. | a legkisebb görbületi sugár, | 
| 2. | a közvetlenül nagyobb görbületi sugár, | 
| 3. | az előző értéknél közvetlenül nagyobb görbületi sugár stb. | 
6. A 3. pont szerinti két sorozatban az egyes szélvédőkre adott számokat össze kell adni.
6.1. A III. D., III. F., III. H., III. I. vagy III. J. melléklet szerinti teljes vizsgálat céljára ki kell választani az öt legnagyobb és az öt legkisebb szélvédő közül azt, amelyiknél ezen összeg a legkisebb.
6.2. Az ugyanazon sorozatba tartozó többi szélvédőt csak a III. C. melléklet 9. pontja szerinti optikai tulajdonságok ellenőrzése céljából kell megvizsgálni.
7. Néhány olyan szélvédőn is elvégezhetők a vizsgálatok, amelyek alak és/vagy görbületi sugár tekintetében jelentősen különböznek a kiválasztott csoport szélső elemeitől, amennyiben a vizsgálatokat végző műszaki szolgálat véleménye szerint valószínű, hogy a kérdéses paraméterek jelentős mértékben kedvezőtlen hatásúak.
8. A csoport határértékeit a szélvédő kiterített felületének nagysága határozza meg. Ha valamely alkatrész-típusjóváhagyásra benyújtott szélvédőnek ezen jóváhagyott határokon kívül eső nagyságú kiterített területe van és/vagy jelentősen nagyobb a szegmensmagassága és/vagy jelentősen kisebb a görbületi sugara, úgy e szélvédőt új típusúnak kell tekinteni, és további vizsgálatoknak kell alávetni, amennyiben a műszaki szolgálat a már birtokában lévő, a termékkel és a felhasznált anyagokkal kapcsolatos információk figyelembevételével úgy ítéli meg, hogy az ilyen vizsgálatok műszakilag szükségesek.
9. Ha a későbbiekben az alkatrész-típusjóváhagyás birtokosa egy, már jóváhagyott vastagsági kategóriában bármilyen más típusú szélvédőt szándékozik gyártani:
9.1. úgy meg kell győződnie arról, hogy az új modell besorolható-e a kérdéses csoportból az alkatrész-típusjóváhagyás céljára kiválasztott öt legnagyobb vagy öt legkisebb üvegtábla közé:
9.2. a számozást a fenti 3., 4., és 5. pontban meghatározott eljárással újra el kell végezni;
9.3. ha az öt legnagyobb vagy öt legkisebb szélvédő közé besorolt új szélvédőnek adott számok összege:
9.3.1. bizonyul a legkisebbnek, úgy a következő vizsgálatokat kell elvégezni:
9.3.1.1. edzett üveg szélvédő:
9.3.1.1.1. szilánkosodás,
9.3.1.1.2. ütközéses vizsgálat fejformával,
9.3.1.1.3. optikai torzítás,
9.3.1.1.4. másodlagos képszétválás,
9.3.1.1.5. fényáteresztés;
9.3.1.2. szélvédő rétegelt üvegből vagy üveg-műanyagból:
9.3.1.2.1. ütközéses vizsgálat fejformával,
9.3.1.2.2. optikai torzítás,
9.3.1.2.3. másodlagos képszétválás,
9.3.1.2.4. fényáteresztés;
9.3.1.3. Szélvédő kezelt rétegelt üvegből: a 9.3.1.1.1., 9.3.1.1.2. és a 9.3.1.2. pontban meghatározott vizsgálatok;
9.3.1.4. Műanyag bevonatú szélvédő: értelemszerűen a 9.3.1.1. vagy a 9.3.1.2. pontban meghatározott vizsgálatok;
9.3.2. ha nem a legkisebbnek bizonyul, úgy csak az optikai tulajdonságokat ellenőrző, a III. C. melléklet 9. pontjában meghatározott vizsgálatokat kell elvégezni.
III. N. MELLÉKLET
A szegmensmagasságok mérése és az ütközési pontok helyzete

1. ábra - A "h" szegmensmagasság meghatározása
Egyszeres görbületű üvegtábla esetében a szegmensmagasság legfeljebb h1 lehet.
Kettős görbületű üvegtábla esetében a szegmensmagasság legfeljebb h1 + h2 lehet.

2. ábra - Előírt ütközési pontok szélvédők esetében

3. (a), (b) és (c) ábra - Előírt ütközési pontok egyenletesen edzett üvegtáblák esetében
A 3.(a), 3.(b) és 3.(c) ábrán feltüntetett "2" pontok példák a III. E. melléklet 2.5. pontjában előírt "2" pontra.
III. O. MELLÉKLET
A gyártásmegfelelőség ellenőrzése
1. MEGHATÁROZÁSOK
E mellékletben:
1.1. "terméktípus": az összes, azonos fő jellemzőkkel rendelkező üvegtábla;
1.2. "vastagsági osztály": az összes olyan üvegtábla, amelyek összetevő részeinek vastagsága a megengedett tűrésen belül van;
1.3. "gyártóegység": egy vagy több üvegtáblatípus gyártására alkalmas, ugyanazon helyen lévő összes gyártólétesítmény; több gyártósort is magában foglalhat;
1.4. "műszak": azon gyártási időtartam, amelyet ugyanazon gyártósor a napi munkaórák alatt teljesít;
1.5. "gyártási sorozat": ugyanazon műszakban, ugyanazon terméktípus gyártásával folyamatosan eltöltött időtartam;
1.6. "Ps": ugyanazon műszakban, ugyanazon terméktípusból gyártott üvegtáblák száma;
1.7. "Pr": az egy gyártási sorozat alatt ugyanazon terméktípusból előállított üvegtáblák száma.
2. VIZSGÁLATOK
Az üvegtáblákon a következő vizsgálatokat kell elvégezni:
2.1. Edzett üveg szélvédők
2.1.1. Szilánkosodási vizsgálat a III. D. melléklet 2. pontjának követelményeivel összhangban.
2.1.2. Fényáteresztés mérése a III. C. melléklet 9.1. pontjának követelményeivel összhangban.
2.1.3. Optikai torzítás vizsgálata a III. C. melléklet 9.2. pontjának követelményeivel összhangban.
2.1.4. Másodlagos képszétválasztás vizsgálata a III. C. melléklet 9.3. pontjának követelményeivel összhangban.
2.2. Egyenletesen edzett üvegtáblák
2.2.1. Szilánkosodási vizsgálat a III. E. melléklet 2. pontjának követelményeivel összhangban.
2.2.2. Fényáteresztés mérése a III. C. melléklet 9.1. pontjának követelményeivel összhangban.
2.2.3. Szélvédőként használt üvegtáblák esetében:
2.2.3.1. Optikai torzítás vizsgálata a III. C. melléklet 9.2. pontjának követelményeivel összhangban.
2.2.3.2. Másodlagos képszétválasztás vizsgálata a III. C. melléklet 9.3. pontjának követelményeivel összhangban.
2.3. Szélvédők közönséges rétegelt üvegből és üveg-műanyagból
2.3.1. Ütközéses vizsgálat fejformával a III. F. melléklet 3. pontjának követelményeivel összhangban.
2.3.2. Vizsgálat 2 260 g tömegű golyóval a III. F. melléklet 4.2. pontjának és a III. C. melléklet 2.2. pontjának követelményeivel összhangban.
2.3.3. Magas hőmérséklettel szembeni ellenállás vizsgálata a III. C. melléklet 5. pontjának követelményeivel összhangban.
2.3.4. Fényáteresztés mérése a III. C. melléklet 9.1. pontjának követelményeivel összhangban.
2.3.5. Optikai torzítás vizsgálata a III. C. melléklet 9.2. pontjának követelményeivel összhangban.
2.3.6. Másodlagos képszétválás vizsgálata a III. C. melléklet 9.3. pontjának követelményeivel összhangban.
2.3.7. Csak üveg-műanyag szélvédők esetében:
2.3.7.1. Kopásállóság vizsgálata a III. I. melléklet 2.1. pontjának követelményeivel összhangban.
2.3.7.2. Nedvességállóság vizsgálata a III. I. melléklet 3. pontjának követelményeivel összhangban.
2.3.7.3. Vegyi anyagokkal szembeni ellenállás vizsgálata a III. C. melléklet 11. pontjának követelményeivel összhangban.
2.4. Nem szélvédők céljára szolgáló közönséges, rétegelt üveg- és üveg-műanyag táblák
2.4.1. Ütközésvizsgálat 227 g tömegű golyóval a III. G. melléklet 4. pontjának követelményeivel összhangban.
2.4.2. Magas hőmérséklettel szembeni ellenállás vizsgálata a III. C. melléklet 5. pontjának követelményeivel összhangban.
2.4.3. Fényáteresztés mérése a III. C. melléklet 9.1. pontjának követelményeivel összhangban.
2.4.4. Csak üveg-műanyag táblák esetén:
2.4.4.1. Kopásállósági vizsgálat a III. I. melléklet 2.1. pontjának követelményeivel összhangban.
2.4.4.2. Nedvességállóság vizsgálata a III. I. melléklet 3. pontjának követelményeivel összhangban.
2.4.4.3. Vegyi anyagokkal szembeni ellenállás vizsgálata a III. C. melléklet 11. pontjának követelményeivel összhangban.
2.4.5. A fenti követelmények teljesítettnek tekinthetők, amennyiben a megfelelő vizsgálatokat egy ugyanolyan összetételű szélvédőn már elvégezték.
2.5. Szélvédők kezelt rétegelt üvegből
2.5.1. A 2.3. pont szerinti vizsgálatokon túl szilánkosodási vizsgálatot is kell végezni a III. H. melléklet 4. pontjának követelményeivel összhangban.
2.6. Műanyag bevonatú üvegtáblák
Az e melléklet különböző pontjaiban előírt vizsgálatokon túl az alábbi vizsgálatokat is el kell végezni:
2.6.1. Kopásállóság vizsgálata a III. I. melléklet 2.1. pontjának követelményeivel összhangban.
2.6.2. Nedvességállóság vizsgálata a III. I. melléklet 3. pontjának követelményeivel összhangban.
2.6.3. Vegyi anyagokkal szembeni ellenállás vizsgálata a III. C. melléklet 11. pontjának követelményeivel összhangban.
2.7. Kettős üvegezésű egységek
Változatlan gyakorisággal és ugyanazon követelményeknek megfelelően azon vizsgálatokat kell elvégezni, amelyeket a kettős üvegezésű egységet alkotó üvegtáblákra e melléklet előír.
3. A VIZSGÁLATOK GYAKORISÁGA ÉS EREDMÉNYE
3.1. Szilánkosodás
3.1.1. Vizsgálatok
3.1.1.1. Az első vizsgálati sorozatot - amely az ezen irányelv szerinti ütközési pontokon való törésből áll - fényképlenyomat útján minden új típusú üvegtábla gyártásának kezdetekor el kell végezni a törésnek leginkább kitett pont megállapítása érdekében.
Edzett üveg szélvédők esetén e vizsgálatsorozatot csak akkor kell elvégezni, ha ezen üvegtáblatípusnak az éves termelési mennyisége meghaladja a 200 egységet.
3.1.1.2. A gyártási sorozat közben az ellenőrző vizsgálatot csak a 3.1.1.1. pont szerinti törési ponton kell elvégezni.
3.1.1.3. Minden gyártási sorozat megkezdésekor, illetve a színezés változtatását követően ellenőrzést kell végezni.
3.1.1.4. A gyártási sorozat alatt az ellenőrző vizsgálatokat legalább az alábbi gyakorisággal kell végezni:
| Edzett üveg szélvédők | Nem szélvédők céljára szolgáló edzett üvegtáblák | Szélvédők kezelt rétegelt üvegből | ||
| Gys ≤ 200: | gyártási sorozatonként egyszer | Gym ≤ 500: | műszakonként egyszer | típusonként 0,1 % | 
| Gys > 200: | 4 gyártási óránként egyszer | Gym > 500: | műszakonként kétszer | |
3.1.1.5. A gyártási sorozat végén egy ellenőrző vizsgálatot kell végezni az utoljára gyártott üvegtáblák egyikén.
3.1.1.6. Ha a gyártott darabszám (Pr) < 20, úgy gyártási sorozatonként csak egy szilánkosodási vizsgálatot kell végezni.
3.1.2. Eredmények
Minden eredményt rögzíteni kell, beleértve azon vizsgálati eredményeket is, amelyekről nem készül fénykép.
Ezenkívül műszakonként egyszer kontaktfényképet kell készíteni, kivéve ha a darabszám (Pr) ≤ 500. Ez utóbbi esetben gyártási sorozatonként csak egy ilyen fényképet kell készíteni.
3.2. Ütközéses vizsgálat fejformával
3.2.1. Vizsgálatok
Az ellenőrzést az egy gyártósoron rétegelt üvegből egy nap alatt gyártott szélvédők legalább 0,5 %-ának megfelelő mennyiségű mintán kell elvégezni. Naponta legfeljebb 15 szélvédőt kell vizsgálni.
A kiválasztott mintáknak reprezentatívaknak kell lenniük a különféle legyártott szélvédőtípusok tekintetében.
Az illetékes hatóság jóváhagyásával e vizsgálatok helyett a 2 260 g tömegű golyóval végzett ütővizsgálat (lásd 3.3. pont) is elvégezhető. A fejformával végzett ütközéses vizsgálatot minden esetben vastagsági osztályonként és évente legalább két szélvédőn el kell végezni.
3.2.2. Eredmények
Minden eredményről feljegyzést kell készíteni.
3.3. 2 260 g tömegű golyóval végzett ütővizsgálat
3.3.1. Vizsgálatok
Az ellenőrzést vastagsági osztályonként legalább havonta egyszer el kell végezni.
3.3.2. Eredmények
Minden eredményről feljegyzést kell készíteni.
3.4. 227 g tömegű golyóval végzett ütővizsgálat
3.4.1. Vizsgálatok
A vizsgálati darabokat mintákból kell kivágni. Gyakorlati megfontolásokból azonban a vizsgálatok késztermékeken vagy azok részein is elvégezhetők.
Az ellenőrzést olyan mennyiségű mintán kell elvégezni, amely az egy műszakra jutó termelés 0,5 %-ának felel meg, legfeljebb azonban napi 10 mintával.
3.4.2. Eredmények
Minden eredményről feljegyzést kell készíteni.
3.5. Magas hőmérséklet mellett végzett vizsgálat
3.5.1. Vizsgálatok
A mintadarabokat mintákból kell kivágni. Gyakorlati megfontolásokból azonban a vizsgálatok késztermékeken vagy azok részein is elvégezhetők. Ez utóbbiakat úgy kell kiválasztani, hogy valamennyi közbenső réteg a használatának megfelelő arányban legyen megvizsgálva.
Az ellenőrzést közbenső rétegszínenként, a napi termelésből vett legalább három mintán kell elvégezni.
3.5.2. Eredmények
Minden eredményről feljegyzést kell készíteni.
3.6. Fényáteresztés
3.6.1. Vizsgálatok
E vizsgálatot a színezett késztermékből vett reprezentatív mintákon kell elvégezni.
A vizsgálatot minden gyártási sorozatnak legalább a kezdetén el kell végezni, ha bármiféle olyan változás van az üvegtábla jellemzőiben, amely befolyásolhatja a vizsgálat eredményeit.
Nem kell vizsgálni azon üvegtáblákat, amelyeknek az alkatrész-típusjóváhagyás során mért rendes fényáteresztése szélvédők esetén legalább 80 %, és nem szélvédők céljára szolgáló üvegtáblák esetén legalább 75 %, valamint amelyek az V. kategóriába tartoznak.
E vizsgálat helyett, edzett üvegtáblák esetében az üveg szállítója benyújthat egy, a fenti követelményekkel való megfelelőséget tanúsító bizonyítványt is.
3.6.2. Eredmények
A fényáteresztés értékét fel kell jegyezni. Emellett árnyékoló- vagy sötétítősávokkal ellátott szélvédőknél azt is ellenőrizni kell a III. A. melléklet 3.2.1.2.2.3. pontja szerinti rajzok alapján, hogy e sávok kívül esnek-e az I' övezeten.
3.7. Optikai torzítás és másodlagos képszétválás
3.7.1. Vizsgálatok
Minden szélvédőt meg kell vizsgálni a látható hibák felderítése érdekében. Emellett a meghatározott módszerekkel vagy bármely más, hasonló eredményeket adó módszerekkel méréseket kell végezni a különböző kilátási területeken legalább az alábbi gyakorisággal:
- a darabszám (Ps) ≤ 200, úgy műszakonként legalább egy mintadarab vételezése szükséges,
- ha a darabszám (Ps) > 200, úgy műszakonként legalább kettő mintadarab vételezése szükséges,
- a teljes termelés 1 %-a, ahol a mintákat úgy kell kiválasztani, hogy jellemezzék a teljes termelést.
3.7.2. Eredmények
Minden eredményről feljegyzést kell készíteni.
3.8. Kopásállóság
3.8.1. Vizsgálatok
E vizsgálatot csak műanyag bevonatú, valamint üveg-műanyag táblákon kell elvégezni. Havonta és bevonó anyag vagy közbenső anyag típusonként legalább egy ellenőrző vizsgálatot kell végezni.
3.8.2. Eredmények
A fényszórási eredményekről feljegyzést kell készíteni.
3.9. Nedvességállóság
3.9.1. Vizsgálatok
E vizsgálatot csak műanyag bevonatú és üveg-műanyag táblákon kell elvégezni. Havonta és bevonó anyag vagy közbenső anyag típusonként legalább egy ellenőrző vizsgálatot kell végezni.
3.9.2. Eredmények
Valamennyi eredményt fel kell jegyezni.
3.10. Vegyi anyagokkal szembeni ellenálló képesség
3.10.1. Vizsgálatok
E vizsgálatot csak műanyag bevonatú és üveg-műanyag táblákon kell elvégezni. Havonta és bevonó anyag vagy közbenső anyag típusonként legalább egy ellenőrző vizsgálatot kell végezni.
3.10.2. Eredmények
Valamennyi eredményt fel kell jegyezni.
III. P. MELLÉKLET
MINTA
A hatóság neve
Melléklet valamely traktortípus EK-típusbizonyítványához a szélvédőre és az egyéb üvegtáblákra vonatkozóan
(mezőgazdasági vagy erdészeti traktorok, azok pótkocsijainak és cserélhető vontatott munkagépeinek, beleértve ezek rendszereit is, továbbá alkatrészeinek és önálló műszaki egységeinek típusjóváhagyásáról szóló, 2003. május 26-i 2003/37/EK európai parlamenti és tanácsi irányelv 4. cikkének (2) bekezdése)
EK-típusjóváhagyás száma: ... Kiterjesztés száma: ...
1. A traktor gyártmánya (gyártójának cégneve):
...
2. A traktor típusa és adott esetben kereskedelmi neve:
...
3. A gyártó neve és címe:
...
4. A gyártó meghatalmazott képviselőjének neve és címe (adott esetben):
...
5. A szélvédő és egyéb üvegezések típusának leírása (edzett, rétegelt, műanyag, üveg-műanyag, sík, ívelt stb.):
...
6. A szélvédő és egyéb üvegtáblák EK-alkatrész-típusjóváhagyási száma:
...
7. A traktor EK-típusjóváhagyásra való átadásának kelte:
...
8. A típus-jóváhagyási vizsgálatot végző műszaki szolgálat:
...
9. E szolgálat által kiállított jegyzőkönyv kelte:
...
10. E szolgálat által kiállított jegyzőkönyv száma:
...
11. Az EK-típusjóváhagyás a szélvédőkre és egyéb üvegtáblákra megadva/elutasítva ( 33 ):
12. Hely: ...
13. Kelt: ...
14. Aláírás: ...
15. A fenti EK-típusjóváhagyás számával ellátott alábbi okmányokat csatolták e bizonyítványhoz:
... méretezett rajzok
... a szélvédő és a traktorfülkén lévő egyéb üvegezések vázlata vagy fényképe.
Ezen adatokat a többi tagállam illetékes hatóságainak kérésükre meg kell küldeni.
16. Megjegyzések:
...
...
...
...
...
IV. MELLÉKLET
Mechanikus kapcsolók a traktor és a vontatmány között, valamint a kapcsolási pontra ható függőleges terhelés
1. MEGHATÁROZÁSOK
1.1. "Mechanikus kapcsoló a traktor és a vontatmány között": olyan alkatrészek, amelyeket a traktorra és a vontatmányra azért szerelnek fel, hogy mechanikus kapcsolatot hozzanak létre a két járműegység között.
Ezen irányelv csak a traktorok mechanikus kapcsolóinak alkatrészeire vonatkozik.
A traktorok mechanikus kapcsolói között a következő alaptípusok különböztethetők meg:
- vonókengyel (lásd az 1. függelék 1. és 2. ábráját),
- elfordulásgátló vonókengyel (lásd az 1. függelék 1d. ábráját),
- vonóhorog (lásd az ISO 6489-1:2001 szabvány "Kapcsolószerkezet méretei" című 1. ábráját),
- traktorvonórúd (lásd az 1. függelék 3. ábráját),
- vonógömb (lásd az 1. függelék 4. ábráját),
- vonócsap (lásd az 1. függelék 5. ábráját).
1.2. "A traktor és a vontatmány közötti mechanikus kapcsolótípus": olyan alkatrészek, amelyek különösen az alábbi szempontok szerint nem különböznek lényegesen egymástól:
1.2.1. a mechanikus kapcsolóelem jellege;
1.2.2. a vonórúdgyűrűk (40 mm és/vagy 50 mm átmérő);
1.2.3. külső alak, méretek vagy működési mód (automatikus vagy nem automatikus);
1.2.4. anyag;
1.2.5. a D értéke, ahogyan azt a 2. függelék meghatározza a dinamikus módszerrel végzett vizsgálathoz, vagy a pótkocsi tömege a 3. függelék szerint a statikus módszerrel végrehajtott vizsgálatokhoz, továbbá a csatlakozási pontra ható S függőleges terhelés.
1.3. "A mechanikus kapcsoló vonatkoztatási középpontja": azon pont a csaptengelyen, amely azonos távolságra van a száraktól (villa esetén), valamint a horog szimmetriasíkja és a horog konkáv részének alkotója közti metszéspont a gyűrűvel való érintkezési síkban, amennyiben a gyűrű vontatási helyzetben van.
1.4. "A mechanikus kapcsoló talaj fölötti magassága (h)": a mechanikus csatlakozó vonatkoztatási középpontján áthaladó vízszintes sík és azon vízszintes sík távolsága, amelyen a traktor kerekei állnak.
1.5. "A mechanikus kapcsoló kinyúlása (c)": a mechanikus kapcsolóelem vonatkoztatási középpontja és az azon tengelyen keresztülhaladó függőleges sík közötti távolság, amelyre a traktor hátsó kerekei vannak szerelve.
1.6. "Függőleges terhelés a kapcsolási ponton (S)": statikus körülmények között a mechanikus kapcsoló vonatkozási középpontjára átvitt terhelés.
1.7. "Automatikus": olyan mechanikus kapcsolóelem, amely a vonószem csúszószerkezetének működésbe hozásakor minden további külső beavatkozás nélkül zárul és biztosítja saját magát.
1.8. "A traktor tengelytávja (l)": a traktor hosszanti középsíkjára merőleges, a traktor tengelyein áthaladó függőleges síkok közötti távolság.
1.9. "A terheletlen traktor első tengelyére jutó tömeg (ma)": a traktor tömegének azon része, amelyet statikus körülmények között a traktor első tengelye visz át a talajra.
2. ÁLTALÁNOS KÖVETELMÉNYEK
2.1. A mechanikus kapcsolóelemek egyaránt tervezhetőek automatikus és nem automatikus működésre.
2.2. A traktoron lévő mechanikus kapcsoló alkatrészeknek meg kell felelniük a méretekre, a szilárdságra és a kapcsolási pontra jutó függőleges terhelésre vonatkozó 3.1.-3.3. pont követelményeinek.
2.3. A mechanikus kapcsoló alkatrészeit oly módon kell megtervezni és legyártani, hogy azok a rendes használat során megfelelően működjenek, és megtartsák az ezen irányelv által előírt jellemzőiket.
2.4. A mechanikus kapcsoló összes alkatrészeit olyan minőségű anyagokból kell készíteni, amelyek képesek kiállni a 3.2. pontban megadott vizsgálatokat, és amelyek szilárdsági jellemzőiket tartósan megőrzik.
2.5. Az összes csatlakozónak és azok rögzítőinek könnyen összekapcsolhatónak és oldhatónak kell lennie, és oly módon kell azokat megtervezni, hogy rendes működési körülmények között ne legyen mód a véletlen szétkapcsolódásra.
Az automatikus kapcsolóberendezések esetében a zárt helyzetet alakzáró módon kell biztosítani két, egymástól függetlenül működő biztonsági szerkezettel. Ezek azonban kioldhatóak egy közös kezelőkészülékkel.
2.6. A vonórúd gyűrűjének vízszintesen, a nem beépített kapcsolókészülék hosszanti tengelyének mindkét oldalán legalább 60° szögben el kell tudni fordulnia. Ezenkívül lehetővé kell tenni egy fölfelé és egy lefelé történő 20°-os függőleges elmozdulást (lásd még: 1. függelék).
Az elfordulási szögeknek nem kell egyidejűleg elérhetőeknek lenniük.
2.7. A befogópofának legalább 90°-os szögben lehetővé kell tennie a vonógyűrűk axiális elfordulását a kapcsolószerkezet hosszanti tengelye körül jobbra vagy balra, 30-150 Nm közötti, rögzített fékezési nyomatékkal.
A vonóhorognak, az elfordulásgátló vonókengyelnek, a vonógömbnek és a vonócsapnak legalább 20°-os szögben lehetővé kell tennie a vonórúdgyűrű axiális elfordulását a kapcsoló hosszanti tengelye körül jobbra vagy balra.
2.8. Feltéve, hogy legalább egy mechanikus összekapcsoló már megkapta az EK-típusjóváhagyást, a tagállamokban használt más mechanikus összekapcsoló- vagy tengelykapcsoló-típusok a 89/173/EGK irányelv hatálybalépésétől számított 10 éves időszakra kapnak engedélyt a traktor típusjóváhagyásának érvénytelenítése nélkül, feltéve hogy felszerelésük nem érinti hátrányosan a részjóváhagyásokat.
2.9. A gyűrűről való véletlen lekapcsolódás elkerülése érdekében a vonóhorog csúcsa és a tartó (befogókészülék) közötti távolság a maximális méretezési terhelésnél nem haladja meg a 10 mm-t.
3. KÜLÖNLEGES KÖVETELMÉNYEK
3.1. Méretek
A traktorok mechanikus kapcsolószerkezeteinek meg kell felelniük az 1. függelék 1-5. ábrája és 1. táblázata szerinti méreteknek.
3.2. Szilárdság
3.2.1. A mechanikus kapcsoló alkatrészeit szilárdságuk ellenőrzése céljából a 2. függelékben megadott körülmények között egy dinamikus vagy a 3. függelékben megadott körülmények között egy statikus vizsgálatnak kell alávetni.
3.2.2. A vizsgálatok nem okozhatnak tartós alakváltozást, töréseket vagy repedéseket.
3.3. Függőleges terhelés az (S) kapcsolási ponton
3.3.1. A legnagyobb statikus függőleges terhelést a gyártó határozza meg. A terhelés azonban nem haladhatja meg a 3 000 kg-ot, a vonógömböt kivéve, amelynek esetében a megengedett legnagyobb terhelés 4 000 kg.
3.3.2. Elfogadási feltételek:
3.3.2.1. A megengedett statikus függőleges terhelés nem haladhatja meg sem a traktor gyártója által ajánlott, műszakilag megengedett statikus függőleges terhelést, sem a vontatóeszközre az EK-alkatrész-típusjóváhagyás szerint meghatározott, statikus függőleges terhelést.
3.3.2.2. Teljesíteni kell a 2009/63/EK irányelv ( 34 ) I. melléklete 2. pontjának követelményeit, de a hátsó tengelyre jutó legnagyobb terhelést nem szabad túllépni.
3.4. A mechanikus kapcsolókészülék talaj fölötti magassága (h)
(lásd az alábbi ábrát)

3.4.1. A 2,5 tonna terhelt tömeget meghaladó traktorokat fel kell szerelni egy olyan vonószerkezettel, melynek a földtől mért szabad magassága kielégíti a következő összefüggések egyikét:

vagy

ahol:
mt : a traktor tömege (lásd I. melléklet 1.6. pont),
mlt : a traktor tömege (lásd I. melléklet 1.6. pont) terhelősúllyal az első tengelyen,
ma : a terheletlen traktor első tengelyére jutó terhelés (lásd IV. melléklet, 1.9. pont),
mla : a traktor első tengelyére jutó terhelés (lásd IV. melléklet, 1.9. pont) terhelősúllyal az első tengelyen,
l : a traktor tengelytávolsága (lásd IV. melléklet, 1.8. pont),
S : a kapcsolási pontra jutó függőleges terhelés (lásd IV. melléklet, 1.6. pont),
c : a mechanikus kapcsoló vonatkoztatási középpontja és a traktor hátsó tengelyén keresztül menő függőleges sík közötti távolság (lásd IV. melléklet 1.5. pont).
Az mt, mlt, ma és mla tömegek kg-ban vannak megadva.
4. AZ EK-ALKATRÉSZ-TÍPUSJÓVÁHAGYÁSI KÉRELEM
4.1. Traktor esetében a kapcsolókészülékre vonatkozóan az EK-alkatrész-típusjóváhagyási kérelmet a készülék gyártója vagy meghatalmazott képviselője nyújtja be.
4.2. A mechanikus kapcsoló valamennyi típusa esetében a kérelemhez csatolni kell az alábbi dokumentumokat és adatokat:
- a kapcsolókészülék méretarányos rajzai (három példányban). E rajzokon különösen fontos részletesen feltüntetni az előírt méreteket, valamint megadni a készülék szerelési méreteit,
- rövid műszaki leírás a kapcsolókészülékről, amely meghatározza a konstrukció típusát és a felhasznált anyagot,
- nyilatkozat a 2. függelékben a dinamikus vizsgálathoz megállapított D értékéről vagy a 3. függelékben a statikus vizsgálathoz megállapított, a pótkocsi műszakilag megengedhető legnagyobb terhelt tömege másfélszeresének megfelelő T (tonnában megadott vontatható tömeg) értékéről, valamint a kapcsolási pontra ható (kg-ban megadott) S legnagyobb függőleges terhelésről,
- egy vagy több mintakészülék, a műszaki szolgálat igénye szerint.
5. FELIRATOK
5.1. Minden olyan mechanikus kapcsolókészüléken, amely megfelel azon típusnak, amelyre megadták az EK-alkatrész-típusjóváhagyást, az alábbi feliratokat kell elhelyezni:
5.1.1. kereskedelmi név vagy márkajel;
5.1.2. a 4. függelék mintája szerinti EK-alkatrész-típusjóváhagyási jel;
5.1.3. ha a szilárdság ellenőrzése a 2. függelék szerint történik (dinamikus vizsgálat):
D megengedett értéke (kN-ban),
S statikus függőleges terhelés értéke (kg-ban);
5.1.4. ha a szilárdság ellenőrzése a 3. függelék szerint történik (statikus vizsgálat):
a T vontatható tömeg (tonnában) és a kapcsolási pontra ható S függőleges terhelés (kg-ban).
5.2. Az adatokat jól láthatóan, tisztán olvashatóan és tartós módon kell feltüntetni.
6. HASZNÁLATI UTASÍTÁS
Minden mechanikus kapcsolókészülékhez mellékelni kell a gyártó használati utasítását. Ezen utasításnak tartalmaznia kell az EK-alkatrész-típusjóváhagyás számát, valamint a kapcsolón elvégzett vizsgálattól függően a D (kN) vagy T (tonna) értékét.
1. függelék
A MECHANIKUS KAPCSOLÓ ALKATRÉSZEINEK RAJZAI

1a. ábra - Nem automatikus vonószerkezet hengeres vonócsappal

1b. ábra - Nem automatikus vonószerkezet hengeres vonócsappal

1c. ábra - Nem automatikus vonószerkezet hengeres vonócsappal
1d. ábra
Elfordulásgátló vonókengyel (az ISO 6489-5:2011 szabvány szerint)
| [Kép #20] | [Kép #21] | 

Kép #20

Kép #21
1. táblázat
Pótkocsik és munkagépek vonókengyeleinek alakja és mérete
| Függőleges terhelés S kg | D értéke D kN | Alak | Méret mm | ||
| D ±0,5 | a min. | b min. | |||
| ≤ 1 000 | ≤ 35 | w | 18 | 50 | 40 | 
| ≤ 2 000 | ≤ 90 | x | 28 | 70 | 55 | 
| ≤ 3 000 | ≤ 120 | y | 43 | 100 | 80 | 
| ≤ 3 000 | ≤ 120 | z | 50 | 110 | 95 | 

2. ábra - Nem automatikus vonószerkezet
a (2002 július) ISO 6489 2. rész szabvány szerint

3. ábra - Traktorvonórúd
az ISO 6489 3. rész (2004 június) szabvány szerint
4. ábra
Vonógömb (az ISO 24347:2005 szabvány szerint)
| [Kép #22] | [Kép #23] | 
| [Kép #24] | [Kép #25] | 

Kép #22

Kép #23

Kép #24

Kép #25
5. ábra
Vonócsap (az ISO 6489-4:2004 szabvány szerint)
| [Kép #26] | |
| [Kép #27] | [Kép #28] | 
| [Kép #29] | [Kép #30] | 

Kép #26

Kép #27

Kép #28

Kép #29

Kép #30
2. függelék
DINAMIKUS VIZSGÁLATI MÓDSZER
1. VIZSGÁLATI ELJÁRÁS
A mechanikus kapcsoló szilárdságát próbapadon, váltakozó erejű húzással kell megállapítani.
E módszer a teljes mechanikus kapcsolókészüléken elvégzendő fárasztóvizsgálatot írja le, azaz amikor a mechanikus kapcsolókészüléket minden, a felszereléséhez szükséges alkatrésszel ellátva próbapadra szerelik és vizsgálják.
A váltakozó erőket - amennyire csak lehetséges - szinuszosan kell alkalmazni (váltakozó és/vagy növekvő), a terhelési ciklus a használt anyagtól függ. A vizsgálat során repedések vagy törések nem keletkezhetnek.
2. VIZSGÁLATI FELTÉTELEK
A vizsgálóterhelés alapját a jármű hossztengelyében fellépő vízszintes és a függőleges erőösszetevő együttesen alkotja.
Amennyiben másodlagos fontosságúak, a jármű hossztengelyére merőleges vízszintes erőösszetevőket és nyomatékokat nem kell figyelembe venni.
A jármű hossztengelyében fellépő vízszintes erőösszetevőket egy matematikai úton megállapított reprezentatív erő, a D érték képviseli.
A mechanikus kapcsolóra az alábbi egyenletet kell alkalmazni:
D = g · (MT · MR)/ (MT + MR)
ahol:
MT = a traktor műszakilag megengedett teljes tömege,
MR = a vontatott járművek műszakilag megengedett teljes tömege,
g = 9,81 m/s2.
A nyomvonalra merőleges, függőleges erőösszetevőket az S statikus, függőleges terhelés (kg) fejezi ki.
Az MT és MR műszakilag megengedett tömeget a gyártó adja meg.
3. VIZSGÁLATI ELJÁRÁS
3.1. Általános követelmények
A vizsgálandó mechanikus kapcsolószerkezetre a vizsgálóerőt egy megfelelő, szabványos vonórúdgyűrűn kell átvinni, olyan szögben, amelyet a függőleges (Fv) és a vízszintes vizsgálóerő (Fh) aránya határoz meg, és amely a hosszanti középsíkban elől-felülről hátra-lefelé irányul.
A vizsgálóerőt a kapcsolószerkezet és a vonórúdgyűrű szokásos érintkezési pontján kell alkalmazni.
A kapcsolószerkezet és a gyűrű közötti játékot a legkisebb értéken kell tartani.
Elvben a vizsgálóerőt váltakozó módon, a nulla pont körül kell alkalmazni. Váltakozó vizsgálóerő esetén az eredő terhelés nulla.
Ha a kapcsolószerkezet kialakítása következtében (pl. túl nagy játék, vonóhorog) nem lehetséges a vizsgálatnak váltakozó vizsgálóterheléssel történő elvégzése, úgy a vizsgálati terhelés növekvő módon is alkalmazható, a húzás vagy a nyomás irányában, attól függően, hogy melyik a nagyobb.
Ha a vizsgálatot egy növekvő erőgörbének megfelelően végzik, úgy a vizsgálati terhelés a felső (legnagyobb) terheléssel egyenlő és az alsó (legkisebb) terhelés nem lehet nagyobb a felső terhelés 5 %-ánál.
A váltakozó erővel végzett vizsgálat során a berendezés megfelelő felszerelése és az erőátadó rendszer megfelelő megválasztása révén ügyelni kell arra, hogy ne jelenjenek meg további nyomatékok vagy olyan erők, amelyek merőlegesek a vizsgálóerőre; az erő irányának szöghibája a váltakozó irányú erővel végzett vizsgálat során nem lépheti túl a ± 1,5o-ot; a növekvő terheléses vizsgálat során pedig a szöget a felső terhelési helyzetbe kell beállítani.
A vizsgálati frekvencia nem lehet nagyobb 30 Hz-nél.
Acél vagy acélöntvény alkatrészek esetében a terhelési ciklus 2 · 106. Az ezt követő repedésvizsgálatot a festékbehatolásos vagy hasonló módszerrel kell elvégezni.
Ha a kapcsolószerkezet alkatrészei rugókat és/vagy lengéscsillapítókat is tartalmaznak, úgy azokat a vizsgálat során nem szabad eltávolítani, de helyettesíthetők, ha a vizsgálat során olyan hatásoknak lennének kitéve, amelyek rendes üzemelési körülmények között nem fordulnak elő (pl. hőhatás), és ennek következtében károsodhatnak. Ezen alkatrészek viselkedését a vizsgálat előtt, alatt és után ismertetni kell a vizsgálati jegyzőkönyvben.
3.2. Vizsgálati erők
A vizsgálati erő geometriai értelemben a vízszintes és függőleges vizsgálati összetevőkből áll az alábbiak szerint:

ahol:

váltakozó erő esetében,
vagy

növekvő erő (húzás vagy nyomás) esetében,

(kN-ban kifejezve)
S = statikus vonórúdterhelés (nyomvonalra merőleges terhelés, kg-ban kifejezve).
3. függelék
A KAPCSOLÓSZERKEZET
STATIKUS VIZSGÁLATI MÓDSZERE
1. VIZSGÁLATI ELŐÍRÁSOK
1.1. Általános követelmények
1.1.1. A vontatókészüléken a szerkezeti jellemzők ellenőrzése után statikus vizsgálatokat kell végezni az 1.2., 1.3. és 1.4. pont követelményeivel összhangban.
1.2. A vizsgálatok előkészítése
A vizsgálatokat egy speciális berendezésen kell elvégezni, miközben a vontatókészüléket, illetve az azt a traktor testéhez kapcsoló szerkezetet egy merev szerkezetre kell felszerelni, ugyanazon alkatrészekkel, amelyekkel a vontatókészüléket a traktorra szokták felszerelni.
1.3. Vizsgálóeszközök
A terhelések és a mozgások mérésére és rögzítésére használt műszereknek az alábbi pontosságúaknak kell lenniük:
- alkalmazott terhelések ± 50 daN,
- mozgások ± 0,01 mm.
1.4. Vizsgálati eljárás
1.4.1. A kapcsolókészüléket először előhúzási terhelésnek kell alávetni, amely nem haladja meg az 1.4.2. pontban meghatározott húzó vizsgálóterhelés 15 %-át.
1.4.1.1. Az 1.4.1. pontban leírt műveletet legalább kétszer meg kell ismételni, nulla terhelésről kiindulva, amelyet azután fokozatosan kell növelni az 1.4.1. pontban előírt terhelés eléréséig, majd 500 daN-ra kell csökkenteni; e terhelést legalább 60 másodpercen keresztül fenn kell tartani.
1.4.2. Húzás közben a terhelés/alakváltozás görbe megrajzolását, illetve e görbe - egy, a húzóberendezéshez csatolt nyomtató által biztosított - grafikus ábrázolását lehetővé tevő adatok mérésének kizárólag a növekvő terhelés alkalmazásán kell alapulnia, 500 daN-ról kiindulva, a kapcsolókészülék vonatkozási középpontjára vonatkozóan.
A műszakilag megengedett vontatható tömeg 1,5-szeresének megfelelő húzó próbaterhelés eléréséig vagy ezen értéknél nem léphetnek fel törések; emellett ellenőrizni kell, hogy a terhelés/alakváltozás görbe szabályosan, szokatlan csúcsoktól és visszaesésektől mentesen alakul-e az 500 daN és a legnagyobb húzóterhelés 1/3-ának megfelelő terhelés közötti tartományban.
1.4.2.1. A próbaterhelésnek az 500 daN értékre való visszaállítása után a terhelés/alakváltozás görbén fel kell tüntetni az e terhelésen mért maradandó alakváltozást.
1.4.2.2. A feljegyzett maradandó alakváltozás értéke nem lehet nagyobb a fellépő legnagyobb rugalmas alakváltozás 25 %-ánál.
1.5. Az 1.4.2. pontban leírt vizsgálat előtt el kell végezni egy másik vizsgálatot is, amelynek során a gyártó által ajánlott (daN-ban kifejezett, g · S/10-nek megfelelő) legnagyobb megengedett függőleges erő háromszorosának megfelelő terhelést kell a kapcsolókészülék vonatkoztatási középpontjára kifejteni, 500 daN kiindulási terheléssel kezdve fokozatosan fölfelé haladva.
A vizsgálat során a kapcsolókészülék alakváltozása nem lehet nagyobb, mint a fellépő legnagyobb rugalmas alakváltozás 10 %-a.
Ennek ellenőrzését a (daN-ban kifejezett, g · S/10-nek megfelelő) függőleges erő megszüntetése és az 500 daN kiindulási terhelés visszaállítása után kell elvégezni.
4. függelék
ALKATRÉSZ-TÍPUSJÓVÁHAGYÁSI JEL
Az EK-típusjóváhagyás jelzése az alábbiakból áll:
- egy téglalappal körülvett kis "e" betű, amelyet azon tagállam megkülönböztető kódja (betű(k) vagy szám) követ, amely az alkatrésztípus-jóváhagyást megadta:
- 1 Németország esetében; 2 Franciaország esetében; 3 Olaszország esetében; 4 Hollandia esetében; 5 Svédország esetében; 6 Belgium esetében; 7 Magyarország esetében; 8 Cseh Köztársaság esetében; 9 Spanyolország esetében; 11 az Egyesült Királyság esetében; 12 Ausztria esetében; 13. Luxemburg esetében; 17 Finnország esetében; 18 Dánia esetében; 19 Románia esetében; 20 Lengyelország esetében; 21 Portugália esetében; 23 Görögország esetében; 24 Írország esetében; 25 Horvátország esetében; 26 Szlovénia esetébe; 27 Szlovákia esetében; 29 Észtország esetében; 32 Lettország esetében; 34 Bulgária esetében; 36 Litvánia esetében; 49 Ciprus esetében; és 50 Málta esetében,
- az EK-alkatrész-típusbizonyítvány száma, amely azonos a kérdéses kapcsolókészülék-típusra megadott, annak szilárdságára és méreteire vonatkozó EK-alkatrész-típusbizonyítvány számával; e számot a téglalap közelében, tetszés szerinti helyen kell elhelyezni,
- nagy "D" vagy "S" betű, attól függően, hogy milyen vizsgálatot végeztek el a kapcsolókészüléken (D: dinamikus vizsgálat, S: statikus vizsgálat); ezt a kis "e" betűt tartalmazó téglalap fölött kell elhelyezni.
Példa az EK-alkatrész-típusjóváhagyási jelre

A fenti EK-alkatrész-típusjóváhagyási jelet viselő kapcsolókészülékre az EK-alkatrész-típusjóváhagyást Németországban adták meg (e 1), 88-563 számon, és azon dinamikus szilárdság vizsgálatot végeztek (D).
Példa az EK-típusjóváhagyási jelre

A fenti EK-alkatrész-típusjóváhagyási jelet viselő kapcsolókészülékre az EK-alkatrész-típusjóváhagyást Németországban (e1) adták meg a 38-363 számon, és azon statikus szilárdságvizsgálatot (S) végeztek.
5. függelék
EK-ALKATRÉSZ-TÍPUSBIZONYÍTVÁNY MINTA
A hatóság neve
ÉRTESÍTÉS MEGHATÁROZOTT KAPCSOLÓKÉSZÜLÉK (VONÓKENGYEL, ELFORDULÁSGÁTLÓ VONÓKENGYEL, VONÓHOROG, TRAKTORVONÓRÚD, VONÓGÖMB VAGY VONÓCSAP) SZILÁRDSÁGA, MÉRETEI ÉS A KAPCSOLÁSI PONTRA HATÓ FÜGGŐLEGES TERHELÉS TEKINTETÉBEN TÖRTÉNŐ EK-ALKATRÉSZTÍPUSJÓVÁHAGYÁSÁNAK MEGADÁSÁRÓL, ELUTASÍTÁSÁRÓL, VISSZAVONÁSÁRÓL VAGY KITERJESZTÉSÉRŐL
EK-típusjóváhagyás száma:
...
... Kiterjesztés ( 35 ):
1. Kereskedelmi név vagy márkajel:
...
...
2. A kapcsolókészülék típusa (vonókengyel, elfordulásgátló vonókengyel, vonóhorog, traktorvonórúd, vonógömb vagy vonócsap) ( 36 )
...
3. A kapcsolókészülék gyártójának neve és címe:
...
...
4. A kapcsolókészülék gyártó meghatalmazott képviselőjének neve és címe (adott esetben):
...
5. A kapcsolókészüléken a dinamikus/statikus vizsgálatot elvégezték (36) , és az alábbi értékekre jóváhagyták:
5.1. Dinamikus vizsgálat:
D értéke:
... (kN)
függőleges terhelés a kapcsolási ponton (S):
... (kg)
5.2. Statikus vizsgálat:
T vontatható tömeg:
... (tonna)
függőleges terhelés a kapcsolási ponton (S):
... (kg)
6. Az EK-alkatrész-típusjóváhagyásra történő átadás kelte:
...
7. A vizsgálatok elvégzéséért felelős műszaki szolgálat:
...
8. E szolgálat által kiállított jegyzőkönyv kelte és száma:
...
9. A mechanikus csatlakozókra vonatkozó EK-alkatrész-típusjóváhagyás megadva/elutasítva (36) :
...
10. Hely: ...
11. Kelt: ...
12. A fenti alkatrész-típusjóváhagyási számmal ellátott okmányokat csatolták e bizonyítványhoz (pl. vizsgálati jelentés, rajzok stb.). Ezen adatokat a többi tagállam illetékes szolgálatainak csak kifejezett kérésükre kell hozzáférhetővé tenni:
...
...
13. Megjegyzések:
...
14. Aláírás: ...
6. függelék
AZ EK-TÍPUSJÓVÁHAGYÁS MEGADÁSÁNAK FELTÉTELEI
1. Adott traktorra vonatkozó EK-típusjóváhagyási kérelmet a kapcsolókészülék szilárdságát és méreteit illetően a traktor gyártója vagy meghatalmazott képviselője nyújtja be.
2. A jóváhagyandó traktortípussal minden tekintetben megegyező traktort, amelyre egy megfelelően jóváhagyott kapcsolókészülék fel van szerelve, át kell adni a típus-jóváhagyási vizsgálatok elvégzéséért felelős műszaki szolgálatnak.
3. A típus-jóváhagyási vizsgálatok elvégzéséért felelős műszaki szolgálat ellenőrzi, hogy a jóváhagyott típusú kapcsolókészülék felszerelhető-e azon traktorra, amelyre a típusjóváhagyást kérik. Különösen arról kell meggyőződnie, hogy a kapcsolókészülék felszerelése megegyezik-e azzal, amelyet az EK-alkatrész-típusjóváhagyás megadásakor vizsgáltak.
4. Az EK-típusjóváhagyás jogosultja kérheti annak kiterjesztését más típusú kapcsolókészülékekre is.
5. Az illetékes hatóságok az ilyen kiterjesztéseket a következő feltételekkel adják meg:
5.1. az új típusú kapcsolókészüléknek rendelkeznie kell EK-alkatrész-típusjóváhagyással;
5.2. elszerelhető azon traktortípusra, amelyre az EK-típusjóváhagyás kiterjesztését kérik;
5.3. a kapcsolókészülék traktorra való felszerelésének meg kell egyeznie azzal, amelyet az EK-alkatrész-típusjóváhagyás megadásakor bemutattak.
6. Minden megadott vagy elutasított típusjóváhagyás és jóváhagyás-kiterjesztés esetében az EK-alkatrész-típusbizonyítványhoz mellékelni kell egy olyan bizonyítványt, amelynek mintáját az 5. függelék tartalmazza.
7. Ha valamely traktortípusra az EK-típusjóváhagyás iránti kérelmet ugyanakkor nyújtják be, amikor ugyanazon traktorra vonatkozóan EK-alkatrész-típusjóváhagyási kérelmet nyújtanak be egy kapcsolókészülék-típusra, úgy a 2. és 3. pontra nincs szükség.
7. függelék
MINTA
A hatóság neve
MELLÉKLET VALAMELY TRAKTORTÍPUS EK-TÍPUSBIZONYÍTVÁNYÁHOZ A KAPCSOLÓSZERKEZETRE ÉS ANNAK A TRAKTORRA VALÓ FELSZERELÉSÉRE VONATKOZÓAN
(A mezőgazdasági vagy erdészeti traktorok, azok pótkocsijainak és cserélhető vontatott munkagépeinek, beleértve ezek rendszereit is, továbbá alkatrészeinek és önálló műszaki egységeinek típusjóváhagyásáról szóló, 2003. május 26-i 2003/37/EK európai parlamenti és tanácsi irányelv 4. cikkének (2) bekezdése)
EK-típusjóváhagyás száma: ...
... kiterjesztés ( 37 )
1. A traktor kereskedelmi neve vagy márkajele:
...
2. A traktor típusa és adott esetben kereskedelmi neve:
...
3. A gyártó neve és címe:
...
...
4. A gyártó meghatalmazott képviselőjének neve és címe (adott esetben):
...
...
5. A kapcsolókészülék kereskedelmi neve vagy márkajele:
...
...
6. A kapcsolókészülék típusa:
...
7. Az EK-típusjóváhagyás kiterjesztése a következő kapcsolókészülék típus(ok)ra:
...
8. EK-jel és EK-alkatrész-típusjóváhagyási száma:
...
...
9. Megengedett függőleges statikus terhelés a kapcsolási ponton:
... (kg)
10. A traktor EK-típusjóváhagyásra való átadásának kelte:
...
11. Az EK-típusjóváhagyási vizsgálatok elvégzéséért felelős műszaki szolgálat:
...
12. E műszaki szolgálat által kiállított jegyzőkönyv kelte:
...
13. E műszaki szolgálat által kiállított jegyzőkönyv száma:
...
14. Az EK-típusjóváhagyás a kapcsolókészülékre és annak a traktorra való felszerelésére vonatkozóan megadva/elutasítva ( 38 ):
15. Az EK-típusjóváhagyás kiterjesztése a kapcsolókészülékre és annak a traktorra való felszerelésére vonatkozóan megadva/elutasítva (38) :
...
16. Hely: ...
17. Kelt: ...
18. Aláírás: ...
V. MELLÉKLET
A kötelező táblák és feliratok elhelyezkedése és felerősítési módja a traktortestre
1. ÁLTALÁNOS KÖVETELMÉNYEK
1.1. Minden mezőgazdasági és erdészeti traktoron el kell helyezni az alábbiakban leírt táblát és feliratokat. A táblát és a feliratokat a gyártó vagy meghatalmazott képviselője erősíti fel.
2. GYÁRI ADATTÁBLA
2.1. A gyári adattáblát, amelynek mintáját az e melléklethez csatolt függelék tartalmazza, szilárdan, tisztán láthatóan és könnyen hozzáférhetően kell felerősíteni a traktor egy olyan alkatrészére, amelyet a használat során általában nem cserélnek ki. A táblán könnyen olvashatóan és letörölhetetlen módon kell feltüntetni a következő információkat, a megadott sorrendben:
2.1.1. a gyártó neve;
2.1.2. a traktor típusa (és adott esetben kivitele);
2.1.3. az EK-típusjóváhagyás száma:
Az EK-típusjóváhagyás száma egy kis "e" betűből és a típusjóváhagyást megadó tagállam megkülönböztető kódjából (betű(k) vagy szám):
1 Németország esetében; 2 Franciaország esetében; 3 Olaszország esetében; 4 Hollandia esetében; 5 Svédország esetében; 6 Belgium esetében; 7 Magyarország esetében; 8 Cseh Köztársaság esetében; 9 Spanyolország esetében; 11 az Egyesült Királyság esetében; 12 Ausztria esetében; 13 Luxemburg esetében; 17 Finnország esetében; 18 Dánia esetében; 19 Románia esetében; 20 Lengyelország esetében; 21 Portugália esetében; 23 Görögország esetében; 24 Írország esetében; 25 Horvátország esetében; 26 Szlovénia esetében; 27 Szlovákia esetében; 29 Észtország esetében; 32 Lettország esetében; 34 Bulgária esetében; 36 Litvánia esetében; 49 Ciprus esetében; és 50 Málta esetében,
valamint a típusjóváhagyási számból áll, amely megfelel a járműtípusra kiállított típusbizonyítvány számának.
Az "e" betű - amely után az EK-típusjóváhagyást megadó tagállam megkülönböztető kódja áll - és a típusjóváhagyási szám közé csillag jelet kell tenni;
2.1.4. a traktor azonosító száma;
2.1.5. a traktor megengedett legnagyobb terhelt tömegének legkisebb és legnagyobb értéke, a felszerelhető gumiabroncstípusoktól függően;
2.1.6. a traktor egyes tengelyeire jutó legnagyobb megengedett terhelés, a felszerelhető gumiabroncstípusoktól függően; ezen adatokat elölről hátrafelé haladva kell megadni;
2.1.7. műszakilag megengedett vontatható tömeg(ek): lásd I. melléklet 1.7. pont;
2.1.8. a tagállamok megkövetelhetik, hogy a területükön forgalomba hozott traktorokon a végső összeszerelés helyének megfelelő országot is feltüntessék a gyártó neve mellett, amennyiben a végső összeszerelésre nem a gyártó országában került sor, és nem is a Közösség valamely tagállamában.
2.2. A gyártó az előírt feliratok mellett vagy alatt további információkat is feltüntethet a világosan megjelölt téglalapon kívül, amely téglalap csak a 2.1.1.-2.1.7. pontban (lásd a gyári adattábla mintáját) előírt információkat tartalmazza.
3. A TRAKTOR AZONOSÍTÓ SZÁMA
A traktor azonosító száma egy állandó karaktersorozat, amelyet a gyártó ad minden egyes traktorra. Célja az, hogy minden traktor és különösen annak típusa egyértelműen azonosítható legyen 30 éven át a gyártón keresztül anélkül, hogy további tájékoztatásra lenne szükség.
Az azonosítószámnak a következő követelményeknek kell megfelelnie.
3.1. A számot a gyári adattáblán és az alvázon vagy más hasonló szerkezeten kell feltüntetni.
3.1.1. Amennyiben lehetséges, egyetlen sorban kell a jeleket kiírni.
3.1.2. Az alvázon vagy más hasonló szerkezeten a jármű jobboldali első felén kell a számot feltüntetni.
3.1.3. A számot jól láthatóan és elérhető helyen kell feltüntetni oly módon (pl. beütéssel vagy bebélyegzéssel), hogy a szám letörlődése és módosulása megakadályozható legyen.
4. ÍRÁSJELEK
4.1. A 2. és 3. pont szerinti valamennyi jelöléshez latin betűket és arab számokat kell használni. Azonban a 2.1.1., és a 3. pont szerinti jelölésekben a felhasznált latin betűk csak nagybetűk lehetnek.
4.2. A traktor azonosító számához:
4.2.1. az "I", "O", "Q", valamint gondolatjelek, csillagok és egyéb különleges jelek nem használhatók;
4.2.2. a betűk és számok legkisebb magassága:
4.2.2.1. közvetlenül az alvázon, kereten vagy más hasonló traktorszerkezeten lévő írásjelek esetén 7 mm;
4.2.2.2. a gyári adattáblán feltüntetett írásjelek 4 mm-esek.
Az alábbi példában szereplő adatok nem befolyásolhatják a gyári adattáblán ténylegesen feltüntetendő adatokat; ezek kizárólag tájékoztatási célokat szolgálnak.
| STELLA TRAKTOR WERKE | 
| Típus 846 E | 
| EK-szám: e * 1* 1 792 | 
| Azonosító szám: GBS18 041 947 | 
| Megengedett teljes tömeg (1): 4 820-6 310 kg Megengedett első tengelyterhelés (1): 2 390-3 200 kg Megengedett hátsó tengelyterhelés (1): 3 130-4 260 kg | 
| Megengedett vontatható tömeg: — fékezetlen vontatható tömeg: 3 000 kg — függetlenül fékezhető vontatható tömeg: 6 000 kg — tehetetlenségi fékezésű vontatható tömeg: 3 000 kg — rásegítős (hidraulikus, illetve pneumatikus) fékrendszerrel felszerelt vontatható tömeg: 12 000 kg | 
| (1) A gumiabroncsoktól függően | 
Függelék
MINTA
A hatóság neve
Melléklet valamely traktortípus EK-típusbizonyítványához a traktortesten kötelezően elhelyezendő táblák és feliratok helyzetére és felerősítésük módjára vonatkozóan
(A mezőgazdasági vagy erdészeti traktorok, azok pótkocsijainak és cserélhető vontatott munkagépeinek, beleértve ezek rendszereit is, továbbá alkatrészeinek és önálló műszaki egységeinek típusjóváhagyásáról szóló, 2003. május 26-i 2003/37/EK európai parlamenti és tanácsi irányelv 4. cikkének (2) bekezdése)
EK-típusjóváhagyás száma: ...
1. A traktor gyártmánya vagy a gyártó cégneve:
...
2. A traktor típusa és adott esetben kereskedelmi neve:
...
3. A gyártó neve és címe:
...
4. A gyártó meghatalmazott képviselőjének neve és címe (adott esetben):
...
5. A traktor EK-típusjóváhagyásra való átadásának kelte:
...
6. A típusjóváhagyást végző műszaki szolgálat:
...
7. E szolgálat által kiállított jegyzőkönyv kelte:
...
8. E szolgálat által kiállított jegyzőkönyv száma:
...
9. Az EK-típusjóváhagyás a traktortesten kötelezően elhelyezendő táblák és feliratok helyzetére és felerősítésük módjára vonatkozóan megadva/elutasítva ( 39 ).
10. Hely: ...
11. Kelt: ...
12. Aláírás: ...
13. A fenti EK-típusjóváhagyás számával ellátott alábbi okmányokat csatolták e bizonyítványhoz:
... méretezett rajzok
... a kötelező táblák és feliratok traktortestre való elhelyezését és felerősítés módját ábrázoló vázlat vagy fénykép.
Ezen adatokat a többi tagállam illetékes hatóságainak kérésükre meg kell küldeni.
14. Megjegyzések: ...
...
...
...
VI. MELLÉKLET
A VONTATOTT JÁRMŰVEK FÉKMŰKÖDTETÉSE ÉS FÉKCSATLAKOZÁS A TRAKTOR ÉS A VONTATOTT JÁRMŰ KÖZÖTT
1. Amennyiben a traktor rendelkezik a pótkocsi fékjeinek működtetésére szolgáló készülékkel, úgy annak a vezetőülésből kézzel vagy lábbal működtethetőnek kell lennie, de azt a többi kezelőszerv működtetése nem befolyásolhatja.
Amennyiben a traktor fel van szerelve a traktor és a vontatott tömeg között elhelyezett pneumatikus vagy hidraulikus csatlakozórendszerrel, úgy a gépjárműszerelvény menet közbeni fékezésére egyetlen kezelőszervet kell alkalmazni.
2. Az alkalmazott fékezőrendszerek olyan rendszerek lehetnek, amelyek jellemzőit a kerekes mezőgazdasági vagy erdészeti traktorok fékberendezéseiről szóló, 76/432/EGK irányelv I. melléklete határozza meg.
A berendezést úgy kell megtervezni és legyártani, hogy a traktor működésére ne legyen káros hatással a vontatott jármű fékrendszerének meghibásodása, rossz működése vagy az összeköttetés megszakadása.
3. Amennyiben a traktor és a vontatott jármű(vek) közötti kapcsolat hidraulikus vagy pneumatikus jellegű, úgy annak meg kell felelnie az alábbi feltételek egyikének is:
3.1. Hidraulikus csatlakozó:
A hidraulikus csatlakozónak egyvezetékes típusúnak kell lennie.
A csatlakozó megfelel az 1983. évi 5676 ISO-szabványnak, a csatlakozó résznek a traktoron kell lennie.
A kezelőszerv működtetésének lehetővé kell tennie 0 nyomás alkalmazását a kapcsolófejre a kezelőszerv nyugalmi helyzetében; az üzemi nyomás nem lehet kisebb, mint 10 Mpa és nagyobb, mint 15 MPa.
Az erőforrás nem választható le a motorról.
3.2. Pneumatikus csatlakozó:
A traktor és a vontatott jármű(vek) közötti csatlakozónak kétkörös típusúnak kell lennie: egy automatikus kör és egy közvetlen fékezési kör, amelynél a fékezés a nyomás növelésével történik.
A kapcsolófejnek meg kell felelnie az 1980. évi 1728 ISO-szabványnak.
A kezelőszerv működtetésének lehetővé kell tennie legalább 0,65 és legfeljebb 0,8 MPa üzemi nyomás alkalmazását a kapcsolófejen.
Függelék
MINTA
A hatóság neve
MELLÉKLET VALAMELY TRAKTORTÍPUS EK-TÍPUSBIZONYÍTVÁNYÁHOZ A VONTATOTT JÁRMŰ FÉKMŰKÖDTETÉSÉRE VONATKOZÓAN
(A mezőgazdasági vagy erdészeti traktorok, azok pótkocsijainak és cserélhető vontatott munkagépeinek, beleértve ezek rendszereit is, továbbá alkatrészeinek és önálló műszaki egységeinek típusjóváhagyásáról szóló, 2003. május 26-i 2003/37/EK európai parlamenti és tanácsi irányelv 4. cikkének (2) bekezdése)
EK-típusjóváhagyás száma: ...
1. A traktor gyártmánya (vagy a gyártó cégneve):
...
...
2. A traktor típusa és adott esetben kereskedelmi neve:
...
3. A gyártó neve és címe:
...
4. A gyártó meghatalmazott képviselőjének neve és címe (adott esetben):
...
5. A vontatott jármű fékműködtető alkatrészeinek és/vagy jellemzőinek leírása:
...
6. A traktor EK-típusjóváhagyásra való átadásának kelte:
...
7. A típusjóváhagyást végző műszaki szolgálat:
...
8. E szolgálat által kiállított jegyzőkönyv kelte:
...
9. E szolgálat által kiállított jegyzőkönyv száma:
...
10. Az EK-típusjóváhagyás a vontatott jármű fékműködtetésére vonatkozóan megadva/elutasítva ( 40 ).
11. Hely: ...
12. Kelt: ...
13. Aláírás: ...
14. A fenti EK-típusjóváhagyás számával ellátott alábbi okmányokat csatolták e bizonyítványhoz:
... a traktor megfelelő részeinek vázlata vagy fényképe.
Ezen adatokat a többi tagállam illetékes hatóságainak kérésükre meg kell küldeni.
15. Megjegyzések:
...
...
VII. MELLÉKLET
A. RÉSZ
A hatályon kívül helyezett irányelv és egymást követő módosításainak listája
(lásd a 10. cikket)
| A Tanács 89/173/EGK irányelve (HL L 67., 1989.3.10., 1. o.) | |
| Az 1994. évi csatlakozási okmány I. mellékletének XI.C.II.7. pontja (HL C 241., 1994.8.29., 207. o.) | |
| Az Európai Parlament és a Tanács 97/54/EK irányelv (HL L 277., 1997.10.10., 24. o.) | kizárólag az 1. cikk, francia bekezdésében a 89/173/EGK irányelvre történő hivatkozást illetően | 
| A Bizottság 2000/1/EK irányelve (HL L 21., 2000.1.26., 16. o.) | |
| A 2003. évi csatlakozási okmány II. mellékletének I.A. 33. pontja (HL L 236., 2003.9.23., 62. o.) | |
| A Bizottság 2006/26/EK irányelve (HL L 65., 2006.3.7., 22. o.) | kizárólag a 4. cikkben és a IV. mellékletben a 89/173/EGK irányelvre történő hivatkozást illetően | 
| A Tanács 2006/96/EK határozata (HL L 363., 2006.12.20., 81. o.) | kizárólag az 1. cikkben és a melléklet A.31. pontjában a 89/173/EGK irányelvre történő hivatkozást illetően | 
B. RÉSZ
A nemzeti jogba való átültetésre és alkalmazásra előírt határidők listája
(lásd a 10. cikket)
| Irányelv | Az átültetés határideje | Az alkalmazás ideje | 
| 89/173/EGK | 1989. december 31. | — | 
| 97/54/EK | 1998. szeptember 22. | 1998. szeptember 23. | 
| 2000/1/EK | 2000. június 30. | — | 
| 2006/26/EK | 2006. december 31. (1) | — | 
| 2006/96/EK | 2007. január 1. | — | 
| (1)   A 2006/26/EK irányelv 5. cikkének megfelelően: „(1) 2007. január 1-jei hatállyal azokkal a járművekkel kapcsolatban, amelyek megfelelnek az ezen irányelvvel módosított 74/151/EGK, 78/933/EGK, 77/311/EGK és 89/173/EGK irányelvekben lefektetett követelményeknek, az érintett irányelv tárgyával kapcsolatos okok alapján a tagállamok: a) nem utasíthatják el EK-típusjóváhagyás vagy nemzeti típusjóváhagyás kiadását; b) nem tilthatják meg ilyen járművek nyilvántartásba vételét, értékesítését vagy forgalomba helyezését. (2) 2007. július 1-jei hatállyal azokkal a járművekkel kapcsolatban, amelyek nem felelnek meg az ezen irányelvvel módosított 74/151/EGK, 78/933/EGK, 77/311/EGK és 89/173/EGK irányelvekben lefektetett követelményeknek, az érintett irányelv tárgyával kapcsolatos okok alapján a tagállamok: a) nem adnak ki további EK-típusjóváhagyást; b) megtagadhatják a nemzeti típusjóváhagyás megadását. (3) 2009. július 1-jei hatállyal azokkal a járművekkel kapcsolatban, amelyek nem felelnek meg az ezen irányelvvel módosított 74/151/EGK, 78/933/EGK, 77/311/EGK és 89/173/EGK irányelvekben lefektetett követelményeknek, az érintett irányelv tárgyával kapcsolatos okok alapján a tagállamok: a) a 2003/37/EK irányelv rendelkezéseivel összhangban, a 7. cikk (1) bekezdésének alkalmazásában az ilyen új járművekhez kiadott megfelelőségi igazolásokat érvényüket vesztettnek kell tekinteniük; b) jogukban áll megtagadni az ilyen új járművek nyilvántartásba vételét, értékesítését vagy forgalomba helyezését.” | ||
VIII. MELLÉKLET
MEGFELELÉSI TÁBLÁZAT
| 89/173/EGK irányelv | 2006/26/EK irányelv | Ez az irányelv | 
| 1. cikk | 1. cikk | |
| 2. cikk (1) bekezdés, bevezető szavak | 5. cikk (1) bekezdés, bevezető szavak | 2. cikk (1) bekezdés, első albekezdés, bevezető szavak | 
| 2. cikk (1) bekezdés, az első francia bekezdéstől a hatodik francia bekezdésig | — | |
| 2. cikk (1) bekezdés, befejező fordulat | — | |
| 5. cikk (1) bekezdés, a) és b) pont | 2. cikk (1) bekezdés, első albekezdés, a) és b) pont | |
| 2. cikk (2) bekezdés | 2. cikk (1) bekezdés, második albekezdés | |
| — | 5. cikk (2) bekezdés | 2. cikk (2) bekezdés | 
| — | 5. cikk (3) bekezdés | 2. cikk (3) bekezdés | 
| 3 és 4. cikk | 3 és 4. cikk | |
| 5. cikk (1) bekezdés | 5. cikk, első bekezdés | |
| 5. cikk (2) bekezdés | 5. cikk, második és harmadik bekezdés | |
| 6–9. cikk | 6–9. cikk | |
| 10. cikk, (1) bekezdés | — | |
| 10. cikk, (2) bekezdés | 10. cikk | |
| — | 11. és 12. cikk | |
| 11. cikk | 13. cikk | |
| I–VI. melléklet | I–VI. melléklet | |
| — | VII. melléklet | |
| — | VIII. melléklet | 
( 1 ) HL C 182., 2009.8.4., 76. o..
( 2 ) Az Európai Parlament 2009. március 24-i véleménye (a Hivatalos Lapban még nem tették közzé.) és a Tanács 2009. november 26-i határozata.
( 3 ) HL L 67., 1989.3.10., 1. o.
( 4 ) Lásd a VII. melléklet A. részét.
( 5 ) HL L 171., 2003.7.9., 1. o.
( 6 ) A 97/836/EK tanácsi határozat (HL L 346., 1997.12.17., 78. o.) I. mellékleteként tették közzé.
( 7 ) A Tanács irányelve (1976. április 6.) a kerekes mezőgazdasági vagy erdészeti traktorok fékberendezéseire vonatkozó tagállami jogszabályok közelítéséről (HL L 122., 1976.5.8., 1. o.)
( 8 ) A nem kívánt rész törlendő.
( 9 ) Az Európai Parlament és a Tanács 2009. július 13-i 2009/60/EK irányelve a kerekes mezőgazdasági vagy erdészeti traktorok legnagyobb tervezési sebességéről és rakfelületéről (kodifikált változat) (HL L 198., 2009.7.30., 15. o.).
( 10 ) HL L 220., 1987.8.8., 1. o.
( 11 ) A Tanács irányelve (1980. június 24.) a kerekes mezőgazdasági vagy erdészeti traktorok kezelőterére, vezetőhelyéhez történő hozzáférésre, ajtajaira és ablakaira vonatkozó tagállami jogszabályok közelítéséről (HL L 194., 1980.7.28., 1. o.)
( 12 ) Az OECD mezőgazdasági és erdészeti traktorokra szerelt, leeső tárgyak ellen védő szerkezetekre vonatkozó szabványosított kódexe, 10. kódex - 2008. októberi C(2008) 128 OECD tanácsi határozat.
( 13 ) Ez az űrlap megtalálható a következő weboldalon: http://www.iso.org/iso/en/CatalogueDetailPage.CatalogueDetail?CSNUMBER=9021&ICS1=65&ICS2=60&ICS3=1
( 14 ) Ez az űrlap megtalálható a következő weboldalon: http://www.iso.org/iso/en/CatalogueDetailPage.CatalogueDetail?CSNUMBER=9021&ICS1=65&ICS2=60&ICS3=1
( 15 ) HL L 201., 2009.8.1., 18. o.
( 16 ) HL L 214., 2009.8.19., 23. o.
( 17 ) HL L 255., 1978.9.18., 1. o.
( 18 ) A nem kívánt rész törlendő.
( 19 ) A Tanács 92/22/EGK irányelve (1992. március 31.) a gépjárművek és pótkocsijaik biztonsági üvegezéséről és az üvegezésre használt anyagokról (HL L 129., 1992.5.14., 11. o.)
( 20 ) Az Európai Parlament és a Tanács 2008. január 15-i 2008/2/EK irányelve a kerekes mezőgazdasági vagy erdészeti traktorok látómezőjéről és szélvédőtörlőiről (kodifikált változat) (HL L 24., 2008.1.29., 30. o.).
( 21 ) Németország esetében = 1, Franciaország esetében = 2, Olaszország esetében = 3, Hollandia esetében = 4, Svédország esetében = 5, Belgium esetében = 6, Magyarország esetében = 7, a Cseh Köztársaság esetében = 8, Spanyolország esetében = 9, az Egyesült Királyság esetében = 11, Ausztria esetében = 12, Luxemburg esetében = 13, Finnország esetében = 17, Dánia esetében = 18, Románia esetében = 19, Lengyelország esetében = 20, Portugália esetében = 21, Görögország esetében = 23, Írország esetében = 24, Horvátország = 25, Szlovénia esetében = 26, Szlovákia esetében = 27, Észtország esetében = 29, Lettország esetében = 32, Bulgária esetében = 34 Litvánia esetében = 36, Ciprus esetében = 49, Málta esetében = 50.
( 22 ) A 2.3. pontban meghatározottak szerint.
( 23 ) A szilánkosodási vizsgálat eredményeit még akkor is rögzíteni kell, ha fényképre nincs szükség.
( 24 ) A nem kívánt rész törlendő.
( 25 ) E jegyzéket mellékelni kell e melléklet 1. és 2. függelékéhez (adott esetben), valamint a 3. és 5. függelékhez.
( 26 ) Alkalmas készüléket szállít a Teledyne Taber (Egyesült Államok).
( 27 ) Alkalmas koptatókerék szerezhető be a Teledyne Tabertől (Egyesült Államok).
( 28 ) E vizsgálati körülmények kizárják a kondenzációt a vizsgálati darabokon.
( 29 ) Nemzetközi Világítástechnikai Bizottság (Commission Internationale de l'Éclairage).
( 30 ) Az egyenletesen edzett üvegtáblák e típusa traktorok esetében szélvédőként is használható.
( 31 ) Az ilyen típusú rétegelt üvegtábla traktorok szélvédőjeként is használható.
( 32 ) Az ilyen üveg-műanyag tábla traktorok szélvédőjeként is használható.
( 33 ) A nem kívánt rész törlendő.
( 34 ) Az Európai Parlament és a Tanács 2009. július 13-i 2009/63/EK irányelve a kerekes mezőgazdasági vagy erdészeti traktorok egyes alkatrészeiről és jellemzőiről (kodifikált változat) (HL L 214., 2009.8.19., 23. o.).
( 35 ) Adott esetben jelezni kell, hogy ez az eredeti EK-alkatrésztípus-jóváhagyás első, második stb. kiterjesztése.
( 36 ) A nem kívánt rész törlendő.
( 37 ) Adott esetben jelezni kell, hogy ez az eredeti EK-típusjóváhagyás első, második stb. kiterjesztése.
( 38 ) A nem kívánt rész törlendő.
( 39 ) A nem kívánt rész törlendő.
( 40 ) A nem kívánt rész törlendő.
Lábjegyzetek:
[1] A dokumentum eredetije megtekinthető CELEX: 32009L0144 - https://eur-lex.europa.eu/legal-content/HU/ALL/?uri=CELEX:32009L0144&locale=hu Utolsó elérhető, magyar nyelvű konszolidált változat CELEX: 02009L0144-20130701 - https://eur-lex.europa.eu/legal-content/HU/ALL/?uri=CELEX:02009L0144-20130701&locale=hu