32011D0275[1]
2011/275/EU: A Bizottság határozata ( 2011. április 26. ) a hagyományos transzeurópai vasúti rendszer "infrastruktúra" alrendszerének átjárhatósági műszaki előírásairól (az értesítés a C(2011) 2741. számú dokumentummal történt)
A BIZOTTSÁG HATÁROZATA
(2011. április 26.)
a hagyományos transzeurópai vasúti rendszer "infrastruktúra" alrendszerének átjárhatósági műszaki előírásairól
(az értesítés a C(2011) 2741. számú dokumentummal történt)
(EGT-vonatkozású szöveg)
(2011/275/EU)
AZ EURÓPAI BIZOTTSÁG,
tekintettel az Európai Unió működéséről szóló szerződésre,
tekintettel a vasúti rendszer Közösségen belüli kölcsönös átjárhatóságáról szóló, 2008. június 17-i 2008/57/EK európai parlamenti és tanácsi irányelvre ( 1 ) és különösen annak 6. cikke (1) bekezdésére,
mivel:
(1) A vasúti rendszer a 2008/57/EK irányelv II. melléklete 2. cikkének e) pontjával összhangban strukturális és funkcionális, ezenbelül pedig infrastruktúra alrendszerre osztható.
(2) A Bizottság 2006. február 9-i C(2006) 124 végleges határozatával felhatalmazást adott az Európai Vasúti Ügynökségnek (a továbbiakban: az Ügynökség) a hagyományos transzeurópai vasúti rendszer kölcsönös átjárhatóságáról szóló, 2001. március 19-i 2001/16/EK európai parlamenti és tanácsi irányelv ( 2 ) szerinti átjárhatósági műszaki előírások (ÁME-k) kialakítására. Az Ügynökséget e felhatalmazás alapján felkérték a hagyományos vasúti rendszer infrastruktúra alrendszerére vonatkozó ÁME megszövegezésére.
(3) Az átjárhatósági műszaki előírások (ÁME) a 2008/57/EK irányelvnek megfelelően elfogadott előírások. A mellékletben található ÁME az infrastruktúra alrendszerre vonatkozik, célja pedig az alapvető követelmények teljesítése és a vasúti rendszer kölcsönös átjárhatóságának biztosítása.
(4) A mellékletben található ÁME nem biztosít teljes körű szabályozást valamennyi alapvető követelmény tekintetében. A 2008/57/EK irányelv 5. cikkének (6) bekezdésével összhangban az ÁME F. melléklete nyitott kérdésként tünteti fel mindazokat a műszaki szempontokat, amelyeket az ÁME nem szabályoz.
(5) A mellékletben található ÁME-nek az Európai Parlament és a Tanács 2008/57/EK irányelve alapján elfogadott, az átjárhatósági műszaki előírások keretében alkalmazandó megfelelőségértékelési, alkalmazhatósági és EK-hitelesítési eljárások moduljairól szóló, 2010. november 9-i 2010/713/EU bizottsági határozatra ( 3 ) kell hivatkoznia.
(6) A tagállamoknak a 2008/57/EK irányelv 17. cikke (3) bekezdésének megfelelően értesíteniük kell a Bizottságot és a többi tagállamot az egyes esetekben használandó megfelelőségértékelési és hitelesítési eljárásokról, valamint az ezek elvégzéséért felelős szervezetekről.
(7) A mellékletben található ÁME az infrastruktúra alrendszerekre adott esetben irányadó más ÁME-k rendelkezéseivel nem ütközhet.
(8) A mellékletben található ÁME külön technológiák vagy műszaki megoldások alkalmazását csak abban az esetben írhatja elő, ha ez a vasúti rendszernek az Unión belüli kölcsönös átjárhatóságához feltétlenül szükséges.
(9) A mellékletben található ÁME-nek a 2008/57/EK irányelv 11. cikkének (5) bekezdésével összhangban - bizonyos feltételek teljesülése esetén - korlátozott ideig lehetővé kell tennie a kölcsönös átjárhatóságot lehetővé tevő rendszerelemeknek az alrendszerekbe hitelesítés nélkül történő beépítését.
(10) Az innováció további ösztönzése és a felhalmozott tapasztalatok figyelembevétele céljából a mellékletben található ÁME-t bizonyos időközönként felül kell vizsgálni.
(11) Az ebben a határozatban előírt intézkedések összhangban vannak a 2008/57/EK irányelv 29. cikke (1) bekezdésében létrehozott bizottság véleményével,
ELFOGADTA EZT A HATÁROZATOT:
1. cikk
A Bizottság elfogadja a hagyományos transzeurópai vasúti rendszer infrastruktúra alrendszerének átjárhatósági műszaki előírásait (ÁME).
Az ÁME e határozat mellékletében található.
2. cikk
Ez az ÁME a 2008/57/EK irányelv I. mellékletében meghatározott hagyományos transzeurópai vasúti rendszer valamennyi új, korszerűsített vagy felújított infrastruktúrájára vonatkozik.
3. cikk
(1) Az ÁME F. mellékletében nyitott kérdésként meghatározott témakörök tekintetében a kölcsönös átjárhatóságnak a 2008/57/EK irányelv 17. cikkének (2) bekezdése szerinti hitelesítése esetén teljesítendő feltételek a határozat hatálya alá tartozó alrendszert üzembe helyező tagállamban használt, alkalmazandó műszaki szabályokban meghatározott feltételek.
(2) A határozatról szóló értesítéstől számított hat hónapon belül minden tagállam értesíti a többi tagállamot és a Bizottságot a következőkről:
a) az (1) bekezdésben említett műszaki szabályok;
b) az (1) bekezdésben említett műszaki szabályok alkalmazása tekintetében alkalmazandó megfelelőségértékelési és ellenőrzési eljárások;
c) az (1) bekezdésben említett nyitott kérdések tekintetében a megfelelőségértékelési és ellenőrzési eljárások elvégzésére kijelölt szervek.
4. cikk
(1) A tagállamok meghatározzák, hogy az ÁME 4.2.1. szakaszában megadott kategóriák alapján az 1692/96/EK európai parlamenti és tanácsi határozatban ( 4 ) létrehozott hagyományos transzeurópai vasúti rendszer mely vonalai minősülnek rendeltetésük szerint TEN-törzsvonalnak vagy egyéb TEN-vonalnak. A tagállamok ezeket az adatokat a bizottsági határozat alkalmazásának időpontjától számított egy éven belül bejelentik a Bizottságnak.
(2) A Bizottság az Ügynökséggel és a tagállamokkal együttműködve összehangolja az (1) bekezdésben említett minősítést, különösen a határátkelőhelyek és az Európai Vasúti Forgalomirányítási Rendszerre vonatkozóan a 2009/561/EK bizottsági határozatban ( 5 ) említett európai megvalósítási terv tekintetében.
(3) Az összehangolás eredményeként kialakítandó végső minősítést a 96/48/EK tanácsi irányelvben ( 6 ) létrehozott bizottság megvizsgálja, majd azt az Ügynökség annak megvitatását követően közzéteszi.
(4) A tagállamok a nemzeti átállási tervük meghatározása során figyelembe veszik az Ügynökség által közzétett minősítést.
5. cikk
A mellékletben található ÁME 6. fejezetében meghatározott, a megfelelőség és a használatra való alkalmasság értékelésére és az EK-hitelesítésre vonatkozó eljárások alapját a 2010/713/EU határozatban meghatározott modulok képezik.
6. cikk
(1) A melléklet 6.6. szakaszában meghatározott rendelkezések teljesülése esetén egy tízéves átmeneti időszak alatt EK-ellenőrzési tanúsítvány állítható ki olyan alrendszerek tekintetében, amelyek EK-megfelelőségi nyilatkozattal vagy EK-alkalmazhatósági nyilatkozattal nem rendelkező, kölcsönös átjárhatóságot lehetővé tevő rendszerelemeket tartalmaznak.
(2) A kölcsönös átjárhatóságot lehetővé tevő, nem hitelesített rendszerelemeket igénybe vevő alrendszer korszerűsítésének/felújításának - az üzembe helyezést is ideértve - az átmeneti időszakon belül be kell fejeződnie.
(3) Az átmeneti időszak alatt a tagállamok:
a) az (1) bekezdésben említett ellenőrzési eljárás során megfelelően megjelölik a kölcsönös átjárhatóságot lehetővé tevő rendszerelem hitelesítése hiányának okait;
b) gondoskodnak arról, hogy a nemzeti biztonsági hatóságok által készített, a 2004/49/EK európai parlamenti és tanácsi irányelv ( 7 ) 18. cikkében említett jelentés tartalmazza a kölcsönös átjárhatóságot lehetővé tevő, nem hitelesített rendszerelemek leírását és a hitelesítés hiányának okait, beleértve a 2008/57/EK irányelv 17. cikke szerint értesített nemzeti szabályok alkalmazását is.
(4) A kölcsönös átjárhatóságot lehetővé tevő rendszerelemeknek az átmeneti időszakot követően, illetve a karbantartás tekintetében a 6.6.3. szakaszban engedélyezett kivételekre figyelemmel kötelező EK-megfelelőségi, illetve EK-alkalmazhatósági nyilatkozatokkal kell rendelkezniük, az alrendszerbe történő beépítésüket megelőzően.
7. cikk
A 2008/57/EK irányelv 5. cikke (3) bekezdésének f) pontjával összhangban a mellékletben található ÁME 7. fejezete határozza meg a teljes mértékben átjárható infrastruktúra alrendszerre történő átállásra szolgáló stratégiát. Ezt az átállást az említett irányelv 20. cikkével összhangban kell végrehajtani, amely meghatározza az ÁME felújítási és korszerűsítési beruházásokra történő alkalmazásának alapelveit. A tagállamok három évvel e határozat hatálybalépését követően jelentésben értesítik a Bizottságot a 2008/57/EK irányelv 20. cikkének végrehajtásáról. A jelentést a 2008/57/EK irányelv 29. cikke alapján létrehozott bizottság keretében vitatják meg, és szükség esetén módosítják a mellékletben található ÁME-t.
8. cikk
(1) Az ÁME 7. fejezetében különleges esetként meghatározott kérdések tekintetében a kölcsönös átjárhatóságnak a 2008/57/EK irányelv 17. cikkének (2) bekezdése szerinti hitelesítése esetén teljesítendő feltételek a határozat hatálya alá tartozó alrendszert üzembe helyező tagállamban alkalmazott műszaki szabályok.
(2) A határozatról szóló értesítéstől számított hat hónapon belül minden tagállam értesíti a többi tagállamot és a Bizottságot a következőkről:
a) az (1) bekezdésben említett műszaki szabályok;
b) az (1) bekezdésben említett műszaki szabályok alkalmazása vonatkozásában alkalmazandó megfelelőségértékelési és ellenőrzési eljárások;
c) az (1) bekezdésben említett különleges esetek tekintetében a megfelelőségértékelési és ellenőrzési eljárások elvégzésére kijelölt szervek.
9. cikk
A határozatot 2011. június 1-jétől kell alkalmazni.
10. cikk
Ennek a határozatnak a tagállamok a címzettjei.
Melléklet
A VASÚTI RENDSZER KÖZÖSSÉGEN BELÜLI KÖLCSÖNÖS ÁTJÁRHATÓSÁGÁRÓL SZÓLÓ 2008/57/EK IRÁNYELV
KÖLCSÖNÖS ÁTJÁRHATÓSÁGI MŰSZAKI ELŐÍRÁS
A transzeurópai hagyományos vasúti rendszer "infrastruktúra" alrendszere
1. BEVEZETÉS
1.1. Műszaki hatály
Ez az ÁME a hagyományos transzeurópai vasúti rendszer infrastruktúra alrendszerével, részben pedig karbantartás alrendszerével foglalkozik. Ezeket az alrendszereket a 2008/57/EK irányelv II. mellékletének (1) bekezdése sorolja fel.
1.2. Területi hatály
Ezen ÁME hatálya a 2008/57/EK irányelv I. mellékletének 1.1. pontjában leírtaknak megfelelő hagyományos transzeurópai vasúti rendszerre terjed ki.
1.3. AZ ÁME tartalma
A 2008/57/EK irányelv 5. cikkének (3) bekezdésével összhangban ez az ÁME:
a) ismerteti tervezett hatályát (2. fejezet);
b) megállapítja az infrastruktúra alrendszer alapvető követelményeit (3. fejezet);
c) megállapítja az alrendszer és annak más alrendszerekkel való kapcsolódási pontjai által teljesítendő működési és műszaki előírásokat (4. fejezet);
d) meghatározza azokat az európai előírások, köztük az európai szabványok hatálya alá tartozó kölcsönös átjárhatóságot lehetővé tevő rendszerelemeket és interfészeket, amelyek a hagyományos transzeurópai vasúti rendszeren belüli kölcsönös átjárhatóság eléréséhez szükségesek (5. fejezet);
e) megállapítja valamennyi érintett esetet illetően a megfelelőség vagy az alkalmazhatóság értékelésére vonatkozó eljárásokat, amelyek a kölcsönös átjárhatóságot lehetővé tevő rendszerelemek megfelelőségének vagy alkalmazhatóságának vizsgálatakor és az alrendszerek EK-hitelesítésekor alkalmazandók (6. fejezet);
f) ismerteti az ÁME végrehajtásának stratégiáját (7. fejezet);
g) az érintett személyzet vonatkozásában feltünteti az alrendszer működéséhez és karbantartásához, valamint az ÁME végrehajtásához szükséges szakmai alkalmasságot, illetve a munkahelyi egészségre és biztonságra vonatkozó feltételeket (4. fejezet).
A 2008/57/EK irányelv 5. cikkének (5) bekezdésével összhangban a különleges esetekre vonatkozó rendelkezések a 7. fejezetben találhatók.
Ez az ÁME a 4. fejezetben a fenti 1.1. és 1.2. bekezdésben meghatározott hatályra vonatkozó üzemeltetési és karbantartási szabályokat is megállapítja.
2. AZ ALRENDSZER MEGHATÁROZÁSA ÉS HATÁLYA
2.1. Az infrastruktúra alrendszer meghatározása
Ezen ÁME hatálya a következőkre terjed ki:
a) az infrastruktúra mint strukturális alrendszer;
b) a karbantartás funkcionális alrendszernek az infrastruktúra alrendszerre vonatkozó része (azaz: a vonatok külső tisztítására szolgáló mosóberendezések, vízfeltöltő berendezések, helyhez kötött mosdóürítő berendezések és pályamenti áramellátás).
Az infrastruktúra alrendszer összetevőinek leírása a 2008/57/EK irányelv II. mellékletében (2.1 Infrastruktúra) található.
Ezért ezen ÁME hatálya az infrastruktúra alrendszer következő vonatkozásaira terjed ki:
a) vonalkialakítás,
b) vágányparaméterek;
c) kitérők;
d) a vágány állékonysága alkalmazott terhelések esetén;
e) a műtárgyak állékonysága forgalmi terhelés esetén;
f) a vágány geometriai minősége és határértékei a lokális hibákon;
g) peronok;
h) egészségvédelmi, biztonsági és környezetvédelmi feltételek;
i) az üzemeltetésre vonatkozó rendelkezések;
j) a vonatokat kiszolgáló helyhez kötött berendezések.
A további részleteket ezen ÁME 4.2.3. pontja tartalmazza.
2.2. Ezen ÁME más ÁME-kkel való kapcsolódási pontjai
A vonatkozó ÁME-kben meghatározott következő alrendszerekkel való kapcsolódási pontok működési és műszaki előírásait ezen ÁME 4.3. szakasza fejti ki:
a) járművek alrendszer;
b) energiaellátás alrendszer;
c) ellenőrző-irányító és jelzőrendszerek alrendszer;
d) forgalmi műveletek és forgalomirányítás alrendszer.
A mozgáskorlátozott személyekre vonatkozó ÁME-vel való kapcsolódási pontokat az alábbi 2.3. szakasz ismerteti.
A vasúti alagutak biztonságára vonatkozó ÁME-vel való kapcsolódási pontokat az alábbi 2.4. szakasz ismerteti.
2.3. Kapcsolódási pontok a mozgáskorlátozott személyekre vonatkozó ÁME-vel
A vasúti rendszer mozgáskorlátozott személyek általi hozzáférhetősége tekintetében az infrastruktúra alrendszerre vonatkozó valamennyi követelményt a mozgáskorlátozott személyekre vonatkozó ÁME állapítja meg.
Ezért ez az ÁME az infrastruktúra alrendszer ilyen vonatkozásai tekintetében nem tartalmaz követelményeket.
2.4. Kapcsolódási pontok a vasúti alagutak biztonságára vonatkozó ÁME-vel
Az infrastruktúra alrendszerek biztonságával kapcsolatos összes követelményt a vasúti alagutak biztonságára vonatkozó ÁME állapítja meg.
Ezért ez az ÁME az infrastruktúra alrendszer ilyen vonatkozásai tekintetében nem tartalmaz követelményeket.
2.5. A zajra vonatkozó ÁME hatályának az infrastruktúrára való kiterjesztése
Ezen ÁME hatálya a "járművek - zaj" alrendszerre vonatkozó átjárhatósági műszaki előírásokban említett javaslat elfogadásáig nem terjed ki a zajcsökkentésre, és az említett javaslat a következőket írja elő:
"A »járművek - zaj« alrendszerre vonatkozó átjárhatósági műszaki előírás
A 2005. december 23-i bizottsági határozat (2006/66/EK)
Ez a határozat 6 hónappal a róla szóló értesítés megtételét követően lép életbe.
7.2. Az ÁME felülvizsgálata
... az EK legkésőbb a jelen ÁME hatálybalépésének napjától számított hét év elteltével jelentést nyújt be a 27. cikk szerinti bizottságnak, és szükség esetén javaslatot tesz a jelen ÁME felülvizsgálatára az alábbi kérdéskörökben:
5. az infrastruktúra belefoglalása a zaj ÁME hatályába az Infrastruktúra ÁME-vel összehangolva;"
3. ALAPVETŐ KÖVETELMÉNYEK
A következő táblázat a 2008/57/EK irányelv III. mellékletében meghatározott és a 4. fejezet szerinti alapvető paraméterek útján teljesülő alapvető követelményeket ismerteti.
1. táblázat
Az infrastruktúra alrendszer alapvető követelményeknek megfeleltethető alapvető paraméterei
| Szakasz | A hagyományos vasúti infrastruktúra alrendszer alapvető paraméterei | Biztonság | Megbízhatóság és rendel-kezésre állás | Egészségvédelem | Környezetvédelem | Műszaki összeegyeztethetőség |
| 4.2.4.1 | Űrszelvény | 1.1.1 | 1.5–§1 | |||
| 4.2.4.2 | Vágánytengely-távolság | 1.1.1 | 1.5 | |||
| 4.2.4.3 | Legnagyobb lejtés | 1.1.1 | 1.5–§1 | |||
| 4.2.4.4 | Legkisebb vízszintes ívsugár | 1.5–§1 | ||||
| 4.2.4.5 | Legkisebb függőleges ívsugár | 1.5–§1 | ||||
| 4.2.5.1 | Névleges nyomtávolság | 1.5–§1 | ||||
| 4.2.5.2 | Túlemelés | 1.1.1 | ||||
| 4.2.5.3 | Túlemelés változási sebessége | 1.5–§1 | ||||
| 4.2.5.4 | Túlemelés-hiány | 1.1.1 | 1.5–§1 | |||
| 4.2.5.5 | Egyenértékű kúposság | 1.1.1, 1.1.2 | 1.5 | |||
| 4.2.5.6 | Sínfejprofil nyíltvonali és állomási átmenő fővágányhoz | 1.1.1, 1.1.2 | 1.5–§1 | |||
| 4.2.5.7 | Síndőlés | 1.1.1, 1.1.2 | 1.5–§1 | |||
| 4.2.5.8 | Keretmerevség | 1.5 | ||||
| 4.2.6.1 | Végállásrögzítő eszközök | 1.1.1, 1.1.2 | ||||
| 4.2.6.2 | Kitérők üzem közbeni geometriája | 1.1.1, 1.1.2 | 1.2 | 1.5 | ||
| 4.2.6.3 | Fixtompaszögű kereszteződések maximális vezetetlen hossza | 1.1.1, 1.1.2 | 1.5 | |||
| 4.2.7.1 | A vágány függőleges irányú terheléssel szembeni ellenállása | 1.1.1, 1.1.2, 1.1.3 | 1.5–§1 | |||
| 4.2.7.2 | A vágány hosszanti erőkkel szembeni ellenállása | 1.1.1, 1.1.2, 1.1.3 | 1.5–§1 | |||
| 4.2.7.3 | A vágány keresztirányú erőkkel szembeni ellenállása | 1.1.1, 1.1.2, 1.1.3 | 1.5–§1 | |||
| 4.2.8.1 | Új hidak forgalmi terheléssel szembeni ellenállása | 1.1.1, 1.1.3 | 1.5–§1 | |||
| 4.2.8.2. | Új alépítmények egyenértékű függőleges irányú terhelése és talajnyomásbeli hatások | 1.1.1, 1.1.3 | 1.5–§1 | |||
| 4.2.8.3. | Vágányok feletti vagy melletti új műtárgyak ellenállása | 1.1.1, 1.1.3 | 1.5–§1 | |||
| 4.2.8.4. | Meglévő hidak és alépítmények forgalmi terheléssel szembeni ellenállása | 1.1.1, 1.1.3 | 1.5–§1 | |||
| 4.2.9.1. | Azonnali beavatkozási, beavatkozási és riasztási határértékek meghatározása | 1.1.1, 1.1.2 | 1.2 | 1.5–§1 | ||
| 4.2.9.2. | Azonnali beavatkozási határérték síktorzulás esetére | 1.1.1, 1.1.2 | 1.2 | 1.5–§1 | ||
| 4.2.9.3. | Azonnali beavatkozási határérték nyomtávolság-ingadozás esetére | 1.1.1, 1.1.2 | 1.2 | 1.5–§1 | ||
| 4.2.9.4. | Azonnali beavatkozási határérték túlemelés esetére | 1.1.1 | 1.2 | 1.5–§1 | ||
| 4.2.10.1. | A peronok hasznos hossza | 1.5 | ||||
| 4.2.10.2. | Peronok szélessége és széle | 1.1.1 | ||||
| 4.2.10.3. | A peronok vége | 1.1.1 | ||||
| 4.2.10.4. | A peronok magassága | 1.1.1, 2.1.1–§3 | 1.5–§1 | |||
| 4.2.10.5. | Peronkinyúlás | 1.1.1, 2.1.1–§3 | 1.5–§1 | |||
| 4.2.11.1. | Maximális nyomáskülönbség alagutakban | 2.1.1–§ 2, 2.1.1–§ 4 | ||||
| 4.2.11.2. | Zaj- és vibrációs határértékek és csökkentési intézkedések | 1.4.1, 1.4.4, 1.4.5 | ||||
| 4.2.11.3. | Áramütés elleni védelem | 2.1.1–§3 | ||||
| 4.2.11.4. | Vasúti alagutak biztonsága | 1.1.1, 1.1.4,2.1.1–§1, 2.1.1–§4 | 1.3 | 1.4.2 | ||
| 4.2.11.5. | Az oldalszél hatása | 1.1.1 | ||||
| 4.2.12.1. | Szelvényjelzők | 1.2 | ||||
| 4.2.13.2. | Illemhelyürítés | 1.2 | 1.3.1 | 1.5–§1 | ||
| 4.2.13.3. | A vonatok külső tisztítási eszközei | 1.2 | 1.5–§1 | |||
| 4.2.13.4. | Vízfeltöltés | 1.2 | 1.3.1 | 1.5–§1 | ||
| 4.2.13.5. | Üzemanyag-feltöltés | 1.2 | 1.3.1 | 1.5–§1 | ||
| 4.2.13.6. | Pályamenti áramellátás | 1.2 | 1.5–§1 | |||
| 4.4.1. | Előre tervezett munkákkal kapcsolatos rendkívüli körülmények | 1.2 | ||||
| 4.4.2. | Korlátozott üzemmód | 1.2 | ||||
| 4.4.3. | A dolgozók védelme az aerodinamikai hatások ellen | 2.1.1–§2 | ||||
| 4.5. | Karbantartási terv | 1.2 | ||||
| 4.6. | Szakmai alkalmasság | 1.1.5 | 1.2 | |||
| 4.7. | Egészségvédelmi és biztonsági feltételek | 2.1.1–§2, 2.1.1–§3, 2.1.1–§4 | 1.2 | 1.3 | 1.4.2 | 1.5 |
4. AZ INFRASTRUKTÚRA ALRENDSZER LEÍRÁSA
4.1. Bevezetés
(1) A hagyományos transzeurópai vasúti rendszer, amelyre a 2008/57/EK irányelv alkalmazandó, és amelynek az infrastruktúra- és a karbantartás alrendszer részét képezi, egy integrált rendszer, amelynek koherenciáját igazolni kell a rendszer alapvető követelményeket érintő kölcsönös átjárhatóságának biztosítása érdekében.
(2) Az irányelv 5. cikkének (7) bekezdése előírja, hogy az "ÁME-k nem akadályozhatják a tagállamokat az ÁME-kben nem említett járművek mozgatására szolgáló infrastruktúra használatára vonatkozó döntések meghozatalában."
Ezért amikor új vagy korszerűsített hagyományos vonalat terveznek, figyelembe kell venni minden vonatot, amelyek engedélyt kaphatnak a vonal használatára.
(3) Az ezen ÁME-ben megállapított határértékek nem arra szolgálnak, hogy azokat szokásos tervezési értékként előírják. A tervezési értékeknek azonban az ezen ÁME-ben megállapított határokon belül kell lenniük.
(4) Az alrendszer funkcionális és műszaki előírásai és annak kapcsolódási pontjai, amelyek leírása a 4.2. és a 4.3. szakaszban található, nem teszik kötelezővé meghatározott technológiák vagy műszaki megoldások alkalmazását, kivéve, ha ez a hagyományos transzeurópai vasúthálózat átjárhatóságához mindenképpen szükséges. Az átjárhatóság innovatív megoldásai azonban új előírásokat, illetve új vizsgálati módszereket követelhetnek meg. A műszaki innováció lehetővé tétele érdekében ezen előírások és vizsgálati módszerek kidolgozása a 6.2.3. szakaszban ismertetett folyamat szerint történik.
4.2. Az alrendszerre vonatkozó funkcionális és műszaki előírások
4.2.1. ÁME-vonalkategóriák
(1) Az irányelv I. melléklete (1.1. pont) elismeri, hogy a hagyományos vasúti hálózat több kategóriára osztható. Az átjárhatóság költséghatékony megvalósítása érdekében ez az ÁME "ÁME-vonalkategóriákat" határoz meg. Ez az ÁME minden ÁME-vonalkategóriához különböző funkcionális és műszaki előírásokat állapít meg.
(2) A transzeurópai nagy sebességű vasúti rendszer valamennyi itt felsorolt ÁME-vonalkategóriájára vonatkozóan szükség szerint meghatározásra kerülnek azok a követelmények, amelyeket az infrastruktúra alrendszernek ki kell elégítenie. Ezek az ÁME-vonalkategóriák a meglévő vonalak osztályozásához is használhatók, amennyiben a vonatkozó teljesítményparamétereket a nemzeti átállási tervvel összhangban teljesítik.
2. táblázat
A hagyományos vasúti infrastruktúra alrendszer ÁME-vonalkategóriái
| ÁME-vonalkategóriák | A forgalom formái | |||
| Utasforgalom (P) | Teherforgalom (F) | Vegyes forgalom (M) | ||
| Vonaltípusok | Új TEN-törzsvonal (IV) | IV-P | IV-F | IV-M |
| Korszerűsített TEN-törzsvonal (V) | V-P | V-F | V-M | |
| Más új TEN-vonal (VI) | VI-P | VI-F | VI-M | |
| Más korszerűsített TEN-vonal (VII) | VII-P | VII-F | VII-M | |
(3) Felhívjuk a figyelmet, hogy a személyszállítási csomópontok, az árufuvarozási csomópontok és a csatlakozó vonalak adott esetben a fenti ÁME-vonalkategóriák részét képezik.
4.2.2. Teljesítményparaméterek
(1) A 4.2.1. szakaszban meghatározott ÁME-vonalkategóriák teljesítményszintjét a következő teljesítményparaméterek jellemzik.
a) nyomtáv;
b) tengelyterhelés;
c) pályasebesség;
d) a vonat hossza.
(2) Az egyes ÁME-vonalkategóriák teljesítményszintjeit az alábbi 3. táblázat határozza meg.
3. táblázat
ÁME-vonalkategóriák teljesítményparaméterei
| Űrszelvény | Tengelyterhelés (t) | Pályasebesség (km/h) | A vonat hossza (m) | ||
| ÁME-vonalkategóriák | IV-P | GC | 22,5 | 200 | 400 |
| IV-F | GC | 25 | 140 | 750 | |
| IV-M | GC | 25 | 200 | 750 | |
| V-P | GB | 22,5 | 160 | 300 | |
| V-F | GB | 22,5 | 100 | 600 | |
| V-M | GB | 22,5 | 160 | 600 | |
| VI-P | GB | 22,5 | 140 | 300 | |
| VI-F | GC | 25 | 100 | 500 | |
| VI-M | GC | 25 | 140 | 500 | |
| VII-P | GA | 20 | 120 | 250 | |
| VII-F | GA | 20 | 100 | 500 | |
| VII-M | GA | 20 | 120 | 500 | |
| Megjegyzések: (P) = utasforgalom (F) = teherforgalom (M) = vegyes forgalom A GA, a GB és a GC űrszelvény az EN 15273-3:2009 szabvány C. mellékletében meghatározottak szerint | |||||
(3) A 2008/57/EK irányelv 5. cikkének 7. pontja szerint:
"Az ÁME-k nem akadályozhatják a tagállamokat az ÁME-kben nem említett járművek mozgatására szolgáló infrastruktúra használatára vonatkozó döntések meghozatalában."
Ezért megengedett olyan új és korszerűsített vonalak tervezése, amelyek a megadottnál nagyobb űrszelvény, nagyobb tengelyterhelés, magasabb sebesség és hosszabb vonatok kiszolgálására képesek.
(4) A vonal egyes meghatározott részeit a 3. táblázatban meghatározottaktól eltérő pályasebességre és vonathosszra is lehet tervezni, amennyiben azt földrajzi, várostervezési vagy környezetvédelmi korlátozások indokolják.
(5) Az ezen ÁME minimumkövetelményeinek megfelelően tervezett infrastruktúra a maximális sebesség és maximális tengelyterhelés együttesen történő elérésére nem ad lehetőséget. Az infrastruktúra csak a 3. táblázatban meghatározott tengelyterhelés alatt használható maximális sebességen, maximális tengelyterheléssel pedig ugyanígy csak a 3. táblázatban meghatározott alatti sebességen használható.
4.2.3. Az infrastruktúra alrendszert jellemző alapvető paraméterek
4.2.3.1. Alapvető paraméterek jegyzéke
(1) Az infrastruktúra alrendszert jellemző, a 2.1. szakaszban felsorolt szempontok szerint csoportosított alapvető paraméterek a következők:
A. Vonalkialakítás:
a) űrszelvény (4.2.4.1.);
b) vágánytengely-távolság (4.2.4.2.);
c) legnagyobb lejtés (4.2.4.3);
d) legkisebb vízszintes ívsugár (4.2.4.4);
e) legkisebb függőleges ívsugár (4.2.4.5.).
B. Vágányparaméterek:
f) névleges nyomtávolság (4.2.5.1.);
g) túlemelés (4.2.5.2.);
h) túlemelés változási sebessége (az idő függvényében) (4.2.5.3.);
i) túlemeléshiány (4.2.5.4.);
j) egyenértékű kúposság (4.2.5.5.);
k) sínfejprofil nyíltvonali és állomási átmenő fővágányhoz (4.2.5.6.);
l) síndőlés (4.2.5.7.);
m) keretmerevség (4.2.5.8.).
C. Kitérők
n) zárszerkezetek (4.2.6.1.);
o) kitérők üzem közbeni geometriája (4.2.6.2.);
p) fix tompaszögű kereszteződések maximális vezetetlen hossza (4.2.6.3.).
D. A vágány alkalmazott terheléssel szembeni ellenállása
q) a vágány függőleges irányú terheléssel szembeni ellenállása (4.2.7.1.);
r) a vágány hosszanti erőkkel szembeni ellenállása (4.2.7.2.);
s) a vágány keresztirányú erőkkel szembeni ellenállása (4.2.7.3.).
E. A műtárgyak forgalmi terheléssel szembeni ellenállása
t) új hidak forgalmi terheléssel szembeni ellenállása (4.2.8.1.);
u) új alépítmények egyenértékű függőleges irányú terhelése és talajnyomásbeli hatások (4.2.8.2.);
v) vágányok feletti vagy melletti új műtárgyak ellenállása (4.2.8.3.);
w) meglévő hidak és alépítmények forgalmi terheléssel szembeni ellenállása (4.2.8.4.).
F. A vágány geometriai minősége és határértékei a lokális hibákon
x) azonnali beavatkozási, beavatkozási és riasztási határértékek meghatározása (4.2.9.1.);
y) azonnali beavatkozási határérték síktorzulás esetére (4.2.9.2.);
z) azonnali beavatkozási határérték nyomtávolság-ingadozás esetére (4.2.9.3.);
aa) azonnali beavatkozási határérték túlemelés esetére (4.2.9.4.).
G. Peronok
bb) a peronok hasznos hossza (4.2.10.1.);
cc) a peronok szélessége és széle (4.2.10.2.);
dd) a peronok vége (4.2.10.3.);
ee) a peronok magassága (4.2.10.4.);
ff) peronkinyúlás (4.2.10.5.).
H. Egészségvédelmi, biztonsági és környezetvédelmi feltételek
gg) maximális nyomáskülönbség alagutakban (4.2.11.1.);
hh) zaj és vibrációs határértékek és csökkentési intézkedések (4.2.11.2.);
ii) áramütés elleni védelem (4.2.11.3.);
jj) vasúti alagutak biztonsága (4.2.11.4.);
kk) az oldalszél hatása (4.2.11.5.).
I. Az üzemeltetésre vonatkozó rendelkezések
ll) szelvényjelzők (4.2.12.1.).
J. A vonatokat kiszolgáló helyhez kötött berendezések
mm) illemhelyürítés (4.2.13.2.);
nn) a vonatok külső tisztítási eszközei (4.2.13.3.);
oo) vízfeltöltés (4.2.13.4.);
pp) üzemanyag-feltöltés (4.2.13.5.);
qq) pályamenti áramellátás (4.2.13.6.).
4.2.3.2. Az alapvető paraméterekre vonatkozó követelmények
(1) Ezeket a követelményeket a következő bekezdések ismertetik, minden olyan külön feltétellel együtt, amelyek az érintett paraméterekre és kapcsolódási pontokra engedélyezhetők.
(2) Ezen ÁME 4. fejezetének minden követelménye és előírása a normál európai nyomtávolsággal épült vonalakra van megadva a 4.2.5.1. pontban az ezen ÁME-nek megfelelő vonalakra vonatkozóan meghatározottak szerint.
(3) A túlemelésre, a túlemelés változási sebességére és a síktorzulásra vonatkozó előírásokat az 1 435 mm névleges nyomtávolságú vonalakra kell alkalmazni. Más névleges nyomtávolságú vonalak esetén e paraméterek határértékeit a sínek közötti névleges távolság arányában kell meghatározni.
(4) Több sínből álló vágányok esetén ezen ÁME követelményeit a külön vágányként történő üzemre tervezett minden sínpárra önállóan kell alkalmazni.
(5) A különleges esetet jelentő - többek között más nyomtávolságra épített - vonalakra vonatkozóan meghatározott követelményeket a 7.6. pont írja le.
(6) Az eltérő névleges nyomtávolságok közötti átmeneti ívet biztosító eszközökkel felszerelt rövid vágányszakasz megengedett.
(7) A leírt követelmények a rendes üzemeltetési körülmények közötti alrendszerre vonatkoznak. Adott esetben az olyan munkavégzés következményeivel, amelyekhez az alrendszer teljesítménye tekintetében ideiglenes kivételekre lehet szükség, a 4.4. pont foglalkozik.
(8) A hagyományos vonatok teljesítménye egyedi rendszerek, például billenőszekrényes rendszer elfogadásával fokozható. Az ilyen vonatok közlekedésére különleges feltételek vonatkozhatnak, amennyiben ez nem jár korlátozásokkal ugyanazon a vonalon az ilyen rendszerrel nem felszerelt más vonatok tekintetében.
4.2.4. Vonalkialakítás
4.2.4.1. Űrszelvény
(1) Az űrszelvényt az ezen ÁME 3. táblázatában meghatározott űrszelvények alapján kell meghatározni.
(2) Az űrszelvény kiszámítását az EN 15273-3:2009 szabvány 5., 7., 10. fejezete és C. melléklete követelményeinek megfelelő kinematikus módszerrel kell meghatározni.
(3) Villamos felső vezetékek esetén az áramszedő űrszelvényeit a hagyományos vasút energia alrendszerére vonatkozó ÁME határozza meg.
4.2.4.2. Vágánytengely-távolság
(1) A vágánytengely-távolságot az ezen ÁME 3. táblázatában meghatározott űrszelvény alapján kell meghatározni.
(2) A vágánytengely-távolság tekintetében adott esetben az aerodinamikai hatásokat is figyelembe kell venni. Nyitott kérdést jelentenek az aerodinamikai hatások figyelembevételére vonatkozó szabályok és az a vágánytengely-távolság, amelynél az aerodinamikai hatásokat figyelembe kell venni.
4.2.4.3. Legnagyobb lejtés
(1) A tervezési szakaszban a fővágányokra az alábbi "keret"-követelmények teljesülése esetén 35 mm/m meredekségű lejtési szögeket lehet engedélyezni:
a) a mozgó átlagprofil lejtése 10 km-en legfeljebb 25 mm/m;
b) a folyamatos 35 mm/m emelkedő legfeljebb 6 km hosszú szakaszon tart.
(2) A fővágányok lejtése az utasperonok mellett nem lehet nagyobb, mint 2,5 mm/m, amennyiben személykocsik rendszeres fel- és lekapcsolását tervezik.
(3) A tervezési szakaszban a fővágányokra 12,5 mm/m meredekségű lejtési szögeket lehet engedélyezni.
(4) Legfeljebb 3 km-es szakaszok esetében 20 mm/m maximális lejtés megengedett.
(5) Legfeljebb 0,5 km-es szakaszok esetében 35 mm/m maximális lejtés megengedett olyan helyen, ahol nem tervezett a vonatok normál üzemelés melletti megállása és elindulása.
(6) A fővágányok lejtése az utasperonok mellett nem lehet nagyobb, mint 2,5 mm/m, amennyiben személykocsik rendszeres fel- és lekapcsolását tervezik.
(7) A korszerűsített vonalak tekintetében nincs meghatározott érték, mivel a lejtési szögeket az adott vonal eredeti kialakítása határozza meg.
(8) A vasúti járművek elgurulásának megakadályozására irányuló külön rendelkezés hiányában a vonatok parkolására szánt tárolóvágányok lejtésének és emelkedésének szöge a 2,5 mm/m-t nem haladhatja meg.
4.2.4.4. Legkisebb vízszintes ívsugár
(1) A legkisebb tervezett vízszintes ívsugarat az ívre tervezett helyi sebesség figyelembevételével kell megválasztani.
(2) Tárolóvágányok vagy csatlakozó vágányok esetében a legkisebb tervezett vízszintes ívsugár legalább 150 m.
(3) A peronok melletti legkisebb tervezett vízszintes ívsugarat a mozgáskorlátozott személyekre vonatkozó ÁME határozza meg.
(4) A 150-300 m sugártartományba eső elleníveket (a rendezőpályaudvarokon lévő ellenívek kivételével, amelyeken a kocsikat egyesével tolatják) az EN 13803-2:2006 szabvány 8.4. szakasza szerint kell tervezni, az ütközők összeakadásának megelőzése céljából.
4.2.4.5. Legkisebb függőleges ívsugár
(1) A függőleges körívek sugarának domború lejttörésben legalább 600 m, homorú lejttörésben pedig legalább 900 m nagyságúnak kell lennie (rendező-pályaudvari gurítódombok kivételével).
(2) Rendező-pályaudvari gurítódombok esetében a függőleges körívek sugarának domború lejttörésben legalább 250 m, homorú lejttörésben pedig legalább 300 m nagyságúnak kell lennie.
4.2.5. Vágányparaméterek
4.2.5.1. Névleges nyomtávolság
(1) A szabványos európai névleges nyomtávolság 1 435 mm.
4.2.5.2. Túlemelés
(1) Állomások peronjai melletti vágányok legnagyobb tervezési túlemelése nem lehet nagyobb 110 mm-nél.
(3) A legnagyobb tervezési túlemelés 180 mm.
(4) A legnagyobb tervezési túlemelés 160 mm.
(5) 290 m-nél kisebb sugarú íveken a túlemelés legfeljebb a következő képlettel meghatározott érték:
D ≤ (R -50)/1,5
ahol D a túlemelés mm-ben és R a sugár m-ben.
4.2.5.3. Túlemelés változási sebessége (az idő függvényében)
(1) Átmeneti ponton a túlemelés változásának legnagyobb sebessége 70 mm/s, a túlemeléshiányt kiegyensúlyozó rendszerrel nem ellátott vonatok legnagyobb sebességén számítva.
(2) Ha azonban a túlemeléshiány az átmeneti ponton legfeljebb 150 mm, és a túlemeléshiány változásának sebessége az átmeneti ponton legfeljebb 70 mm/s, a túlemelés legnagyobb változási sebességének 85 mm/s-ra emelése megengedett.
4.2.5.4. Túlemeléshiány
(1) Az alábbi előírások olyan kölcsönösen átjárható vonalakra vonatkoznak, amelyek névleges nyomtávolságát ezen ÁME 4.2.5.1. pontja határozza meg.
4.2.5.4.1. Túlemeléshiány az átmenő vágányon és a kitérők átmenő útvonalain
(1) A legnagyobb olyan túlemeléshiány tekintetében, amely mellett az ilyen vonatok futhatnak, figyelembe kell venni az érintett vasúti jármű elfogadási kritériumait, amelyeket a nagy sebességű és a hagyományos vasúti járművekre vonatkozó ÁME határoz meg.
(2) A túlemeléshiányt kiegyensúlyozó rendszerrel nem felszerelt vonatok esetében a legfeljebb 200 km/h sebességű vonalakon a túlemeléshiány további bizonyítékok nélkül nem haladhatja meg az alábbi értékeket:
a) 130 mm (vagy 0,85 m/s2 kompenzálatlan oldalirányú gyorsulás) az áruszállító kocsikra vonatkozó ÁME szerint jóváhagyott vasúti járművek esetében;
b) 150 mm (vagy 1,0 m/s2 kompenzálatlan oldalirányú gyorsulás) a mozdonyokra és személyszállító járművekre vonatkozó ÁME szerint jóváhagyott vasúti járművek esetében.
(3) A magasabb túlemeléshiány-értékek melletti futás megengedhető a kifejezetten magas túlemeléshiány melletti futásra tervezett vonatok esetében (alacsonyabb tengelyterhelésű kocsiegységek; a túlemeléshiányt kiegyensúlyozó rendszerrel ellátott vonatok), amennyiben annak biztonságossága igazolható.
4.2.5.4.2. A túlemeléshiány hirtelen változása a váltók kitérő irányú vágányain
(1) A kitérő irányú vágányokon a túlemeléshiány hirtelen változásának legnagyobb tervezési értékei a következők:
a) 120 mm a 30 km/h ≤ V ≤ 70 km/h legnagyobb kitérési sebességet lehetővé tevő váltókon;
b) 105 mm a 70 km/h < V ≤ 170 km/h legnagyobb kitérési sebességet lehetővé tevő váltókon;
c) 85 mm a 170 km/h < V ≤ 200 km/h legnagyobb kitérési sebességet lehetővé tevő váltókon.
(2) A meglévő váltótípusok esetében az ezen értékektől való 20 mm-es tűréshatár elfogadott.
4.2.5.5. Egyenértékű kúposság
(1) Az egyenértékű kúposság 4. táblázatban feltüntetett határértékeit a kerékpár oldalsó kitérésének amplitúdója (y) esetében a következőképpen kell kiszámolni:
| — y = 3 mm | if (TG – SR) ≥ 7 mm |
| — [Kép #1] , | if 5 mm ≤ (TG – SR) < 7 mm |
| — y = 2 mm | if (TG – SR) < 5 mm |

Kép #1
ahol TG a nyomtávolság és SR a kerékpár nyomkarimájának érintkező felületei közötti távolság. A kitérők esetében az egyenértékű kúposságot nem kötelező értékelni.
4.2.5.5.1. Az egyenértékű kúposság tervezési értékei
(4) Az átmenő vágányok esetében a nyomtávolság, a sínfejprofil és a síndőlés tervezési értékeit úgy kell kiválasztani, hogy biztosítsák az egyenértékű kúposság 4. táblázatban megállapított határértékeinek betartását.
4. táblázat
Egyenértékű kúposság tervezési határértékei
| Sebességtartomány (km/h) | Egyenértékű kúposság | |
| S 1002, GV 1/40 | EPS | |
| v ≤ 60 | Nincs szükség értékelésre | Nincs szükség értékelésre |
| 60 < v ≤ 160 | 0,25 | 0,30 |
| 160 < v ≤ 200 | 0,25 | 0,30 |
(2) A következő kerékpárokat úgy tervezik, hogy megfeleljenek a tervezett (az EN 15302:2008 szabvány szerint szimulált) pályafeltételeknek:
a) S 1002 az EN 13715:2006 szabvány C. mellékletének meghatározása szerint, ahol SR = 1 420 mm;
b) S 1002 az EN 13715:2006 szabvány C. mellékletének meghatározása szerint, ahol SR = 1 426 mm;
c) GV 1/40 az EN 13715:2006 szabvány B. mellékletének meghatározása szerint, ahol SR = 1 420 mm;
d) GV 1/40 az EN 13715:2006 szabvány B. mellékletének meghatározása szerint, ahol SR = 1 426 mm;
e) EPS az EN 13715:2006 szabvány D. mellékletének meghatározása szerint, ahol SR = 1 420 mm.
4.2.5.5.2. Az egyenértékű kúposság üzem közbeni szabályozási követelményei
(1) Az egyenértékű kúposság üzem közbeni szabályozási követelményei nyitott kérdést jelentenek.
(2) A vágányrendszer kezdeti tervének elkészítése után az egyenértékű kúposság üzem közbeni szabályozásának fontos paramétere a nyomtávolság. Ezért a nyitott kérdés tisztázásáig be kell tartani az alábbiakban meghatározott átlagos nyomtávolsági értékeket és a futási instabilitás esetén teendő intézkedésekre vonatkozó követelményeket.
(3) A pályahálózat-működtetőnek a nyomtávolságnak legalább az alábbi táblázatban szereplő határértékeit kell betartania egyenes pályán és R > 10 000 m sugarú ívben.
5. táblázat
Az átlagos legkisebb nyomtávolság üzem közben egyenes pályán és R > 10 000 m sugarú ívben
| Sebességtartomány (km/h) | Átlagos nyomtáv (mm) 100 m-en |
| v ≤ 60 | nincs szükség értékelésre |
| 60 < v ≤ 160 | 1 430 |
| 160 < v ≤ 200 | 1 430 |
(4) Ha a nagy sebességű és hagyományos vasúti járművekre vonatkozó ÁME-ben megállapított egyenértékű kúposságra vonatkozó követelményeket teljesítő kerékpárokkal rendelkező járművek esetében a 4.2.5.5. szakasz követelményeit teljesítő pályán futási instabilitást jelentenek, a vasúttársaságnak és a pályahálózat-működtetőnek az ok meghatározása céljából együttes vizsgálatot kell kezdeményeznie.
4.2.5.6. Sínfejprofil nyíltvonali és állomási átmenő fővágányhoz
(1) A nyíltvonali és állomási átmenő fővágány sínfejprofiljainak kialakítása a következőket foglalja magában:
a) a sínfej vezetési felületének dőlésének a sínfej függőleges tengelyéhez képest a függőleges és 1/16 között kell lennie;
b) a vezetési felület felső lekerekítő ív elejének és a futófelület függőleges távolságnak 15 mm-nél kevesebbnek kell lennie;
c) legalább 12 mm sugarú lekerekítés a nyomtávsarkon;
d) a sínkorona és az érintési pont közötti vízszintes távolságnak 31 és 37 mm között kell lennie.
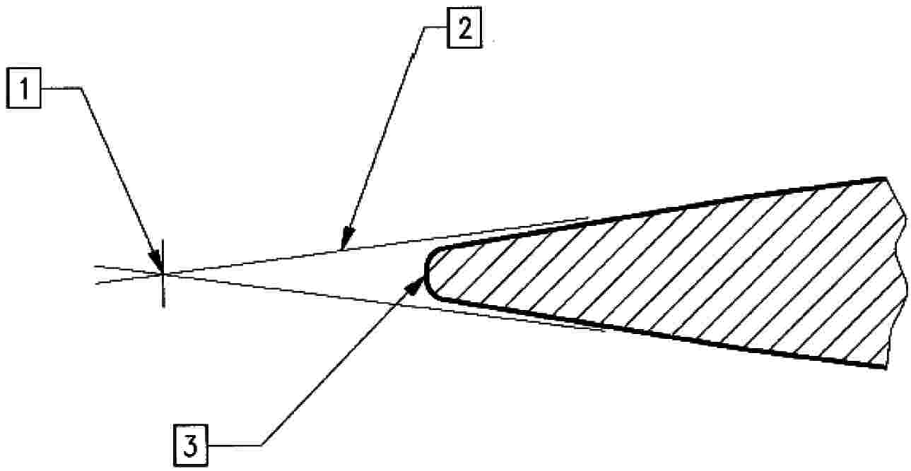
1. ábra

1 sínkorona
2 érintési pont
3 keresztirányú dőlés
4 a sínfej függőleges tengelye
5 nyomtávsarok
4.2.5.7. Síndőlés
4.2.5.7.1. Beágyazott nyíltvonali és állomási átmenő fővágány
(1) A sínnek a vágánytengely felé kell dőlnie.
(2) Egy adott útvonal síndőlését az 1/20 és 1/40 közötti tartományból kell kiválasztani.
4.2.5.7.2. KITÉRŐKRE vonatkozó követelmények
(1) Kitérők esetén a sínt függőlegesre vagy döntöttre kell tervezni.
(2) Ha a sín döntött, a kitérőkre tervezett dőlésnek meg kell egyeznie a nyíltvonali és állomási átmenő fővágány dőlésével.
(3) A dőlés megadható a sínfejprofil aktív részének alakjával.
(4) A dőlés nélküli sínfektetés a kitérők közötti rövid nyíltvonali és állomási átmenő fővágány szakaszokon megengedett.
(5) A döntött sínről a függőleges sínre való rövid átmenet megengedett.
4.2.5.8. Keretmerevség
(1) A pálya mint teljes rendszer merevségére vonatkozó követelmények nyitott kérdést jelentenek.
4.2.6. Kitérők
4.2.6.1. Zárszerkezetek
(1) A rendező-pályaudvarok és kizárólag tolatásra használt vágányok kivételével a kitérők valamennyi mozgó részét végállásrögzítő eszközökkel kell felszerelni.
(2) Amennyiben a legnagyobb sebesség a 40 km/h-t meghaladja, a kitérők valamennyi mozgó részét végállásrögzítő eszközökkel kell felszerelni, kivéve, ha azokat kizárólag vontatásra használják.
4.2.6.2. Kitérők üzem közbeni geometriája
(1) Ebben a bekezdésben az ÁME a kerékpárok nagy sebességű és hagyományos vasúti járművekre vonatkozó ÁME-ben meghatározott geometriai jellemzőivel összeegyeztethető üzem közbeni határértékeket ismerteti. A pályahálózat-működtető dönt a tervezési értékekről, és - a karbantartási terv segítségével - biztosítja, hogy az üzem közbeni értékek ne lépjék túl az ÁME határértékeit. Ezek a határértékek azonnali beavatkozási határértékként kerültek meghatározásra.
2. ábra

1 Kereszteződési pont (IP)
2 Elméleti referenciavonal
3 Tényleges pont (RP)
(2) A kitérők műszaki követelményeinek a következő üzem közbeni értékeknek kell megfelelnie:
a) A vezetéstávolság legnagyobb értéke váltókban: 1 380 mm.
Ez az érték növelhető, ha a pályahálózat-működtető bizonyítani tudja, hogy a váltó működtető és lezáró rendszere képes ellenállni a kerékpárok keresztirányú erőinek.
b) A rögzített csúcspontvédelem legkisebb értéke normál kereszteződésben: 1 392 mm.
Ezt az értéket a futófelület alatt 14 mm-rel és az elméleti referenciavonalon, a csúcs tényleges pontjától (RP) megfelelő távolságban kell mérni a 2. ábrán jelzettek szerint. Pontvisszahúzásos kereszteződésben ez az érték csökkenthető. Ebben az esetben a pályahálózat-működtetőnek igazolnia kell, hogy a pontvisszahúzás elegendő annak garantálására, hogy a kerék a tényleges pontnál (RP) nem üti meg a csúcsot.
c) A vezetéstávolság legnagyobb értéke a keresztezési csúcspontban: 1 356 mm.
d) A vezetéstávolság legnagyobb értéke a könyöksín kihajlítása előtti belépési pontjában: 1 380 mm.
e) A nyomcsatorna minimális szélessége: 38 mm.
f) A nyomcsatorna minimális mélysége: 40 mm.
g) A vezetősín legnagyobb magassága a pályasín felett: 70 mm.
(3) A kitérőkre vonatkozó valamennyi követelmény a csúcssíneket használó egyéb műszaki megoldásokra, így például a több sínből álló vágányoknál használt oldalelemekre is érvényes.
4.2.6.3. Fix tompaszögű kereszteződések maximális vezetetlen hossza
(1) A maximális vezetetlen hossz tervezési értéke: 1/9 (tgα = 0,11, α = 6°20') tompaszögű kereszteződés legalább 45 mm megemelt vezetősínnel, és 330 mm hozzá tartozó minimális kerékátmérővel az egyenes átmenő útvonalakon.
4.2.7. A vágány alkalmazott terheléssel szembeni ellenállása
4.2.7.1. A vágány függőleges irányú terheléssel szembeni ellenállása
(1) A vágányt, ideértve a kitérőket is, úgy kell megtervezni, hogy ellenálljon legalább a következő erőknek:
a) tengelyterhelés a 3. táblázatban meghatározott ÁME-vonalkategóriák teljesítményparaméterei szerint;
b) a kerékpár által a vágányra kifejtett legnagyobb dinamikus kerékerő. A nagy sebességű és a hagyományos vasúti járművekre vonatkozó ÁME meghatározza a legnagyobb dinamikus kerékerő határértékét meghatározott vizsgálati körülmények mellett. A vágány függőleges terheléssel szembeni ellenállásának meg kell felelnie ezeknek az értékeknek;
c) a kerékpár által a vágányra kifejtett legnagyobb kvázi-statikus kerékerő. A nagy sebességű és a hagyományos vasúti járművekre vonatkozó ÁME meghatározza a legnagyobb kvázi-statikus kerékerő határértékét meghatározott vizsgálati körülmények mellett. A vágány függőleges terheléssel szembeni ellenállásának meg kell felelnie ezeknek az értékeknek.
4.2.7.2. A vágány hosszanti erőkkel szembeni ellenállása
4.2.7.2.1. Tervezési erők
(1) A vágányt, ideértve a kitérőket is, úgy kell megtervezni, hogy ellenálljon a fékezésből eredő hosszirányú erőknek. A nagy sebességű és a hagyományos vasúti járművekre vonatkozó ÁME meghatározza a fékezésből eredő hosszirányú erők meghatározásához használandó lassulási határértékeket.
(2) A vágányt úgy kell megtervezni, hogy az ellenálljon a sín hőmérsékletváltozásából eredő hosszirányú termális erőknek, hogy a sín hosszirányú hőtágulása miatti felpúposodás valószínűsége a minimumra csökkenjen.
4.2.7.2.2. Fékrendszerekkel való összeegyeztethetőség
(1) A vágányt úgy kell megtervezni, hogy összeegyeztethető legyen a vészfékezéshez használt mágneses vágányfékek használatával.
(3) Amennyiben a vágány a kerék-sín közötti tapadási feltételektől független fékrendszerek használatával összeegyeztethető, a helyi időjárási viszonyokat és az adott helyen bekövetkező többszöri fékezések várható számát figyelembe kell venni. A kerék-sín közötti tapadási feltételektől független fékezési rendszerek közé a mágneses vágányfékek és az örvényáramú vágányfékek tartoznak.
4.2.7.3. A vágány keresztirányú erőkkel szembeni ellenállása
(1) A vágányt, ideértve a kitérőket is, úgy kell megtervezni, hogy ellenálljon legalább a következőknek:
a) a kerékpár által a vágányra kifejtett legnagyobb teljes dinamikus oldalirányú erő. A nagy sebességű és a hagyományos vasúti járművekre vonatkozó ÁME meghatározza a kerékpár által a vágányra kifejtett oldalirányú erők határértékét. A vágány oldalirányú terheléssel szembeni ellenállásának meg kell felelnie ezeknek az értékeknek;
b) a kerékpár által a vágányra kifejtett legnagyobb kvázi-statikus irányító erő. A nagy sebességű és a hagyományos vasúti járművekre vonatkozó ÁME meghatározza az Yqst kvázi statikus irányító erő határértékét meghatározott sugarak és vizsgálati körülmények mellett. A vágány oldalirányú terheléssel szembeni ellenállásának meg kell felelnie ezeknek az értékeknek.
4.2.8. A műtárgyak forgalmi terheléssel szembeni ellenállása
(1) Az ÁME e fejezetében meghatározott EN 1991-2:2003 szabvány, illetve az EN 1990:2002/A1:2005-ként kiadott EN 1990:2002 A2. mellékletének követelményeit adott esetben a szabványok nemzeti mellékletével összhangban kell alkalmazni.
4.2.8.1. Új hidak forgalmi terheléssel szembeni ellenállása
4.2.8.1.1. Függőleges terhelések
(1) A műtárgyakat úgy tervezik, hogy az EN 1991-2:2003 szabványban definiált alábbi terhelési modellekkel összhangban ellenálljanak a függőleges terhelésnek:
a) az EN 1991-2:2003 szabvány 6.3.2. pontjának (2)P bekezdésében megállapított 71. terhelési modell;
b) ezen túlmenően az EN 1991-2:2003 szabvány 6.3.2. pontjának (3) bekezdésében a folyamatos hidakra vonatkozóan megállapított SW/0 terhelési modell.
(2) A terhelési modelleket meg kell szorozni az EN 1991-2:2003 szabvány 6.3.2. pontjának (3)P bekezdésében és 6.3.3. pontjának (5)P bekezdésében megállapított alfa (α) tényezővel.
(3) Az α értékének 6. táblázatban meghatározott értékeknél nagyobbnak vagy azokkal egyenlőnek kell lennie.
6. táblázat
Alfa (α) tényező az új műtárgyak tervezéséhez
| Vonaltípusok vagy ÁME-vonalkategóriák | Legkisebb alfa (α) tényező |
| IV | 1,1 |
| V | 1,0 |
| VI | 1,1 |
| VII-P | 0,83 |
| VII-F, VII-M | 0,91 |
(4) A terhelési modellekből kapott terhelési hatásokat ki kell bővíteni az EN 1991-2:2003 szabvány 6.4.3. pontjának (1)P bekezdésében és 6.4.5.2. pontjának (2) bekezdésében megállapított fi (Φ) dinamikus tényezővel.
4.2.8.1.2. Centrifugális erők
(1) Amennyiben a hídon lévő pálya a híd teljes hosszúságán vagy annak egy részén ívben fekszik, a műtárgyak tervezésekor az EN 1991-2:2003 szabvány 6.5.1. pontjának (2), (4)P és (7) bekezdésében megállapítottak szerint figyelembe kell venni a centrifugális erőt.
4.2.8.1.3. Kígyózó erők
(1) A műtárgyak tervezésekor az EN 1991-2:2003 szabvány 6.5.2. pontjában megállapítottak szerint figyelembe kell venni a kígyózó erőt.
4.2.8.1.4. A vontatás és a fékezés miatti hatások (hosszirányú terhelések)
(1) A műtárgyak tervezésekor az EN 1991-2:2003 szabvány 6.5.3. pontjának (2)P, (4), (5) és (6) bekezdésében megállapítottak szerint figyelembe kell venni a vonó- és fékezőerőt. A vonó- és fékezőerő irányának valamennyi pályán figyelembe kell vennie a megengedett menetirányt.
4.2.8.1.5. Vasúti forgalmi hatások miatti Tervezett síktorzulás
(1) A vasúti forgalmi hatások miatti teljes tervezett síktorzulás az EN 1990:2002/A1:2005 szabványként kiadott EN 1990:2002 szabvány 2. mellékletének A2.4.4.2.2(3)P szakaszában meghatározott értékeket nem haladhatja meg. A teljes tervezett síktorzulás a vágányban a hídon zajló vasúti forgalom hatásai nélkül jelen lévő esetleges síktorzulásból, illetve a híd vasúti forgalom hatásaiból eredő teljes alakváltozása miatti síktorzulásból áll.
4.2.8.2. Új alépítmények egyenértékű függőleges irányú terhelése és talajnyomásbeli hatások
(1) Az alépítményeket úgy tervezik, hogy az EN 1991-2:2003 szabvány 6.3.6.4. pontjában meghatározott 71. terhelési modellel összhangban ellenálljanak a függőleges terhelésnek.
(2) A 71. terhelési modellt meg kell szorozni az EN 1991-2:2003 szabvány 6.3.2. (3)P pontjában megállapított alfa (α) tényezővel. Az α értékének a 6. táblázatban meghatározott értékeknél nagyobbnak vagy azokkal egyenlőnek kell lennie.
4.2.8.3. Vágányok feletti vagy melletti új műtárgyak ellenállása
(1) Az elhaladó vonatok aerodinamikai hatásait az EN 1991-2:2003 szabvány 6.6. pontja szerint figyelembe kell venni.
4.2.8.4. Meglévő hidak és alépítmények forgalmi terheléssel szembeni ellenállása
(1) A hidaknak és alépítményeknek meg kell felelniük a 4.2.1. szakaszban meghatározott ÁME-vonalkategóriák szerint az átjárhatóság meghatározott szintjének.
(2) Az E. mellékletben az egyes ÁME-vonalkategóriák műtárgyaira vonatkozó teherhordási minimumkövetelmények szerepelnek. Az értékek olyan minimális célszintek, amelyeknek a műtárgyak teherbírásának meg kell felelnie ahhoz, hogy a vonalat átjárhatónak lehessen minősíteni.
(3) A következő esetek fontosak:
a) Amennyiben egy meglévő műtárgy helyett új műtárgy létesül, annak meg kell felelnie a 4.2.8.1. vagy 4.2.8.2. fejezet követelményeinek.
b) Ha a meglévő műtárgyak EN-vonalkategóriára közzétett minimum teherbírása a megengedett sebességgel együtt megfelel az E. mellékletben szereplő követelményeknek, a meglévő műtárgy megfelel a vonatkozó átjárhatósági követelményeknek.
c) Ha a meglévő műtárgy teherbírása nem felel meg az E. mellékletben szereplő követelményeknek és munkálatokat (pl. megerősítést) végeznek a műtárgy teherbírásának az ÁME előírásainak való megfeleltetése céljából (és a műtárgy helyére nem emelnek új műtárgyat), a műtárgyat az E. melléklet követelményeinek megfelelő állapotba kell hozni.
d) A brit hálózatra vonatkozóan a fenti (2) és (3) bekezdésben az ÁME EN-vonalkategóriát (az e célból bejelentett nemzeti műszaki szabálynak megfelelően képzett) útvonal-rendelkezésreállási (Route Availability - RA) szám válthatja fel, és ennek megfelelően az E. melléklet említésekor pedig C. mellékletet kell érteni.
4.2.9. A vágány geometriai minősége és határértékei a lokális hibákon
4.2.9.1. Azonnali beavatkozási, beavatkozási és riasztási határértékek meghatározása
(1) A pályahálózat-működtető megfelelő azonnali beavatkozási, beavatkozási és riasztási határértékeket határoz meg a következő paraméterekre vonatkozóan:
a) irány - szórás (csak riasztási határérték);
b) hossz-fekszint - szórás (csak riasztási határérték);
c) irány - lokális hibák - átlag- és csúcsérték között;
d) hossz-fekszint - lokális hibák - átlag- és csúcsérték között;
e) síktorzulás - lokális hibák - nulla és csúcsérték között a 4.2.9.2. szakaszban megállapított azonnali beavatkozási határértékektől függően;
f) nyomtávolság-változás - lokális hibák - névleges nyomtávolság és csúcsérték között a 4.2.9.3. szakaszban megállapított azonnali beavatkozási határértékektől függően;
g) nyomtávolság középérték bármely 100 m hosszon - névleges nyomtávolság és átlagérték között a 4.2.5.5.2. szakaszban megállapított azonnali beavatkozási határértékektől függően;
h) túlemelés - nulla és csúcsérték között a 4.2.9.4. szakaszban megállapított azonnali beavatkozási határértékektől függően.
(2) E paraméterek mérési feltételeit az EN 13848-1:2003 + A1:2008. szabvány fejezete rögzíti.
(3) E határértékek megállapításakor a pályahálózat-működtetőnek figyelembe kell vennie a járművek elfogadásának alapjaként használt pályaminőségi határértékeket. A járművek elfogadásának követelményeit a nagy sebességű és a hagyományos vasúti járművekre vonatkozó ÁME állapítja meg.
(4) A pályahálózat-működtető által elfogadott azonnali beavatkozási, beavatkozási és riasztási határértékeket rögzítik az ezen ÁME 4.5. szakaszában előírt karbantartási tervben.
4.2.9.2. Azonnali beavatkozási határérték síktorzulás esetére
(1) Lokális hibaként jelentkező síktorzulás esetén az azonnali beavatkozási határérték a nulla és csúcsérték közötti érték. A síktorzulás meghatározása: egymástól meghatározott távolságra felvett két keresztszint közötti algebrai különbség, amelyet általában a mérési keresztmetszetek két pontja közötti meredekségként fejeznek ki. A keresztezési szinteket a sínfejek névleges középpontján kell mérni.
(2) A síktorzulás határértéke az alkalmazott mérési bázis (l) függvénye a következő képlet szerint:
Síktorzulási határ = (20/l + 3)
a) ahol l a mérési bázis (méterben), 1,3 m ≤ l ≤ 20 m mellett,
b) 7 mm/m legnagyobb értékekkel.
3. ábra

(3) A pályahálózat-működtető a karbantartási tervben állapítja meg azt a bázist, amelyen mérni fogja a vágányt e követelménynek való megfelelés ellenőrzése érdekében. A mérés alapja legalább egy 2-5 m-es mérési bázist tartalmaz.
(4) Ha a vízszintes ívsugár 420 m-nél kisebb, és a túlemelés D > (R - 100)/2, a síktorzulás a következő képlet szerint korlátozott: síktorzulási határ = (20/l + 1,5), 6 mm/m és 3 mm/m közötti maximumértékkel, a síktorzulás bázis hosszúságától függően, a 4. ábrán ábrázoltak szerint.
4. ábra

4.2.9.3. Azonnali beavatkozási határérték nyomtávolság-ingadozás esetére
A 7. táblázatban a nyomtávolság-ingadozás esetére szóló azonnali beavatkozási határértékek szerepelnek.
7. táblázat
Azonnali beavatkozási határérték nyomtávolság-ingadozás esetére
| Sebesség (km/h) | Méretek (mm) | |
| Névleges nyomtávolság és csúcsérték között | ||
| Legkisebb nyomtávolság | Legnagyobb nyomtávolság | |
| V ≤ 80 | –9 | +35 |
| 80 < V ≤ 120 | –9 | +35 |
| 120 < V ≤ 160 | –8 | +35 |
| 160 < V ≤ 200 | –7 | +28 |
4.2.9.4. Azonnali beavatkozási határérték túlemelés esetére
(1) Az üzem közbeni túlemelést a tervezési túlemelés +/- 20 mm-en kell tartani, de a legnagyobb üzem közbeni túlemelés 190 mm.
(2) Az üzem közbeni túlemelést a tervezési túlemelés +/- 20 mm-en kell tartani, de a legnagyobb üzem közbeni túlemelés 170 mm.
4.2.10. Peronok
(1) E szakasz követelményei csak olyan utasperonokra vonatkoznak, ahol a nagy sebességű és a hagyományos vasúti járművekre vonatkozó ÁME-nek megfelelő vonatok megállását tervezik rendes üzemeltetési körülmények közben.
4.2.10.1. A peronok hasznos hossza
(1) A peron megfelelő hosszúságú a leghosszabb, kölcsönös átjárhatóságra alkalmas olyan vonat kiszolgálásához, amelynek rendes üzemeltetési körülmények között történő megállását tervezik. Azon vonatok hosszának meghatározásakor, melyeknek a peronnál történő megállását tervezik, egyaránt figyelembe kell venni az aktuális üzemi követelményeket és a peron üzembe helyezését követő legalább tíz évre vonatkozóan ésszerűen előre látható üzemi követelményeket is.
(2) A kizárólag az aktuális üzemi követelményeknek megfelelő hosszúságú peron építése is megengedett, amennyiben az ésszerűen előre látható jövőbeni üzemi követelmények kielégítése elméletileg biztosított.
4.2.10.2. Peronok szélessége és széle
(1) A peronok szélességére és szélére vonatkozó követelményeket a mozgáskorlátozott személyekre vonatkozó ÁME határozza meg.
4.2.10.3. A peronok vége
(1) A peronok végére vonatkozó követelményeket a mozgáskorlátozott személyekre vonatkozó ÁME határozza meg.
4.2.10.4. A peronok magassága
(1) A peronok magasságára vonatkozó követelményeket a mozgáskorlátozott személyekre vonatkozó ÁME határozza meg.
4.2.10.5. Peronkinyúlás
(1) A peronkinyúlásra vonatkozó követelményeket a mozgáskorlátozott személyekre vonatkozó ÁME határozza meg.
4.2.11. Egészségvédelmi, biztonsági és környezetvédelmi feltételek
4.2.11.1. Maximális nyomásingadozás alagutakban
(1) Az alagutakban és a föld alatti műtárgyakban fellépő legnagyobb nyomásingadozás az adott alagúton való áthaladásra tervezett, a nagy sebességű és a hagyományos vasúti járművekre vonatkozó ÁME-nek megfelelő vonatokon kívül 190 km/h sebesség feletti haladásnál nem haladhatja meg a 10 kPa értéket az idő alatt, amíg a vonat a megengedett legnagyobb sebességgel áthalad az alagúton.
4.2.11.2. Zaj- és vibrációs határértékek és csökkentési intézkedések
(1) A zaj határértékek és csökkentési intézkedések nyitott kérdést jelentenek.
(2) A vibrációs határértékek és csökkentési intézkedések nyitott kérdést jelentenek.
4.2.11.3. Áramütés elleni védelem
(1) A peronokon az áramellátó rendszerből származó áramütés elleni védelmet a hagyományos vasút energiaellátására vonatkozó ÁME-ben a felsővezetékek védőberendezéseivel kapcsolatos rendelkezések biztosítják.
4.2.11.4. Vasúti alagutak biztonsága
(1) A vasúti alagutak biztonságával kapcsolatos követelményeket a vasúti alagutak biztonságára vonatkozó ÁME állapítja meg.
4.2.11.5. Az oldalszél hatása
(1) Az oldalszél hatásának csökkentésére vonatkozó követelmények nyitott kérdést jelentenek.
4.2.12. Az üzemeltetésre vonatkozó rendelkezések
4.2.12.1. Szelvényjelzők
(1) A pálya mentén szabályos távolságokban szelvényjelzőket kell elhelyezni.
4.2.13. A vonatokat kiszolgáló helyhez kötött berendezések
4.2.13.1. Általános
(1) A 4.2.13. szakasz a karbantartás alrendszer vonatok kiszolgálásához szükséges infrastruktúraelemeit határozza meg.
4.2.13.2. Illemhelyürítés
(1) A helyhez kötött illemhelyürítő berendezéseknek összeegyeztethetőeknek kell lenniük a nagy sebességű és a hagyományos vasúti járművekre vonatkozó ÁME-ben meghatározott zárt illemhelyrendszerrel.
4.2.13.3. A vonatok külső tisztítási eszközei
(1) Gépi kocsimosók rendelkezésre bocsátása esetén azoknak képeseknek kell lenniük az egy- és kétszintes vonatok tisztítására a következő magasságok között:
a) 1 000 és 3 500 mm az egyszintes vonatok esetében;
b) 500 és 4 300 mm a kétszintes vonatok esetében
(2) A mosóberendezést úgy kell kialakítani, hogy a vonatok azon 2-5 km/h sebességgel áthaladhassanak.
4.2.13.4. Vízfeltöltés
(1) A helyhez kötött vízfeltöltő berendezéseknek összeegyeztethetőeknek kell lenniük a nagy sebességű és a hagyományos vasúti járművekre vonatkozó ÁME-ben meghatározott vízrendszerrel.
(2) A kölcsönösen átjárható hálózaton biztosított, rögzített vízellátó berendezést a 98/83/EK tanácsi irányelv ( 8 ) követelményeinek megfelelő ivóvízzel kell ellátni.
(3) A berendezés üzemmódjának biztosítania kell, hogy a vonatokra szállított víz megfeleljen a fent említett irányelvben meghatározott minőségnek.
4.2.13.5. Üzemanyag-feltöltés
(1) Az üzemanyag-feltöltő berendezésnek összeegyeztethetőnek kell lennie a hagyományos vasúti járművekre vonatkozó ÁME-ben meghatározott üzemanyag-feltöltő rendszerrel.
4.2.13.6. Pályamenti áramellátás
(1) A pályamenti áramellátást - ha van - a nagy sebességű és a hagyományos vasúti járművekre vonatkozó ÁME-ben meghatározott áramellátó rendszerek egyikével kell biztosítani.
4.3. A kapcsolódási pontok működési és műszaki előírásai
A műszaki összeegyeztethetőség szempontjából az infrastruktúra alrendszer más alrendszerekkel való kapcsolódási pontjait a következő bekezdések ismertetik.
4.3.1. Kapcsolódási pontok a járműalrendszerrel
8. táblázat
Kapcsolódási pontok a "mozdonyokra és személyszállító járművekre vonatkozó ÁME" járműalrendszerével
| Kapcsolódási pont | Hivatkozás a hagyományos vasúti infrastruktúrára vonatkozó ÁME-re | Hivatkozás a hagyományos vasúti mozdonyokra és személyszállító járművekre vonatkozó ÁME-re |
| Nyomtávolság | 4.2.5.1. Névleges nyomtávolság 4.2.5.6. Sínfejprofil átmenő vágányhoz 4.2.6.2. Kitérők üzem közbeni geometriája | 4.2.3.5.2.1. A kerékpár mechanikai és geometriai jellemzői 4.2.3.5.2.2. A kerék mechanikai és geometriai jellemzői |
| Űrszelvények | 4.2.4.1. Szerkesztési szelvény 4.2.4.2. Vágánytengely-távolság 4.2.4.5. Legkisebb függőleges ívsugár | 4.2.3.1. Szelvényezés |
| Tengelyterhelés és tengelytáv | 4.2.7.1. A vágány függőleges irányú terheléssel szembeni ellenállása, 4.2.8.1. Az új hidak forgalmi terheléssel szembeni ellenállása 4.2.8.2. Új alépítmények egyenértékű függőleges irányú terhelése és talajnyomásbeli hatások 4.2.8.4. Meglévő hidak és alépítmények forgalmi terheléssel szembeni ellenállása | 4.2.3.2. Tengely- és kerékterhelés |
| Haladási jellemzők | 4.2.7.1. A vágány függőleges irányú terheléssel szembeni ellenállása, 4.2.7.3. A vágány keresztirányú erőkkel szembeni ellenállása, 4.2.8.1.3. Kígyózó erők | 4.2.3.4.2.1. A biztonságos haladás határértékei 4.2.3.4.2.2. Vágányterhelési határértékek |
| Egyenértékű kúposság | 4.2.5.5. Egyenértékű kúposság | 4.2.3.4.3. Egyenértékű kúposság |
| Hosszirányú hatások | 4.2.7.2. A vágány hosszanti erőkkel szembeni ellenállása, 4.2.8.1.4. A vontatás és a fékezés miatti hatások (hosszanti terhelések) | 4.2.4.5. Fékteljesítmény |
| Legkisebb ívsugár | 4.2.4.4. Legkisebb vízszintes ívsugár | 4.2.3.6. Legkisebb ívsugár |
| Legkisebb vízszintes ívsugár | 4.2.5.4. Túlemeléshiány | 4.2.3.4.2.1. A haladásbiztonság határértékei |
| A függőleges ív változása | 4.2.4.5. Legkisebb függőleges ívsugár | 4.2.3.1. Szelvényezés |
| Aerodinamikai hatás | 4.2.4.2. Vágánytengely-távolság 4.2.8.3. Vágányok feletti vagy melletti új műtárgyak ellenállása 4.2.11.1. Maximális nyomásingadozás alagutakban | 4.2.6.2.1. Az elhaladó vonatok miatt a peronon tartózkodó utasokat érő légörvényhatás 4.2.6.2.2. Az elhaladó vonatok miatt a vágány mentén dolgozókat érő légörvényhatás 4.2.6.2.3. Légnyomásimpulzus 4.2.6.2.4. Maximális nyomásingadozás alagutakban |
| Oldalszél | 4.2.11.5. Az oldalszél hatása | 4.2.6.2.5. Oldalszél |
| A vonatokat kiszolgáló berendezések | 4.2.13.2. Illemhelyürítés 4.2.13.3. A vonatok külső tisztítási eszközei 4.2.13.4. Vízfeltöltés 4.2.13.5. Üzemanyag-feltöltés 4.2.13.6. Pályamenti áramellátás | 4.2.11.3. Illemhelyürítés 4.2.11.2.2. Külső tisztítás mosóberendezéssel 4.2.11.4. Vízfeltöltő berendezés 4.2.11.5. Kapcsolódási pont vízfeltöltéshez 4.2.11.7. Üzemanyag-feltöltő berendezés 4.2.11.6. Vonatok tárolásának külön követelményei |
9. táblázat
Kapcsolódási pontok az "áruszállító kocsikra" vonatkozó ÁME járműalrendszerével
| Kapcsolódási pont | Hivatkozás a hagyományos vasúti infrastruktúrára vonatkozó ÁME-re | Hivatkozás a hagyományos vasúti áruszállító kocsikra vonatkozó ÁME-re |
| Nyomtávolság | 4.2.5.1. Névleges nyomtávolság 4.2.5.6. Sínfejprofil átmenő vágányhoz 4.2.6.2. Kitérők üzem közbeni geometriája | 4.2.3.4. A jármű futásjósága |
| Űrszelvények | 4.2.4.1. Szerkesztési szelvény 4.2.4.2. Vágánytengely-távolság 4.2.4.5. Legkisebb függőleges ívsugár | 4.2.3.1. Kinematikus űrszelvény |
| Tengelyterhelés és tengelytáv | 4.2.7.1. A vágány függőleges irányú terheléssel szembeni ellenállása, 4.2.7.3. A vágány keresztirányú erőkkel szembeni ellenállása, 4.2.8.1. Az új hidak forgalmi terheléssel szembeni ellenállása 4.2.8.2. Új alépítmények egyenértékű függőleges irányú terhelése és talajnyomásbeli hatások 4.2.8.4. Meglévő hidak és alépítmények forgalmi terheléssel szembeni ellenállása | 4.2.3.2. Statikus tengelyterhelés és lineáris terhelés |
| Haladási jellemzők | 4.2.7.1. A vágány függőleges irányú terheléssel szembeni ellenállása, 4.2.7.3. A vágány keresztirányú erőkkel szembeni ellenállása, b) | 4.2.3.4. A jármű futásjósága |
| Hosszirányú hatások | 4.2.7.2. A vágány hosszanti erőkkel szembeni ellenállása, 4.2.8.1.4. A vontatás és a fékezés miatti hatások (hosszanti terhelések) | 4.2.4.1. Fékteljesítmény |
| Legkisebb ívsugár | 4.2.4.4. Legkisebb vízszintes ívsugár | 4.2.2.1. Kapcsolódás (pl. összekapcsolás) a járművek, járműszerelvények és vonatok között |
| Horizontal curve radius | 4.2.5.4. Túlemeléshiány | 4.2.3.5. Hosszanti irányú nyomóerők |
| A függőleges ív változása | 4.2.4.5. Legkisebb függőleges ívsugár | 4.2.3.1. Kinematikus űrszelvény |
| Aerodinamikai hatás | 4.2.4.2. Vágánytengely-távolság 4.2.8.3. Vágányok feletti vagy melletti új műtárgyak ellenállása 4.2.11.1. Maximális nyomásingadozás alagutakban | 4.2.6.2. Aerodinamikai hatások |
| Oldalszél | 4.2.11.5. Az oldalszél hatása | 4.2.6.3. Oldalszél |
4.3.2. Kapcsolódási pontok az "energiaellátás alrendszerrel"
10. táblázat
Kapcsolódási pontok az "energiaellátás alrendszerrel"
| Kapcsolódási pont | Hivatkozás a hagyományos vasúti infrastruktúrára vonatkozó ÁME-re | Hivatkozás a hagyományos vasút energiaellátására vonatkozó ÁME-re |
| Űrszelvények | 4.2.4.1. Szerkesztési szelvény | 4.2.14. Villamos űrszelvény |
| Áramütés elleni védelem | 4.2.11.3. Áramütés elleni védelem | 4.7.3 A felső vezetékek védőberendezéseivel kapcsolatos rendelkezések 4.7.4 A visszavezető áramkörökkel kapcsolatos védelmi rendelkezések |
4.3.3. Kapcsolódási pontok a "forgalomirányító, biztosító- és jelzőberendezések alrendszerrel"
11. táblázat
Kapcsolódási pontok a "forgalomirányító, biztosító- és jelzőberendezések alrendszerrel"
| Kapcsolódási pont | Hivatkozás a hagyományos vasúti infrastruktúrára vonatkozó ÁME-re | Hivatkozás a hagyományos vasúti ellenőrző-irányító és jelzőrendszerekre vonatkozó ÁME-re |
| Az ellenőrző-irányító és jelző alrendszer berendezéseinek szerkesztési szelvényei | 4.2.4.1. Szerkesztési szelvény | 4.2.5. ETCS és EIRENE légrés-kapcsolódási pontok 4.2.16. A pályamenti ellenőrző-irányító eszközök láthatósága |
| Mágneses vágányfékek használata | 4.2.7.2. A vágány hosszanti erőkkel szembeni ellenállása | A. melléklet, 1. függelék, 5.2. szakasz: Elektromos/mágneses fékek használata |
4.3.4. Kapcsolódási pontok a "Forgalmi műveletek és forgalomirányítás alrendszerrel"
12. táblázat
Kapcsolódási pontok a "Forgalmi műveletek és forgalomirányítás alrendszerrel"
| Kapcsolódási pont | Hivatkozás a hagyományos vasúti infrastruktúrára vonatkozó ÁME-re | Hivatkozás a hagyományos vasúti forgalmi műveletekre és forgalomirányításra vonatkozó ÁME-re |
| Mágneses vágányfékek használata | 4.2.7.2. A vágány hosszanti erőkkel szembeni ellenállása | 4.2.2.6.2. Fékteljesítmény |
| Üzemeltetési szabályok | 4.4. Üzemeltetési szabályok | 4.2.1.2.2.2. Módosított elemek 4.2.3.6. Üzemzavar |
4.4. Üzemeltetési szabályok
4.4.1. Előre tervezett munkákkal kapcsolatos rendkívüli körülmények
(1) Előre tervezett munkák közben szükségessé válhat az infrastruktúra alrendszer és az ezen ÁME 4. és 5. fejezetében meghatározott kölcsönös átjárhatóságot lehetővé tevő rendszerelemei előírásainak ideiglenes felfüggesztése. Az egyedi üzemeltetési előírásokat a hagyományos vasúti forgalmi műveletekre és forgalomirányításra vonatkozó ÁME állapítja meg.
4.4.2. Üzemzavar
(1) Előfordulhatnak olyan események, melyek befolyásolják a vonal rendes üzemét. Az ilyen események kezelésére vonatkozó üzemeltetési előírásokat a hagyományos vasúti forgalmi műveletekre és forgalomirányításra vonatkozó ÁME állapítja meg.
4.4.3. A dolgozók védelme az aerodinamikai hatásokkal szemben
(1) A dolgozók aerodinamikai hatások szembeni védelmének módját a pályahálózat-működtető határozza meg.
(2) A nagy sebességű és a hagyományos vasúti járművekre vonatkozó ÁME-nek megfelelő vonatok esetében a pályahálózat-működtetőnek figyelembe kell vennie a vonatok tényleges sebességét és az aerodinamikai hatásnak a nagy sebességű és a hagyományos vasúti járművekre vonatkozó ÁME-ben megadott határértékét.
4.5. Karbantartási terv
4.5.1. Vonal üzembe helyezése előtt
(1) A karbantartási dokumentációnak legalább a következőket kell tartalmaznia:
a) az azonnali beavatkozási határértek meghatározása;
b) a meghozott intézkedések (sebességkorlátozás, javítási idő) az előírt értékek túllépése esetén;
a következő elemekkel kapcsolatban:
i. az egyenértékű kúposság üzem közbeni szabályozási követelményei;
ii. kitérők üzem közbeni geometriája;
iii. a vágány geometriai minősége és határértékei a lokális hibákon;
iv. a peron széle a mozgáskorlátozott személyekre vonatkozó ÁME előírásai szerint.
4.5.2. Vonal üzembe helyezése után
(1) A pályahálózat-üzemeltetőnek rendelkeznie kell a 4.5.1. szakaszban felsoroltakat tartalmazó karbantartási tervvel, amely ugyanazokra az elemekre még legalább a következőket is tartalmazza:
a) az azonnali beavatkozási és riasztási határértékek határértek meghatározása;
b) a módszerek megállapítása, a személyzet szakmai alkalmassága és a használandó személyi védőfelszerelések;
c) a pályán vagy annak közelében dolgozók védelme érdekében alkalmazandó szabályok;
d) az üzem közbeni értékek betartásának ellenőrzésére használt eszközök.
4.6. Szakmai alkalmasság
(1) Az infrastruktúra alrendszert karbantartó személyzet számára előírt szakmai alkalmassági követelményeket a karbantartási tervben kell részletezni (lásd: 4.5.2. szakasz).
4.7. Egészségvédelmi és biztonsági feltételek
(1) Az egészségvédelmi és biztonsági feltételeket a következő szakaszok követelményei szerint kell kezelni: 4.2.11.1. (Maximális nyomásingadozás alagutakban), 4.2.11.2. (Zaj- és vibrációs határértékek és csökkentési intézkedések), 4.2.11.3. (Áramütés elleni védelem), 4.2.10. (Peronok), 4.2.11.4. (Vasúti alagutak biztonsága), 4.2.13. (A vonatokat kiszolgáló helyhez kötött berendezések) és 4.4. (Üzemeltetési szabályok).
4.8. Az infrastruktúra-nyilvántartás és az engedélyezett járműtípusok európai nyilvántartása
A 2008/57/EK irányelv 35. cikkében megállapított, a nyilvántartás számára rendelkezésre bocsátandó adatokat a vasúti infrastruktúra nyilvántartásának közös előírásairól szóló, 2011. szeptember 15-i 2011/633/EU bizottsági végrehajtási határozat ( 9 ) tartalmazza.
5. KÖLCSÖNÖS ÁTJÁRHATÓSÁGOT LEHETŐVÉ TEVŐ RENDSZERELEMEK
5.1. A kölcsönös átjárhatóságot lehetővé tevő rendszerelemek kiválasztásának alapja
(1) Az 5.3. szakasz követelményeinek alapja a beton- vagy faaljra fektetett Vignole-féle (széles talpú) síneket tartalmazó beágyazott vágány hagyományos konstrukciója, ahol a sínvándorlással szembeni ellenállást a síntalpakat megfogó rögzítés biztosítja.
(2) Nem minősülnek kölcsönös átjárhatóságot lehetővé tevő elemnek a más vágánykialakításokhoz használt önálló rendszerelemek és azok szerkezeti részegységei.
5.2. A rendszerelemek felsorolása
(1) Ezen átjárhatósági műszaki előírások alkalmazásában csak az alábbi rendszerelemek - legyenek akár a vágány önálló rendszerelemei, akár annak szerkezeti részegységei - tekinthetők "a kölcsönös átjárhatóságot lehetővé tevő rendszerelemeknek":
a) sín (5.3.1.);
b) sínleerősítő rendszerek (5.3.2.);
c) aljak (5.3.3.).
(2) A következő szakaszok az ezen alkotóelemek mindegyike esetében alkalmazandó előírásokat ismertetik.
(3) Nem minősülnek kölcsönös átjárhatóságot lehetővé tevő rendszerelemeknek a rövid, különleges célra használt vágányszakaszokon - például kitérőkben, vágánydilatációs szerkezeteken, átmenő betonlemezeken és különleges műtárgyakon - található sínek, aljak és leerősítések.
5.3. A rendszerelemek teljesítménye és előírásai
5.3.1. A sín
(1) A sínre mint kölcsönös átjárhatóságot lehetővé tevő rendszerelemre vonatkozó előírások a következők:
a) sínfejprofil;
b) tehetetlenségi nyomaték a sín keresztmetszetén;
c) sínkeménység.
5.3.1.1. Sínfejprofil
(1) A sínfejprofilnak meg kell felelnie "A nyíltvonali és állomási átmenő fővágány sínfejprofilja" című 4.2.5.6. szakasz követelményeinek.
5.3.1.2. Tehetetlenségi nyomaték a sín keresztmetszetén
(1) A tehetetlenségi nyomaték "A vágány alkalmazott terheléssel szembeni ellenállása" című 4.2.7. szakasz követelményei tekintetében bír jelentőséggel.
(2) A tervezett sínszakasz súlyponton áthaladó fő vízszintes tengelyén a tehetetlenségi nyomaték (I) számított értéke legalább 1 600 cm4.
5.3.1.3. Sínkeménység
(1) A sínkeménység "A nyíltvonali és állomási átmenő fővágány sínfejprofilja" című 4.2.5.6. szakasz követelményei tekintetében bír jelentőséggel.
(2) A sínfej koronáján mért keménység legalább 200 HBW.
5.3.2. A sínleerősítő rendszerek
(1) A sínleerősítő rendszer "A vágány hosszanti erőkkel szembeni ellenállása" című 4.2.7.2. szakasz, "A vágány keresztirányú erőkkel szembeni ellenállása" című 4.2.7.3. szakasz és "A vágány függőleges terheléssel szembeni ellenállása" című 4.2.7.1. szakasz követelményei tekintetében bír jelentőséggel.
(2) A sínleerősítő rendszernek laboratóriumi vizsgálati feltételek mellett meg kell felelnie a következő követelményeknek:
a) egy sínleerősítő elemben a sínvándorláshoz (azaz a rugalmatlan elmozduláshoz) szükséges hosszanti erőnek legalább 7 kN-nak kell lennie,
b) a sínleerősítésnek el kell viselni az éles ívben alkalmazott 3 000 000 ciklus szokásos terhelést úgy, hogy a leerősítés teljesítménye szorítási erő és hosszirányú rögzítés tekintetében legfeljebb 20 %-kal, a függőleges merevség pedig legfeljebb 25 %-kal csökkenhet. A szokásos terhelésnek meg kell felelnie az alábbiaknak:
i. az a legnagyobb tengelyterhelés, melynek kiszolgálására a sínleerősítő rendszert tervezték;
ii. a sín, a síndőlés, a közbetétlemez tartomány és azon aljak típusának kombinációja, amellyel a leerősítési rendszert együtt használhatják.
5.3.3. Aljak
(1) Az aljakat úgy tervezik, hogy azok tulajdonságai meghatározott sínek és sínleerősítő rendszer használata esetén megfeleljenek a "Névleges nyomtávolság" című 4.2.5.1. szakasz, "Az egyenértékű kúposság üzem közbeni szabályozási követelményei" című 4.2.5.5.2. szakasz (5. táblázat: Az átlagos legkisebb nyomtávolság üzem közben egyenes pályán és R > 10 000 m sugarú ívben)", a "Síndőlés" című 4.2.5.7. szakasz és a "A vágány alkalmazott terheléssel szembeni ellenállása" című 4.2.7. rész követelményeinek.
6. A KÖLCSÖNÖS ÁTJÁRHATÓSÁGOT LEHETŐVÉ TEVŐ RENDSZERELEMEK MEGFELELŐSÉGÉNEK ÉRTÉKELÉSE ÉS AZ ALRENDSZEREK EK-HITELESÍTÉSE
6.1. Kölcsönös átjárhatóságot lehetővé tevő rendszerelemek
6.1.1. Megfelelőségértékelési eljárások
(1) A jelen ÁME 5. fejezetében meghatározott kölcsönös átjárhatóságot lehetővé tevő rendszerelemek megfelelőségértékelési eljárásait a vonatkozó modulok alkalmazásával hajtják végre.
6.1.2. A modulok alkalmazása
(1) A kölcsönös átjárhatóságot lehetővé tevő rendszerelemek megfelelőségértékeléséhez a következő modulokat használják:
a) CA. modul"Belső termelés-ellenőrzés";
b) CB. modul"EK-típusvizsgálat";
c) CD. modul"Típusmegfelelőség a gyártási eljárás minőségirányítási rendszere alapján";
d) CF. modul"Típusmegfelelőség a termékhitelesítés alapján";
e) CH. modul"Megfelelőség a teljes minőségirányítási rendszer alapján".
(2) A kölcsönös átjárhatóságot lehetővé tevő rendszerelemek megfelelőségértékeléséhez a modulokat a 13. táblázatban feltüntetett modulok közül kell kiválasztani:
13. táblázat
A kölcsönös átjárhatóságot biztosító rendszerelemek megfelelőségértékeléséhez használatos modulok
| Eljárások | Sín | Sínleerősítő rendszer | Aljak |
| Az Európai Unió piacán az ÁME hatálybalépése előtt forgalomba hozott | CA vagy C. | CA vagy CH | |
| Az Európai Unió piacán az ÁME hatálybalépése után forgalomba hozott | CB + CD vagy CB + CF vagy CH. | ||
(3) Ezen ÁME közzététele előtt forgalomba hozott termékek esetében a típus jóváhagyottnak minősül, és ezért EK-típusvizsgálatra nincs szükség (CB. modul), feltéve, hogy a gyártó bizonyítja, hogy a kölcsönös átjárhatóságot lehetővé tevő rendszerelemek vizsgálatát és hitelesítését a korábbi alkalmazások esetében összemérhető körülmények között sikeresnek tekintették, és azok megfelelnek ezen ÁME követelményeinek. Ebben az esetben ezek az értékelések az új alkalmazásra vonatkozóan is érvényesek maradnak. Ha nem bizonyítható, hogy a megoldás a múltban valóban bevált, az EU piacán az ezen ÁME közzététele után forgalomba hozott kölcsönös átjárhatóságot biztosító rendszerelemekre vonatkozó eljárás az irányadó.
(4) A kölcsönös átjárhatóságot lehetővé tevő rendszerelemek megfelelőségértékelésének ki kell terjednie az A. melléklet 20. táblázatában feltüntetett fázisokra és jellemzőkre.
6.1.3. A kölcsönös átjárhatóságot lehetővé tevő rendszerelemek innovatív megoldásai
(1) Ha egy kölcsönös átjárhatóságot lehetővé tevő rendszerelem számára javasolt megoldás az 5.2. szakasz meghatározása értelmében innovatív, a gyártó vagy a Közösségben székhellyel rendelkező meghatalmazott képviselője megállapítja az ÁME megfelelő szakaszától való eltéréseket, és azokat benyújtja elemzésre a Bizottsághoz.
(2) Ha az elemzés kedvező eredménnyel zárul, a Bizottság engedélye alapján kifejlesztik a rendszerelemek működésére és kapcsolódási pontjaira vonatkozó megfelelő előírásokat és az értékelési módszert.
(3) Az így elkészült működésre és kapcsolódási pontokra vonatkozó megfelelő előírásokat és az értékelési módszereket felülvizsgálati eljárással beépítik az ÁME-be.
(4) Az irányelv 29. cikke alapján hozott bizottsági határozatról szóló értesítés után engedélyezhető az innovatív megoldásoknak azok ÁME-be történő beépítése előtti használata.
6.1.4. A kölcsönös átjárhatóságot lehetővé tevő rendszerelem EK-megfelelőségi nyilatkozata
6.1.4.1. Más közösségi irányelvek tárgyát képező, kölcsönös átjárhatóságot lehetővé tevő rendszerelemek
(1) A 2008/57/EK irányelv 13. cikkének (3) bekezdése előírja, hogy "amennyiben a kölcsönös átjárhatóságot lehetővé tevő rendszerelemek más szempontokra kiterjedő egyéb közösségi irányelvek hatálya alá tartoznak, úgy az EK-megfelelőségi, illetve alkalmazhatósági nyilatkozatban - ilyen esetekben - fel kell tüntetni, hogy a kölcsönös átjárhatóságot lehetővé tevő rendszerelemek más irányelvek követelményeinek is eleget tesznek."
(2) A 2008/57/EK irányelv IV. mellékletének 3. pontja szerint az EK-megfelelőségi nyilatkozatot egy olyan nyilatkozatnak kell kísérnie, amely feltünteti a használati feltételeket.
6.1.4.3. A sínleerősítő rendszerek EK-megfelelőségi nyilatkozata
(1) Az EK-megfelelőségi nyilatkozatot egy olyan nyilatkozatnak kell kísérnie, amely közli az alábbiakat:
a) a sín, a síndőlés, a közbetétlemez tartomány és azon aljak típusának kombinációja, amellyel a leerősítési rendszert együtt használhatják.
b) az a legnagyobb tengelyterhelés, melynek kiszolgálására a sínleerősítő rendszert tervezték.
6.1.4.4. Az aljak EK-megfelelőségi nyilatkozata
(1) Az EK-megfelelőségi nyilatkozatot egy olyan nyilatkozatnak kell kísérnie, amely feltünteti a nyomtávtartomány-, síndőlés- és sínleerősítő rendszerek azon kombinációját, amely mellett az alj használható.
6.2. Infrastruktúra alrendszer
6.2.1. Általános rendelkezések
(1) A kérelmező kérésére a bejelentett szervezet a 2008/57/EK irányelv 18. cikkének és VI. mellékletének, valamint a vonatkozó modulok rendelkezéseinek megfelelően elvégzi az infrastruktúra alrendszer EK-hitelesítését.
(2) Ha a kérelmező bizonyítani tudja, hogy az infrastruktúra alrendszer vizsgálatait vagy hitelesítéseit hasonló körülmények között a konstrukció korábbi alkalmazásai esetében már sikeresen elvégezték, a bejelentett szervezet az EK-hitelesítés során figyelembe veszi ezeket a vizsgálatokat és ellenőrzéseket.
(3) Az infrastruktúra alrendszer EK-hitelesítésének ki kell terjednie az ezen ÁME B. mellékletének 21. táblázatában feltüntetett fázisokra és jellemzőkre. A 6.2.4. szakasz tartalmazza az infrastruktúra alrendszer sajátos alapvető paramétereinek értékelésére szolgáló külön eljárásokat.
(4) Az infrastruktúra alrendszerre vonatkozó EK-hitelesítési nyilatkozatot a 2008/57/EK irányelv 18. cikkével és V. mellékletével összhangban a kérelmező állítja ki.
6.2.2. A modulok alkalmazása
(1) Az infrastruktúra alrendszer EK-hitelesítéséhez a kérelmező választhat az alábbiak közül:
a) SG. modul: egységhitelesítésen alapuló EK-hitelesítés; vagy
b) SH1. modul: megfelelőség a teljes minőségirányítási rendszer és a tervezés vizsgálata alapján.
6.2.2.1. Az SG. Modul alkalmazása
(1) Amennyiben az EK-hitelesítést a pályahálózat-működtető, az ajánlatkérő vagy a bevont fővállalkozók által összegyűjtött (például a felépítményi mérőkocsival vagy más mérőeszközzel nyert) adatok felhasználásával lehet a leghatékonyabban elvégezni, a bejelentett szervezet a megfelelőség értékelésekor figyelembe veszi ezeket az adatokat.
6.2.2.2. Az SH1. Modul alkalmazása
(1) Az SH1. modul csak akkor választható, ha a javasolt hitelesítendő alrendszert támogató összes tevékenységet (tervezés, gyártás, összeszerelés, üzembe helyezés) a bejelentett szervezet által jóváhagyott és felügyelt, a tervezésre, gyártásra, a végtermék ellenőrzésére és próbájára vonatkozó minőségirányítási rendszer szabályozza.
6.2.3. Innovatív megoldások
(1) Ha az alrendszer a 4.1. szakaszban említett innovatív megoldásokat tartalmaz, a kérelmező megállapítja az ezen ÁME vonatkozó rendelkezéseitől való eltéréseket, és benyújtja azokat a Bizottsághoz.
(2) Kedvező vélemény esetén kifejlesztik az e megoldás működésére és kapcsolódási pontjaira vonatkozó megfelelő előírásokat és értékelési módszereket.
(3) Az így elkészült, működésre és kapcsolódási pontokra vonatkozó megfelelő előírásokat és az értékelési módszereket ezt követően felülvizsgálati eljárással beépítik az ÁME-be.
(4) Az irányelv 29. cikke alapján hozott bizottsági határozatról szóló értesítést követően engedélyezhető az innovatív megoldásoknak azok ÁME-ben történő szerepeltetését megelőző használata.
6.2.4. Az alrendszer sajátos vizsgálati eljárásai
6.2.4.1. AZ ŰRszelvény értékelése
(1) Az űrszelvény értékelését a pályahálózat-működtető vagy az ajánlatkérő által az EN 15273-3:2009 szabvány 5., 7. és 10. fejezete, valamint C. melléklete alapján elvégzett számítások eredményei alapján lehet elvégezni.
6.2.4.2. Vágánytengely-távolság értékelése
(1) A vágánytengely-távolság értékelését a pályahálózat-működtető vagy az ajánlatkérő által az EN 15273-3:2009 szabvány 9. fejezete alapján elvégzett számítások eredményei alapján lehet elvégezni.
6.2.4.3. Túlemelés hiány értékelése
(1) A 4.2.5.4.1. szakasz előírja, hogy "a magasabb túlemeléshiány-értékek melletti futás megengedhető a kifejezetten magas túlemeléshiány melletti futásra tervezett vonatok esetében (alacsonyabb tengelyterhelésű kocsiegységek; a túlemeléshiányt kiegyensúlyozó rendszerrel ellátott vonatok), amennyiben annak biztonságossága igazolható".
(2) A biztonságosság igazolását a bejelentett szervezet nem ellenőrzi.
6.2.4.4. AZ Egyenértékű kúposság tervezési értékeinek értékelése
(1) Az egyenértékű kúposság tervezési értékeinek értékelését a pályahálózat-működtető vagy az ajánlatkérő által az EN 15302:2008 szabvány alapján elvégzett számítások eredményei alapján lehet elvégezni.
6.2.4.5. Az átlagos nyomtávolság legkisebb értékének értékelése
(1) A nyomtávolság mérési módját az EN 13848-1:2003 + A1:2008 szabvány 4.2.1. szakasza adja meg.
6.2.4.6. Az alagutakban fellépő legnagyobb nyomásingadozásOK értékelése
(1) Az alagutakban fellépő legnagyobb nyomásingadozást (10 kPa-os kritérium) a pályahálózat-működtető vagy az ajánlatkérő által az összes üzemi körülmény alapján elvégzett számítások eredményeinek felhasználásával kell értékelni, a nagy sebességű és hagyományos vasúti járművekre vonatkozó ÁME-nek megfelelő és az adott értékelendő alagúton 190 km/h sebesség feletti sebességgel való áthaladásra tervezett összes vonat esetében.
(2) Az alkalmazandó bemeneti paraméterek esetében a vonatok nagy sebességű vasúti járművekre vonatkozó ÁME-ben meghatározott jellemző referencia-nyomásjelzéseinek teljesülnie kell.
(3) A kölcsönös átjárhatóságra alkalmas vonatok referencia-űrszelvényei az adott vontató és vontatott járművektől függetlenül az alábbiak:
a) 12 m2 a GC kinematikus referencia-űrszelvényre tervezett járműveknél;
b) 11 m2 a GB kinematikus referencia-űrszelvényre tervezett járműveknél;
c) 10 m2 a kisebb kinematikus referencia-űrszelvényre tervezett járműveknél.
(4) Az értékelés során figyelembe lehet venni a nyomásingadozást csökkentő konstrukciós adottságokat (az alagút bejáratának alakja, aknák stb.), ha vannak ilyenek, valamint az alagút hosszát.
6.2.4.7. KITÉRŐK üzem közbeni geometriájának értékelése
(1) A kitérők tervezési fázisban való értékelése annak ellenőrzését szolgálja, hogy a használt tervezési értékek megfelelnek a 4.2.6.2. szakaszban meghatározott üzem közbeni határértékeknek.
(2) A fix tompaszögű kereszteződések tervezési fázisban való értékelése annak ellenőrzését szolgálja, hogy betartják a 4.2.6.3. szakasz vezetetlen hosszra vonatkozó követelményeit.
6.2.4.8. Új műtárgyak értékelése
(1) A műtárgyak értékelése csak a tervezéshez felhasznált forgalmi terhelések 4.2.8.1., 4.2.8.2. és 4.2.8.3. szakasz követelményeinek való megfelelésének ellenőrzését szolgálja. A bejelentett szervezetnek nem kell megvizsgálnia a terveket, és számításokat sem kell végeznie. A tervezéshez használt alfa érték 4.2.8.1. és 4.2.8.2. szakasz szerinti vizsgálatakor csak azt kell ellenőrizni, hogy az alfa érték megfelel-e a 6. táblázatnak.
6.2.4.9. Meglévő műtárgyak értékelése
(1) A meglévő műtárgyak értékelését annak ellenőrzésével kell elvégezni, hogy az EN-vonalkategóriák (és adott esetben mozdonyosztályok) értékei a pályahálózat-működtető által a műtárgy helye szerinti vonalakra közzétett megengedett sebesség mellett megfelelnek-e ezen ÁME E. mellékletének.
6.2.4.10. A vonatokat kiszolgáló helyhez kötött berendezések értékelése
(1) A vonatokat kiszolgáló helyhez kötött berendezések értékelése az érintett tagállamok feladata.
6.2.5. Olyan műszaki megoldások, amelyek megfelelősége már a tervezési fázisban feltételezett
6.2.5.1. Nyíltvonali és állomási átmenő fővágányok állékonyságának értékelése
(1) A következő jellemzőknek megfelelő beágyazott nyíltvonali és állomási átmenő fővágányt úgy tekintik, hogy az megfelel a vágány hosszanti, függőleges és keresztirányú erőknek való ellenállásával kapcsolatban a 4.2.7. szakaszban megállapított követelményeknek:
a) "A kölcsönös átjárhatóságot lehetővé tevő rendszerelemek" című 5. fejezetben a sín (5.3.1.), a sínleerősítő rendszerek (5.3.2.) és az aljak (5.3.3.) kölcsönös átjárhatóságot lehetővé tevő rendszerelemeire meghatározott követelmények teljesülnek;
b) sínenként minden kilométeren legalább 1 500 sínleerősítő elem van.
6.2.5.2. A vágány állékonyságának értékelése KITÉRŐK vonatkozásában
(1) A következő jellemzőknek megfelelő kitérőket úgy tekintik, hogy azok a vágány hosszirányú, függőleges és keresztirányú erőknek való ellenállásával kapcsolatban megfelelnek a 4.2.7. szakaszban megállapított követelményeknek:
a) "A kölcsönös átjárhatóságot lehetővé tevő rendszerelemek" című 5. fejezetben a sínekre (5.3.1.) meghatározott követelmények teljesülnek a kitérőkben lévő sínek tekintetében, és megfelelő vezetősíneket és kereszteződéseket alkalmaznak;
b) "A kölcsönös átjárhatóságot lehetővé tevő rendszerelemek" című 5. fejezetben a sínleerősítő rendszerekre (5.3.2.) meghatározott követelményeket minden sínleerősítő elem teljesíti, a kitérők mozgó részeinél használt sínleerősítők kivételével;
c) sínenként a kitérők hosszára átlagolva minden kilométeren legalább 1 500 sínleerősítő elem van.
6.3. EK-hitelesítés a sebesség mint átállási kritérium esetében
(1) A 7.4. szakasz megengedi, hogy a vonalat a tervezett sebességhatárnál alacsonyabb sebességen állítsák üzembe. Ez a szakasz az ilyen körülmények közötti EK-hitelesítésre irányadó feltételeket tartalmazza.
(2) A 4. fejezetben megállapított egyes határértékek az útvonalra tervezett sebességtől függnek.
A megfelelőséget a tervezett sebességhatárra vonatkozóan kell értékelni; az üzembehelyezéskor azonban a sebességtől függő jellemzők alacsonyabb sebességre vonatkozó értékelése is megengedett.
(3) A többi jellemzőnek az útvonalra tervezett sebességnél való megfelelősége érvényes marad.
(4) A kölcsönös átjárhatóság e tervezett sebességen való megállapításához az ideiglenesen be nem tartott jellemzők megfelelőségét elegendő akkor értékelni, amikor azok esetében megvalósul az előírt szint.
6.4. A karbantartási terv értékelése
(1) A 4.5. szakasz kötelezi a pályahálózat-működtetőt, hogy valamennyi hagyományos vonalra vonatkozóan rendelkezzen az infrastruktúra alrendszer karbantartási tervével.
(2) A bejelentett szervezetnek meg kell erősítenie, hogy van karbantartási terv, és az tartalmazza a 4.5.1. szakaszban felsorolt elemeket. A bejelentett szervezetnek a karbantartási dokumentációban részletezett követelmények megfelelőségének értékelése nem feladata.
(3) A bejelentett szervezetnek csatolnia kell a 4.5.1. szakaszban előírt karbantartási dokumentáció egy példányát a 2008/57/EK irányelv 18. cikkének (3) bekezdésében előírt műszaki dokumentációhoz.
6.6. Kölcsönös átjárhatóságot lehetővé tevő, EK-nyilatkozattal nem rendelkező rendszerelemek
6.6.1. Feltételek
(1) Az e határozat 6. cikkében előírt átmeneti időszak alatt a bejelentett szervezet még akkor is kiadhat EK-ellenőrzési tanúsítványokat egy alrendszerről, ha az alrendszer részét képező, kölcsönös átjárhatóságot lehetővé tevő egyes rendszerelemek nem rendelkeznek az ezen ÁME szerinti EK-megfelelőségi és/vagy alkalmazhatósági nyilatkozatokkal, a következő feltételek teljesülése esetén:
a) a bejelentett szervezet ellenőrizte az alrendszer megfelelőségét az ezen ÁME 4., és 6.2-7. fejezetében (a "Különleges esetek" című 7.6. szakasz kivételével) meghatározott követelmények szempontjából. Ezen túlmenően nem érvényesül a kölcsönös átjárhatóságot lehetővé tevő rendszerelemek 5. és 6.1. fejezetben foglaltaknak való megfelelése; és
b) az EK-megfelelőségi, illetve EK-alkalmazhatósági nyilatkozattal nem rendelkező, kölcsönös átjárhatóságot lehetővé tevő rendszerelemeket ezen ÁME hatálybalépése előtt a tagállamok egyikében jóváhagyott és üzemelő alrendszerben már alkalmazták.
(2) Az ilyen módon értékelt, kölcsönös átjárhatóságot lehetővé tevő rendszerelemek esetében EK-megfelelőségi, illetve EK-alkalmazhatósági nyilatkozatokat nem szabad kiadni.
6.6.2. Dokumentáció
(1) Az alrendszer EK-hitelesítési tanúsítványának egyértelműen jeleznie kell, hogy a bejelentett szervezet a kölcsönös átjárhatóságot lehetővé tevő rendszerelemek közül melyeket értékelte az alrendszer hitelesítésének részeként.
(2) Az alrendszer EK-hitelesítési nyilatkozatában egyértelműen fel kell tüntetni a következőket:
a) a kölcsönös átjárhatóságot lehetővé tevő rendszerelemek közül melyeket értékelték az alrendszer részeként;
b) annak megerősítése, hogy az alrendszer azokat a kölcsönös átjárhatóságot lehetővé tevő rendszerelemeket tartalmazza, amelyek azonosak az alrendszer részeként tanúsítottakkal;
c) adott esetben annak oka vagy okai, hogy a gyártó miért nem biztosított EK-megfelelőségi, illetve EK-alkalmazhatósági nyilatkozatot, mielőtt az ilyennel nem rendelkező, kölcsönös átjárhatóságot lehetővé tevő rendszerelemeket az alrendszerbe beépítette volna, beleértve a 2008/57/EK irányelv 17. cikkével összhangban bejelentett nemzeti szabályok alkalmazását is.
6.6.3. A 6.6.1. szakasz szerint hitelesített alrendszerek karbantartása
(1) Az átmeneti időszak alatt és azt követően az EK-megfelelőségi és/vagy EK-alkalmazhatósági nyilatkozattal nem rendelkező, azonos típusú kölcsönös átjárhatóságot lehetővé tevő rendszerelemek az alrendszer korszerűsítéséig vagy felújításáig (az ÁME alkalmazására vonatkozó tagállami döntésre figyelemmel) tovább használhatók karbantartással kapcsolatos cserék céljára (pótalkatrészeként), a karbantartásért felelős szerv felelősségére.
(2) A karbantartásért felelős szervnek mindenesetre biztosítania kell, hogy a karbantartással kapcsolatos cserék a céljukra megfelelnek, azokat saját felhasználási területükön használják, valamint azok lehetővé teszik a vasúti rendszer kölcsönös átjárhatóságának elérését, egyidejűleg megfelelve az alapvető követelményeknek. Az ilyen rendszerelemeknek visszakereshetőnek és a nemzeti vagy nemzetközi szabályoknak vagy a vasúti területen széles körben elismert magatartási szabályzatnak megfelelően tanúsítottnak kell lenniük.
7. AZ INFRASTRUKTÚRA ÁME VÉGREHAJTÁSA
7.1. A jelen ÁME alkalmazása hagyományos vasútvonalakra
(1) A 4. és 6. fejezet és az alábbi 7.2-7.6. bekezdés minden különös rendelkezése teljes egészében érvényes az ezen ÁME hatálya alá tartozó azon vonalakra, amelyek kölcsönösen átjárható vonalként történő üzembe helyezése ezen ÁME hatálybalépését követően esedékes.
(2) A tagállamok kialakítják nemzeti átállási stratégiájukat, amely meghatározza a TEN-vonalak tekintetében az infrastruktúra alrendszernek a kölcsönösen átjárható üzemhez szükséges rendszerelemeit (pl. vágányok, csatlakozó vágányok, állomások, rendező-pályaudvarok), és ezeknek ilyen módon meg kell felelniük ennek az ÁME-nek. Az átállási stratégia tartalmazza a felújításra és korszerűsítésre vonatkozó terveket is. E rendszerelemek meghatározásakor a tagállamok figyelembe veszik a rendszer egészének koherenciáját.
7.2. A jelen ÁME alkalmazása új hagyományos vasútvonalakra
(1) Az új TEN-törzsvonalaknak (IV. típus) meg kell felelniük a IV-P, IV-F vagy IV-M ÁME-vonalkategóriák követelményeinek.
(2) A más típusú új TEN-vonalaknak (VI. típus) meg kell felelniük a VI-P, VI-F vagy VI-M ÁME-vonalkategóriák követelményeinek. Megengedhető az is, hogy a vonal a IV-P, IV-F vagy IV-M ÁME-vonalkategóriák követelményeinek feleljen meg.
(3) Ezen ÁME alkalmazásában "új vonal" a jelenleg nem létező útvonalat létrehozó vonal.
(4) A következő helyzetek - például a sebesség vagy kapacitás növelése céljából - korszerűsített és nem új vonal létesítésének minősülhetnek:
a) meglévő útvonal egy részének kiigazítása;
b) átjáró kialakítása;
c) meglévő útvonal egy vagy több vágánnyal történő kiegészítése, az eredeti és a további vágányok közötti távolságra tekintet nélkül.
7.3. A jelen ÁME alkalmazása meglévő hagyományos vasútvonalakra
Az ÁME alkalmazásának négy lehetséges esete bír jelentőséggel.
7.3.1. Vonalkorszerűsítés
(1) A 2008/57/EK irányelv 2. cikke m) pontjának megfelelően "korszerűsítés" az alrendszert vagy az alrendszer egy részét módosító jelentősebb munkálat, amely javítja az alrendszer általános teljesítményét.
(2) Valamely vonal infrastruktúra alrendszere akkor tekinthető korszerűsítettnek, ha legalább a tengelyterhelés és nyomtáv tekintetében a 4.2.2. szakaszban meghatározott teljesítményparaméterek teljesülnek. Ezekben az esetekben a tagállam ellenőrzi, hogy a 2008/57/EK irányelv 20. cikke (1) bekezdésében említett dokumentáció esetében a következő kérések érvényesülnek-e:
(2.1) Meglévő TEN-törzsvonalak korszerűsítésének meg kell felelnie az V-P, V-F és V-M ÁME-vonalkategóriák követelményeinek. (Megengedett a IV vonaltípus követelményeire való korszerűsítés is.)
(2.2) Meglévő egyéb TEN-vonalak korszerűsítésének meg kell felelnie az VII-P, VII-F és VII-M ÁME-vonalkategóriák követelményeinek. (Megengedett a VI vonaltípus követelményeire való korszerűsítés is.)
(2.3) A 2008/57/EK irányelv 20. cikkének (1) bekezdése szerint más ÁME-paraméterek tekintetében a tagállamok döntik el, hogy az ÁME-t milyen mértékig kell a projektre alkalmazni.
(3) Amennyiben a 2008/57/EK irányelv 20. cikkének (2) bekezdését kell alkalmazni, mivel a korszerűsítés új üzembe helyezési engedélyhez kötött, a tagállam dönt arról, hogy az ÁME mely követelményeit kell alkalmazni, figyelemmel a 7.1. szakaszban említett átállási stratégiára.
(4) Amennyiben a 2008/57/EK irányelv 20. cikkének (2) bekezdését nem kell alkalmazni, mivel a korszerűsítés nem üzembe helyezési engedélyhez kötött, ajánlott az ÁME-nek való megfelelés. Amennyiben a megfelelés nem valósítható meg, az ajánlatkérő tájékoztatja a tagállamot ennek okairól.
(5) Az ÁME-nek nem megfelelő projektek (a projektelemeket is ideértve) esetében az alkalmazandó megfelelőségértékelési és EK-hitelesítési eljárásokról a tagállammal kell megállapodni.
7.3.2. Vonalfelújítás
(1) A 2008/57/EK irányelv 2. cikke n) pontjának megfelelően "korszerűsítés" egy alrendszernek vagy az alrendszer egy részének cseréjére irányuló olyan nagyobb munkálat, amely az alrendszer általános teljesítményét nem változtatja meg.
(2) Ebből a célból a nagyobb cserét olyan projektnek kell tekinteni, amelynek célja egy vonal vagy vonalszakasz elemeinek a nemzeti átállási tervvel összhangban elvégzett módszeres cseréje. A felújítás a cserétől a lenti 7.3.3. pontban említett karbantartás vonatkozásában annyiban tér el, hogy az lehetőséget ad az ÁME-előírásait teljesítő útvonal megvalósítására. A felújítás lényegében a korszerűsítéssel egyezik meg, a teljesítményparamétereken ez azonban nem változtat.
(3) Amennyiben a 2008/57/EK irányelv 20. cikkének (2) bekezdését kell alkalmazni, mivel a felújítás új üzembe helyezési engedélyhez kötött, a tagállam dönt arról, hogy az ÁME mely követelményeit kell alkalmazni, figyelemmel a 7.1. szakaszban említett átállási stratégiára.
(4) Amennyiben a 2008/57/EK irányelv 20. cikkének (2) bekezdését nem kell alkalmazni, mivel a felújítás nem üzembe helyezési engedélyhez kötött, ajánlott az ÁME-nek való megfelelés. Amennyiben a megfelelés nem valósítható meg, az ajánlatkérő tájékoztatja a tagállamot ennek okairól.
(5) Az ÁME-nek nem megfelelő projektek (a projektelemeket is ideértve) esetében az alkalmazandó megfelelőségértékelési és EK-hitelesítési eljárásokról a tagállammal kell megállapodni.
7.3.3. Karbantartás keretében végzett csere
(1) Amennyiben valamely vonalon az alrendszer részeit karbantartják, ezen ÁME alapján hivatalos hitelesítés és üzembe helyezési engedély nem szükséges. A karbantartás keretében zajló cserét azonban az ésszerűen megvalósítható mértékig ezen ÁME követelményeinek megfelelően kell végezni.
(2) A célkitűzés az, hogy a karbantartás keretében zajló cserék fokozatosan járuljanak hozzá a kölcsönösen átjárható vonal fejlesztéséhez.
(3) Annak érdekében, hogy az infrastruktúra alrendszer egy jelentős része bevonható legyen a kölcsönös átjárhatóság fokozatos megvalósításába, az alapvető paraméterek egyes csoportjait mindig együttesen kell fejleszteni. Ezek a csoportok a következők:
a) vonalkialakítás;
b) vágányparaméterek;
c) kitérők;
d) a vágány állékonysága alkalmazott terhelések esetén;
e) a műtárgyak állékonysága forgalmi terhelés esetén;
f) peronok.
(4) Ilyen esetekben azt a tényt kell figyelembe venni, hogy az egyes ilyen elemek elszigetelten kezelve önmagukban nem teszik lehetővé az egész megfelelőségének biztosítását: az alrendszer megfelelőségéről csak globálisan lehet nyilatkozni, azaz akkor, ha az összes elemet megfeleltették az ÁME-nek.
7.3.4. Meglevő vonalak, Amelyeken nem zajlik felújítási vagy korszerűsítési projekt
(1) A meglévő alrendszerek lehetővé tehetik az ÁME-nek megfelelő járművek közlekedését a 2008/57/EK irányelv alapvető követelményeinek betartásával. A pályahálózat-működtetőnek ilyen esetben önkéntes alapon tudnia kell igazolni a meglévő alrendszernek az ezen ÁME alapvető paramétereinek való megfelelését.
7.4. A sebesség mint átÁLLÁSI kritérium
(1) Megengedett egy vonal kölcsönösen átjárható vonalként történő üzembe helyezése a tervezett végsebességnél alacsonyabb sebességen. Ebben az esetben azonban a vonalat nem szabad olyan módon megépíteni, hogy akadályozza a tervezett végsebesség jövőbeli alkalmazását.
(2) Például a vágánytengely-távolságnak alkalmasnak kell lennie a tervezett vonalsebességre, de a lejtésnek a vonal üzembe helyezésekor használandó végsebességnek kell megfelelnie.
(3) A megfelelőség ilyen körülmények közötti értékelésére vonatkozó követelményeket a 6.3. szakasz állapítja meg.
7.5. Az infrastruktúra és a járművek összeegyeztethetősége
(1) A járművekre vonatkozó ÁME-nek megfelelő járművek nem automatikusan összeegyeztethetőek az infrastruktúra ÁME-nek megfelelő valamennyi vonallal. Például a GC járműszerkesztési szelvényű jármű nem kompatibilis a GB járműszerkesztési szelvényű alagúttal.
(2) A 4. fejezetben meghatározott ÁME-vonalkategóriák kialakítása rendszerint összeegyeztethető az EN 15528:2008 szabvány szerint kategóriákba sorolt járművekkel, az E. mellékletben feltüntetett maximális sebességig. Egyes hidakon azonban túlzott dinamikai hatások kockázata állhat fenn, ami egyéb módon is érintheti a járművek és az infrastruktúra összeegyeztethetőségét.
(3) A pályahálózat-működtető és a vasúttársaság megegyezése szerinti, konkrét üzemeltetési forgatókönyvekre alapozott ellenőrzések végezhetőek annak igazolására, hogy összeegyeztethetőek-e az E. mellékletben feltüntetett maximális sebességnél gyorsabban közlekedő járművek.
(4) Az ÁME 4.2.2. szakaszában foglaltaknak megfelelően megengedett olyan új és korszerűsített vonalak tervezése, amelyek a megadottnál nagyobb nyomtáv, nagyobb tengelyterhelés, magasabb sebesség és hosszabb vonatok kiszolgálására képesek.
7.6. Különleges esetek
A következő különleges esetek alkalmazhatóak meghatározott hálózatokon. Az ilyen különleges esetek osztályozása:
a) "P" esetek : állandó (permanent) esetek,
b) "T" esetek : ideiglenes (temporary) esetek, amelyeknél ajánlott a célrendszer 2020-ig való megvalósítása (a 884/2004/EK határozattal ( 10 ) módosított, az 1692/96/EK határozatban kitűzött cél).
A 7.6.1-7.6.13. szakaszban meghatározott különleges eseteket a 4. fejezet vonatkozó szakaszaival együttesen kell értelmezni. Eltérő utalás (például további követelmény) hiányában a 4. fejezetben szereplő követelmények helyébe a különleges esetek lépnek. Amennyiben a 4. fejezet vonatkozó szakaszának követelményei esetében különleges eset nem alkalmazandó, ezek a követelmények nem szerepelnek újból a 7.6.1-7.6.13. szakaszban, hanem azokat változatlan formában kell alkalmazni.
7.6.1. Az észt hálózat sajátos jellemzői
Az 1 520/1 524 mm nyomtávolság-rendszer különleges esete nyitott kérdést képez.
7.6.2. A finnországi hálózat sajátos jellemzői
7.6.2.1. Űrszelvény (4.2.4.1.)
(1) Az űrszelvényt a FIN 1 rakszelvény alapján kell meghatározni.
(2) Az űrszelvény számítását az EN 15273-3:2009 szabvány D. melléklete D.4.4. pontja követelményeinek megfelelő statikus vagy kinematikus módszerrel kell meghatározni.
7.6.2.2. Legkisebb vízszintes ívsugár (4.2.4.4.)
(4) A 150-300 m sugártartományba eső elleníveket az ütközők összeakadásának megelőzése céljából az e célra bejelentett nemzeti szabályok szerint kell kialakítani.
7.6.2.3. Névleges nyomtávolság (4.2.5.1.)
(1) A névleges nyomtávolság 1 524 mm.
7.6.2.4. Az egyenértékű kúposság tervezési értékei (4.2.5.5.1.)
(2) Az 1 524 mm-es névleges nyomtávolságra a következő kerékpárokat úgy kell modellezni, hogy megfeleljenek a tervezett (az EN 15302:2008 szabvány szerint szimulált) pályafeltételeknek:
a) S 1002 az EN 13715:2006 szabvány C. mellékletének meghatározása szerint, ahol SR = 1 505 mm;
b) S 1002 az EN 13715:2006 szabvány C. mellékletének meghatározása szerint, ahol SR = 1 511 mm;
c) GV 1/40 az EN 13715:2006 szabvány B. mellékletének meghatározása szerint, ahol SR = 1 505 mm;
d) GV 1/40 az EN 13715:2006 szabvány B. mellékletének meghatározása szerint, ahol SR = 1 511 mm;
e) EPS az EN 13715:2006 szabvány D. mellékletének meghatározása szerint, ahol SR = 1 505 mm.
7.6.2.5. Az egyenértékű kúposság üzem közbeni szabályozási követelményei (4.2.5.5.2)
14. táblázat
Az átlagos legkisebb nyomtávolság üzem közben egyenes pályán és R > 10 000 m sugarú ívben
| Sebességtartomány (km/h) | Átlagos nyomtáv (mm) 100 m-en |
| v ≤ 60 | nincs szükség értékelésre |
| 60 < v ≤ 160 | 1 519 |
| 160 < v ≤ 200 | 1 519 |
7.6.2.6. Kitérők üzem közbeni geometriája (4.2.6.2.)
(2) Az 1 524 mm-es névleges nyomtávolságú kitérők műszaki követelményeinek meg kell felelnie a következő üzem közbeni értékeknek:
a) A vezetéstávolság legnagyobb értéke váltókban: 1 469 mm.
b) A rögzített csúcspontvédelem legkisebb értéke normál kereszteződésben: 1 478 mm.
c) A vezetéstávolság legnagyobb értéke a keresztezési csúcspontban: 1 440 mm.
d) A vezetéstávolság legnagyobb értéke a könyöksín kihajlítása előtti belépési pontjában: 1 469 mm.
e) A vezetősín legnagyobb magassága a pályasín felett 55 mm.
Az a) és b) pont alatti további követelmények változatlanok.
7.6.3. A görögországi hálózat sajátos jellemzői
7.6.3.1. Teljesítményparaméterek (4.2.2.)
(2) A hagyományos transzeurópai vasúti rendszer új és korszerűsített 1 000 mm-es (peloponnészoszi) vonalait az e célból bejelentett nemzeti szabályok szerint kell megtervezni, és azoknak 14 t tengelyterhelésűnek kell lenniük.
(7) A tengelyterhelésre vonatkozó információkat a megengedett sebességgel együtt kell közzétenni.
7.6.3.2. Űrszelvény (4.2.4.1.)
(1) Az 1 000 mm-es (peloponnészoszi) vonalak tekintetében az űrszelvényt az e célra bejelentett nemzeti szabályok szerint kell meghatározni.
7.6.3.3. Vágánytengely-távolság (4.2.4.2.)
(1) Az 1 000 mm-es (peloponnészoszi) vonalak tekintetében a vágánytengely-távolságot az e célra bejelentett nemzeti szabályok alapján kell meghatározni.
7.6.3.4. Legnagyobb lejtés (4.2.4.3)
(3) A tervezési szakaszban 20 mm/m meredekségű lejtési szögeket lehet engedélyezni a fővágányokra.
7.6.3.5. Legkisebb vízszintes ívsugár (4.2.4.4.)
(2) Az 1 000 mm-es (peloponnészoszi) vonalak esetében a tárolóvágányok vagy csatlakozó vágányok esetében a legkisebb tervezett vízszintes ívsugár legalább 110 m.
7.6.3.6. Legkisebb függőleges ívsugár (4.2.4.5.)
(1) Az 1 000 mm-es (peloponnészoszi) vonalak esetében a tároló- és üzemi vágányok függőleges vonalvezetése nem tartalmazhat olyan íveket, amelyek sugara kevesebb, mint 500 m domború, illetve homorú lejttörésben.
7.6.3.7. Névleges nyomtávolság (4.2.5.1.)
(1) A névleges nyomtávolság 1 435 vagy 1 000 mm.
7.6.3.8. KITÉRŐK üzem közbeni geometriája (4.2.6.2.)
(2) Az 1 000 mm-es (peloponnészoszi) névleges nyomtávolságú kitérők műszaki követelményeinek meg kell felelnie a következő üzem közbeni értékeknek:
a) A vezetéstávolság legnagyobb értéke váltókban: 946 mm.
b) A rögzített csúcspontvédelem legkisebb értéke normál kereszteződésben: 961 mm.
c) A vezetéstávolság legnagyobb értéke a keresztezési csúcspontban: nem alkalmazandó.
d) A vezetéstávolság legnagyobb értéke a könyöksín kihajlítása előtti belépési pontjában: 943 mm.
Az a) és b) pont alatti további követelmények változatlanok.
7.6.3.9. A vágány függőleges irányú terheléssel szembeni ellenállása (4.2.7.1.)
(1) Az 1 000 mm-es (peloponnészoszi) vonalak esetében a vágányt, ideértve a kitérőket is, úgy kell megtervezni, hogy legalább 14 t maximális statikus tengelyterhelésnek ellenálljon.
7.6.3.10. Új hidak forgalmi terheléssel szembeni ellenállása (4.2.8.1.) - függőleges irányú terhelések (4.2.8.1.1)
(3) Az 1 000 mm-es (peloponnészoszi) vonalak esetében az alfa α értékének legalább 0,75-nek kell lennie.
7.6.4. Az ír hálózat sajátos jellemzői
7.6.4.1. Teljesítményparaméterek (4.2.2.) - (2) kikötés - 3. táblázat, a "vonat hossza" oszlop
(2) A hagyományos transzeurópai vasúti rendszer infrastruktúrájának új és korszerűsített vonalait úgy kell megtervezni, hogy azok képesek legyenek legalább 215 m hosszúságú személyszállító vonatok és legalább 350 m hosszúságú áruszállító vonatok kiszolgálására.
7.6.4.2. Űrszelvény (4.2.4.1.)
(1) Az űrszelvényt az e célra bejelentett nemzeti szabályok szerint az IRL 1 egységes rakszelvény alapján kell meghatározni.
(1) Az űrszelvényt az e célra bejelentett nemzeti szabályok szerint az IRL 2 egységes rakszelvény alapján kell meghatározni.
7.6.4.3. Vágánytengely-távolság (4.2.4.2.)
(1) A legkisebb vágánytengely-távolságot az e célra bejelentett nemzeti szabályok szerint az IRL 1 egységes rakszelvény alapján kell meghatározni.
(1) A legkisebb vágánytengely-távolságot az e célra bejelentett nemzeti szabályok szerint az IRL 2 egységes rakszelvény alapján kell meghatározni.
7.6.4.4. Névleges nyomtávolság (4.2.5.1.)
(1) A névleges nyomtávolság 1 600 mm.
7.6.4.5. Az egyenértékű kúposság tervezési értékei (4.2.5.5.1.)
(2) Az 1 600 mm-es névleges nyomtávolságra a következő kerékpárokat úgy kell modellezni, hogy megfeleljenek a tervezett (az EN 15302:2008 szabvány szerint szimulált) pályafeltételeknek:
a) S 1002 az EN 13715:2006 szabvány C. mellékletének meghatározása szerint, ahol SR = 1 585 mm;
b) S 1002 az EN 13715:2006 szabvány C. mellékletének meghatározása szerint, ahol SR = 1 591 mm;
c) GV 1/40 az EN 13715:2006 szabvány B. mellékletének meghatározása szerint, ahol SR = 1 585 mm;
d) GV 1/40 az EN 13715:2006 szabvány B. mellékletének meghatározása szerint, ahol SR = 1 591 mm;
e) EPS az EN 13715:2006 szabvány D. mellékletének meghatározása szerint, ahol SR = 1 585 mm.
7.6.4.6. Az egyenértékű kúposság üzem közbeni szabályozási követelményei (4.2.5.5.2)
15. táblázat
Az átlagos legkisebb nyomtávolság üzem közben egyenes pályán és R > 10 000 m sugarú ívben
| Sebességtartomány (km/h) | Átlagos nyomtáv (mm) 100 m-en |
| v ≤ 60 | nincs szükség értékelésre |
| 60 < v ≤ 160 | 1 595 |
| 160 < v ≤ 200 | 1 595 |
7.6.4.7. KITÉRŐK üzem közbeni geometriája (4.2.6.2.)
(2) Az 1 600 mm-es névleges nyomtávolságú kitérők műszaki követelményeinek meg kell felelnie a következő üzem közbeni értékeknek:
a) A vezetéstávolság legnagyobb értéke váltókban: 1 546 mm.
b) A rögzített csúcspontvédelem legkisebb értéke normál kereszteződésben: 1 556 mm.
c) A vezetéstávolság legnagyobb értéke a keresztezési csúcspontban: 1 521 mm.
d) A vezetéstávolság legnagyobb értéke a könyöksín kihajlítása előtti belépési pontjában: 1 546 mm.
Az a) és b) pont alatti további követelmények változatlanok.
7.6.5. A lett hálózat sajátos jellemzői
Az 1 520/1 524 mm nyomtávolság-rendszer különleges esete nyitott kérdést képez.
7.6.6. A litván hálózat sajátos jellemzői
Az 1 520/1 524 mm nyomtávolság-rendszer különleges esete nyitott kérdést képez.
7.6.7. A lengyelországi hálózat sajátos jellemzői
7.6.7.1. Űrszelvény (4.2.4.1.)
(1) Az 1 520 mm-es vonalak tekintetében az űrszelvényt az e célra bejelentett nemzeti szabályok szerint kell meghatározni.
7.6.7.2. Névleges nyomtávolság (4.2.5.1.)
(3) Az 1 520 mm névleges nyomtávolság megengedett az 1 520/1 524 mm vasúttal rendelkező országokból érkező, illetve oda tartó nemzetközi forgalomra használt vonalak esetében.
7.6.7.3. Az egyenértékű kúposság tervezési értékei (4.2.5.5.1.)
(2) Az 1 520 mm-es névleges nyomtávolságra a következő kerékpárokat úgy kell modellezni, hogy megfeleljenek a tervezett (az EN 15302:2008 szabvány szerint szimulált) pályafeltételeknek:
a) S 1002 az EN 13715:2006 szabvány C. mellékletének meghatározása szerint, ahol SR = 1 503 mm;
b) S 1002 az EN 13715:2006 szabvány C. mellékletének meghatározása szerint, ahol SR = 1 509 mm;
c) GV 1/40 az EN 13715:2006 szabvány B. mellékletének meghatározása szerint, ahol SR = 1 503 mm;
d) GV 1/40 az EN 13715:2006 szabvány B. mellékletének meghatározása szerint, ahol SR = 1 509 mm;
e) EPS az EN 13715:2006 szabvány D. mellékletének meghatározása szerint, ahol SR = 1 503 mm.
7.6.7.4. Az egyenértékű kúposság üzem közbeni szabályozási követelményei (4.2.5.5.2)
16. táblázat
Az átlagos legkisebb nyomtávolság üzem közben egyenes pályán és R > 10 000 m sugarú ívben 1 520 mm-es nyomtáv esetén
| Sebességtartomány (km/h) | Átlagos nyomtáv (mm) 100 m-en |
| v ≤ 120 | nincs szükség értékelésre |
| 120 < v ≤ 160 | 1 515 |
| 160 < v ≤ 200 | 1 515 |
7.6.7.5. Kitérők üzem közbeni geometriája (4.2.6.2.)
(2) Az 1 520 mm-es névleges nyomtávolságú kitérők műszaki követelményeinek meg kell felelnie a következő üzem közbeni értékeknek:
a) A vezetéstávolság legnagyobb értéke váltókban: 1 460 mm.
b) A rögzített csúcspontvédelem legkisebb értéke normál kereszteződésben: 1 476 mm.
c) A vezetéstávolság legnagyobb értéke a keresztezési csúcspontban: 1 436 mm.
d) A vezetéstávolság legnagyobb értéke a könyöksín kihajlítása előtti belépési pontjában: 1 460 mm.
Az a) és b) pont alatti további követelmények változatlanok.
7.6.7.6. Fix tompaszögű kereszteződések maximális vezetetlen hossza (4.2.6.3.)
(1) Az 1 520 mm-es nyomtávolság-rendszer esetében a maximális vezetetlen hossz tervezési értéke: 1/9 (tgα = 0,11, α = 6°20') tompa kereszteződés legalább 44 mm megemelt vezetősínnel és 330 mm hozzá tartozó minimális kerékátmérővel az egyenes átmenő útvonalakon.
7.6.8. A portugál hálózatra vonatkozó egyedi tulajdonságok
7.6.8.1. Űrszelvény (4.2.4.1.)
A szerkesztési szelvényt a CPb, CPb + vagy CPc referencia-körvonal alapján kell meghatározni.
Az űrszelvény számítását az EN 15273-3:2009 szabvány D. melléklete D.4.3. pontja követelményeinek megfelelő kinematikus módszerrel kell meghatározni.
A háromsínes vágányrendszer esetében a szerkesztési szelvényt a CPb + referencia-körvonal alapján kell meghatározni, 1 668 mm-es nyomtávra átlagolva.
7.6.8.2. Névleges nyomtávolság (4.2.5.1.)
(1) A névleges nyomtávolság 1 668 mm vagy 1 435 vagy mindkettő, a háromsínes vágányrendszer esetében
7.6.8.3. Az egyenértékű kúposság tervezési értékei (4.2.5.5.1.)
(2) Az 1 668 mm-es névleges nyomtávolságra a következő kerékpárokat úgy kell modellezni, hogy megfeleljenek a tervezett (az EN 15302:2008 szabvány szerint szimulált) pályafeltételeknek:
a) S 1002 az EN 13715:2006 szabvány C. mellékletének meghatározása szerint, ahol SR = 1 653 mm;
b) S 1002 az EN 13715:2006 szabvány C. mellékletének meghatározása szerint, ahol SR = 1 659 mm;
c) GV 1/40 az EN 13715:2006 szabvány B. mellékletének meghatározása szerint, ahol SR = 1 653 mm;
d) GV 1/40 az EN 13715:2006 szabvány B. mellékletének meghatározása szerint, ahol SR = 1 659 mm;
e) EPS az EN 13715:2006 szabvány D. mellékletének meghatározása szerint, ahol SR = 1 653 mm.
7.6.8.4. Az egyenértékű kúposság üzem közbeni szabályozási követelményei (4.2.5.5.2.)
17. táblázat
Az átlagos legkisebb nyomtávolság üzem közben egyenes pályán és R > 10 000 m sugarú ívben
| Sebességtartomány (km/h) | Átlagos nyomtáv (mm) 100 m-en |
| v ≤ 60 | nincs szükség értékelésre |
| 60 < v ≤ 160 | 1 663 |
| 160 < v ≤ 200 | 1 663 |
7.6.8.5. Kitérők üzem közbeni geometriája (4.2.6.2.)
Az 1 668 mm-es névleges nyomtávolságú kitérők műszaki követelményeinek meg kell felelnie a következő üzem közbeni értékeknek:
a) A vezetéstávolság legnagyobb értéke váltókban: 1 613 mm.
b) A rögzített csúcspontvédelem legkisebb értéke normál kereszteződésben: 1 624 mm.
c) A vezetéstávolság legnagyobb értéke a keresztezési csúcspontban: 1 589 mm.
d) A vezetéstávolság legnagyobb értéke a könyöksín kihajlítása előtti belépési pontjában: 1 613 mm.
Az a) és b) pont alatti további követelmények változatlanok.
7.6.9. A romániai hálózat sajátos jellemzői
7.6.9.1. Kitérők üzem közbeni geometriája (4.2.6.2.)
(2) f) A kitérők műszaki követelményeinek meg kell felelnie a 38 mm-es minimális nyomcsatornamélységre vonatkozó üzem közbeni értékeknek.
7.6.10. A spanyol hálózat sajátos jellemzői
7.6.10.1. Űrszelvény (4.2.4.1.)
(1) Az űrszelvényt az e célra bejelentett nemzeti szabályok szerint a GHE16 rakszelvény alapján kell meghatározni.
7.6.10.2. Vágánytengely-távolság (4.2.4.2.)
(1) A vágánytengely-távolság az 1 435 mm-es és 1 668 mm-es nyomtáv esetében a vonal legnagyobb sebessége szerint alakul.
18. táblázat
A spanyol hálózat vágánytengely-távolságai
| Sebesség (km/h) | Vágánytengely-távolság (mm (mm) |
| v ≤ 140 | 3 808 |
| 140 < v ≤ 160 | 3 920 |
| 160 < v ≤ 200 | 4 000 |
Indokolt esetben a vágánytengely-távolság a táblázatban következő alacsonyabb értékre, 100 km/h sebesség alatti vonalak esetében pedig szélsőséges esetben 3 674 mm-re csökkenthető.
(1) A legkisebb vágánytengely-távolság az 1 435 mm-es és 1 668 mm-es nyomtáv esetében 3 808 mm.
Ez 100 km/h sebesség alatti vonalak esetében szélsőséges esetben 3 674 mm-re csökkenthető.
Ha a vágánytengelyek választott távolsága 3 808 mm alatti, igazolni kell, hogy a vonatok elhaladásakor biztonságos távolság marad.
7.6.10.3. Legnagyobb lejtés (4.2.4.3)
(3) A tervezési szakaszban 20 mm/m meredekségű lejtési szögeket a fővágányokra lehet engedélyezni.
7.6.10.4. Névleges nyomtávolság (4.2.5.1.)
(1) A névleges nyomtávolság 1 668 mm vagy 1 435 mm.
(3) A háromsínes vágány névleges nyomtávolsága 1 435 mm vagy 1 668 mm.
7.6.10.5. Az egyenértékű kúposság tervezési értékei (4.2.5.5.1.)
(2) Az 1 668 mm-es névleges nyomtávolságra a következő kerékpárokat úgy kell modellezni, hogy megfeleljenek a tervezett (az EN 15302:2008 szabvány szerint szimulált) pályafeltételeknek:
a) S 1002 az EN 13715:2006 szabvány C. mellékletének meghatározása szerint, ahol SR = 1 653 mm;
b) S 1002 az EN 13715:2006 szabvány C. mellékletének meghatározása szerint, ahol SR = 1 659 mm;
c) GV 1/40 az EN 13715:2006 szabvány B. mellékletének meghatározása szerint, ahol SR = 1 653 mm;
d) GV 1/40 az EN 13715:2006 szabvány B. mellékletének meghatározása szerint, ahol SR = 1 659 mm;
e) EPS az EN 13715:2006 szabvány D. mellékletének meghatározása szerint, ahol SR = 1 653 mm.
7.6.10.6. Az egyenértékű kúposság üzem közbeni szabályozási követelményei (4.2.5.5.2)
19. táblázat
Az átlagos legkisebb nyomtávolság üzem közben egyenes pályán és R > 10 000 m sugarú ívben
| Sebességtartomány (km/h) | Átlagos nyomtáv (mm) 100 m-en |
| v ≤ 60 | Nincs szükség értékelésre |
| 60 < v ≤ 160 | 1 663 |
| 160 < v ≤ 200 | 1 663 |
7.6.10.7. Kitérők üzem közbeni geometriája (4.2.6.2.)
Az 1 668 mm-es névleges nyomtávolságú kitérők műszaki követelményeinek meg kell felelnie a következő üzem közbeni értékeknek:
a) A vezetéstávolság legnagyobb értéke váltókban: 1 618 mm.
b) A rögzített csúcspontvédelem legkisebb értéke normál kereszteződésben: 1 626 mm.
c) A vezetéstávolság legnagyobb értéke a keresztezési csúcspontban: 1 590 mm.
d) A vezetéstávolság legnagyobb értéke a könyöksín kihajlítása előtti belépési pontjában: 1 620 mm.
Az a) és b) pont alatti további követelmények változatlanok.
7.6.11. A svédországi hálózat sajátos jellemzői
A finn hálózattal közvetlen kapcsolatban álló és a kikötői infrastruktúrán a finn hálózatnak az ÁME 7.6.2. szakaszában meghatározott sajátos jellemzői érvényesülnek.
7.6.12. A nagy britanniai hálózat sajátos jellemzői
7.6.12.1. Teljesítményparaméterek (4.2.2.)
(7) A tengelyterheléssel kapcsolatban közzétett információk az (e célból bejelentett nemzeti műszaki szabálynak megfelelően képzett) útvonal-rendelkezésreállási (Route Availability - RA) számot használják, a megengedett sebességgel együtt.
Ha a vágányszakasz teherhordó képessége meghaladja az útvonal-rendelkezésreállási számokra meghatározott tartományt, a teherhordó képességre vonatkozó további adatokat lehet megadni.
7.6.12.2. Űrszelvény (4.2.4.1.)
(1) A hagyományos vonalak nyomtáv tekintetében történő korszerűsítése vagy felújítása esetén elérendő nyomtáv az érintett projektre jellemző érték.
A nyomtávok alkalmazása az erre a célra bejelentett nemzeti szabállyal összhangban történik.
7.6.12.3. Vágánytengely-távolság (4.2.4.2.)
(1) A vágánytengely-távolság 3 400 mm az egyenes vagy a legalább 400 m ívsugarú pályákon.
Amennyiben a topográfiai viszonyok a 3 400 mm-es névleges vágánytengely-távolság elérését nem teszik lehetővé, megengedett a vágánytengely-távolság csökkentése, a vonatok biztonságos áthaladási távolságának biztosítását célzó intézkedések bevezetése mellett.
A vágánytengely-távolság csökkentése az erre a célra bejelentett nemzeti szabállyal összhangban történik.
7.6.12.4. Névleges nyomtávolság (4.2.5.1.)
(3) A "CEN56 függőleges" kialakítású kitérők esetében megengedett az 1 432 mm-es névleges nyomtáv.
7.6.12.5. KITÉRŐK üzem közbeni geometriája (4.2.6.2.)
(4) A "CEN56 függőleges" kialakítású kitérők esetében normál kereszteződésben megengedett az 1 388 mm-es rögzített csúcspontvédelem (a futófelület alatt 14 mm-rel és az elméleti referenciavonalon, a csúcs tényleges pontjától [RP] megfelelő távolságban mérve, a 2. ábrán jelzettek szerint).
7.6.13. Az észak-írországi hálózat sajátos jellemzői
Az Egyesült Királyság észak-írországi hálózatán az ír hálózatnak az ÁME 7.6.4. szakaszában meghatározott sajátos jellemzői érvényesülnek.
A. MELLÉKLET - A KÖLCSÖNÖS ÁTJÁRHATÓSÁGOT LEHETŐVÉ TÉVŐ RENDSZERELEMEK VIZSGÁLATA
A tervezés, fejlesztés és a gyártás különböző fázisaiban, kölcsönös átjárhatóságot lehetővé tevő rendszerelemek bejelentett szervezet által vizsgálandó jellemzőit a 20. táblázat "X"-szel jelöli. Ahol nincs szükség értékelésre, azt a táblázatban "n.a." jelzi.
Az infrastruktúra alrendszer kölcsönös átjárhatóságot lehetővé tevő rendszerelemei tekintetében nincsenek egyedi értékelési eljárások.
20. táblázat
A kölcsönös átjárhatóságot lehetővé tevő rendszerelemek értékelése az EK-megfelelőségi nyilatkozathoz
| Értékelendő jellemzők | Értékelés a következő szakaszban | |||
| Tervezési és fejlesztési fázis | Gyártási fázis | |||
| Terv felülvizsgálata | Gyártási folyamat felülvizsgálata | Típusteszt | Termékminőség (sorozat) | |
| 5.3.1. A sín | ||||
| 5.3.1.1. Sínfejprofil | X | X | n.a. | X |
| 5.3.1.2. Tehetetlenségi nyomaték a sín keresztmetszetén | X | n.a. | n.a. | n.a. |
| 5.3.1.3. Sínkeménység | X | X | n.a. | X |
| 5.3.2. Sínleerősítő rendszerek | n.a. | n.a. | X | X |
| 5.3.3. Aljak | X | X | X | X |
B. MELLÉKLET - AZ INFRASTRUKTÚRA ALRENDSZER ÉRTÉKELÉSE
Az alrendszernek a tervezés, építés és üzemeltetés különböző fázisaiban értékelendő jellemzőit a 21. táblázatban "X" jelöli.
Ahol nincs szükség a bejelentett szervezet általi értékelésre, azt a táblázatban "n.a." jelzi. Ez nem zárja ki, hogy más fázisok esetében egyéb értékelések elvégzése is szükséges lehet.
Az értékelési fázisok meghatározása:
1. "Terv felülvizsgálata" : az értékek, illetve a paraméterek helyességének ellenőrzése az ÁME vonatkozó követelményeihez képest.
2. "Összeszerelve, üzembe helyezés előtt" : helyszíni ellenőrzés közvetlenül az üzembe helyezés előtt arra vonatkozóan, hogy a tényleges termék megfelel-e a vonatkozó tervezési paramétereknek.
A 3. oszlop "Az alrendszer sajátos vizsgálati eljárásai" című 6.2.4. szakaszra való hivatkozásokat tartalmazza.
21. táblázat
Az infrastruktúra alrendszer értékelése az EK-megfelelőség hitelesítéséhez
| Értékelendő jellemzők | Új vonal vagy korszerűsítési/felújítási projekt | Sajátos értékelési eljárások | |
| Terv felülvizsgálata | Összeszerelve, üzembe helyezés előtt | ||
| 1 | 2 | 3 | |
| Űrszelvény (4.2.4.1.) | X | X | 6.2.4.1 |
| Vágánytengely-távolság (4.2.4.2.) | X | X | 6.2.4.2 |
| Legnagyobb lejtés (4.2.4.3) | X | n.a. | |
| Legkisebb vízszintes ívsugár (4.2.4.4.) | X | X | |
| Legkisebb függőleges ívsugár (4.2.4.5.) | X | X | |
| Névleges nyomtávolság (4.2.5.1.) | X | n.a. | |
| Túlemelés (4.2.5.2.) | X | X | |
| Túlemelés változási sebessége (4.2.5.3) | X | X | |
| Túlemeléshiány (4.2.5.4.) | X | n.a. | 6.2.4.3 |
| Egyenértékű kúposság (4.2.5.5.1.) – tervezési | X | n.a. | 6.2.4.4 |
| Egyenértékű kúposság (4.2.5.5.2.) – üzem közbeni | Nyitott kérdés | Nyitott kérdés | 6.2.4.5 |
| Sínfejprofil nyíltvonali és állomási átmenő fővágányhoz (4.2.5.6.) | X | n.a. | |
| Síndőlés (4.2.5.7.) | X | n.a. | |
| Keretmerevség (4.2.5.8.) | Nyitott kérdés | Nyitott kérdés | |
| Végállásrögzítő eszközök (4.2.6.1.) | X | X | |
| Kitérők üzem közbeni geometriája (4.2.6.2.) | n.a. | n.a. | 6.2.4.7 |
| Fix tompaszögű kereszteződések maximális vezetetlen hossza (4.2.6.3.) | X | n.a. | 6.2.4.7 |
| A vágány függőleges irányú terheléssel szembeni ellenállása (4.2.7.1.) | X | n.a. | 6.2.5 |
| A vágány hosszanti erőkkel szembeni ellenállása (4.2.7.2.) | X | n.a. | 6.2.5 |
| A vágány keresztirányú erőkkel szembeni ellenállása (4.2.7.3.) | X | n.a. | 6.2.5 |
| Új hidak forgalmi terheléssel szembeni ellenállása (4.2.8.1.) | X | n.a. | 6.2.4.8 |
| Új alépítmények egyenértékű függőleges irányú terhelése és talajnyomásbeli hatások (4.2.8.2.) | X | n.a. | 6.2.4.8 |
| Vágányok feletti vagy melletti új műtárgyak ellenállása (4.2.8.3.) | X | n.a. | 6.2.4.8 |
| Meglévő hidak és alépítmények forgalmi terheléssel szembeni ellenállása (4.2.8.4.) | n.a. | n.a. | 6.2.4.9 |
| Azonnali beavatkozási, beavatkozási és riasztási határértékek meghatározása (4.2.9.1.) | n.a. | n.a. | 6.2.4.5 |
| Azonnali beavatkozási határérték síktorzulás esetére (4.2.9.2.) | n.a. | n.a. | |
| Azonnali beavatkozási határérték nyomtávolság-ingadozás esetére (4.2.9.3.) | n.a. | n.a. | |
| Azonnali beavatkozási határérték túlemelés esetére (4.2.9.4.) | n.a. | n.a. | |
| A peronok hasznos hossza (4.2.10.1.) | X | n.a. | |
| A peronok szélessége és széle (4.2.10.2.) | Lásd a PRM-et | Lásd a PRM-et | |
| A peronok vége (4.2.10.3.) | Lásd a PRM-et | Lásd a PRM-et | |
| A peronok magassága (4.2.10.4.) | Lásd a PRM-et | Lásd a PRM-et | |
| Peronkinyúlás (4.2.10.5.) | Lásd a PRM-et | Lásd a PRM-et | |
| Maximális nyomásingadozás alagutakban (4.2.11.1.) | X | n.a. | 6.2.4.6 |
| Zaj és vibrációs határértékek és csökkentési intézkedések (4.2.11.2.), | Nyitott kérdés | Nyitott kérdés | |
| Áramütés elleni védelem (4.2.11.3.) | Lásd az ENE-t | Lásd az ENE-t | |
| Vasúti alagutak biztonsága (4.2.11.4.) | Lásd az SRT-t | Lásd az SRT-t | |
| Az oldalszél hatása (4.2.11.5.) | Nyitott kérdés | Nyitott kérdés | |
| Szelvényjelzők (4.2.12.1.) | n.a. | X | |
| Illemhelyürítés (4.2.13.2.) | n.a. | n.a. | 6.2.4.10 |
| A vonatok külső tisztítási eszközei (4.2.13.3.) | n.a. | n.a. | 6.2.4.10 |
| Vízfeltöltés (4.2.13.4.) | n.a. | n.a. | 6.2.4.10 |
| Üzemanyag-feltöltés (4.2.13.5.) | n.a. | n.a. | 6.2.4.10 |
| Pályamenti áramellátás (4.2.13.6.) | n.a. | n.a. | 6.2.4.10 |
C. MELLÉKLET
MŰTÁRGYAK TEHERHORDÁSI KÖVETELMÉNYEI ÁME-VONALKATEGÓRIA SZERINT NAGY-BRITANNIÁBAN
A műtárgyak teherhordási követelményeit a 22. táblázat határozza meg, az útvonal-rendelkezésreállási szám és legnagyobb hozzárendelt sebesség révén. Az útvonal-rendelkezésreállási szám és a legnagyobb hozzárendelt sebesség egyetlen együttes paraméter.
Az útvonal-rendelkezésreállási szám a legnagyobb tengelyterhelés és a tengelytáv geometriai vonatkozásainak függvénye. Az útvonal-rendelkezésreállási számokat az e célra bejelentett nemzeti szabályok határozzák meg.
22. táblázat
Útvonal-rendelkezésreállási szám - legnagyobb hozzárendelt sebesség (mérföld per óra)
| Hagyományos és nagy sebességű vasúti ÁME-vonalkategóriák | Személyszállító kocsik (ideértve a kocsikat, poggyász- és autószállító kocsikat) (1) és a könnyű áruszállító kocsik (1) (2) | Áruszállító kocsik és más járművek | Mozdonyok és motorkocsik (1) (3) (4) | Elektromos vagy dízel többrészes egységek, motoros egységek és motorkocsik (1) (2) |
| IV-P | RA2 (5) – 125 | (8) | RA7 (9) – 125 RA8 (9) – 110 RA8 (10) – 100 | RA3 (6) – 125 RA5 (7) – 100 |
| IV-F | (8) | RA10 – 60 RA8 – 75 RA2 – 90 | RA8 (10) – 90 | (8) |
| IV-M | lásd: IV-P | lásd: IV-F | lásd: IV-P | lásd: IV-P |
| V-P | RA2 (5) – 100 | (8) | RA7 (10) – 100 RA8 (9) – 100 RA8 (10) – 90 | RA3 (6) – 100 |
| V-F | (8) | RA8 – 60 | RA8 (10) – 60 | (8) |
| V-M | lásd: V-P | RA8 – 75 | lásd: V-P | lásd: V-P |
| VI-P | RA2 (5) – 90 | (8) | RA8 (10) – 90 | RA3 (6) – 90 |
| VI-F | (8) | RA10 – 60 | RA8 (10) – 60 | (8) |
| VI-M | lásd: VI-P | RA10 – 60 RA8 – 75 RA2 – 90 | lásd: VI-P | lásd: VI-P |
| VII-P | RA1 (5) – 75 | (8) | RA7 (10) (11) – 75 | RA3 (6) – 75 |
| VII-F | (8) | RA7 – 60 | RA7 (10) – 60 | (8) |
| VII-M | RA2 (5) – 75 | RA7 – 75 | RA7 (10) – 75 | lásd: VII-P |
| (1) A személyszállító kocsik (ideértve a kocsikat, poggyász- és autószállító kocsikat), más járművek, mozdonyok, motorkocsik, elektromos vagy dízel többrészes egységek, motoros egységek és motorkocsik meghatározása a vasúti járművekre vonatkozó ÁME-ben található. A könnyű áruszállító kocsik poggyászkocsiként kerültek meghatározásra, szállításuk azonban megengedett nem személyszállításra szolgáló összeállításban. (2) A műtárgyakra vonatkozó követelmények összeegyeztethetőek a 18–27,5 m közötti, illetve hagyományos egyes tengely esetén a 9–14 m közötti hagyományos és csuklós személyszállító kocsikkal, poggyász- és autószállító kocsikkal, elektromos vagy dízel többrészes egységekkel és motorkocsikkal. (3) Használaton kívül. (Az E. melléklet 24. táblázatának 3. megjegyzése Nagy-Britannia esetében nem alkalmazandó). (4) A műtárgyakra vonatkozó követelmények legfeljebb két szomszédos összekapcsolt mozdonnyal és/vagy motorkocsival összeegyeztethetőek. A műtárgyakra vonatkozó követelmények összeegyeztethetőek 75 mérföld/óra maximális sebesség mellett három vagy több szomszédos összekapcsolt mozdonnyal és/vagy motorkocsival (vagy mozdony- és/vagy motorkocsi-szerelvénnyel), amennyiben a mozdonyok és/vagy motorkocsik megfelelnek az áruszállító kocsikra vonatkozó megfelelő határértékeknek. (5) A műtárgyakra vonatkozó követelmények összeegyeztethetőek a kocsik/járművek hosszára vetítve 2,75 t/m átlagos hosszegységgel. (6) A műtárgyakra vonatkozó követelmények összeegyeztethetőek a kocsik/járművek hosszára vetítve 3,0 t/m átlagos hosszegységgel. (7) A műtárgyakra vonatkozó követelmények összeegyeztethetőek a kocsik/járművek hosszára vetítve 3,25 t/m átlagos hosszegységgel. (8) Nincs meghatározott hivatalos ÁME-előírás. (9) Négytengelyes mozdonyok és motorkocsik esetében. (10) Négy- vagy hattengelyes mozdonyok és motorkocsik esetében. (11) A VII-P ÁME-vonalkategória esetében a tagállam jelezheti, hogy a mozdonyok és motorkocsikra vonatkozó követelmények érvényesülnek-e. | ||||
E. MELLÉKLET - MŰTÁRGYAK TEHERHORDÁSI KÖVETELMÉNYEI ÁME-VONALKATEGÓRIA SZERINT
A műtárgyak teherhordási követelményeit a 24. táblázat határozza meg, az EN-vonalkategória (és adott esetben a mozdonyosztály) és legnagyobb hozzárendelt sebesség révén. Az EN-vonalkategória (és adott esetben a mozdonyosztály) és a legnagyobb hozzárendelt sebesség egyetlen együttes paraméter.
Az EN-vonalkategória és a mozdonyosztály egyaránt a tengelyterhelés és a tengelytáv geometriai vonatkozásainak függvénye. Az EN-vonalkategóriákat az EN 15528:2008 szabvány A. melléklete, a mozdonyosztályokat pedig a ugyanezen szabvány J és K melléklete határozza meg.
24. táblázat
EN-vonalkategória - legnagyobb hozzárendelt sebesség (km/h)
| ÁME-vonalkategória | Személyszállító kocsik (ideértve a kocsikat, poggyász- és autószállító kocsikat) (1) és a könnyű áruszállító kocsik (1) (2) | Áruszállító kocsik és más járművek | Mozdonyok és motorkocsik (1) (3) (4) | Elektromos vagy dízel többrészes egységek, motoros egységek és motorkocsik (1) (2) |
| IV-P | B1 (5) – 200 | (8) | D2 – 200 L619 L620 L621 L622 – 160 D4xL – 140 | B1 (5) – 200 C2 (6) – 180 D2 (7) – 140 |
| IV-F | (8) | E5 – 100 D4 – 120 B2 – 140 | D2 – 140 D4xL – 120 | (8) |
| IV-M | lásd: IV-P | lásd: IV-F | lásd: IV-P | lásd: IV-P |
| V-P | B1 (5) – 160 | (8) | L421,5 – 160 L422,5 – 140 L619 L620 L621 L622 – 140 | C2 (6) – 160 D2 (7) – 100 |
| V-F | (8) | D4 – 100 | L422,5 – 100 L619 L620 L621 L622 – 100 | (8) |
| V-M | lásd: V-P | lásd: V-F | lásd: V-P | lásd: V-P |
| VI-P | B1 (5) – 140 | (8) | D2 – 140 D4xL – 140 | C2 (6) – 140 D2 (7) – 100 |
| VI-F | (8) | E4 – 100 | D2 – 100 D4xL – 100 | (8) |
| VI-M | see VI-P | B2 – 140 D4 – 120 E4 – 100 | D2 – 140 D4xL – 140 | C2 (6) – 140 D2 (7) – 120 |
| VII-P | A (5) – 120 | (8) | L421,5 – 120 | A (5) – 120 |
| VII-F | (8) | C2 – 100 | L421,5 – 100 L619 L620 L621 – 80 | (8) |
| VII-M | B1 (5) – 120 | lásd: VII-F | lásd: VII-P + VII-F | B1 (5) – 120 |
| Megjegyzések | ||||
| (1) A személyszállító kocsik (ideértve a kocsikat, poggyász- és autószállító kocsikat), más járművek, mozdonyok, motorkocsik, elektromos vagy dízel többrészes egységek, motoros egységek és motorkocsik meghatározása a vasúti járművekre vonatkozó ÁME-ben található. A könnyű áruszállító kocsik poggyászkocsiként kerültek meghatározásra, szállításuk azonban megengedett nem személyszállításra szolgáló összeállításban. (2) A műtárgyakra vonatkozó követelmények összeegyeztethetőek a személyszállító kocsikkal, poggyász- és autószállító kocsikkal, elektromos vagy dízel többrészes egységekkel és motorkocsikkal, a 18–27,5 m közötti hagyományos és csuklós járművekkel, illetve 9–14 m közötti hosszúságú hagyományos egyes tengelyekkel. (3) A minimális infrastruktúra-követelmények ellenőrzése esetén a feltüntetett mozdonyosztályok alternatív minimumkövetelményeként a következő EN-vonalkategóriák használhatóak: az L421,5 L422,5 a D2, az L619, L620, L621, L622 pedig a D4xL alá tartozik. (4) A műtárgyakra vonatkozó követelmények összhangban állnak legfeljebb két szomszédos összekapcsolt mozdonnyal és/vagy motorkocsival. A műtárgyakra vonatkozó követelmények összeegyeztethetőek 120 km/h maximális sebesség mellett három vagy több szomszédos összekapcsolt mozdonnyal és/vagy motorkocsival (vagy mozdony- és/vagy motorkocsi-szerelvénnyel), amennyiben a mozdonyok, és/vagy motorkocsik megfelelnek az áruszállító kocsikra vonatkozó megfelelő határértékeknek. (5) A műtárgyakra vonatkozó követelmények összeegyeztethetőek a kocsik/járművek hosszára vetítve 2,75 t/m átlagos hosszegységgel. (6) A műtárgyakra vonatkozó követelmények összeegyeztethetőek a kocsik/járművek hosszára vetítve 3,1 t/m átlagos hosszegységgel. (7) A műtárgyakra vonatkozó követelmények összeegyeztethetőek a kocsik/járművek hosszára vetítve 3,5 t/m átlagos hosszegységgel. (8) Nincs meghatározott hivatalos ÁME-előírás. | ||||
F. MELLÉKLET - A NYITOTT KÉRDÉSEK FELSOROLÁSA
Vágánytengely-távolság (lásd a 4.2.4.2. szakaszt)
Az egyenértékű kúposság üzem közbeni szabályozási követelményei (lásd a 4.2.5.5.2. szakaszt)
Keretmerevség (lásd 4.2.5.8. szakaszt)
Zaj- és vibrációs határértékek és csökkentési intézkedések (lásd a 4.2.11.2. szakaszt)
Az oldalszél hatása (lásd a 4.2.11.5. szakaszt)
Az észt hálózat különleges esetei (lásd a 7.6.1. szakaszt)
A lett hálózat különleges esetei (lásd a 7.6.5. szakaszt)
A litván hálózat különleges esetei (lásd a 7.6.6. szakaszt)
G. MELLÉKLET - FOGALOMMEGHATÁROZÁSOK
25. táblázat
Fogalmak
| Definiált fogalmak | ÁME szakasza | Fogalommeghatározás |
| Tényleges pont (RP)/Actual point (RP)/Praktischer Herzpunkt/Pointe de coeur | 4.2.6.2 | Az ellenkező görbületű egyenes kitérő fizikai végpontja. Lásd a 2. ábrán, amely a tényleges pont (RP) és kereszteződési pont (IP) kapcsolatát szemlélteti. |
| Riasztási határérték/Alert limit/Auslösewert/Limite d’alerte | 4.2.9.1 | Az az érték, amelynek a túllépése a pálya geometriai állapotának elemzését és a rendszeresen tervezett karbantartási műveletekben figyelembevételét teszi szükségessé. |
| Tengelyterhelés/Axle load/Achsfahrmasse/Charge à l’essieu | 4.2.2, 4.2.7.1 | A kerékpár vagy egy pár független kerék által a vágányra gyakorolt statikus függőleges erők összegének és a gravitációs gyorsulásnak a hányadosa. |
| Túlemelés/Cant/Überhöhung/Dévers de la voie | 4.2.5.2 4.2.5.3 4.2.9.4 | Egy vágány két sínjének vízszinteshez viszonyított magasságbeli eltérése egy adott ponton, a sínfej középvonalán mérve. |
| Túlemeléshiány/Cant deficiency/Überhöhungsfehlbetrag/Insuffisance de devers | 4.2.5.4 | A vágányon alkalmazott túlemelés és a magasabb egyensúlyi helyzethez szükséges túlemelés közötti különbség. |
| Normál kereszteződés/Common crossing/Starres Herzstück/Coeur de croisement | 4.2.6.2 | A csúcssínek vagy mozgó keresztezési csúcsok két metsződő végének kapcsolódását biztosító, egy ellenkező görbületű egyenes kitérőből és két könyöksínből álló elrendezés. |
| TEN-törzsvonal/Core TEN Line/TEN Strecke des Kernnetzes/Ligne structurante du RTE déclarée corridor | 4.2.1, 7.2, 7.3 | Valamely tagállam által egy európai nemzetközi folyosó fontos részének minősített TEN-vonal. |
| Oldalszél/Crosswind/Seitenwind/Vents traversiers | 4.2.11.5 | A vonalat oldalirányból érő erős szél, amely kedvezőtlenül befolyásolhatja a vonatközlekedés biztonságát. |
| Korlátozott üzemmód/Degraded operation/Gestoerter Betrieb/Exploitation degradee | 4.4.2 | Olyan nem tervezett eseményből eredő működés, amely megakadályozza a vasúti szolgáltatások normál ellátását. |
| Tervezési érték/Design value/Planungswert/Valeur de conception | 4.2.4.4, 4.2.5.2, 4.2.5.4.2, 4.2.5.5.1, 4.2.5.7.2, 4.2.9.4, 4.2.6.2, 4.2.6.3 | Gyártási, szerkezeti vagy karbantartási tűréshatár nélküli elméleti érték. |
| Vágánytengely-távolság/Distance between track centres/Gleisabstand/Entraxe de voies | 4.2.4.2 | A két vizsgált vágány középvonalának pontjai közötti távolság, a referencia-vágány, azaz a kevésbé döntött vágány haladási felületével párhuzamosan mérve. |
| Elágazó vágány/Diverging track/Zweiggleis/Voie déviée | 4.2.5.4.2 | Kitérőkkel összefüggésben: a főirányból elágazó vágány. |
| Dinamikus oldalirányú erő/Dynamic lateral force/Dynamische Querkraft/Effort dynamique transversal | 4.2.7.3 | A kerékpár által a vágányra gyakorolt dinamikus oldalirányú erők összege. |
| Alépítmény/Earthworks/Erdbauwerke/Ouvrages en terre | 4.2.8.2, 4.2.8.4 | Vasúti forgalmi terhelésnek kitett földművek és talajmegtámasztó szerkezetek. |
| EN-vonalkategória/EN Line Category/EN Streckenklasse/EN Catégorie de ligne | 4.2.2, 4.2.8.4, 7.5, E. melléklet | Az EN 15528:2008 szabvány A mellékletében meghatározott minősítési folyamat eredménye, melyet a szabvány „vonalkategória” néven említ. Az infrastruktúrának a rendszeres üzemre szolgáló vonalon vagy vonalszakaszon a járművek által keltett függőleges terheléssel szembeni ellenállási képessége. |
| Egyenértékű kúposság/Equivalent conicity/Äquivalente Konizität/Conicité équivalente | 4.2.5.5 | Az olyan kúpos kerekekkel rendelkező kerékpár kúpszögének érintője, amelynek oldalsó mozgása ugyanolyan kinematikus hullámhosszal rendelkezik, mint az adott kerékpár az egyenes vágányon vagy a nagy sugarú körökben. |
| A vezetősín magassága a pályasín felett/Excess height of check rail/Radlenkerüberhöhung/Surélévation du contre rail | 4.2.6.2. g) | A vezetősín csatlakozó pályasín feletti magassága (lásd az alábbi 5. ábrán a 7. méretet). |
| Rögzített csúcspontvédelem/Fixed nose protection/Leitweite/Cote de protection de pointe | 4.2.6.2 b) | A keresztezési csúcspont és a vezetősín közötti távolság (lásd az alábbi 5. ábrán a 2. méretet). |
| A nyomcsatorna mélysége/Flangeway depth/Rillentiefe/Profondeur d’ornière | 4.2.6.2. f) | A futófelület és a nyomcsatorna alja közötti távolság (lásd az alábbi 5. ábrán a 6. méretet). |
| A nyomcsatorna szélessége/Flangeway width/Rillenweite/Largeur d’ornière | 4.2.6.2 e) | A pályasín és egy csatlakozó vezetősín vagy könyöksín közötti távolság (lásd az alábbi 5. ábrán az 5. méretet). |
| Vezetéstávolság a könyöksín kihajlítása belépési pontjában/Free wheel passage at check rail/wing rail entry/Freier Raddurchlauf im Radlenker-Einlauf/Flügelschienen-Einlauf/Côte d’équilibrage du contre-rail | 4.2.6.2 d) | A metsződő vezetősín vagy könyöksín érintkezési felülete, illetve a szemközti pályasín futófelülete közötti távolság, a könyöksín kihajlításának belépési pontjától mérve. (lásd a 4. méretet az alábbi 5. ábrán). A vezetősín vagy könyöksín bemeneti pontja az a pont, ahol megengedett a keréknek a vezetősínnel vagy könyöksínnel való érintkezése. |
| Vezetéstávolság a keresztezési csúcspontban/Free wheel passage at crossing nose/Freier Raddurchlauf im Bereich der Herzspitze/Cote de libre passage dans le croisement | 4.2.6.2 c) | A metsződő könyöksín és szemközti vezetősín érintkezési felülete közötti távolság (lásd a 7. méretet az alábbi 5. ábrán). |
| Vezetéstávolság a váltókban/Free wheel passage in switches/Freier Raddurchlauf im Bereich der Zungen-vorrichtung/Côte de libre passage de l’aiguillage | 4.2.6.2. a) | Az egyik csúcssín futófelülete és szemközti vezetősín hátsó széle közötti távolság (lásd az 1. méretet az alábbi 5. ábrán). |
| Űrszelvény/Gauge/Begrenzungslinie/Gabarit | 4.2.2 | Szabályrendszer, a referencia-körvonalat és a kapcsolódó számítási szabályait is ideértve, amely lehetővé teszi a jármű külső méreteinek és az infrastruktúra által szabadon hagyandó helynek a meghatározását. |
| HBW/HBW/HBW/HBW/ | 5.3.1.3 | Az acél keménységének nem SI rendszerű mértékegysége, amelyet az EN ISO 6506-1:2005 (Fémek. Brinell-keménységmérés. Vizsgálati eljárás.) szabvány határoz meg |
| Azonnali beavatkozási határérték/Immediate Action Limit/Soforteingriffsschwelle/Limite d’intervention immédiate | 4.2.9.1, 4.2.9.2, 4.2.9.3, 4.2.9.4 | Az az érték, amelynek a túllépése intézkedéseket tesz szükségessé a tesz a kisiklási kockázat elfogadható szintre csökkentése érdekében. |
| Pályahálózat-működtető/Infrastructure Manager/Betreiber der Infrastruktur/Gestionnaire de l'Infrastructure | 4.2.5.5, 4.2.6.2, 4.2.9, 4.4.3, 4.5.2, 6.2.2.1, 6.2.4, 6.4 7.3.4, 7.5 | A vasúti infrastruktúra-kapacitás elosztásáról, továbbá a vasúti infrastruktúra használati díjának felszámításáról és a biztonsági tanúsítványról szóló, 2001. február 26-i 2001/14/EK európai parlamenti és tanácsi irányelvben (HL L 75., 2001.3.15., 29. o.) foglalt meghatározás szerint. |
| Üzem közbeni érték/In service value/Wert im Betriebszustand/Valeur en exploitation | 4.2.5.5.2 4.2.6.2 4.2.9.4 | Az infrastruktúra üzembe helyezését követően bármikor mért érték. |
| Kereszteződési pont (IP)/Intersection point (IP)/Theoretischer Herzpunkt/Point d’intersection théorique | 4.2.6.2 | A kereszteződés központjában a futóélek elméleti keresztezési pontja (lásd a 2. ábrát). |
| Beavatkozási határérték/Intervention Limit/Limite d'intervention immédiate | 4.2.9.1 | Az az érték, amelynek a túllépése esetén javító karbantartást kell végezni, hogy a következő átvizsgálásig a közvetlen beavatkozási határérték ne legyen elérhető. |
| Lokális hiba/Isolated defect/Einzelfehler/Défaut isolé | 4.2.9.1 4.2.9.2 | A vágány geometriájának elkülönült hibája. |
| Vonalsebesség/Line speed/Streckengeschwindigkeit/Vitesse de la ligne | 4.2.2 | Az a legnagyobb sebesség, amelyre a vonalat tervezték. |
| Karbantartási dokumentáció/Maintenance file/Instandhaltungsdossier/Dossier de maintenance | 4.5.1 | A műszaki dokumentáció használati feltételekkel és határértékekkel, illetve karbantartási utasításokkal kapcsolatos elemei. |
| Karbantartási terv/Maintenance plan/Instandhaltungsplan/Plan de maintenance | 4.5.2 | Az a dokumentumcsomag, mely a pályahálózat-működtető által bevezetett infrastruktúra-karbantartási eljárásokat határozza meg. |
| Fővágányok/Main tracks/Hauptgleise/Voies principales | 4.2.4.3 | A működő vonatok közlekedésére használt vágányok. A kifejezés nem vonatkozik a csatlakozó vágányokra, járműszínekre, tárolóvágányokra és csatlakozó vonalakra. |
| Több sínből álló vágány/Multi-rail track/Mehrschienengleis/Voie à multi écartement | 4.2.3.2, 4.2.6.3 | Kettőnél több sínből álló vágány, amelynél legalább két pár sínt külön önálló vágányként történő üzemre terveztek, azonos vagy eltérő nyomtávval. |
| Névleges nyomtávolság/Nominal track gauge/Nennspurweite/Ecartement nominal de la voie | 4.2.5.1 | A nyomtávot meghatározó egyetlen érték. |
| Rendes üzemeltetési körülmények/Normal service/Regelbetrieb/Service régulier | 4.2.3.2 4.2.10.1 | A tervezett menetrend szerint üzemelő vasút. |
| Más TEN-vonal/Other TEN Line/Weitere TEN Strecke/Autre ligne du RTE | 4.2.1, 7.2, 7.3 | Azok a TEN-vonalak, amelyek nem TEN-törzsvonalak. |
| Elméleti biztosítás/Passive provision/Vorsorge für künftige Erweiterungen/Réservation pour extension future | 4.2.10.1 | A műtárgy fizikai bővítését célzó jövőbeni bővítés biztosítása (például: megnövelt peronhosszúság). |
| Teljesítményparaméter/Performance Parameter/Leistungskennwert/Paramètre de performance | 4.2.2 | Az ÁME-vonalkategóriát leíró paraméter, melyet az infrastruktúra alrendszer elemeinek alapjául és a vonal teljesítményszintjének jelölésére használnak. |
| Nyíltvonali és állomási átmenő fővágány/Plain line/Freie Strecke/Voie courante | 4.2.5.5 4.2.5.6 4.2.5.7 | A vágány kitérők nélküli szakasza. |
| Pontvisszahúzás/Point retraction/Spitzenbeihobelung/Dénivelation de la pointe de coeur | 4.2.6.2. b) | Rögzített normál kereszteződésben a referenciavonal eltérhet az elméleti referenciavonaltól. A metszésponttól bizonyos távolságra a villasín referenciavonala a tervezéstől függően ettől a kerékperem melletti referenciavonaltól visszahúzva helyezkedhet el, a két elem érintkezésének megakadályozására. Ezt a helyzetet mutatja be a 2. ábra. |
| Síndőlés/Rail inclination/Schienenneigung/Inclinaison du rail | 4.2.5.5 4.2.5.7 | A vágány épített sín feje és a vágány síkja (futófelülete) közötti elhajlást meghatározó szög, amely a sín (vagy azonos sínfejprofilú egyenértékű szimmetrikus sín) szimmetriatengelye a vágány futófelületére állított merőleges közötti szöggel egyenlő. |
| Közbetétlemez/Rail pad/Schienenzwischenlage/Semelle sous rail | 5.3.2 | A sín és az azt tartó alj vagy talplemez között elhelyezett rugalmas réteg. |
| Ellenív/Reverse curve/Gegenbogen/Courbes et contre-courbes | 4.2.4.4 | Két ellentétesen görbülő, egymáshoz illeszkedő ív |
| Űrszelvény/Structure gauge/Lichtraum/Gabarit des obstacles | 4.2.4.1 | Meghatározza a referenciavágányhoz viszonyítva azt a helyet, amelyben semmiféle objektum vagy műtárgy nem lehet, illetve amelyet a referenciavágány biztonságos üzemelésének lehetővé tétele érdekében a szomszédos vágányon haladó forgalom sem használhat. Meghatározása a referencia-körvonal alapján történik, kapcsolódó számításokkal. |
| Váltók/Switches/Zungenvorrichtung/Aiguillage | 4.2.5.4.2 4.2.6.1 | Két rögzített sínből (tősín) és két mozgó sínből (könyöksín) álló vágányegység, amelyet a járművek egyik vágányról a másikra való irányítására használnak. |
| Kitérők/Switches and crossings/Weichen und Kreuzungen/Appareil de voie | 4.2.5.4.1, 4.2.5.7.2, 4.2.6, 4.2.7.1, 4.2.7.2.1, 4.2.7.3, 5.2 | A több váltóból és egyes keresztezésekből, illetve az azokat összekötő sínekből álló vágány. |
| Főirány/Through route/Stammgleis/Voie directe | 4.2.5.4.1 4.2.6.3 | Váltókkal és keresztezésekkel összefüggésben: a vágány általános irányát követő vágány. |
| Nyomtávolság/Track gauge/Spurweite/Ecartement de la voie | 4.2.5.1 | Az egyes sínfejprofilokat a futófelület alatt 0–14 mm-es tartományban keresztező, a futófelületre merőleges vonalak közötti legkisebb távolság. |
| Keretmerevség/Track stiffness/Steifigkeit des Gleises/Rigidite de la voie | 4.2.5.8 | A sín kerék terhelése alatti kitérésének mértékét meghatározó átfogó kifejezés. |
| Síktorzulás/Track twist/Gleisverwindung/Gauche | 4.2.9.1, 4.2.9.2 | A síktorzulás meghatározása: egymástól meghatározott távolságra felvett két keresztszint közötti algebrai különbség, amelyet általában a mérési keresztmetszetek két pontja közötti meredekségként fejeznek ki. |
| Vonat hossza/Train length/Zuglänge/Longueur du train | 4.2.2 | Azon vonat hossza, amely rendes üzemi körülmények között egy adott vonalon közlekedhet. |
| ÁME-vonalkategória/TSI Category of Line/TSI Streckenkategorie/TSI Catégorie de ligne | 4.2, 7.2, 7.3.1, 7.5, 7.6 | Valamely vonal forgalomtípus és vonaltípus szerinti besorolása, a szükséges teljesítményparaméterek megválasztása érdekében. |
| Vonaltípus/Type of line/Streckenart/Type de ligne | 4.2.1, 7.3.1 | A vonal fontosságának (mag vagy más) és a kölcsönös átjárhatósághoz szükséges paraméterek elérése módjának (új vagy korszerűsített) meghatározása. |
| Forgalomtípus/Type of Traffic/Verkehrsart/Type de trafic | 4.2.1 | Megadja egy ÁME-vonalkategória vonatkozásában a célrendszer uralkodó forgalmát és a megfelelő alapvető paramétereket. |
| Tompa kereszteződések vezetetlen hossza/Unguided length of an obtuse crossing/Führungslose Stelle/Lacune dans la traversée | 4.2.6.3 | A tompa kereszteződések azon része, amelyeknél az EN 13232-3:2003. szabványban nincs a kerék vezetetlen hosszára vonatkozó útmutatás. |
| A peron hasznos hossza/Usable length of a platform/Bahnsteignutzlänge/Longueur utile de quai | 4.2.10.1 | A peron azon részének legnagyobb folyamatos hossza, amely mellett a vonat normál üzemi körülmények között, utasok fel- és leszállása céljából történő megállását tervezik, a megállási tűréshatárnak megfelelő hossz ráhagyásával. A normál üzemi körülmények azt jelentik, hogy a vasút korlátozásmentes üzemmódban üzemel (azaz a vágánytapadás normális, a jelzések működnek, minden a tervek szerint működik). |
5. ábra
Kitérők geometriai kialakítása

1 Vezetéstávolság a váltókban
2 Rögzített csúcspontvédelem
3 Vezetéstávolság a keresztezési csúcspontban
4 Vezetéstávolság a könyöksín kihajlítása belépési pontjában
5 A nyomcsatorna szélessége
6 A nyomcsatorna mélysége
7 A terelősín magassága a vezetősín felett
H. MELLÉKLET - HIVATKOZOTT SZABVÁNYOK LISTÁJA
26. táblázat
Hivatkozott szabványok listája
| Index sorszáma | Hivatkozás | Dokumentum neve | Verziószám (év) | Az érintett BP-k |
| 1 | EN 13715 | Vasúti alkalmazások. Kerékpárok és forgó vázak. Kerekek. Keréktalp-profil | 2006 | Az egyenértékű kúposság tervezési értékei (4.2.5.5.1.) |
| 2 | EN 13803-2 | Vasúti alkalmazások. Vágányfektetés. Vágányvonal-tervezés. 1 435 mm és nagyobb nyomtávolság. 2. rész: Váltók és kereszteződések és hasonló nyomvonalelemek a kanyarulat hirtelen változásával (az A1:2009 módosítással) | 2006 | Legkisebb vízszintes ívsugár (4.2.4.4.) |
| 3 | EN 13848-1 | Vasúti alkalmazások/vágány. A vágány geometriájának minősége. 1. rész: A vágány geometriájának leírása (az A1:2008 módosítással) | 2003 | Azonnali beavatkozási, beavatkozási és riasztási határértékek meghatározása (4.2.9.1.), Az átlagos nyomtávolság legkisebb értékének értékelése (6.2.4.5.) |
| 4 | EN 15273-3 | Vasúti alkalmazások. Szelvények. 3. rész: Űrszelvények | 2009 | Teljesítményparaméterek (4.2.2.), Űrszelvény (4.2.4.1.), Vágánytengely-távolság értékelése (6.2.4.2.), |
| 5 | EN 15302 | Vasúti alkalmazások. Az egyenértékű kúposság meghatározási módszere | 2008 | Az egyenértékű kúposság tervezési értékei (4.2.5.5.1.) |
| 6 | EN 15528 | Vasúti alkalmazások. Vonalkategóriák a jármű terhelhetősége és az infrastruktúra közötti kapcsolat (interfész) megvalósításához | 2008 | Meglévő hidak és alépítmények forgalmi terheléssel szembeni ellenállása (4.2.8.4. és E. melléklet), |
| 7 | EN 1990:2002/A1 | Eurocode. Szerkezeti kialakítás alapjai. A1 módosítás | 2005 | Új hidak forgalmi terheléssel szembeni ellenállása (4.2.8.1.) |
| 8 | EN 1991-2 | Eurocode 1: A tartószerkezeteket érő hatások. 2. rész: Hidak forgalmi terhelése | 2003 | A műtárgyak forgalmi terheléssel szembeni ellenállása (4.2.8) Új hidak forgalmi terheléssel szembeni ellenállása (4.2.8.1.), Új alépítmények egyenértékű függőleges irányú terhelése és talajnyomásbeli hatások (4.2.8.2.), vágányok feletti vagy melletti új műtárgyak ellenállása (4.2.8.3.) |
( 1 ) HL L 191., 2008.7.18., 1. o.
( 2 ) HL L 110., 2001.4.20., 1. o.
( 3 ) HL L 319., 2010.12.4., 1. o.
( 4 ) HL L 228., 1996.9.9., 1. o.
( 5 ) HL L 194., 2009.7.25., 60. o.
( 6 ) HL L 235., 1996.9. 17., 6. o.
( 7 ) HL L 164., 2004.4.30., 44. o.
( 8 ) HL L 330., 1998.12.15., 32. o.
( 9 ) HL L 256., 2011.10.1., 1. o.
( 10 ) HL L 167., 2004.4.30., 1. o.
Lábjegyzetek:
[1] A dokumentum eredetije megtekinthető CELEX: 32011D0275 - https://eur-lex.europa.eu/legal-content/HU/ALL/?uri=CELEX:32011D0275&locale=hu Utolsó elérhető, magyar nyelvű konszolidált változat CELEX: 02011D0275-20130124 - https://eur-lex.europa.eu/legal-content/HU/ALL/?uri=CELEX:02011D0275-20130124&locale=hu