32015R0208[1]
A Bizottság (EU) 2015/208 felhatalmazáson alapuló rendelete ( 2014. december 8. ) a 167/2013/EU európai parlamenti és tanácsi rendeletnek a mezőgazdasági és erdészeti járművek jóváhagyására vonatkozó funkcionális járműbiztonsági követelményekre való tekintettel történő kiegészítéséről
A BIZOTTSÁG (EU) 2015/208 FELHATALMAZÁSON ALAPULÓ RENDELETE
(2014. december 8.)
a 167/2013/EU európai parlamenti és tanácsi rendeletnek a mezőgazdasági és erdészeti járművek jóváhagyására vonatkozó funkcionális járműbiztonsági követelményekre való tekintettel történő kiegészítéséről
(EGT-vonatkozású szöveg)
I. FEJEZET
TÁRGY ÉS FOGALOMMEGHATÁROZÁSOK
1. cikk
Tárgy
E rendelet a 167/2013/EU rendelettel összhangban részletes műszaki követelményeket és vizsgálati eljárásokat állapít meg a funkcionális biztonságra vonatkozóan, a fékteljesítmény kivételével, a mezőgazdasági és erdészeti járművek és az azokba szánt rendszerek, alkatrészek és önálló műszaki egységek jóváhagyásához és piacfelügyeletéhez.
2. cikk
Fogalommeghatározások
A 167/2013/EU rendelet fogalommeghatározásai érvényesek. Emellett a következő fogalommeghatározások is alkalmazandók:
1. "elvontató berendezés" : a traktorra felszerelt alkatrész, amely a traktor és a vontató között mechanikus kapcsolatot létesít annak érdekében, hogy a traktort el lehessen vontatni, amikor a traktor nem a saját meghajtásával működik;
2. "terheletlen tömeg menetkész állapotban" : az üzemképes állapotú terheletlen jármű tömege a gyártó előírásai szerinti szokásos felszerelések, a hűtőközeg, a kenőanyagok, a tüzelőanyag, a szerszámok és a (75 kg testsúlyúnak tekintett) járművezető tömegével együtt, de a választható tartozékok nélkül;
3. "kormányberendezés" : a vezető által a traktor kormányzása érdekében közvetlenül irányított alkatrész;
4. "kormányzási erőkifejtés" : a vezető által a traktor kormányzása érdekében a kormányberendezésre kifejtett erő;
5. "alapfelszerelésű gumiabroncsok" : a gyártó által a szóban forgó járműhöz adott és az (EU) 2015/504 bizottsági végrehajtási rendelet ( 1 ) 2. cikkében megadott minta szerinti adatközlő lapon meghatározott gumiabroncstípus vagy -típusok;
6. "alapfelszerelésű hernyótalpak" : a gyártó által a szóban forgó járműhöz adott és az (EU) 2015/504 végrehajtási rendelet* 2. cikkében megadott minta szerinti adatközlő lapon meghatározott hernyótalptípus vagy -típusok;
7. "visszapillantó tükör" : olyan eszköz, amelynek az a feladata, hogy a IX. melléklet 5. pontjában geometriailag meghatározott látómezőben tiszta rálátást nyújtson hátrafelé, és amelyet - ésszerű határokon belül - sem a traktor alkatrészei, sem a traktoron tartózkodó személyek nem takarhatnak el;
8. "belső visszapillantó tükör" : olyan visszapillantó tükör, amely a traktor fülkéjén vagy vázszerkezetén belül van felszerelve;
9. "visszapillantó tükrök osztálya" : egy vagy több közös jellemzővel vagy funkcióval rendelkező visszapillantó tükrök közös kategóriája;
10. "lámpa" : az úttest megvilágítására (fényszóró) vagy fényjelzések kibocsátására szolgáló berendezés;
11. "traktor tengelytávja" vagy "jármű tengelytávja" : a traktor vagy a jármű hosszanti középsíkjára merőleges, a traktor vagy a jármű tengelyein áthaladó függőleges síkok közötti távolság;
12. "terhelt jármű" : a műszakilag megengedett legnagyobb terhelt tömegig terhelt jármű;
13. "vezetőfülke" : a jármű kezelőjét körbevevő tér burkolata, amely fizikai akadályt képez annak érdekében, hogy gátolja a külső levegő kezelőtérbe való szabad bejutását.
II. FEJEZET
FUNKCIONÁLIS JÁRMŰBIZTONSÁGRA VONATKOZÓ KÖVETELMÉNYEK
3. cikk
A beszereléssel és a funkcionális biztonság igazolásával összefüggő követelmények
(1) A gyártók a mezőgazdasági és erdészeti járműveket a funkcionális biztonság szempontjából olyan rendszerekkel, alkatrészekkel és önálló műszaki egységekkel szerelik fel, amelyeket úgy terveztek, gyártottak és szereltek össze, hogy a rendeltetésszerűen használt és a gyártó utasításainak megfelelően karbantartott jármű teljesíteni tudja az 5-38. cikkben meghatározott részletes műszaki követelményeket, és megfeleljen az ugyanott előírt vizsgálati eljárásokon.
(2) A gyártók fizikai vizsgálatok elvégzésével igazolják a jóváhagyó hatóság előtt, hogy az Unióban forgalmazott, nyilvántartásba vett vagy forgalomba helyezett mezőgazdasági és erdészeti járművek teljesítik mind a 167/2013/EU rendelet 17. cikkében és I. mellékletében a funkcionális biztonsággal kapcsolatban meghatározott követelményeket, mind az e rendelet 5-38. cikkében meghatározott részletes műszaki követelményeket, és megfelelnek az ugyanott előírt vizsgálati eljárásokon.
(3) A gyártók gondoskodnak arról, hogy az Unióban forgalmazott vagy forgalomba helyezett tartalék alkatrészek teljesítsék az ebben a rendeletben meghatározott részletes műszaki követelményeket, és megfeleljenek az ugyanitt említett vizsgálati eljárásokon.
(4) A gyártók benyújtják a jóváhagyó hatósághoz azon intézkedések leírását, amelyeket az erőátvitelt vezérlő rendszer, benne a funkcionális biztonságot szavatoló elektronikus vezérlő számítógépek (ha be vannak szerelve) manipulálásának és módosításának megelőzése céljából hoztak.
4. cikk
Az ENSZ-EGB-előírások alkalmazása
A mezőgazdasági és erdészeti járművek típusjóváhagyására az e rendelet I. mellékletében felsorolt ENSZ-EGB-előírások és módosításaik vonatkoznak.
5. cikk
A funkcionális biztonsággal kapcsolatos követelményekre és a vizsgálati eljárásokra vonatkozó műszaki előírások
(1) A funkcionális biztonsággal kapcsolatos működés vizsgálatára szolgáló eljárásokat az ebben a rendeletben meghatározott vizsgálati követelmények szerint kell elvégezni.
(2) A vizsgálatokat a jóváhagyó hatóság végzi, vagy jelenlétében végzik, vagy a jóváhagyó hatóság engedélyével a műszaki szolgálat végzi.
(3) A mérési módszerekről és a vizsgálati eredményekről jelentést kell tenni a jóváhagyó hatóságnak, olyan vizsgálati jegyzőkönyvben, amilyen formátumút az (EU) 2015/504 rendelet 9. cikke előír.
6. cikk
A jármű szerkezeti integritására vonatkozó követelmények
A 167/2013/EU rendelet 17. cikke (2) bekezdésének a) pontja szerint a járművekre vonatkozó szerkezeti integritási követelményeket e rendelet II. melléklete szerint kell ellenőrizni.
7. cikk
A legnagyobb tervezési sebességre, a sebességszabályozókra és a sebességkorlátozó berendezésekre vonatkozó követelmények
A 167/2013/EU rendelet 17. cikke (2) bekezdésének b) pontja szerint a sebességre, sebességszabályozókra és sebességkorlátozó berendezésekre vonatkozó vizsgálati eljárásokat és teljesítménykövetelményeket e rendelet III. melléklete szerint kell elvégezni és ellenőrizni.
8. cikk
A gyors traktorok kormányzására vonatkozó követelmények
A 167/2013/EU rendelet 17. cikke (2) bekezdésének b) pontja szerint a gyors traktorok kormányzására vonatkozó vizsgálati eljárásokat és teljesítménykövetelményeket e rendelet IV. melléklete szerint kell elvégezni és ellenőrizni.
9. cikk
Kormányzásra vonatkozó követelmények
A 167/2013/EU rendelet 17. cikke (2) bekezdésének b) pontja szerint a kormányzásra vonatkozó vizsgálati eljárásokat és teljesítménykövetelményeket e rendelet V. melléklete szerint kell elvégezni és ellenőrizni.
10. cikk
Sebességmérőkre vonatkozó követelmények
A 167/2013/EU rendelet 17. cikke (2) bekezdésének b) pontja szerint a sebességmérőre vonatkozó vizsgálati eljárásokat és teljesítménykövetelményeket e rendelet VI. melléklete szerint kell elvégezni és ellenőrizni.
11. cikk
Látómezőre és ablaktörlőkre vonatkozó követelmények
A 167/2013/EU rendelet 17. cikke (2) bekezdésének c) pontja szerint a látómezőre és a ablaktörlőkre vonatkozó vizsgálati eljárásokat és teljesítménykövetelményeket e rendelet VII. melléklete szerint kell elvégezni és ellenőrizni.
12. cikk
Üvegezésre vonatkozó követelmények
A 167/2013/EU rendelet 17. cikke (2) bekezdésének c) pontja szerint az üvegezésre vonatkozó vizsgálati eljárásokat és követelményeket e rendelet VIII. melléklete szerint kell elvégezni és ellenőrizni.
13. cikk
Visszapillantó tükrökre vonatkozó követelmények
A 167/2013/EU rendelet 17. cikke (2) bekezdésének c) pontja szerint a visszapillantó tükrökre vonatkozó vizsgálati eljárásokat és teljesítménykövetelményeket e rendelet IX. melléklete szerint kell elvégezni és ellenőrizni.
14. cikk
A járművezetőt tájékoztató rendszerekre vonatkozó követelmények
A 167/2013/EU rendelet 17. cikke (2) bekezdésének c) pontja szerint a járművezetőt tájékoztató rendszerekre vonatkozó vizsgálati eljárásokat és követelményeket e rendelet X. melléklete szerint kell elvégezni és ellenőrizni.
15. cikk
A világító- és fényjelző berendezésekre, valamint fényforrásaikra vonatkozó követelmények
A 167/2013/EU rendelet 17. cikke (2) bekezdésének d) pontja szerint a világító- és fényjelző berendezésekre, valamint fényforrásaikra vonatkozó vizsgálati eljárásokat és teljesítménykövetelményeket e rendelet XI. melléklete szerint kell elvégezni és ellenőrizni.
16. cikk
Világítóberendezések beépítésére vonatkozó követelmények
A 167/2013/EU rendelet 17. cikke (2) bekezdésének d) pontja szerint a világítóberendezések beépítésére vonatkozó vizsgálati eljárásokat és követelményeket e rendelet XII. melléklete szerint kell elvégezni és ellenőrizni.
17. cikk
Utasvédelemre vonatkozó követelmények, ideértve a jármű belső kialakítását, a fejtámlákat, a biztonsági öveket és a járműajtókat
A 167/2013/EU rendelet 17. cikke (2) bekezdésének e) pontja szerint az utasvédelemre - ideértve a jármű belső kialakítását, a fejtámlákat, a biztonsági öveket és a járműajtókat - vonatkozó vizsgálati eljárásokat és teljesítménykövetelményeket e rendelet XIII. melléklete szerint kell elvégezni és ellenőrizni.
18. cikk
A jármű külsejére és kiegészítő elemeire vonatkozó követelmények
A 167/2013/EU rendelet 17. cikke (2) bekezdésének f) pontja szerint a jármű külsejére és kiegészítő elemeire vonatkozó vizsgálati eljárásokat és követelményeket e rendelet XIV. melléklete szerint kell elvégezni és ellenőrizni.
19. cikk
Az elektromágneses összeférhetőségre vonatkozó követelmények
A 167/2013/EU rendelet 17. cikke (2) bekezdésének g) pontja szerint az elektromágneses összeférhetőségre vonatkozó vizsgálati eljárásokat és teljesítménykövetelményeket e rendelet XV. melléklete szerint kell elvégezni és ellenőrizni.
20. cikk
Hangjelző berendezésekre vonatkozó követelmények
A 167/2013/EU rendelet 17. cikke (2) bekezdésének h) pontja szerint a hangjelző berendezésekre vonatkozó vizsgálati eljárásokat, illetve teljesítménykövetelményeket e rendelet XVI. melléklete szerint kell elvégezni és ellenőrizni.
21. cikk
Fűtésrendszerekre vonatkozó követelmények
A 167/2013/EU rendelet 17. cikke (2) bekezdésének i) pontja szerint a fűtésrendszerekre vonatkozó vizsgálati eljárásokat és teljesítménykövetelményeket e rendelet XVII. melléklete szerint kell elvégezni és ellenőrizni.
22. cikk
A jogosulatlan használat ellen védő berendezésekre vonatkozó követelmények
A 167/2013/EU rendelet 17. cikke (2) bekezdésének j) pontja szerint a jogosulatlan használat ellen védő berendezésekre vonatkozó eljárásokat és teljesítménykövetelményeket e rendelet XVIII. melléklete szerint kell elvégezni és ellenőrizni.
23. cikk
Rendszámtáblákra vonatkozó követelmények
A 167/2013/EU rendelet 17. cikke (2) bekezdésének k) pontja szerint a rendszámtáblákra vonatkozó vizsgálati eljárásokat és követelményeket e rendelet XIX. melléklete szerint kell elvégezni és ellenőrizni.
24. cikk
A hatóságilag előírt táblákra és jelölésekre vonatkozó követelmények
A 167/2013/EU rendelet 17. cikke (2) bekezdésének k) pontja szerint a hatóságilag előírt táblákra és jelölésekre vonatkozó követelményeket e rendelet XX. melléklete szerint kell ellenőrizni.
25. cikk
Méretekre és a pótkocsi tömegére vonatkozó követelmények
A 167/2013/EU rendelet 17. cikke (2) bekezdésének l) pontja szerint a méretekre és a pótkocsi tömegére vonatkozó vizsgálati eljárásokat és követelményeket e rendelet XXI. melléklete szerint kell elvégezni és ellenőrizni.
26. cikk
A legnagyobb terhelt tömegre vonatkozó követelmények
A 167/2013/EU rendelet 17. cikke (2) bekezdésének l) pontja szerint a legnagyobb terhelt tömegre vonatkozó vizsgálati eljárásokat és követelményeket e rendelet XXII. melléklete szerint kell elvégezni és ellenőrizni.
27. cikk
Pótsúlyokra vonatkozó követelmények
A 167/2013/EU rendelet 17. cikke (2) bekezdésének l) pontja szerint a pótsúlyokra vonatkozó vizsgálati eljárásokat és követelményeket e rendelet XXIII. melléklete szerint kell elvégezni és ellenőrizni.
28. cikk
Az elektromos rendszerek biztonságára vonatkozó követelmények
A 167/2013/EU rendelet 17. cikke (2) bekezdésének m) pontja szerint az elektromos rendszerekre vonatkozó követelményeket e rendelet XXIV. melléklete szerint kell ellenőrizni.
29. cikk
Tüzelőanyag-tartályokra vonatkozó követelmények
A 167/2013/EU rendelet 17. cikke (2) bekezdésének a) és m) pontja és 18. cikke (2) bekezdésének l) pontja szerint a tüzelőanyag-tartályokra vonatkozó vizsgálati eljárásokat és teljesítménykövetelményeket e rendelet XXV. melléklete szerint kell elvégezni és ellenőrizni.
30. cikk
A hátsó ütközésvédelemre vonatkozó követelmények
A 167/2013/EU rendelet 17. cikke (2) bekezdésének n) pontja szerint a hátsó ütközésvédelemre vonatkozó vizsgálati eljárásokat és teljesítménykövetelményeket e rendelet XXVI. melléklete szerint kell elvégezni és ellenőrizni.
31. cikk
Az oldalsó ütközésvédelemre vonatkozó követelmények
A 167/2013/EU rendelet 17. cikke (2) bekezdésének o) pontja szerint az oldalsó ütközésvédelemre vonatkozó vizsgálati eljárásokat és követelményeket e rendelet XXVII. melléklete szerint kell elvégezni és ellenőrizni.
32. cikk
Rakfelületekre vonatkozó követelmények
A 167/2013/EU rendelet 17. cikke (2) bekezdésének p) pontja szerint a rakfelületekre vonatkozó vizsgálati eljárásokat és követelményeket e rendelet XXVIII. melléklete szerint kell elvégezni és ellenőrizni.
33. cikk
Elvontató berendezésekre vonatkozó követelmények
A 167/2013/EU rendelet 17. cikke (2) bekezdésének q) pontja szerint az elvontató berendezésekre vonatkozó teljesítménykövetelményeket e rendelet XXIX. melléklete szerint kell ellenőrizni.
34. cikk
Gumiabroncsokra vonatkozó követelmények
A 167/2013/EU rendelet 17. cikke (2) bekezdésének r) pontja szerint a gumiabroncsokra vonatkozó vizsgálati eljárásokat és teljesítménykövetelményeket e rendelet XXX. melléklete szerint kell elvégezni és ellenőrizni.
35. cikk
A felcsapódó víz elleni védelemre vonatkozó követelmények
A 167/2013/EU rendelet 17. cikke (2) bekezdésének s) pontja szerint a felcsapódó víz elleni védelemre vonatkozó vizsgálati eljárásokat és teljesítménykövetelményeket e rendelet XXXI. melléklete szerint kell elvégezni és ellenőrizni.
36. cikk
A hátrameneti fokozatra vonatkozó követelmények
A 167/2013/EU rendelet 17. cikke (2) bekezdésének t) pontja szerint a hátrameneti fokozatra vonatkozó követelményeket e rendelet XXXII. melléklete szerint kell ellenőrizni.
37. cikk
A hernyótalpakra vonatkozó követelmények
A 167/2013/EU rendelet 17. cikke (2) bekezdésének u) pontja szerint a hernyótalpakra vonatkozó vizsgálati eljárásokat és teljesítménykövetelményeket e rendelet XXXIII. melléklete szerint kell elvégezni és ellenőrizni.
38. cikk
Mechanikus kapcsolószerkezetekre vonatkozó követelmények
A 167/2013/EU rendelet 17. cikke (2) bekezdésének v) pontja szerint a mechanikus kapcsolószerkezetekre vonatkozó vizsgálati eljárásokat és teljesítménykövetelményeket e rendelet XXXIV. melléklete szerint kell elvégezni és ellenőrizni.
III. FEJEZET
A TAGÁLLAMOK KÖTELEZETTSÉGEI
39. cikk
A járművek, rendszerek, alkatrészek és önálló műszaki egységek típusjóváhagyása
A nemzeti hatóságok a 167/2013/EU rendeletnek és a jelen, a funkcionális biztonságról szóló rendeletnek nem megfelelő új járművek esetén 2018. január 1-jei hatállyal megtiltják az ilyen járművek forgalmazását, nyilvántartásba vételét, illetve forgalomba helyezését.
40. cikk
A járművek, rendszerek, alkatrészek és önálló műszaki egységek nemzeti típusjóváhagyása
A nemzeti hatóságok a funkcionális biztonsággal kapcsolatos okokra hivatkozva nem tagadhatják meg adott típusú járműre, rendszerre, alkatrészre vagy önálló műszaki egységre vonatkozó nemzeti típusjóváhagyás megadását, ha a szóban forgó jármű, rendszer, alkatrész vagy önálló műszaki egység megfelel az e rendeletben meghatározott követelményeknek, az alábbiakra vonatkozó követelmények kivételével:
a) a 25. cikkben meghatározott járműméretek és pótkocsitömeg;
b) a 26. cikkben meghatározott legnagyobb terhelt tömeg;
c) átlagos talpnyomás és hernyótalpgörgőnkénti legnagyobb terhelés a 37. cikkben meghatározott C kategóriájú traktorok esetében;
d) a 16. cikkben meghatározott jelzőpanelek és -fóliák a 2,55 m-t meghaladó szélességű S kategóriájú járművek esetében.
IV. FEJEZET
ZÁRÓ RENDELKEZÉSEK
40 a. cikk
Átmeneti rendelkezések
(1) E rendeletnek az (EU) 2018/829 felhatalmazáson alapuló bizottsági rendelettel ( 2 ) módosított rendelkezéseiben foglaltak alkalmazása ellenére a tagállami hatóságok 2018. december 31-ig továbbra is típusjóváhagyást adnak az e rendelet 2018. június 8-án alkalmazandó változatának megfelelően a mezőgazdasági és erdészeti járművek típusaira, valamint azok rendszereinek, alkatrészeinek és önálló műszaki egységeinek típusaira.
(2) E rendeletnek az (EU) 2018/829 felhatalmazáson alapuló rendelettel módosított rendelkezéseiben foglaltak alkalmazása ellenére a tagállami hatóságok 2019. június 30-ig továbbra is engedélyezik az e rendelet 2018. június 8-án alkalmazandó változatának megfelelően jóváhagyott típuson alapuló mezőgazdasági vagy erdészeti járművek, azok rendszereinek, alkatrészeinek és önálló műszaki egységeinek forgalomba hozatalát, nyilvántartásba vételét vagy forgalomba helyezését.
41. cikk
Hatálybalépés és alkalmazás
Ez a rendelet az Európai Unió Hivatalos Lapjában való kihirdetését követő huszadik napon lép hatályba.
Ezt a rendeletet 2016. január 1-jétől kell alkalmazni.
Ez a rendelet teljes egészében kötelező és közvetlenül alkalmazandó valamennyi tagállamban.
MELLÉKLETEK LISTÁJA
A melléklet száma | Melléklet címe |
I. | Az alkalmazandó ENSZ-EGB-előírások listája |
II. | A jármű szerkezeti integritására vonatkozó követelmények |
III. | A legnagyobb tervezési sebességre, a sebességszabályozókra és a sebességkorlátozó berendezésekre vonatkozó követelmények |
IV. | A gyors traktorok kormányzására vonatkozó követelmények |
V. | Kormányzásra vonatkozó követelmények |
VI. | Sebességmérőkre vonatkozó követelmények |
VII. | Látómezőre és ablaktörlőkre vonatkozó követelmények |
VIII. | Üvegezésre vonatkozó követelmények |
IX. | Visszapillantó tükrökre vonatkozó követelmények |
X. | A járművezetőt tájékoztató rendszerekre vonatkozó követelmények |
XI. | Világító-, fényjelző berendezésekre és fényforrásaikra vonatkozó követelmények |
XII. | Világítóberendezések beépítésére vonatkozó követelmények |
XIII. | Utasvédelemre vonatkozó követelmények, ideértve a jármű belső kialakítását, a fejtámlákat, a biztonsági öveket és a járműajtókat |
XIV. | A jármű külsejére és kiegészítő elemeire vonatkozó követelmények |
XV. | Az elektromágneses összeférhetőségre vonatkozó követelmények |
XVI. | Hangjelző készülékekre vonatkozó követelmények |
XVII. | Fűtésrendszerekre vonatkozó követelmények |
XVIII. | A jogosulatlan használat ellen védő berendezésekre vonatkozó követelmények |
XIX. | Rendszámtáblákra vonatkozó követelmények |
XX. | A hatóságilag előírt táblákra és jelölésekre vonatkozó követelmények |
XXI. | Méretekre és a pótkocsi tömegére vonatkozó követelmények |
XXII. | A legnagyobb terhelt tömegre vonatkozó követelmények |
XXIII. | Pótsúlyokra vonatkozó követelmények |
XXIV. | Az elektromos rendszerek biztonságára vonatkozó követelmények |
XXV. | Tüzelőanyag-tartályokra vonatkozó követelmények |
XXVI. | A hátsó ütközésvédelemre vonatkozó követelmények |
XXVII. | Az oldalsó ütközésvédelemre vonatkozó követelmények |
XXVIII. | Rakfelületekre vonatkozó követelmények |
XXIX. | Elvontató berendezésekre vonatkozó követelmények |
XXX. | Gumiabroncsokra vonatkozó követelmények |
XXXI. | A felcsapódó víz elleni védelemre vonatkozó követelmények |
XXXII. | A hátrameneti fokozatra vonatkozó követelmények |
XXXIII. | Hernyótalpakra vonatkozó követelmények |
XXXIV. | Mechanikus kapcsolószerkezetekre vonatkozó követelmények |
I. MELLÉKLET
Az alkalmazandó ENSZ-EGB-előírások listája
Előírás száma | Tárgy | Módosítássorozat | HL-hivatkozás | Alkalmazási kör |
1. | Világítóberendezések beépítése | Tartalmaz minden olyan szöveget, amely a 02. módosítássorozatig érvényes volt | HL L 177., 2010.7.10., 1. o. | T és C |
3. | Világító-, fényjelző berendezések és fényforrásaik | A 02. módosítássorozat 12. kiegészítése | L 323., 2011.12.6., 1. o. | T, C, R és S |
4. | Világító-, fényjelző berendezések és fényforrásaik | Az előírás eredeti változatának 14. kiegészítése Az előírás eredeti változatának 15. kiegészítése | L 31., 2009.1.31., 35. o. L 4., 2012.1.7., 17. o. | T, C, R és S |
5. | Világító-, fényjelző berendezések és fényforrásaik | Tartalmaz minden olyan szöveget, amely a 03. módosítássorozatig érvényes volt | L 162., 2014.5.29., 1. o. | T és C |
6. | Világító-, fényjelző berendezések és fényforrásaik | A 01. módosítássorozat 18. kiegészítése A 18. kiegészítés 1. helyesbítése A 01. módosítássorozat 19. kiegészítése | HL L 177., 2010.7.10., 40. o. | T, C, R és S |
7. | Világító-, fényjelző berendezések és fényforrásaik Világítóberendezések beépítése | A 02. módosítássorozat 16. kiegészítése | L 148., 2010.6.12., 1. o. | T, C, R és S |
8. | Világítóberendezések beépítése | Tartalmaz minden olyan szöveget, amely a 05. módosítássorozatig érvényes volt Az előírás 4. felülvizsgálatának 1. helyesbítése | HL L 177., 2010.7.10., 71. o. | T és C |
10. | Elektromágneses összeférhetőség | 04. módosítás-sorozat A 4. felülvizsgálat 1. helyesbítése A 04. módosítássorozat 1. kiegészítése | L 254., 2012.9.20., 1. o. | T és C |
18. | A jogosulatlan használat elleni védelemre szolgáló berendezések | A 03. módosítássorozat 2. kiegészítése | L 120., 2010.5.13., 29. o. | T és C |
19. | Világító-, fényjelző berendezések és fényforrásaik | A 03. módosítássorozat 2. kiegészítése | L 177., 2010.7.10., 113. o. | T és C |
20. | Világítóberendezések beépítése | Tartalmaz minden olyan szöveget, amely a 03. módosítássorozatig érvényes volt | HL L 177., 2010.7.10., 170. o. | T és C |
21. | Belső kialakítás – ajtók | A 01. módosítássorozat 3. kiegészítése | L 188., 2008.7.16., 32. o. | T és C |
23. | Világító-, fényjelző berendezések és fényforrásaik | Az előírás eredeti változatának 17. kiegészítése | HL L 4., 2012.1.7., 18. o. | T, C, R és S |
25. | Fejtámlák | 04. módosítássorozat Az előírás 1. felülvizsgálatának 2. helyesbítése | L 215., 2010.8.14., 1. o. | T és C |
28. | Hangjelző készülékek | Az előírás eredeti változatának 3. kiegészítése | L 323., 2011.12.6., 33. o. | T és C |
30. | Gumiabroncsok | A 02. módosítássorozat 15. kiegészítése A 02. módosítássorozat 16. kiegészítése | L 201., 2008.7.30., 70. o. L 307., 2011.11.23., 1. o. | T, R és S |
31. | Világító-, fényjelző berendezések és fényforrásaik | A 02. módosítássorozat 7. kiegészítése | L 185., 2010.7.17., 15. o. | T és C |
37. | Világító-, fényjelző berendezések és fényforrásaik | A 03. módosítássorozat 34. kiegészítése | L 297., 2010.11.13., 1. o. | T, C és R |
38. | Világító-, fényjelző berendezések és fényforrásaik | Az előírás eredeti változatának 15. kiegészítése A 12. kiegészítés 1. helyesbítése A 38. előírás módosításai, köztük az előírás eredeti változatának 15. kiegészítésével | L 148., 2010.6.12., 55. o. L 4., 2012.1.7., 20. o. | T és C |
43. | Üvegezés | A 01. módosítássorozat 2. kiegészítése | L 42., 2014.2.12., 1. o. | T és C |
46. | Visszapillantó tükrök | A 02. módosítássorozat 4. kiegészítése A 4. kiegészítés 1. helyesbítése | L 177., 2010.7.10., 211. o. | T és C |
48. | Világítóberendezések beépítése | A 04. módosítássorozat 6. kiegészítése 05. módosítássorozat | L 323., 2011.12.6., 46. o. | T, C, R és S |
54. | Gumiabroncsok | Az előírás eredeti változatának 16. kiegészítése Az előírás eredeti változatának 17. kiegészítése | L 183., 2008.7.11., 41. o. L 307., 2011.11.23., 2. o. | T, R és S |
55. | Mechanikus kapcsolószerkezetek | A 01. módosítássorozat 1. kiegészítése | L 227., 2010.8.28., 1. o. | T, C, R és S |
62. | A jogosulatlan használat elleni védelemre szolgáló berendezések | Az előírás eredeti változatának 2. kiegészítése | L 89., 2013.3.27., 37. o. | T és C |
69. | Világító-, fényjelző berendezések és fényforrásaik Világítóberendezések beépítése | A 5. módosítássorozat 01. kiegészítése | L 200., 2010.7.31., 1. o. | T és C T, C, R és S |
73. | Oldalsó ütközésvédelem | 01. módosítássorozat | L 122., 2012.5.8., 1. o. | R3b és R4B |
75. | Gumiabroncsok | Az előírás eredeti változatának 13. kiegészítése | L 84., 2011.3.30., 46. o. | T, R és S |
77. | Világítóberendezések beépítése | Az előírás eredeti változatának 14. kiegészítése | HL L 4., 2012.1.7., 21. o. | T, C, R és S |
79. | Gyors traktorok kormányberendezése | A 01. módosítássorozat 3. kiegészítése | L 137., 2008.5.27., 25. o. | Tb és Cb |
81. | Visszapillantó tükrök | Az előírás eredeti változatának 2. kiegészítése | L 185., 2012.7.13., 1. o. | T és C nyeregüléssel és kormányszarvakkal |
87. | Világító-, fényjelző berendezések és fényforrásaik | Az előírás eredeti változatának 14. kiegészítése Az előírás 2. felülvizsgálatának 1. helyesbítése Az előírás eredeti változatának 15. kiegészítése | L 164., 2010.6.30., 46. o. L 4., 2012.1.7., 24. o. | T és C |
89. | Legnagyobb tervezési sebesség, sebességszabályozók és sebességkorlátozó berendezések | Az előírás eredeti változatának 1. kiegészítése | L 158., 2007.6.19., 1. o. | T és C |
91. | Világító-, fényjelző berendezések és fényforrásaik | Az előírás eredeti változatának 11. kiegészítése Az előírás eredeti változatának 12. kiegészítése Az előírás eredeti változatának 13. kiegészítése | L 164., 2010.6.30., 69. o. L 4., 2012.1.7., 27. o. | R és S |
98. | Világító-, fényjelző berendezések és fényforrásaik | A 4. módosítássorozat 01. kiegészítése | L 176., 2014.6.14., 64. o. | T és C |
99. | Világító-, fényjelző berendezések és fényforrásaik | Az előírás eredeti változatának 5. kiegészítése | L 164., 2010.6.30., 151. o. | T és C |
104. | Világítóberendezések beépítése | Azok a módosítások, amelyek tartalmaznak minden olyan szöveget, amely az előírás eredeti változatának 7. kiegészítéséig érvényes volt | L 75., 2014.3.14., 29. o. | T, C, R és S |
106. | Gumiabroncsok | Az előírás eredeti változatának 8. kiegészítése | L 257., 2010.9.30., 231. o. | T, R és S |
112. | Világító-, fényjelző berendezések és fényforrásaik | Az előírás eredeti változatának 12. kiegészítése | L 230., 2010.8.31., 264. o. | T és C |
113. | Világító-, fényjelző berendezések és fényforrásaik | Azok a módosítások, amelyek tartalmaznak minden olyan szöveget, amely az előírás 01. módosítássorozatának 3. kiegészítéséig érvényes volt | L 176., 2014.6.14., 128. o. | T és C |
117. | Gumiabroncsok | 02. módosítássorozat A 02. módosítássorozat 1. helyesbítése A 02. módosítássorozat 2. helyesbítése A 02. módosítássorozat 3. helyesbítése | L 307., 2011.11.23., 3. o. | T, R és S |
119. | Világító-, fényjelző berendezések és fényforrásaik | Azok a módosítások, amelyek tartalmaznak minden olyan szöveget, amely a 01. módosítássorozat 3. kiegészítéséig érvényes volt | L 89., 2014.3.25., 101. o. | T és C |
122. | Fűtésrendszerek | Az előírás eredeti változatának 2. helyesbítése Az előírás eredeti változatának 1. kiegészítése | L 164., 2010.6.30., 231. o. | T és C |
123. | Adaptív fényszórórendszerek | Tartalmaz minden olyan szöveget, amely az előírás eredeti változatának 4. kiegészítéséig érvényes volt | L 222., 2010.8.24., 1. o. | T és C |
128. | Fénykibocsátó dióda (LED) fényforrások | Tartalmaz minden olyan szöveget, amely az előírás eredeti változatának 2. kiegészítéséig érvényes volt | L 162., 2014.5.29., 43. o. | T, C és R |
148. (1) | Fényjelző berendezések | Az előírás eredeti változata | HL L 347., 2021.9.30., 123. o., ELI: http://data.europa.eu/eli/reg/2021/1719/oj | T, C, R és S |
149. (2) | Útmegvilágítási eszközök | Az előírás eredeti változata | HL L 347., 2021.9.30., 173. o., ELI: http://data.europa.eu/eli/reg/2021/1720/oj | T és C |
150. (3) | Fényvisszaverő eszközök | Az előírás eredeti változata | HL L 347., 2021.9.30., 297. o., ELI: http://data.europa.eu/eli/reg/2021/1721/oj | T, C, R és S |
(1) A 148. számú ENSZ-előírás alkalmazható a 4., 6., 7., 23., 38., 50., 77., 87. és 91. számú ENSZ-előírás alternatívájaként. (2) A 149. számú ENSZ-előírás alkalmazható a 19., 98., 112., 113., 119. és 123. számú ENSZ-előírás alternatívájaként. (3) A 150. számú ENSZ-előírás alkalmazható a 3., 27., 69., 70. és 104. számú ENSZ-előírás alternatívájaként. |
Ha e rendeletben külön alternatív időpontok nem kerültek meghatározásra, az ENSZ EGB-előírások ezen táblázatban felsorolt átmeneti rendelkezései alkalmazandók. A táblázatban felsorolt előírások későbbi módosításaiban foglalt rendelkezéseknek való megfelelést szintén el kell fogadni.
II. MELLÉKLET
A jármű szerkezeti integritására vonatkozó követelmények
1. A járműveket úgy kell megtervezni és kialakítani, hogy szerkezetük a jármű szokásos élettartama alatt végig kiállja a rendeltetés szerinti használatból eredő hatásokat, figyelembe véve a jármű kezelési útmutatójában világosan és félreérthetetlenül leírt rendszeres és tervszerű karbantartást és a berendezések egyedi beállításait. A járműgyártónak erről aláírt nyilatkozatot kell adnia.
2. Az összeszerelő üzemekben zajló jármű-összeszerelés és -építés, különösen a jármű vázához, alvázához és felépítményéhez és erőátviteli rendszeréhez kapcsolódó folyamatok tekintetében minőségbiztosítási rendszert kell működtetni annak érdekében, hogy az olyan alapvető mechanikus kapcsolatokat, mint a hegesztett varratok vagy menetes csatlakozások, valamint az egyéb fontos anyagjellemzőket megfelelő módon ellenőrizzék.
3. A jóváhagyó hatóságnak a 167/2013/EU rendelet 28. cikkében említett, gyártásmegfelelőséggel kapcsolatos gyártói kötelezettségek részeként kell ellenőriznie a minőségbiztosítási rendszert.
4. A típusjóváhagyó hatóságnak ellenőriznie kell, hogy abban az esetben, ha súlyos biztonsági kockázat miatt visszahívásra kerül sor, a mérnöki számításokon, virtuális vizsgálati módszereken és/vagy szerkezeti vizsgálatokon alapuló, a járműszerkezetre, alkotóelemekre és/vagy alkatrészekre vonatkozó specifikus elemzés kérésre haladéktalanul a jóváhagyó hatóság és az Európai Bizottság rendelkezésére bocsátható-e.
5. A járműre nem adható típusjóváhagyás, ha okkal kétségbe vonható, hogy a járműgyártó képes rendelkezésre bocsátani a 4. pontban említett elemzést. A kétség vonatkozhat mind az elemzés hozzáférhetőségére, mind a meglétére (pl. a limitált járműtételre típus-jóváhagyási kérelmet benyújtó kisebb gyártót képviselő félnek valószínűleg nincs hozzáférése ilyen elemzésekhez).
III. MELLÉKLET
A legnagyobb tervezési sebességre, a sebességszabályozókra és a sebességkorlátozó berendezésekre vonatkozó követelmények
1. Fogalommeghatározások
E mellékletben:
1.1. "Sebességszabályozó" : a motor fordulatszámának és/vagy a jármű sebességének mérésére és szabályozására szolgáló berendezés.
1.2. "Erőátviteli rendszer" : energiát előállító és azt az útfelületnek átadó alkatrészek csoportja, beleértve a motort, a sebességváltót, a meghajtótengelyeket, a differenciálműveket, valamint a hajtott kerekeket vagy hernyótalpakat.
1.3. "Szakszerűtlen beavatkozás" : olyan jogosulatlan módosítás, amely veszélyeztetheti a funkcionális biztonságot, különösen a jármű teljesítményének növelésével, és károsíthatja a környezetet.
1.4. "Sebességkorlátozó berendezés" : olyan berendezés, amelynek az elsődleges funkciója a motor tüzelőanyag-adagolásának vezérlése a jármű sebességének egy adott értékre való korlátozása érdekében.
KÖVETELMÉNYEK
2. Legnagyobb tervezési sebesség
2.1. A típus-jóváhagyási vizsgálatokhoz az átlagos sebességet egyenes mérőszakaszon mérik, amelyen a traktornak repülőstarttal mindkét irányban végig kell haladni. A mérőszakasz útfelületének szilárdnak kell lennie; a mérőszakasz hossza legalább 100 m és sík legyen, azonban tartalmazhat legfeljebb 1,5 %-os lejtőket.
2.2. A mérést üres, menetkész traktorral kell végezni, pótsúlyok és különleges tartozékok nélkül, a közúti közlekedésre előírt abroncsnyomás betartásával.
2.3. A méréshez a traktort a legnagyobb gumiabroncs-gördülési sugarú, új pneumatikus gumiabroncsokkal kell felszerelni, amelyek méretét a gyártó által megadott dinamikus gördülési sugár indexszel fejezik ki.
2.4. A mérés a sebességváltó legnagyobb sebességhez tartozó fokozatában történik, teljesen kinyitott fojtószeleppel.
2.5. A típus-jóváhagyási vizsgálat során a különböző elkerülhetetlen, különösen a mérési eljárással és a részterhelésnél a motor fordulatszámának növekedésével összefüggő hibák figyelembevételével az a mért sebesség, amely 3 km/órával haladja meg a legnagyobb tervezési sebességet, még megengedhető. További 5 % tűrést kell engedélyezni a gumiabroncsok méretéből adódó eltérések figyelembevétele érdekében.
2.6. Annak érdekében, hogy a típusjóváhagyó hatóságok ki tudják számítani a legnagyobb elméleti sebességet, a gyártónak útmutatásként meg kell adnia az áttételi viszonyt, a hajtott kerekek egy teljes fordulat mellett megtett tényleges előrehaladását, valamint - attól függően, hogy a kettő közül melyik a magasabb érték - a legnagyobb teljesítményhez tartozó fordulatszámot vagy a leszabályozás kezdetéhez tartozó fordulatszámot teljes terhelés mellett teljesen kinyitott fojtószeleppel, a sebességszabályozónak (ha be van szerelve) a gyártó által meghatározott beállítása mellett. A legnagyobb elméleti sebességet a 2.5. pontban említett tűrések nélkül kell kiszámítani.
3. Sebességszabályozó
3.1. Ha a gyártó alapfelszerelésként épít be sebességszabályozót, akkor azt úgy kell megtervezni és beépíteni, hogy a traktor megfeleljen a legnagyobb tervezési sebességgel kapcsolatos fenti rendelkezések 2. pontjának.
4. A sebességkorlátozó berendezésre, valamint az erőátviteli rendszer és a sebességkorlátozó berendezés szakszerűtlen beavatkozás elleni védelmére vonatkozó követelmények
4.1. A sebességkorlátozó berendezésre vonatkozó követelmények
A T és C kategóriájú, 60 km/h-t meghaladó legnagyobb tervezési sebességű járműveket az e mellékletben meghatározott állítható sebességkorlátozó berendezéssel kell felszerelni.
4.1.1. Az állítható sebességkorlátozó berendezéseknek teljesíteniük kell az N2 és N3 kategóriájú járművekre vonatkozó, a 89. számú ENSZ-EGB-előírás 1. és 2. pontjában, II. részének 13.2. pontjában, III. részének 21.2. és 21.3. pontjában, 5. mellékletének 1. pontjában és 6. mellékletében meghatározott követelményeket az I. mellékletben leírtak szerint.
4.2. A szakszerűtlen beavatkozás megakadályozása az erőátviteli rendszer és a sebességkorlátozó berendezés esetében
4.2.1. Cél és hatály
Az erőátviteli rendszer szakszerűtlen beavatkozás elleni védelmének célja annak biztosítása, hogy a meghajtási teljesítményre, a járműszerkezetre és a funkcionális biztonságra vonatkozó követelményeknek a típusjóváhagyás időpontjában megfelelő jármű a teljes élettartama alatt teljesítse ezeket a követelményeket, és megakadályozza az erőátviteli rendszeren végzett olyan káros módosításokat, amelyek a funkcionális biztonságra és/vagy a környezetre kedvezőtlen hatást gyakorolnak.
4.3. Általános követelmények
4.3.1. A gyártónak gondoskodnia kell arról, hogy a jóváhagyó hatóság és a műszaki szolgálat megkapja a szükséges információkat és adott esetben a szükséges járműveket, meghajtó rendszereket, alkatrészeket és önálló műszaki egységeket, amelyek alapján módjuk nyílik az e mellékletben meghatározott követelmények teljesítésének ellenőrzésére.
4.3.2. A gyártónak a típusjóváhagyás iránti kérelemben nyilatkoznia kell azon kötelezettségvállalásáról, hogy nem forgalmaz olyan cserélhető alkatrészeket, amelyek lehetővé teszik az adott változat fenti meghajtási teljesítményének a növelését.
4.4. A gyártó biztosítja, hogy a jóváhagyott jármű megfeleljen a jármű teljesítményét korlátozó elektromos rendszerek biztonságára vonatkozó alábbi pontoknak.
4.4.1. A meghajtási teljesítményt korlátozó elektromos/elektronikus sebességkorlátozó berendezéssel ellátott jármű esetében a jármű gyártójának adatokat és bizonyítékokat kell szolgáltatnia a műszaki szolgálatoknak annak igazolására, hogy a berendezésnek vagy kábelezésének módosítása vagy leválasztása nem növeli meg a meghajtási teljesítményt.
4.4.2. Az elektronikus vezérléssel felszerelt járműnek olyan funkciókkal kell rendelkeznie, amelyek meggátolják a módosítást, kivéve, ha azt a gyártó engedélyezi. A gyártó akkor engedélyezhet módosításokat, ha azok a jármű diagnosztikájához, karbantartásához és javításához, műszaki ellenőrzéséhez, feljavításához vagy javításához szükségesek.
4.4.3. Minden átprogramozható számítógépes kódnak és működési paraméternek védettnek kell lennie a szakszerűtlen beavatkozás ellen.
4.4.4. A számítógépes programozású hajtásműködési paraméterek nem lehetnek cserélhetők különleges eszköz vagy eljárás nélkül (például forrasztott vagy tokozott számítógép-alkatrészek, illetve leplombált vagy leforrasztott számítógépházak).
4.4.5. Minden kivehető kalibrálási memóriachipet tokozva, leplombált tartóban kell elhelyezni vagy elektronikus algoritmusokkal kell védeni, és biztosítani kell, hogy ezeket csak speciális eszközökkel és különleges eljárásokkal lehessen kicserélni.
4.4.6. A programozható számítástechnikai berendezéseket (például elektromosan törölhető, programozható, csak olvasható memória: EEPROM) alkalmazó gyártóknak meg kell akadályozniuk a jogosulatlan átprogramozást. A gyártóknak szakszerűtlen beavatkozás elleni fejlett stratégiákat és írásvédelmi funkciókat kell beépíteniük, amelyeknek elektronikusan kell csatlakozniuk a gyártó távoli számítógépéhez, amelyhez a független gazdasági szereplők is megfelelően védett hozzáférést kapnak.
4.4.7. Az erőátviteli rendszert vagy a motort vezérlő egység(ek) tárolt fedélzeti diagnosztikai hibakódjai, amelyek az ezekben előforduló működési hibákat azonosító vagy megcímkéző numerikus vagy alfanumerikus kódok, nem törlődhetnek akkor, ha a jármű fedélzeti számítógépét a jármű áramellátásáról leválasztják, illetve a jármű akkumulátorának vagy testelésének leválasztása vagy működési hibája esetén.
IV. MELLÉKLET
A gyors traktorok kormányzására vonatkozó követelmények
1. A 79. számú ENSZ-EGB-előírás 2., 5. és 6. szakaszában és a 4. és 6. mellékletében a gépjárművek kormányzására meghatározott követelmények, az I. mellékletben leírtak szerint, a Tb és Cb kategóriájú, 60 km/h-t meghaladó legnagyobb tervezési sebességű járművekre vonatkoznak.
2. A 40 km/h-nál nagyobb, de 60 km/h-t nem meghaladó legnagyobb tervezési sebességű, Tb és Cb kategóriájú járművek kormányzására az ISO 10998:2008 szabvány 1:2014 módosításának követelményei vonatkoznak.
3. A C kategóriájú traktorok kormányzásának összhangban kell lennie a XXXIII. melléklet 3.9. pontjában meghatározott követelményekkel.
4. Az 1. pontban említett járművek esetében a kormányzási erőkifejtésre vonatkozó követelmények megegyeznek a 79. számú ENSZ EGB-előírás 6. szakasza szerinti N2 kategóriájú járművekre vonatkozóan meghatározott, az I. mellékletben hivatkozott követelményekkel.
A nyeregüléssel és kormányszarvakkal felszerelt járművek esetében a kormányzási erőkifejtéssel kapcsolatos ugyanezen követelmények a markolat közepére vonatkoznak.
V. MELLÉKLET
Kormányzásra vonatkozó követelmények
1. Fogalommeghatározások
E melléklet alkalmazásában a XXXIII. melléklet 1. szakaszában található fogalommeghatározásokat kell alkalmazni. Ezenkívül a következő fogalommeghatározásokat is alkalmazni kell:
1.1. "kormányszerkezet" :
mindazok a berendezések, amelyeknek a célja a traktor mozgásirányának a módosítása.
A kormányszerkezet részének tekinthető a kormányberendezés, a kormánymű, a kormányzott kerekek, illetve adott esetben a kiegészítő vagy független erőhatás létrehozására szolgáló különleges berendezések;
1.2. "kormánymű" : a kormányberendezés és a kormányzott kerekek közötti összes alkatrész, az 1.3. pontban meghatározott különleges berendezés kivételével. A kormánymű lehet mechanikus, hidraulikus, pneumatikus, elektromos vagy ezek kombinációja;
1.3. "különleges berendezés" : a kormányszerkezet azon része, amellyel kiegészítő vagy független erőhatás hozható létre. Kiegészítő vagy független erőhatás mechanikus, hidraulikus, pneumatikus vagy elektromos rendszerekkel vagy ezek bármely kombinációjával hozható létre (például olajszivattyúval, levegőszivattyúval vagy akkumulátorral stb.);
1.4. "rásegítéses kormányszerkezet" : az a berendezés, amelyben a kormányzott kerekek kitéréséhez szükséges erőt a vezető izomereje és a különleges berendezés együttesen biztosítja; ide tartozik az olyan kormányszerkezet is, amelynél a kormányzási erőt általában kizárólag a különleges berendezés biztosítja, ám amely a különleges berendezés meghibásodása esetén lehetővé teszi a vezető izomereje segítségével történő kormányzást is;
1.5. "gépkormány" : az a berendezés, amelyben a kormányzott kerekek kitéréséhez szükséges erőt kizárólag a különleges berendezés biztosítja;
1.6. "differenciálkormányzás" : a kerekek vagy hernyótalpak kormányzásának az a módja, amikor a traktor haladási irányának meghatározása a bal és jobb oldali kerekek vagy hernyótalpegységek eltérő fordulatszáma segítségével történik;
1.7. "kormányzott kerekek" :
az alábbiak valamelyike:
a) azok a kerekek, amelyek irányát közvetlenül vagy közvetve meg lehet változtatni a jármű helyzetéhez képest a jármű mozgási irányában történő változás elérése érdekében,
b) a csuklós traktorok összes kereke,
c) azonos tengelyen levő kerekek, amelyek sebessége változtatható a traktor haladási irányának módosítása érdekében.
GYÁRTÁSI, SZERELÉSI ÉS VIZSGÁLATI ELŐÍRÁSOK
2. Általános követelmények
2.1. A kormányszerkezetnek biztosítania kell a traktor könnyű és biztonságos kormányzását és eleget kell tennie a 3. pontban szereplő részletes követelményeknek.
2.2. A C kategóriájú traktorok kormányzási eljárása összhangban van a XXXIII. melléklet 3.9. pontjában meghatározott követelményekkel.
2.3. A 2.2. pontban meghatározott követelmények a C kategóriájú, acél lánctalpakkal rendelkező, differenciálkormányzással működő traktorokra nem vonatkoznak. Az 1.6. pontban említett fordulatszám-különbséget vagy mechanikai alkatrészek, például fékek és egy kiegyenlítőmű hozzák létre együttesen, vagy a bal és a jobb oldal különálló átviteli lánca, mint például szétválasztott hidrosztatikus átvitel esetén. Ha a kormányrendszer a fékrendszerrel van kombinálva, az (EU) 2015/68 ( 3 ) felhatalmazáson alapuló bizottsági rendeletben meghatározott követelményeket kell alkalmazni.
3. Részletes követelmények
3.1. Kormányberendezés
3.1.1. A kormányberendezésnek könnyen kezelhetőnek és jó fogásúnak kell lennie a várható felnőtt kezelők számára eltérő termetük és erejük figyelembevételével. Úgy kell kialakítani, hogy lehetővé tegye a fokozatos kormányozhatóságot. A kormányberendezés elmozdítási irányának és a traktor szándékozott irányváltoztatásának egybe kell esnie.
3.1.2. A szükséges kormányzási erőkifejtés az egyenes haladásból a 12 m sugarú fordulókörre való ráhajtáskor nem haladhatja meg a 25 daN erőt ép kormányberendezés esetében. Az olyan rásegítéses kormányszerkezetnél, amely nem kapcsolódik egyéb berendezéshez, a rásegítés kimaradása esetén a kormányzási erőkifejtés nem lehet több, mint 60 daN.
3.1.3. A 3.1.2. pont szerinti előírás teljesítésének ellenőrzéséhez a traktornak száraz, vízszintes, jó tapadású útfelületen, 10 km/óra sebességgel, egyenes haladási irányból indulva egy spirális pályát kell leírnia. A kormányzási erőkifejtést addig a pillanatig kell mérni a kormánykeréken, amíg a kormánykerék állása 12 m sugarú fordulókörnek nem felel meg. A fordulási művelethez igénybe vett idő (azaz a kormányberendezés működtetésének kezdetétől a mérési helyzet eléréséig eltelt idő) szokásos esetben nem lehet több, mint öt másodperc, és a különleges berendezés kimaradása esetén sem lehet több, mint nyolc másodperc. Egy-egy manővert kell végezni jobbra és balra.
A vizsgálathoz a traktort a műszakilag megengedett legnagyobb tömegig kell megterhelni; a gumiabroncsok nyomása és a tömeg tengelyek közötti eloszlása meg kell, hogy feleljen a gyártó előírásainak. A hernyótalpak talpnyomása nem haladhatja meg a XXXIII. melléklet 3.3. pontjában foglalt értéket.
3.2. Kormánymű
3.2.1. A kormányszerkezet nem tartalmazhat elektromos vagy teljes mértékben pneumatikus kormányművet.
3.2.2. A kormányművet úgy kell megtervezni, hogy megfeleljen az üzemelés során keletkező igénybevételnek. Karbantartáshoz és ellenőrzéshez pedig könnyen hozzáférhetőnek kell lennie.
3.2.3. A nem tisztán hidraulikus kormányművel felszerelt traktorok kormányozhatóságának akkor is meg kell maradnia, ha az áttételi berendezés hidraulikus, illetve pneumatikus része elromlik.
3.2.4. A tisztán hidraulikus kormányműveknek és a különleges berendezésnek a következő feltételeknek kell megfelelniük:
3.2.4.1. A teljes kör vagy annak részeinek túlnyomás elleni védelmére egy vagy több nyomáshatárolót kell beépíteni;
3.2.4.2. A nyomáshatároló berendezéseket úgy kell beállítani, hogy a T nyomás a gyártó által meghatározott legnagyobb üzemi nyomást ne haladja meg;
3.2.4.3. A vezetékeket a T nyomás (a nyomáshatároló berendezésen beállított nyomás) négyszeresére kell méretezni; úgy kell védett helyen vezetni azokat, hogy rázkódás, ütközés következtében a törés veszélye a lehető legkisebb legyen, és ne veszélyeztesse azokat a kidörzsölődés.
3.3. Kormányzott kerekek
3.3.1. Mindegyik kerék lehet kormányzott kerék.
3.4. Különleges berendezés
3.4.1. A különböző típusú kormányszerkezeteknél alkalmazott különleges berendezések a következő feltételek mellett használhatók:
3.4.1.1. Ha a traktor rásegítéses kormányszerkezettel van felszerelve, a kormányozhatóságának akkor is biztosítottnak kell lennie, ha a különleges berendezés meghibásodik. Ha a rásegítéses kormányszerkezet nem rendelkezik saját erőforrással, legyen ellátva saját energiatárolóval. Az energiatárolót helyettesítheti olyan független berendezés is, amely a kormányszerkezetet az egyéb rendszerekkel szemben elsődlegesen látja el energiával, amennyiben azok közös erőforrással rendelkeznek. Az (EU) 2015/68 felhatalmazáson alapuló rendeletben meghatározott követelmények sérelme nélkül, ha a hidraulikus kormányszerkezet és a hidraulikus fékrendszer között hidraulikus kapcsolat áll fenn, és azok közös erőforrásra vannak csatlakoztatva, akkor a két rendszer valamelyikének kiesésekor a kormányszerkezetet működtető erő nem haladhatja meg a 40 daN értéket. Ha energiaforrásként sűrített levegő szolgál, akkor a levegőtartályt visszacsapó szeleppel kell védeni.
Ha a kormányzáshoz szükséges erőt kizárólag a különleges berendezés biztosítja, akkor a rásegítéses kormányszerkezetet optikai vagy akusztikus jeladóval kell ellátni, amely jelzi, ha a kormányzási erőkifejtés a különleges berendezés hibája esetén a 25 daN értéket meghaladja.
3.4.1.2. Ha a traktor gépkormánnyal rendelkezik, és annak az erőátvitele tisztán hidraulikus, akkor a különleges berendezés vagy a motor hibája esetén a 3.1.3. pont szerinti két manővernek egy kiegészítő különleges berendezés útján kell végrehajthatónak lennie. A kiegészítő különleges berendezés lehet egy sűrítettlevegő- vagy gáztartály is. Kiegészítő különleges berendezésként használható olajszivattyú vagy légsűrítő is, ha az közvetlenül a traktor kerekeiről meghajtott és nem lehet onnan lekapcsolni. A különleges berendezés üzemzavara esetén figyelmeztető optikai vagy akusztikus jelzéssel kell tájékoztatni a vezetőt.
3.4.1.2.1. Ha a különleges berendezés pneumatikus, olyan sűrítettlevegő-tartálynak kell hozzá csatlakoznia, amelyet visszacsapó szelep véd. A sűrítettlevegő-tartály méretezésének olyannak kell lennie, hogy legalább hét teljes (ütközéstől ütközésig) kormányelfordítás legyen lehetséges az üzemi nyomás felére csökkenéséig; ezt talajról felemelt kormányzott kerekekkel kell vizsgálni.
4. A gyártók eldönthetik, hogy a jelen mellékletben vagy a IV. mellékletben meghatározott követelményeket alkalmazzák.
VI. MELLÉKLET
Sebességmérőkre vonatkozó követelmények
1. Fogalommeghatározások
E mellékletben:
1.1. "Normál üzemi nyomás" : a jármű gyártója által meghatározott, hideg állapotban mért abroncsnyomás 0,2 bar-ral megnövelt értéke.
1.2. "Sebességmérő" : a sebességmérő rendszernek az a része, amely a vezető számára a jármű mindenkori sebességét mutatja.
2. Követelmények
2.1. A 30 km/h-t meghaladó legnagyobb tervezési sebességű összes traktort az e mellékletben meghatározott követelmények szerinti sebességmérővel kell felszerelni.
2.1.1. A T4.1 és a C4.1 kategóriájú, 30 km/h-t meg nem haladó legnagyobb tervezési sebességű traktorokat az e mellékletben meghatározott követelmények szerinti sebességmérővel kell felszerelni.
2.1.2. A sebességmérő kijelzőnek a vezető közvetlen látóterében kell lennie, és nappal és éjszaka egyaránt egyértelműen leolvashatónak kell lennie. A kijelzési tartománynak magában kell foglalnia a jármű gyártója által az adott járműtípusra megadott legnagyobb sebesség értékét.
2.2. Amennyiben a sebességmérőnek, eltérően a digitális kijelzőtől, skálája van, annak tisztán leolvashatónak kell lennie.
2.2.1. A skálaosztás 1, 2, 5 vagy 10 km/óra. A skálán a sebességértékeket a következőképpen kell feltüntetni:
2.2.1.1. ha a műszer kijelzőjén a legmagasabb érték nem haladja meg a 40 km/h-t, akkor a sebességértékek feltüntetésének intervalluma nem lehet nagyobb, mint 10 km/h, a skálaosztás pedig nem lehet nagyobb, mint 5 km/h;
2.2.1.2. ha a műszer kijelzőjén a legmagasabb érték meghaladja a 40 km/h-t, akkor a sebességértékek feltüntetésének intervalluma nem lehet nagyobb, mint 20 km/h, a skálaosztás pedig nem lehet nagyobb, mint 5 km/h.
2.2.2. Azok a tagállamok, amelyekben e rendelet elfogadásának időpontjában a járművek sebességét mph-ban mérik, előírhatják, hogy az illető országban értékesített járművekbe beépített sebességmérő műszereket el kell látni mind km/h-, mind pedig mph-beosztással, összhangban a 2009/3/EK európai parlamenti és tanácsi irányelvvel ( 4 ).
Abban az esetben, ha a sebességmérő berendezést olyan tagállamban történő értékesítés céljából gyártják, ahol angolszász mértékegységeket használnak, a sebességmérő értékeit mph egységben is be kell jelölni; a skálaosztás 1, 2, 5 vagy 10 mph kell, hogy legyen. A skálán a sebességértékek feltüntetésének intervalluma legfeljebb 20 mph lehet.
2.2.3. Nem szükséges, hogy a feltüntetett sebességérték-intervallumok egyformák legyenek.
2.3. A sebességmérő műszer pontosságát az alábbi vizsgálati eljárással ellenőrzik:
2.3.1. a járművet az alapfelszerelésű gumiabroncsok egyikével vagy hernyótalpakkal kell felszerelni; a vizsgálatot meg kell ismételni a gyártó által meghatározott valamennyi típusú sebességmérő műszerrel;
2.3.2. a sebességmérő műszert meghajtó tengely terhelésének meg kell felelnie az adott tengelyre menetkész állapotban ható tömegrésznek;
2.3.3. a sebességmérőnél a referenciahőmérséklet 23 ± 5 °C;
2.3.4. az abroncsnyomásnak minden vizsgálatnál meg kell felelnie a normál üzemi nyomásnak;
2.3.5. a járművet a következő három sebességen kell ellenőrizni: 20, 30 és 40 km/h vagy a gyártó által megadott végsebesség 80 %-a gyors traktorok esetében;
2.3.6. a jármű tényleges sebességét mutató ellenőrző műszer megengedett mérési hibája nem haladhatja meg a ± 1,0 %-ot;
2.3.6.1. a mérési útvonalnak síknak, száraznak és kellőképpen jó tapadásúnak kell lennie.
2.4. A mutatott sebesség soha nem lehet kisebb, mint a tényleges sebesség. A fenti 2.3.5. pontban megadott sebességeken, és a közbenső értékeken is, a sebességmérő által kijelzett érték (V1) és a tényleges sebesség (V2) között az alábbi összefüggések érvényesülnek: [Kép #1] .

Kép #1
VII. MELLÉKLET
Látómezőre és ablaktörlőkre vonatkozó követelmények
A T és C kategóriájú járműveknek teljesíteniük kell az alábbi követelményeket:
1. ISO 5721-1:2013: előrefelé irányuló látómező és ablaktörlők;
2. A traktor melletti látómezőre vonatkozó rész, a mezőgazdasági traktorok oldalirányba és hátrafelé irányuló látómezejére vonatkozó ISO 5721-2: 2014 szabvány. Az ISO 5721-2:2014 szabvány 5.1.3. pontjában meghatározott követelményeket a közvetlen és közvetett látásra szolgáló eszközök kombinációjával is lehet teljesíteni. Az ISO 5721-2:2014 szabványban meghatározott vizsgálatok és elfogadási kritériumok a 2,55 m-t meghaladó szélességű traktorok esetében is alkalmazandók.
VIII. MELLÉKLET
Üvegezésre vonatkozó követelmények
1. Fogalommeghatározások
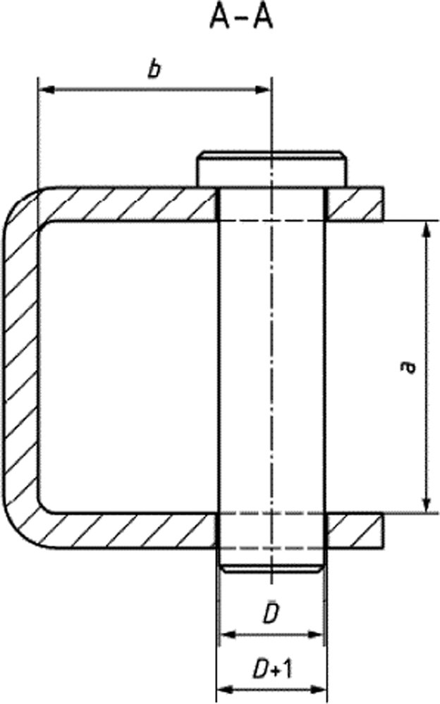
E mellékletben:
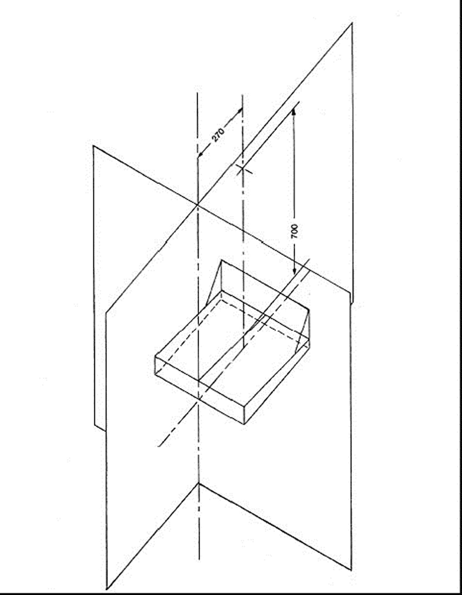
1.1. "vezető szemének referenciapontja" : mesterségesen meghatározott egyetlen pont, amelyben a járművezető szemei elméletileg találhatóak. Ez a pont a traktor hosszirányú felezősíkjával párhuzamos és az ülés középvonalán áthaladó síkban helyezkedik el 700 mm-rel függőlegesen e sík és az ülésfelszín metszésvonala felett, továbbá 270 mm-re a medencetámasz irányában attól a függőleges síktól, amely az ülés felszínének elülső szélén halad keresztül és merőleges a traktor hosszirányú szimmetriasíkjára (1. ábra). Az így meghatározott referenciapont az el nem foglalt és a traktor gyártója által előírt középhelyzetbe állított ülésre vonatkozik;
1.2. "a vezető hátrafelé irányuló látómezejét biztosító, biztonsági üvegezésre alkalmas anyag" : a vezető szemének referenciapontján áthaladó és a hosszirányú középsíkra merőleges sík mögött található valamennyi üveg, amelyen keresztül a vezető láthatja az utat a jármű vezetése vagy manőverezése közben.
2. Követelmények
2.1. A T kategóriájú járművek üvegezésének meg kell felelnie a 43. számú ENSZ-EGB-előírás követelményeinek az e rendelet I. mellékletében leírtak szerint, kivéve az ENSZ-EGB-előírás 21. mellékletét.
2.2. A C kategóriájú járművek üvegezésének a T kategóriájú megfelelő járművekre előírtakkal azonos követelményeknek kell megfelelnie.
2.3. A T és C kategóriájú, 60 km/h-t meghaladó legnagyobb tervezési sebességű járművek biztonsági üvegezési rendszerének meg kell felelnie a 43. számú ENSZ-EGB-előírás 21. mellékletében az N kategóriájú járművekre előírt rendelkezéseknek az I. mellékletben leírtak szerint.
2.4. A T és C kategóriájú, 60 km/h-t meg nem haladó legnagyobb tervezési sebességű járművek biztonsági üvegezési rendszere.
2.4.1. A biztonsági üvegezést úgy kell beszerelni, hogy garantált legyen az utasok megfelelő biztonsági szintje, illetve különösen úgy, hogy a vezető számára mindenféle használati körülmények között biztosítva legyen a kiváló láthatóság, nemcsak előre, hanem hátrafelé és oldalra is.
2.4.2. A biztonsági üvegezést úgy kell beszerelni, hogy az a jármű szokásos üzemi körülményeiből eredő feszültségek ellenére a helyén maradjon, továbbá folyamatosan biztosítsa a kilátást, valamint a jármű utasainak a biztonságát.
2.4.3. A biztonsági üvegen szerepelnie kell a megfelelő, a 43. számú ENSZ-EGB-előírás 5.4. szakaszában meghatározott alkatrész-típusjóváhagyási jelnek az I. mellékletben leírtak szerint, amelyet szükség esetén a 43. számú ENSZ-EGB-előírás 5.5. szakaszában meghatározott kiegészítő jelölések egyikének kell követnie az I. mellékletben leírtak szerint.
2.4.4. Biztonsági üvegezés szélvédők esetében
2.4.4.1. A rendes fényátbocsátás nem lehet 70 %-nál kevesebb.
2.4.4.2. A szélvédőt a vezető szemének referenciapontjához képest kell megfelelően beszerelni.
2.4.4.3. A T és C kategóriájú, 40 km/h-t meg nem haladó legnagyobb tervezési sebességű járműveket a 43. számú ENSZ-EGB-előírás 4., 5., 6., 8. vagy 10. mellékletében meghatározott valamelyik biztonsági üvegezésre alkalmas anyaggal kell felszerelni az I. mellékletben leírtak szerint.
2.4.4.4. A T és C kategóriájú, 40 km/h-t meghaladó legnagyobb tervezési sebességű járműveket a 2.4.4.3. pontban említett valamelyik biztonsági üvegezésre alkalmas anyaggal kell felszerelni, a 43. számú ENSZ-EGB-előírás 5. mellékletének kivételével az I. mellékletben leírtak szerint.
2.4.5. Nem szélvédőn alkalmazott biztonsági üvegezés
2.4.5.1. A biztonsági üvegnek legalább 70 %-os rendes fényátbocsátással kell rendelkeznie.
2.4.5.2. A vezető hátrafelé irányuló látómezejéhez szükséges, biztonsági üvegezésre alkalmas műanyagon a 2.4.3. pontban meghatározott alkatrész-típusjóváhagyási jelen kívül szerepelnie kell az A/L vagy B/L szimbólumok egyikének a 43. számú ENSZ-EGB-előírás 5.5.5. és 5.5.7. szakaszának megfelelően az I. mellékletben leírtak szerint.
2.4.5.3. A vezető hátrafelé vagy oldalra irányuló látómezejéhez nem szükséges, biztonsági üvegezésre alkalmas műanyagon a 2.4.3. pontban meghatározott alkatrész-típusjóváhagyási jelen kívül szerepelnie kell a V szimbólumnak a 43. számú ENSZ-EGB-előírás 5.5.2. szakaszának megfelelően az I. mellékletben leírtak szerint, ha a fényátbocsátás 70 % alatti.
2.4.5.4. A vezető előre-, vagy hátrafelé irányuló látómezejéhez nem szükséges, biztonsági üvegezésre alkalmas műanyagon a 2.4.3. pontban meghatározott alkatrész-típusjóváhagyási jelen kívül szerepelnie kell a 43. számú ENSZ-EGB-előírás 5.5.5., 5.5.6. és 5.5.7. szakaszában meghatározott szimbólumok egyikének az I. mellékletben leírtak szerint.
2.4.5.5. Műanyag biztonsági üvegezés esetén a 2.4.5.2. pontban említett kopásállósági rendelkezések nem vonatkoznak a napfénytetőkre és a jármű tetején elhelyezett ablakokra. Kopásvizsgálat/jelölés nem szükséges.
1. ábra
A vezető szemének referenciapontja

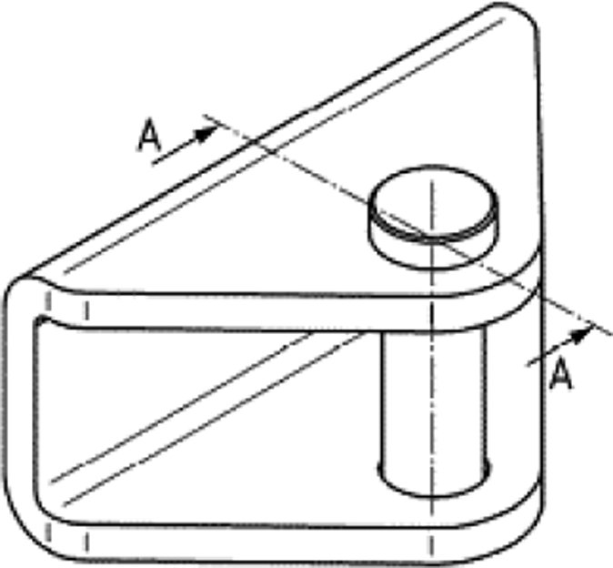
IX. MELLÉKLET
Visszapillantó tükrökre vonatkozó követelmények
1. Felszerelési előírások
Minden traktort két külső visszapillantó tükörrel és választhatóan egy belső visszapillantó tükörrel kell felszerelni.
2. Általános tudnivalók
2.1. A belső visszapillantó tükrök az I. osztályba, a külső visszapillantó tükrök pedig a II. osztályba tartoznak. A traktorokat két II. osztályú visszapillantó tükörrel és választhatóan egy I. osztályú visszapillantó tükörrel kell felszerelni, amelyeken szerepelnie kell a 46. számú ENSZ-EGB-előírásnak megfelelő típus-jóváhagyási jelnek az I. mellékletben leírtak szerint, összhangban a 167/2013/EU rendelet 34. cikkével és e rendelet XX. mellékletével.
2.2. A visszapillantó tükröket úgy kell rögzíteni, hogy a szokásos használati feltételek mellett a helyükön maradjanak.
2.3. A nyeregüléssel és kormányszarvakkal felszerelt járműveknek a 2.1. és 2.2., valamint a 3-6. pontban meghatározott követelmények helyett a 81. számú ENSZ-EGB-előírásban meghatározott követelményeket kell teljesíteniük az I. mellékletben leírtak szerint.
2.4. A mezőgazdasági munka végzése közben a munkagépek megfigyelésére tervezett kiegészítő tükrök és visszapillantó tükrök nem feltétlenül típusjóváhagyás-kötelesek, de a 3.1-3.5. pont előírásainak megfelelően kell felszerelni azokat.
3. Elhelyezés
3.1. A II. osztályú külső visszapillantó tükröket úgy kell elhelyezni, hogy a vezetőnek tiszta képe legyen az útnak az 5. pontban meghatározott részéről, miközben rendes vezetési helyzetben ül a vezetőülésen.
3.2. A külső visszapillantó tükörnek láthatónak kell lennie a szélvédő üvegnek az ablaktörlő által tisztított részén át vagy az oldalablakokon keresztül, ha a traktornak vannak oldalablakai.
3.3. A visszapillantó tükörnek csak olyan mértékben szabad a traktor vagy a pótkocsija külső karosszériáján túlnyúlnia, mint amennyire az az 5. pontban meghatározott látómező áttekintéséhez szükséges.
3.4. Ha a külső visszapillantó tükör alsó széle 2 m-nél alacsonyabban helyezkedik el a talaj felett a traktor megterhelt állapotában, akkor e visszapillantó tükörnek nem szabad 0,20 m-nél jobban a traktornak vagy a traktor-pótkocsi szerelvénynek a visszapillantó tükrök nélkül mért teljes szélességén túlnyúlnia.
3.5. A 3.3. és 3.4. pontban meghatározott feltételek teljesülése esetén a visszapillantó tükrök túlnyúlhatnak a traktor hivatalosan engedélyezett teljes szélességén.
4. Beállítás
4.1. A belső visszapillantó tükör elhelyezésének lehetővé kell tennie, hogy a tükröt a vezető vezetési helyzetéből be tudja állítani.
4.2. A vezetőnek vezetési helyének elhagyása nélkül be kell tudnia állítani a külső visszapillantó tükröt. A beállítás rögzítése azonban történhet kívülről is.
4.3. A 4.2. pont előírásai nem vonatkoznak az olyan külső visszapillantó tükrökre, amelyek elmozdításuk után automatikusan visszatérnek eredeti helyzetükbe, vagy amelyek szerszámok használata nélkül állíthatók vissza eredeti helyzetükbe.
5. II. osztályú visszapillantó tükrök látómezeje
5.1. A bal vagy a jobb oldali külső visszapillantó tükör látómezőjének olyannak kell lennie, hogy a járművezető hátrafelé a szemhatárig láthassa az útnak legalább azt az egy szintben lévő részét, amely a traktor vagy a traktorból és pótkocsijából álló szerelvény függőleges hosszirányú középsíkjával párhuzamos és teljes szélességének bal, illetve jobb szélső pontján átmenő síktól balra, illetve jobbra van.
5.2. A gyártók eldönthetik, hogy az 5.1. pontban vagy az ISO 5721-2: 2014 szabványban meghatározott követelményeket alkalmazzák.
X. MELLÉKLET
A járművezetőt tájékoztató rendszerekre vonatkozó követelmények
1. Fogalommeghatározások
"Virtuális terminálok": kijelzővel ellátott elektronikus fedélzeti információs rendszerek, amelyek tájékoztatják a vezetőt a jármű és rendszerei teljesítményéről, és amelyek révén a vezető egy érintőképernyő vagy egy billentyűzet segítségével nyomon követheti és vezérelheti a különböző funkciókat.
2. Követelmények
2.1. A járművezetőt tájékoztató rendszereket úgy kell megtervezni, hogy a szükséges információk leolvasása a lehető legkisebb mértékben vonja el a vezető figyelmét.
2.2. A digitális képernyőn nem nyelvi jelekkel megadott információknak meg kell felelniük az ISO 3767 szabvány 1. részében (1998 +A2:2012) és 2. részében (2008) meghatározott követelményeknek.
XI. MELLÉKLET
Világító, fényjelző berendezésekre és fényforrásaikra vonatkozó követelmények
1. A T vagy C kategóriájú járművekre felszerelt világító- és fényjelző berendezéseknek teljesíteniük kell az adott járművekre vonatkozó ENSZ-EGB-előírásokban meghatározott követelményeket az I. mellékletben leírtak szerint.
2. Az R kategóriájú járművekre felszerelt világító- és fényjelző berendezések izzószálas lámpáinak, gázkisüléses lámpáinak és LED-jeinek teljesíteniük kell a 37., a 99., illetve a 128. számú ENSZ-EGB-előírásban meghatározott, rájuk vonatkozó követelményeket az I. mellékletben leírtak szerint.
3. Az R vagy S kategóriájú járművekre felszerelt világító- és fényjelző berendezéseknek teljesíteniük kell az O kategóriájú járművekre vonatkozó ENSZ-EGB-előírásokban meghatározott követelményeket az I. mellékletben leírtak szerint.
XII. MELLÉKLET
Világítóberendezések beépítésére vonatkozó követelmények
1. Fogalommeghatározások
E mellékletben:
1.1. "keresztirányú sík" : a jármű hosszirányú középsíkjára merőleges függőleges sík;
1.2. "független lámpák" : külön átvilágított felülettel, külön fényforrással és külön lámpatesttel rendelkező lámpák;
1.3. "csoportosított lámpák" : külön átvilágított felülettel, külön fényforrással, de közös lámpatesttel rendelkező lámpák;
1.4. "egyesített lámpák" : külön átvilágított felülettel, de közös fényforrással és lámpatesttel rendelkező lámpák;
1.5. "összeépített lámpák" : külön fényforrással (vagy különböző feltételek mellett működő egyetlen fényforrással), közös vagy részben közös átvilágított felülettel és közös lámpatesttel rendelkező lámpák;
1.6. "változtatható helyzetű lámpák" : olyan, a járműre felszerelt lámpák, amelyek a járműhöz képest elmozdíthatók anélkül, hogy leválasztanák őket.
1.7. "távolsági (országúti) fényszóró" : a jármű előtt nagy távolságban az úttest megvilágítására szolgáló lámpa;
1.8. "tompított fényszóró" : olyan lámpa, amely úgy világítja meg az úttestet a jármű előtt, hogy a szembejövő járművek vezetőit és a közlekedés többi résztvevőjét nem vakítja el, illetve látásukat nem zavarja;
1.9. "elrejthető lámpa" : használaton kívül részben vagy teljesen elrejthető fényszóró. Ez elérhető mozgatható fedél, a fényszóró helyzetének megváltoztatása vagy más alkalmas berendezés segítségével. A "süllyeszthető" kifejezés különösen az olyan elrejthető lámpa leírására szolgál, amely helyzetének megváltoztatásával a karosszériába süllyeszthető;
1.10. "első ködlámpa" : olyan lámpa, amely az úttest megvilágítását javítja köd, hóesés, sűrű eső vagy porfelhők esetén;
1.11. "tolatólámpa" : olyan lámpa, amely megvilágítja az úttestet a jármű mögött, valamint felhívja a közlekedés többi résztvevőjének figyelmét arra, hogy a jármű tolat, vagy tolatni készül;
1.12. "irányjelző lámpa" : olyan lámpa, amely jelzi a közlekedés többi résztvevője számára, hogy a jármű vezetője meg akarja változtatni a jármű haladási irányát jobbra vagy balra fordulva;
1.13. "elakadásjelző lámpa" : a jármű minden irányjelző lámpájának egyidejű működtetését lehetővé tevő berendezés annak jelzésére, hogy a jármű a közlekedés többi résztvevője számára pillanatnyilag veszélyt jelent;
1.14. "féklámpa" : olyan lámpa, amely azt jelzi a jármű mögött közlekedők számára, hogy a jármű hosszirányú mozgását szándékosan lelassították;
1.15. "hátsó rendszámtáblát megvilágító lámpa" : a hátsó rendszámtáblának fenntartott hely megvilágítására használt berendezés, amely több optikai összetevőből is állhat;
1.16. "első helyzetjelző lámpa" : elölnézetből a jármű jelenlétét és szélességét jelző lámpa;
1.17. "hátsó helyzetjelző lámpa" : hátulnézetből a jármű jelenlétét és szélességét jelző lámpa;
1.18. "hátsó ködlámpa" : olyan lámpa, amely a járművet hátulról sűrű ködben láthatóbbá teszi;
1.19. "várakozást jelző lámpa" : olyan lámpa, amely felhívja a figyelmet egy álló jármű jelenlétére lakott területen belül. Ilyen esetben helyettesíti az első és hátsó helyzetjelző lámpát;
1.20. "méretjelző lámpa" : a jármű befoglaló szélességének legkülső pontján a tetejéhez a lehető legközelebb felszerelt lámpa, amelynek egyértelmű célja, hogy jelezze a jármű teljes szélességét. Egyes járművek esetében ez a jelzés a jármű első és hátsó helyzetjelző lámpáit kiegészítve a jármű kiterjedésére hívja fel a figyelmet;
1.21. "munkahely-megvilágító lámpa" : olyan berendezés, amely egy munkaterületet vagy munkafolyamatot világít meg;
1.22. "fényvisszaverő" :
a jármű jelenlétét a járműtől független fényforrás fényének visszaverésével a fényforrás közelében tartózkodó megfigyelő számára jelző berendezés. E melléklet alkalmazásában nem minősülnek fényvisszaverőnek a következők:
- fényvisszaverő rendszámtábla;
- azon egyéb táblák és fényvisszaverő jelzések, amelyeket valamely szerződő fél követelményei szerint egyes jármű-kategóriák vagy üzemmódok esetében kell alkalmazni.
1.23. "oldalsó helyzetjelző lámpa" : oldalról a jármű jelenlétét jelző lámpa;
1.24. "nappali menetjelző lámpa" : olyan, menetirányba néző lámpa, amely arra szolgál, hogy a haladó járművet nappal láthatóbbá tegye;
1.25. "kanyarodási lámpa" : olyan lámpa, amely kiegészítő megvilágítást ad a jármű elülső sarkához közel eső azon útszakaszra, amelynek irányába a jármű be fog fordulni;
1.26. "külső ajtóvilágítás" : kiegészítő megvilágítást biztosító lámpa, amely a járművezető vagy az utasok be- és kiszállásakor, illetve rakodás közben világít.
1.27. "manőverezőlámpa" : olyan lámpa, amely a jármű melletti terület kiegészítő megvilágítására szolgál a lassú manőverek megkönnyítése érdekében.
1.28. "adaptív fényszórórendszer" : olyan, az I. mellékletben leírtak szerinti, a 123. számú ENSZ-EGB-előírásnak megfelelő típusjóváhagyással rendelkező világítóberendezés, amely különféle fénysugarakat bocsát ki automatikusan alkalmazkodva a tompított és adott esetben az országúti fényszóró változó használati körülményeihez;
1.29. "világítóberendezés világító felülete" :
fényszórótükörrel ellátott országúti fényszóró, fényszórótükörrel ellátott tompított fényszóró és fényszórótükörrel ellátott első ködlámpa esetében a fényszórótükör teljes apertúrájának, illetve elliptikus tükörrel rendelkező fényszórók esetében a vetítőlencse teljes apertúrájának a keresztirányú síkba eső ortogonális vetülete. Ha a lámpa fénykibocsátó felülete a fényszórótükör teljes apertúrájának csak egy részét fedi, csupán e rész vetületét kell számításba venni.
Tompított fényszóró esetében a világító felületet a világos-sötét határvonal lencsére vetülő látható vonala határolja. Amennyiben a fényszórótükör és az üveg egymáshoz viszonyítva állítható, a közepes beállítást kell alkalmazni;
1.30. "világító felület" :
a lámpa vonatkoztatási tengelyére merőleges és a külső fénykibocsátó felületét érintő síkra vetített ortogonális vetület; e vetületet az e síkban fekvő ernyők széleinek burkolata határolja, és ezek mindegyike a teljes fénymennyiségnek csupán 98 %-át engedi át a vonatkoztatási tengely irányában fényszórótükör nélküli hátsó helyzetjelző lámpák, várakozást jelző lámpák és országúti fényszórók, tompított fényszórók és első ködlámpák esetében.
Olyan fényjelző berendezések esetében, amelyek világító felülete vagy teljesen, vagy részben más funkció világító felületét is vagy egy nem világító felületet is magában foglal, a világító felületet magát lehet fénykibocsátó felületnek tekinteni;
1.31. fényvisszaverő, jelzőpanel vagy jelzőfólia "világító felülete" : ahogyan a kérelmező a fényvisszaverő alkatrész-jóváhagyási eljárása során megadta, a fényvisszaverő ortogonális vetülete a vonatkoztatási tengelyére merőleges síkban, amelyet a fényvisszaverők optikai rendszerének legszélső részeit érintő, a vonatkoztatási tengellyel párhuzamos síkok határolnak. A berendezés alsó, felső és oldalsó éleinek meghatározásához csak a vízszintes és a függőleges síkokat kell figyelembe venni;
1.32. "külső fénykibocsátó felület" : az átlátszó lencse külső felületének azon része, amely a világító vagy fényjelző berendezést borítja, és lehetővé teszi a fénykibocsátást;
1.33. "látható felület" : valamely meghatározott megfigyelési irányból vagy a világító felület határának ortogonális vetülete a lencse külső felületén, vagy a fénykibocsátó felület ortogonális vetülete a megfigyelési irányra merőleges síkban és érintőlegesen a lencse legszélső pontjára;
1.34. "vonatkoztatási tengely" : a fényjelzés jellemző tengelye, amelyet a lámpa gyártója határoz meg fénytani méréseknél a szögtartomány meghatározásához és a lámpa járműbe való beépítéséhez használandó vonatkoztatási irányként (H = 0°, V = 0°);
1.35. "vonatkoztatási középpont" : a vonatkoztatási tengely és a külső fénykibocsátó felület metszéspontja, amelyet a lámpa gyártója határoz meg;
1.36. "a geometriai láthatóság szögei" : azon minimális térszögtartományt meghatározó szögek, amelyekből a lámpa látható felületének észlelhetőnek kell lennie. E térszögtartományt azon gömbcikkek határozzák meg, amelyek középpontja egybeesik a lámpa vonatkoztatási középpontjával, és amelyek egyenlítője párhuzamos az útfelülettel. E gömbcikkeket a vonatkoztatási tengelyhez viszonyítva kell meghatározni. A β vízszintes szög a hosszúságnak, az α függőleges szög a szélességnek felel meg;
1.37. "befoglaló szélesség legkülső pontja" :
a jármű bármely oldalán a jármű hosszirányú középsíkjával párhuzamos síkban fekvő azon legszélső pont, amely a befoglaló szélességének külső pontjával egybeesik, nem tekintve a következő kiálló részeket:
(1) a gumiabroncsok a talajjal való érintkezési pont közelében és a gumiabroncsnyomás-mérők csatlakozói, továbbá a gumiabroncstöltő/-leengedő berendezések/csövek;
(2) a kerekekre felszerelhető csúszásgátlók;
(3) visszapillantó tükrök;
(4) oldalsó irányjelző lámpák, méretjelző lámpák, első és hátsó helyzetjelző lámpák, várakozást jelző lámpák és oldalsó helyzetjelző lámpák;
(5) a járműre erősített vámzárak és e vámzárak rögzítő és védő szerelvényei;
1.38. "teljes szélesség" : a befoglaló szélesség külső pontjának fenti meghatározása szerinti két függőleges sík közötti távolság;
1.39. "egyes lámpa" :
1.39.1. egy világító- vagy fényjelző funkciót ellátó berendezés vagy a berendezés egy része, amelynek egy vagy több fényforrása és a vonatkoztatási tengely irányában egy látható felülete van, amely lehet folytonos, illetve két vagy több külön részből összetett felület is; vagy
1.39.2. két ugyanolyan funkciójú, egyaránt "D" lámpatípusként jóváhagyott - azonos vagy nem azonos - független lámpából álló egység, amelyet úgy építettek be, hogy:
1.39.2.1. látható felületüknek a vonatkoztatási tengely irányába eső vetülete az említett látható felületek vonatkoztatási tengely irányába eső vetületeit körülvevő legkisebb négyszög legalább 60 %-át elfoglalja; vagy
1.39.2.2. a két szomszédos/érintő külön rész közötti távolság a vonatkoztatási tengelyre merőlegesen mérve ne haladja meg a 15 mm-t; vagy
1.39.3. két - azonos vagy nem azonos - független fényvisszaverőből álló egység, amelyek jóváhagyása egyenként történt, és amelyeket úgy építettek be, hogy:
1.39.3.1. látható felületüknek a vonatkoztatási tengely irányába eső vetülete az említett látható felületek vonatkoztatási tengely irányába eső vetületeit körülvevő legkisebb négyszög legalább 60 %-át elfoglalja; vagy
1.39.3.2. a két szomszédos/érintő külön rész közötti távolság a vonatkoztatási tengelyre merőlegesen mérve ne haladja meg a 15 mm-t;
1.40. "két lámpa" : szalag vagy sáv alakú, egyetlen fénykibocsátó felület, amennyiben ez a szalag vagy sáv a jármű hosszirányú középsíkjára szimmetrikusan, mindkét oldalon a jármű befoglaló szélességének legkülső pontjától legalább 0,4 m-en belül helyezkedik el, és legalább 0,8 m hosszú; e felület megvilágítását legalább két, a világítófelület széléhez a lehető legközelebb elhelyezkedő fényforrásnak kell biztosítania; a fénykibocsátó felület több egymás melletti elemből is állhat, ha az egyes fénykibocsátó felületek keresztirányú síkra eső vetületei az említett egyes fénykibocsátó felületek vetületeit körülvevő legkisebb négyszög területének legalább 60 %-át lefedik;
1.41. az azonos irányba néző "két lámpa közötti távolság" : az ortogonális vetületek közötti, a két világító felület vonatkozó körvonalának irányára merőleges síkban mért távolság;
1.42. "választható" : azt jelenti, hogy egy fényjelző berendezés beépítése a gyártó döntésére van bízva;
1.43. "működés-visszajelző" : olyan fény- vagy hangjelzés (vagy ezekkel egyenértékű egyéb jelzés), amely jelzi, hogy a berendezést bekapcsolták, illetve hogy az megfelelően működik-e;
1.44. "valamely berendezés által kibocsátott fény színe" : a kibocsátott fény 48. számú ENSZ-EGB-előírásban meghatározott színe az I. mellékletben leírtak szerint;
1.45. "láthatósági jelzés" : a jármű oldalról vagy hátulról (illetve pótkocsik esetében emellett elölről is) való láthatóságát a járműtől független fényforrás fényének visszaverésével a fényforrás közelében tartózkodó megfigyelő számára javító berendezés;
1.46. "bekapcsolás-visszajelző" : olyan visszajelző lámpa, amely a berendezés bekapcsolt állapotát jelzi, de azt nem, hogy a berendezés megfelelően működik-e;
1.47. "lassú járművekhez használható hátsó figyelmeztető tábla" : egy levágott sarkú háromszög alakú tábla, amely fényvisszaverő és fluoreszcens anyagokkal vagy eszközökkel (1. osztály), vagy csak fényvisszaverő anyagokkal vagy eszközökkel van borítva (2. osztály) (lásd pl. a 69. számú ENSZ-EGB-előírást az I. mellékletben leírtak szerint);
1.48. "pár" : a jármű bal, illetve jobb oldalán lévő, azonos funkciójú lámpák csoportja;
1.49. "H sík" : a lámpa vonatkoztatási középpontját tartalmazó vízszintes sík;
1.50. "világítófunkció" : a berendezés által a jármű mozgásának irányában lévő út és tárgyak megvilágítására kibocsátott fény;
1.51. "fényjelző funkció" : a berendezés által kibocsátott vagy visszavert olyan fény, amely a közlekedés többi résztvevőjének vizuális jeleket ad a jármű jelenlétéről, azonosításáról és/vagy mozgásának változásáról;
1.52. "fényforrás" :
látható sugárzás kibocsátására szolgáló egy vagy több alkatrész, amely egy vagy több átlátszó burkolattal és egy, a mechanikai és elektromos kapcsolatot biztosító alappal alkothat egységet.
A fényforrást egy fényvezető külső kilépő része is alkothatja, amennyiben az beépített külső lencsével nem rendelkező, osztott világító- vagy fényjelző rendszer részét képezi;
1.53. "fénykibocsátó felület" : a világítóberendezés, a fényjelző berendezés vagy a fényvisszaverő felülete, a berendezés gyártója által a jóváhagyási kérelemhez csatolt rajzon közölt módon.
2. EU-típusjóváhagyási vizsgálati eljárások
Az EU-típusjóváhagyási kérelemhez három példányban csatolni kell a 2.1-2.4. pontban említett dokumentumokat, amelyeknek a következőket kell tartalmazniuk:
2.1. A járműtípus leírása a jármű méretei és külső formája, valamint a világító- és fényjelző berendezések száma és elhelyezkedése szempontjából; a járműtípust megfelelően azonosítani kell.
2.2. Azon berendezések jegyzéke, amelyek a gyártó szerint együttesen a világító- és fényjelző rendszert alkotják; a jegyzék minden egyes funkcióra több berendezéstípust is tartalmazhat; ezenkívül a jegyzék minden funkcióra tartalmazhatja a következő kiegészítő megjegyzést is: "vagy egyenértékű berendezések".
2.3. A teljes világító- és fényjelző berendezés ábrája, a különböző berendezések járművön való elhelyezkedésének bemutatásával.
2.4. Az egyes lámpáknak vagy világítóberendezéseknek, illetve a fényvisszaverőktől és fényvisszavetőktől eltérő jelzőlámpáknak a világító felületét mutató rajz vagy rajzok.
A világítóberendezések, fényjelző berendezések és fényvisszaverők világító felületét a következő feltételek valamelyike szerint kell megadni:
2.4.1. Ha a külső lencse felülete mintázott, a bejelentett fénykibocsátó felület teljes mértékben vagy részben meg kell, hogy egyezzen a külső lencse külső felületével.
2.4.2. Ha a külső lencse felülete nem mintázott, figyelmen kívül lehet hagyni, és a fénykibocsátó felület a rajzon megadottaknak kell, hogy megfeleljen.
2.5. A világító- és jelzőberendezéssel ellátott és a jóváhagyandó járműtípusra jellemző terheletlen járművet át kell adni a jóváhagyási vizsgálatok végrehajtását végző műszaki szolgálatnak.
3. Jóváhagyás
Az EU-típusjóváhagyási folyamat során benyújtandó, a 2.1-2.4. pontban említett dokumentumok mintái azonosak az (EU) 2015/504 végrehajtási rendelet I. mellékletében meghatározott mintákkal.
4. Jóváhagyási szám és jelölések
Az e rendeletben leírt követelmények szerint jóváhagyott minden egyes járművet az (EU) 2015/504 végrehajtási rendelet IV. mellékletében meghatározott mintának megfelelő jóváhagyási számmal és jelöléssel kell ellátni.
5. Általános előírások
5.1. A világító- és fényjelző berendezéseket úgy kell felszerelni, hogy a rendeltetésszerű használat feltételei mellett elviseljék azokat a rázkódásokat, amelyeknek adott esetben ki lehetnek téve, megőrizzék az 5.2-5.21. és 6. pontban, valamint az 1., 2. és 3. függelékben meghatározott jellemzőiket, és lehetővé tegyék, hogy a jármű teljesítse az 5.2., 5.4., 5.5., 5.7., 5.9., 5.10.1., 5.11.1., 5.11.2., 5.11.3.2., 5.17.1.1., 5.18.3. és 6. pontban meghatározott követelményeket. Különösen fontos, hogy a lámpák beállítása szándékolatlanul ne változhasson meg.
5.2. A járműveket az ISO 1724:2003 szabványban (Elektromos csatlakozások 6 vagy 12 V-os elektromos rendszerű járművekhez, pontosabban magán személygépkocsikhoz, könnyű pótkocsikhoz vagy lakókocsikhoz), az ISO 1185:2003 szabványban (Elektromos csatlakozások 24 voltos elektromos rendszerű, határokon átnyúló árufuvarozásra használt vontató és vontatott járművekhez) vagy mindkettőben meghatározott állandóan bekötött dugaszolóaljzattal kell ellátni, ha csatlakozási lehetőséggel rendelkeznek vontatott járművek vagy felszerelt munkagépek rögzítéséhez. Ezenkívül a járművek felszerelhetők az ISO 3732:2003 szabvány (Csatlakozások vontató és vontatott járművek elektromos csatlakoztatására - 7 pólusú 12 S típusú (kiegészítő) csatlakozó 12 V névleges tápfeszültségű járművek számára) szerinti 7 pólusú kiegészítő csatlakozóval is.
5.3. A világító távolsági fényszórókat, tompított fényszórókat és első ködlámpákat úgy kell beépíteni, hogy helyes beállításuk egyszerűen elvégezhető legyen.
5.4. Valamennyi fényjelző berendezés esetében a járműre történő felszerelést követően a lámpa vonatkoztatási tengelyének párhuzamosnak kell lennie a jármű úttesten való felfekvési síkjával; továbbá oldalsó fényvisszaverők és oldalsó helyzetjelző lámpák esetében merőlegesnek kell lennie a jármű hosszirányú középsíkjára, minden más fényjelző berendezés esetében pedig párhuzamosnak kell lennie az említett síkkal. Minden irányban ± 3° tűrés engedhető meg. Ha a gyártó a berendezés felszerelésére vonatkozóan külön utasításokat határozott meg, azokat is be kell tartani.
5.5. Külön utasítások hiányában a lámpák magasságának és beállításának ellenőrzése sík, vízszintes felületre helyezett terheletlen járművön történik.
5.6. Külön utasítások hiányában a párt alkotó lámpák(at):
5.6.1. a hosszirányú középsíkhoz képest szimmetrikusan kell elhelyezni;
5.6.2. egymáshoz viszonyított helyzetének a jármű hosszirányú középsíkjára is szimmetrikusnak kell lennie;
5.6.3. ugyanazon fénytani követelményeknek kell, hogy megfeleljenek; és
5.6.4. lényegében azonos fénytani tulajdonságokkal kell, hogy rendelkezzenek.
5.7. Az 5.6.1. és az 5.6.2. pontban foglalt követelményeket a lehetőségekhez mérten az aszimmetrikus külső formájú járműveknek is teljesíteniük kell. Ezek a követelmények akkor tekintendők teljesítettnek, ha a két lámpa hosszirányú középsíktól és a talajon lévő felfekvési síktól mért távolsága azonos.
5.8. Csoportosított, egyesített vagy összeépített lámpák
5.8.1. A lámpák csoportosíthatóak, egyesíthetőek vagy összeépíthetőek, feltéve, hogy megfelelnek a színre, helyzetre, beállításra, geometriai láthatóságra, elektromos kapcsolásra és adott esetben az egyéb követelményekre vonatkozó valamennyi előírásnak.
5.8.1.1. A lámpára vonatkozó fénytani és színtani követelményeknek akkor is teljesülniük kell, ha minden egyéb funkció, amellyel a lámpát csoportosították, egyesítették vagy összeépítették, ki van kapcsolva.
Ha azonban az első vagy hátsó helyzetjelző lámpa egy vagy több együttesen bekapcsolható egyéb funkcióval van összeépítve, minden egyes funkcióra vonatkozó színtani követelménynek teljesülnie kell, amikor az összeépített funkció(k) és az első, illetve a hátsó helyzetjelző lámpák be vannak kapcsolva.
5.8.1.2. A féklámpákat és az irányjelző lámpákat tilos összeépíteni.
5.8.1.3. Csoportosított féklámpák és irányjelző lámpák esetében a következő feltételeknek kell teljesülniük:
5.8.1.3.1. Azok a vízszintes vagy függőleges egyenesek, amelyek áthaladnak ezen funkciók látható felületeinek a vonatkoztatási tengelyre merőleges síkban található vetületén, nem metszhetnek kettőnél több olyan határvonalat, amely különböző színek szomszédos területeit választja el egymástól;
5.8.1.3.2. A vonatkoztatási tengely irányában húzódó látható felületeik, amelyek a fénykibocsátó felületek körvonala által határolt területeken alapulnak, nem fedhetik át egymást.
5.8.2. Amennyiben egy egyes lámpa látható felületét két vagy több különböző rész alkotja, akkor a következő követelményeknek kell teljesülniük:
5.8.2.1. Vagy a külső lencsék külső felületét érintő és a vonatkoztatási tengelyre merőleges síkon a külön részek vetülete teljes területének az említett vetületet körülvevő legkisebb négyszög legalább 60 %-át el kell foglalnia, vagy a két szomszédos/érintkező rész között a vonatkoztatási tengelyre merőlegesen mért távolság nem haladhatja meg a 15 mm-t. Ez a követelmény fényvisszaverőre nem vonatkozik;
5.8.2.2. Összefüggő lámpák esetében a két látható felület vonatkoztatási tengelyre merőlegesen mért távolsága a vonatkoztatási tengely irányában nem haladhatja meg a 75 mm-t.
5.9. A talaj feletti legnagyobb magasságot a vonatkoztatási tengely irányában a látható felület legmagasabb pontjától, a talaj feletti legkisebb magasságot pedig a látható felület legalacsonyabb pontjától kell mérni.
Ha a talaj feletti legnagyobb és legkisebb magasság egyértelműen kielégíti ennek az előírásnak a követelményeit, úgy egyik felület pontos széleit sem kell meghatározni.
A lámpákat úgy kell beszerelni, hogy a jármű megfeleljen a legnagyobb magasság tekintetében irányadó jogszabályoknak.
5.9.1. A geometriai láthatóság szögeinek csökkentése érdekében a lámpáknak a talajszint feletti magasság szerinti helyzetét a H síktól kell mérni.
5.9.2. Tompított fényszóró esetében a talaj feletti legkisebb magasságot az optikai rendszer (pl. fényszórótükör, lencse, vetítőlencse) valóságos fénykilépésének legalacsonyabb pontjától kell mérni, függetlenül annak felhasználásától.
5.9.3. A szélesség tekintetében az elhelyezkedést a teljes szélességre vonatkozóan a jármű hosszirányú középsíkjától legtávolabbi látható felület szélétől, valamint a lámpák közötti távolságra vonatkozóan a vonatkoztatási tengely irányában a látható felületek belső szélétől kell meghatározni.
Ha az elhelyezkedés a szélesség tekintetében egyértelműen megfelel e rendelet követelményeinek, úgy egyik felület pontos széleit sem kell meghatározni.
5.10. Külön utasítások hiányában a lámpa fénytani jellemzőit (pl. fényerősség, szín, látható felület stb.) a lámpa bekapcsolt állapotának időtartama alatt szándékosan változtatni nem szabad.
5.10.1. Az irányjelzőknek és a jármű elakadásjelző lámpájának villogó fényűnek kell lennie.
5.10.2. A lámpák fénytani jellemzői változhatnak a környezeti fény függvényében, a többi lámpa bekapcsolásának következtében, vagy ha a lámpát más világítófunkció ellátására használják, feltéve, hogy a fénytani jellemzők valamennyi változása megfelel az adott lámpára vonatkozó műszaki rendelkezéseknek.
5.11. A lámpák nem bocsáthatnak ki megtévesztésre alkalmas piros fényt előrefelé, valamint nem bocsáthatnak ki megtévesztésre alkalmas fehér fényt hátrafelé. A jármű belsejében felszerelt világítóberendezéseket nem kell figyelembe venni. Kétség esetén e követelmény teljesülését a következőképpen kell igazolni:
5.11.1. Piros fényű lámpa elölről való láthatóságát vizsgálva - a leghátsó piros oldalsó helyzetjelző lámpa kivételével - a piros fényű lámpa látható felületének nem szabad közvetlenül észlelhetőnek lennie olyan megfigyelő számára, aki az 1. függelék szerinti 1. zónában mozog;
5.11.2. Fehér fényű lámpa hátulról való láthatóságát vizsgálva - a tolatólámpa és a járműre felszerelt fehér láthatósági jelzések kivételével - a fehér lámpa látható felületének nem szabad közvetlenül észlelhetőnek lennie olyan megfigyelő számára, aki a jármű mögött 25 m-rel elhelyezkedő keresztirányú sík 2. zónájában mozog (lásd az 1. függeléket);
5.11.3. A megfigyelő szemszögéből az 1. és a 2. zónát a maguk síkjában a következők határolják:
5.11.3.1. Magasságban a talaj felett 1 m-re, illetve 2,2 m-re lévő két vízszintes sík;
5.11.3.2. Keresztirányban a jármű hosszirányú középsíkjától kifelé előre, illetve hátrafelé 15°-os szöget bezáró két olyan függőleges sík, amely áthalad a jármű teljes külső szélességét határoló és a jármű hosszirányú középsíkjával párhuzamos függőleges síkok érintkezési pontján vagy pontjain; amennyiben több érintkezési pont van, a legelső az első síknak, a leghátsó a hátsó síknak felel meg.
5.12. Az elektromos kapcsolást úgy kell kialakítani, hogy az első és a hátsó helyzetjelző lámpák, a méretjelző lámpák, ha vannak, az oldalsó helyzetjelző lámpák, ha vannak, valamint a hátsó rendszerszámtáblát megvilágító lámpa csak egyszerre legyenek be- és kikapcsolhatók.
Ez a feltétel nem érvényes:
5.12.1. Az első és hátsó helyzetjelző lámpák, valamint az említett lámpákkal egyesített vagy összeépített oldalsó helyzetjelző lámpák várakozást jelző lámpaként történő használatakor;
5.12.2. A lenti 5.13.1. pont szerint helyettesített funkciójú első helyzetjelző lámpákra.
5.13. Az elektromos kapcsolást úgy kell kialakítani, hogy a távolsági fényszórók, a tompított fényszórók, valamint az első ködlámpák csak akkor legyenek bekapcsolhatóak, ha az 5.12. pontban említett lámpák is bekapcsolt állapotban vannak. E követelmény nem érvényes azonban azokra az esetekre, amikor a távolsági fényszóró vagy a tompított fényszóró fényjelzése a tompított vagy távolsági fényszóró rövid időtartamú ismétlődő felvillantásából vagy a tompított és a távolsági fényszóró rövid időtartamú váltakozó felvillantásából áll.
5.13.1. Az első helyzetjelző lámpa funkciója a tompított fényszórókkal és/vagy a távolsági fényszórókkal és/vagy az első ködlámpákkal helyettesíthető, amennyiben:
5.13.1.1. Elektromos kapcsolásuk úgy van kialakítva, hogy az említett világítóberendezések bármelyikének meghibásodása esetén az első helyzetjelző lámpák automatikusan bekapcsolódnak; és
5.13.1.2. A helyettesítő lámpa/funkció a vonatkozó helyzetjelző lámpa tekintetében megfelel a 6.8.1-6.8.6. pontban meghatározott követelményeknek; és
5.13.1.3. A fenti 5.13.1.2. pontban meghatározott követelményeknek való megfelelést igazoló, megfelelő bizonyítékokat tartalmazza a helyettesítő funkciót ellátó lámpa vizsgálati jegyzőkönyve.
5.14. A bekapcsolás-visszajelzők feladatát a működés-visszajelzők is elláthatják.
5.15. A lámpák által kibocsátott fény ( 5 ) színe a következő lehet:
5.15.1. Távolsági fényszóró: fehér;
5.15.2. Tompított fényszóró: fehér;
5.15.3. Első ködlámpa: fehér vagy szelektív sárga;
5.15.4. Tolatólámpa: fehér;
5.15.5. Irányjelző lámpa: borostyánsárga;
5.15.6. Elakadásjelző lámpa: borostyánsárga;
5.15.7. Féklámpa: piros;
5.15.8. A hátsó rendszámtáblát megvilágító lámpa: fehér;
5.15.9. Első helyzetjelző lámpa: fehér;
5.15.10. Hátsó helyzetjelző lámpa: piros;
5.15.11. Hátsó ködlámpa: piros;
5.15.12. Várakozást jelző lámpa: elöl fehér, hátul piros, illetve ha egybeépítették az irányjelző lámpával vagy az oldalsó helyzetjelző lámpával, borostyánsárga;
5.15.13. Oldalsó helyzetjelző lámpa: borostyánsárga; de lehet piros is, ha a leghátsó oldalsó helyzetjelző lámpát csoportosították, egyesítették vagy összeépítették a hátsó helyzetjelző lámpával, a hátsó méretjelző lámpával, a hátsó ködlámpával vagy a féklámpával, vagy csoportosították a hátsó fényvisszaverővel, illetve fénykibocsátó felületük egy része közös.
5.15.14. Méretjelző lámpa: elöl fehér, hátul piros;
5.15.15. Nappali menetjelző lámpa: fehér;
5.15.16. Hátsó fényvisszaverő, nem háromszög alakú: piros;
5.15.17. Hátsó fényvisszaverő, háromszög alakú: piros;
5.15.18. Első fényvisszaverő, nem háromszög alakú: fehér vagy színtelen;
5.15.19. Oldalsó fényvisszaverő, nem háromszög alakú: borostyánsárga; de a leghátsó oldalsó fényvisszaverő piros is lehet, ha a hátsó helyzetjelző lámpával, a hátsó méretjelző lámpával, a hátsó ködlámpával, a féklámpával, a leghátsó piros, oldalsó helyzetjelző lámpával vagy a hátsó, nem háromszög alakú fényvisszaverővel csoportosították, vagy fénykibocsátó felületük egy része közös.
5.15.20. Kanyarodási lámpa: fehér;
5.15.21. Láthatósági jelzés: oldalt fehér vagy sárga; hátul piros vagy sárga;
5.15.22. Külső ajtóvilágítás: fehér;
5.15.23. Manőverezőlámpa: fehér.
5.16. Elrejthető lámpák
5.16.1. Tilos a lámpákat elrejteni, a távolsági és tompított fényszórók, valamint az első ködlámpák kivételével.
5.16.2. A fényszóróknak üzemi helyzetben kell maradniuk, ha az 5.16.2.1. pontban foglalt esemény önmagában vagy az 5.16.2.2. pontban leírtakkal együtt következik be.
5.16.2.1. A lámpát elrejtő berendezés működtetéséhez szükséges hajtóerő elmarad;
5.16.2.2. Nem szándékolt lekapcsolás, zavar, rövidzárlat vagy testzárlat az elektromos áramkörben, meghibásodás a hidraulikus vagy pneumatikus vezetékekben, bowdenhuzalokban, mágnestekercsekben vagy egyéb alkatrészekben, amelyek vezérlik, vagy továbbítják a lámpát elrejtő berendezés működtetéséhez szükséges energiát.
5.16.3. A lámpákat elrejtő készülék üzemzavara esetén a lámpáknak - amennyiben már használatban vannak - üzemi helyzetben kell maradniuk, vagy szerszámok használata nélkül üzemi helyzetbe mozdíthatónak kell lenniük.
5.16.4. Az energiával vezérelt világítóberendezéseket egyetlen vezérlőberendezés segítségével üzemi helyzetbe kell tudni állítani, és be kell tudni kapcsolni, annak kizárása nélkül, hogy az üzemi helyzetbe való állítás bekapcsolás nélkül is lehetséges legyen. Csoportosított távolsági és tompított fényszórók esetében azonban a fent említett vezérlőegységnek csak a tompított fényszórókat kell működtetnie.
5.16.5. Ki kell zárni annak a lehetőségét, hogy a vezetőülésből szándékosan le lehessen állítani a bekapcsolt fényszórók mozgását, mielőtt üzemi helyzetüket elérik. Ha fennáll annak a veszélye, hogy a közlekedés többi résztvevőjét elvakíthatja a fényszórók mozgása, ezeket csak végleges helyzetük elérését követően lehet bekapcsolni.
5.16.6. - 30 °C és + 50 °C közötti hőmérsékleten az elrejtési helyzetből az üzemi helyzetbe kapcsolt világítókészülékeknek a vezérlőegység működésbe lépésének pillanatától számítva három másodpercen belül el kell érnie nyitott helyzetét.
5.17. Változtatható helyzetű lámpák
5.17.1. Valamennyi lámpa elhelyezése változtatható, kivéve a távolsági fényszórót, a tompított fényszórót és legalább egy pár hátsó lámpát, amennyiben:
5.17.1.1. A lámpák helyzetük megváltoztatása után is a járművön maradnak;
5.17.1.2. A lámpák rögzíthetők a forgalom által megkövetelt helyzetben. A rögzítésnek automatikusnak kell lennie.
5.18. A geometriai láthatóságra vonatkozó általános rendelkezések
5.18.1. A geometriai láthatóság szögein belül nem lehet semmiféle olyan akadály, amely - végtelen távolságból szemlélve - gátolja a lámpa látható felületének bármely részéből a fény terjedését. Azokat az akadályokat azonban nem kell figyelembe venni, amelyeket már a lámpa jóváhagyásakor számba vettek.
5.18.2. Ha a lámpához közelebb végeznek méréseket, ugyanolyan pontosság eléréséhez a megfigyelési irányt párhuzamosan el kell tolni.
5.18.3. Ha a jármű valamely további része eltakarja a már beépített lámpa látható felületének valamely részét, igazolni kell, hogy a lámpa akadályok által el nem takart része megfelel a berendezés jóváhagyásához előírt fénytani értékeknek.
5.19. Lámpák száma
5.19.1. A járműre szerelt lámpák számának meg kell egyeznie az ebben az előírásban megadott egyedi követelményekben szereplő számokkal.
5.20. A tolatólámpák, elakadásjelző lámpák, hátsó helyzetjelző lámpák, hátsó ködlámpák, várakozást jelző lámpák, nappali menetjelző lámpák, távolsági fényszórók, tompított fényszórók, első ködlámpák, tolatólámpák és kanyarodási lámpák világító felületére vonatkozó általános rendelkezések, az utóbbi öt esetében fényszórótükör nélkül:
a világító felület alsó, felső és oldalsó határvonalának meghatározására csupán a vízszintes és a függőleges éllel rendelkező ernyőket kell figyelembe venni a jármű külső széleitől való távolság és a talaj feletti magasság meghatározásához.
Egyéb alkalmazás céljára, pl. két lámpa vagy funkció közötti távolság meghatározásához a világító felület kerületének alakját kell figyelembe venni. Az ernyőknek párhuzamosnak kell maradniuk, de más irányba állításuk megengedett.
5.21. A fényvisszaverők is lámpának tekintendők, így azok megfelelnek az e mellékletben meghatározott követelményeknek.
6. Egyedi követelmények
6.1. Távolsági fényszórók (az e rendelet I. mellékletében hivatkozott 1., 8., 20., 98., 112. és 113. ENSZ EGB- előírás)
6.1.1. Jelenlét: kötelező a 40 km/h-t meghaladó legnagyobb tervezési sebességű traktorok esetében. A többi traktor esetében választható. A távolsági fényszórók R és S kategóriájú járműveken való használata tilos. Az I. mellékletben hivatkozott 1. ENSZ EGB-előírásban előírt távolsági fényszórók használata csak az olyan traktorokon megengedett, amelyek legnagyobb tervezési sebessége nem haladja meg a 40 km/h-t. Az I. mellékletben hivatkozott 1., 8. és 20. ENSZ EGB-előírásban előírt távolsági fényszórók használata az új traktortípusokon csak 2020. december 31-éig, az új traktorokon pedig csak 2022. december 31-éig megengedett.
6.1.2. Darabszám: kettő vagy négy.
6.1.3. Elrendezés: nincsenek egyedi követelmények.
6.1.4. Elhelyezés:
6.1.4.1. Széltében: a világító felület külső élei semmi esetre sem lehetnek közelebb a járművek befoglaló szélességének legkülső pontjához, mint a tompított fényszóró világító felületének külső élei.
6.1.4.2. Magasságban: nincsenek egyedi követelmények.
6.1.4.3. Hosszában: a jármű elején. Ez a követelmény akkor tekinthető teljesítettnek, ha a kibocsátott fény sem közvetlenül, sem közvetve nem zavarja a jármű vezetőjét a visszapillantó tükrökön és/vagy a jármű egyéb fényvisszaverő felületein keresztül.
6.1.5. Geometriai láthatóság: a világító felület láthatóságát - beleértve az olyan területeken való láthatóságot, amelyek a megfigyelési irányból nem tűnnek megvilágítottnak - egy olyan csonka kúp alakú téren belül kell biztosítani, amelyet a világító felület kerületéből kiinduló, és a fényszóró vonatkoztatási tengelyével legalább 5°-os szöget bezáró alkotók határolnak.
6.1.6. Irány: előre.
Eltekintve a helyes beállítás fenntartását biztosító berendezésektől, ha két pár fényszóró van felszerelve, az egyik pár, amely csak távolsági fényszóróként működő fényszórókat foglal magában, egy, a függőlegeshez közeli tengely körül a kormányzással együtt elfordulhat.
6.1.7. Elektromos csatlakozások: a távolsági fényszórók bekapcsolása történhet egyidejűleg vagy párosával. A tompított fényszóró távolsági fényszóróra történő átkapcsolásakor legalább egy pár távolsági fényszórónak be kell kapcsolódnia. A távolsági fényszóró tompított fényszóróra való átkapcsolásakor valamennyi távolsági fényszórónak egyszerre kell kikapcsolódnia.
A tompított fényszórók a távolsági fényszórókkal egyidejűleg bekapcsolva maradhatnak.
6.1.8. Bekapcsolás-visszajelző: alkalmazása kötelező.
6.1.9. Egyéb előírások:
6.1.9.1. Az egyidejűleg bekapcsolható távolsági fényszórók együttes legnagyobb fényerőssége nem haladhatja meg a 430 000 cd értéket, amely a 100 referenciaértéknek felel meg.
6.1.9.2. Ezt a legnagyobb fényerősséget az egyes fényszórókon feltüntetett maximális egyedi referenciaértékek összege adja. Mindegyik "R" vagy "CR" jelű fényszórónak a "10" referenciaértéket kell adni.
6.2. Tompított fényszórók (az e rendelet I. mellékletében hivatkozott 1., 8., 20., 98., 112. és 113. ENSZ EGB- előírás)
6.2.1. Jelenlét: a traktorokat fel kell szerelni tompított fényszórókkal. A tompított fényszórók R és S kategóriájú járműveken való használata tilos. Az I. mellékletben hivatkozott 1. ENSZ EGB-előírásban előírt tompított fényszórók használata csak az olyan traktorokon megengedett, amelyek legnagyobb tervezési sebessége nem haladja meg a 40 km/h-t. Az I. mellékletben hivatkozott 1., 8. és 20. ENSZ EGB-előírásban előírt tompított fényszórók használata az új traktortípusokon csak 2020. december 31-éig, az új traktorokon pedig csak 2022. december 31-éig megengedett.
6.2.2. Darabszám: kettő (vagy négy - lásd a 6.2.4.2.4. pontot).
6.2.3. Elrendezés: nincsenek egyedi követelmények.
6.2.4. Elhelyezés:
6.2.4.1. Széltében: nincsenek egyedi követelmények.
6.2.4.2. Magasságban:
6.2.4.2.1. legalább 500 mm; ez az érték az 1 300 mm-t meg nem haladó legnagyobb szélességű járműveknél 350 mm-re csökkenthető;
6.2.4.2.2. legfeljebb 1 500 mm.
6.2.4.2.3. A fenti érték 2 500 m-re növelhető, ha a jármű alakja, szerkezete, kialakítása vagy üzemeltetési feltételei nem teszik lehetővé az 1 500 mm-es értéknek való megfelelést.
6.2.4.2.4. Az elöl hordozható berendezések felszerelésére kialakított járművek esetében a 6.2.4.2.1-6.2.4.2.3. pont követelményeinek megfelelően elhelyezett lámpákon kívül két tompított fényszóróról kell gondoskodni 4 000 mm-t meg nem haladó magasságban, amennyiben az elektromos kapcsolások úgy vannak kialakítva, hogy két pár tompított fényszóró nem kapcsolható fel egyszerre.
6.2.4.3. Hosszában: a jármű elejéhez a lehető legközelebb; a kibocsátott fény azonban semmilyen körülmények között, sem közvetlenül, sem közvetve nem zavarhatja a jármű vezetőjét a visszapillantó tükrökön és/vagy a jármű egyéb fényvisszaverő felületein keresztül.
6.2.5. Geometriai láthatóság
:
a geometriai láthatóság α és β szögei határozzák meg.
α = 15° felfelé és 10° lefelé,
β = 45° kifelé és 5° befelé.
E mezőn belül a lámpa lényegében teljes látható felületének észlelhetőnek kell lennie.
A fényszóró közelében lévő válaszfalak vagy más berendezések nem okozhatnak olyan másodlagos hatásokat, amelyek zavarhatják a közlekedés többi résztvevőjét.
6.2.6. Irány: előre.
6.2.6.1. Függőleges irány:
6.2.6.1.1. Ha a tompított fényszórók magassága 500 mm vagy annál nagyobb, valamint 1 500 mm vagy annál kisebb, lehetővé kell tenni a fénysugár süllyesztését 0,5-6 % között.
6.2.6.1.2. A tompított fényszórókat úgy kell beállítani, hogy a lámpától 15 m-re a megvilágított zónát a megvilágítatlantól elválasztó vízszintes vonal magassága fele akkora legyen, mint a lámpa középpontja és a talaj közti távolság.
6.2.6.2. Tompítottfényszóró-állító berendezés (választható)
6.2.6.2.1. A fényszóró-állító berendezés lehet automatikus vagy manuális működtetésű.
6.2.6.2.2. A folytonosan vagy szakaszosan kézileg működtethető berendezések olyan nyugalmi helyzettel kell rendelkezniük, amelyben a lámpák a szokásos állítócsavarok vagy hasonló berendezések segítségével visszaállíthatók a kezdeti dőlésszögre.
Előírás, hogy az ilyen kézileg állítható berendezéseket a vezetőülésből lehessen működtetni.
A folyamatosan állítható berendezéseket el kell látni a tompított fénynyaláb állítását megkövetelő terhelési állapotokat jelző vonatkoztatási jelekkel.
6.2.6.2.3. A tompított fény nem foglalhat el olyan helyzetet, amelyben a dőlésszög kisebb, mint amekkora az eredeti beállítással volt.
6.2.7. Elektromos csatlakozások: a tompított fényszóróra történő átkapcsoláskor a vezérlésnek egyidejűleg ki kell kapcsolnia minden távolsági fényszórót.
A tompított fényszórók a távolsági fényszórókkal egyidejűleg bekapcsolva maradhatnak.
Amennyiben kiegészítő pár tompított fényszóró van beszerelve (a 6.2.2. pont szerint), az elektromos kapcsolást úgy kell kialakítani, hogy a két pár tompított fényszóró sohase legyen egyszerre felkapcsolható.
6.2.8. Bekapcsolás-visszajelző: választható.
6.2.9. Egyéb követelmények: a fő tompított fényt (a 48. számú ENSZ-EGB-előírás fogalommeghatározása alapján, az I. mellékletben leírtak szerint) kibocsátó, 2 000 lument meghaladó objektív fényáramú fényforrással rendelkező tompított fényszórók nem megengedettek.
6.3. Első ködlámpák (19. számú ENSZ-EGB-előírás, az I. mellékletben leírtak szerint)
6.3.1. Jelenlét: traktorokon választható. R és S kategóriájú járműveken nem megengedett.
6.3.2. Darabszám: kettő.
6.3.3. Elrendezés: nincsenek egyedi követelmények.
6.3.4. Elhelyezés:
6.3.4.1. Széltében: nincsenek egyedi követelmények.
6.3.4.2. Magasságban: a talaj felett legalább 250 mm-re. A világító felületen egyetlen pont sem lehet magasabban, mint a tompított fényszóró világító felületén lévő legmagasabb pont.
6.3.4.3. Hosszában: a jármű elejéhez a lehető legközelebb; a kibocsátott fény azonban semmilyen körülmények között, sem közvetlenül, sem közvetve nem zavarhatja a jármű vezetőjét a visszapillantó tükrökön és/vagy a jármű egyéb fényvisszaverő felületein keresztül.
6.3.5. Geometriai láthatóság
:
a geometriai láthatóság α és β szögei határozzák meg.
α = 5° felfelé és lefelé;
β = 45° kifelé és 5° befelé.
6.3.6. Irány: Előre.
Úgy kell előrefelé irányulnia, hogy a szembejövő járművek vezetőit és a közlekedés többi résztvevőjét ne vakítsa el, illetve látásukat ne zavarja.
6.3.7. Elektromos csatlakozások: a ködlámpáknak a távolsági fényszórótól és a tompított fényszóróktól függetlenül ki- és bekapcsolhatónak kell lenniük, és fordítva.
6.3.8. Bekapcsolás-visszajelző: választható.
6.4. Tolatólámpák (23. számú ENSZ-EGB-előírás, az I. mellékletben leírtak szerint)
6.4.1. Jelenlét: választható.
6.4.2. Darabszám: egy vagy kettő.
6.4.3. Elrendezés: nincsenek egyedi követelmények.
6.4.4. Elhelyezés:
6.4.4.1. Széltében: nincsenek egyedi követelmények.
6.4.4.2. Magasságban: a talaj felett legalább 250 mm-re, de legfeljebb 1 200 mm-re.
Ha azonban a jármű alakja, szerkezete, kialakítása vagy üzemeltetési feltételei nem teszik lehetővé az 1 200 mm-es legnagyobb érték betartását, a magasság legfeljebb 4 000 mm-re megnövelhető.
Az utóbbi esetben a lámpát legalább 3°-os szögben lefelé kell dönteni legalább 2 000 mm-es és legfeljebb 3 000 mm-es beépítési magasság esetén, illetve legalább 6°-os szögben legalább 3 000 mm-es és legfeljebb 4 000 mm-es beépítési magasság esetén.
2 000 mm-es beépítési magasságig nincs szükség a lámpa megdöntésére.
6.4.4.3. Hosszában: a jármű hátulján.
6.4.5. Geometriai láthatóság
:
a geometriai láthatóság α és β szögei határozzák meg.
α = 15° felfelé és 5° lefelé;
β = 45° jobbra és balra, ha csak egy lámpa van;
β = 45° kifelé és 30° befelé, ha két lámpa van.
6.4.6. Irány: Hátrafelé.
6.4.7. Elektromos csatlakozások: a lámpa csak akkor gyulladhat fel és maradhat bekapcsolva, ha a jármű hátramenetben van, és:
- vagy jár a motor,
- vagy a motor indítását vagy leállítását vezérlő készülékek valamelyike olyan helyzetben van, amely a motor működtetését lehetővé teszi.
6.4.8. Visszajelző lámpa: választható.
6.5. Irányjelző lámpák (6. számú ENSZ-EGB-előírás, az I. mellékletben leírtak szerint)
6.5.1. Jelenlét: a traktorokat és az R és S kategóriájú járműveket fel kell szerelni irányjelző lámpákkal. Az irányjelző lámpák típusait kategóriákba sorolták (1., 1a., 1b., 2a., 2b. és 5.), amelyeknek valamely adott traktorra történő felszerelése egy meghatározott elrendezést ("A"-"D") alkot.
Az "A" elrendezés csak olyan traktorokon megengedett, ahol a teljes hosszúság nem haladja meg a 4,60 m-t, valamint akkor, ha a világító felületek külső élei közti távolság nem nagyobb, mint 1,6 m.
A "B", "C" és "D" elrendezések valamennyi traktorra alkalmazhatók.
Pótkocsikon és vontatott munkagépeken 2. kategóriájú lámpákat kell használni.
A járművek felszerelhetők kiegészítő irányjelző lámpákkal.
6.5.2. Darabszám: a berendezések száma annyi legyen, hogy jelzéseik megfeleljenek a 6.5.3. pontban leírt elrendezések egyikének.
6.5.3. Elrendezés: az irányjelző lámpák száma, helyzete és vízszintes láthatósága lehetővé kell, hogy tegye olyan fényjelzések adását, amelyek a lent meghatározott elrendezések legalább egyikének megfelelnek (lásd a 2. függeléket is). Az ábrákon a láthatósági szögeket satírozással jelöltük; a bemutatott szögek minimumértékek, amelyek túllépése megengedett; valamennyi láthatósági szöget a világító felület közepétől mértünk.
6.5.3.1. A Két első irányjelző lámpa (1., 1a. vagy 1b. kategória),
Két hátsó irányjelző lámpa (2a. kategória).
A lámpák lehetnek függetlenek, csoportosítottak vagy egyesítettek.
B Két első irányjelző lámpa (1., 1a. vagy 1b. kategória),
Két ismétlő oldalsó irányjelző lámpa (5. kategória),
Két hátsó irányjelző lámpa (2a. kategória).
Az első és a kiegészítő oldalsó lámpák lehetnek függetlenek, csoportosítottak vagy egyesítettek.
C Két első irányjelző lámpa (1., 1a. vagy 1b. kategória),
Két hátsó irányjelző lámpa (2a. kategória),
Két ismétlő oldalsó irányjelző lámpa (5. kategória)
D Két első irányjelző lámpa (1., 1a. vagy 1b. kategória),
Két hátsó irányjelző lámpa (2a. kategória).
6.5.3.2. Pótkocsikon és vontatott munkagépeken:
Két hátsó irányjelző lámpa (2. kategória).
6.5.4. Elhelyezés:
6.5.4.1. Széltében: a "C" elrendezésbe tartozó, 1. kategóriájú irányjelző lámpák és kiegészítő irányjelző lámpák esetétől eltekintve a világító felületnek az a széle, amelyik a legtávolabb van a jármű hosszirányú középsíkjától, nem lehet 400 mm-nél távolabb a jármű befoglaló szélességének legkülső pontjától. A lámpapár két világító felületének belső szélei közötti távolság legalább 500 mm kell, hogy legyen.
Ahol a hátsó irányjelző lámpa és a megfelelő hátsó helyzetjelző lámpa közötti függőleges távolság nem több mint 300 mm, ott a jármű legkülső széle és a hátsó irányjelző lámpa külső széle közötti távolság nem haladhatja meg 50 mm-nél nagyobb mértékben a jármű befoglaló szélességének legkülső pontja és a megfelelő hátsó helyzetjelző lámpa legkülső éle közti távolságot.
Az első irányjelző lámpák világító felülete nem lehet 40 mm-nél kisebb távolságra a tompított fényszórók vagy a ködfényszórók - ha vannak ilyenek - világító felületétől.
Kisebb távolság is megengedett akkor, ha az irányjelző lámpák referenciatengelyében a világítás fényerőssége legalább 400 cd.
6.5.4.2. Magasságban: a talaj felett legalább 400 mm-re, de legfeljebb 2 500 mm-re, illetve 4 000 mm-ig kiegészítő irányjelző lámpák esetében.
1 300 mm-t meg nem haladó szélességű járművek esetében a talaj felett legalább 350 mm-re.
6.5.4.3. Hosszában: a távolság az 1. kategóriájú irányjelző lámpa ("B" elrendezés), 5. kategóriájú irányjelző lámpa ("B" és "C" elrendezés) világító felületének vonatkoztatási középpontja és a között az összekötő sík között, amely a traktor teljes hosszának az elejét határolja, nem haladhatja meg az 1 800 mm-t. Ha a traktor kialakítása nem teszi lehetővé a láthatóság minimális szögeinek betartását, akkor e távolság 2 600 mm-ig növelhető.
6.5.5. Geometriai láthatóság
:
vízszintes szögek : lásd a 2. függeléket.
függőleges szögek : 15° a vízszintes alatt és felett.
A függőleges szög a vízszintes alatt 10°-ig csökkenthető a ismétlő oldalsó irányjelző lámpák "B" és "C" elrendezése esetében, ha a magasságuk kisebb, mint 1 900 mm. Ugyanez vonatkozik az 1. kategóriájú "B" és "D" elrendezésű irányjelző lámpákra.
6.5.6. Irány: ha a gyártó külön előírásokat határozott meg, akkor azokat kell figyelembe venni.
6.5.7. Elektromos csatlakozások: az irányjelzőknek a többi lámpától függetlenül bekapcsolhatónak kell lenniük. A jármű azonos oldalán lévő összes irányjelzőt ugyanazon vezérlőegységnek kell be- és kikapcsolnia; és szinkronban kell villogniuk.
6.5.8. Működés-visszajelző: a traktorokat minden, a járművezető számára közvetlenül nem látható irányjelző lámpához fel kell szerelni működés-visszajelzővel. Ez működhet fény- vagy hangjelzéssel, vagy mindkettővel:
Ha fényjelzéssel működik, akkor olyan villogó zöld fénye legyen, amely valamely irányjelző lámpa meghibásodása esetén - az ismétlő oldalsó irányjelző lámpák kivételével - kialszik, vagy folyamatosan, villogás nélkül ég, vagy határozottan eltérő ütemben jelez.
Ha csak hangjelzést ad, annak jól hallhatónak kell lennie, és jelentős frekvenciaváltozást kell mutatnia meghibásodás esetén.
Ha valamely traktor pótkocsi vontatására alkalmas, akkor különleges fényjelzéses működés-visszajelzővel kell ellátni a pótkocsi irányjelző lámpájának visszajelzéséhez, kivéve, ha a vontató jármű működés-visszajelzője a járműszerelvény bármely irányjelző lámpájának meghibásodását jelzi.
6.5.9. Egyéb előírások: a fény villogó fény legyen, percenként 90 ± 30 felvillanással. A fényjelző vezérlésének működésbe lépését legfeljebb egy másodpercen belül kövesse a fény felvillanása és legfeljebb másfél másodpercen belül az első kialvása.
Ha pótkocsi vontatása engedélyezett, a traktoron lévő irányjelző lámpák vezérlésének működtetnie kell a pótkocsi irányjelző lámpáját is.
Valamely irányjelző lámpa meghibásodása esetén (a rövidzárlat kivételével) a többi irányjelzőnek tovább kell villognia, azonban a villogás frekvenciája ez esetben eltérhet az megadottól.
6.6. Elakadásjelző lámpa
6.6.1. Jelenlét: traktorokon, valamint R és S kategóriájú járműveken kötelező.
6.6.2. Darabszám
6.6.3. Elrendezés
6.6.4. Elhelyezés
6.6.4.1. Széltében
6.6.4.2. Magasságban
6.6.4.3. Hosszában
6.6.5. Geometriai láthatóság
6.6.6. Irány A 6.5. pont megfelelő alpontjai szerint.
6.6.7. Elektromos csatlakozások: a jelet külön kapcsolóval kell be- és kikapcsolni, melynek hatására az irányjelző lámpáknak szinkronban kell működniük.
6.6.8. Bekapcsolás-visszajelző: alkalmazása kötelező. Villogó figyelmeztető fény, amely a 6.5.8. pontban meghatározott visszajelzővel vagy visszajelzőkkel együtt is működhet.
6.6.9. Egyéb előírások: a 6.5.9. pontnak megfelelően. Ha egy traktor pótkocsi vontatására alkalmas, az elakadásjelző lámpa kapcsolójának a pótkocsi irányjelző lámpáinak működtetésére is alkalmasnak kell lennie. Az elakadásjelző lámpának akkor is működőképesnek kell lennie, ha a motort beindító, illetve leállító berendezés olyan helyzetben van, amely kizárja a motor elindítását.
6.7. Féklámpák (7. számú ENSZ-EGB-előírás, az I. mellékletben leírtak szerint)
6.7.1. Jelenlét:
S1 vagy S2 kategóriájú berendezések a 7. számú ENSZ-EGB-előírás szerint: a traktorokat és az R és S kategóriájú járműveket fel kell szerelni féklámpákkal.
S3 vagy S4 kategóriájú berendezések a 7. számú ENSZ-EGB-előírás szerint: a traktorok és az R és S kategóriájú járművek felszerelhetők féklámpákkal.
6.7.2. Darabszám: két S1 vagy S2 és egy S3 vagy S4 kategóriájú berendezés.
6.7.2.1. A járművekre két választható, S1 vagy S2 kategóriájú berendezést lehet felszerelni, kivéve, amikor S3 vagy S4 kategóriájú berendezés van felszerelve.
6.7.2.2. Ha a jármű hosszirányú középsíkja nem rögzített felépítményelemen helyezkedik el, hanem egy vagy két mozgatható járműelemet választ el egymástól (pl. ajtókat), és nincsen elegendő hely egy S3 vagy S4 kategóriájú berendezés beépítésére sem a hosszirányú középsíkon az ilyen mozgatható elemek felett, akkor:
- két S3 vagy S4 kategóriájú "D" típusú berendezés építhető be, vagy
- egy S3 vagy S4 kategóriájú berendezés építhető be a hosszirányú középsíktól jobbra vagy balra eltolva.
6.7.3. Elrendezés: nincsenek egyedi követelmények.
6.7.4. Elhelyezés:
6.7.4.1. Széltében:
S1 vagy S2 kategória : a vonatkoztatási tengely irányában a látható felületek belső szélei közötti távolság legalább 500 mm kell, hogy legyen. A távolság 400 mm-re csökkenthető, amennyiben a jármű teljes szélessége 1 400 mm-nél kisebb.
S3 vagy S4 kategória : S3 vagy S4 kategóriájú berendezések esetén a vonatkoztatási középpontnak a jármű hosszirányú középsíkjába kell esnie. Ha azonban - a 6.7.2. pontnak megfelelően - két S3 vagy S4 kategóriájú berendezés van felszerelve, e berendezéseknek a hosszirányú középsík két oldalán a síkhoz a lehető legközelebb kell elhelyezkedniük.
Amennyiben a 6.7.2. pont szerint megengedett az S3 vagy S4 kategóriájú lámpának a hosszirányú középsíkhoz képest eltolva történő beépítése, akkor ez az eltolás a hosszirányú középsík és a lámpa vonatkoztatási középpontja között nem haladhatja meg a 150 mm-t.
6.7.4.2. Magasságban:
S1 vagy S2 kategória : a talaj felett legalább 400 mm-re, de legfeljebb 2 500 mm-re, illetve választható féklámpák esetében e távolság legfeljebb 4 000 mm lehet.
S3 vagy S4 kategória : a kötelező féklámpák felett és az S3 vagy S4 kategóriájú berendezés látható felületét alulról érintő vízszintes síkban és az S1 vagy S2 kategóriájú berendezések látható felülete felső szélét érintő vízszintes sík felett.
A járművek felszerelhetők két S1 vagy S2 kategóriájú kiegészítő berendezéssel:
a talaj felett legalább 400 mm-re, de legfeljebb 4 000 mm-re.
6.7.4.3. Hosszában:
S1 vagy S2 kategóriák : a jármű hátsó részén.
S3 vagy S4 kategória : nincsenek egyedi követelmények.
6.7.5. Geometriai láthatóság
:
vízszintes szög : 45° kifelé és befelé.
függőleges szög : 15° a vízszintes alatt és felett.
A függőleges szög a vízszintes alatt 10°-ig vagy 5°-ig csökkenthető, ha a lámpa H síkja a talajtól számítva legfeljebb 1 900 mm-re, illetve 950 mm-re helyezkedik el.
6.7.6. Irány: a jármű hátsó része felé.
6.7.7. Elektromos csatlakozások: be kell kapcsolódniuk, ha az üzemi féket működtetik, és/vagy ha a jármű sebességét szándékosan csökkentik.
6.7.8. Működés-visszajelző: a járművek felszerelhetők féklámpa-visszajelző lámpával. Ha ilyet felszerelnek, annak a féklámpák meghibásodása esetén nem villogó figyelmeztető fényjelzést kell kiadnia.
6.7.9. Egyéb előírások: a féklámpák fényerősségének kifejezetten nagyobbnak kell lennie, mint a hátsó helyzetjelző lámpáké.
6.8. Első helyzetjelző lámpák (7. számú ENSZ-EGB-előírás, az I. mellékletben leírtak szerint)
6.8.1. Jelenlét: traktorokon kötelező. 1,6 m-t meghaladó szélességű és 40 km/h-nál nagyobb legnagyobb tervezési sebességű R és S kategóriájú járműveken kötelező.
6.8.2. Darabszám: kettő vagy négy (lásd a 6.8.4.2. pontot).
6.8.3. Elrendezés: nincsenek egyedi követelmények
6.8.4. Elhelyezés:
6.8.4.1. Széltében: a világító felületnek a jármű hosszirányú középsíkjától legtávolabb eső pontja legfeljebb 400 mm-re lehet a jármű befoglaló szélességének legkülső pontjától. A két világító felület megfelelő belső szélei közötti távolság legalább 500 mm kell, hogy legyen.
6.8.4.2. Magasságban: a talaj felett legalább 400 mm-re, de legfeljebb 2 500 mm-re
Az elülső részükön az első helyzetjelző lámpákat esetlegesen eltakaró, hordozható berendezések felszerelésére kialakított járművek esetében két kiegészítő első helyzetjelző lámpa szerelhető fel legfeljebb 4 000 mm magasságban.
6.8.4.3. Hosszában: nincsenek külön előírások feltéve, hogy a lámpák előre irányulnak, és geometriai láthatóságuk szöge megfelel a 6.8.5. pontban leírtaknak.
6.8.5. Geometriai láthatóság
:
Vízszintes szög : a két első helyzetjelző lámpa esetében: 10° befelé és 80° kifelé. A 10°-os szög befelé 5°-ra csökkenthető, ha a felépítmény kialakítása nem teszi lehetővé a 10°-os szög betartását. Az 1 400 mm-es teljes szélességet meg nem haladó járművek esetében ez a szög 3°-ra csökkenthető, ha a felépítmény kialakítása nem teszi lehetővé a 10°-os szög betartását.
Függőleges szög : 15° a vízszintes alatt és felett. A vízszintes alatti függőleges szög 10°-ra csökkenthető, ha a lámpa talajtól számított magassága kevesebb, mint 1 900 mm, illetve 5°-ra, ha ez a magasság kevesebb, mint 750 mm.
6.8.6. Irány: előre.
6.8.7. Elektromos csatlakozások: nincsenek egyedi követelmények (lásd az 5.12. pontot).
6.8.8. Visszajelző lámpa: alkalmazása kötelező. Ez a visszajelző lámpa nem lehet villogó fényű. A használata nem kötelező, ha a műszerfal világítása csak az első helyzetjelző lámpákkal együtt kapcsolható be.
6.9. Hátsó helyzetjelző lámpák (7. számú ENSZ-EGB-előírás, az I. mellékletben leírtak szerint)
6.9.1. Jelenlét: traktorokon, valamint R és S kategóriájú járműveken kötelező.
6.9.2. Darabszám: kettő vagy több (lásd a 6.9.4.3. és 6.9.5.1. pontot).
6.9.3. Elrendezés: nincsenek egyedi követelmények. Ha a 6.9.5.1. pont szerint négy hátsó helyzetjelző lámpa van felszerelve, legalább egy pár hátsó helyzetjelző lámpának rögzítettnek kell lennie.
6.9.4. Elhelyezés:
6.9.4.1. Széltében: a 6.9.5.1. pontban leírt eset kivételével a világító felületnek a jármű hosszirányú középsíkjától legtávolabb eső pontja legfeljebb 400 mm-re lehet a jármű befoglaló szélességének legkülső pontjától.
A két világító felület belső élei közti távolság legalább 500 mm kell, hogy legyen. A távolság 400 mm-re csökkenthető, amennyiben a jármű teljes szélessége 1 400 mm-nél kisebb.
6.9.4.2. Magasságban: a 6.9.5.1. pontban leírt eset kivételével a talaj felett legalább 400 mm-re, de legfeljebb 2 500 mm-re.
1 300 mm-t meg nem haladó szélességű járművek esetében a talaj felett legalább 250 mm-re.
6.9.4.3. Hosszában: a jármű hátsó részén. Legfeljebb 1 000 mm-re a jármű leghátsó pontjától.
A jármű azon részeit, amelyek több mint 1 000 mm-rel túlnyúlnak a hátsó helyzetjelző lámpák világító felületének a leghátsó pontján, egy kiegészítő hátsó helyzetjelző lámpával kell felszerelni.
6.9.5. Geometriai láthatóság
:
Vízszintes szög : a két hátsó helyzetjelző lámpa esetében 45° befelé és 80° kifelé vagy 80° befelé és 45° kifelé.
Függőleges szög : 15° a vízszintes alatt és felett. A vízszintes alatti szög 10°-ra csökkenthető, ha a lámpa talajtól számított magassága kevesebb, mint 1 900 mm, illetve 5°-ra, ha ez a magasság kevesebb, mint 750 mm.
6.9.5.1. Ha a fenti elhelyezési és láthatósági követelmények betartása nem lehetséges, a következő beszerelési előírások szerint négy hátsó helyzetjelző lámpa szerelhető fel:
6.9.5.1.1. Két hátsó helyzetjelző lámpa esetében tartani kell a talajtól számított legfeljebb 2 500 mm-es magasságot.
A hátsó helyzetjelző lámpák belső szélei között legalább 300 mm távolságot kell tartani, és azok vízszintes feletti függőleges láthatósági szöge 15° kell, hogy legyen.
6.9.5.1.2. A két másik helyzetjelző lámpa a talajtól számítva legfeljebb 4 000 mm-es magasságban lehet, és azokra a 6.9.4.1. pont követelményei vonatkoznak.
6.9.5.1.3. A két párnak együttesen teljesítenie kell a geometriai láthatóságra vonatkozóan a fenti 6.9.5. pontban leírt követelményeket.
6.9.6. Irány: hátra.
6.9.7. Elektromos csatlakozások: nincsenek egyedi követelmények.
6.9.8. Bekapcsolás-visszajelző: kötelező (lásd az 5.11. pontot). Az első helyzetjelző lámpa visszajelzőjével kell egyesíteni.
6.10. Hátsó ködlámpák (38. számú ENSZ-EGB-előírás, az I. mellékletben leírtak szerint)
6.10.1. Jelenlét: választható.
6.10.2. Darabszám: egy vagy kettő.
6.10.3. Elrendezés: úgy, hogy a geometriai láthatóság feltételeit teljesítse.
6.10.4. Elhelyezés:
6.10.4.1. Széltében: ha csak egyetlen hátsó ködlámpa van, annak helye a jármű hosszirányú középsíkjának azon az oldalán van, amely ellentétes a járművet nyilvántartó országban előírt közlekedési iránnyal. A hátsó ködlámpa és a féklámpa közötti távolság minden esetben 100 mm-nél nagyobb kell, hogy legyen.
6.10.4.2. Magasságban: a talaj felett legalább 400 mm és legfeljebb 1 900 mm, illetve legalább 2 500 mm, ha a jármű felépítményének kialakítása nem teszi lehetővé az 1 900 mm-es magasság betartását.
6.10.4.3. Hosszában: a jármű hátsó részén
6.10.5. Geometriai láthatóság
:
Vízszintes szög : 25° befelé és kifelé.
Függőleges szög : 5° a vízszintes alatt és felett.
6.10.6. Irány: hátra.
6.10.7. Elektromos csatlakozások: a hátsó ködlámpa csak akkor lehet bekapcsolható, ha a tompított fényszórók vagy az első ködlámpák közül egy vagy több bekapcsolt állapotban van.
Ha vannak első ködlámpák, a hátsó ködlámpáknak az első ködlámpáktól függetlenül kikapcsolhatónak kell lenniük.
6.10.8. Bekapcsolás-visszajelző: alkalmazása kötelező. Független, állandó fényerősségű figyelmeztető fény.
6.11. Várakozást jelző lámpák (77. vagy 7. számú ENSZ-EGB-előírás, az I. mellékletben leírtak szerint)
6.11.1. Jelenlét: a járművek felszerelhetők várakozást jelző lámpákkal.
6.11.2. Darabszám: elrendezéstől függően.
6.11.3. Elrendezés: vagy két első lámpa és két hátsó lámpa, vagy pedig egy-egy lámpa mindkét oldalon.
6.11.4. Elhelyezés:
6.11.4.1. Széltében: a világító felületnek a jármű hosszirányú középsíkjától legtávolabb eső pontja legfeljebb 400 mm-re lehet a jármű befoglaló szélességének legkülső pontjától. Ezenkívül egy-egy lámpapár esetében a lámpáknak a jármű oldalán kell lennie.
6.11.4.2. Magasságban: a talaj felett legalább 400 mm-re, de legfeljebb 2 500 mm-re.
6.11.4.3. Hosszában: nincsenek egyedi követelmények.
6.11.5. Geometriai láthatóság
:
Vízszintes szög : 45° kifelé, előrefelé és hátrafelé.
Függőleges szög : 15° a vízszintes alatt és felett. A vízszintes alatti függőleges szög 10°-ra csökkenthető, ha a lámpa talajtól számított magassága kevesebb, mint 1 500 mm, illetve 5°-ra, ha ez a magasság kevesebb, mint 750 mm.
6.11.6. Irány: olyannak kell lennie, hogy a lámpa megfeleljen az elölről és hátulról való láthatóságra vonatkozó követelményeknek.
6.11.7. Elektromos csatlakozások: a kapcsolásnak lehetővé kell tennie, hogy a jármű ugyanazon oldalán lévő várakozást jelző lámpa (lámpák) bekapcsolható(ak) legyen(ek) bármely másik lámpa bekapcsolása nélkül.
6.11.8. Visszajelző lámpa: a járművek felszerelhetők visszajelző lámpával a várakozást jelző lámpákhoz. Ha van ilyen, az nem lehet összetéveszthető a helyzetjelző lámpák visszajelzőjével.
6.11.9. Egyéb előírások: e lámpa funkciója a jármű egyik oldalán lévő első és hátsó helyzetjelző lámpák egyidejű bekapcsolásával is biztosítható.
6.12. Méretjelző lámpák (7. számú ENSZ-EGB-előírás, az I. mellékletben leírtak szerint)
6.12.1. Jelenlét: traktorokon, valamint 1,80 m-t meghaladó szélességű R és S kategóriájú járműveken választható. Minden egyéb járművön tilos.
6.12.2. Darabszám: kettő elölről és kettő hátulról látható.
6.12.3. Elrendezés: nincsenek egyedi követelmények.
6.12.4. Elhelyezés:
6.12.4.1. Széltében: a lehető legközelebb a jármű befoglaló szélességének legkülső pontjához.
6.12.4.2. Magasságban: a lehető legnagyobb magasságban, amely még összeegyeztethető a széltében való elhelyezésre vonatkozó követelményekkel és a lámpák szimmetriájával.
6.12.4.3. Hosszában: nincsenek egyedi követelmények.
6.12.5. Geometriai láthatóság
:
Vízszintes szög : 80° kifelé.
Függőleges szög : 5° a vízszintes felett és 20° a vízszintes alatt.
6.12.6. Irány: olyannak kell lennie, hogy a lámpa megfeleljen az elölről és hátulról való láthatóságra vonatkozó követelményeknek.
6.12.7. Elektromos csatlakozások: nincsenek egyedi követelmények.
6.12.8. Visszajelző lámpa: választható.
6.12.9. Egyéb előírások: amennyiben valamennyi egyéb feltétel teljesül, az elölről látható lámpák és a jármű ugyanazon oldalán hátulról látható lámpák egyetlen berendezésbe foglalhatók bele. A méretjelző lámpa helyzete a megfelelő helyzetjelző lámpához viszonyítva olyan kell, hogy legyen, hogy a kérdéses két lámpa világító felületeinek egymáshoz legközelebbi pontjainak a keresztirányú függőleges síkra eső vetületei közötti távolság legalább 200 mm legyen.
6.13. Munkahely-megvilágító lámpa (lámpák)
6.13.1. Jelenlét: választható.
Nincsenek egyedi követelmények a következő pontokhoz: 6.13.2., 6.13.3., 6.13.5. és 6.13.6.
6.13.2. Darabszám
6.13.3. Elrendezés
6.13.4. Elhelyezés: a munkahely-megvilágító lámpák házának és/vagy elhelyezésének olyannak kell lennie, hogy azok védettek legyenek a külső hatások ellen
6.13.5. Geometriai láthatóság
6.13.6. Irány
6.13.7. Elektromos csatlakozások: ezt a lámpát minden más lámpától függetlenül kell tudni működtetni, tekintettel arra, hogy nem az útfelület megvilágítására vagy jelzőberendezésként szolgál.
6.13.8. Visszajelző lámpa: alkalmazása kötelező.
6.13.9. Ez a lámpa nem egyesíthető vagy építhető össze más lámpákkal.
6.14. Nem háromszög alakú hátsó fényvisszaverők (3. számú ENSZ-EGB-előírás, az I. mellékletben leírtak szerint)
6.14.1. Jelenlét: T és C kategóriájú járműveken kötelező. R és S kategóriájú járműveken nem megengedett.
6.14.2. Darabszám: kettő vagy négy (lásd a 6.14.5.1. pontot).
6.14.3. Elrendezés: nincsenek egyedi követelmények.
6.14.4. Elhelyezés:
6.14.4.1. Széltében: a 6.14.5.1. pontban leírt eset kivételével a világító felületnek a jármű hosszirányú középsíkjától legtávolabb eső pontja legfeljebb 400 mm-re lehet a jármű befoglaló szélességének legkülső pontjától. A fényvisszaverők belső szélei legalább 600 mm-re kell, hogy legyenek egymástól. A távolság 400 mm-re csökkenthető, amennyiben a jármű teljes szélessége 1 300 mm-nél kisebb.
6.14.4.2. Magasságban: a 6.14.5.1. pontban leírt eset kivételével a talaj felett legalább 400 mm-re, de legfeljebb 900 mm-re.
1 300 mm-t meg nem haladó szélességű járművek esetében a talaj felett legalább 250 mm-re.
Ez a felső határérték azonban legfeljebb 1 200 mm-re növelhető, ha a 900 mm-es magasság csak olyan rögzítő berendezések használatával tartható, amelyek könnyen megrongálódhatnak vagy elhajolhatnak.
6.14.4.3. Hosszában: nincsenek egyedi követelmények.
6.14.5. Geometriai láthatóság
:
Vízszintes szög : 30° befelé és kifelé.
Függőleges szög : 15° a vízszintes alatt és felett. A vízszintes alatti függőleges szög 5°-ra csökkenthető, ha a fényvisszaverő magassága nem éri el a 750 mm-t.
6.14.5.1. Ha a fenti elhelyezési és láthatósági követelmények betartása nem lehetséges, a következő beszerelési előírások szerint négy fényvisszaverő szerelhető fel:
6.14.5.1.1. Két fényvisszaverő esetében tartani kell a talajtól számított legfeljebb 900 mm-es magasságot. Ez a felső határérték azonban legfeljebb 1 500 mm-re növelhető, ha a jármű alakja, szerkezete, kialakítása vagy üzemeltetési feltételei olyan rögzítő berendezések használata nélkül is lehetővé teszik a 900 mm-es magasság tartását, amelyek könnyen megrongálódhatnak vagy elhajolhatnak.
A hátsó fényvisszaverők belső szélei között legalább 300 mm távolságot kell tartani, és azok vízszintes feletti függőleges láthatósági szöge 15° kell, hogy legyen.
6.14.5.1.2. A két másik helyzetjelző lámpa a talajtól számítva legfeljebb 2 500 mm-es magasságban lehet, és azokra a 6.14.4.1. pont követelményei vonatkoznak.
6.14.5.1.3. A két párnak együttesen teljesítenie kell a geometriai láthatóságra vonatkozóan a 6.14.5. pontban leírt követelményeket.
6.14.6. Irány: hátra.
6.14.7. Egyéb előírások: a fényvisszaverő világító felületének lehetnek közös részei bármely másik lámpa világító felületével.
6.15. Nem háromszög alakú oldalsó fényvisszaverők (3. számú ENSZ-EGB-előírás, az I. mellékletben leírtak szerint)
6.15.1. Jelenlét: minden 4,6 m-t meghaladó hosszúságú traktoron kötelező. Minden más jármű esetében választható.
6.15.2. Darabszám: annyi, hogy a hosszirányú elhelyezésre vonatkozó követelmények teljesüljenek. E berendezések teljesítménye ki kell, hogy elégítse a 3. számú ENSZ-EGB-előírás IA. vagy IB. osztályú fényvisszaverőkre vonatkozó követelményeit, az I. mellékletben leírtak szerint. Kiegészítő fényvisszaverő berendezések és anyagok (ideértve az alábbi 6.15.4. szakasznak meg nem felelő két fényvisszaverőt) megengedettek, amennyiben azok nem rontják a kötelező világító- és fényjelző berendezések hatékonyságát.
6.15.3. Elrendezés: a fényvisszaverő felületet a jármű hossztengelyével párhuzamos függőleges síkban (legnagyobb megengedett eltérés 10°) kell felszerelni.
6.15.4. Elhelyezés:
6.15.4.1. Széltében: nincsenek egyedi követelmények.
6.15.4.2. Magasságban: a talaj felett legalább 400 mm-re, de legfeljebb 900 mm-re.
Ez a felső határérték azonban legfeljebb 1 500 mm-re növelhető, ha a 900 mm-es magasság csak olyan rögzítőberendezések használatával tartható, amelyek könnyen megrongálódhatnak vagy elhajolhatnak.
6.15.4.3. Hosszában: egy fényvisszaverőnek legfeljebb 3 m-re kell lennie a jármű legelső pontjától, és vagy ugyanannak a fényvisszaverőnek vagy egy másik fényvisszaverőnek legfeljebb 3 m-re kell lennie a jármű leghátsó pontjától. A jármű ugyanazon oldalán elhelyezett két fényvisszaverő közötti távolság nem haladhatja meg a 6 m-t.
6.15.5. Geometriai láthatóság
:
Vízszintes szög : 20° előrefelé és hátrafelé.
Függőleges szög : 10° a vízszintes alatt és felett. A vízszintes alatti függőleges szög 5°-ra csökkenthető, ha a fényvisszaverő talaj feletti magassága nem éri el a 750 mm-t.
6.15.6. Irány: oldalra. Ha ez nem teszi lehetővé az irány megváltoztatását, a fényvisszaverő elforgatható lehet.
6.16. Hátsó rendszámtáblát megvilágító lámpa (lámpák) (4. számú ENSZ-EGB-előírás, az I. mellékletben leírtak szerint)
6.16.1. Jelenlét: traktorokon, valamint R és S kategóriájú járműveken kötelező.
6.16.2. Darabszám
6.16.3. Elrendezés
6.16.4. Elhelyezés
6.16.4.1. Széltében
6.16.4.2. Magasságban
6.16.4.3. Hosszában
6.16.5. Geometriai láthatóság
6.16.6. Irány A 6.16.2-6.16.6. pont szerinti értékeknek és elhelyezéseknek biztosítaniuk kell a rendszámtábla helyének megvilágítását.
6.16.7. Visszajelző lámpa: a járművek felszerelhetők visszajelző lámpával a hátsó rendszámtáblát megvilágító lámpához (lámpákhoz). Ha van ilyen, annak funkcióját az első és hátsó helyzetjelző lámpák visszajelzője látja el.
6.16.8. Elektromos csatlakozások: a berendezés csak a hátsó helyzetjelző lámpákkal egyidejűleg gyulladhat fel (lásd az 5.12. pontot).
6.17. Első fényvisszaverők, nem háromszög alakú (3. számú ENSZ-EGB-előírás, az I. mellékletben leírtak szerint)
6.17.1. Jelenlét: az R és S kategóriájú járműveken kötelező. Traktorokon választható.
6.17.2. Darabszám: kettő vagy négy.
6.17.3. Elrendezés: nincs különleges követelmény.
6.17.4. Elhelyezés
6.17.4.1. Széltében: a világító felületnek a jármű hosszirányú középsíkjától legtávolabb eső pontja legfeljebb 400 mm-re lehet a jármű befoglaló szélességének legkülső pontjától. R és S kategóriájú járműveken ez a távolság legfeljebb 150 mm.
A vonatkoztatási tengelyek irányában a két látható felület belső szélei közötti távolság legalább 600 mm kell, hogy legyen. A távolság 400 mm-re csökkenthető, amennyiben a jármű teljes szélessége 1 300 mm-nél kisebb.
6.17.4.2. Magasságban: a talaj felett legalább 300 mm-re, de legfeljebb 1 500 mm-re. Ha ez a kialakítás miatt nem lehetséges, az első fényvisszaverőket a lehető legalacsonyabbra kell felszerelni.
6.17.4.3. Hosszában: a jármű elején.
6.17.5. Geometriai láthatóság
:
Vízszintes szög : 30° befelé és kifelé.
Függőleges szög : 10° a vízszintes alatt és felett. A vízszintes alatti függőleges szög 5°-ra csökkenthető, ha a fényvisszaverők a talajtól számítva 750 mm-nél alacsonyabban helyezkednek el.
6.17.5.1. Ha a fenti elhelyezési és láthatósági követelmények betartása nem lehetséges, a következő beszerelési előírások szerint négy első fényvisszaverő szerelhető fel:
6.17.5.1.1. Ha ilyenek fel vannak szerelve, két fényvisszaverő esetében tartani kell a talajtól számított legfeljebb 1 200 mm-es magasságot.
Az első fényvisszaverők belső szélei között legalább 300 mm távolságot kell tartani, és azok vízszintes feletti függőleges láthatósági szöge 15° kell, hogy legyen.
6.17.6. Irány: előre.
6.17.7. Egyéb előírások: a fényvisszaverő világító felületének lehetnek közös részei a jármű első részén elhelyezett bármely másik lámpa látható felületével.
6.18. Oldalsó méretjelző lámpák (91. számú ENSZ-EGB-előírás, az I. mellékletben leírtak szerint)
6.18.1. Jelenlét: minden 4,6 m-t meghaladó hosszúságú traktoron kötelező. A 4,6 m-t meg nem haladó hosszúságú, R3 vagy R4 kategóriájú pótkocsik esetében szintén kötelező. Minden más jármű esetében választható.
6.18.2. Legkisebb darabszám oldalanként: annyi, hogy a hosszirányú elhelyezésre vonatkozó előírások teljesüljenek.
6.18.3. Elrendezés: nincsenek egyedi követelmények.
6.18.4. Elhelyezés:
6.18.4.1. Széltében: nincsenek egyedi követelmények.
6.18.4.2. Magasságban: a talaj felett legalább 250 mm, de legfeljebb 2 500 mm.
6.18.4.3. Hosszában: legalább egy oldalsó helyzetjelző lámpát a jármű középső harmadára kell felszerelni úgy, hogy a legelső oldalsó helyzetjelző lámpa legfeljebb 3 m-re legyen a jármű elejétől. Két szomszédos oldalsó helyzetjelző lámpa távolsága legfeljebb 3 m lehet. Ha a jármű szerkezete, kialakítása vagy üzemeltetése miatt nem lehet megfelelni ennek a követelménynek, akkor ez a távolság 4 m-re növelhető.
A leghátsó oldalsó helyzetjelző lámpa legfeljebb 1 m-re lehet a jármű hátsó végétől.
Azonban 6 m-nél rövidebb járművek és olyan járművek esetében, amelyek járóképes alvázzal rendelkeznek, elegendő, ha egy oldalsó helyzetjelző lámpát a jármű hosszának első harmadában vagy egyet annak utolsó harmadában szerelnek fel. Traktorok esetében elegendő a jármű hosszának középső harmadában elhelyezett egyetlen oldalsó helyzetjelző lámpa is.
Az oldalsó helyzetjelző lámpa része lehet az oldalsó fényvisszaverővel közös fénykibocsátó felületnek.
6.18.5. Geometriai láthatóság Vízszintes szög : 45° előre és hátrafelé; ez az érték azonban 30°-ra csökkenthető.
Függőleges szög : 10° a vízszintes alatt és felett. A vízszintes alatti függőleges szög 5°-ra csökkenthető, ha az oldalsó helyzetjelző lámpa a talajtól számítva 750 mm-nél alacsonyabban helyezkedik el.
6.18.6. Irány: oldalra.
6.18.7. Elektromos csatlakozások: nincsenek egyedi követelmények (lásd az 5.12. pontot).
6.18.8. Visszajelző lámpa: választható. Ha van, funkcióját az első és hátsó helyzetjelző lámpák visszajelzője látja el.
6.18.9. Egyéb előírások: amennyiben a leghátsó oldalsó helyzetjelző lámpát hátsó ködlámpával vagy féklámpával összeépített hátsó helyzetjelző lámpával egyesítik, úgy az oldalsó helyzetjelző lámpa fénytani jellemzői a hátsó ködlámpa vagy féklámpa működtetése idején módosulhatnak.
A leghátsó oldalsó helyzetjelző lámpa borostyánszínű kell, hogy legyen, amennyiben a hátsó irányjelző lámpával együtt villog.
6.19. Nappali menetjelző lámpa (87. számú ENSZ-EGB-előírás, az I. mellékletben leírtak szerint)
6.19.1. Jelenlét: traktorokon választható. R és S kategóriájú járműveken nem megengedett.
6.19.2. Darabszám: kettő vagy négy (lásd a 6.19.4.2. pontot).
6.19.3. Elrendezés: nincs különleges követelmény.
6.19.4. Elhelyezés
6.19.4.1. Széltében: nincsenek egyedi követelmények.
6.19.4.2. Magasságban: a talaj felett legalább 250 mm-re, de legfeljebb 2 500 mm-re.
Az elöl hordozható berendezések felszerelésére kialakított traktorok esetében a 6.19.2. pontban említett lámpákon kívül két nappali menetjelző lámpáról kell gondoskodni 4 000 mm-t meg nem haladó magasságban, amennyiben az elektromos kapcsolások úgy vannak kialakítva, hogy két pár nappali menetjelző lámpa nem kapcsolható fel egyszerre.
6.19.4.3. Hosszában: a jármű elején. Ez a követelmény akkor tekinthető teljesítettnek, ha a kibocsátott fény sem közvetlenül, sem közvetve nem zavarja a jármű vezetőjét a visszapillantó tükrökön és/vagy a jármű egyéb fényvisszaverő felületein keresztül.
6.19.5. Geometriai láthatóság
Vízszintes : 20° kifelé és 20° befelé.
Függőleges : 10° felfelé és 10° lefelé.
6.19.6. Irány: előre.
6.19.7. Elektromos csatlakozások
6.19.7.1. A nappali menetjelző lámpáknak automatikusan be kell kapcsolódniuk, ha a motort elindító és/vagy leállító berendezés olyan állásban van, amely lehetővé teszi a motor működését. A nappali menetjelző lámpák azonban kikapcsolva maradhatnak, amíg az automata sebességváltó parkoló vagy üres helyzetben van, mindaddig, ameddig a rögzítőfék rögzített állásban van, vagy miután a meghajtórendszert bekapcsolták, de a jármű még nem lendült mozgásba első alkalommal.
A nappali menetjelző lámpáknak automatikusan ki kell kapcsolniuk, ha az első ködlámpákat vagy fényszórókat bekapcsolják, kivéve, ha ez utóbbiakat rövid szaggatott fényjelzések kibocsátására használják.
Ezen túlmenően az 5.12. pontban említett lámpák bármelyikének bekapcsolhatónak kell lennie a nappali menetjelző lámpák bekapcsolt állapotában.
6.19.7.2. Ha az első irányjelző lámpa és a nappali menetjelző lámpa távolsága nem haladja meg a 40 mm-t, a jármű megfelelő oldalán lévő nappali menetjelző lámpa elektromos kapcsolásának biztosítania kell, hogy az első irányjelző lámpa működtetésének teljes ideje (a be- és a kikapcsolt ciklus) alatt a nappali menetjelző lámpa vagy ki legyen kapcsolva, vagy csökkentett fényerősséggel működjön.
6.19.7.3. Ha az irányjelző lámpát nappali menetjelző lámpával építették össze, a jármű megfelelő oldalán található nappali menetjelző lámpának az irányjelző lámpa működtetésének teljes ideje (a be- és a kikapcsolt ciklus) alatt kikapcsolva kell lennie.
6.19.8. Visszajelző lámpa: a bekapcsolás-visszajelző választható.
6.20. Kanyarodási lámpa (119. számú ENSZ-EGB-előírás, az I. mellékletben leírtak szerint)
6.20.1. Jelenlét: traktorokon választható. Az R és S kategóriájú járműveken kötelező.
6.20.2. Darabszám: kettő vagy négy.
6.20.3. Elrendezés: nincs különleges követelmény.
6.20.4. Elhelyezés
6.20.4.1. Széltében: nincsenek egyedi követelmények.
6.20.4.2. Hosszában: a jármű elejétől 1 000 mm-nél nem lehet távolabb.
6.20.4.3. Magasságban: a talaj felett legalább 250 mm-re, de legfeljebb 2 500 mm-re, illetve 3 000 mm-ig két kiegészítő kanyarodási lámpa esetében az elülső részükön a kanyarodási lámpát esetlegesen eltakaró, hordozható berendezések felszerelésére kialakított járműveknél.
A vonatkoztatási tengely irányában a látszólagos felületen azonban egyetlen pont sem lehet magasabban, mint a tompított fényszóró vonatkoztatási tengelyének irányában a látszólagos felületen lévő legmagasabb pont.
6.20.5. Geometriai láthatóság
Vízszintes : 30°-60° kifelé.
Függőleges : 10° felfelé és lefelé.
6.20.6. Irány: olyan, hogy a lámpák megfeleljenek a geometriai láthatóság követelményeinek.
6.20.7. Elektromos csatlakozások
A kanyarodási lámpákat úgy kell bekötni, hogy csak akkor lépjenek működésbe, ha ugyanakkor a távolsági vagy a tompított fényszórót is bekapcsolják.
6.20.7.1. A kanyarodási lámpa a jármű egyik oldalán csak automatikusan kapcsolódhat be, ha a jármű ugyanazon oldalán bekapcsolták az irányjelző lámpákat és/vagy a kormányzási szög az egyenes iránytól a jármű ezen oldala felé tér el.
A kanyarodási lámpának automatikusan ki kell kapcsolnia, ha az irányjelzőt kikapcsolják és/vagy a kormányzási szög visszatér egyenes irányú helyzetébe.
6.20.7.2. Ha a tolatólámpa be van kapcsolva, mindkét kanyarodási lámpa egyidejűleg bekapcsolt állapotban lehet, függetlenül a kormánykerék vagy az irányjelző helyzetétől. Ebben az esetben a kanyarodási lámpának ki kell aludnia, amikor a hátrameneti lámpa kialszik.
6.20.8. Visszajelző lámpa: nincs.
6.20.9. Egyéb előírások: a kanyarodási lámpa 40 km/óra sebesség felett nem lehet bekapcsolható.
6.21. Láthatósági jelzések (104. számú ENSZ-EGB-előírás, az I. mellékletben leírtak szerint)
6.21.1. Jelenlét: választható.
6.21.2. Darabszám: az alkalmazással összhangban.
6.21.3. Elrendezés: a láthatósági jelzéseknek a lehető legjobban meg kell közelíteniük a vízszintes és a függőleges irányt, a jármű alakjának, szerkezetének, kialakításának és üzemeltetési előírásainak megfelelően.
6.21.4. Elhelyezés: nincsenek egyedi követelmények.
6.21.5. Geometriai láthatóság: nincsenek egyedi követelmények.
6.21.6. Irány: nincsenek egyedi követelmények.
6.22. Lassú járművekhez használható hátsó figyelmeztető tábla (69. számú ENSZ-EGB-előírás, az I. mellékletben leírtak szerint)
6.22.1. Jelenlét: a legfeljebb 40 km/h legnagyobb tervezési sebességű járműveken választható. Minden egyéb járművön tilos.
6.22.2. Darabszám: a 69. számú ENSZ-EGB-előírás 15. melléklete alapján, az I. mellékletben leírtak szerint.
6.22.3. Elrendezés: a 69. számú ENSZ-EGB-előírás 15. melléklete alapján, az I. mellékletben leírtak szerint.
6.22.4. Elhelyezés
Széltében : a 69. számú ENSZ-EGB-előírás 15. melléklete alapján, az I. mellékletben leírtak szerint.
Magasságban : nincsenek egyedi követelmények.
Hosszában : a 69. számú ENSZ-EGB-előírás 15. melléklete alapján, az I. mellékletben leírtak szerint.
6.22.5. Geometriai láthatóság: a 69. számú ENSZ-EGB-előírás 15. melléklete alapján, az I. mellékletben leírtak szerint.
6.22.6. Irány: a 69. számú ENSZ-EGB-előírás 15. melléklete alapján, az I. mellékletben leírtak szerint.
6.23. Külső ajtóvilágítás
6.23.1. Jelenlét: traktorokon választható. R és S kategóriájú járműveken nem megengedett.
6.23.2. Darabszám: nincsenek egyedi követelmények.
6.23.3. Elrendezés: nincsenek egyedi követelmények.
6.23.4. Elhelyezés: nincsenek egyedi követelmények.
6.23.5. Geometriai láthatóság: nincsenek egyedi követelmények.
6.23.6. Irány: nincsenek egyedi követelmények.
6.23.7. Elektromos csatlakozások: nincsenek egyedi követelmények.
6.23.8. Visszajelző lámpa: nincsenek egyedi követelmények.
6.23.9. Egyéb előírások: a külső ajtóvilágítás csak akkor kapcsolódhat be, ha a jármű áll, és az alábbi feltételek legalább egyike fennáll:
6.23.9.1. a motor áll;
6.23.9.2. a vezető felőli ajtó vagy az utastér valamelyik ajtaja nyitva van;
6.23.9.3. a rakodótér ajtaja nyitva van.
Az 5.11. pont rendelkezéseinek teljesülniük kell minden rögzített használati helyzetben.
A műszaki szolgálat köteles a típusjóváhagyásért felelős hatóság számára hitelt érdemlően szemrevételezéssel meggyőződni arról, hogy a külső ajtóvilágítás látható felülete nem észlelhető közvetlenül egy, a jármű elejétől 10 m-re elhelyezkedő keresztirányú sík, a jármű hátuljától 10 m-re elhelyezkedő keresztirányú és a jármű két oldalától 10 m-re elhelyezkedő két hosszanti sík zónahatárán mozgó megfigyelő számára; ez a négy sík 1-3 m-rel a talaj felett és arra merőlegesen húzódik a 48. számú ENSZ-EGB-előírás 14. mellékletében látható ábrának megfelelően, az I. mellékletben leírtak szerint.
E követelmény teljesülését rajzzal vagy szimulációval kell igazolni.
6.24. Manőverezőlámpák (23. számú ENSZ-EGB-előírás, az I. mellékletben leírtak szerint)
6.24.1. Jelenlét: traktorokon választható. R és S kategóriájú járműveken nem megengedett.
6.24.2. Darabszám: egy vagy kettő (oldalanként egy).
6.24.3. Elrendezés: nincs különleges követelmény, de a 6.24.9. pont szerinti követelményeket kell alkalmazni.
6.24.4. Elhelyezés: nincs különleges követelmény.
6.24.5. Geometriai láthatóság: nincs különleges követelmény.
6.24.6. Irány: lefelé, de a 6.24.9. pont szerinti követelményeket kell alkalmazni.
6.24.7. Elektromos csatlakozások: a manőverezőlámpákat úgy kell bekötni, hogy csak akkor lépjenek működésbe, ha ugyanakkor a távolsági vagy a tompított fényszórót is bekapcsolják.
A manőverezőlámpáknak automatikusan kell bekapcsolniuk legfeljebb 10 km/h sebességgel végrehajtott lassú manőverek esetén, ha az alábbi feltételek valamelyike teljesül:
a) mielőtt a jármű első alkalommal mozgásba lendülne (a meghajtórendszer minden egyes manuális működtetését követően);
b) a jármű hátramenetben van; vagy
c) bekapcsolódik egy, a parkolási manővert segítő kamerarendszer.
Amennyiben a jármű előrehaladási sebessége meghaladja a 10 km/h-t, a manőverezőlámpáknak automatikusan ki kell kapcsolódniuk, és a bekapcsolási feltételek újbóli teljesüléséig kikapcsolva kell maradniuk.
6.24.8. Visszajelző lámpa: nincs különleges követelmény.
6.24.9. Egyéb követelmények
6.24.9.1. A műszaki szolgálat köteles a típusjóváhagyásért felelős hatóság számára hitelt érdemlően szemrevételezéssel meggyőződni arról, hogy e lámpák látható felülete nem észlelhető közvetlenül egy, a jármű elejétől 10 m-re elhelyezkedő keresztirányú sík, a jármű hátuljától 10 m-re elhelyezkedő keresztirányú és a jármű két oldalától 10 m-re elhelyezkedő két hosszanti sík zónahatárán mozgó megfigyelő számára; ez a négy sík 1-3 m-rel a talaj felett és azzal párhuzamosan húzódik.
6.24.9.2. A 6.24.9.1. pontban meghatározott követelmény teljesülését rajzzal vagy szimulációval kell igazolni, illetve azt teljesítettnek kell tekinteni, ha a 23. számú ENSZ-EGB-előírás 6.2.3. szakasza szerinti beépítési feltételeket betartják, az I. mellékletben leírtak szerint.
6.25. Háromszög alakú hátsó fényvisszaverő:
6.25.1. Jelenlét: az R és S kategóriájú járműveken kötelező. Traktorokon nem megengedett.
6.25.2. Darabszám: kettő vagy négy (lásd a 6.25.5.1. pontot).
6.25.3. Elrendezés: a háromszög csúcsa felfelé kell, hogy álljon.
6.25.4. Elhelyezés
6.25.4.1. Széltében: a 6.25.5.1. pontban leírt eset kivételével a világító felületnek a jármű hosszirányú középsíkjától legtávolabb eső pontja legfeljebb 400 mm-re lehet a jármű befoglaló szélességének legkülső pontjától. A fényvisszaverők belső szélei legalább 600 mm-re kell, hogy legyenek egymástól. A távolság 400 mm-re csökkenthető, amennyiben a jármű teljes szélessége 1 300 mm-nél kisebb.
6.25.4.2. Magasságban: a 6.25.5.1. pontban leírt eset kivételével a talaj felett legalább 400 mm-re, de legfeljebb 1 500 mm-re.
6.25.4.3. Hosszában: nincsenek egyedi követelmények.
6.25.5. Geometriai láthatóság
:
Vízszintes szög : 30° befelé és kifelé.
Függőleges szög : 15° a vízszintes alatt és felett. A vízszintes alatti függőleges szög 5°-ra csökkenthető, ha a fényvisszaverő magassága nem éri el a 750 mm-t.
6.25.5.1. Ha a fenti elhelyezési és láthatósági követelmények betartása nem lehetséges, a következő beszerelési előírások szerint négy fényvisszaverő szerelhető fel:
6.25.5.1.1. Két fényvisszaverő esetében tartani kell a talajtól számított legfeljebb 900 mm-es magasságot. Ez a felső határérték azonban legfeljebb 1 200 mm-re növelhető, ha a 900 mm-es magasság csak olyan rögzítő berendezések használatával tartható, amelyek könnyen megrongálódhatnak vagy elhajolhatnak.
A fényvisszaverők belső szélei között legalább 300 mm távolságot kell tartani, és azok vízszintes feletti függőleges láthatósági szöge 15° kell, hogy legyen.
6.25.5.1.2. A két másik fényvisszaverő a talajtól számítva legfeljebb 2 500 mm-es magasságban lehet, és teljesíteniük kell a 6.25.5.1. pont követelményeit.
6.25.6. Irány: hátra.
6.25.7. Egyéb előírások: a fényvisszaverő világító felületének lehetnek közös részei bármely másik lámpa világító felületével.
6.26. Jelzőpanelek és jelzőfóliák
6.26.1. Jelenlét:
A 2,55 m-t meghaladó teljes szélességű járműveken kötelező.
A 2,55 m-t meg nem haladó teljes szélességű járművek esetében választható.
6.26.2. Darabszám:
kettő vagy négy (3. függelék).
6.26.3. Elrendezés:
a paneleket vagy fóliákat úgy kell elrendezni, hogy a sávjaik 45° alatt haladjanak kifelé és lefelé.
6.26.4. Elhelyezés:
Széltében:
a világító felületnek a jármű hosszirányú középsíkjától legtávolabb eső pontja legfeljebb 100 mm-re lehet a jármű befoglaló szélességének legkülső pontjától. Ez az érték növelhető, ha a felépítmény alakja miatt lehetetlen a méretet 100 mm-en belül tartani.
Magasságban:
nincsenek egyedi követelmények.
Hosszában:
nincsenek egyedi követelmények.
6.26.5. Geometriai láthatóság:
nincsenek egyedi követelmények.
6.26.6. Elrendezés:
előrefelé és hátrafelé.
1. függelék
Lámpák láthatósága
1. ábra
A piros fényű lámpák láthatósága elölről

2. ábra
A fehér fényű lámpák láthatósága hátulról

2. függelék
Irányjelző lámpák
Geometriai láthatóság (lásd a 6.5.5. pontot)
"A" elrendezés

"B" elrendezés

"C" elrendezés

"D" elrendezés

Az első irányjelző 10 °-os előírt befelé irányuló láthatósági szöge 3 °-ra csökkenthető az 1 400 mm teljes szélességet meg nem haladó járművek esetében.
3. függelék
A 2,55 m-t meghaladó szélességű járművek jelzőpaneljeinek és jelzőfóliáinak méretei, fényvisszaverő felületük legkisebb mérete, színe és minimális fénytani jellemzői, továbbá ezek azonosítása és jelölése
1. Méretek, darabszám és legkisebb fényvisszaverő felület
1.1. A jelzőpaneleknek és jelzőfóliáknak az alábbi méretekkel kell rendelkeznie:
1. ábra
Jelzőpanel vagy jelzőfólia

2. ábra
Alapnégyzet

1. táblázat
Méretek [mm]
Jelzőpanel vagy -fólia | a [mm] | b [mm] | Felület [cm2] |
„A” forma | 423 | 423 | 1 790 |
„B” forma | 282 | 282 | 795 |
„R1” forma | 282 | 423 | 1 193 |
„R2” forma | 423 | 282 | |
„L1” forma | 141 | 846 | 1 193 |
„L2” forma | 846 | 141 | |
„K1” forma | 141 | 423 | 596 |
„K2” forma | 423 | 141 |
A megadott formáktól való eltérés megengedett, ha a meg nem határozott formák felülete legalább 3 alapnégyzetet tartalmaz. Az effektív irányokba néző első és hátsó jelzőpanelek vagy -fóliák számát a 2. táblázat határozza meg.
1.2. 2. táblázat
Effektív irányokba néző első és hátsó jelzőpanelek vagy -fóliák száma
Jelzőpanel vagy -fólia | Darabszám/effektív irány |
„A” forma | 2 |
„B” forma | 2 |
„R1” forma | 2 |
„R2” forma | |
„L1” forma | 2 |
„L2” forma | |
„K1” forma | 4 |
„K2” forma |
Az "A" formájú jelzőpanelek vagy -fóliák egyesíthetők lámpákkal, ha a lámpák által lefedett táblák felülete nem haladja meg a 150 cm2-t.
2. Szín és minimális fénytani jellemzők
Fehér a 48. számú ENSZ-EGB-előírás 2.29.1. pontjának megfelelően, az I. mellékletben leírtak szerint.
Piros a 48. számú ENSZ-EGB-előírás 2.29.4. pontjának megfelelően.
A 69. számú ENSZ-EGB-előírás 7. mellékletében vagy a 104. számú ENSZ-EGB-előírás 7. mellékletében meghatározott fénytani jellemzők vannak érvényben, az I. mellékletben leírtak szerint.
A "B" formájú paneleknek vagy fóliáknak teljesíteniük kell a 104. számú ENSZ-EGB-előírás 7. mellékletében a "C" osztályra vonatkozóan leírt követelményeket.
3. Azonosítás
Az e rendeletben meghatározott követelményeket teljesítő jelzőpanelek e rendelet számával és a gyártó nevével vannak ellátva.
XIII. MELLÉKLET
Utasvédelemre vonatkozó követelmények, ideértve a jármű belső kialakítását, a fejtámlákat, a biztonsági öveket és a járműajtókat
1. RÉSZ
1. Fogalommeghatározások
E mellékletben:
E melléklet alkalmazásában a hajtóelemek védelmével kapcsolatos fogalommeghatározások alkalmazandók az 1322/2014/EU ( 6 ) felhatalmazáson alapuló bizottsági rendelet 20. cikkében meghatározott követelményeknek megfelelően.
1.1. "Belső kialakítás" :
az utastér belső részei a belső visszapillantó tükrök kivételével, beleértve az alábbiakat:
- kezelőszervek elrendezése,
- tető,
- segéderővel működetett ablakok, tetőpanelek és térelválasztó rendszerek.
1.2. "Műszerfal szintje" : a függőleges érintők műszerfallal érintkező pontjai által meghatározott vonal.
1.3. "Segéderővel működetett ablakok" : a jármű energiaforrásával zárható ablakok.
1.4. "Nyílás" : a segéderővel működetett ablakok, térelválasztók vagy tetőpanelek felső vagy első éle - záródási iránytól függően - és az ablak, térelválasztó vagy tetőpanel határát képező járműszerkezet közötti legnagyobb, akadálytalanul átjárható rés, az utastérből vagy térelválasztó rendszer esetében az utastér hátsó részéből tekintve.
2. RÉSZ
Belső kialakítás
1. Előírások
1.1. Az utastér belső részei az oldalajtók kivételével, valamint az összes ajtó, ablak és szerelőnyílás stb. zárt helyzetében
1.1.1. A vezetőülés és az utasülések környezete, ha vannak
1.1.1.1. A vezetőülés ellenőrzési pontja (SIP) feletti és előtte elhelyezkedő "A" biztonsági távolsági zónában az 1. ábrának megfelelően nem lehetnek veszélyt hordozó egyenetlenségek vagy olyan éles peremek, amelyek fokozhatják az utasok súlyos sérüléseinek a kockázatát. Ha az SIP feletti "A" biztonsági távolsági zónában található részek megfelelnek az 1.1.2-1.1.6. pont követelményeinek, akkor úgy kell tekinteni, hogy teljesítik ezt a követelményt is.
1. ábra [Kép #2]

Kép #2
1.1.1.2. Az "A" biztonsági távolsági zónában, amelynek a középpontja az első utasülés (ha be van szerelve) első szélének közepétől 670 mm-re található, és amely az előtt helyezkedik el, a 2. ábrának megfelelően nem lehetnek veszélyt hordozó egyenetlenségek vagy olyan éles peremek, amelyek fokozhatják az utasok súlyos sérüléseinek a kockázatát. Ha az SIP feletti "A" biztonsági távolsági zónában található részek megfelelnek az 1.1.2-1.1.6. pont követelményeinek, akkor úgy kell tekinteni, hogy teljesítik ezt a követelményt is.
2. ábra [Kép #3]

Kép #3
1.1.1.3. A kormánykerékkel és üléspaddal, illetve egynél több sorban elhelyezett kagylóülésekkel felszerelt járművek esetében a hátsó utasülések (ha be vannak szerelve) környezetének meg kell felelnie a 3/2014/EU rendelet XVII. mellékletében foglalt követelményeknek ( 7 ).
1.1.2. Azoknak a részeknek, amelyeket a vezető vagy az utasok valószínűleg megérintenek, nem lehetnek éles peremei vagy olyan durva felületei, amelyek veszélyesek az utasokra nézve.
1.1.3. A 40 km/h-t meghaladó legnagyobb tervezési sebességű traktorokra az 1.1.1-1.1.2. pontban, az 1.1.5-1.1.6. pontban, valamint a 3-5. részben meghatározott követelményeken kívül az 1.1.3.1-1.1.3.4. pont követelményei is vonatkoznak:
1.1.3.1. A merevítést szolgáló fémrészeknek nem lehetnek kiálló élei.
1.1.3.2. Azoknak a részeknek, amelyek az 1. ábrán látható "A" zóna sugara mentén megközelítve megérinthetők egy, a 3.2.1. pont szerinti 165 mm átmérőjű gömbbel, legalább 2,5 mm lekerekítési sugárral kell rendelkezniük. Ezt a követelményt nem kell alkalmazni a kezelőszervek azon részeire és a kapcsolók közötti azon burkolati részekre, amelyek 5 mm-nél kisebb mértékben állnak ki, azonban az ilyen részek kifelé irányuló éleinek lekerekítetteknek kell lenniük, kivéve, ha kevesebb mint 1,5 mm-re állnak ki.
1.1.3.3. Az esetleges ablakemelő karok legfeljebb 35 mm-re állhatnak ki a felületből.
1.1.3.4. Az 1.1.3.1., 1.1.3.2. és 1.1.3.3. pontban meghatározott követelmények azokra az alkatrészekre nem vonatkoznak, amelyek a kormánykerék mögött helyezkednek el egy kúp csúcsához viszonyítva, amennyiben e kúp csúcsa az 1. ábrán látható "A" zóna középpontjában található, a kúp alkotója pedig a kormánykerék pereme.
A puha, 60 Shore A-nál kisebb keménységű, de kemény támaszon elhelyezett anyagból készült kiálló részek esetében az 1.1.4. és az 1.1.5. pontban meghatározott követelmények csak a kemény támaszokra vonatkoznak.
1.1.4. A 60 km/h-t meghaladó legnagyobb tervezési sebességű traktorokra az 1.1.1-1.1.3.4. pontban, az 1.1.5-1.1.6. pontban, valamint a 3-5. részben meghatározott követelményeken kívül az 1.1.4.1-.1.1.4.6. pont követelményei is vonatkoznak:
1.1.4.1. A műszerfal alsó peremének lekerekítési sugara legalább 19 mm kell, hogy legyen.
1.1.4.2. Azoknak a kemény anyagból készült kapcsolóknak, húzógomboknak stb., amelyek a 3. pontban leírt módszerrel mérve 3,2 mm és 9,5 mm közötti távolságra nyúlnak ki a műszerfal síkjából, a legtávolabb kiálló résztől 2,5 mm-re lévő keresztmetszetben mérve legalább 2 cm2 felülettel és lekerekített szélekkel kell rendelkezniük, amelyek lekerekítési sugara legalább 2,5 mm kell, hogy legyen.
1.1.4.3. Ha ezek az alkatrészek több mint 9,5 mm távolságra nyúlnak ki a műszerfal síkjából, akkor úgy kell megtervezni és kialakítani őket, hogy keresztmetszetük legalább 6,50 cm2 legyen a legtávolabb kiálló résztől legfeljebb 6,5 mm-re mérve.
1.1.4.4. A tetőre szerelt, de nem a tetőszerkezet részét képező alkatrészeket (ha vannak) - pl. kapaszkodók, lámpák, szellőzőnyílások stb. - legalább 3,2 mm lekerekítési sugárral kell kialakítani, továbbá a kinyúló részek szélességének legalább akkorának kell lennie, mint a függőleges méretnek.
1.1.4.5. A puha, 60 Shore A-nál kisebb keménységű, de kemény támaszon elhelyezett anyagból készült kiálló részek esetében az 1.1.4.2-1.1.4.4. pontban meghatározott követelmények csak a kemény támaszokra vonatkoznak.
1.1.4.6. Az ebben a szakaszban meghatározott követelmények az olyan, az 1.1.2-1.1.6. pontban nem említett felszerelésekre vonatkoznak, amelyeket az 1.1.1-1.1.6. pontban foglalt követelmények és a járműben való elhelyezkedésük alapján az utasok megérinthetnek. Ha ezek a részek 60 Shore A-nál kisebb keménységű anyagból készülnek, de egy vagy több kemény támaszon helyezkednek el, az említett előírások csak a kemény anyagú támaszokra vonatkoznak.
1.1.5. A tartópolcokat és hasonló tárgyakat, ha be vannak szerelve, úgy kell megtervezni és kialakítani, hogy szilárd részeik ne rendelkezzenek kiálló élekkel.
1.1.6. Ezek az előírások nem vonatkoznak a jármű egyéb, az előző pontokban nem említett olyan felszereléseire, mint az ülések csúszó sínjei, az ülések vagy a háttámla állító berendezései, a biztonsági övek visszahúzói stb., ha azok az egyes ülések ellenőrzési pontján átmenő vízszintes sík alatt vannak, még ha az utasok érintkezésbe is kerülhetnek az említett részekkel.
2. EU-típusjóváhagyási vizsgálati eljárások
2.1.1. Az EU alkatrész-típusjóváhagyási kérelemhez az alábbi mintákat kell csatolni, amelyeket a típus-jóváhagyási vizsgálat elvégzéséért felelős műszaki szolgálathoz kell benyújtani:
2.1.2. a gyártó választása szerint a jóváhagyásra előterjesztett járműtípus mintadarabját, vagy a jármű azon részeit, amelyeket az e rendelettel előírt ellenőrzésekhez és vizsgálatokhoz szükségesnek tart; és
2.1.3. a fent nevezett műszaki szolgálat igénye szerint a felhasznált anyagokból készült alkatrészeket vagy az anyagok mintáját.
3. A kiálló részek mérésének módszere
3.1. Egy, a jármű falán elhelyezett elem kinyúlásának meghatározásához az adott alkatrésszel való első érintkezési pontból kiindulva egy 165 mm átmérőjű gömböt kell végiggörgetni úgy, hogy az állandó érintkezésben legyen az adott alkatrésszel. A kiálló rész értéke a gömbközéppont felületre merőleges távolságának a lehető legnagyobb "y" változása.
Ha a falak, alkatrészek stb. 60 Shore A-nál kisebb keménységű anyaggal vannak bevonva, akkor a kiálló részek meghatározására szolgáló, az első bekezdésben leírt eljárást az említett anyagok eltávolítása után kell végrehajtani.
A vonatkoztatási tartományon belül található kapcsolók, húzógombok stb. kinyúlását az alábbiakban ismertetett készülékkel és módszerrel kell mérni:
3.2. Készülék
3.2.1. A kiálló rész mérésére szolgáló készülék egy 165 mm átmérőjű félgömb alakú fejformából áll, amelyben egy 50 mm átmérőjű csúszódugattyú található.
3.2.2. A dugattyú vízszintes előlapjának és a fejforma szélének egymáshoz viszonyított helyzetei egy skálán jelennek meg, ahol a készüléknek a vizsgálati tárgyról történő levétele után egy mozgó mutató jelzi a mindenkor mért legnagyobb értéket. A legkisebb mérési tartományának legalább 30 mm-nek, a skálának pedig fél milliméteres osztásúnak kell lennie, hogy a szóban forgó kiálló rész méreteit is jelezni tudja.
3.2.3. Kalibrálási eljárás:
3.2.3.1. A készüléket egy sík felületre kell helyezni úgy, hogy a készülék tengelye arra merőleges legyen. A skálát akkor kell nullára állítani, amikor a dugattyú vízszintes előlapja megérinti a felületet.
3.2.3.2. A dugattyú vízszintes előlapja és a tartófelület közé egy 10 mm-es támaszt kell behelyezni; ellenőrizni kell, hogy a mutató ezt az értéket mutatja-e.
3.2.4. A 3. ábra a kiálló részek mérésére szolgáló készüléket mutatja.
3.3. Vizsgálati eljárás
3.3.1. A dugattyút annyira kell visszahúzni, hogy a fejformában üres tér keletkezzen; a mutatót a dugattyúval érintkezésbe kell hozni.
3.3.2. A készüléket legfeljebb 2 daN erővel úgy kell a mérendő kiálló részre ráhelyezni, hogy a fejforma a körülötte lévő anyag lehető legnagyobb felületével érintkezzen.
3.3.3. A dugattyút addig kell előrefelé mozgatni, amíg hozzá nem ér a mérendő kiálló részhez. A kinyúlás értékét a skáláról kell leolvasni.
3.3.4. A fejformát úgy kell beállítani, hogy a legnagyobb kinyúlást érjük el. A kinyúlás mértékét rögzíteni kell.
3.3.5. Ha két vagy több kezelőszerv olyan közel van egymáshoz, hogy azokhoz a dugattyú vagy a fejforma egyszerre hozzáér, az alábbiak szerint kell eljárni:
3.3.5.1. Az olyan több részből álló kezelőszerveket, amelyek a fejforma üregébe egyidejűleg bevezethetők, egyetlen kiálló részként kell kezelni.
3.3.5.2. Ha egy normál vizsgálatot más kezelőszervnek a fejformával való érintkezése akadályoz, a vizsgálatot azok eltávolítása után kell elvégezni. Ezt követően újra vissza kell őket helyezni, és egymás után megvizsgálni úgy, hogy szükség esetén a vizsgálat megkönnyítése érdekében más kezelőszerveket is el kell távolítani.
3. ábra [Kép #4]

Kép #4
4. Azokat a szerkezeti részeket (kapcsolók, húzógombok stb.), amelyeket az alábbi módszerrel és az alábbiakban ismertetett vizsgálókészülékkel meg lehet érinteni, úgy kell tekinteni, hogy azoknak az utasok térde nekiütközhet:
4.1. Készülék
A vizsgálókészülék ábrája

4.2. Eljárás
A vizsgálókészülék bármely, a műszerfal alatti ponton elhelyezhető úgy, hogy:
- az XX'' sík párhuzamos maradjon a jármű hosszirányú középsíkjával,
- az X tengely a vízszinteshez képest fel és le 30°-kal forgatható.
A vizsgálat elvégzése során minden, 60 Shore A-nál kisebb keménységű anyagot el kell távolítani.
3. RÉSZ
Fejtámlák, ha be vannak szerelve
A fejtámláknak, ha be vannak szerelve, meg kell felelniük a 25. számú ENSZ-EGB-előírás rendelkezéseinek, az I. mellékletben leírtak szerint.
4. RÉSZ
Biztonsági övek
Az 1322/2014/EU felhatalmazáson alapuló rendelet 21. cikkében meghatározott követelményeket kell alkalmazni.
5. RÉSZ
Járműajtók, ha be vannak szerelve
A járműajtóknak, a segéderővel működetett ablakokkal és tetőablakokkal együtt, ha be vannak szerelve, meg kell felelniük a 21. számú ENSZ-EGB-előírás 5.8.1-5.8.5. szakaszainak, az I. mellékletben leírtak szerint.
XIV. MELLÉKLET
A jármű külsejére és kiegészítő elemeire vonatkozó követelmények
1. Fogalommeghatározások
E melléklet alkalmazásában a XII. melléklet 1. szakaszában és a XXXIII. melléklet 1. szakaszában található fogalommeghatározásokat kell alkalmazni. Ezenkívül a következő fogalommeghatározásokat is alkalmazni kell:
1.1. "külső felület": a jármű külseje, beleértve a kerekeket, a hernyótalpakat, az ajtókat, a lökhárítókat, a motorháztetőt, a beszálláskor használt elemeket, tartályokat, a sárvédőket és a kipufogórendszert;
1.2. "lekerekítési sugár": annak a körívnek a sugara, amely a lehető legjobban közelít az érintett rész görbületéhez;
1.3. a jármű "befoglaló szélességének legkülső pontja": a jármű oldalaihoz viszonyítva a jármű hosszirányú középsíkjával párhuzamos síkban fekvő azon legszélső pont, amely a befoglaló szélességének külső pontjával egybeesik, nem tekintve a következő alkatrészek kiálló részeit:
a) a gumiabroncsok a talajjal való érintkezési pontjuk közelében, a gumiabroncsnyomás-mérők csatlakozói, továbbá a gumiabroncstöltő/-leengedő berendezések/csövek;
b) a kerekekre felszerelhető csúszásgátlók;
c) visszapillantó tükrök, tartóelemeikkel együtt;
d) oldalsó irányjelző lámpák, méretjelző lámpák, első és hátsó (oldalsó) helyzetjelző lámpák, várakozást jelző lámpák, fényvisszaverők, jelzőpanelek és lassú járművekhez használható hátsó figyelmeztető táblák;
e) a T2, C2, T3 és C3 kategóriájú traktorok csuklós kialakítású, lehajtható, a felborulás hatásai ellen védő szerkezetei;
f) mechanikus, elektromos, pneumatikus vagy hidraulikus csatlakozók és rögzítőelemeik a traktor oldalain.
2. Alkalmazási kör
2.1. Ez a melléklet a külső felület azon részeire vonatkozik, amelyek a jármű jóváhagyása szerinti legnagyobb átmérőjű, illetve legnagyobb függőleges méretű, talajvédelmi funkcióval nem rendelkező gumiabroncsokkal, illetve hernyótalpkészlettel felszerelt jármű terhelt állapotában, valamint az összes ajtó, ablak és szerelőnyílás stb. zárt helyzetében megfelelnek az alábbiaknak:
2.1.1. 0,75 m alatti magasságban, csak a jármű oldalain a jármű hosszanti tengelyére merőleges minden függőleges síkban a befoglaló szélesség külső pontját alkotó részek, azon részek kivételével, amelyek több mint 80 mm-re helyezkednek el a jármű befoglaló szélességének oldalsó külső pontjától a jármű hosszirányú középsíkjának irányában, a 2.1. pontban leírt, a legkeskenyebb nyomtávot eredményező gumiabroncsokkal, illetve hernyótalpkészlettel felszerelt jármű esetében; ha több, a 2.1. pontban leírt gumiabroncs, illetve hernyótalpkészlet létezik, a legnagyobb járműszélességet eredményezőt kell figyelembe venni;
2.1.2. oldalt és 0,75 és 2 m közötti magasságban minden rész, kivéve a következőket:
2.1.2.1. azok a részek, amelyek egy 100 mm-es átmérőjű gömbbel nem érinthetők meg a jármű hosszanti tengelyére merőleges minden függőleges síkban vízszintesen közelítve; a gömb elmozdulása nem haladhatja meg a 80 mm-t; a jármű befoglaló szélességének a bal, illetve a jobb oldali külső pontjából kiindulva a jármű hosszirányú középsíkjának irányában, a 2.1. pontban leírt, a legkeskenyebb nyomtávot eredményező gumiabroncsokkal, illetve hernyótalpkészlettel felszerelt jármű esetében; ha több, a 2.1. pontban leírt gumiabroncs, illetve hernyótalpkészlet létezik, a legnagyobb járműszélességet eredményezőt kell figyelembe venni.
2.2. E rendelkezések célja, hogy csökkentsék azon személy testi sérülésének veszélyét vagy súlyosságát, akit ütközéskor a felépítmény elüt vagy elsodor. Ez álló és mozgó járműre egyaránt érvényes.
2.3. Ez a melléklet a külső visszapillantó tükrökre és tartóelemeikre nem vonatkozik.
2.4. Ez a melléklet nem vonatkozik sem azokra a lánctalpakra, sem azokra a talprészekre, amelyek a C kategóriájú járművek gumihevederének vagy lánctalpának befoglaló szélessége által alkotott függőleges síkon belül helyezkednek el.
2.5. Ez a melléklet nem vonatkozik a kerekek és a kerékdobok azon részeire, amelyek a gumiabroncsok külső oldalsó fala által alkotott függőleges síkon belül helyezkednek el.
2.6. Ez a melléklet nem vonatkozik az 1322/2014/EU felhatalmazáson alapuló rendelet XV. mellékletének 3.3. és 4.2. pontjában említett lépcsőfokokra és létrafokokra, valamint azok tartóelemeire sem.
2.7. Ez a melléklet nem vonatkozik a traktor oldalaira erősített mechanikus, elektromos, pneumatikus vagy hidraulikus csatlakozókra, sem azok rögzítőelemeire.
2.8. Ez a melléklet nem vonatkozik a T2, C2, T3 és C3 kategóriájú traktorok csuklós kialakítású, lehajtható, a felborulás hatásai ellen védő szerkezeteire.
3. Követelmények
3.1. A jármű külső felületének nem lehetnek olyan kifelé irányuló hegyes vagy éles részei vagy kiálló elemei, amelyek formája, méretei, iránya vagy alakszilárdsága növelhetné az olyan személy testi sérülésének veszélyét vagy súlyosságát, akit ütközéskor a külső felület elüt vagy elsodor.
3.2. A jármű külső felületének nem lehetnek olyan kifelé irányuló részei, amelyek gyalogosokat, kerékpárosokat vagy motorkerékpárosokat kaphatnak el.
3.3. A jármű külső felületén nem lehetnek olyan kiálló részek, amelyek lekerekítési sugara kisebb, mint 2,5 mm, vagy minden élekkel rendelkező külső résznek a hosszanti tengelyhez viszonyítva úgy kell elhelyezkednie, hogy a kifelé irányuló felülete lapos legyen, ne rendelkezzen élekkel, valamint a hosszanti tengelyt magában foglaló függőleges síkkal párhuzamos síkban legyen. Ez a követelmény nem vonatkozik azokra a részekre, amelyek 5 mm-nél kisebb mértékben állnak ki, azonban az ilyen részek kifelé irányuló éleinek lekerekítetteknek kell lenniük, kivéve, ha kevesebb mint 1,5 mm-re állnak ki.
3.4. A külső felület azon kiálló részei, amelyek 60 Shore A értéknél nem nagyobb keménységű anyagból készültek, 2,5 mm-nél kisebb lekerekítési sugarúak is lehetnek. A Shore A keménységmérési eljárást az alkatrész gyártója által kiadott, a keménységi értékre vonatkozó nyilatkozat is helyettesítheti.
3.5. A hidropneumatikus, hidraulikus vagy pneumatikus felfüggesztéssel vagy terhelésfüggő automatikus szintszabályozó berendezéssel rendelkező járműveket terhelt állapotban kell vizsgálni.
3.6. A T2, C2, T3 és C3 kategóriájú traktorok borulás hatásai ellen védő szerkezetének összekapcsoló elemeire csak a 3.1. pont vonatkozik.
3.7. Az oldalsó irányjelző lámpákra, a méretjelző lámpákra, az első és hátsó (oldalsó) helyzetjelző lámpákra, a várakozást jelző lámpákra, a fényvisszaverőkre, a jelzőpanelekre, a munkalámpákra és lassú járművekhez használható hátsó figyelmeztető táblákra csak a 3.1. és a 3.2. pont vonatkozik.
3.8. Az R és S kategóriájú járműveken elhelyezett védőburkolat nélküli éles szélekkel vagy fogakkal ellátott, közúton szállított munkagépek, amelyek a 2006/42/EK irányelv hatálya alá tartoznak, felmentést kapnak a 3.1-3.5. pontban meghatározott követelmények alól. A 60 km/h-t meghaladó legnagyobb tervezési sebességű R és S kategóriájú járművek bármely egyéb elemének védőburkolat nélküli részeire a 3.1-3.5. pont vonatkozik. A 60 km/h-t meg nem haladó legnagyobb tervezési sebességű R és S kategóriájú járművek bármely egyéb elemének védőburkolat nélküli részeire csak a 3.1. és a 3.2. pont vonatkozik.
XV. MELLÉKLET
Az elektromágneses összeférhetőségre vonatkozó követelmények
1. RÉSZ
Ez a melléklet a 167/2013/EU rendelet 2. cikkében meghatározott járművek elektromágneses összeférhetőségére vonatkozik. Alkalmazni kell azokra az önálló elektromos vagy elektronikus műszaki egységekre is, amelyeket e járművekbe való beépítésre szánnak.
Fogalommeghatározások
E melléklet alkalmazásában a következő fogalommeghatározásokat kell alkalmazni:
1. "elektromágneses összeférhetőség" : a jármű, az alkatrész(ek) vagy az önálló műszaki egység(ek) azon tulajdonsága, hogy az elektromágneses környezetben kielégítően működnek anélkül, hogy e környezetben bármi számára elviselhetetlen elektromágneses zavart keltenének;
2. "elektromágneses zavar" : minden olyan elektromágneses jelenség, amely a jármű, az alkatrész(ek) vagy az önálló műszaki egység(ek) működését korlátozza. Az elektromágneses zavar lehet elektromágneses zaj, nemkívánatos jel vagy magában a kiterjedési közegben bekövetkező változás is;
3. "elektromágneses zavartűrés" : a jármű, az alkatrész(ek) vagy az önálló műszaki egység(ek) azon képessége, hogy bizonyos elektromágneses zavarokat a működőképesség korlátozódása nélkül el tudnak viselni;
4. "elektromágneses környezet" : egy adott helyen előforduló elektromágneses jelenségek összessége;
5. "vonatkoztatási határérték" : azon névleges érték, amelyre a típus-jóváhagyási határérték és a gyártásmegfelelőségi határérték vonatkozik;
6. "referenciaantenna" : a 20-80 MHz frekvenciatartományhoz :egy rövidített, szimmetrikus dipólantenna, amelynek rezonanciafrekvenciája 80 MHz-nél található, és a 80 MHz feletti frekvenciatartományban egy olyan szimmetrikus félhullám dipól, amely a mérési frekvenciára van behangolva;
7. "széles sávú elektromágneses kibocsátás" : az adott mérő- vagy a vevőkészülékénél nagyobb sávszélességű kibocsátás;
8. "keskeny sávú elektromágneses kibocsátás" : az adott mérő- vagy a vevőkészülékénél kisebb sávszélességű kibocsátás;
9. "elektromos/elektronikus rendszer" : elektromos és/vagy elektronikus berendezés(ek) vagy berendezések egysége, az összes ezekkel összekapcsolt, a jármű részét képező elektromos csatlakozással együtt, amelyekre azonban nem szándékoznak a járműtől függetlenül külön típusjóváhagyást kérni;
10. "elektromos/elektronikus szerelési egység" : a jármű részét képező elektromos és/vagy elektronikus berendezés vagy berendezések csoportja, az összes ehhez kapcsolódó olyan elektromos csatlakozásokkal és kábelekkel, amelyek egy vagy több sajátos funkciót végeznek;
11. "elektromos/elektronikus szerelési egység típusa" : az elektromágneses összeférhetőség tekintetében olyan elektromos/elektronikus szerelési egységeket jelent, amelyek egymáshoz képest nem különböznek az általuk ellátott funkciók vagy adott esetben az elektromos és/vagy elektronikus alkatrészek általános elrendezése terén.
2. RÉSZ
A járművekre és a járműbe beépített elektromos/elektronikus szerelési egységekre vonatkozó előírások
1. EU-típusjóváhagyási kérelem
1.1. Járműtípus jóváhagyása
1.1.1. Az adott járműtípusra vonatkozóan az elektromágneses összeférhetőség tekintetében a 167/2013/EU rendelet 24. és 26. cikkének, valamint az (EU) 2015/504 végrehajtási rendelet I. mellékletének megfelelően összeállított típus-jóváhagyási kérelmet a járműgyártónak kell benyújtania.
1.1.2. A járműgyártó benyújtja az (EU) 2015/504 végrehajtási rendelet I. mellékletében meghatározott minta szerinti adatközlő lapot.
1.1.3. A járműgyártó egy jegyzéket készít, amely a lényeges elektromos/elektronikus rendszerek vagy elektromos/elektronikus szerelési egységek összes tervezett kombinációját, valamint a karosszériaváltozatokat ( 8 ), a karosszériaanyag ( 9 ) változatait, az általános kábelelrendezést, a motorváltozatokat, a bal-/jobbkormányos kiviteleket és a különböző tengelytávokat tartalmazza. Lényeges elektromos/elektronikus járműrendszerek vagy elektromos/elektronikus szerelési egységek azok, amelyek jelentős széles sávú vagy keskeny sávú sugárzást tudnak kibocsátani és/vagy azok, amelyek a járművezetőnek a jármű feletti közvetlen irányítását érintik (lásd a 3.4.2.3. pontot).
1.1.4. E jegyzékből a gyártó és az illetékes hatóság közötti megegyezés alapján a vizsgálat céljára ki kell választani egy, a járműtípust képviselő járművet. Ez a jármű képviseli az (EU) 2015/504 végrehajtási rendelet 2. cikke szerinti adatközlő lapon meghatározott járműtípust. A jármű kiválasztása azon elektromos/elektronikus rendszereken alapul, amelyeket a gyártó kínál. A vizsgálat céljára egy további járművet is ki lehet e jegyzékből választani, ha a gyártó és az illetékes hatóság mind a ketten úgy ítélik meg, hogy a járművek különböző elektromos/elektronikus rendszereket tartalmaznak, amelyek feltehetően jelentős hatást gyakorolnak a jármű elektromágneses összeférhetőségére az első kiválasztott járműhöz képest.
1.1.5. A jármű(vek) kiválasztása a fenti 1.1.4. pontnak megfelelően az elektromos/elektronikus járműrendszerek olyan kombinációira korlátozódik, amelyeket ténylegesen gyártani kívánnak.
1.1.6. A gyártó a kérelemhez mellékelhet egy, az elvégzett vizsgálatokat tartalmazó jegyzőkönyvet. A jóváhagyó hatóság minden ilyen rendelkezésre bocsátott adatot felhasználhat az EU-típusbizonyítvány kiállítása céljából.
1.1.7. Egy, a jóváhagyásra benyújtott típust képviselő járműpéldányt az 1.1.4. pont szerint a műszaki szolgálat rendelkezésére kell bocsátani, amely maga végzi el a vizsgálatot.
1.2. Elektromos/elektronikus szerelési egység típusának jóváhagyása
1.2.1. Az elektromos/elektronikus szerelési egység adott típusára vonatkozóan az elektromágneses összeférhetőség tekintetében a 167/2013/EU rendelet 24. és 26. cikkének, valamint az (EU) 2015/504 végrehajtási rendelet 2. cikkének megfelelően összeállított típus-jóváhagyási kérelmet az elektromos/elektronikus szerelési egység gyártójának kell benyújtania. Egy elektromos/elektronikus szerelési egység a gyártó kérésére "alkatrészként" vagy "önálló műszaki egységként" hagyható jóvá.
1.2.2. A járműgyártó benyújtja az (EU) 2015/504 végrehajtási rendelet I. mellékletében meghatározott minta szerinti adatközlő lapot.
1.2.3. A gyártó a kérelemhez mellékelhet egy, az elvégzett vizsgálatokat tartalmazó jegyzőkönyvet. A jóváhagyó hatóság minden ilyen rendelkezésre bocsátott adatot felhasználhat az EU-típusbizonyítvány kiállítása céljából.
1.2.4. A jóváhagyandó típusnak megfelelő elektromos/elektronikus szerelési egység egy mintáját a műszaki szolgálat rendelkezésére kell bocsátani, amely maga végzi el a vizsgálatot, adott esetben például a kivitelezésben, az alkatrészek vagy az érzékelők számában esetleg előforduló eltéréseknek a gyártóval történő egyeztetését követően. Ha a műszaki szolgálat szükségesnek ítéli, további mintát választhat ki.
1.2.5. A mintá(ka)t jól olvasható és eltávolíthatatlan módon kell a gyártó márkanevével vagy védjegyével és típusmegjelölésével megjelölni.
1.2.6. A használatra vonatkozó minden korlátozást szükség esetén fel kell tüntetni. Az (EU) 2015/504 végrehajtási rendelet 2. cikkében említett adatközlő lapon vagy az (EU) 2015/504 végrehajtási rendelet V. mellékletében meghatározott EU-típusbizonyítványban minden ilyen korlátozást fel kell sorolni.
2. Jelölés
2.1. Az e rendelet szerint jóváhagyott típusnak megfelelő minden elektromos/elektronikus szerelési egységnek rendelkeznie kell egy, az (EU) 2015/504 végrehajtási rendelet 5. cikkének és e rendelet XX. mellékletének megfelelő EU-típusjóváhagyási jellel.
2.2. Azon elektromos/elektronikus rendszerek jelölése nem kötelező, amelyeket az e rendelet szerint jóváhagyott járműtípusokba építik be.
2.3. A 2.1. és 2.2. pont szerinti jelöléseknek nem kell láthatónak lenniük az elektromos/elektronikus szerelési egységeken, ha az elektromos/elektronikus szerelési egység be van építve egy járműbe.
3. Előírások
3.1. Általános előírások
3.1.1. A járművet (és elektromos/elektronikus rendszereit vagy elektromos/elektronikus szerelési egységeit) úgy kell megtervezni, kialakítani és felszerelni, hogy a jármű a szokásos használati körülmények között megfeleljen e rendeletnek.
3.2. A külső gyújtású járművek széles sávú elektromágneses sugárzására vonatkozó előírások
3.2.1. Mérési módszer
Az adott járműtípust képviselő jármű által keltett elektromágneses sugárzást a 3. részben leírt módszerrel a megadott antennatávolságok valamelyikén kell mérni. A megadott antennatávolságok közül a járműgyártó választhat.
3.2.2. Járművek széles sávú vonatkoztatási határértékei
3.2.2.1. Ha a méréseket a 3. részben leírt módszerrel végzik a jármű és az antenna közötti 10,0 ± 0,2 m távolság alkalmazásával, úgy a sugárzás vonatkoztatási határértéke 34 dB μV/m (50 μV/m) a 30-75 MHz frekvenciatartományban és 34-45 dB μV/m (50-180 μV/m) a 75-400 MHz frekvenciatartományban, ahol e határérték a 75 MHz-nél nagyobb frekvenciáknál az 5. pont szerint lineárisan növekszik a logaritmikus osztású frekvenciatengelyen. A 400-1 000 MHz frekvenciatartományban a határérték állandó marad 45 dB μV/m-nél (180 μV/m).
3.2.2.2. Ha a méréseket a 3. részben leírt módszerrel végzik a jármű és az antenna közötti 3,0 ± 0,05 m távolság alkalmazásával, úgy a sugárzás vonatkoztatási határértéke 44 dB μV/m (160 μV/m) a 30-75 MHz frekvenciatartományban és 44-55 dB μV/m (160-562 μV/m) a 75-400 MHz frekvenciatartományban, ahol e határérték a 75 MHz-nél nagyobb frekvenciáknál a 6. pont szerint lineárisan növekszik a logaritmikus osztású frekvenciatengelyen. A 400-1 000 MHz frekvenciatartományban a határérték állandó marad 55 dB μV/m-nél (562 μV/m).
3.2.2.3. Az adott járműtípust képviselő jármű esetében a mért értékeknek dB μV/m-ben (μV/m) kifejezve legalább 2,0 dB-lel (20 %) a vonatkoztatási határértékek alatt kell maradniuk.
3.3. A járművek keskeny sávú elektromágneses sugárzására vonatkozó előírások
3.3.1. Mérési módszer
Az adott járműtípust képviselő jármű által keltett elektromágneses sugárzást a 4. részben leírt módszerrel a megadott antennatávolságok valamelyikén kell mérni. A megadott antennatávolságok közül a járműgyártó választhat.
3.3.2. Járművek keskeny sávú vonatkoztatási határértékei
3.3.2.1. Ha a méréseket a 4. részben leírt módszerrel végzik a jármű és az antenna közötti 10,0 ± 0,2 m távolság alkalmazásával, úgy a sugárzás vonatkoztatási határértéke 24 dB μV/m (16 μV/m) a 30-75 MHz frekvenciatartományban és 24-35 dB μV/m (16-56 μV/m) a 75-400 MHz frekvenciatartományban, ahol e határérték a 75 MHz-nél nagyobb frekvenciáknál a 7. pont szerint lineárisan növekszik a logaritmikus osztású frekvenciatengelyen. A 400-1 000 MHz frekvenciatartományban a határérték állandó marad 35 dB μV/m-nél (56 μV/m).
3.3.2.2. Ha a méréseket a 4. részben leírt módszerrel végzik a jármű és az antenna közötti 3,0 ± 0,05 m távolság alkalmazásával, úgy a sugárzás vonatkoztatási határértéke 34 dB μV/m (50 μV/m) a 30-75 MHz frekvenciatartományban és 34-45 dB μV/m (50-562 μV/m) a 75-400 MHz frekvenciatartományban, ahol e határérték a 75 MHz-nél nagyobb frekvenciáknál a 8. pont szerint lineárisan növekszik a logaritmikus osztású frekvenciatengelyen. A 400-1 000 MHz frekvenciatartományban a határérték állandó marad 45 dB μV/m-nél (180 μV/m).
3.3.2.3. Az adott járműtípust képviselő jármű esetében a mért értékeknek dB μV/m-ben (μV/m) kifejezve legalább 2,0 dB-lel (20 %) a vonatkoztatási határérték alatt kell maradniuk.
3.3.2.4. A 3.3.2.1., 3.3.2.2. és 3.3.2.3. pontban megállapított határértékektől függetlenül a járművet a keskeny sávú kibocsátás határértékeire nézve megfelelőnek kell tekinteni és nem kell tovább vizsgálni, ha a 4. rész 1.3. pontja szerinti első vizsgálati lépés során a jelerősség a jármű rádióantennájánál kevesebb, mint 20 dB μV/m (10 μV/m) a 88-108 MHz frekvenciatartományban.
3.4. A járművek elektromágneses sugárzással szembeni zavartűrésére vonatkozó előírások
3.4.1. Vizsgálati módszer
Az adott járműtípust képviselő járműnek az elektromágneses sugárzással szembeni zavartűrését az 5. részben leírt módszerrel kell megvizsgálni.
3.4.2. A járművek zavartűrési vonatkoztatási határértékei
3.4.2.1. Az 5. részben leírt módszerrel végzett vizsgálatok során a térerősség vonatkoztatási határértéke 24 V/m rms (rms: root mean square = négyzetes középérték) a 20- 2 000 MHz frekvenciatartomány 90 %-ában és 20 V/m rms a teljes 20- 2 000 MHz tartományban.
3.4.2.2. Az adott járműtípust képviselő járművet az érvényes zavartűrési előírásoknak megfelelő járműnek kell tekinteni, ha az 5. rész szerinti vizsgálatok során és a vonatkoztatási határértéknél 25 %-kal nagyobb, V/m-ben kifejezett térerősségben nem lép fel rendellenes változás a jármű hajtott kerekei fordulatszámában, nem csökken oly módon a teljesítmény, amely a közlekedés többi résztvevőjét megzavarhatná, valamint a járművezető által a jármű felett gyakorolt közvetlen irányítás nem romlik a járművezető vagy a közlekedés többi résztvevője számára észlelhető módon.
3.4.2.3. A járművezető a közvetlen irányítást kormányzással, fékezéssel vagy a motor fordulatszámának változtatásával gyakorolja.
3.5. Az elektromos/elektronikus szerelési egységek által keltett széles sávú elektromágneses interferenciára vonatkozó előírások
3.5.1. Mérési módszer
A típusát képviselő elektromos/elektronikus szerelési egység által keltett elektromágneses sugárzást a 6. részben leírt módszerrel kell mérni.
3.5.2. Elektromos/elektronikus szerelési egységek széles sávú vonatkoztatási határértékei
3.5.2.1. Ha a méréseket a 6. részben leírt módszerrel végzik, úgy a sugárzás vonatkoztatási határértéke 64-54 dB μV/m (500 μV/m) a 30-75 MHz frekvenciatartományban, ahol e határérték a 30 MHz-nél nagyobb frekvenciáknál lineárisan növekszik a logaritmikus osztású frekvenciatengelyen, és 54-65 dB μV/m (500-1 800 μV/m) a 75-400 MHz frekvenciatartományban, ahol e határérték a 75 MHz-nél nagyobb frekvenciáknál az e rész 9. pontja szerint lineárisan növekszik a logaritmikus osztású frekvenciatengelyen. A 400-1 000 MHz frekvenciatartományban a határérték állandó marad 65 dB μV/m-nél (1 800 μV/m).
3.5.2.2. A típusát képviselő elektromos/elektronikus szerelési egység esetében a mért értékeknek dB μV/m-ben (μV/m) kifejezve legalább 2,0 dB-lel (20 %) a vonatkoztatási határértékek alatt kell maradniuk.
3.6. Az elektromos/elektronikus szerelési egységek által keltett keskeny sávú elektromágneses interferenciára vonatkozó előírások
3.6.1. Mérési módszer
A típusát képviselő elektromos/elektronikus szerelési egység által keltett elektromágneses sugárzást a 7. részben leírt módszerrel kell mérni.
3.6.2. Elektromos/elektronikus szerelési egységek keskeny sávú vonatkoztatási határértékei
3.6.2.1. Ha a méréseket a 7. részben leírt módszerrel végzik, úgy a sugárzás vonatkoztatási határértéke 54-44 dB μV/m (500-160 μV/m) a 30-75 MHz frekvenciatartományban, ahol e határérték a 30 MHz-nél nagyobb frekvenciáknál lineárisan növekszik a logaritmikus osztású frekvenciatengelyen, és 44-55 dB μV/m (160-560 μV/m) a 75-400 MHz frekvenciatartományban, ahol e határérték a 75 MHz-nél nagyobb frekvenciáknál az e rész 10. pontja szerint lineárisan növekszik a logaritmikus osztású frekvenciatengelyen. A 400-1 000 MHz frekvenciatartományban a határérték állandó marad 55 dB μV/m-nél (560 μV/m).
3.6.2.2. A típusát képviselő elektromos/elektronikus szerelési egység esetében a mért értéknek dB μV/m-ben (μV/m) kifejezve legalább 2,0 dB-lel (20 %) a vonatkoztatási határértékek alatt kell maradnia.
3.7. Az elektromos/elektronikus szerelési egységek elektromágneses sugárzással szembeni zavartűrésére vonatkozó előírások
3.7.1. Vizsgálati módszer(ek)
A típusát képviselő elektromos/elektronikus szerelési egység elektromágneses sugárzással szembeni zavartűrését a 8. részben leírtak közül választott módszerrel (módszerekkel) kell megvizsgálni.
3.7.2. Elektromos/elektronikus szerelési egységek zavartűrésének vonatkoztatási határértékei
3.7.2.1. Ha a vizsgálatokat a 8. részben leírt módszerekkel végzik, a zavartűrési vonatkoztatási értékek sorban a következők: 48 V/m a 150 mm-es szalagvezetékes vizsgálati módszer, 12 V/m a 800 mm-es szalagvezetékes vizsgálati módszer, 60 V/m a TEM-cellás vizsgálati módszer, 48 mA az árambetáplálási (BCI) vizsgálati módszer, valamint 24 V/m az elnyelőkamrás vizsgálati módszer esetében.
3.7.2.2. A típusát képviselő elektromos/elektronikus szerelési egységnek a megfelelő lineáris egységekben kifejezett vonatkoztatási határértéknél 25 %-kal nagyobb térerősségnél vagy áramerősségnél nem szabad olyan működési zavart mutatnia, amely a teljesítményt csökkentené, a közlekedés többi résztvevőjét megzavarhatná, vagy a járművezető vagy a közlekedés többi résztvevője számára észlelhető módon rontaná a járművezető által az elektromos/elektronikus szerelési egységgel felszerelt jármű felett gyakorolt közvetlen irányítást.
4. Kivételek
4.1. Ha egy jármű, egy elektromos/elektronikus rendszer vagy egy elektromos/elektronikus szerelési egység nem tartalmaz 9 kHz-nél magasabb frekvenciájú elektronikus oszcillátort, akkor úgy kell tekinteni, hogy teljesíti a 3.3.2. vagy a 3.6.2. pontban és a 4. és 7. részben meghatározott követelményeket.
4.2. Azokat a járműveket, amelyek nem rendelkeznek a jármű közvetlen irányítását érintő elektromos/elektronikus rendszerekkel vagy elektromos/elektronikus szerelési egységgel, nem kell a zavartűrésük tekintetében megvizsgálni, és úgy kell tekinteni, hogy teljesítik a 3.4. pontban és az 5. részben meghatározott követelményeket.
4.3. Azokat az elektromos/elektronikus szerelési egységeket, amelyek nem játszanak szerepet a jármű közvetlen irányításában, nem kell a zavartűrésük tekintetében megvizsgálni, és úgy kell tekinteni, hogy teljesítik a 3.7. pontban és a 8. részben meghatározott követelményeket.
4.4. Elektrosztatikus kisülés A gumiabroncsokkal felszerelt járműveknél a karosszéria/az alváz elektromosan szigetelt szerkezetnek tekinthető. A jármű külső környezetéhez képest jelentős elektrosztatikus változások csak akkor lépnek fel, ha az utasok beszállnak a járműbe vagy kiszállnak abból. Mivel a jármű ebben a pillanatban álló helyzetben van, típus-jóváhagyási vizsgálat az elektrosztatikus kisülés tekintetében nem szükséges.
4.5. A vezetékek által vezetett kibocsátások Mivel a jármű futása közben a járműhöz külsőleg elektromosan nincsen kapcsolva semmi, ezért a külső környezet semmilyen zavaró hatást nem fejt ki. A gyártó felelős azért, hogy a berendezések képesek legyenek ellenállni a járművön belüli vezetékek által vezetett kibocsátásoknak, például bekapcsolás miatti terhelés vagy a rendszerek közötti interakció esetén. A vezeték által vezetett kibocsátások tekintetében nem szükséges típus-jóváhagyási vizsgálatot végezni.
5. Járművek széles sávú vonatkoztatási határértékei 10 m antenna-jármű távolság esetében
Frekvencia - megahertz - logaritmikus ábrázolásban
Lásd a 2. rész 3.2.2.1. pontját.

6. Járművek széles sávú vonatkoztatási határértékei 3 m antenna-jármű távolság esetében
Frekvencia - megahertz - logaritmikus ábrázolásban
Lásd a 2. rész 3.2.2.2. pontját.

7. Járművek keskeny sávú vonatkoztatási határértékei 10 m antenna-jármű távolság esetében
Frekvencia - megahertz - logaritmikus ábrázolásban
Lásd a 2. rész 3.3.2.1. pontját.

8. Járművek keskeny sávú vonatkoztatási határértékei 3 m antenna-jármű távolság esetében
Frekvencia - megahertz - logaritmikus ábrázolásban
Lásd a 2. rész 3.3.2.2. pontját.

9. Elektromos/elektronikus szerelési egységek széles sávú vonatkoztatási határértékei
Frekvencia - megahertz - logaritmikus ábrázolásban
Lásd a 2. rész 3.5.2.1. pontját.

10. Elektromos/elektronikus szerelési egységek keskeny sávú vonatkoztatási határértékei
Frekvencia - megahertz - logaritmikus ábrázolásban
Lásd a 2. rész 3.6.2.1. pontját.

3. RÉSZ
A járművek által teljesítendő követelmények: a járművekből kisugárzott széles sávú elektromágneses kibocsátások mérési módszere
1. Általános tudnivalók
1.1. Az e részben leírt vizsgálati módszer csak járművek esetében alkalmazható.
1.2. Mérőberendezés
A mérőberendezésnek meg kell felelnie a Nemzetközi Rádiózavar Különbizottság (CISPR) 16-1. kiadványában meghatározott követelményeknek.
A széles sávú elektromágneses kibocsátásokat e rész szerint kvázi csúcsértékdetektorral kell megmérni, csúcsértékdetektor alkalmazása esetén pedig megfelelő korrekciós tényezőt kell figyelembe venni a gyújtási impulzusráta függvényében.
1.3. Vizsgálati módszer
E vizsgálat célja az állandó jelleggel a járműre szerelt külső gyújtású rendszerek és elektromos motorok (elektromos vontatómotorok, fűtő vagy jégtelenítő rendszerek motorjai, tüzelőanyag-szivattyúk, vízszivattyúk stb.) által keltett széles sávú elektromágneses kibocsátások mérése.
Két alternatív referenciaantenna-távolság engedélyezett: a járműtől 10 vagy 3 m. Mindkét esetre a 3. pont vonatkozik.
2. Az eredmények kifejezése
A mérési eredményeket dB μV/m-ben (μV/m) kell megadni 120 kHz sávszélességre. Ha meghatározott frekvenciáknál a mérőberendezés tényleges B sávszélessége (kHz-ben) eltér a 120 kHz-től, a mért értékeket 120 kHz sávszélességre kell átszámítani 120/B szorzótényezővel.
3. A mérés helye
3.1. A méréseket sík, szabad területen kell elvégezni, amely a jármű és az antenna közti távolság közepén lévő pont körüli legalább 30 m-es sugarú körön belül, elektromágneses visszaverő felületektől mentes helyen van (lásd a 7. pont 1. ábráját).
3.2. A mérőkészülék, a vizsgálófülke vagy a jármű, amelyben a mérőkészülék el van helyezve, a vizsgálati területen is lehet, de csak a 7. pont 1. ábrája szerint meghatározott területen.
Más mérőantennák is megengedettek a vizsgálati területen a vevőantennától és a vizsgált járműtől legalább 10 m távolságban, amennyiben kimutatható, hogy ez a vizsgálati eredményeket nem befolyásolja.
3.3. Zárt vizsgálólétesítményeket akkor lehet alkalmazni, ha a zárt vizsgálólétesítmény és a kültéri mérési hely között korreláció mutatható ki. A zárt vizsgálólétesítményeknek a 7. pont 1. ábrája szerinti méretkövetelményeket nem kell kielégíteniük, kivéve az antenna és a jármű közötti távolságra és az antenna magasságára vonatkozó előírásokat. A környezeti sugárzást sem kell ellenőrizni a 3.4. pont szerint, sem a vizsgálat előtt, sem a vizsgálat után.
3.4. Környezet Annak érdekében, hogy ne legyen olyan nagyságú külső zaj vagy jel, amely az eredményeket észrevehetően befolyásolja, a fő vizsgálat előtt és után méréseket kell végezni. Ha a jármű a környezeti mérések alatt a helyszínen van, a műszaki szolgálatnak gondoskodnia kell arról, hogy a járműből származó kibocsátások a környezeti méréseket ne befolyásolják jelentős mértékben, pl. a járműnek a vizsgálati területről való eltávolításával, a gyújtáskulcs kihúzásával vagy az akkumulátor leválasztásával. Mindkét mérésnél a külső zajnak vagy jelnek legalább 10 dB-lel a 2. rész 3.2.2.1. pontja, illetve (értelemszerűen) 3.2.2.2. pontja szerinti interferencia-határérték alatt kell lennie, kivéve a keskeny sávú környezeti jelek szándékos átvitelét.
4. A jármű állapota a vizsgálatok alatt
4.1. Motor
A motornak szokásos üzemi hőmérsékleten kell járnia, és a sebességváltónak üres állásban kell lennie. Ha ez gyakorlati okokból nem lehetséges, a gyártó és a vizsgáló hatóság közötti megegyezésen alapuló alternatív megoldásokat is ki lehet dolgozni.
Ügyelni kell arra, hogy a fordulatszámot beállító mechanizmus ne befolyásolja az elektromágneses sugárzást. Az egyes mérések alatt a motort a következő fordulatszámokon kell üzemeltetni:
Motortípus | Mérési módszer | |
Kvázi csúcsérték | Csúcsérték | |
Külső gyújtás | Motor fordulatszáma | Motor fordulatszáma |
Egyhengeres | 2 500 f/p ± 10 % | 2 500 f/p ± 10 % |
Többhengeres | 1 500 f/p ± 10 % | 1 500 f/p ± 10 % |
4.2. Ha eső vagy más csapadék esik a járműre, nem szabad vizsgálatot végezni; a csapadék megszűnése után 10 percnek el kell telnie a vizsgálatok folytatásáig.
5. Az antenna típusa, helyzete és iránya
5.1. Antennatípus
Minden antennatípus használható, feltéve, hogy az antennatényezők a vonatkoztatási antennára átszámíthatók. Az antenna kalibrálásához a CISPR 12. kiadványa 6. kiadásának C. mellékletében leírt módszert kell alkalmazni.
5.2. Mérési magasság és távolság
5.2.1. Magasság
5.2.1.1. 10 m-es vizsgálat
Az antenna fázisközpontjának 3,00 ± 0,05 m-rel kell azon sík felett lennie, amelyen a jármű áll.
5.2.1.2. 3 m-es vizsgálat
Az antenna fázisközpontjának 1,80 ± 0,05 m-rel kell azon sík felett lennie, amelyen a jármű áll.
5.2.1.3. Az antenna egyetlen vevőrészének sem szabad 0,25 m-nél közelebb lennie azon síkhoz, amelyen a jármű áll.
5.2.2. Mérési távolság
5.2.2.1. 10 m-es vizsgálat
Az antenna csúcsának vagy az 5.1. pont szerinti átszámítási eljárás során meghatározott megfelelő pontjának vízszintesen 10,0 ± 0,2 m-re kell lennie a felépítmény külső felületétől.
5.2.2.2. 3 m-es vizsgálat
Az antenna csúcsának vagy az 5.1. pont szerinti átszámítási eljárás során meghatározott megfelelő pontjának vízszintesen 3,00 ± 0,05 m-re kell lennie a felépítmény külső felületétől.
5.2.2.3. Ha a vizsgálatot nagyfrekvenciás sugárzással szemben árnyékolt zárt létesítményben végzik, az antenna vevőelemeinek a sugárzáselnyelő anyagtól legalább 1,0 m távolságra, a zárt létesítmény falától pedig legalább 1,5 m távolságra kell elhelyezkedniük. A vevőantenna és a vizsgálandó jármű között nem lehet elnyelő anyag.
5.3. Az antenna helyzete a járműhöz képest
Az antennát egymás után a jármű bal, majd jobb oldalán úgy kell felállítani, hogy az a jármű hosszirányú középsíkjával párhuzamosan és a motor közepével egy vonalban legyen (lásd a 7. pont 1. ábráját), és egy vonalban legyen a jármű középpontjával, amely a jármű elméleti hosszirányú tengelyén a jármű elülső és hátulsó tengelyeinek középpontjai között félúton levő pontként határozható meg.
5.4. Az antenna elhelyezkedése
Minden mérési ponton méréseket kell végezni, egyszer az antenna vízszintes és egyszer az antenna függőleges polarizációjával (lásd a 7. pont 2. ábráját).
5.5. Mért értékek
Az egyes rögzített frekvenciák jellemző értékének azt az értéket kell tekinteni, amelyik a legnagyobb az adott frekvenciánál az 5.3. és 5.4. pont szerint kapott négy leolvasás közül.
6. Frekvenciák
6.1. Mérések
A méréseket a 30 és 1 000 MHz közötti frekvenciatartományban kell elvégezni. Annak igazolására, hogy a jármű teljesíti az ebben a részben meghatározott követelményeket, a vizsgáló hatóság a tartományon belül 13 frekvencián, így 45, 65, 90, 120, 150, 190, 230, 280, 380, 450, 600, 750, 900 MHz-en végezhet vizsgálatot. Amennyiben a vizsgálat során az értékek túllépik a határértéket, igazolni kell, hogy ezt a jármű okozta, és nem a háttérsugárzás.
6.1.1. A határértékek a teljes 30-1 000 MHz frekvenciatartományban érvényesek.
6.1.2. A méréseket kvázi csúcsérték- vagy csúcsértékdetektorokkal lehet elvégezni. A 2. rész 3.2 és 3.5. pontjában szereplő határértékek a kvázi csúcsértékmérésekre érvényesek. Ha a mérés csúcsértékkel történik, 1 MHz sávszélességnél 38 dB-t hozzá kell adni, 1 kHz sávszélességnél pedig 22 dB-t le kell vonni.
6.2. Tűrések
Rögzített frekvencia (MHz) | Tűrés (MHz) |
45, 65, 90, 120, 150, 190 és 230 | ± 5 |
280, 380, 450, 600, 750 és 900 | ± 20 |
A tűrések a felsorolt rögzített frekvenciákra érvényesek, és lehetővé teszik az olyan adókból eredő interferencia elkerülését, amelyek az említett rögzített frekvenciákon vagy azok közelében működnek a mérés idején.
7. Ábrák
1. ábra
A traktor vizsgálati területe
(Elektromágneses visszaverő felületektől mentes sík terület)

Az antenna helyzete a traktorhoz viszonyítva
Elölnézet
Dipól antenna a sugárzás függőleges összetevőjét mérő helyzetben

2. ábra
Felülnézet
Dipól antenna a sugárzás vízszintes összetevőjét mérő helyzetben

4. RÉSZ
A járműből kisugárzott keskeny sávú elektromágneses kibocsátások mérési módszere
1. Általános tudnivalók
1.1. Az e részben leírt vizsgálati módszer csak járművek esetében alkalmazható.
1.2. Mérőberendezés
A mérőberendezésnek meg kell felelnie a Nemzetközi Rádiózavar Különbizottság (CISPR) 16-1. kiadványában meghatározott követelményeknek.
A keskeny sávú elektromágneses kibocsátások e melléklet szerinti mérésére egy középérték- vagy egy csúcsértékdetektort kell alkalmazni.
1.3. Vizsgálati módszer
1.3.1. E vizsgálat azon keskeny sávú elektromágneses kibocsátások mérésére szolgál, amelyek a mikroprocesszoros alapon működő rendszerekből vagy más keskeny sávú forrásokból indulhatnak ki.
1.3.2. Első vizsgálati lépésként a sugárzás szintjét kell mérni az FM frekvenciatartományban (88-108 MHz) a jármű rádióantennáján az 1.2. pontban meghatározott felszereléssel. Ha az értékek nem lépik túl a 2. rész 3.3.2.4. pontjában megállapított szintet, akkor úgy kell tekinteni, hogy a jármű az adott frekvenciatartományban kielégíti az e részben meghatározott követelményeket, és nem kell elvégezni a teljes vizsgálatot.
1.3.3. A teljes vizsgálat során két alternatív antennatávolság engedélyezett: a járműtől 10 vagy 3 m. A 3. pont követelményeit mindkét esetben teljesíteni kell.
2. Az eredmények kifejezése
A mérési eredményeket dB μV/m-ben (μV/m) kell megadni.
3. A mérés helye
3.1. A méréseket sík, szabad területen kell elvégezni, amely a jármű és az antenna közti távolság közepén lévő pont körüli legalább 30 m-es sugarú körön belül, elektromágneses visszaverő felületektől mentes helyen van (lásd a 3. rész 1. ábráját).
3.2. A mérőkészülék, a vizsgálófülke vagy a jármű, amelyben a mérőkészülék el van helyezve, a vizsgálati területen is lehet, de csak a 3. rész 1. ábrája szerint meghatározott területen.
Más mérőantennák is megengedettek a vizsgálati területen a vevőantennától és a vizsgált járműtől legalább 10 m távolságban, amennyiben kimutatható, hogy ez a vizsgálati eredményeket nem befolyásolja.
3.3. Zárt vizsgálólétesítményeket akkor lehet alkalmazni, ha a zárt vizsgálólétesítmény és a kültéri mérési hely között korreláció mutatható ki. A zárt vizsgálólétesítményeknek a 3. rész 7. pontjának 1. ábrája szerinti méretkövetelményeket nem kell kielégíteniük, kivéve az antenna és a jármű közötti távolságra és az antenna magasságára vonatkozó előírásokat. A környezeti sugárzást sem kell ellenőrizni e rész 3.4. pontja szerint, sem a vizsgálat előtt, sem a vizsgálat után.
3.4. Környezet Annak érdekében, hogy ne legyen olyan nagyságú külső zaj vagy jel, amely az eredményeket észrevehetően befolyásolja, a fő vizsgálat előtt és után környezeti méréseket kell végezni. A műszaki szolgálatnak gondoskodnia kell arról, hogy a járműből származó kibocsátások a környezeti méréseket ne befolyásolják jelentős mértékben, pl. a járműnek a vizsgálati területről való eltávolításával, a gyújtáskulcs kihúzásával vagy az akkumulátor(ok) leválasztásával. Mindkét mérésnél a külső zajnak vagy jelnek legalább 10 dB-lel a 2. rész 3.3.2.1. pontja, illetve (értelemszerűen) 3.3.2.2. pontja szerinti interferencia-határérték alatt kell lennie, kivéve a keskeny sávú környezeti jelek szándékos átvitelét.
4. A jármű állapota a vizsgálatok alatt
4.1. A jármű minden elektronikus rendszerét az álló jármű szokásos üzemi feltételei mellett kell működtetni.
4.2. A gyújtásnak bekapcsolt állapotban kell lennie. A motor nem jár.
4.3. Ha eső vagy más csapadék esik a járműre, nem szabad méréseket végezni; a csapadék megszűnése után 10 percnek el kell telnie a mérések folytatásáig.
5. Az antenna típusa, helyzete és iránya
5.1. Antennatípus
Minden antennatípus használható, feltéve, hogy az antennatényezők a vonatkoztatási antennára átszámíthatók. Az antenna kalibrálásához a CISPR 12. kiadványa 6. kiadásának C. mellékletében leírt módszert kell alkalmazni.
5.2. Mérési magasság és távolság
5.1.2. Magasság
5.2.1.1. 10 m-es vizsgálat
Az antenna fázisközpontjának 3,00 ± 0,05 m-rel kell azon sík felett lennie, amelyen a jármű áll.
5.2.1.2. 3 m-es vizsgálat
Az antenna fázisközpontjának 1,80 ± 0,05 m-rel kell azon sík felett lennie, amelyen a jármű áll.
5.2.1.3. Az antenna egyetlen vevőrészének sem szabad 0,25 m-nél közelebb lennie azon síkhoz, amelyen a jármű áll.
5.2.2. Mérési távolság
5.2.2.1. 10 m-es vizsgálat
Az antenna csúcsának vagy az 5.1. pont szerinti átszámítási eljárás során meghatározott megfelelő pontjának vízszintesen 10,0 ± 0,2 m-re kell lennie a felépítmény külső felületétől.
5.2.2.2. 3 m-es vizsgálat
Az antenna csúcsának vagy az 5.1. pont szerinti átszámítási eljárás során meghatározott megfelelő pontjának vízszintesen 3,00 ± 0,05 m-re kell lennie a felépítmény külső felületétől.
5.2.2.3. Ha a vizsgálatot nagyfrekvenciás sugárzással szemben árnyékolt zárt létesítményben végzik, az antenna vevőelemeinek a sugárzáselnyelő anyagtól legalább 1,0 m távolságra, a zárt létesítmény falától pedig legalább 1,5 m távolságra kell elhelyezkedniük. A vevőantenna és a vizsgálandó jármű között nem lehet elnyelő anyag.
5.3. Az antenna helyzete a járműhöz képest
Az antennát egymás után a jármű bal, majd jobb oldalán kell felállítani, a jármű hosszirányú középsíkjával párhuzamosan és a motor közepével egy vonalban (lásd a 3. rész 7. pontjának 2. ábráját).
5.4. Az antenna elhelyezkedése
Minden mérési ponton méréseket kell végezni, egyszer az antenna vízszintes és egyszer az antenna függőleges polarizációjával (lásd a 3. rész 7. pontjának 2. ábráját).
5.5. Mért értékek
Az egyes rögzített frekvenciák jellemző értékének azt az értéket kell tekinteni, amelyik a legnagyobb az adott frekvenciánál az 5.3. és 5.4. pont szerint kapott négy leolvasás közül.
6. Frekvenciák
6.1. Mérések
A méréseket a 30 és 1 000 MHz közötti frekvenciatartományban kell elvégezni. E tartományt 13 sávra kell felosztani. Minden sávban egy rögzített frekvenciánál kell vizsgálni, hogy a megkívánt határértékek teljesülnek-e. Annak igazolására, hogy a jármű teljesíti az ebben a részben meghatározott követelményeket, a vizsgáló hatóság a következő 13 frekvenciasáv rögzített frekvenciapontjainál végez vizsgálatot:
30-50, 50-75, 75-100, 100-130, 130-165, 165-200, 200-250, 250-320, 320-400, 400-520, 520-660, 660-820, 820-1 000 MHz.
Amennyiben a vizsgálat során az értékek túllépik a határértéket, igazolni kell, hogy ezt a jármű okozta, és nem a háttérsugárzás.
5. RÉSZ
A járművek elektromágneses sugárzással szembeni zavartűrésének vizsgálati módszere
1. Általános tudnivalók
1.1. Az e részben leírt vizsgálati módszer csak járművek esetében alkalmazható.
1.2. Vizsgálati módszer E vizsgálat célja a jármű közvetlen irányításának esetleges károsodásokkal szembeni zavartűrésének kimutatása. A járművet az e részben leírt elektromágneses mezők hatásának kell kitenni. -----
2. Az eredmények kifejezése
Az e részben leírt vizsgálathoz az elektromos térerősséget V/m-ben kell kifejezni.
3. A mérés helye
A vizsgálólétesítménynek képesnek kell lennie arra, hogy az e részben meghatározott frekvenciatartományban a térerősséget előállítsa. A vizsgálólétesítménynek meg kell felelnie az elektromágneses jelek kibocsátására vonatkozó jogszabályi előírásoknak.
Ügyelni kell arra, hogy a vezérlő- és megfigyelő berendezést ne befolyásolják a sugárzási mezők olyan mértékben, hogy a vizsgálatokat érvénytelennek kelljen tekinteni.
4. A jármű állapota a vizsgálatok alatt
4.1. A járműnek - a szükséges vizsgálati felszerelés kivételével - terheletlen állapotúnak kell lennie.
4.1.1. A motor a hajtókerekeket rendes körülmények között a jármű legnagyobb sebessége háromnegyed részének megfelelő állandó fordulatszámon forgatja, amennyiben nincs olyan műszaki ok, amely miatt a gyártó más sebességet határozna meg. A jármű motorját megfelelő forgatónyomatékkal kell terhelni. Ha szükséges, az erőátviteli tengelyek szétkapcsolhatók (például olyan jármű esetében, amely kettőnél több tengellyel rendelkezik), feltéve, hogy azok nem hajtanak meg rádiózavart kibocsátó alkatrészt.
4.1.2. A tompított fényszórót be kell kapcsolni.
4.1.3. A bal vagy jobb oldali irányjelzőt be kell kapcsolni.
4.1.4. Minden más olyan rendszert, amely a járművezetőnek a jármű feletti irányítását befolyásolja, be kell kapcsolni ugyanúgy, mint a jármű szokásos működésekor.
4.1.5. A járműnek tilos a vizsgálati területtel elektromosan összekapcsolt állapotban lennie, és a jármű és bármely más berendezés között sem szabad kapcsolatnak lennie, a 4.1.1. vagy 4.2. pontban előírtakon kívül. A gumiabroncsoknak a vizsgáló tér padlózatával való érintkezését nem kell elektromos összeköttetésnek tekinteni.
4.2. Azon elektromos/elektronikus járműrendszerek esetében, amelyek a jármű feletti közvetlen irányítás lényeges részét képezik és a 4.1. pontban leírt feltételek mellett nincsenek működésben, a gyártó jelentést vagy kiegészítő bizonylatot bocsáthat a vizsgáló hatóság rendelkezésére arról, hogy a jármű elektromos/elektronikus rendszere kielégíti e rendelet követelményeit. Az ilyen dokumentumok a típus-jóváhagyási dokumentáció részét képezik
4.3. A jármű megfigyeléséhez zavarmentes berendezést kell használni. A jármű külső oldalát és utasterét egyaránt ellenőrizni kell annak eldöntéséhez, hogy e rész követelményei teljesülnek-e (ez történhet pl. egy vagy több videokamera segítségével).
4.4. A jármű rendszerint első részével a rögzített antenna felé fordulva áll. Ha azonban az elektronikus vezérlőegységek és a hozzájuk tartozó kábelezés nagyrészt a jármű hátsó részében található, a vizsgálatot a hátsó részével az antenna felé fordított járművön kell elvégezni. A hosszú járművek esetében (azaz a személygépkocsik és a kis tehergépkocsik kivételével), amelyeken az elektronikus vezérlőegységek és a hozzájuk tartozó kábelezés többnyire a jármű középső részén helyezkednek el, a jármű bal vagy jobb oldalán a jármű felületén meg lehet határozni egy vonatkoztatási pontot (lásd az 5.4. pontot). E vonatkoztatási pont a jármű hossztengelyének közepén vagy a gyártó által az elektronikus rendszerek elosztásának és a kábelezés elrendezésének figyelembevételével az illetékes hatósággal egyetértésben kiválasztott járműoldal valamely pontjában található.
Ilyen vizsgálat csak akkor végezhető, ha a helyiség kialakítása ezt megengedi. Az antenna helyzetét a vizsgálati jegyzőkönyvben fel kell jegyezni
5. A mezőt előállító berendezés típusa, helyzete és iránya
5.1. A mezőt előállító berendezés típusa
5.1.1. A mezőt előállító berendezés típusát úgy kell megválasztani, hogy a térerősség a vonatkoztatási pontban (lásd az 5.4. pontot) a megfelelő frekvenciákon elérje a kívánt értéket.
5.1.2. A mezőt előállító berendezés antenna vagy mezőgenerátor lehet (transmission line system).
5.1.3. A mezőt előállító berendezés felépítésének és irányának olyannak kell lennie, hogy az előállított mező 20 és 2 000 MHz között vízszintesen vagy függőlegesen polarizált legyen.
5.2. Mérési magasság és távolság
5.2.1. Magasság
5.2.1.1. A mindenkori antenna fázisközpontjának legalább 1,5 m-rel azon sík felett kell lennie, amelyen a jármű áll, illetve legalább 2,0 m-rel azon sík felett, amelyen a jármű áll, ha a jármű tetejének a magassága meghaladja a 3 m-t.
5.2.1.2. Az antenna egyetlen sugárzó részének sem szabad 0,25 m-nél közelebb lennie azon síkhoz, amelyen a jármű áll.
5.2.2. Mérési távolság
5.2.2.1. A valós üzemi feltételeket úgy lehet a legjobban megközelíteni, hogy a mezőt előállító berendezést a járműtől a lehető legtávolabb helyezik el. E távolságnak 1 és 5 m között kell lennie.
5.2.2.2. Ha a vizsgálatot zárt vizsgálati létesítményben végzik, a mezőt előállító berendezés sugárzó elemeinek a sugárzáselnyelő anyagtól legalább 1,0 m távolságra, a zárt létesítmény falától pedig legalább 1,5 m távolságra kell elhelyezkedniük. A sugárzó antenna és a vizsgálandó jármű között nem lehet elnyelő anyag.
5.3. Az antenna helyzete a járműhöz képest
5.3.1. A mezőt előállító berendezés sugárzó elemeinek legalább 0,5 m távolságban kell lenniük a járműfelépítmény külső felületétől.
5.3.2. A mezőt előállító berendezést a jármű középvonalában (a hosszirányú középsík) kell elhelyezni.
5.3.3. A mezőgenerátor egyetlen része sem lehet 0,5 m-nél közelebb a jármű egyetlen részéhez sem, azon sík kivételével, amelyen a jármű áll.
5.3.4. Minden, a jármű felett elhelyezett, mezőt előállító berendezésnek hossztengelyben a jármű hosszának legalább 75 %-át ki kell tennie.
5.4. Vonatkoztatási pont
5.4.1. E rész alkalmazásában a vonatkoztatási pont az a pont, ahol a térerősséget kell mérni, és amely helye a következőképpen van meghatározva:
5.4.1.1. legalább 2 m vízszintesen az antenna fázisközéppontjától vagy legalább 1 m függőlegesen a mezőgenerátor sugárzó elemeitől;
5.4.1.2. a jármű középvonalában (a hosszirányú középsík);
5.4.1.3. 1,0 ± 0,05 m magasságban azon sík felett, amelyen a jármű áll, vagy attól 2,0 ± 0,05 m-re, ha a modellsorozat bármely járművének legkisebb tetőmagassága meghaladja a 3,0 m-t;
5.4.1.4. az első világítás esetében vagy:
- 1,0 ± 0,2 m a járművön belül, a szélvédő és a motorháztető metszéspontjától mérve (lásd a C. pontot a 8. pont 1. ábráján), vagy
- 0,2 ± 0,2 m a traktor első tengelyének középvonalától a traktor középpontja felé mérve (lásd a D. pontot a 8. pont 2. ábráján),
aszerint, hogy melyik változat adja az antennához közelebb eső vonatkoztatási pontot;
5.4.1.5. a hátsó világítás esetében vagy:
- 1,0 ± 0,2 m a járművön belül, a szélvédő és a motorháztető metszéspontjától mérve (lásd a C. pontot a 8. pont 1. ábráján), vagy
- 0,2 ± 0,2 m a traktor hátsó tengelyének középvonalától a traktor középpontja felé mérve (lásd a D. pontot a 8. pont 2. ábráján),
aszerint, hogy melyik változat adja az antennához közelebb eső vonatkoztatási pontot.
5.5. Amennyiben úgy döntenek, hogy a jármű hátsó részét sugározzák be, a vonatkoztatási pontot az 5.4. pont szerint kell meghatározni. A járművet ekkor az antennától elfordítva kell felállítani és olyan helyzetbe kell hozni, mintha vízszintesen 180°-kal elforgatták volna a középpontja körül, azaz az antenna és a jármű felépítményének legközelebbi része közötti távolság változatlan marad, ahogyan az a 8. rész 3. ábráján is látható.
6. Vizsgálati követelmények
6.1. Frekvenciatartomány, tartózkodási idők, polarizálás
A járművet elektromágneses mező hatásának kell kitenni a 20- 2 000 MHz frekvenciatartományban.
6.1.1. Az e részben szereplő előírások teljesülésének igazolására a járművet e tartományon belül legfeljebb 14 rögzített frekvenciánál kell megvizsgálni, például 27, 45, 65, 90, 120, 150, 190, 230, 280, 380, 450, 600, 750, illetve 900 MHz-en, a 1 000 -2 000 MHz tartományban pedig az ISO 11451-1 szabvány 2005. évi 3. kiadásának 1:2008 módosításában meghatározott lépésközöknek megfelelően.
6.1.2. Minden egyes frekvencián csak egy polarizálási síkot kell használni - lásd az 5.1.3. pontot.
6.1.3. Minden más vizsgálati paraméter meg kell, hogy feleljen az e részben leírtaknak.
6.1.4. Ha egy jármű a 6.1.1. pont szerinti vizsgálaton nem felel meg, a műszaki szolgálatnak meg kell bizonyosodnia arról, hogy a meg nem felelés a releváns vizsgálati feltételekre és nem a szabályozás nélküli mezők előállítására vezethető vissza.
7. A szükséges térerősség előállítása
7.1. Vizsgálati módszer
7.1.1. A vizsgálati mező feltételeinek eléréséhez a "helyettesítési módszert" kell alkalmazni.
7.1.2. Kalibrálási szakasz Minden vizsgálati frekvenciánál akkora energiával kell a mezőt előállító berendezést táplálni, hogy a vizsgálati térerősséget az 5. pont szerinti vonatkoztatási pontnál - de a jármű nélkül - el lehessen érni. A mező előállítására közvetlenül vonatkozó előremenő teljesítményt vagy más paramétereket meg kell mérni, és az értékeket fel kell jegyezni. A vizsgálati frekvenciáknak 20 és 2 000 MHz közötti tartományban kell lenniük. A kalibrálás 20 MHz-nél kezdődik, az előző lépésnél legfeljebb 2 %-kal nagyobb frekvencialépésekben kerül végrehajtásra, és 2 000 MHz-nél ér véget. A típus-jóváhagyási vizsgálathoz mindaddig ezeket az értékeket kell felhasználni, amíg a létesítményekben vagy felszerelésekben nem hajtanak végre olyan változtatásokat, amelyek az eljárás megismétlését teszik szükségessé.
7.1.3. Vizsgálati szakasz A járművet az vizsgálólétesítményben kell elhelyezni, és az 5. pont követelményeinek megfelelően kell felállítani. A 7.1.2. pontban megállapított szükséges előremenő teljesítményt minden, a 6.1.1. pontban megállapított frekvenciánál be kell táplálni a mezőt előállító berendezésbe.
7.1.4. Függetlenül attól, hogy a 7.1.2. pont szerint milyen paramétert választottak a mező meghatározásához, ugyanazt a paramétert kell alkalmazni a vizsgálat során a térerősség megállapításához.
7.1.5. A mezőt előállító berendezésnek és elrendezésének a vizsgálat során ugyanazon előírásoknak kell megfelelnie, mint a 7.1.2. pont szerint elvégzett műveletek alatt.
7.1.6. Térerősségmérő berendezés A térerősség meghatározásához a helyettesítési módszer kalibrálási szakaszában megfelelő, kompakt térerősségmérő berendezést kell használni.
7.1.7. A helyettesítési módszer kalibrálási szakaszában a mezőt előállító berendezés fázisközpontját a vonatkoztatási pont helyzetébe kell hozni.
7.1.8. Ha kalibrált vevőantennát használnak térerősségmérő berendezésként, az értékeket három egymásra merőleges irányban kell leolvasni, és a térerősséget ezek izotrópikus egyenértéke adja.
7.1.9. Az eltérő járműgeometriák figyelembevételéhez egy adott vizsgálólétesítmény esetében több antennahelyzet vagy vonatkoztatási pont meghatározására lehet szükség.
7.2. A térerősség körvonala
7.2.1. A helyettesítési módszer kalibrálási szakaszában (mielőtt a járművet a vizsgálati területre viszik) a térerősségnek a kalibrálási lépések 80 %-ában legalább a névleges térerősség 50 %-át kell elérnie a következő helyeken:
a) minden mezőt előállító berendezés esetében 0,5 ± 0,05 m-re a vonatkoztatási pont mindkét oldalán a vonatkoztatási ponton áthaladó vonalon és a vonatkoztatási ponttal azonos magasságban, a jármű hosszirányú középsíkjára merőlegesen;
b) mezőgenerátor esetében 1,50 ± 0,05 m-re a vonatkoztatási ponton áthaladó egyik vonalon és a vonatkoztatási ponttal azonos magasságban, a jármű hosszirányú középvonala mentén.
7.3. Csarnokrezonancia
A 7.2.1. pontban meghatározott feltételektől függetlenül a csarnokrezonancia-frekvenciákon nem lehet vizsgálatot végezni.
7.4. Az előállítandó vizsgálati jel jellemzői
A járművet elektromágneses sugárzásnak kell kitenni a 20-2 000 MHz frekvenciatartományban, függőleges polarizáció mellett.
7.4.1. Legnagyobb modulációs kilengés
A legnagyobb modulációs kilengésnek a moduláció nélküli szinuszjel maximális értékével kell megegyeznie, amelynek értékét négyzetes középértékként (rms) V/m-ben kell meghatározni a 2. rész 3.4.2. pontja szerint (lásd e rész 3. ábráját).
7.4.2. A vizsgálójel alakja
A vizsgálójel-moduláció:
a) amplitúdómoduláció (AM), 1 kHz modulációval és 80 %-os modulációs mélységgel (m = 0,8 ± 0,04) a 20-1 000 MHz frekvenciatartományban (az ebben a részben található 3. ábra szerint) és
b) impulzusmoduláció (PM), ahol t = 577 μs, a periódus = 4 600 μs, az 1 000 -2 000 MHz frekvenciatartományban, az ISO 11451-1 szabvány 2005. évi 3. kiadásának 1:2008 módosítása szerint.
7.4.3. Modulációs fok
A moduláció fokát (m) a következő képlettel kell meghatározni:
m = [Kép #5] .

Kép #5
7.4.4. Expozíciós idő
Az expozíciós időnek minden vizsgálati frekvencia esetében kellően hosszúnak kell lennie ahhoz, hogy a vizsgált jármű számára lehetővé tegye a szokásos feltételek közötti reagálást. Az expozíciós idő semmi esetre sem lehet 2 másodpercnél rövidebb.
8. Ábrák
1. ábra

2. ábra

3. ábra
Az előállítandó vizsgálati jel jellemzői

6. RÉSZ
Az elektromos/elektronikus szerelési egységekből kisugárzott széles sávú elektromágneses kibocsátások mérési módszere
1. Általános tudnivalók
1.1. Az e részben leírt vizsgálati módszer azon elektromos/elektronikus szerelési egységek esetében alkalmazható, amelyeket később a 3. résznek megfelelő járművekbe lehet beépíteni.
1.2. Mérőberendezés
A mérőberendezésnek meg kell felelnie a Nemzetközi Rádiózavar Különbizottság (CISPR) 16-1. kiadványában meghatározott követelményeknek.
A széles sávú elektromágneses kibocsátásokat e rész szerint kvázi csúcsértékdetektorral kell megmérni, csúcsértékdetektor alkalmazása esetén pedig megfelelő korrekciós tényezőt kell figyelembe venni a zavaró impulzusráta függvényében.
1.3. Vizsgálati módszer E vizsgálat az elektromos/elektronikus szerelési egységekből jövő széles sávú elektromágneses kibocsátások mérésére szolgál.
2. Az eredmények kifejezése
A mérési eredményeket dB μV/m-ben (μV/m) kell megadni 120 kHz sávszélességre. Ha meghatározott frekvenciáknál a mérőberendezés tényleges B sávszélessége (kHz-ben) eltér a 120 kHz-től, a mért értékeket 120 kHz sávszélességre kell átszámítani 120/B szorzótényezővel.
3. A mérés helye
3.1. A mérési helynek meg kell felelnie a CISPR 16-1. kiadványa feltételeinek (lásd a 7. pontot).
3.2. A mérőkészüléknek, a vizsgálófülkének vagy a járműnek, amelyben a mérőkészüléket elhelyezik, a 7. pontban bemutatott határvonalon kívül kell elhelyezkednie.
3.3. Zárt vizsgálólétesítményeket akkor lehet alkalmazni, ha a zárt vizsgálólétesítmény és a jóváhagyott kültéri mérési hely között korreláció mutatható ki. A zárt vizsgálólétesítményeknek a 7. pont szerinti méretkövetelményeket nem kell kielégíteniük, kivéve az antenna és a elektromos/elektronikus szerelési egység közötti távolságra és az antenna magasságára vonatkozó előírásokat (lásd a 8. pont 1. és 2. ábráját).
3.4. Környezet Annak érdekében, hogy ne legyen olyan nagyságú külső zaj vagy jel, amely az eredményeket észrevehetően befolyásolja, a fő vizsgálat előtt és után méréseket kell végezni. Mindkét mérésnél a külső zajnak vagy jelnek legalább 10 dB-lel a 2. rész 3.5.2.1. pontja szerinti interferencia-határérték alatt kell lennie, kivéve a keskeny sávú környezeti jelek szándékos átvitelét.
4. Az elektromos/elektronikus szerelési egységek állapota a vizsgálatok alatt
4.1. A vizsgálandó elektromos/elektronikus szerelési egységeknek rendes üzemi állapotban kell lenniük.
4.2. Ha eső vagy más csapadék esik a vizsgálandó elektromos/elektronikus szerelési egységre, nem szabad méréseket végezni; az eső vagy más csapadék megszűnése után 10 percnek el kell telnie a mérések folytatásáig.
4.3. Vizsgálati elrendezések
4.3.1. A vizsgálandó elektromos/elektronikus szerelési egységeket és a kábelezését 50 ± 5 mm-rel a fából vagy azzal egyenértékű nem vezető anyagból készült asztal felett kell elhelyezni. Ha azonban a vizsgálandó elektromos/elektronikus szerelési egység egy része arra szolgál, hogy a fém járműfelépítményével elektromosan össze legyen kapcsolva, akkor e részt az alaplapra kell helyezni, és elektromosan az alaplappal össze kell kapcsolni. Az alaplapnak legalább 0,5 mm vastag fémlemezből kell készülnie. Az alaplap legkisebb mérete a vizsgálandó elektromos/elektronikus szerelési egység méretétől függ, de a kábelezést és az elektromos/elektronikus szerelési egység alkatrészeinek beépítését lehetővé kell tennie. Az alaplapot a földelési rendszer védővezetőjével össze kell kötni. Az alaplapot a vizsgálólétesítmény padlója felett 1,0 ± 0,1 m magasságban, azzal párhuzamosan kell elhelyezni.
4.3.2. A vizsgálandó elektromos/elektronikus szerelési egységet a követelményeinek megfelelően kell beépíteni és bekötni. Az áramellátó tápkábeleket az alaplap/asztal legközelebbi pereme mentén az antennától legfeljebb 100 mm távolságban kell elhelyezni.
4.3.3. A vizsgálandó elektromos/elektronikus szerelési egységet a gyártó beépítési utasításai szerint kell összekötni a testrendszerrel; kiegészítő testösszeköttetések használata nem megengedett.
4.3.4. A vizsgálandó elektromos/elektronikus szerelési egység és a többi vezető rendszer, mint pl. az árnyékolt helyiség falai közötti minimális távolságnak (a vizsgálandó egység alatti alaplap/asztal kivételével) 1,0 m-nek kell lennie.
4.4. A vizsgálandó elektromos/elektronikus szerelési egység áramellátása a vonali impedanciát stabilizáló 5 μH/50 Ω hálózaton keresztül (VISH) történik, amely az alaplappal elektromosan össze van kötve. Az elektromos tápfeszültséget a névleges üzemi feszültség ±10 % értéken belül kell tartani. A búgásfeszültségnek a névleges üzemi feszültség 1,5 %-ánál kisebbnek kell lennie a VISH mérési kimeneten mérve.
4.5. Ha a vizsgálandó elektromos/elektronikus szerelési egység egynél több részből áll, az összekötő kábel elméletileg a járművön használt kábelköteg. Ha ez nem áll rendelkezésre, az elektronikus vezérlőegység és a VISH közötti távolságnak 1 500 ± 75 mm-nek kell lennie.
Az összes kábelnek lehetőleg valós lezárásokkal kell rendelkeznie, lehetőség szerint valódi terhelésekkel és működetőelemekkel.
Ha a vizsgálandó elektromos/elektronikus szerelési egység megfelelő működéséhez egy nem ehhez tartozó felszerelésre van szükség, úgy ennek hozzájárulását a mért kibocsátásokhoz ki kell egyenlíteni.
5. Az antenna típusa, helyzete és iránya
5.1. Antennatípus
Minden lineárisan polarizált antenna felhasználható, feltéve, hogy az antennatényezők a vonatkoztatási antennára átszámíthatók.
5.2. Mérési magasság és távolság
5.2.1. Magasság
Az antenna fázisközpontjának 150 ± 10 mm-rel kell az alaplap felett lennie.
5.2.2. Mérési távolság
A fázisközponttól, illetve az antenna csúcsától az alaplap pereméig mért vízszintes távolságnak 1,00 ± 0,05 m-nek kell lennie. Az antenna egyetlen része sem lehet 0,5 m-nél közelebb az alaplaphoz.
Az antennát azon síkkal párhuzamosan kell elhelyezni, amely az alaplapra merőleges, és a kábelezés fő része mentén egybeesik az alaplap peremével.
5.2.3. Ha a vizsgálatot nagyfrekvenciás sugárzással szemben árnyékolt zárt létesítményben végzik, az antenna vevőelemeinek a sugárzáselnyelő anyagtól legalább 0,5 m távolságra, a zárt létesítmény falától pedig legalább 1,5 m távolságra kell elhelyezkedniük. A vevőantenna és a vizsgálandó elektromos/elektronikus szerelési egység között nem lehet elnyelő anyag.
5.3. Az antenna iránya és polarizációja
A mérési ponton méréseket kell végezni, mind az antenna függőleges, mind az antenna vízszintes polarizációjával.
5.4. Mért értékek
Az egyes rögzített frekvenciák jellemző értékének azt az értéket kell tekinteni, amelyik a legnagyobb az adott frekvenciánál az 5.3. pont szerint kapott két leolvasás közül.
6. Frekvenciák
6.1. Mérések
A méréseket a 30 és 1 000 MHz közötti frekvenciatartományban kell elvégezni. Úgy kell tekinteni, hogy az elektromos/elektronikus szerelési egység valószínűleg az egész frekvenciatartományra vonatkozóan teljesíti a kívánt előírásokat, ha a következő 13 rögzített frekvenciánál megfelel a határértékeknek: 45, 65, 90, 120, 150, 190, 230, 280, 380, 450, 600, 750 és 900 MHz.
Amennyiben a vizsgálat során az értékek túllépik a határértéket, igazolni kell, hogy ezt az elektromos/elektronikus szerelési egység okozta, és nem a háttérsugárzás.
6.1.1. A határértékek a teljes 30-1 000 MHz frekvenciatartományban érvényesek.
6.1.2. A méréseket kvázi csúcsérték- vagy csúcsértékdetektorokkal lehet elvégezni. A 2. rész 3.2 és 3.5. pontjában szereplő határértékek a kvázi csúcsértékmérésekre érvényesek. Ha a mérés csúcsértékkel történik, 1 MHz sávszélességnél 38 dB-t hozzá kell adni, 1 kHz sávszélességnél pedig 22 dB-t le kell vonni.
6.2. Tűrések
Rögzített frekvencia (MHz) | Tűrés (MHz) |
45, 65, 90, 120, 150, 190 és 230 | ±5 |
280, 380, 450, 600, 750 és 900 | ±20 |
A tűrések a felsorolt rögzített frekvenciákra érvényesek, és lehetővé teszik az olyan adókból eredő interferencia elkerülését, amelyek az említett rögzített frekvenciákon vagy azok közelében működnek a mérés idején.
7. Vizsgálati terület határa elektromos/elektronikus szerelési egységek számára
Szabad, elektromágnesesen visszaverő felületektől mentes terület

8. Kisugárzott elektromágneses kibocsátások a vizsgálatokon
1. ábra
Az elektromos/elektronikus szerelési egység által kisugárzott elektromágneses kibocsátások - vizsgálati elrendezés (felülnézet)

2. ábra
Az elektromos/elektronikus szerelési egység által kisugárzott elektromágneses kibocsátások - a vizsgálati elrendezés hosszmetszete

7. RÉSZ
Az elektromos/elektronikus szerelési egységekből kisugárzott keskeny sávú elektromágneses kibocsátások mérési módszere
1. Általános tudnivalók
1.1. Az e részben leírt vizsgálati módszer csak elektromos/elektronikus szerelési egységek esetében alkalmazható.
1.2. Mérőberendezés
A mérőberendezésnek meg kell felelnie a Nemzetközi Rádiózavar Különbizottság (CISPR) 16-1. kiadványában meghatározott követelményeknek.
A keskeny sávú elektromágneses kibocsátások e rész szerinti mérésére egy középérték- vagy egy csúcsértékdetektort kell alkalmazni.
1.3. Vizsgálati módszer
1.3.1. E vizsgálat a mikroprocesszoros alapú rendszerből kiinduló keskeny sávú elektromágneses kibocsátások mérésére szolgál.
1.3.2. Rövid (2-3 perc) kiindulási lépésként megengedett - egy kiválasztott antennapolarizációnál - a 6.1. pont szerinti frekvenciatartomány spektrumelemző segítségével történő letapogatása a csúcskibocsátások megléte és/vagy frekvenciája megállapítása céljából. Ez segítséget nyújthat a vizsgálandó frekvencia kiválasztásánál (lásd a 6. pontot).
2. Az eredmények kifejezése
A mérési eredményeket dB μV/m-ben (μV/m) kell megadni.
3. A mérés helye
3.1. A mérési helynek meg kell felelnie a CISPR 16-1. kiadványa feltételeinek (lásd a 6. rész 7. pontját).
3.2. A mérőkészüléknek, a vizsgálófülkének vagy a járműnek, amelyben a mérőkészüléket elhelyezik, a 6. rész 7. pontjában bemutatott határvonalon kívül kell elhelyezkednie.
3.3. Zárt vizsgálólétesítményeket akkor lehet alkalmazni, ha a zárt vizsgálólétesítmény és a kültéri mérési hely között korreláció mutatható ki. A zárt vizsgálólétesítményeknek a 6. rész 7. pontja szerinti méretkövetelményeket nem kell kielégíteniük, kivéve az antenna és a elektromos/elektronikus szerelési egység közötti távolságra és az antenna magasságára vonatkozó előírásokat (lásd a 6. rész 8. pontjának 1. és 2. ábráját).
3.4. Környezet Annak érdekében, hogy ne legyen olyan nagyságú külső zaj vagy jel, amely az eredményeket észrevehetően befolyásolja, a fő vizsgálat előtt és után méréseket kell végezni. Mindkét mérésnél a külső zajnak vagy jelnek legalább 10 dB-lel a 2. rész 3.6.2.1. pontja szerinti interferencia-határérték alatt kell lennie, kivéve a keskeny sávú környezeti jelek szándékos átvitelét.
4. Az elektromos/elektronikus szerelési egységek állapota a vizsgálatok alatt
4.1. A vizsgálandó elektromos/elektronikus szerelési egységeknek rendes üzemi állapotban kell lenniük.
4.2. Ha eső vagy más csapadék esik a vizsgálandó elektromos/elektronikus szerelési egységre, nem szabad méréseket végezni; az eső vagy más csapadék megszűnése után 10 percnek el kell telnie a mérések folytatásáig.
4.3. Vizsgálati elrendezések
4.3.1. A vizsgálandó elektromos/elektronikus szerelési egységeket és a kábelezését 50 ± 5 mm-rel a fából vagy azzal egyenértékű nem vezető anyagból készült asztal felett kell elhelyezni. Ha azonban a vizsgálandó elektromos/elektronikus szerelési egység egy része arra szolgál, hogy a fém járműfelépítményével elektromosan össze legyen kapcsolva, akkor e részt az alaplapra kell helyezni, és elektromosan az alaplappal össze kell kapcsolni.
Az alaplapnak legalább 0,5 mm vastag fémlemezből kell készülnie. Az alaplap legkisebb mérete a vizsgálandó elektromos/elektronikus szerelési egység méretétől függ, de a kábelezést és az elektromos/elektronikus szerelési egység alkatrészeinek beépítését lehetővé kell tennie. Az alaplapot a földelési rendszer védővezetőjével össze kell kötni. Az alaplapot a vizsgálólétesítmény padlója felett 1,0 ± 0,1 m magasságban, azzal párhuzamosan kell elhelyezni.
4.3.2. A vizsgálandó elektromos/elektronikus szerelési egységet a követelményeinek megfelelően kell beépíteni és bekötni. Az áramellátó tápkábeleket az alaplap/asztal legközelebbi pereme mentén az antennától legfeljebb 100 mm távolságban kell elhelyezni.
4.3.3. A vizsgálandó elektromos/elektronikus szerelési egységet a gyártó beépítési utasításai szerint kell összekötni a testrendszerrel; kiegészítő testösszeköttetések használata nem megengedett.
4.3.4. A vizsgálandó elektromos/elektronikus szerelési egység és a többi vezető rendszer, mint pl. az árnyékolt helyiség falai közötti minimális távolságnak (a vizsgálandó egység alatti alaplap/asztal kivételével) 1,0 m-nek kell lennie.
4.4. A vizsgálandó elektromos/elektronikus szerelési egység áramellátása a vonali impedanciát stabilizáló 5 μH/50 Ω ellenállású hálózaton keresztül (VISH) történik, amely az alaplappal elektromosan össze van kötve. Az elektromos tápfeszültséget a névleges üzemi feszültség ±10 % értéken belül kell tartani. A búgásfeszültségnek a névleges üzemi feszültség 1,5 %-ánál kisebbnek kell lennie a VISH mérési kimeneten mérve.
4.5. Ha a vizsgálandó elektromos/elektronikus szerelési egység egynél több részből áll, az összekötő kábel elméletileg a járművön használt kábelköteg. Ha ez nem áll rendelkezésre, az elektronikus vezérlőegység és a VISH közötti távolságnak 1 500 ± 75 mm-nek kell lennie. Az összes kábelnek lehetőleg valós lezárásokkal kell rendelkeznie, lehetőség szerint valódi terhelésekkel és működetőelemekkel. Ha a vizsgálandó elektromos/elektronikus szerelési egység megfelelő működéséhez egy nem ehhez tartozó felszerelésre van szükség, úgy ennek hozzájárulását a mért kibocsátásokhoz ki kell egyenlíteni.
5. Az antenna típusa, helyzete és iránya
5.1. Antennatípus
Minden lineárisan polarizált antenna felhasználható, feltéve, hogy az antennatényezők a vonatkoztatási antennára átszámíthatók.
5.2. Mérési magasság és távolság
5.2.1. Magasság
Az antenna fázisközpontjának 150 ± 10 mm-rel kell az alaplap felett lennie.
5.2.2. Mérési távolság
A fázisközponttól, illetve az antenna csúcsától az alaplap pereméig mért vízszintes távolságnak 1,00 ± 0,05 m-nek kell lennie. Az antenna egyetlen része sem lehet 0,5 m-nél közelebb az alaplaphoz.
Az antennát azon síkkal párhuzamosan kell elhelyezni, amely az alaplapra merőleges, és a kábelezés fő része mentén egybeesik az alaplap peremével.
5.2.3. Ha a vizsgálatot nagyfrekvenciás sugárzással szemben árnyékolt zárt létesítményben végzik, az antenna vevőelemeinek a sugárzáselnyelő anyagtól legalább 0,5 m távolságra, a zárt létesítmény falától pedig legalább 1,5 m távolságra kell elhelyezkedniük. A vevőantenna és a vizsgálandó elektromos/elektronikus szerelési egység között nem lehet elnyelő anyag.
5.3. Az antenna iránya és polarizációja
A mérési ponton méréseket kell végezni, mind az antenna függőleges, mind az antenna vízszintes polarizációjával.
5.4. Mért értékek
Az egyes rögzített frekvenciák jellemző értékének azt az értéket kell tekinteni, amelyik a legnagyobb az adott frekvenciánál az 5.3. pont szerint kapott két leolvasás közül.
6. Frekvenciák
6.1. Mérések
A méréseket a 30 és 1 000 MHz közötti frekvenciatartományban kell elvégezni. E tartományt 13 sávra kell felosztani. Minden sávban egy rögzített frekvenciánál kell vizsgálni, hogy a megkívánt határértékek teljesülnek-e. Annak igazolására, hogy a vizsgálandó elektromos/elektronikus szerelési egység teljesíti az ebben a részben meghatározott követelményeket, a vizsgáló hatóság a következő 13 frekvenciasáv rögzített frekvenciapontjainál végez vizsgálatot:
30-50, 50-75, 75-100, 100-130, 130-165, 165-200, 200-250, 250-320, 320-400, 400-520, 520-660, 660-820, 820-1 000 MHz.
Amennyiben a vizsgálat során az értékek túllépik a határértéket, igazolni kell, hogy ezt a vizsgálandó elektromos/elektronikus szerelési egység okozta, és nem a háttérsugárzás.
6.2. Ha az 1.3. pont szerint végrehajtott kiindulási művelet során a 6.1. pontban felsorolt bármely sávra vonatkozó kisugárzott keskeny sávú kibocsátások legalább 10 dB-lel a vonatkoztatási határérték alatt vannak, úgy e melléklet követelményei teljesítettnek minősülnek az elektromos/elektronikus szerelési egység részéről a vonatkozó frekvenciasávra nézve.
8. RÉSZ
Az elektromos/elektronikus szerelési egységek elektromágneses sugárzással szembeni zavartűrésének vizsgálati módszere
1. Általános tudnivalók
1.1. Az e részben leírt vizsgálati módszer(ek) csak elektromos/elektronikus szerelési egységek esetében alkalmazható(k).
1.2. Vizsgálati módszerek
1.2.1. Az elektromos/elektronikus szerelési egységek a gyártó választása szerint a következő vizsgálati módszerek bármilyen kombinációjának követelményeit kielégíthetik, feltéve, hogy az 5.1. pont szerinti teljes frekvenciatartományt lefedik:
- vizsgálat a szalagvezetékben: lásd a 11. pontot,
- vizsgálat árambetáplálással: lásd a 12. pontot,
- vizsgálat a TEM-cellában: lásd a 13. pontot,
- elnyelőkamrás vizsgálat: lásd a 14. pontot.
1.2.2. Az elektromágneses mezők e vizsgálatok során történő sugárzása miatt valamennyi vizsgálatot árnyékolt térben, például TEM-cellában kell elvégezni.
2. Az eredmények kifejezése
Az e részben leírt vizsgálatokhoz a térerősségeket V/m-ben, a betáplált áramot pedig mA-ben kell megadni.
3. A mérés helye
3.1. A vizsgálólétesítménynek képesnek kell lennie a vizsgálójelet az e részben megállapított frekvenciatartományokban előállítani. A vizsgálólétesítménynek meg kell felelnie az elektromágneses jelek kibocsátására vonatkozó jogszabályi előírásoknak.
3.2. A mérőberendezést a kamrán kívül kell elhelyezni.
4. Az elektromos/elektronikus szerelési egységek állapota a vizsgálatok alatt
4.1. A vizsgálandó elektromos/elektronikus szerelési egységeknek rendes üzemi állapotban kell lenniük. A vizsgálandó elektromos/elektronikus szerelési egységet az e részben szereplő adatok szerint kell elrendezni, kivéve, ha egyedi vizsgálati módszerek másként rendelkeznek.
4.2. A vizsgálandó elektromos/elektronikus szerelési egység áramellátása a vonali impedanciát stabilizáló 5 μH/50 Ω hálózaton keresztül (VISH) történik, amelyet elektromosan földelni kell. Az elektromos tápfeszültséget a névleges üzemi feszültség ±10 % értéken belül kell tartani. A búgásfeszültségnek a névleges üzemi feszültség 1,5 %-ánál kisebbnek kell lennie a VISH mérési kimeneten mérve.
4.3. Minden, a vizsgálandó elektromos/elektronikus szerelési egység működéséhez szükséges külső elektromos felszerelésnek a kalibrálási fázis alatt a helyén kell lennie. Az ilyen felszerelés nem lehet 1 m-nél közelebb a vonatkoztatási ponthoz a kalibrálás alatt.
4.4. Annak biztosítására, hogy a vizsgálatok és mérések megismétlésénél reprodukálható mérési eredményeket kapjunk, a vizsgálójel előállítására szolgáló berendezésnek és elrendezésének ugyanazon leírásnak kell megfelelnie, mint amelyet az idetartozó kalibrálási szakasz alatt kell használni (lásd a 7.2., 7.3.2.3., 8.4., 9.2. és 10.2. pontot).
4.5. Ha a vizsgálandó elektromos/elektronikus szerelési egység egynél több részből áll, az összekötő kábel elméletileg a járművön használt kábelköteg. Ha ez nem áll rendelkezésre, az elektronikus vezérlőegység és a VISH közötti távolságnak 1 500 ± 75 mm-nek kell lennie. Az összes kábelnek lehetőleg valós lezárásokkal kell rendelkeznie, lehetőség szerint valódi terhelésekkel és működetőelemekkel.
5. Frekvenciatartomány, tartózkodási idők
5.1. A méréseket a 20 és 1 000 MHz közötti frekvenciatartományban kell elvégezni.
5.2. Az e részben szereplő előírások teljesülésének igazolására a vizsgálatokat legfeljebb 14 rögzített frekvencián kell elvégezni ebben a tartományban, például:
27, 45, 65, 90, 120, 150, 190, 230, 280, 380, 450, 600, 750 és 900 MHz.
A vizsgálóberendezés válaszidejét tekintetbe kell venni, és a tartózkodási időnek az egyes frekvenciáknál elegendőnek kell lennie ahhoz, hogy a vizsgálóberendezés számára lehetővé tegye a szokásos feltételek közötti reagálást. A tartózkodási idő nem lehet 2 másodpercnél rövidebb.
6. Az előállítandó vizsgálati jel jellemzői
6.1. Legnagyobb modulációs kilengés
A legnagyobb modulációs kilengésnek a moduláció nélküli szinusz jel maximális értékével kell megegyeznie, amelynek értékét négyzetes középértékként (rms) a 2. rész 3.4.2. pontja szerint kell meghatározni (lásd az 5. rész 8. pontjának 3. ábráját).
6.2. A vizsgálójel alakja
A vizsgálójelnek nagyfrekvenciás szinuszhullámnak kell lennie, amplitúdómodulációval 1 kHz-es szinuszjellel, 0,8 ± 0,04 modulációs fokkal (m).
6.3. Modulációs fok
A moduláció fokát (m) a következő képlettel kell meghatározni:
m = [Kép #6] .

Kép #6
7. Vizsgálat a szalagvezetékben
7.1. Vizsgálati módszer
Ez a vizsgálati módszer abban áll, hogy az elektromos/elektronikus szerelési egység elemeit egymással összekötő kábelkötegeket megállapított térerősségű besugárzásból teszik ki.
7.2. Térerősségmérés a szalagvezetékben
Minden kívánt vizsgálati frekvenciánál annyi energiát kell a vezetékbe táplálni, hogy a vizsgálati térben a szükséges térerősséget - a vizsgálandó elektromos/elektronikus szerelési egység nélkül - elérjék; a mező előállításához szükséges előremenő teljesítményre közvetlenül vonatkozó teljesítményt vagy egy másik paramétert le kell mérni, és az értékeket fel kell jegyezni. A típus-jóváhagyási vizsgálathoz mindaddig ezeket az értékeket kell felhasználni, amíg a létesítményekben vagy felszerelésekben nem hajtanak végre olyan változtatásokat, amelyek az eljárás megismétlését teszik szükségessé. Ezen eljárás folyamán a térerősségmérőt az aktív vezeték alatt hosszirányban, függőlegesen és keresztirányban kell elhelyezni. Az érzékelőfej elektronikája burkolatának a szalagvezeték hossztengelyétől minél távolabb kell lennie.
7.3. A vizsgálandó elektromos/elektronikus szerelési egység beépítése
7.3.1. Vizsgálat a 150 mm-es szalagvezetékben
A vizsgálati módszer lehetővé teszi homogén mezők előállítását egy aktív vezető (a szalagvezeték 50 Ω impedanciával) és egy alaplap között (a felszerelési asztal vezető felülete), amelyek közé kell elhelyezni a kábelköteg egy részét. A vizsgálandó elektromos/elektronikus szerelési egység elektronikus vezérlőegysége(i)nek az alaplapon kell lenniük, de a szalagvezetéken kívül, egyik peremükkel a szalagvezeték vezető sávjával párhuzamosan elhelyezve. 200 ± 10 mm távolságra kell lennie egy közvetlenül az aktív vezető pereme alatt lévő vonaltól.
A perifériális mérőberendezés távolságának a vezető sáv bármelyik peremétől legalább 200 mm-nek kell lenni.
A vizsgálandó egység kábelköteg-szakaszát vízszintes helyzetben kell elhelyezni az aktív vezető és az alaplap között (lásd a 11. pont 1. és 2. ábráját).
7.3.1.1. A kábelköteg szalagvezeték alatt elhelyezkedő minimális hosszának - amely magában foglalja az elektronikus vezérlőegység tápvezetékét - 1,5 m hosszúságúnak kell lennie, hacsak a kábelköteg a járműben nem rövidebb 1,5 m-nél. Ebben az esetben a kábelköteg hosszának a járműbe beépített kábelhossz legnagyobb hosszának kell megfelelnie. Minden e hosszon belüli leágazást a vezeték hossztengelyéhez képest derékszögűen kell fektetni.
7.3.1.2. Másik lehetőségként a kábelköteg teljes kihúzott hossza 1,5 m lehet, amibe a leghosszabb leágazást is bele kell számítani.
7.3.2. Vizsgálat a 800 mm-es szalagvezetékben
7.3.2.1. Vizsgálati módszer
A szalagvezeték két egymástól 800 mm távolságban párhuzamosan elhelyezett fémlapból áll. A vizsgálandó berendezést a két lap között középen kell elhelyezni, majd elektromágneses mező hatásának kell kitenni (lásd a 11. pont 3. és 4. ábráját).
Ez a módszer lehetőséget nyújt a teljes, azaz az érzékelőket és a működtetőelemeket is magában foglaló elektronikus rendszer, továbbá a vezérlőkészülék és a kábelköteg vizsgálatára is. Olyan berendezések esetében is alkalmazható, amelyek legnagyobb kiterjedése a lapok távolságának egyharmadánál kisebb.
7.3.2.2. A szalagvezeték elhelyezése
A szalagvezetéket árnyékolt térben kell elhelyezni (a külső kibocsátások elkerülésére), 2 m távolságban a falaktól és minden fémes burkolattól az elektromágneses visszaverődések elkerülése érdekében. E visszaverődés csillapítására sugárzást elnyelő anyagot lehet használni. A szalagvezetéket nem vezető támaszokon kell elhelyezni, a talaj felett legalább 0,4 m-es magasságban
7.3.2.3. A szalagvezeték kalibrálása
Egy térerősségmérőt kell elhelyezni a vizsgálandó egység távollétében a tér hosszanti, magassági és szélességi kiterjedésének középső harmadában a párhuzamos lapok között. Az ehhez tartozó mérőberendezést az árnyékolt termen kívül kell elhelyezni.
Minden kívánt vizsgálati frekvenciánál annyi energiát kell a szalagvezetékbe táplálni, hogy a szükséges térerősség az antennánál előállítható legyen. A típus-jóváhagyási vizsgálathoz ezt az előremenő teljesítményt - vagy egy más olyan paramétert, amely közvetlenül az elektromos mező előállításához szükséges előremenő teljesítményre vonatkozik - kell felhasználni, amíg a berendezésekben vagy felszerelésekben nem hajtanak végre olyan változtatást, amely az eljárás megismétlését tenné szükségessé.
7.3.2.4. A vizsgálandó elektromos/elektronikus szerelési egység beépítése
A fő vezérlőegységet a tér hosszanti, magassági és szélességi kiterjedésének középső harmadában a párhuzamos lapok közé kell helyezni. Ezt egy nem vezető anyagból készült állványra kell felszerelni.
7.3.2.5. A fő kábelköteg és az érzékelő-/működetőelemek vezetékei
A fő kábelköteg és az érzékelő-/működetőelemek vezetékei függőlegesen vezetnek a vezérlőkészüléktől a felső vezető lapig (ez segít az elektromágneses mezővel való csatolás maximalizálásában). Ezután a lap alsó oldalán annak egyik szabad széléhez vezetnek, felfelé hurkolódnak és a vezető lap felületén haladnak tovább a szalagvezeték tápcsatlakozójáig. A vezetékek ezután a csatlakoztatott berendezéshez mennek tovább, amely egy, az elektromágneses mező befolyásán kívüli területen áll, pl. az árnyékolt terem padlóján 1 m távolságban a szalagvezetéktől.
8. Az elektromos/elektronikus szerelési egységek zavartűrésének vizsgálata elnyelő kamrában
8.1. Vizsgálati módszer
E vizsgálati eljárás az elektromos/elektronikus járműrendszerek vizsgálatát teszi lehetővé, amikor is egy elektromos/elektronikus szerelési egységet antennával előállított elektromágneses sugárzásnak tesznek ki.
8.2. A próbapad leírása
A vizsgálatot egy, a vizsgálópadon elhelyezett félig visszhangmentes kamrában kell elvégezni.
8.2.1. Alaplap
8.2.1.1. Az elnyelőkamrában végzett zavartűrési vizsgálathoz a vizsgálandó elektromos/elektronikus szerelési egységet és kábelezését 50 ± 5 mm-rel a fából vagy azzal egyenértékű nem vezető anyagból készült asztal felett kell elhelyezni. Ha azonban a vizsgálandó elektromos/elektronikus szerelési egység egy része arra szolgál, hogy a fém járműfelépítményével elektromosan össze legyen kapcsolva, akkor e részt az alaplapra kell helyezni, és elektromosan az alaplappal össze kell kapcsolni. Az alaplapnak legalább 0,5 mm vastag fémlemezből kell készülnie. Az alaplap legkisebb mérete a vizsgálandó elektromos/elektronikus szerelési egység méretétől függ, de a kábelezést és az elektromos/elektronikus szerelési egység alkatrészeinek beépítését lehetővé kell tennie. Az alaplapot a földelési rendszer védővezetőjével össze kell kötni. Az alaplapot a vizsgálólétesítmény padlója felett 1,0 ± 0,1 m magasságban, azzal párhuzamosan kell elhelyezni.
8.2.1.2. A vizsgálandó elektromos/elektronikus szerelési egységet a követelményeinek megfelelően kell beépíteni és bekötni. Az áramellátó tápkábeleket az alaplap/asztal legközelebbi pereme mentén az antennától legfeljebb 100 mm távolságban kell elhelyezni.
8.2.1.3. A vizsgálandó elektromos/elektronikus szerelési egységet a gyártó beépítési utasításai szerint kell összekötni a testrendszerrel; kiegészítő testösszeköttetések használata nem megengedett.
8.2.1.4. A vizsgálandó elektromos/elektronikus szerelési egység és a többi vezető rendszer, mint pl. az árnyékolt helyiség falai közötti minimális távolságnak (a vizsgálandó egység alatti alaplap/asztal kivételével) 1,0 m-nek kell lennie.
8.2.1.5. Az alaplap felülete 2,25 m2 vagy nagyobb, ahol a rövidebb oldal szélessége nem lehet 750 mm-nél kisebb. Az alaplapot a teremmel testszalagokkal kell összekötni azért, hogy az egyenáramú átmeneti ellenállás a 2,5 mΩ-ot ne lépje túl.
8.2.2. A vizsgálandó elektromos/elektronikus szerelési egység beépítése
Amennyiben nagyméretű berendezéseket szerelnek fel egy fémes vizsgálótartóra, e tartót vizsgálati célokra az alaplap részének kell tekinteni, és elektromosan megfelelően össze kell kötni. A vizsgálandó minta homlokfelületének legalább 200 mm távolságban kell lennie az alaplap peremétől. Minden vezetéknek és kábelnek legalább 100 mm-re kell lennie az alaplap peremétől, és az alaplaphoz képest a távolságnak (a kábelköteg legalacsonyabb pontjától mérve) 50 ± 5 mm-nek kell lennie az alaplap fölött. A vizsgálandó elektromos/elektronikus szerelési egység áramellátása a vonali impedanciát stabilizáló hálózaton (VISH) 5 μH/50 Ω-on keresztül történik.
8.3. A mezőt előállító berendezés típusa, helyzete és iránya
8.3.1. A mezőt előállító berendezés típusa
8.3.1.1. A mezőt előállító berendezés típusát úgy kell megválasztani, hogy a térerősség a vonatkoztatási pontban (lásd a 8.3.4. pontot) a megfelelő frekvenciákon elérje a kívánt értéket.
8.3.1.2. A mezőt előállító berendezés antenna vagy lapantenna lehet.
8.3.1.3. A mezőt előállító berendezés felépítésének és irányának olyannak kell lennie, hogy az előállított mező 20 és 1 000 MHz között vízszintesen vagy függőlegesen polarizált legyen.
8.3.2. Mérési magasság és távolság
8.3.2.1. Magasság
Az antenna fázisközpontjának 150±10 mm magasságban kell lennie azon alaplap felett, amelyen az elektromos/elektronikus szerelési egység található. Az antenna egyetlen sugárzó eleme sem lehet 250 mm-nél közelebb a létesítmény padlójához.
8.3.2.2. Mérési távolság
8.3.2.2.1. A valós üzemi feltételek legjobb megközelítése úgy érhető el, ha a mezőt előállító berendezés a lehető legtávolabb van felállítva az elektromos/elektronikus szerelési egységtől. E távolságnak 1 és 5 m között kell lennie.
8.3.2.2.2. Ha a vizsgálatot zárt létesítményben végzik, a mezőt előállító berendezés sugárzó elemeinek a sugárzáselnyelő anyagtól legalább 0,5 m távolságra, a létesítmény falától pedig legalább 1,5 m távolságra kell elhelyezkedniük. A sugárzó antenna és a vizsgálandó elektromos/elektronikus szerelési egység között nem lehet elnyelő anyag.
8.3.3. Az antenna helyzete a vizsgálandó elektromos/elektronikus szerelési egységhez képest
8.3.3.1. A mezőt előállító berendezés sugárzó elemeinek legalább 0,5 m távolságban kell lenniük az alaplap peremétől.
8.3.3.2. A mezőt előállító berendezés fázisközpontjának olyan síkban kell lennie, amely:
a) merőleges az alaplapra;
b) az alaplap peremét és a kábelköteg fő részének középpontját metszi; és
c) merőleges az alaplap peremére és a kábelköteg fő részére.
A mezőt előállító berendezést e síkkal párhuzamosan kell elhelyezni (lásd a 14. pont 8. és 9. ábráját).
8.3.3.3. Az alaplap vagy a vizsgálandó elektromos/elektronikus szerelési egység fölé elhelyezett minden mezőt előállító berendezésnek ki kell terjednie a vizsgálandó elektromos/elektronikus szerelési egységre.
8.3.4. Vonatkoztatási pont
E rész alkalmazásában a vonatkoztatási pont az a pont, ahol a térerősséget kell mérni, és amely helye a következőképpen van meghatározva:
8.3.4.1. legalább 1 m vízszintesen az antenna fázisközéppontjától vagy legalább 1 m függőlegesen a lapantenna sugárzó elemeitől;
8.3.4.2. olyan síkban, amely:
a) merőleges az alaplapra;
b) merőleges az alaplap azon peremére, amely mentén a kábelköteg fő része fut;
c) az alaplap peremét és a kábelköteg fő részének középpontját metszi; és
d) a kábelezés fő részének középpontjával egybeesik, amely az alaplapnak az antennához legközelebbi pereme mentén fut;
8.3.4.3. 150 ± 10 mm-rel az alaplap felett fut.
8.4. A szükséges térerősség előállítása: vizsgálati módszer
8.4.1. A vizsgálati mező feltételeinek eléréséhez a "helyettesítési módszert" kell alkalmazni.
8.4.2. Helyettesítési módszer Minden kívánt vizsgálati frekvenciánál akkora teljesítményt kell a mezőt előállító berendezésbe betáplálni, hogy a vizsgálati térerősséget a 8.3.4. pont szerinti vonatkoztatási pontnál - de a vizsgálandó elektromos/elektronikus szerelési egység nélkül - el lehessen érni. Ezt a mező előállítására közvetlenül vonatkozó előremenő teljesítményt vagy más paramétereket meg kell mérni, és az értékeket fel kell jegyezni. A típus-jóváhagyási vizsgálathoz mindaddig ezeket az értékeket kell felhasználni, amíg a létesítményekben vagy felszerelésekben nem hajtanak végre olyan változtatásokat, amelyek az eljárás megismétlését teszik szükségessé.
8.4.3. Külső felszerelés nem lehet 1 m-nél közelebb a vonatkoztatási ponthoz a kalibrálás alatt.
8.4.4. Térerősségmérő berendezés A térerősség meghatározásához a helyettesítési módszer kalibrálási szakaszában megfelelő, kompakt térerősségmérő berendezést kell használni.
8.4.5. A mezőt előállító berendezés fázisközpontját a vonatkoztatási pont helyzetébe kell hozni.
8.4.6. A vizsgálandó elektromos/elektronikus szerelési egységet, amely egy kiegészítő alaplapot is tartalmazhat, ezután a vizsgálólétesítménybe kell vinni és a 8.3. pont követelményeivel összhangban kell felállítani. Amennyiben egy második alaplapot használnak, annak 5 mm távolságon belül kell elhelyezkednie a próbapad alaplapjától, és azzal elektromosan össze kell kötni. A 8.4.2. pontban megállapított szükséges előremenő teljesítményt minden, az 5. pontban megállapított frekvenciánál be kell táplálni a mezőt előállító berendezésbe.
8.4.7. Függetlenül attól, hogy a 8.4.2. pont szerint milyen paramétert választottak a mező meghatározásához, ugyanazt a paramétert kell alkalmazni a vizsgálat során a térerősség megállapításához.
8.5. A térerősség körvonala
8.5.1. A helyettesítési módszer kalibrálási szakaszában (az elektromos/elektronikus szerelési egységnek a vizsgálati terembe helyezése előtt) a térerősség 0,5 ± 0,05 m-re a vonatkoztatási pont két oldalán, az alaplap antennához legközelebbi peremével párhuzamosan és a vonatkoztatási ponton keresztülhaladó vonalban nem lehet kisebb, mint a névleges térerősség 50 %-a.
9. Vizsgálat a TEM-cellában
9.1. Vizsgálati módszer
A transzverzális elektromágneses hullám (TEM) cella homogén mezőket állít elő a belső vezető (diafragma) és a ház (alaplap) között. Rendeltetése az elektromos/elektronikus szerelési egységek vizsgálata (lásd a 13. pont 6. ábráját).
9.2. Térerősségmérés TEM-cellában
9.2.1. Az elektromos mezőt a TEM-cellában a következő egyenlettel kell meghatározni:

E = elektromos térerősség (V/m)
P = előteljesítmény (W)
Z = a cella impedanciája (50 Ω)
d = távolság (m) a felső fal és a diafragma között.
9.2.2. Másik megoldásként a TEM-cella felső felében egy alkalmas térerősség-érzékelő is elhelyezhető. A TEM-cella e részében az elektronikus vezérlőegység(ek)nek csak csekély befolyása van a vizsgálati mezőre. Az érzékelő kimenete adja a térerősséget.
9.3. A TEM-cella méretei
Annak érdekében, hogy a TEM-cellában egy homogén mező legyen fenntartható, és hogy megismételhető mérési eredményeket kapjunk, a vizsgálati tárgy nem lehet nagyobb, mint a cella belmagasságának egyharmada.
A TEM-cella javasolt méretei a 13. pont 7. ábráján láthatók.
9.4. Táp-, jel- és vezérlő vezetékek
A TEM-cella egy BNC hüvelyes csatlakozópanellel van ellátva, amely a legrövidebb úton egy megfelelő számú érintkező tüskével rendelkező csatlakozódugóval van összekötve. A táp- és jelvezetékek a csatlakozódugótól a cella falában közvetlenül a vizsgálati tárgyhoz vezetnek.
A külső alkatrészek, például érzékelők, tápegység vagy vezérlő elemek:
a) árnyékolt periférián keresztül;
b) a TEM-cella melletti járművön keresztül; vagy
c) közvetlenül az árnyékolt dugaszoló táblához csatlakoztathatók.
A TEM-cella csatlakoztatásához a perifériákkal vagy a járművel árnyékolt vezetékeket kell alkalmazni, ha a jármű vagy a perifériák nincsenek ugyanazon vagy szomszédos árnyékolt teremben.
10. Vizsgálat árambetáplálással
10.1. Vizsgálati módszer
Ez az eljárás egy áramfogó segítségével közvetlenül a kábelkötegbe történő áramindukálással végrehajtott zavartűrési vizsgálat elvégzésére szolgál. Az áramfogó egy csatlakozó csipeszből áll, amely a vizsgálandó elektromos/elektronikus szerelési egység vezetékeit fogja közre. A zavartűrési vizsgálatokat az indukált jelek frekvenciájának változtatásával lehet elvégezni.
A vizsgálandó elektromos/elektronikus szerelési egységet a 8.2.1. pont szerinti alaplapra kell felhelyezni vagy a jármű gyártójának adataival összhangban egy járműbe kell beépíteni.
10.2. Az áramfogó kalibrálása a vizsgálat kezdete előtt
Az áramfogót egy kalibráló készülékbe kell rögzíteni. A vizsgáló frekvenciatartomány letapogatása során a 3.7.2.1. pontban megállapított áram eléréséhez szükséges energiát folyamatosan figyelni kell. E módszer kalibrálja az áram betápláló rendszer előremenő teljesítményét a vizsgálat előtti áramerősséghez képest, és ugyanezen előremenő teljesítményt kell alkalmazni a fogóra, ha ezt a vizsgálandó elektromos/elektronikus szerelési egységgel a kalibrálásnál használt kábelen keresztül összekapcsolják. Megjegyzendő, hogy az előremenő teljesítmény az a feljegyzett energia, amelyet az áramfogóba vezetnek bele.
10.3. A vizsgálandó elektromos/elektronikus szerelési egység beépítése
A 8.2.1. pont szerint az alaplapra felszerelt elektromos/elektronikus szerelési egységnél a kábelköteg összes vezetékét le kell zárni lehetőleg valós terhelésekkel és működtetőelemekkel. A járműben lévő beépített, valamint az alaplapra szerelt elektromos/elektronikus szerelési egységnél az áramfogót sorban a kábelkötegben lévő összes csatlakozóhoz vezető vezeték köré kell csatlakoztatni, és annak 150 ± 10 mm távolságban kell lennie a vizsgálandó elektromos/elektronikus szerelési egység elektronikus vezérlőegységeinek, a műszer moduljainak vagy aktív érzékelőinek mindegyik csatlakozójától, ahogyan az a 12. pontban látható.
10.4. Táp-, jel- és vezérlő vezetékek
A 8.2.1. pont szerint az alaplaphoz erősített vizsgálandó elektromos/elektronikus szerelési egységnél kábelcsatlakozást kell létesíteni a vonali impedanciát stabilizáló hálózat (VISH) és a fő elektronikus vezérlőegység között. E kábelkötegnek az alaplap peremével párhuzamosan és attól legalább 200 mm távolságban kell futnia. Tartalmaznia kell az áramellátás tápvezetékét is, amelyet a jármű akkumulátorának ezen elektronikus vezérlőegységgel való összekötésére kell használni, és az áram visszavezető vezetéket, amennyiben használnak ilyet a járművön.
Az elektronikus vezérlőegység és a VISH közötti távolságnak 1,0 ± 0,1 m-nek kell lennie, vagy ha ismert, úgy e távolság lehet az elektronikus vezérlőegység és a járműben használt akkumulátor közötti kábelhossz (amelyik a rövidebb). Ha jármű kábelköteget használnak, úgy az összes kábelleágazásnak e hosszon belül az alaplap mentén kell lennie, de derékszögben az alaplap peremétől elvezetve kell fektetni. Egyébként az elektromos/elektronikus szerelési egység e hosszon belül található leágazási kábeleit a VISH-ra kell csatlakoztatni.
11. Vizsgálat a szalagvezetékben és méretek
1. ábra
Vizsgálat a 150 mm-es szalagvezetékben

Minden méret milliméterben van megadva
1 = árnyékolt tér
2 = kábelköteg
3 = vizsgálandó elem
4 = lezáró ellenállás
5 = frekvenciagenerátor
6/7 = alternatív akkumulátor
8 = tápegység
9 = szűrő
10 = periféria
11 = szűrő
12 = videó periféria
13 = opto-elektromos konverter
14 = optikai vezetők
15 = nem sugárvédett periféria
16 = lineáris vagy sugárvédett periféria
17 = opto-elektromos konverter
18 = szigetelő alapzat
19 = videokamera
2. ábra
Vizsgálat a 150 mm-es szalagvezetékben

Minden méret milliméterben van megadva
L = 2 500 mm
S = 800 mm
W = 740 mm
h = 150 mm

1 = vizsgálandó elem
2 = kábelköteg
3 = periféria
4 = lezáró ellenállás
5 = szigetelő alapzat
3. ábra
Vizsgálat a 800 mm-es szalagvezetékben

1 = alaplap
2 = a fő kábelköteg és az érzékelő-/működetőelemek vezetékei
3 = fakeret
4 = aktív vezető
5 = szigetelő
6 = vizsgálandó elem
4. ábra
A 800 mm-es szalagvezeték méretei
Felülnézet

Oldalnézet

Minden méret milliméterben van megadva
12. Egy árambetáplálási vizsgálati elrendezés példája
5. ábra

1 = vizsgált berendezés
2 = RF mérőszonda (választható)
3 = RF áramfogó
4 = mesterséges hálózat
5 = az árnyékolt tér szűrőhálózata
6 = energiaforrás
7 = vizsgált berendezés interfész: gerjesztő és megfigyelő berendezés
8 = jelgenerátor
9 = széles sávú erősítő
10 = RF 50 Ω egyenirányító csatoló
11 = RF vezetékmérő vagy ezzel egyenértékű szerkezet
12 = spektrumelemző vagy ezzel egyenértékű szerkezet (választható)
13. Vizsgálat a TEM-cellában
6. ábra
Vizsgálat a TEM-cellában

1 = árnyékoló külső vezetéke
2 = belső vezeték (diafragma)
3 = szigetelő
4 = bemenet
5 = szigetelő
6 = ajtó
7 = csatlakozóaljzat-panel
8 = vizsgálandó elem áramellátása
9 = lezáró ellenállás 50 Ω
10 = szigetelő test
11 = vizsgálandó elem (max. magasság a cellafenék és a diafragma közti távolság egyharmada)
7. ábra
A négyszögletes TEM-cella felépítése - a TEM-cella jellemző méretei


A következő táblázat megadja egy cella szükséges méreteit a felső frekvenciahatárok függvényében:
Felső határfrekvencia (MHz) | Cella alaktényező W: b | Cella alaktényező L/W | Lemeztávolság b (cm) | Diafragma S (cm) |
200 | 1,69 | 0,66 | 56 | 70 |
200 | 1,00 | 1,00 | 60 | 50 |
14. Az elektromos/elektronikus szerelési egységek zavartűrésének vizsgálata elnyelő kamrában
8. ábra
Vizsgálati elrendezés (felülnézet)

9. ábra
A vizsgálati elrendezés hosszmetszete

9. RÉSZ
A gyártók eldönthetik, hogy a 2-8. részben meghatározott követelményeket, a 10. számú ENSZ-EGB-előírásban meghatározott követelményeket, az I. mellékletben leírtak szerint, vagy az ISO 14982: 1998 szabványban meghatározott követelményeket alkalmazzák. 1998.
XVI. MELLÉKLET
Hangjelző berendezésekre vonatkozó követelmények
1. A hangjelző berendezés alkatrész-típusjóváhagyását a 28. számú ENSZ-EGB-előírásban az N kategóriájú járművekre vonatkozó követelmények szerint kell végrehajtani az I. mellékletben leírtak szerint.
2. A traktorba beszerelt hangjelző készülék tulajdonságai
2.1. Akusztikai vizsgálatok
Egy típusjóváhagyással rendelkező traktorba beszerelt hangjelző készülék tulajdonságainak a vizsgálatát, amennyiben az az adott típusú traktorra van felszerelve, a következők szerint kell elvégezni:
2.1.1. A traktorra felszerelt hangjelző készülék hangnyomását 7 méter távolságban kell mérni szabad területen, lehetőleg sík felületen felállított traktor előtt. A traktor motorját le kell állítani. A tényleges feszültségnek meg kell felelnie az I. mellékletben hivatkozott 28. sz. ENSZ-EGB-előírás 6.2.3. szakasza szerinti feszültségnek.
2.1.2. A méréseket a Nemzetközi Elektrotechnikai Bizottság szabványának "A" súlyozó görbéje szerint kell elvégezni.
2.1.3. A legnagyobb hangnyomásszintet a talaj felett 0,5 és 1,5 méter közti magasságban kell meghatározni.
2.1.4. A hangnyomásszint legmagasabb értékének legalább 93 dB(A)-nek és legfeljebb 112 dB(A)-nek kell lennie.
XVII. MELLÉKLET
Fűtőberendezésekre vonatkozó követelmények
1. Követelmények az összes olyan T és C kategóriájú járműre vonatkozóan, amelyekbe ilyen berendezés van beszerelve
1.1. A vezetőfülkés traktorokat az e melléklet követelményeinek megfelelő fűtőberendezéssel kell felszerelni. A vezetőfülkés traktorokat emellett légkondicionáló berendezéssel is fel lehet szerelni, melyeknek meg kell felelniük az e mellékletben foglalt követelményeknek.
1.2. A fűtőberendezésnek a fülkeszellőztető rendszerrel együtt képesnek kell lennie a szélvédő fagy- és páramentesítésére. A fűtő- és hűtőrendszereket az ISO 14269-2:2001 szabvány 8. és 9. szakasza, valamint 8.1.1-8.1.4., illetve 9.1.1-9.1.4. pontja szerint kell vizsgálni. A vizsgálat során a rendszer szabályozóit a gyártó előírásainak megfelelően kell beállítani. Az adatközlő lapnak a vizsgálati jegyzőkönyveket is magában kell foglalnia.
1.3. A gyártók eldönthetik, hogy a fűtőberendezések vonatkozásában a jelen mellékletben vagy a 122. számú ENSZ-EGB-előírásban az N kategóriájú járművekre előírt követelményeket teljesítik az I. mellékletben leírtak szerint.
XVIII. MELLÉKLET
A jogosulatlan használat ellen védő berendezésekre vonatkozó követelmények
1. Az összes T és C kategóriájú járműre vonatkozó követelmények
A gyártók eldönthetik, hogy ezt a pontot vagy a 2. pontot alkalmazzák.
1.1. A motor elindítása és leállítása
1.1.1. Megfelelő eszközt kell biztosítani a motor véletlen és/vagy jogosulatlan elindításának megakadályozására. Néhány példa ilyen eszközökre, a teljesség igénye nélkül:
- kihúzható kulccsal működő gyújtás- vagy indításkapcsoló,
- zárható vezetőfülke,
- zárható fedél a gyújtás- vagy indítókapcsolón,
- biztonsági gyújtás- vagy indítászárolás (pl. kulcskártyás aktiválás),
- zárható akkumulátorleválasztó kapcsoló.
2. Az ENSZ-EGB- előírások vagy a nemzetközi szabványok szerint az összes T és C kategóriájú járműre vonatkozó követelmények
2.1. Kormányszarvakkal felszerelt járművek esetén a 62. számú ENSZ-EGB-előírás valamennyi vonatkozó követelménye alkalmazandó az I. mellékletben leírtak szerint.
2.2. A kormányszarvakkal nem felszerelt járművek esetében a gyártóknak a 18. számú ENSZ-EGB-előírás 2. és 5. szakaszában - kivéve az 5.6. szakaszban, valamint 6.2. és 6.3. szakaszban az N2 kategóriájú járművekre előírt követelményeket, az I. mellékletben leírtak szerint, vagy a programozható elektronikai berendezésekre vonatkozó megfelelő szabványokban előírt követelményeket kell alkalmazniuk a jogosulatlan használat megakadályozására, amennyiben 2018. január 1-jétől érvényben lesznek ilyen szabványok.
3. Az összes S kategóriájú járműre, valamint azokra a cserélhető vontatott berendezésekre vonatkozó követelmények, amelyek műszakilag megengedett legnagyobb tömegének és terheletlen tömegének aránya nagyobb vagy egyenlő, mint 3,0, és emiatt az R kategóriába sorolták őket
Az S kategóriájú járművekre és a 3,0 vagy annál nagyobb műszakilag megengedett legnagyobb tömeg/terheletlen tömeg arány miatt az R kategóriába sorolt cserélhető vontatott berendezésekre legalább egy olyan berendezést kell felszerelni, amely képes megakadályozni e járművek véletlen vagy jogosulatlan használatát.
Az ilyen berendezések az alábbiakat foglalhatják magukban:
- zárható fedél a kapcsolószerkezeten,
- a kapcsolószerkezet vonószemén keresztülvezetett lánc és lakat,
- kerékbilincs,
- lakat a rögzítőfék fogasívének lyukában.
A kezelési útmutatónak tartalmaznia kell a járműre szerelt berendezések használatára vonatkozó utasításokat.
XIX. MELLÉKLET
Rendszámtáblákra vonatkozó követelmények
1. A hátsó rendszámtábla rögzítésére szolgáló hely alakja és mérete
A rögzítésre szolgáló hely a következő minimumméretekkel rendelkező sík vagy gyakorlatilag sík négyszögletes felület:
vagy
szélesség : 520 mm
magasság : 120 mm
vagy
szélesség : 255 mm
magasság : 165 mm.
2. A felszerelési helyek elhelyezkedése és a rendszámtábla rögzítése
A felszerelési helyeket úgy kell kialakítani, hogy a szakszerűen rögzített rendszámtábla jellemzői a következők legyenek:
2.1. A rendszámtábla oldalirányú elhelyezkedése
A rendszámtábla közepe nem helyezkedhet el jobbra a jármű szimmetriasíkjától. A rendszámtábla bal oldali oldalsó széle nem helyezkedhet el balra a jármű szimmetriasíkjával párhuzamos, a jármű legszélesebb keresztmetszeti pontját érintő függőleges síktól.
2.2. A rendszámtáblának a jármű hosszirányú szimmetriasíkjához viszonyított helyzete
A rendszámtáblának a jármű szimmetriasíkjára merőlegesen vagy közel merőlegesen kell állnia.
2.3. A rendszámtáblának a függőleges síkhoz viszonyított helyzete
A rendszámtáblának 5° tűrésen belül függőlegesen kell állnia. Amennyiben a jármű alakja miatt szükséges, a rendszámtábla a függőlegeshez képest megdőlhet, mégpedig:
2.3.1. legfeljebb 30°-kal, ha a rendszámmal ellátott oldal felfelé dől, feltéve, hogy a rendszámtábla felső széle és az úttest közötti távolság nem nagyobb 1,2 méternél.
2.3.2. legfeljebb 15°-kal, ha a rendszámmal ellátott oldal lefelé dől, feltéve, hogy a rendszámtábla felső széle és az úttest közötti távolság nagyobb 1,2 méternél.
2.4. A rendszámtábla talajtól mért magassága
A rendszámtábla alsó élének talaj feletti magassága nem lehet kevesebb, mint 0,3 méter; a rendszámtábla felső élének talaj feletti magassága nem lehet több, mint 4 méter.
2.5. A rendszámtábla talajtól mért magasságának meghatározása
A 2.3. és 2.4. pontban meghatározott távolságokat terheletlen járművön kell mérni.
2.6. Geometriai láthatóság:
2.6.1. Ha a rendszámtábla felső szélének magassága nem haladja meg az 1,20 m-t, a rendszámtáblának a következő négy sík által határolt teljes térben láthatónak kell lennie:
a) a tábla két oldalsó peremét érintő két függőleges sík, amely a jármű hosszirányú középsíkjával - kifelé, a tábla bal és jobb oldalán mérve - 30o-os szöget zár be;
b) a tábla felső peremét érintő sík, amely a vízszintes síkkal felfelé 15o-os szöget zár be;
c) a rendszámtábla alsó széle által határolt vízszintes sík.
2.6.1. a. Ha a rendszámtábla felső szélének a talajtól mért magassága meghaladja az 1,20 m-t, a rendszámtáblának a következő négy sík által határolt teljes térben láthatónak kell lennie:
a) a tábla két oldalsó peremét érintő két függőleges sík, amely a jármű hosszirányú középsíkjával - kifelé, a tábla bal és jobb oldalán mérve - 30o-os szöget zár be;
b) a tábla felső peremét érintő sík, amely a vízszintes síkkal felfelé 15o-os szöget zár be;
c) a tábla alsó peremét érintő sík, amely a vízszintes síkkal lefelé 15o-os szöget zár be.
2.6.2. A 2.6.1. és a 2.6.1a. pontban meghatározott térben nem helyezkedhet el semmilyen szerkezeti elem, még akkor sem, ha teljesen átlátszó.
XX. MELLÉKLET
A hatóságilag előírt táblákra és jelölésekre vonatkozó követelmények
1. Fogalommeghatározások
E mellékletben:
1.1. "Jogszabályban előírt tábla" : az a tábla, amelyet a gyártó köteles minden általa előállított járművön elhelyezni a 167/2013/EU rendelet 34. cikke szerint meghatározott jóváhagyott típusnak megfelelően, továbbá azt az e melléklet szerinti megfelelő jelölésekkel ellátni.
1.2. "Jogszabályban előírt azonosítási jelzések" : a 167/2013/EU rendelet 34. cikkében meghatározott típus-jóváhagyási jellel együtt elhelyezett bármely olyan kötelező jelzés, amelyet a gyártás során e melléklettel összhangban rögzíteni kell a járművekre, alkotóelemekre vagy önálló műszaki egységekre azok jóváhagyott típusának megfelelően vagy a típus-jóváhagyási folyamat során való azonosítás céljából.
2. Általános tudnivalók
2.1. Minden mezőgazdasági és erdészeti járművön el kell helyezni az alábbiakban leírt táblát és feliratokat. A táblát és a feliratokat a gyártó erősíti fel.
2.2. Minden olyan alkotóelemen vagy önálló műszaki egységen, amely megfelel a 167/2013/EU rendelet szerint jóváhagyott valamely típusnak, el kell helyezni az e melléklet 6. pontjában ismertetett EU-típusjóváhagyási jelet vagy az említett rendelet 34. cikkének (2) bekezdésében előírt és az (EU) 2015/504 végrehajtási rendelet 5. cikkében meghatározott jelet.
3. Jogszabályban előírt tábla
3.1. A jogszabályban előírt táblát, amelynek mintáját az (EU) 2015/504 végrehajtási rendelet IV. melléklete tartalmazza, szilárdan, jól láthatóan és könnyen hozzáférhetően kell felerősíteni egy olyan alkatrészre, amelyet a szokásos használat, a rendszeres karbantartás vagy javítás során (például balesetből eredő sérülés esetén) általában nem cserélnek ki. Jól láthatóan és eltávolíthatatlanul fel kell tüntetni rajta az EU-típusjóváhagyási jelnek az (EU) 2015/504 végrehajtási rendelet IV. mellékletében megadott mintájában meghatározott adatokat.
3.2. A gyártó az előírt feliratok mellett vagy alatt további információkat is feltüntethet azon a világosan megjelölt téglalapon kívül, amely csak az (EU) 2015/504 végrehajtási rendelet IV. mellékletében előírt információkat tartalmazza.
4. Jármű-azonosító szám
A jármű-azonosító szám egy állandó karaktersorozat, amelyet a gyártó rendel hozzá egyértelműen egy adott járműhöz. Célja az, hogy minden jármű és különösen annak típusa egyértelműen azonosítható legyen 30 éven át a gyártón keresztül anélkül, hogy további tájékoztatásra lenne szükség.
Az azonosítószámnak a következő követelményeknek kell megfelelnie.
4.1. A jármű-azonosító számot fel kell tüntetni a jogszabályban előírt táblán, valamint az alvázon, a vázkereten vagy más hasonló szerkezeti, amikor a jármű elhagyja a gyártósort.
4.2. Amennyiben lehetséges, a jeleket egyetlen sorban kell kiírni.
4.3. A számot az alvázon vagy más hasonló szerkezeten, lehetőleg a jármű jobb első oldalán kell feltüntetni.
4.4. A jármű-azonosító számot közvetlenül a jármű elejének jobboldali részére kell olyan megfelelő eljárás - beütés, benyomás, maratás vagy lézeres gravírozás - segítségével felvinni, amely megakadályozza a szám eltávolítását, megváltoztatását vagy kitörlését.
5. Írásjelek
A 3. és 4. szakaszban említett jelölésekhez az EU-típusjóváhagyási jelnek az (EU) 2015/504 végrehajtási rendelet IV. mellékletében megadott mintájában meghatározott írásjelek használhatók.
6. Alkotóelemekre és önálló műszaki egységekre vonatkozó jelölési követelmények
Minden olyan önálló műszaki egységen vagy alkotóelemen, amelynek típusára a 167/2013/EU rendelet V. fejezete szerint önálló műszaki egységekre vagy alkotóelemekre vonatkozó típusjóváhagyást adtak, el kell helyezni az önálló műszaki egységekre vagy alkotóelemekre vonatkozó EU-típusjóváhagyási jelet a 167/2013/EU rendelet 34. cikkének (2) bekezdése értelmében és az (EU) 2015/504 végrehajtási rendelet 5. cikkének megfelelően. Ezeknek a jelöléseknek bármely alkatrész szerszámokkal történő eltávolítása nélkül is láthatónak kell lennie, és azokat tartósan kell rögzíteni (bélyegzés, gravírozás, lézeres gravírozás, önmegsemmisítő matrica).
XXI. MELLÉKLET
Méretekre és a pótkocsi tömegére vonatkozó követelmények
1. Fogalommeghatározások
E mellékletben:
1.1. "jármű hossza" :
- az a távolság, amelyet a legelső és leghátsó pontokon átmenő és a jármű hossztengelyére merőleges függőleges síkok között mérnek, figyelmen kívül hagyva:
- a tükröket,
- az indítófogantyúkat,
- az első vagy oldalsó helyzetjelző (oldaljelző) lámpákat;
1.2. "jármű szélessége" :
- az a távolság, amelyet a legszélső, oldalsó pontokon átmenő és a jármű hossztengelyével párhuzamos síkok között mérnek, figyelmen kívül hagyva:
- a tükröket,
- az irányjelzőket,
- az első, oldalsó, illetve hátsó helyzetjelző (oldaljelző) lámpákat és bármelyik várakozást jelző lámpát,
- az összehajtható elemeket, pl. lehajtható lábtámaszok, rugalmas sárfogók stb.;
1.3. "jármű magassága" : a talaj és a járműnek a talajtól legtávolabb eső pontja között mért függőleges távolság, figyelmen kívül hagyva az antennát. E magasság megállapításához a járművet a legnagyobb gördülési sugarú, új gumiabroncsokkal kell felszerelni, amelyek méretét a gyártó által megadott dinamikus gördülési sugár indexszel fejezik ki;
1.4. "megengedett vontatható tömeg" : az a tömeg, amelyet egy adott típusú traktor vontathat;
1.5. "műszakilag megengedett vontatható tömeg" :
az alábbiak valamelyike:
a) fékezetlen vontatható tömeg,
b) ráfutó fékberendezéssel fékezett vontatható tömeg,
c) hidraulikus vagy pneumatikus fékberendezéssel fékezett vontatható tömeg.
Követelmények
A járművek mérete és tömege nem haladhatja meg az alábbi értékeket:
2. Méretek
A méretek ellenőrzésére szolgáló méréseket az alábbiak szerint kell elvégezni:
- a jármű terheletlen tömegével menetkész állapotban,
- vízszintes, sík felületen,
- álló járművön és - ha lehetőség van rá - kikapcsolt motorral,
- új, a gyártó által megadott üzemi nyomásra fújt gumiabroncsokkal,
- zárt ajtókkal és ablakokkal, ha lehetőség van rá,
- egyenes állású kormánykerékkel, ha lehetőség van rá,
- a traktorhoz rögzített, különleges szerszámok nélkül leválasztható mezőgazdasági vagy erdészeti munkagép nélkül.
2.1. A T vagy C kategóriájú járművek megengedett legnagyobb méretei az alábbiak:
2.1.1. hosszúság: 12 m;
2.1.2. szélesség: 2,55 m (figyelmen kívül hagyva a gumiabroncs oldalfalának kidomborodását a talajjal való érintkezési ponton).
A szélesség akár 3,00 m is lehet, amennyiben a jármű ezt az értéket kizárólag a talajvédelem érdekében felszerelt gumiabroncsok, gumihevederek vagy kettős gumiabroncs-konfigurációk miatt éri el, ideértve a felcsapódó víz elleni védelmet is, feltéve, hogy a jármű állandó szerkezete nem haladja meg a 2,55 m-t, és a típusjóváhagyásban részesített jármű legalább egy olyan gumiabroncs- vagy gumiheveder-készlettel is rendelkezik, amellyel felszerelve szélessége nem haladhatja meg a 2,55 m-t.
2.1.3. magasság: 4 m.
2.2. Bármely S kategóriájú jármű megengedett legnagyobb méretei az alábbiak:
2.2.1. hosszúság: 12 m.
2.2.2. szélesség: 3 m (figyelmen kívül hagyva a gumiabroncs oldalfalának kidomborodását a talajjal való érintkezési ponton);
2.2.3. magasság: 4 m.
2.3. Az S kategóriájú járművek megengedett legnagyobb méretei az alábbiak:
2.3.1. hosszúság: 12 m;
2.3.2. szélesség: 2,55 m (figyelmen kívül hagyva a gumiabroncs oldalfalának kidomborodását a talajjal való érintkezési ponton).
A szélesség akár 3,00 m is lehet, amennyiben ez az érték kizárólag annak köszönhető, hogy az alábbi körülmények valamelyike fennáll:
a) talajvédelmi funkciójú gumiabroncs-konfigurációk alkalmazása, feltéve, hogy a típusjóváhagyásban részesített jármű legalább egy olyan gumiabroncskészlettel is rendelkezik, amellyel felszerelve szélessége nem haladja meg a 2,55 m-t. A jármű közlekedési célokhoz szükséges szerkezetének szélessége nem haladhatja meg a 2,55 m-t. Amennyiben a típusjóváhagyásban részesített jármű legalább egy olyan gumiabroncskészlettel is rendelkezik, amellyel felszerelve szélessége nem haladja meg a 2,55 m-t, a jármű szélessége abban az esetben sem haladhatja meg a 2,55 m-t, ha felcsapódó víz elleni védelemmel van felszerelve;
b) a jármű működéséhez szükséges szerszámgépek jelenléte, a 2006/42/EK európai parlamenti és tanácsi végrehajtási irányelv ( 10 ) rendelkezéseinek megfelelően. A jármű közlekedési célokhoz szükséges szerkezetének szélessége nem haladhatja meg a 2,55 m-t;
2.3.3. magasság: 4 m.
3. Megengedett vontatható tömeg
3.1. A megengedett vontatható tömeg állhat egy vagy több vontatott pótkocsiból, illetve mezőgazdasági vagy erdészeti munkagépekből. Különbséget kell tenni a gyártó által meghatározott, műszakilag megengedett és az alábbi 3.2. pont szerint hatóságilag megengedett vontatható tömeg között.
3.2. A megengedett vontatható tömeg nem haladhatja meg a következő értékeket:
3.2.1. a gyártó által megjelölt műszakilag megengedett vontatható tömeg, figyelembe véve a traktorra vonatkozó követelményeket a XXXIV. melléklet szerint;
3.2.2. a mechanikus kapcsolószerkezet(ek) által vontatható tömeg azok e rendelet szerinti alkatrész-típusjóváhagyása(i) alapján.
XXII. MELLÉKLET
A legnagyobb terhelt tömegre vonatkozó követelmények
1. Fogalommeghatározások
E mellékletre a "vonórúddal vontatott jármű" és a "merev vonórúddal vontatott jármű" fogalmaknak az (EU) 2015/68 felhatalmazáson alapuló rendelet 2. cikkében megadott meghatározásai alkalmazandók.
Ezenkívül a következő fogalommeghatározásokat is alkalmazni kell:
E mellékletre a "vonórudas vontatott jármű" és a "merev vonórudas vontatott jármű" fogalommeghatározásai vannak érvényben a 167/2013/EU rendelet 17. cikke (2) bekezdésének b) pontja és (4) bekezdése alapján meghatározott követelmények szerint.
1.1. "Műszakilag megengedett legnagyobb terhelt tömeg" : a járműhöz szerkezeti jellemzői és tervezési teljesítménye alapján hozzárendelt megengedett össztömeg, a gumiabroncsok vagy hernyótalpak terhelhetőségétől függetlenül.
1.2. "Műszakilag megengedett legnagyobb tengelyenkénti tömeg" : a tengely és a jármű szerkezeti jellemzői és tervezési teljesítménye alapján a tengely kerekei vagy a hernyótalpas futómű által a talajra gyakorolt legnagyobb megengedett statikus függőleges terhelésnek megfelelő tömeg, a gumiabroncsok vagy hernyótalpak terhelhetőségétől függetlenül.
2. Követelmények
2.1. A gyártó által megjelölt műszakilag megengedett legnagyobb terhelt tömeget a típusjóváhagyó hatóság abban az esetben fogadja el megengedett legnagyobb terhelt tömegként, ha:
2.1.1. a hatóság által végrehajtott vizsgálatok, nevezetesen a fékrendszer és a kormányberendezés vizsgálata kielégítő eredményt ad;
2.1.2. a műszakilag megengedett legnagyobb terhelt tömeg és a műszakilag megengedett legnagyobb tengelyenkénti tömeg jármű-kategóriától függően nem lépi túl az 1. táblázatban megadott értékeket.
1. táblázat
Műszakilag megengedett legnagyobb terhelt tömeg és műszakilag megengedett legnagyobb tengelyenkénti tömeg jármű-kategóriától függően
Jármű-kategória | Tengelyek száma | Megengedett legnagyobb tömeg (t) | Legnagyobb megengedett tengelyenkénti tömeg | |
Hajtott tengely (t) | Nem hajtott tengely (t) | |||
T1, T2, T4.1, T4.2 | 2 | 18 (terhelt) | 11,5 | 10 |
3 | 24 (terhelt) | 11,5 () | 10 () | |
T1 | 4 vagy több | 32 (terhelt) () | 11,5 () | 10 () |
T3 | 2 vagy 3 | 0,6 (terheletlen) | () | () |
T4.3 | 2, 3 vagy 4 | 10 (terhelt) | () | () |
C | — | 32 | — | — |
R | 1 | — | 11,5 | 10 |
2 | 18 (terhelt) | 11,5 | () | |
3 | 24 (terhelt) | 11,5 | () | |
4 vagy több | 32 (terhelt) | 11,5 | () | |
S | 1 | — | 11,5 | 10 |
2 | 18 (terhelt) | 11,5 | () | |
3 | 24 (terhelt) | 11,5 | () | |
4 vagy több | 32 (terhelt) | 11,5 | () | |
(1) A T3 és T4.3 kategóriába tartozó járművek esetében nem szükséges tengelyterhelési határértéket megállapítani, mivel azok definíciójukban korlátozva vannak a megengedett legnagyobb terhelt és/vagy terheletlen tömeg tekintetében. (2) A legnagyobb megengedett tengelyenkénti tömegek összegének megfelelő érték a Közösségen belül közlekedő egyes közúti járművek nemzeti és a nemzetközi forgalomban megengedett legnagyobb méreteinek, valamint a nemzetközi forgalomban megengedett legnagyobb össztömegének megállapításáról szóló, 1996. június 25-i 96/53/EK tanácsi irányelv I. mellékletének 3.1–3.3. pontjában szereplő tengelyenkénti tömegek összege (HL L 235., 1996.9.17., 59. o.). (3) Amennyiben a hajtott tengely ikerabroncsokkal van felszerelve és légrugózással vagy a 96/53/EK irányelv II. melléklete szerint az Európai Unióban azzal egyenértékűként elismert felfüggesztéssel rendelkezik, illetve ha az összes hajtott tengely ikerabroncsokkal van felszerelve és a legnagyobb tengelyenkénti tömeg nem haladja meg a 9,5 tonnát. (4) A legnagyobb megengedett tengelyenkénti tömegek összegének megfelelő érték a 96/53/EK tanácsi irányelv I. mellékletének 3.5. pontjában szereplő tengelyenkénti tömegek összege. |
2.2. A traktor terhelési állapotától függetlenül, a kormányzott tengely kerekei által az úttestnek átadott tömeg nem lehet kisebb a traktor terheletlen tömegének 20 %-ánál.
2.3. A műszakilag megengedett legnagyobb tengelyenkénti tömegek összege
2.3.1. A T és C, valamint az olyan R és S kategóriájú járművek esetében, amelyek nem gyakorolnak számottevő statikus függőleges terhelést a traktorra (vonórúddal vontatott jármű), a legnagyobb megengedett tengelyenkénti tömegek összege legalább akkora, mint a jármű megengedett legnagyobb terhelt tömege.
2.3.2. Az olyan R és S kategóriájú járművek esetében, amelyek számottevő statikus függőleges terhelést gyakorolnak a traktorra (merev vonórúddal vontatott jármű és középtengelyes vontatott jármű), a jármű megengedett legnagyobb tömege azonosnak tekintendő a legnagyobb megengedett tengelyenkénti tömegek összegével, és az 1. táblázat harmadik oszlopában említett megfelelő legnagyobb megengedett tömegek helyett ezt kell figyelembe venni típus-jóváhagyási célokra. A traktorra gyakorolt számottevő statikus függőleges terhelést a traktor típusjóváhagyása során figyelembe kell venni a 2.3.1. pontnak megfelelően.
XXIII. MELLÉKLET
Pótsúlyokra vonatkozó követelmények
Amennyiben egyéb EU-típusjóváhagyási követelmények teljesítése végett a traktort pótsúlyokkal kell felszerelni, azokat a traktor gyártója szállítja, a traktorra való felszerelés céljára, azokon megtalálható a gyártó márkajelzése és a tömegük kg-ban, ± 5 % pontossággal van megadva. Az elülső orrsúlyokon, amelyeket gyakori le/felszerelésre terveztek, legalább 25 mm hosszúságú biztonsági rést kell hagyni a fogantyúk számára. A pótsúlyok elhelyezésének olyannak kell lennie, hogy ne tudjanak véletlenül leesni (például a traktor felborulásakor).
XXIV. MELLÉKLET
Az elektromos rendszerek biztonságára vonatkozó követelmények
1. Az összes, elektromos rendszerrel felszerelt T, C, R és S kategóriájú járműre vonatkozó követelmények
1.1. Elektromos berendezések
1.1.1. Az elektromos kábeleknek védettnek kell lenniük, ha elhelyezkedésük miatt különböző felületekhez súrlódhatnak és ellenállónak, illetve védettnek kell lenniük a kenő- és tüzelőanyagokkal való érintkezéssel szemben. Az elektromos kábeleknek úgy kell elhelyezkedniük, hogy egyetlen szakaszuk se érintkezzen a kipufogó rendszerrel, mozgó alkatrészekkel vagy éles szélekkel.
1.1.2. Minden elektromos áramkörbe biztosítékokat vagy más, túlterhelés ellen védő berendezéseket kell beszerelni, kivéve a nagy áramerősségű áramköröket, például az indítómotor áramkörét vagy a nagyfeszültségű gyújtásrendszert. E berendezéseket úgy kell elektromosan elosztani az áramkörök között, hogy ne kerülhessen sor a kezelőt figyelmeztető összes rendszer egyidejű lekapcsolására.
2. A statikus elektromos biztonságra vonatkozó követelmények
A statikus elektromos biztonságra vonatkozó követelményeket a XXV. melléklet 3. pontja ismerteti.
3. Minden T vagy C kategóriába tartozó tisztán elektromos járműnek, hibrid elektromos járműnek és a 60 V-nál nagyobb, de legfeljebb 1 500 V egyenáramú vagy a 30 V-nál nagyobb, de legfeljebb 1 000 V váltakozó áramú feszültségosztályba tartozó elektromos áramot szolgáltató járműnek teljesítene kell a 3/2014/EU felhatalmazáson alapuló bizottsági rendelet ( 11 ) IV. mellékletében leírt követelményeket.
Minden T vagy C kategóriába tartozó tisztán elektromos járműnek, hibrid elektromos járműnek és a 32 V-nál nagyobb, de legfeljebb 60 V egyenáramú és/vagy a 21 V-nál nagyobb, de legfeljebb 30 V váltakozó áramú feszültségosztályba tartozó elektromos áramot szolgáltató járműnek teljesítene kell a 3/2014/EU felhatalmazáson alapuló rendelet IV. mellékletében leírt követelményeket, az IP védelmi fokozatokról szóló 2.1.1. és 2.1.2. pont, a színkódolásról szóló 2.1.6.3. pont és a szigetelési ellenállásról szóló 2.3. pont kivételével.
XXV. MELLÉKLET
Tüzelőanyag-tartályokra vonatkozó követelmények
1. Ez a melléklet az elsősorban a jármű meghajtására szolgáló folyékony tüzelőanyag tárolására tervezett tartályokra vonatkozik.
A tüzelőanyag-tartályokat korrózióálló kivitelben kell legyártani. Meg kell felelniük a gyártó által a kétszeres üzemi nyomásnak megfelelő, de legalább 0,3 bar nyomáson elvégzett tömítettségi vizsgálatoknak. A fellépő túlnyomást vagy az üzemi nyomást túllépő nyomást megfelelő készülékkel (szellőzőnyílások, biztonsági szelepek stb.) automatikusan ki kell egyenlíteni. A szellőzőnyílásokat úgy kell kialakítani, hogy a tűz kialakulásának veszélye megelőzhető legyen. A tüzelőanyag-tartály tanksapkáján vagy a túlnyomás kiegyenlítésére szolgáló készülékeken keresztül még a teljesen felborult tartályból sem folyhat ki tüzelőanyag, csöpögés azonban megengedhető.
2. A tüzelőanyag-tartályokat úgy kell beépíteni, hogy mellső vagy hátsó ütközésnél védve legyenek; a tüzelőanyag-tartály közelében nem lehetnek kiálló részek, éles peremek stb.
A tüzelőanyag-ellátó csővezetéket és a betöltőnyílást a vezetőfülkén kívül eső helyre kell beépíteni.
3. A tüzelőanyag-tartály statikus elektromos biztonságára vonatkozó követelmények
A tüzelőanyag-tartályt és tartozékait úgy kell kialakítani és a járművekbe beszerelni, hogy a statikus elektromos töltés okozta gyulladásveszély elkerülhető legyen.
Szükség esetén a töltés elvezetésére irányuló intézkedés(eke)t kell hozni. A legalább 55 °C-os lobbanáspontú tüzelőanyag tárolására tervezett tüzelőanyag-tartályok esetében azonban nem előírás a töltés elvezetésére irányuló rendszer. A lobbanáspontot az ISO 2719:2002 szabvány szerint kell megállapítani.
A gyártó bemutatja a műszaki szolgálatnak az(oka)t az intézkedés(eke)t, amely(ek) e követelmények teljesülését lehetővé teszi(k).
XXVI. MELLÉKLET
A hátsó ütközésvédelemre vonatkozó követelmények
1. Általános tudnivalók
Az e rendelet hatálya alá tartozó R kategóriájú járműveket úgy kell megtervezni, hogy azok hatékonyan védve legyenek az M1 és N1 kategóriájú járművek hátulról történő aláfutása ellen ( 12 ). Meg kell felelniük az e melléklet 2. és 3. szakaszában foglalt követelményeknek, az (EU) 2015/504 végrehajtási rendelet V. mellékletében meghatározott típusbizonyítvánnyal kell rendelkezniük, és hátsó védőszerkezetükön az említett rendelet IV. mellékletének 5.2. pontjában meghatározott EU-típusjóváhagyási jelnek kell szerepelnie.
2. Követelmények
2.1. A Ra és Rb kategóriájú járműveket úgy kell kialakítani és/vagy felszerelni, hogy azok hatékonyan védve legyenek az M1 és N1 kategóriájú járművek hátulról történő aláfutása ellen.
2.1.1. A járművet az alábbi feltételek mellett kell vizsgálni:
- vízszintes, sík, szilárd és sima felületen kell állnia,
- az első kerekeknek egyenesen előrefelé kell állniuk,
- a gumiabroncsokat a jármű gyártója által ajánlott nyomásra kell felfújni,
- ha a megfelelő vizsgálati erő eléréséhez szükséges, a járművet bármilyen - a gyártó által meghatározott - módon rögzíteni lehet,
ha a jármű hidropneumatikus, hidraulikus vagy pneumatikus rugózással, illetve terhelésfüggő automatikus szintszabályozó berendezéssel van ellátva, azt a gyártó által a felfüggesztésre vagy berendezésre megadott feltételek szerint kell vizsgálni.
2.2. Az R1a, R1b, R2a vagy R2b kategóriák valamelyikébe tartozó bármely jármű úgy tekintendő, hogy teljesíti a 2.1. pontban meghatározott feltételt:
- ha megfelel a 2.3. pontban meghatározott feltételeknek, vagy
- ha a földtől mért szerkezeti magassága a terheletlen jármű hátsó részén nem haladja meg az 55 cm-t olyan szélességben, amely egyik oldalon sem rövidebb 10 cm-rel a hátsó tengely szélességénél (eltekintve a gumiabroncsok talaj közeli kidomborodásától).
Ha egynél több hátsó tengely van, a legszélesebb tengely méretét kell figyelembe venni.
E követelménynek a jármű leghátsó pontjától mért legfeljebb 45 cm távolságban kell teljesülnie.
2.3. Az R3a, R3b, R4a vagy R4b kategóriák valamelyikébe tartozó bármely jármű úgy tekintendő, hogy teljesíti a 2.1. pontban meghatározott feltételt, ha:
- a járművet a 2.4. pont követelményeivel összhangban különleges hátsó aláfutásgátló berendezéssel szerelték fel, vagy
- a járművet úgy tervezték és/vagy a hátsó részén úgy szerelték fel, hogy alkatrészei alakjuknál és jellemzőjüknél fogva a hátsó aláfutásgátló berendezés helyettesítőjeként tekinthetők. A 2.4 pontban felsorolt követelményeknek kombinált funkciójuk révén megfelelő alkatrészeket hátsó aláfutásgátló berendezésnek kell tekinteni.
2.4. A hátsó aláfutásgátló berendezés (a továbbiakban a "berendezés") általában egy kereszttartóból és azt az alváz oldaltartóihoz vagy egyéb, ezt helyettesítő részeihez erősítő elemekből áll.
2.4. a. Emelőhátfalas járműveknél az aláfutásgátló megszakítható az emelő hátfal mechanikája miatt. Ilyenkor a következő feltételek alkalmazandók:
2.4. a.
1. az aláfutásgátló szerkezet illeszkedő elemei és az emelő hátfal - megszakítást szükségessé tevő - elemei közötti oldalirányú távolság nem lehet nagyobb 2,5 cm-nél;
2.4. a.
2. az aláfutásgátló szerkezet egyedi elemeinek minden esetben legalább 350 cm2 felületűeknek kell lenniük;
2.4. a.
3. az aláfutásgátló szerkezet egyedi elemeinek olyan méretűeknek kell lenniük, hogy kielégítsék a 2.4.5.1. bekezdés feltételeit, amelyek meghatározzák a vizsgálandó pontok viszonylagos helyzetét. Amennyiben a P1 pontok a 2.4a. pontban említett megszakítási területen belül találhatók, a használandó P1 pontok a hátsó aláfutásgátló berendezés oldalsó szelvényének közepére kerülnek;
2.4. a.
4. az aláfutásgátló szerkezetnek az emelő hátfal miatt megszakított részére a 2.4.1. pont rendelkezéseit nem kell alkalmazni.
A berendezésnek az alábbi jellemzőkkel kell rendelkeznie:
2.4.1. a berendezést a jármű hátsó részéhez a lehető legközelebb kell felszerelni. Terheletlen járműnél ( 13 ) a berendezés alsó széle egyik pontján sem lehet 55 cm-nél magasabban a talaj felett;
2.4.2. a berendezés szélessége egyetlen ponton sem nyúlhat túl a hátsó tengelynek a kerekek legkülső pontjainál mért szélességén, és oldalanként legfeljebb 10 cm-rel lehet rövidebb, eltekintve a gumiabroncsok talajhoz közeli kidomborodásától. Ha egynél több hátsó tengely van, a legszélesebb tengely méretét kell figyelembe venni. A berendezés szélessége semmi esetre sem haladhatja meg a 2,55 m-t;
2.4.3. a kereszttartó szelvénymagasságának legalább 10 cm-nek kell lennie. A kereszttag oldalsó végei nem hajolhatnak hátra, és nem végződhetnek élben; ez a feltétel teljesül, ha a kereszttag oldalsó végei le vannak kerekítve, és a görbületi sugár legalább 2,5 mm;
2.4.4. a berendezést úgy is ki lehet alakítani, hogy a jármű hátsó részén elfoglalt helyzete változtatható legyen. Ebben az esetben olyan garantált módszerrel kell azt üzemi helyzetében rögzíteni, ami kizár minden szándékolatlan elmozdulást. A berendezés helyzetének változtatását a kezelőnek legfeljebb 40 daN erővel végre kell tudnia hajtani;
2.4.5. a berendezésnek megfelelő ellenállást kell tanúsítania a jármű hossztengelyével párhuzamosan ható erőkkel szemben, és annak üzemi helyzetében az alváz oldaltartóihoz vagy egyéb ezt helyettesítő részeihez kell rögzítve lennie.
Ez a követelmény teljesül, ha bizonyítható, hogy az erő alkalmazása során és azt követően a berendezés hátsó része és a jármű leghátsó része közötti vízszintes távolság a P1, P2 és P3 pontok egyikében sem haladja meg a 40 cm-t. E távolságok mérése során a terheletlen jármű azon részeit, amelyek 3 m-nél magasabban vannak a talajtól, figyelmen kívül kell hagyni;
2.4.5.1. a P1 pontok a hátsó tengely kerekeinek külső széleit érintő hosszirányú síktól 30 cm-re helyezkednek el; a P1 pontokat összekötő vonalon lévő P2 pontok a jármű hosszanti középsíkjára szimmetrikusan helyezkednek el egymástól 70-100 cm távolságra (ezeket a határértékeket is beleértve), a pontos méretet a gyártó határozza meg. A P1 és P2 pontok talaj feletti magasságát a berendezést vízszintesen határoló vonalak között a gyártó határozza meg. A magasság azonban terheletlen jármű esetében semmiképp sem lehet több 60 cm-nél. P3 a P2 pontokat összekötő egyenes középpontja;
2.4.5.2. a P1 pontokra és a P3 pontra a jármű műszakilag megengedett tömege 25 %-ának megfelelő, de 5 × 104 N-nál nem nagyobb vízszintes erőt kell egymás után kifejteni;
2.4.5.3. a P2 pontokra a jármű műszakilag megengedett tömege 50 %-ának megfelelő, de 10 × 104 N-nál nem nagyobb vízszintes erőt kell egymás után kifejteni;
2.4.5.4. a fenti 2.4.5.2. és 2.4.5.3. pontban megadott erőket külön-külön kell kifejteni. Az erők kifejtésének sorrendjét a gyártó határozhatja meg;
2.4.5.5. a fenti követelmények teljesülésének igazolására szolgáló gyakorlati vizsgálatok során a következő feltételeknek kell teljesülniük:
2.4.5.5.1. a berendezést a járműalváz oldaltartóihoz vagy egyéb ezt helyettesítő részeihez kell erősíteni;
2.4.5.5.2. a megadott erőket megfelelő csuklós (pl. kardáncsuklóval ellátott) nyomófejek útján a jármű hosszanti középsíkjával párhuzamosan, egy legfeljebb 25 cm magasságú (a pontos magasságot a gyártó adja meg) és 20 cm szélességű olyan felületen kell kifejteni, amelynek függőleges szélei 5 ± 1 mm-es görbületi sugárral vannak lekerekítve; a felület középpontját kell egymás után a P1, P2 és P3 pontokra helyezni.
2.5. A fenti követelményektől eltérve, az alábbi kategóriákhoz tartozó járműveknek nem szükséges megfelelniük e melléklet hátsó aláfutás elleni védelemre vonatkozó követelményeinek:
- "hevederes (slung)" pótkocsik és más hasonló, igen hosszú fatörzsek vagy tárgyak szállítására szolgáló pótkocsik,
- olyan járművek, amelyek használati módjával a hátsó aláfutásgátló berendezés összeegyeztethetetlen.
3. Kivételek
Azok a járművek, amelyeknél az aláfutásgátló szerkezet összeegyeztethetetlen a hátsó szerelésű funkcionális berendezésekkel, mentesülnek a követelmény alól. Más esetben a járművet hátul olyan aláfutásgátló szerkezettel kell felszerelni, amely nem akadályozza a szóban forgó funkcionális berendezések működését.
XXVII. MELLÉKLET
Az oldalsó ütközésvédelemre vonatkozó követelmények
1. Általános előírások
1.1. Minden R3b és R4b kategóriájú járművet úgy kell kialakítani és/vagy felszerelni, hogy hatásos védelmet nyújtson a védtelen úthasználóknak (gyalogosok, kerékpárosok, motorkerékpárosok) a járművek oldala alá esés és a kerekek alá kerülés kockázata ellen.
Ez a melléklet nem vonatkozik az alábbiakra:
- osztatlan hosszúságú, igen hosszú rakományok, pl. farönkök, acélrudak stb., szállítására tervezett és kialakított különleges pótkocsik,
- különleges célokra tervezett és kialakított járművek, amelyeknél gyakorlati okok miatt nem lehet oldalsó védőszerkezetet kialakítani.
1.2. Egy jármű akkor elégíti ki az 1.1. pont követelményeit, ha az oldalsó részei által nyújtott védelem teljesíti az 1.3. -5. pont és az 1. függelék rendelkezéseit.
1.3. A jármű elhelyezése az oldalsó ütközésvédelem vizsgálatához
A 2. pontban megadott műszaki követelményeknek való megfelelés vizsgálatakor a járművet a következőképpen kell elhelyezni:
- vízszintes és sík felületen kell állnia,
- a kormányzott kerekeknek egyenesen előrefelé kell állniuk,
- a járműnek terheletlennek kell lennie,
- a félpótkocsiknak úgy kell felfeküdniük a támaszukon, hogy a rakfelületük vízszintes legyen.
2. Különleges berendezéssel (oldalsó védőszerkezettel) megvalósított oldalsó védelem
2.1. A jármű szélessége a berendezéssel együtt nem haladhatja meg a jármű legnagyobb teljes szélességét vagy a 2,55 m-t, attól függően, hogy melyik a kisebb érték. A berendezés külső felületének fő része a jármű legkülső határoló síkjától (legnagyobb szélességétől) befelé mérve nem távolodhat el 120 mm-nél nagyobb mértékben. Elülső vége bizonyos járműveken befelé fordulhat, a 2.4.2. és 2.4.3. pontnak megfelelően. Hátsó vége legalább a leghátsó 250 mm-en nem lehet a hátsó gumiabroncsok legkülső élénél 30 mm-nél beljebb (eltekintve a gumiabroncsok talaj közeli kidomborodásától).
2.2. A berendezés külső felületének simának, minél laposabbnak vagy vízszintesen bordázottnak kell lennie, minél folyamatosabban az elejétől a végéig; a szomszédos részek ugyanakkor fedhetik egymást, ha az átfedések szabad élei hátrafelé vagy lefelé néznek, illetve ha 25 mm-nél nem nagyobb rés van hosszirányban, és feltéve, hogy a hátsó rész nem nyúlik ki az elülső rész külsején túlra; a lekerekített csapszeg- és szegecsfejek a felülettől legfeljebb 10 mm-re nyúlhatnak ki, és egyéb részekre ugyanez érvényes, feltéve, ha simák és lekerekítettek; valamennyi külső élnek és saroknak lekerekítettnek kell lennie, legalább 2,5 mm-es sugárral (vizsgálatuk az 1. függelék előírásai alapján történik).
2.3. A berendezés egy folytonos sík felületből, vagy egy vagy több vízszintes sínből állhat, illetve állhat felület és sínek kombinációjából is; sínek alkalmazása esetén ezek legfeljebb 300 mm-re lehetnek egymástól, és
- az R3b jármű-kategóriánál legalább 50 mm magasságúnak;
- az R4b jármű-kategóriánál legalább 100 mm magasságúnak és alapvetően sík felületűnek kell lenniük. A sík felületek és sínek kombinációjából álló oldalsó védőszerkezeteknek - a 2.2. pont követelményeire is figyelemmel - folyamatos kialakításúnak kell lenniük.
2.4. Az oldalsó védőszerkezet első végét a következőképpen kell kialakítani:
2.4.1. Helyzete legyen a következő:
2.4.1.1. vonórudas pótkocsin: legfeljebb 500 mm-rel a közvetlenül a védőszerkezet előtt lévő kerék gumiabroncsának leghátsó részét érintő keresztirányú függőleges sík mögött;
2.4.1.2. merev vonórudas pótkocsi és középtengelyes pótkocsi: az első tengely középpontján átmenő keresztirányú sík előtti területen, de legfeljebb a felépítmény (ha van) elülső síkjáig, hogy a pótkocsi szokásos manőverezhetősége megmaradjon.
2.4.2. Amennyiben az első perem egyébként nyitott térbe nyúlik, az él folyamatos, függőleges tagban végződik, amely a védőszerkezet teljes magasságára kiterjed; az R3b kategóriánál ennek a tagnak a külső és előrenéző felületei legalább 50 mm-re hajolnak hátrafelé és 100 mm-re befelé, az R4b kategóriánál pedig legalább 100 mm-re hátrafelé és 100 mm-re befelé.
2.5. Az oldalsó védőszerkezet hátsó éle nem lehet 300 mm-rel előrébb annál a keresztirányú függőleges síknál, amelyik a hátsó részéhez legközelebbi hátsó gumiabroncs legelöl lévő pontját érinti; a hátsó élen nem szükséges folyamatos függőleges tagot elhelyezni.
2.6. Az oldalsó védőszerkezet alsó élének egyetlen pontja sem lehet a talajtól számítva 550 mm-nél magasabban.
2.7. Az aláfutásgátló felső éle nem lehet 350 mm-nél alacsonyabban a járműnek annál a szerkezeti részénél, amelyet a gumiabroncsok külső felületét (eltekintve a gumiabroncsok talaj közeli kidomborodásától) érintő függőleges sík metsz, vagy érint, kivéve a következő eseteket:
2.7.1. amennyiben a 2.7. pont szerinti sík nem metszi a járműszerkezetet, a felső élnek a rakfelülettel azonos szinten vagy a talajtól mért 950 mm magasságban kell lennie (amelyik érték kisebb);
2.7.2. amennyiben a 2.7. pont szerinti sík a járműszerkezetet a talajtól mért 1,3 méternél magasabban metszi, az oldalsó védőszerkezet felső élének legalább 950 mm-rel a talaj szintje felett kell lennie.
2.8. Az oldalsó védőszerkezet alapvetően merev, szilárdan beszerelt (a rögzítés a jármű rendes használatakor fellépő rezgés hatására nem lazulhat meg), és fémből vagy más alkalmas anyagból kell készülnie.
Az oldalsó védőszerkezetet alkalmasnak kell tekinteni, ha képes ellenállni 1 kN vízszintes statikus erőhatásnak, amely merőlegesen hat külső felületének bármely pontjára, ha az erőhatást egy kerek és lapos végű, 220 mm ± 10 mm átmérőjű dugattyú fejti ki, és az oldalsó védőszerkezet deformálódása a terhelések hatására legfeljebb:
- 30 mm a védőszerkezet leghátsó 250 mm-es szakaszán, és
- 150 mm a védőszerkezet fennmaradó részén.
2.8.1. A fenti követelmény számítások útján ellenőrizhető.
2.9. Az oldalsó védőszerkezet nem alkalmazható fék-, levegő- és hidraulikacsövek rögzítésére.
3. A fenti rendelkezésektől eltérően a következő típusú járműveknek csak az alább megadott egyes követelményeket illetően kell az előírásoknak megfelelniük:
3.1. A meghosszabbítható pótkocsi akkor felel meg a 2. pont összes követelményének, ha legkisebb hosszúságára van összetolva; ha a pótkocsi ki van húzva, az oldalsó védőszerkezeteknek meg kell felelniük a 2.6., 2.7. és a 2.8. pontnak, illetve a 2.4. vagy a 2.5. pontnak, de nem feltétlenül mindkettőnek; a pótkocsi megnyújtása nem képezhet réseket az oldalsó védőszerkezetek hossza mentén;
3.2. a tartálykocsikat, amelyek kizárólag folyékony anyagok tartósan rögzített, zárt tartályban történő szállítására szolgálnak, és a töltéshez vagy ürítéshez szükséges cső- vagy tömlő- csatlakozással vannak ellátva, úgy kell felszerelni oldalsó védőszerkezettel, hogy az olyan mértékben feleljen meg a 2. pont követelményeinek, amennyire csak a gyakorlati használat megengedi; a követelmények szigorú betartása csak akkor mellőzhető, ha ezt az üzemeltetési követelmények szükségessé teszik;
3.3. A kitolható lábakkal ellátott járműveken - ha ezek a lábak a stabilitás fokozására szolgálnak berakodáskor, kirakodáskor vagy más olyan műveleteknél, amelyekhez a járművet tervezték - az oldalsó védőszerkezeten kialakíthatók olyan rések, amelyek lehetővé teszik a lábak kitolását.
4. Ha a jármű oldalsó kiképzése és/vagy felszerelése olyan, hogy alakja és méretei folytán összességében teljesülnek a 2. pont követelményei, akkor úgy tekinthető, hogy ez az oldalsó kialakítás helyettesíti az oldalsó védőszerkezetet.
5. Alternatív követelmények Az 1.3-2.9., valamint a 4. pont betartása helyett a gyártók úgy is dönthetnek, hogy a 73. számú ENSZ-EGB-előírás 2. és 3. pontját, I., II. és III. részét, valamint 3. mellékletét teljesítik, az I. mellékletben leírtak szerint.
1. Függelék
Eljárás a külső felületek kinyúlásai magasságának meghatározásához
1. A kinyúló rész "H" magassága grafikusan egy olyan, 165 mm átmérőjű kör kerülete segítségével határozható meg, amely belülről érinti a külső felület külső körvonalát a vizsgálandó szelvénynél.
2. "H" a 165 mm átmérőjű kör középpontján átmenő egyenes mentén, az említett kör kerülete és a kinyúlás külső vonala között mért távolság legnagyobb értéke (lásd az 1. ábrát).
3. Ha a kinyúlás alakja olyan, hogy egy 100 mm átmérőjű kör nem tud érintkezni a szóban forgó szelvény külső felületének külső körvonalával, az ilyen helyen külső körvonalnak azt a vonalat kell tekinteni, amelyet a 100 mm átmérőjű kör képez a külső körvonallal való érintkezési pontjai között (lásd a 2. ábrát).
4. A gyártó rendelkezésre bocsátja a külső felületek szükséges keresztmetszeti rajzait annak érdekében, hogy a fent említett kinyúlások magasságát meg lehessen mérni.
1. ábra

2. ábra

XXVIII. MELLÉKLET
Rakfelületekre vonatkozó követelmények
1. A rakfelület tömegközéppontjának a tengelyek közé kell esnie.
2. A rakfelület méretére érvényes előírások a következők:
- a hossza nem haladhatja meg a traktor első vagy hátsó nyomtávjának (amelyik nagyobb) 1,4-szeresét,
- a szélessége nem haladhatja meg a traktor szerelvények nélküli legnagyobb teljes szélességét vagy a 2,55 m-t, attól függően, hogy melyik a kisebb érték.
3. A rakfelületnek a traktor hossztengelyéhez képest szimmetrikusan kell elhelyezkednie.
4. A rakfelület útfelülettől mért magassága legfeljebb 150 cm lehet.
5. A rakfelület jellege és rögzítése normál rakománnyal nem akadályozhatja a járművezető kilátását, illetve a különböző kötelező világító és fényjelző készülékek teljesíthessék megfelelő funkciójukat.
6. A rakfelület levehető is lehet; azt úgy kell a traktorra rögzíteni, hogy ki legyen zárva a véletlen leválás veszélye.
7. A T4.3 és T2 kategóriájú traktorok rakfelületének hossza
7.1. A T4.3 kategóriájú traktorok esetében a rakfelület hossza nem haladhatja meg a traktor első vagy hátsó nyomtávjának (amelyik nagyobb) 2,5-szeresét.
7.2. A T2 kategóriájú traktorok esetében a rakfelület hossza nem haladhatja meg a traktor első vagy hátsó nyomtávjának (amelyik nagyobb) 1,8-szeresét.
8. Több rakfelülettel rendelkező járművek esetén a terhelt rakfelületű jármű tömegközéppontjának vezető nélkül a legelső és a leghátsó tengely közé kell esnie mindenféle terhelési állapotban. A rakományt egyenletesen kell elosztani a rakfelület(ek)en.
XXIX. MELLÉKLET
Elvontató berendezésekre vonatkozó követelmények
1. Darabszám
Minden traktort fel kell szerelni egy olyan külön szerkezettel, amelyhez - a traktor vontatásának céljából - összekötő elem (pl. vonórúd vagy vontatókötél) rögzíthető.
2. Elhelyezés
A berendezést a traktor első részén kell elhelyezni, és azt a vonócsappal vagy -horoggal kell ellátni.
3. Kialakítás
Az elvontató berendezésnek befogópofa-típusúnak kell lennie, illetve megfelelő csörlővel kell rendelkeznie. A rögzítőcsap középpontjánál található nyílásnak 60 mm +0,5/-1,5 mm méretűnek, a pofamélységnek pedig a vontatócsapszeg középpontjától mérve 62 mm -0,5 mm/+5 mm méretűnek kell lennie.
A vonócsap előírt átmérője 30 + 1,5 mm, és azt egy olyan szerkezettel kell ellátni, amely megakadályozza a fészekből történő kiesését használat közben. A biztosító elemet le nem választható módon kell felszerelni.
A megadott + 1,5 mm nem gyártási tűrés, hanem a különféle kivitelű kapcsolószegek névleges méretének megengedett eltérése.
4. Alternatív követelmények
4.1. A 3. pontban megadott méreteket túl lehet lépni, ha a gyártó úgy ítéli meg, hogy azok a jármű mérete vagy tömege miatt nem elegendők.
4.2. A 2 000 kg-ot meg nem haladó műszakilag megengedett legnagyobb tömegű járművek esetében a gyártók választhatják az 1., 2. vagy 3. pontban vagy az 1005/2010/EU bizottsági rendeletben ( 14 ) foglalt követelmények alkalmazását is.
5. Utasítások
Az elvontató berendezés helyes használatát ismertetni kell a kezelési útmutatóban, az 1322/2014/EU felhatalmazáson alapuló rendelet 25. cikkében meghatározott követelményeknek megfelelően.
XXX. MELLÉKLET
Gumiabroncsokra vonatkozó követelmények
1. Fogalommeghatározások
E mellékletben:
1.1. "ciklikus használat" : az az állapot, amelyben a gumiabroncsra gyakorolt terhelés ciklikusan váltakozik a teljes terhelés és a terheletlen állapot között;
1.2. "nagy és tartós nyomaték" : az az állapot, amely a vonórúdra vagy a vonószerkezetre gyakorolt terhelésből adódik;
1.3. "megfelelő abroncsnyomás" : a gumiabroncs belső nyomása környezeti hőmérsékletű gumiabroncson (vagyis hideg gumiabroncson mért nyomás), amely a jármű terhelésétől, sebességétől és használati feltételeitől függő ajánlott nyomás. Nem tartalmazza a gumiabroncsok használata során jelentkező nyomásnövekedést, és mértékegysége a kPa;
1.4. "legnagyobb névleges terhelhetőség" : az a tömeg, amelyet a gumiabroncs a gumiabroncsgyártó által a gumiabroncs használatára vonatkozó utasításoknak megfelelő használat esetén elbír;
1.5. "a tengelyenként megengedett legnagyobb tömeg a gumiabroncsnak megfelelően" : a tengely kerekei által a talajra gyakorolható legnagyobb megengedett statikus függőleges terhelésnek megfelelő tömeg a járműre felszerelhető gumiabroncstípusok adatközlő lapon megadott legnagyobb névleges terhelhetősége figyelembevételével.
2. Követelmények
2.1. A gumiabroncsok alkatrész-típusjóváhagyására vonatkozó követelmények
2.1.1. Elsősorban mezőgazdasági járművekhez tervezett, diagonál és öves diagonál szerkezetű, 40 km/h-t meg nem haladó referenciasebességű pneumatikus gumiabroncsokra (A8 sebességkategória-jel), valamint elsősorban építőipari célokra tervezett radiál ("Industrial", "IND", "R-4" vagy "F-3" jelzésű) gumiabroncsokra vonatkozó rendelkezések.
2.1.1.1. Az adott típusnak megfelelő összes gumiabroncsot a 2.1.1.2-2.1.1.2.4. pont szerinti jelöléssel kell ellátni.
2.1.1.2. A jelölésre vonatkozó különleges követelmények.
2.1.1.2.1. A gumiabroncsokat a következő jelölésekkel kell ellátni az ISO 4223-1:2002/Amd 1:2011, szabványnak megfelelően, feltüntetve az alábbiakat:
- gumiabroncs méretjelölése;
- terhelhetőségi jelzőszám (az adott sebességkategóriának megfelelő sebességen a gumiabroncs által elviselt legnagyobb terhelést jelző számkód);
- sebességkategória-jel (amely azt a sebességet jelenti, amelynél a gumiabroncs a megfelelő terhelhetőségi jelzőszám által megadott terhelést elbírja); és
- a "TUBELESS" szó, amennyiben a gumiabroncsot belső tömlő nélküli használatra tervezték.
2.1.1.2.2. A gumiabroncsokon a következő kiegészítő jelöléseknek kell szerepelnie:
- a gyártó kereskedelmi neve vagy márkajelzése,
- az az abroncsnyomás, amelyet a gumiabroncs felszerelése során a köpenyperem felfekvése érdekében nem szabad túllépni,
- munkagépekre tervezett gumiabroncsok esetében a használati jelzet (vagyis a terhelhetőségi jelzőszám és a sebességkategória-jel) mellett fel kell tüntetni, hogy azok "hajtókeréken", "futókeréken" vagy mindkettőn alkalmazandók, és
- a gyártás időpontja négyjegyű számcsoport formájában; az első kettő a gyártás hetét, az utolsó kettő pedig a gyártás évét mutatja.
2.1.1.2.3. A 2.1.1.2.1. és 2.1.1.2.2. pontban említett valamennyi jelölést olvashatóan és tartósan bele kell önteni a gumiabroncsok oldalfalába vagy oldalfalára, és azokat a gyártási folyamat részeként kell előállítani. Az eredeti gyártási folyamat befejezése utáni beégetés vagy más hasonló jelölési módszer használata tilos.
2.1.1.2.4. Összhangban a 167/2013/EU rendelet 34. cikkének (2) bekezdésével, nincs szükség típus-jóváhagyási jelre az elsősorban mezőgazdasági járművekhez tervezett, diagonál és öves diagonál szerkezetű, 40 km/h-t meg nem haladó referenciasebességű pneumatikus gumiabroncsokon (A8 sebességkategória-jel), valamint az elsősorban építőipari célokra tervezett radiál ("Industrial", "IND", "R-4" vagy "F-3" jelzésű) gumiabroncsokon.
Az ilyen gumiabroncsok típusjóváhagyás iránti kérelmével együtt benyújtandó adatközlő lap és adatközlő mappa mintája a 167/2013/EU rendelet 68. cikkének a) pontjában található meg.
Minden jóváhagyott típusú gumiabroncshoz egyedi típus-jóváhagyási számot kell rendelni, amelynek mintáját a 167/2013/EU rendelet 68. cikkének h) pontja tartalmazza, továbbá típusbizonyítványt kell kiadni, amelynek mintáját a 167/2013/EU rendelet 68. cikkének c) pontja tartalmazza.
2.1.2. A 2.1.1-2.1.1.2.4. pontban meghatározott követelményeknek megfelelő új pneumatikus gumiabroncsok 2018. december 31-jéig hozhatók továbbra is forgalomba.
2.1.2.1. A 2.1.2. pontban szereplő időpontot megelőzően gyártott olyan gumiabroncsok, amelyek nem felelnek meg a 2.1.3-2.1.3.1. pontban foglalt követelményeknek, de megfelelnek a 2.1.1-2.1.1.2.4. pontban foglalt követelményeknek, a megadott időponttól számítva legfeljebb 30 hónapig értékesíthetők.
2.1.3. Elsősorban mezőgazdasági járművekre tervezett pneumatikus, a 2.1.1-2.1.1.2.4. pontban foglaltaktól eltérő gumiabroncsokra vonatkozó követelmények.
2.1.3.1. A 2.1.1-2.1.1.2.4. pontban foglalt rendelkezések hatálya nem tartozó gumiabroncsoknak a megfelelő ENSZ-EGB-előírások szerinti típusoknak kell megfelelniük.
2.2. A járműtípusoknak a gumiabroncsok felszerelése tekintetében történő jóváhagyására vonatkozó követelmények
2.2.1. A 65 km/h-t meg nem haladó legnagyobb tervezési sebességű járműveken használt gumiabroncsok szerelésére vonatkozó különleges követelmények.
2.2.1.1. A 2.2.1.2. pont rendelkezéseinek függvényében a járművekre szerelt valamennyi gumiabroncsnak, ideértve a tartalék gumiabroncsokat is, a 106. számú ENSZ-EGB-előírás szerinti típusjóváhagyással kell rendelkeznie, az I. mellékletben leírtak szerint.
2.2.1.1.1. A 167/2013/EU rendelet szerinti típusjóváhagyás céljaira, az elsősorban mezőgazdasági járművekhez tervezett, diagonál és öves diagonál szerkezetű, 40 km/h-t meg nem haladó referenciasebességű gumiabroncsok (A8 sebességkategória-jel), valamint az elsősorban építőipari célokra tervezett radiál ("Industrial", "IND", "R-4" vagy "F-3" jelzésű) gumiabroncsok típusjóváhagyása 2017. december 31-jéig e rendelet szerint végezhető el.
2.2.1.2. Ha egy járművet olyan használati körülményekre terveztek, amelyek összeegyeztethetetlenek a 106. számú ENSZ-EGB-előírás alapján - az I. mellékletben leírtak szerint - megadott típusjóváhagyással rendelkező gumiabroncsok jellemzőivel, és ezért más gumiabroncsokat kell felszerelni rá, a 2.2.1.1. pont rendelkezéseit nem kell alkalmazni, feltéve, hogy teljesülnek az alábbi feltételek:
- a gumiabroncsok megfelelnek a 661/2009/EK európai parlamenti és tanácsi rendeletnek ( 15 ) (vagyis a 30., 54. és 117. számú ENSZ-EGB-előírás szerinti típusjóváhagyással rendelkeznek az e rendelet I. mellékletében leírtak szerint), vagy azok a 75. számú ENSZ-EGB-előírás szerinti típusjóváhagyással rendelkeznek az I. mellékletben leírtak szerint, és
- a jóváhagyó hatóság és a műszaki szolgálat megbizonyosodott arról, hogy a felszerelt gumiabroncsok megfelelnek azoknak a körülményeknek, amelyek között a járművet működtetni kívánják. A vizsgálati jegyzőkönyvben egyértelműen meg kell adni, hogy a felmentés milyen jellegű, és milyen okokra hivatkozva adták meg.
2.2.2. A 65 km/h-t meghaladó legnagyobb tervezési sebességű járműveken használt gumiabroncsok felszerelésére vonatkozó különleges követelmények.
2.2.2.1. A 2.2.2.2. pont rendelkezéseinek függvényében a járművekre felszerelt valamennyi gumiabroncsnak, ideértve a tartalék gumiabroncsokat is, meg kell felelnie a 661/2009/EK rendeletnek (vagyis a 30., 54. és 117. számú ENSZ-EGB-előírás szerinti típusjóváhagyással kell rendelkeznie, az I. mellékletben leírtak szerint).
2.2.2.2. Ha egy járművet olyan használati körülményekre terveztek, amelyek összeegyeztethetetlenek a 661/2009/EK rendelet szerinti típusjóváhagyással rendelkező gumiabroncsok jellemzőivel, és ezért más gumiabroncsokat kell felszerelni rá, a 2.2.2.1. pont rendelkezéseit nem kell alkalmazni, feltéve, hogy teljesülnek az alábbi feltételek:
- a gumiabroncsok a 75. számú ENSZ-EGB-előírás szerinti típusjóváhagyással rendelkeznek, az I. mellékletben leírtak szerint, és
- a jóváhagyó hatóság és a műszaki szolgálat megbizonyosodott arról, hogy a felszerelt gumiabroncsok megfelelnek azoknak a körülményeknek, amelyek között a járművet működtetni kívánják. A vizsgálati jegyzőkönyvben egyértelműen meg kell adni, hogy a felmentés milyen jellegű, és milyen okokra hivatkozva adták meg.
2.2.3. A gumiabroncsok felszerelésére vonatkozó általános követelmények
2.2.3.1. Minden, egy adott tengelyre felszerelt alapfelszerelésű gumiabroncsnak azonos típusúnak kell lennie (a 2.2.4.1.1. és 2.2.4.1.2. pontban leírt esetek kivételével).
2.2.3.2. Annak a térnek, amelyben az egyes kerekek forognak, elég nagynak kell lennie ahhoz, hogy a megengedett legnagyobb méretű és kerékpánt-szélességű gumiabroncs használata esetén se akadályozza semmi a kerekek szabad mozgását a járműgyártó által - adott esetben - megadott legkisebb és legnagyobb besajtolási mélységeket, valamint a felfüggesztésre és a kormányzásra vonatkozó korlátozásokat figyelembe véve. Ezt az egyes kerekek számára rendelkezésre álló helyen a legnagyobb és a legszélesebb gumiabronccsal kell ellenőrizni, a vonatkozó ENSZ-EGB-előírásban megadott méretjelöléshez tartozó kerékpántméreteket, a gumiabroncsok külső átmérőjét, valamint a legnagyobb megengedett profilszélességet figyelembe véve. A vizsgálatokat nem a tényleges gumiabroncs, hanem a gumiabroncs legnagyobb befoglaló méreteit leképező tárgy forgatásával kell elvégezni a szóban forgó kerék helyén.
2.2.3.3. A műszaki szolgálat hozzájárulhat, hogy más vizsgálati eljárással (pl. virtuális vizsgálattal) ellenőrizzék a 2.2.3.2. pontban foglalt követelmények teljesülését, feltéve, hogy a gumiabroncs legnagyobb befoglaló mérete és a járműszerkezet közötti szabad helyre vonatkozó követelmények mindenhol teljesülnek.
2.2.4. Terhelhetőség
2.2.4.1. A járműre felszerelt valamennyi gumiabroncs legnagyobb névleges terhelhetőségének - a jármű legnagyobb tervezési sebességét és a legnagyobb igénybevételt jelentő használati feltételeket, valamint a 2.2.6-2.2.6.5. pontban említett különleges eseteket figyelembe véve - legalább az alábbiakkal kell egyenlőnek lennie:
- a legnagyobb megengedett tengelyenkénti tömeg, ha a tengelyen csak egy gumiabroncs van,
- a legnagyobb megengedett tengelyenkénti tömeg fele, ha a tengelyen egyenkénti elrendezésben két gumiabroncs van,
- a legnagyobb megengedett tengelyenkénti tömeg 0,285-szerese, ha a tengelyen két készlet kettős (iker) elrendezésű gumiabroncs van,
- a legnagyobb megengedett tengelyenkénti tömeg 0,20-szorosa, ha a tengelyen két készlet hármas elrendezésű gumiabroncs van.
2.2.4.1.1. Abban az esetben, ha a kettős (iker) vagy hármas elrendezéseket eltérő típusú (vagyis más méretjelölésű vagy használati jelzetű) gumiabroncsok alkotják, a következő szabályok alkalmazandók:
- a gumiabroncsok teljes átmérőjének azonosnak kell lennie,
- a gumiabroncsoknak azonos "használati kategóriájúnak" kell lenniük és azonos "szerkezettel" és "sebességkategória-jellel" kell rendelkezniük a 106. számú ENSZ-EGB-előírás 2.1.3., 2.1.4. és 2.1.5. bekezdéseinek megfelelően, az I. mellékletben leírtak szerint,
- a járművet szimmetrikusan kell felszerelni,
- az adott tengelyre szerelt gumiabroncsok legnagyobb névleges terhelhetőségeinek összege kettős (iker) elrendezés esetén legalább a legnagyobb megengedett tengelyterhelés 1,14-szorosa, hármas elrendezés esetén legalább a legnagyobb megengedett tengelyterhelés legalább 1,2-szerese kell, hogy legyen,
- a legnagyobb megengedett tengelyenkénti tömegnek az adott elrendezés egyes gumiabroncsaira eső része nem haladhatja meg az egyes gumiabroncsok legnagyobb névleges terhelhetőségét,
- az elrendezésben található egyes gumiabroncsok nyomásának meg kell felelnie a gumiabroncs gyártója által ajánlott értéknek, figyelembe véve az egyes gumiabroncsok tényleges terhelését és a használati feltételeket.
2.2.4.1.2. Ha egy jármű mindegyik tengelyén olyan gumiabroncsokkal szerelhető fel, amelyek legnagyobb névleges terhelhetőségeinek az összege kisebb, mint a legnagyobb megengedett tengelyenkénti tömeg, a 2.2.4.1. és 2.2.4.1.1. pontban foglalt követelmények úgy alkalmazandók, hogy a legnagyobb megengedett tengelyenkénti tömeg helyett a gumiabroncs jellemzői alapján meghatározott legnagyobb megengedett tengelyenkénti tömeget kell figyelembe venni.
A gumiabroncs jellemzői alapján meghatározott legnagyobb megengedett tengelyenkénti tömeg és a legnagyobb megengedett tengelyenkénti tömeg értékét a jármű gyártója határozza meg.
A használati útmutatóban, az adatközlő lapon és a megfelelőségi tanúsítványon fel kell tüntetni minden egyes tengelyenkénti tömeget a gumiabroncs jellemzői alapján meghatározott legnagyobb megengedett tengelyenkénti tömegtől függően.
2.2.4.2. Egy gumiabroncs legnagyobb névleges terhelhetőségét a következőképpen kell meghatározni:
2.2.4.2.1. A "D" (65 km/h) vagy annál alacsonyabb értékű sebességkategória-jellel azonosított gumiabroncsok esetében a 106. számú ENSZ-EGB-előírás 2.30. bekezdésében - az I. mellékletben leírtak szerint - említett "táblázat: terhelhetőség változása a sebesség függvényében" alkalmazandó az adott használati kategóriának megfelelően. A táblázat a terhelhetőségi jelzőszámok és a névleges sebességkategória-jelek függvényében mutatja a terhelhetőség pneumatikus gumiabroncs számára elviselhető változásait a jármű legnagyobb tervezési sebességének figyelembevételével.
2.2.4.2.2. Az "F" (80 km/h) vagy annál magasabb értékű sebességkategória-jellel azonosított, az 54. számú ENSZ-EGB-előírás szerinti típusjóváhagyással rendelkező gumiabroncsok esetében az előírás 2.29. bekezdésében - az I. mellékletben leírtak szerint - említett "táblázat: terhelhetőség változása a sebesség függvényében" alkalmazandó. A táblázat a terhelhetőségi jelzőszámok és a névleges sebességkategória-jelek függvényében mutatja a terhelhetőség pneumatikus gumiabroncs számára elviselhető változásait a jármű legnagyobb tervezési sebességének figyelembevételével.
2.2.4.2.3. A 75. számú ENSZ-EGB-előírás szerinti típusjóváhagyással rendelkező gumiabroncsok esetében az előírás 2.27. bekezdésében - az I. mellékletben leírtak szerint - említett "táblázat: terhelhetőség változása a sebesség függvényében" alkalmazandó. A táblázat a terhelhetőségi jelzőszámok és a névleges sebességkategória-jelek függvényében mutatja a terhelhetőség pneumatikus gumiabroncs számára elviselhető változásait a jármű legnagyobb tervezési sebességének figyelembevételével.
2.2.4.3. A terhelhetőségi és sebességi jelzőszámokra, valamint a megfelelő abroncsnyomásokra vonatkozó információkat világosan meg kell adni a jármű használati útmutatójában annak érdekében, hogy a már forgalomba helyezett járműre szükség esetén megfelelő terhelhetőségű cseregumiabroncsokat szereljenek fel.
2.2.4.3.1. Az adatközlő lapon megadott terhelhetőségi jelzőszámnak a szóban forgó gumiabroncs legnagyobb megengedett terhelésével kompatibilis fokozatok közül a legalacsonyabbnak kell lennie. Magasabb fokozatú gumiabroncsokat is fel lehet szerelni.
2.2.5. Megengedett sebesség
2.2.5.1. Minden alapfelszerelésű gumiabroncson fel kell tüntetni a sebességkategória-jelet.
2.2.5.1.1. A sebességkategória-jelnek összhangban kell lennie a legnagyobb tervezési sebességgel.
2.2.5.1.2. A 2.2.4.2.1-2.2.4.2.3. pontban említett kiigazított névleges terhelést kell figyelembe venni.
2.2.5.2. A vonatkozó információkat és a megfelelő abroncsnyomást világosan meg kell adni a jármű felhasználói kézikönyvében annak érdekében, hogy a már forgalomba helyezett járműre szükség esetén megfelelő sebességkategóriájú cseregumiabroncsokat szereljenek fel.
2.2.5.2.1. Az adatközlő lapon megadott sebességkategória-jelnek a jármű legnagyobb tervezési sebességével kompatibilis fokozatok közül a legalacsonyabbnak kell lennie. Magasabb fokozatú gumiabroncsokat is fel lehet szerelni.
2.2.6. A 65 km/h-t meg nem haladó legnagyobb tervezési sebességnek megfelelő sebességkategória-jellel (max. "D" jelzés) azonosított gumiabroncsokkal felszerelt járművekre vonatkozó különleges követelmények.
2.2.6.1. Ciklikus használat
2.2.6.1.1. Ciklikus használat esetén:
2.2.6.1.1.1. a lerakodást a közúti közlekedést megelőzően kell elvégezni;
2.2.6.1.1.2. a fecskendőkkel vagy más, a talajjal érintkező csatlakoztatott elemmel (pl. ekével), illetve vontatásra alkalmas eszközökkel felszerelt járművek nagy nyomatékkal működőnek tekintendők;
2.2.6.1.1.3. a pótkocsit vontató járművek szintén nagy nyomatékkal működőnek tekintendők, ha 11o-nál (20 %) meredekebb emelkedőkön haladnak.
2.2.6.1.2. A "traktor - kormányzott kerék" használati kategóriába sorolt és "FRONT", "F-1", "F-2" vagy "F-3" jelzéssel ellátott olyan gumiabroncsok esetében, amelyeket legfeljebb 10 km/h sebességgel használnak "homlokrakodóval" felszerelt traktoron, az egy gumiabroncsra ható legnagyobb terhelés nem haladhatja meg a gumiabroncson szereplő terhelhetőségi jelzőszámnak megfelelő terhelés kétszeresét.
2.2.6.1.3. A "traktor - hajtott kerék" használati kategóriába sorolt olyan gumiabroncsok esetében, amelyeket mezei munkaműveletekben nagy és tartós nyomatékkal (pl. szántás) használnak, az egy gumiabroncsra ható legnagyobb terhelés nem haladhatja meg a gumiabroncson szereplő terhelhetőségi jelzőszám szerinti terhelésnek az A8 sebességkategória-jelű gumiabroncsok esetén 1,07-dal, D sebességkategória-jelű gumiabroncsok esetén pedig 1,15-dal megszorzott értékét.
2.2.6.1.4. A "traktor - hajtott kerék" használati kategóriába sorolt olyan gumiabroncsok esetében, amelyeket mezei munkaműveletekben nagy és tartós nyomaték nélkül és legfeljebb 10 km/h sebességgel használnak (kivéve a 20 %-nál nagyobb lejtésű hegyoldalakon történő használatot), az egy gumiabroncsra ható legnagyobb terhelés nem haladhatja meg a gumiabroncson szereplő terhelhetőségi jelzőszámnak megfelelő terhelés 1,70-szorosát.
2.2.6.1.5. A "traktor - hajtott kerék" használati kategóriába sorolt olyan gumiabroncsok esetében, amelyeket mezei munkaműveletekben nagy és tartós nyomaték nélkül és legfeljebb 15 km/h sebességgel használnak (kivéve a 20 %-nál nagyobb lejtésű hegyoldalakon történő használatot), az egy gumiabroncsra ható legnagyobb terhelés nem haladhatja meg a gumiabroncson szereplő terhelhetőségi jelzőszámnak megfelelő terhelés 1,55-szorosát.
2.2.6.1.6. A "munkagép" használati kategóriába sorolt, T, R és S kategóriájú járművekre szerelt, A6 vagy A8 sebességkategória-jellel ellátott, 24-nél kisebb kerékpántátmérő-kódú olyan gumiabroncsok esetében, amelyeket "ciklikusan változó nagy terhelésű" üzemmódban használnak (vagyis ha a jármű az egyik útja során üres, a másik útja során pedig a műszakilag megengedett legnagyobb terhelt tömege kétszeresen meghaladja a menetkész állapotban mért terheletlen tömeget), a terhelhetőség változása a 2.2.4.2.1. pontban meghatározott sebességen futókerekek esetén legfeljebb 20 %-kal, hajtott kerekek esetén pedig legfeljebb 43 %-kal növelhető.
2.2.6.1.7. A 2.2.6.1.2-2.2.6.1.6. pontban említett esetekben alkalmazandó legkisebb abroncsnyomást a gyártónak kell megadnia.
2.2.6.2. A "traktor - kormányzott kerék" használati kategóriába sorolt olyan "nagy merevségű gumiabroncsok" vagy "nagyon nagy merevségű gumiabroncsok" esetében, amelyeket legfeljebb 10 km/h sebességgel használnak "homlokrakodóval" felszerelt traktoron, az egy gumiabroncsra ható legnagyobb terhelés nem haladhatja meg a gumiabroncson szereplő terhelhetőségi jelzőszámnak megfelelő terhelés 1,40-szorosát, és a referencianyomást 80 kPa-lal növelni kell.
2.2.6.2.1. A "traktor - hajtott kerék" használati kategóriába sorolt, az IF előtaggal és a "CFO" utótaggal ellátott olyan "nagy merevségű gumiabroncsok" esetében, amelyeket mezei munkaműveletekben nagy és tartós nyomaték nélkül használnak T kategóriájú járműveken (kivéve a 20 %-nál nagyobb lejtésű hegyoldalakon történő használatot), az egy gumiabroncsra ható legnagyobb terhelés nem haladhatja meg a gumiabroncson szereplő terhelhetőségi jelzőszámnak megfelelő terhelés 1,55-szorosát 15 km/h legnagyobb megengedett sebességig, illetve 1,30-szorosát 30 km/h legnagyobb megengedett sebességig.
2.2.6.3. Amennyiben a "traktor - hajtott kerék" használati kategóriába sorolt gumiabroncsok a D vagy az A8 sebességkategória-jelet viselik, és azokat 25 km/h és 40 km/h sebesség között működtetett mezőgazdasági pótkocsikon használják, az egy gumiabroncsra ható legnagyobb terhelés nem haladhatja meg a gumiabroncson szereplő terhelhetőségi jelzőszámnak megfelelő terhelés 1,20-szorosát.
2.2.6.4. Az "erdészeti munkagép" használati kategóriába sorolt, T kategóriájú járművek hajtókerekeire szerelt olyan gumiabroncsok esetében, amelyeket erdészeti célokra nagy és tartós nyomatékkal használnak legfeljebb 10 km/h sebességgel (beleértve a 2.2.6.1.1.2 és 2.2.6.1.1.3 pontban említett eseteket is), az egy gumiabroncsra ható legnagyobb terhelés nem haladhatja meg a gumiabroncson szereplő terhelhetőségi jelzőszámnak megfelelő terhelést.
2.2.6.5. A "munkagép" használati kategóriába sorolt, A6 vagy A8 sebességkategória-jellel ellátott, T kategóriájú járművek kormányzott futókerekeire szerelt gumiabroncsok esetében a "futó" jelzésű terhelhetőség értékét meg kell szorozni 0,80-dal, figyelembe véve a jármű legnagyobb tervezési sebességét és a terhelhetőség sebességtől függő változását a 106. számú ENSZ-EGB-előírás 2.30. meghatározása szerint.
2.2.6.6. A megfelelő abroncsnyomásra vonatkozó információkat világosan meg kell adni a jármű használati útmutatójában annak érdekében, hogy a már forgalomba helyezett járműre szükség esetén megfelelő terhelhetőségű cseregumiabroncsokat szereljenek fel.
2.2.6.7. Amennyiben a mezőgazdasági vagy erdészeti járművekre szerelt gumiabroncsok megfelelő abroncsnyomása több mint 500 kPa, a gumiabroncs által sík felületre kifejtett talajnyomás nem haladhatja meg a 0,8 MPa-t.
2.2.6.7.1. A gumiabroncs talajnyomása az az átlagos terhelés, amelyet a megfelelően felfújt gumiabroncs az érintkezési felületén keresztül átvisz egy sík felületre. A függőleges erőt statikus állapotban kell megmérni a kerék tengelyén, figyelembe véve a gyártó által meghatározott legnagyobb megengedett tengelyenkénti tömeget. A gumiabroncs érintkezési felülete a gumiabroncs és a talaj között az összes érintkezési pontot magában foglaló legkisebb területet körülíró konvex poligon görbén belüli sík felület.
3. A gyártó akkreditált belső műszaki szolgálatai
Egy gumiabroncsgyártó akkreditált belső műszaki szolgálatként jelölhető ki a saját vizsgálat végrehajtására a 167/2013/EU rendelet 60. cikkével összhangban.
XXXI. MELLÉKLET
A felcsapódó víz elleni védelemre vonatkozó követelmények
1. Az összes Tb és Rb kategóriájú járműre vonatkozó követelmények
1.1. A Tb és az Rb kategóriájú járműveket kerékdobokkal kell ellátni (a felépítmény, sárvédő stb. részei).
1.2. A kerékdobokat úgy kell kialakítani, hogy - amennyire lehet - védjék a közlekedés többi résztvevőjét a szóródó kövektől, sártól, jégtől, hótól és víztől.
1.3. A kerekeknek felső kerékdobbal kell rendelkezniük, amelynek a gumiabroncs szélességének legalább kétharmad részét fedniük kell. A kerékdob első és hátsó élének legalább 90 fokos szöget kell bezárnia.
1.4. A C3 gumiabroncsokkal vagy más, ilyen járművekhez engedélyezett közúti profillal bíró gumiabroncsokkal felszerelt Rb kategóriájú járműveket a gumiabroncs teljes szélességét lefedő kerékdobokkal kell felszerelni; a kerékdob első részének legalább 30°-os szögben kell állnia előrefelé, a hátsó részének pedig legalább 60°-os szögben kell állnia a kerekek középpontján áthaladó függőleges síkhoz képest hátrafelé. A felépítmény részei a kerékdobok részét képezhetik, ha egyenértékű védelmet nyújtanak a felvetődő kövektől, sártól, jégtől, hótól és víztől.
XXXII. MELLÉKLET
A hátrameneti fokozatra vonatkozó követelmények
Minden traktort olyan hátrameneti berendezéssel kell felszerelni, amely a járművezető helyéről működtethető.
XXXIII. MELLÉKLET
Hernyótalpakra vonatkozó követelmények
1. Fogalommeghatározások
E mellékletben:
1.1. "hernyótalpas futómű" : a következő elemek közül legalább kettőt magában foglaló rendszer: hernyótalpgörgők, szabadon futó görgő és hajtógörgő, amelyek körül egy folytonos lánctalp vagy gumiheveder fut végig;
1.2. "hernyótalpgörgők" : a hernyótalpas futómű részét alkotó azon hengerek, amelyek a jármű és a hernyótalpas futómű súlyát a gumihevederen vagy a lánctalpon keresztül átviszik a talajra;
1.3. "gumiheveder" : folytonos, rugalmas gumiszerű anyagból készült heveder, amelyet belsőleg megerősítettek, hogy képes legyen a húzóerők felvételére;
1.4. "hernyótalp hossza" : azon szélső hernyótalpgörgők középpontja közötti távolság, amelyek alatt a betétek vagy a hernyótalp érintkezik a talajjal;
1.5. "hernyótalpszélesség" : a kiemelkedő futómintázat (kapaszkodó élek) vagy a betétek külső részét határoló két párhuzamos sík közötti távolság;
1.6. "szabadon futó görgő" : a hernyótalpas futóműben található lánckerék vagy csiga, amely nem közvetít nyomatékot a gumiheveder vagy a lánctalp felé, hanem fő funkciója abban áll, hogy feszesen tartsa a lánctalpat vagy a hernyótalpat; a hernyótalp geometriájában a szabadon futó görgők hozhatják létre a felfelé vagy lefelé irányuló rámpaszögeket;
1.7. "hajtógörgő" : a hernyótalpas futóműben található lánckerék vagy forgó rész, amely közvetíti a nyomatékot a jármű meghajtórendszerétől a gumiheveder vagy a lánctalp felé;
1.8. "lánctalp" : a hajtógörgővel kölcsönhatásba lépő folytonos fémlánc, amelynek minden tagja egy-egy keresztirányú fém láncszem, ideális esetben gumibetétekkel ellátva az útfelület védelme érdekében;
1.9. Ábrák az 1.2., 1.6. és 1.7. pontban található fogalommeghatározásokhoz: : [Kép #7]

Kép #7
2. Hatály
2.1. A C kategóriájú járműveknek teljesíteniük kell az e mellékletben foglalt követelményeket.
2.1.1. A 15 km/h-t meg nem haladó legnagyobb tervezési sebességű járműveket lánctalpakkal vagy gumihevederekkel kell felszerelni.
2.1.2. A 15 km/h-t meghaladó, de a 40 km/h-t meg nem haladó legnagyobb tervezési sebességű járműveket csak gumihevederekkel lehet felszerelni.
2.1.3. A 40 km/h-t meghaladó legnagyobb tervezési sebességű járműveket csak gumihevederekkel lehet felszerelni.
3. Követelmények
3.1. A 15 km/h-t meghaladó legnagyobb tervezési sebességű járműveket gumihevederekkel kell felszerelni.
3.2. A hernyótalpas futóműveknek nem szabad károsítaniuk az utakat. A hernyótalpas futóművel ellátott járművek akkor nem károsítják az utakat, ha a 3.3-3.5. pontban meghatározott határértékeket nem lépik túl, és a hernyótalpas futómű útburkolattal érintkező felülete elasztomer anyagból (például gumiból stb.) készül.
3.3. Átlagos talpnyomás
3.3.1. Lánctalpak
3.3.1.1. A 2.1.1. pont hatálya alá tartozó járművek P átlagos talpnyomása nem haladhatja meg a 0,65 MPa-t, a következő képlet alapján számítva:

Ahol NR a terhelést (a lánctalpakon és a betéteken keresztül) az útfelületnek közvetlenül átadó lánctalpgörgők teljes száma, AP pedig az (úttal érintkező) egyes betétek külső felülete mm2-ben. AP meghatározásához meg kell mérni egy betét érintkezési felületét egy nem szélső lánctalpgörgő középpontja alatt merőlegesen a terhelt jármű megfelelő kartondarabra vagy más, tartósan deformálható anyagra való leeresztésével és az így keletkező benyomódás területének megmérésével.
3.3.1.2. A kerekes tengelyekkel és lánctalppal egyaránt felszerelt járművek esetében a terhelt jármű kerekes tengelyein keresztül ható terhelést megfelelő mérőlapokkal kell megmérni, és a P érték kiszámításához azt le kell vonni a megengedett legnagyobb tömegből. A megengedett legnagyobb járműtömeg helyett a gyártó által a hernyótalpas futóműre megadott legnagyobb kombinált terhelés is alkalmazható.
3.3.2. Gumihevederek
3.3.2.1. A 2.1.2. pont hatálya alá tartozó járművek P átlagos talpnyomása nem haladhatja meg a 0,5 MPa-t, a következő képlet alapján számítva:

Ahol AL az úttal érintkező gumi kapaszkodó élek teljes felülete azon szélső gumiheveder-görgők középpontja között, amelyek alatt a gumiheveder érintkezik a talajjal. A gumiheveder gyártójának meg kell adnia a kapaszkodó élek területe ( 16 ) és a gumiheveder teljes felülete (amely a gumiheveder hosszának és szélességének a szorzataként határozható meg) közötti százalékos arányt, vagy a kapaszkodó élek úttal érintkező teljes felülete a terhelt jármű megfelelő kartondarabra vagy más, tartósan deformálható anyagra való leeresztésével és az így keletkező benyomódás területének megmérésével is meghatározható.
3.3.2.2. A kerekes tengelyekkel és lánctalppal egyaránt felszerelt járművek esetében a terhelt jármű kerekes tengelyein keresztül ható terhelést megfelelő mérőlapokkal kell megmérni, és a P érték kiszámításához azt le kell vonni a megengedett legnagyobb tömegből. A megengedett legnagyobb járműtömeg helyett a gyártó által a hernyótalpas futóműre megadott legnagyobb kombinált terhelés is alkalmazható.
3.3.2.3. A 2.1.3. pont hatálya alá tartozó járművek P átlagos talpnyomása nem haladhatja meg a 0,2 MPa-t, a 3.3.2.1. és 3.3.2.2. pontok alapján számítva:
3.4. Az egy hernyótalpgörgőre eső legnagyobb terhelés nem haladhatja meg a 2 250 kg-ot; ez az érték a kg-ban kifejezett megengedett legnagyobb tömeg (a 3.3.1.2. vagy 3.3.2.2. pont alapján figyelembe véve az esetleges kerekes tengelyekre ható tömegeket) és a terhelést az útfelületnek közvetlenül átadó hernyótalpgörgők teljes száma közötti hányadosként számítható ki.
3.5. Az útfelülettel érintkező egységnyi hosszúságú hernyótalpfelületre eső legnagyobb terhelés a kg-ban kifejezett megengedett legnagyobb tömeg (a 3.3.1.2. vagy 3.3.2.2. pont alapján figyelembe véve az esetleges kerekes tengelyekre ható tömegeket) és az útfelülettel bármely pillanatban érintkező teljes (vagyis szélső hernyótalpgörgők középpontja közötti) hernyótalphossz közötti hányadosként számítható ki a 3.3.1.1., 3.3.2.1. vagy 3.3.2.3. pontban megadott határértékek és a 2.1.1., 2.1.2. vagy 2.1.3., valamint a 3.4. pontban meghatározott járműesetek alapján.
3.6. A hernyótalpak belső felén olyan elemeket kell elhelyezni, amelyek biztosítják a hernyótalp vezetését a görgőkön. Kívül a szándékolt mezőgazdasági vagy erdészet ágazatbeli használatnak megfelelő hernyótalpmintázatnak kell lennie.
3.7. A nyomaték súrlódással (közvetlenül) vagy a hernyótalpgörgők alakzáró kapcsolatával is átvihető.
3.8. A súrlódásos elven működtetett gumihevederekkel felszerelt járművekben a közúti haladás során a kezelő számára folyamatosan ki kell jelezni a hernyótalp feszességét, vagy a minimális hernyótalpfeszesség elérése esetén látható és/vagy hallható jelzésnek kell bekövetkeznie.
3.9. Kormányzás
3.9.1. A 2.1.1. vagy 2.1.2. pont hatálya alá eső járművek
3.9.1.1. Az oldalanként csak egy hernyótalpas futóművel rendelkező járművek esetében a kormányzási funkció a jobb és a bal oldali hernyótalpas futómű közötti sebesség megváltoztatásán alapul.
3.9.1.2. Az oldalanként két hernyótalpas futóművel rendelkező járművek esetében a kormányzást a jármű elejének és hátuljának egy központi függőleges tengely körüli csuklós kapcsolásával vagy két szemközti hernyótalpas futómű, illetve az összes hernyótalpas futómű elfordításával kell végezni.
3.9.2. A 2.1.3. hatálya alá eső járművek
3.9.2.1. A kormányzást a jármű első és hátsó részének vagy minden hernyótalpas futóműnek a központi függőleges tengelyhez való csuklós kapcsolásával kell megoldani.
3.9.3. A 2.1.1., 2.1.2. vagy 2.1.3. pont hatálya alá eső járművek, továbbá olyan járművek, amelyeknek a futóműve kerekes tengelyek és megfelelő hernyótalpak kombinációját tartalmazza
3.9.3.1. A kormányzás a kerekes tengely kerékirányainak megváltoztatásával és/vagy a jármű első és hátsó részének egy központi függőleges tengely mentén történő csuklós kapcsolásával történik. A kerekes tengely a jármű első vagy hátsó részén is elhelyezhető.
3.10. Megjelölés A típus-jóváhagyási jelet a XX. melléklet szerint kell elhelyezni a hatóságilag előírt táblán; ez igazolja, hogy a jármű megfelel a 3.1-3.7. pont vonatkozó követelményeinek.
XXXIV. MELLÉKLET
Mechanikus kapcsolószerkezetekre vonatkozó követelmények
1. Fogalommeghatározások
E mellékletben:
1.1. "mechanikus kapcsolószerkezet a traktor és a vontatmány között" : olyan alkatrészek, amelyeket a traktorra és a vontatmányra azért szerelnek fel, hogy mechanikus kapcsolatot hozzanak létre a két járműegység között;
1.2. "a traktor és a vontatmány közötti mechanikus kapcsolószerkezet típusa" :
olyan alkatrészek, amelyek különösen az alábbi szempontok szerint nem különböznek lényegesen egymástól:
- a mechanikus kapcsolóelem jellege,
- vonószem,
- külső alak, méretek vagy működési mód (pl. automatikus vagy nem automatikus),
- anyag,
- a D értéke, ahogyan azt a 2. függelék meghatározza a dinamikus módszerrel végzett vizsgálathoz, vagy a pótkocsi tömege a 3. függelék szerint a statikus módszerrel végrehajtott vizsgálatokhoz, továbbá a csatlakozási pontra ható S függőleges terhelés;
1.3. "a traktor mechanikus kapcsolószerkezetének vonatkoztatási középpontja" : az a pont a csaptengelyen, amely azonos távolságra van a száraktól (villa esetében), valamint a horog szimmetriasíkja és a horog konkáv részének alkotója közti metszéspont a vonószemmel való érintkezési síkban, amennyiben a vonószem vontatási helyzetben van;
1.3. a. "a vontatott jármű mechanikus kapcsolószerkezetének vonatkoztatási középpontja" : a hengeres vagy lekerekített fejű kapcsolószerkezetek esetében a szerkezet nyílásának középpontján áthaladó függőleges tengely és a hengeres vagy lekerekített fej középvonalát tartalmazó sík metszéspontja; gömb alakú fejjel rendelkező kapcsolószerkezetek esetében pedig a gömbüreg geometrikus középpontja;
1.4. "a traktor mechanikus kapcsolószerkezetének talaj feletti magassága " : a traktor mechanikus kapcsolószerkezetének vonatkoztatási középpontján áthaladó vízszintes sík és azon vízszintes sík távolsága, amelyen a traktor kerekei állnak;
1.5. "függőleges terhelés a kapcsolási ponton" : statikus körülmények között a mechanikus kapcsolószerkezet vonatkozási középpontjára átvitt terhelés;
1.6. "automatikus mechanikus kapcsolószerkezet" : olyan mechanikus kapcsolóelem, amely a vonószemek csúszószerkezetének működésbe hozásakor minden további külső beavatkozás nélkül zárul és biztosítja saját magát;
1.7. "a terheletlen traktor első tengelyére jutó tömeg" : a traktor tömegének azon része, amelyet statikus körülmények között a traktor első tengelye visz át a talajra.
2. Általános követelmények
2.1. A mechanikus kapcsolóelemek egyaránt tervezhetőek automatikus és nem automatikus működésre.
2.2. A járművön lévő mechanikus kapcsolóelemeknek meg kell felelniük a méretekre és a szilárdságra vonatkozó 3.1. és 3.2., valamint a kapcsolási pontra jutó függőleges terhelésre vonatkozó 3.3. pontban foglalt követelményeknek.
2.3. A mechanikus kapcsolóelemeket oly módon kell megtervezni és legyártani, hogy azok a rendes használat során megfelelően működjenek, és megtartsák az e melléklet által előírt jellemzőiket.
2.4. A mechanikus kapcsolóelemek összes alkatrészét olyan minőségű anyagokból kell készíteni, amelyek megfelelnek a 3.2. pontban említett vizsgálatokon, és amelyek szilárdsági jellemzőiket tartósan megőrzik.
2.5. Az összes kapcsolónak és azok reteszeinek könnyen összekapcsolhatónak és oldhatónak kell lennie, és azokat úgy kell megtervezni, hogy rendes működési körülmények között ne legyen mód a véletlen szétkapcsolódásra.
Az automatikus kapcsolóberendezések esetében a zárt helyzetet alakzáró módon kell biztosítani két, egymástól függetlenül működő biztonsági szerkezettel. Ezek azonban kioldhatóak egy közös kezelőszerkezettel.
2.6. A traktorok mechanikus kapcsolószerkezeteinek esetében a vonószemnek vízszintesen, a nem beépített kapcsolószerkezet hosszanti tengelyének mindkét oldalán legalább 60o-os szögben el kell tudnia fordulni. Ezenkívül 20o-os függőleges elmozdulásnak felfelé és lefelé is bármikor lehetségesnek kell lennie. (Lásd még az 1. függeléket.)
Az elfordulási szögeknek nem kell egyidejűleg elérhetőeknek lenniük.
2.7. A traktorok mechanikus kapcsolószerkezeteinek esetében a befogópofának legalább 90o-os szögben lehetővé kell tennie a vonószemek axiális elfordulását a kapcsolószerkezet hosszanti tengelye körül jobbra vagy balra, 30 és 150 Nm közötti rögzített fékezési nyomatékkal.
A vonóhorognak, az elfordulásgátló vonókengyelnek, a vonógömbnek és a vonócsapnak legalább 20o-os szögben lehetővé kell tennie a vonószem axiális elfordulását a kapcsoló hosszanti tengelye körül jobbra vagy balra.
2.8. A traktorok mechanikus kapcsolószerkezeteinek esetében a vonószemről való véletlen lekapcsolódás elkerülése érdekében a vonóhorog, vonógömb vagy vonócsap csúcsa és a tartó (befogószerkezet) közötti távolság maximális méretezési terhelés mellett nem haladhatja meg a 10 mm-t.
2.9. Amennyiben a vontatott jármű egy további járművet vontat, az előbbi mechanikus kapcsolószerkezetének teljesítenie kell a traktorok mechanikus kapcsolószerkezeteire vonatkozó követelményeket.
3. Különleges követelmények
3.1. Méretek
A traktorok mechanikus kapcsolóelemeinek meg kell felelniük az 1. függelék 1-5. ábrája és 1. táblázata szerinti méreteknek.
A vontatmány mechanikus kapcsolóelemeinek meg kell felelniük az 1. függelék 2. táblázatában meghatározott kombinációk szerinti méreteknek.
3.2. Szilárdság
3.2.1. A mechanikus kapcsolóelemeket szilárdságuk ellenőrzése céljából a következő vizsgálatoknak kell alávetni:
i. a 2. függelékben megadott körülmények között dinamikus vagy a 3. függelékben megadott körülmények között statikus vizsgálat, amennyiben 40 km/h legnagyobb tervezett sebességet meg nem haladó járműveken használják őket;
ii. a 2. függelékben megadott körülmények között dinamikus vizsgálat, amennyiben 40 km/h legnagyobb tervezett sebességet meghaladó járműveken használják őket.
Másik lehetőségként az i. és ii. pontban meghatározott mindkét esetben elvégezhető a dinamikus vizsgálat az 55. számú ENSZ-EGB-előírás követelményei szerint.
3.2.2. A vizsgálatok nem okozhatnak tartós alakváltozást, töréseket vagy repedéseket.
3.3. Függőleges terhelés a kapcsolási ponton (S):
3.3.1. A legnagyobb statikus függőleges terhelést a gyártó határozza meg. A terhelés azonban nem haladhatja meg a 3 000 kg-ot, a vonógömböt kivéve, amelynek esetében a megengedett legnagyobb terhelés 4 000 kg.
3.3.2. Elfogadási feltételek:
3.3.2.1. A megengedett statikus függőleges terhelés nem haladhatja meg sem a traktor gyártója által ajánlott, műszakilag megengedett statikus függőleges terhelést, sem a mechanikus kapcsolószerkezetre az alkatrész-típusjóváhagyás szerint meghatározott statikus függőleges terhelést.
3.3.2.2. A traktor terhelési állapotától függetlenül, az első (kormányzott) tengely kerekei által az úttestnek átadott tömeg nem lehet kisebb a traktor terheletlen tömegének 20 %-ánál, de a hátsó tengelyre jutó legnagyobb terhelést nem szabad túllépni.
3.4. A kapcsolószerkezet talaj feletti magassága (h)

3.4.1. A traktorok mechanikus kapcsolószerkezeteinek esetében a 2,5 tonna műszakilag megengedett legnagyobb terhelt tömeget meghaladó traktorokat olyan vonószerkezettel kell felszerelni, amelynek a talajtól mért szabad magassága kielégíti a következő összefüggések egyikét:

vagy

ahol:
mt : a traktor tömege,
mlt : a traktor tömege pótsúllyal az első tengelyen,
ma : a terheletlen traktor első tengelyére jutó terhelés,
mla : a traktor első tengelyére jutó terhelés pótsúllyal az első tengelyen,
l : a traktor tengelytávolsága,
S : a kapcsolási pontra jutó függőleges terhelés,
c : a mechanikus kapcsolószerkezet vonatkoztatási középpontja és a traktor hátsó tengelyén keresztülhaladó függőleges sík közötti távolság.
Az mt, mlt, ma és mla tömeg kg-ban van megadva.
4. Az EU-típusjóváhagyás megadásának feltételei
4.1. A jóváhagyandó járműtípussal minden tekintetben megegyező járművet, amelyre egy megfelelően jóváhagyott kapcsolószerkezet van felszerelve, át kell adni a típus-jóváhagyási vizsgálatok elvégzéséért felelős műszaki szolgálatnak.
4.2. A típus-jóváhagyási vizsgálatok elvégzéséért felelős műszaki szolgálat ellenőrzi, hogy a jóváhagyott típusú kapcsolószerkezet felszerelhető-e arra a járműre, amelyre a típusjóváhagyást kérik. Különösen arról kell meggyőződnie, hogy a kapcsolószerkezet felszerelése megegyezik-e azzal, amelyet az EU alkatrész-típusjóváhagyás megadásakor vizsgáltak.
4.3. A mechanikus kapcsolóelemek minden típusára vonatkozó kérelemhez az alábbi dokumentumokat és adatokat kell csatolni:
- a kapcsolószerkezet méretarányos rajzai (három példányban). E rajzokon különösen fontos a megkövetelt méretek részletes feltüntetése, valamint a készülék szerelési méreteinek a megadása,
- rövid műszaki leírás a kapcsolószerkezetről, a konstrukció fajtájának és a felhasznált anyagnak a meghatározásával,
- nyilatkozat a 2. függelékben említett D értékről dinamikus vizsgálatnál, illetve a 3. függelékben említett T értékről (vontatható tömeg tonnában kifejezve) statikus vizsgálatnál - amely megfelel a pótkocsi műszakilag megengedett legnagyobb terhelt tömegének -, valamint a kapcsolási pontra jutó S függőleges terhelésről (kg-ban kifejezve),
- egy vagy több mintakészülék, a műszaki szolgálat igényei szerint.
4.4. Az EU-típusjóváhagyás jogosultja kérheti annak kiterjesztését más típusú kapcsolószerkezetekre is.
4.5. Az illetékes hatóságok az ilyen kiterjesztéseket a következő feltételekkel adják meg:
4.5.1. az új típusú kapcsolószerkezetnek rendelkeznie kell EU-alkatrésztípusjóváhagyással;
4.5.2. felszerelhető azon járműtípusra, amelyre az EU-típusjóváhagyás kiterjesztését kérik;
4.5.3. a kapcsolószerkezet járműre való felszerelési módjának meg kell egyeznie azzal, amelyet az EU alkatrész-típusjóváhagyás megadásakor bemutattak.
4.6. Minden megadott vagy elutasított típusjóváhagyás és jóváhagyás-kiterjesztés esetében a típusbizonyítványhoz mellékelni kell egy olyan bizonyítványt, amelynek sablonját az (EU) 2015/504 végrehajtási rendelet V. melléklete tartalmazza.
4.7. Ha valamely járműtípusra az EU-típusjóváhagyás iránti kérelmet ugyanakkor nyújtják be, amikor ugyanazon járműre vonatkozóan EU alkatrész-típusjóváhagyási kérelmet nyújtanak be valamely kapcsolószerkezet-típusra, úgy a 4.1. és 4.2. pontra nincs szükség.
4.8. Minden mechanikus kapcsolószerkezethez mellékelni kell a gyártó használati utasítását. Ezen utasításnak tartalmaznia kell az EU alkatrész-típusjóváhagyás számát, valamint a kapcsolón elvégzett vizsgálattól függően a D (kN) vagy a T (tonna) értéket.
5. Jelölések
5.1. Minden olyan mechanikus kapcsolószerkezeten, amely megfelel azon típusnak, amelyre megadták az EU alkatrész-típusjóváhagyást, az alábbi feliratokat tartalmazó jelölést kell elhelyezni:
5.1.1. kereskedelmi név vagy márka;
5.1.2. EU-alkatrész-típusjóváhagyási jel az (EU) 2015/504 végrehajtási rendelet IV. mellékletében található minta szerint;
5.1.3. ha a szilárdság ellenőrzése a 2. függelékkel összhangban történik (dinamikus vizsgálat):
D megengedett értéke (kN),
S statikus függőleges terhelés értéke (kg);
5.1.4. ha a szilárdság ellenőrzése a 3. függelékkel összhangban történik (statikus vizsgálat):
a vontatható tömeg (tonna) és a kapcsolási pontra jutó S függőleges terhelés (kg).
5.1.5. Az adatokat jól láthatóan, tisztán olvashatóan és tartós módon kell feltüntetni.
6. Az e mellékletben foglalt követelmények teljesítése helyett a gyártó úgy is dönthet, hogy a mechanikus kapcsolószerkezetre az 55. számú ENSZ-EGB-előírás alapján megadott alkatrész-típusjóváhagyást mutat be az I. mellékletben leírtak szerint.
7. A kormányszarvakkal felszerelt járművek esetében a gyártók választhatnak, hogy a 2-6. pontban foglalt követelményeket vagy a 168/2013/EU rendelet II. melléklete (C) (4) bekezdésének vonatkozó rendelkezéseiben foglalt követelményeket alkalmazzák.
8. A következő járműveket fel lehet szerelni olyan kapcsolószerkezetekkel, amelyek rendeltetésük szerint a traktor hárompontos függesztésére vagy alsó kapcsolókarjaira csatlakoznak:
a) Sa kategóriájú járművek;
b) R1a vagy R2a kategóriájú cserélhető vontatott berendezések, melyek fő rendeltetése az anyagfeldolgozás a 167/2013/EU rendelet 3. cikke 9. pontjának értelmében;
c) azok az Ra kategóriájú járművek, amelyek terhelt és terheletlen tömege közötti különbség nem haladja meg a 2 tonnát.
Ha az első bekezdésben említett járműveket olyan kapcsolószerkezetekkel szerelik fel, amelyek rendeltetésük szerint a traktor hárompontos függesztésére vagy alsó kapcsolókarjaira csatlakoznak, e rendszerek részeinek meg kell felelniük az ISO 730:2009 szabvány Amd.1: 2014 módosításának 5. szakaszában a méretekre vonatkozóan meghatározott követelményeknek.
Az e melléklet 3.2. pontja szerinti vizsgálati eredmények helyett a gyártó által a 2006/42/EK irányelv előírásainak teljesítése érdekében végzett, a kapcsolószerkezetek részeinek szilárdságára vonatkozó számítások vagy vizsgálatok eredményeit kell benyújtani a műszaki szolgálathoz. A műszaki szolgálatnak le kell ellenőriznie a gyártó számításainak és vizsgálati eredményeinek pontosságát. A kezelési útmutatóban megfelelő információkat kell adni az alsó kapcsolókarok biztonságos függőleges és oldalirányú csatlakoztatásáról és rögzítéséről, csakúgy mint a pótalkatrészek anyagának minőségéről és a megengedhető illesztési játéktérről.
1. függelék
A mezőgazdasági és erdészeti járműveken alkalmazott mechanikus kapcsolószerkezetek
Traktorokon alkalmazott mechanikus kapcsolószerkezetek
"Kapcsolókengyeles típusú mechanikus kapcsolószerkezet": lásd az 1. és a 2. ábrát.
"Elfordulásgátló vonókengyeles típusú mechanikus kapcsolószerkezet": lásd az 1d. ábrát.
"Vonóhorog": lásd az 1. ábrát - "Kapcsolószerkezet méretei" az ISO 6489-1:2001szabvány szerint.
"Traktorvonórúd": lásd a 3. ábrát.
"Vonógömbös mechanikus kapcsolószerkezet": lásd a 4. ábrát.
"Vonócsapos típusú mechanikus kapcsolószerkezet": lásd az 5. ábrát.
A traktorvonórúd méreteinek az ISO 6489-3:2004 szabvány alábbi kategóriáihoz előírt méretekkel kell megegyeznie:
0. kategória (18-as csapméret); az ISO 5692-3 szabvány szerint, "W" forma (22 mm-es lyuk).
1. kategória (30-as csapméret); az ISO 5692-3 szabvány szerint, "X" forma (35 mm-es lyuk); ISO 5692-2:2002 (40 mm-es lyuk); ISO 8755:2001 (40 mm-es lyuk).
2. kategória (30-as csapméret); az ISO 5692-3 szabvány szerint, "X" forma (35 mm-es lyuk); ISO 5692-2:2002 (40 mm-es lyuk); ISO 8755:2001 (40 mm-es lyuk).
3. kategória (38-as csapméret); az ISO 5692-1:2004 szabvány szerint (50 mm-es lyuk); ISO 5692-3:2011 (50 mm-es lyuk); ISO 20019:2001.
4. kategória (50-es csapméret); az ISO 5692-3:2011 szabvány szerint, "Z" forma (68 mm-es lyuk).
A vontatmányokon alkalmazott mechanikus kapcsolószerkezetek
"Vonószem" az ISO 5692-1:2004 szabvány szerint (50 mm-es lyuk, 30 mm-es szemátmérő).
"Vonószem" az ISO 20019:2001 szabvány szerint (50 mm-es lyukközép, 30-41 mm-es szemátmérő).
"Elforduló vonószem" az ISO 5692-3:2011 szabvány szerint.
"Kapcsológyűrű" az ISO 5692-2:2002 szabvány szerint (40 mm-es foglalat).
"Vonórúd szeme" az ISO 8755:2001 szabvány szerint (40 mm-es lyuk).
"Vonórúd szeme" az ISO 1102:2001 szabvány szerint (50 mm-es lyuk).
"Kapcsolószerkezet" az ISO 24347:2005 szabvány szerint (80 mm-es gömbátmérő).
A mechanikus kapcsoló alkatrészeinek rajzai
1a. ábra
Nem automatikus vonószerkezet hengeres rögzítőcsappal


1b. ábra
Automatikus vonószerkezet hengeres rögzítőcsappal


1c. ábra
Automatikus vonószerkezet íves rögzítőcsappal


1d. ábra
Elfordulásgátló vonókengyel (az ISO 6489-5:2011 szerint)
[Kép #8] | [Kép #9] |

Kép #8

Kép #9
1. táblázat
Pótkocsik és munkagépek vonókengyeleinek alakja és mérete
Függőleges terhelés S kg | D érték D kN | Alak | Méret mm | ||
D ± 0,5 | a min. | b min. | |||
≤ 1 000 | ≤ 35 | w | 18 | 50 | 40 |
≤ 2 000 | ≤ 90 | x | 28 | 70 | 55 |
≤ 3 000 | ≤ 120 | y | 43 | 100 | 80 |
≤ 3 000 | ≤ 120 | z | 50 | 110 | 95 |
2. ábra
Nem automatikus vonószerkezet az ISO 6489 szerint, 2. rész, 2002. július
[Kép #10] | [Kép #11] |
[Kép #12] |

Kép #10

Kép #11

Kép #12
3. ábra
Példa traktorvonórúdra az ISO 6489 szerint, 3. rész, 2004. július

4. ábra
Vonógömb (az ISO 24347:2005 szabvány szerint)
[Kép #13] | [Kép #14] |
[Kép #15] | [Kép #16] |

Kép #13

Kép #14

Kép #15

Kép #16
5. ábra
Vonócsap (az ISO 6489-4:2004 szabvány szerint)
[Kép #17] | |
[Kép #18] | [Kép #19] |
[Kép #20] | [Kép #21] |

Kép #17

Kép #18

Kép #19

Kép #20

Kép #21
2. táblázat
Kapcsolóelem a traktoron | Kapcsolóelem a vontatmányon |
Az ISO 6489-1:2001 szabvány szerint (vonóhorog) | Az ISO 5692-1:2004 szabvány szerint (vonószem, 50 mm-es lyukközép, 30 mm-es szemátmérő) vagy az ISO 20019:2001 szabvány szerint (vonószem, 50 mm-es lyukközép, 30–41 mm-es vonószemátmérő) vagy az ISO 5692-3:2011 szabvány szerint (elforduló vonószem, csak „Y” forma, 50 mm-es lyuk) |
Az ISO 6489-5:2011 szabvány szerint (elfordulásgátló vonókengyel) | Az ISO 5692-3:2011 szabvány szerint (elforduló vonószem) |
Az ISO 6489-2:2002 szabvány szerint (kapcsolókengyel) | Az ISO 5692-2:2002 szabvány szerint (kapcsológyűrű, 40 mm-es foglalat) vagy az ISO 8755:2001 szabvány szerint (40 mm-es vonórúdszem). vagy az ISO 1102:2001 szabvány szerint (50 mm-es vonórúdszem, csak az ISO 6489-2:2002 szabvánnyal kompatibilis, „A” forma – nem automatikus). |
Az ISO 6489-3:2004 szabvány szerint (vonórúd) | Az ezen oszlopban említett megfelelő kapcsolószerkezet, amely megfelel az e függelékben említett traktor vonórúdméreteinek, illetve amely megfelel az Sa kategóriájú járművek vonószemeinek és a traktorvonórudak ISO 21244:2008 szerinti kapcsolóelemeinek. |
Az ISO 24347:2005 szabvány szerint (vonógömbös mechanikus kapcsolószerkezet) | Az ISO 24347:2005 szabvány szerint (80 mm-es gömbátmérő) |
Az ISO 6489-4:2004 szabvány szerint (vonócsapos kapcsolószerkezet) | Az ISO 5692-1:2004 szabvány szerint (vonószem, 50 mm-es lyukközép, 30 mm-es szemátmérő) vagy az ISO 5692-3:2011 szabvány szerint (elforduló vonószem, csak „Y” forma, 50 mm-es lyuk) |
2. függelék
A mechanikus kapcsolószerkezetek dinamikus vizsgálati módszere
1. Vizsgálati eljárás
A mechanikus kapcsoló szilárdságát próbapadon, váltakozó terheléssel kell megállapítani.
E módszer a teljes mechanikus kapcsolószerkezeten elvégzendő fárasztóvizsgálatot írja le, azaz amikor a mechanikus kapcsolószerkezet minden, a felszereléséhez szükséges alkatrésszel ellátva próbapadra szerelik és vizsgálják.
A váltakozó erőket - amennyire csak lehetséges - szinuszosan kell alkalmazni (váltakozó és/vagy növekvő), a terhelési ciklus a használt anyagtól függ. A vizsgálat során repedések vagy törések nem keletkezhetnek.
2. Vizsgálati kritériumok
A vizsgálóterhelés alapját a jármű hossztengelyében fellépő vízszintes, valamint a függőleges erőösszetevők együttesen alkotják.
Amennyiben másodlagos jelentőségűek, a jármű hossztengelyére merőleges vízszintes erőösszetevőket és nyomatékokat nem kell figyelembe venni.
A jármű hossztengelyében fellépő vízszintes erőösszetevőket egy matematikai úton megállapított helyettesítő erő, a D érték képviseli.
A mechanikus kapcsolószerkezetre az alábbi egyenletet kell alkalmazni:

ahol:
MT = a traktor műszakilag megengedett legnagyobb terhelt tömege,
MR = a vontatott járművek műszakilag megengedett legnagyobb terhelt tömege,
g = 9,81 m/s2.
A nyomvonalra merőleges, függőleges erőösszetevőket az S statikus függőleges terhelés fejezi ki.
A műszakilag megengedett terheléseket a gyártó adja meg.
3. A vizsgálati eljárásra vonatkozó követelmények
3.1. Általános követelmények
A vizsgálandó mechanikus kapcsolószerkezetekre a vizsgálóerőt a függőleges F v és a vízszintes F h vizsgálóerő által bezárt szögben kell kifejteni, a hosszanti középsíkban elölről-felülről hátra-lefelé irányban.
A vizsgálóerőt a traktor mechanikus kapcsolószerkezetének és a vontatott jármű megfelelő szerkezetének szokásos érintkezési pontján kell kifejteni.
A traktor mechanikus kapcsolószerkezete és a vontatott jármű megfelelő szerkezete közötti illesztési játékot a legkisebb értéken kell tartani.
Elvben a vizsgálóerőt váltakozó módon, a nulla pont körül kell alkalmazni. Váltakozó vizsgálóerő esetén az eredő terhelés nulla.
Ha a mechanikus kapcsolószerkezet kialakítása következtében (pl. túl nagy illesztési játék, vonóhorog) nem lehetséges a vizsgálat váltakozó vizsgálóterheléssel történő elvégzése, úgy a vizsgálati terhelés növekvő módon is alkalmazható, a húzás vagy a nyomás irányában, attól függően, hogy melyik a nagyobb.
Ha a vizsgálatot egy növekvő erőgörbének megfelelően végzik, úgy a vizsgálati terhelés a felső (legnagyobb) terheléssel egyenlő és az alsó (legkisebb) terhelés nem lehet nagyobb a felső terhelés 5 %-ánál.
A váltakozó erővel végzett vizsgálat során a berendezés megfelelő felszerelése és az erőátadó rendszer megfelelő megválasztása révén ügyelni kell arra, hogy ne jelenjenek meg további nyomatékok vagy olyan erők, amelyek merőlegesek a vizsgálóerőre; az erő irányának szöghibája a váltakozó irányú erővel végzett vizsgálat során nem lépheti túl a ±1,5°-ot; a növekvő terheléses vizsgálat során pedig a szöget a felső terhelési helyzetbe kell beállítani.
A vizsgálati frekvencia nem haladhatja meg a 30 Hz-et.
Acél vagy acélöntvény alkatrészek esetében a terhelési ciklus

. Az ezt követő repedésvizsgálatot festékbehatolásos vagy hasonló módszerrel kell elvégezni.
Ha a kapcsolószerkezet alkatrészei rugókat és/vagy lengéscsillapítókat is tartalmaznak, úgy azokat a vizsgálat során nem szabad eltávolítani, de helyettesíthetők, ha a vizsgálat során olyan hatásoknak lennének kitéve, amelyek rendes üzemelési körülmények között nem fordulnak elő (pl. hőhatás), és ennek következtében károsodhatnak. Ezen alkatrészek viselkedését a vizsgálat előtt, alatt és után ismertetni kell a vizsgálati jegyzőkönyvben.
3.2. Vizsgálati erők
A vizsgálati erő geometriai értelemben a vízszintes és függőleges vizsgálati összetevőkből áll az alábbiak szerint:

ahol:
Fh =

(kN) váltakozó erő esetén,
vag
Fh =

(kN) növekvő erő (húzás vagy nyomás) esetén,Fv =

(kN-ban kifejezett érték)
S = statikus vonórúdterhelés (hernyótalpra eső terhelés kg-ban kifejezve).
3.3. Terhelés
A traktor vagy a vontatott jármű mechanikus kapcsolószerkezeteinek alkotóelemei esetében a terhelést a vontatott jármű vagy a traktor megfelelő mechanikus kapcsolószerkezete alkotóelemeinek használatával kell kifejteni, az 1. függelék 2. táblázatában felsorolt kombinációk valamelyike szerint.
3. függelék
A mechanikus kapcsolószerkezetek statikus vizsgálati módszere
1. Vizsgálati előírások
1.1. Általános tudnivalók
1.1.1. A mechanikus kapcsolószerkezeten a szerkezeti jellemzők ellenőrzése után statikus vizsgálatokat kell végezni az 1.2., 1.3. és 1.4. pont követelményeivel összhangban.
1.2. A vizsgálat előkészítése
A vizsgálatokat egy különleges berendezésen kell elvégezni, miközben a mechanikus kapcsolószerkezetet, illetve az azt a jármű felépítményéhez kapcsoló szerkezetet egy merev szerkezetre kell felszerelni, ugyanazon alkatrészekkel, amelyekkel a vontatószerkezetet a járműre szokták felszerelni.
1.3. Vizsgálati műszerek
A terhelések és mozgások mérésére és rögzítésére használt műszereknek az alábbi pontosságúaknak kell lenniük:
- alkalmazott terhelések ±50 daN,
- mozgások ±0,01 mm.
1.4. Vizsgálati eljárás
1.4.1. A kapcsolószerkezetet először előhúzási terhelésnek kell alávetni, amely nem haladja meg az 1.4.2. pontban meghatározott húzó vizsgálóterhelés 15 %-át.
1.4.1.1. Az 1.4.1. pontban leírt műveletet legalább kétszer meg kell ismételni, nulla terhelésről kiindulva, amelyet azután fokozatosan kell növelni az 1.4.1. pontban előírt terhelés eléréséig, majd 500 daN-ra kell csökkenteni; e terhelést legalább 60 másodpercen keresztül fenn kell tartani.
1.4.2. Vontatás közben a terhelés/alakváltozás görbe megrajzolását, illetve e görbe - egy, a húzóberendezéshez csatolt nyomtató által biztosított - grafikus ábrázolását lehetővé tevő adatok mérésének kizárólag a növekvő terhelés alkalmazásán kell alapulnia, 500 daN-ról kiindulva, a traktor vagy a vontatott jármű mechanikus kapcsolószerkezetének vonatkozási középpontjára kifejtve.
A műszakilag megengedett vontatható tömeg 1,5-szeresének megfelelő húzó vizsgálóterhelés eléréséig vagy ezen értéknél nem léphetnek fel törések; emellett ellenőrizni kell, hogy a terhelés/alakváltozás görbe szabályosan, szokatlan csúcsoktól és visszaesésektől mentesen alakul-e az 500 daN és a legnagyobb húzóterhelés 1/3-ának megfelelő terhelés közötti tartományban.
1.4.2.1. A vizsgálóterhelésnek az 500 daN értékre való visszaállítása után a terhelés/alakváltozás görbén fel kell tüntetni az e terhelésen mért maradandó alakváltozást.
1.4.2.2. A feljegyzett maradandó alakváltozás értéke nem lehet nagyobb a fellépő legnagyobb rugalmas alakváltozás 25 %-ánál.
1.5. Az 1.4.2. pontban leírt vizsgálat előtt még el kell végezni egy másik vizsgálatot is, amelynek során a gyártó által ajánlott legnagyobb megengedett függőleges erő (daN-ban kifejezve, értéke: g · S/10) háromszorosának megfelelő terheléssel kell a traktor vagy a vontatott jármű mechanikus kapcsolószerkezetének vonatkozási középpontját megterhelni, 500 daN kiindulási terheléssel kezdve, fokozatosan növelve a terhelést.
A vizsgálat során a kapcsolószerkezet alakváltozása nem lehet nagyobb, mint a fellépő legnagyobb rugalmas alakváltozás 10 %-a.
Ennek ellenőrzését a függőleges erő (daN-ban kifejezve, értéke:

) megszüntetése és az 500 daN kiindulási terhelés visszaállítása után kell elvégezni.
( 1 ) A Bizottság 2015. március 11-i (EU) 2015/504 végrehajtási rendelete a 167/2013/EU európai parlamenti és tanácsi rendeletnek a mezőgazdasági és erdészeti járművek jóváhagyására és piacfelügyeletére vonatkozó közigazgatási követelmények tekintetében történő végrehajtásáról (HL L 85., 2015.3.28., 1. o.).
( 2 ) A Bizottság (EU) 2018/829 felhatalmazáson alapuló rendelete (2018. február 15.) a 167/2013/EU európai parlamenti és tanácsi rendeletnek a mezőgazdasági és erdészeti járművek jóváhagyására vonatkozó funkcionális járműbiztonsági követelményekre való tekintettel történő kiegészítéséről szóló (EU) 2015/208 felhatalmazáson alapuló rendelet módosításáról és helyesbítéséről (HL L 140., 2018.6.6., 8. o.).
( 3 ) A Bizottság 2014. október 15-i (EU) 2015/68 felhatalmazáson alapuló rendelete a 167/2013/EU európai parlamenti és tanácsi rendeletnek a mezőgazdasági és erdészeti járművek jóváhagyására vonatkozó fékezési követelmények tekintetében történő kiegészítéséről (HL L 17., 2015.1.23., 1. o.).
( 4 ) Az Európai Parlament és a Tanács 2009. március 11-i 2009/3/EK irányelve a mértékegységekre vonatkozó tagállami jogszabályok közelítéséről szóló 80/181/EGK tanácsi irányelv módosításáról (HL L 114., 2009.5.7., 10. o.).
( 5 ) A lámpák által kibocsátott fény színkoordinátáinak mérése nem képezi e melléklet tárgyát.
( 6 ) A Bizottság 2014. szeptember 19-i 1322/2014/EU felhatalmazáson alapuló rendelete a 167/2013/EU európai parlamenti és tanácsi rendeletnek a mezőgazdasági és erdészeti járművek jóváhagyásához szükséges járműszerkezeti és általános követelmények tekintetében történő kiegészítéséről és módosításáról (HL L 364., 2014.12.18., 1. o.).
( 7 ) A Bizottság 2013. október 24-i 3/2014/EU felhatalmazáson alapuló rendelete két- vagy háromkerekű járművek, valamint a négykerekű motorkerékpárok jóváhagyásáról és piacfelügyeletéről szóló 168/2013/EU európai parlamenti és tanácsi rendeletnek a funkcionális járműbiztonsági követelményekre való tekintettel történő kiegészítéséről (HL L 7., 2014.1.10., 1. o.)
( 8 ) Ha alkalmazható.
( 9 ) Ha alkalmazható.
( 10 ) Az Európai Parlament és a Tanács 2006/42/EK irányelve (2006. május 17.) a gépekről és a 95/16/EK irányelv módosításáról (átdolgozás) (HL L 157., 2006.6.9., 24. o.).
( 11 ) A Bizottság 3/2014/EU felhatalmazáson alapuló rendelete (2013. október 24.) a két- vagy háromkerekű járművek, valamint a négykerekű motorkerékpárok jóváhagyásáról és piacfelügyeletéről szóló 168/2013/EU európai parlamenti és tanácsi rendeletnek a funkcionális járműbiztonsági követelményekre való tekintettel történő kiegészítéséről (HL L 7., 2014.1.10., 1. o., ELI: http://data.europa.eu/eli/reg_del/2014/3/oj).
( 12 ) A 2007/46/EK irányelv II. mellékletének A. részében adott meghatározás szerint.
( 13 ) Az 1. függelék 2.6. pontjában meghatározottak szerint.
( 14 ) A Bizottság 2010. november 8-i 1005/2010/EU rendelete a gépjárművek elvontató berendezéseire vonatkozó típus-jóváhagyási előírásokról, továbbá a gépjárművek, az ezekhez tervezett pótkocsik és rendszerek, alkatrészek, valamint önálló műszaki egységek általános biztonságára vonatkozó típus-jóváhagyási előírásokról szóló 661/2009/EK európai parlamenti és tanácsi rendelet végrehajtásáról (HL L 291., 2010.11.9., 36. o.).
( 15 ) Az Európai Parlament és a Tanács 2009. július 13-i 661/2009/EK rendelete a gépjárművek, az ezekhez tervezett pótkocsik és rendszerek, alkatrészek, valamint önálló műszaki egységek általános biztonságára vonatkozó típus-jóváhagyási előírásokról (HL L 200., 2009.7.31., 1. o.).
( 16 ) Kapaszkodó élek %-os aránya.
Lábjegyzetek:
[1] A dokumentum eredetije megtekinthető CELEX: 32015R0208 - https://eur-lex.europa.eu/legal-content/HU/ALL/?uri=CELEX:32015R0208&locale=hu Utolsó elérhető, magyar nyelvű konszolidált változat CELEX: 02015R0208-20250615 - https://eur-lex.europa.eu/legal-content/HU/ALL/?uri=CELEX:02015R0208-20250615&locale=hu