32000L0003[1]
A Bizottság 2000/3/EK irányelve (2000. február 22.) a gépjárművek biztonsági öveire és utasbiztonsági rendszereire vonatkozó tagállami jogszabályok közelítéséről szóló, 77/541/EGK tanácsi irányelv műszaki fejlődéshez történő hozzáigazításáról
A BIZOTTSÁG 2000/3/EK IRÁNYELVE
(2000. február 22.)
a gépjárművek biztonsági öveire és utasbiztonsági rendszereire vonatkozó tagállami jogszabályok közelítéséről szóló, 77/541/EGK tanácsi irányelv műszaki fejlődéshez történő hozzáigazításáról
(EGT vonatkozású szöveg)
AZ EURÓPAI KÖZÖSSÉGEK TANÁCSA,
tekintettel az Európai Közösséget létrehozó szerződésre,
tekintettel a gépjárművek és pótkocsijaik típusjóváhagyására vonatkozó tagállami jogszabályok közelítéséről szóló, legutóbb az Európai Parlament és a Tanács 98/91/EK irányelvével ( 1 ) módosított, 1970. február 6-i 70/156/EGK tanácsi irányelvre ( 2 ),
tekintettel a gépjárművek biztonsági öveire és utasbiztonsági rendszereire vonatkozó tagállami jogszabályok közelítéséről szóló, legutóbb a Bizottság 96/36/EK irányelvével ( 3 ) módosított, 1977. június 28-i 77/541/EGK tanácsi irányelvre ( 4 ) és különösen annak 10. cikkére,
mivel:
(1) A 77/541/EGK irányelv az EK 70/156/EGK irányelvben szabályozott típus-jóváhagyási eljárásra vonatkozó különálló irányelvek egyike. A gépjárműrendszerekről, alkatrészekről és önálló műszaki egységekről szóló 70/156/EGK irányelvben megállapított rendelkezéseket tehát alkalmazni kell a 77/541/EGK irányelvre is.
(2) Az M1 kategóriába sorolt gépjárművek üléseihez beszerelt, övvisszahúzó szerkezettel ellátott, hárompontos biztonsági övek kötelező előírásával a technika fejlődéséhez igazodva az utasok biztonsága is növelhető.
(3) A Tanács 97/836/EK határozatával ( 5 ) a Közösség csatlakozott az ENSZ Európai Gazdasági Bizottságának (ENSZ-EGB) 1958. március 20-án Genfben kötött és 1995. október 16-án felülvizsgált egyezményéhez, amely a kerekes gépjárművekre és az azokba szerelhető, illetve azokon használható berendezésekre és tartozékokra vonatkozó egységes műszaki előírások elfogadásáról, valamint ezen előírások alapján kibocsátott jóváhagyások kölcsönös elismerésének feltételeiről szól.
(4) A felülvizsgált egyezményhez történt csatlakozásával a Közösség elfogadta az egyezmény értelmében összeállított rendeletek jegyzékét. Ez a jegyzék magában foglalja a gépjárművekben helyet foglaló gyermekeket rögzítő eszközök jóváhagyására vonatkozó ENSZ-EGB 44. előírást is (gyermekbiztonsági rendszer).
(5) A 77/541/EGK irányelvbe célszerű belefoglalni a gyermekek védelmére vonatkozó követelményeket is, a mellékletek olyan kiegészítésével, amelyek tartalmazzák a gyermekbiztonsági rendszerekre vonatkozó, az ENSZ-EGB 44. előírására alapozott különleges követelményeket. Az átláthatóság érdekében a 77/541/EGK irányelv mellékletének teljes szövege helyébe új szöveget kell léptetni.
(6) Az irányelvben közzétett intézkedések megfelelnek a Bizottság 70/156/EGK irányelvében foglalt, a műszaki haladáshoz történő igazodásról alkotott véleményének,
ELFOGADTA EZT AZ IRÁNYELVET:
1. cikk
A 77/541/EGK irányelv mellékleteinek helyébe az ennek az irányelvnek a mellékletében közzétett szöveg lép.
2. cikk
(1) 2000. október 1-jei hatállyal a biztonsági övekre és utasbiztonsági rendszerekre vonatkozó indokkal egyik tagállam sem:
- utasíthatja el az EK-típusjóváhagyás vagy a nemzeti típusjóváhagyás megadását egy gépjárműtípusra, biztonsági övre, utasbiztonsági rendszerre vagy gyermekbiztonsági rendszerre vonatkozóan, vagy
- tilthatja meg gépjárművek nyilvántartásba vételét, értékesítését vagy forgalomba helyezését vagy biztonsági övek, utasbiztonsági rendszerek, illetve gyermekbiztonsági rendszerek értékesítését vagy forgalomba helyezését,
ha a kérdéses biztonsági övek és utasbiztonsági rendszerek vagy gyermekbiztonsági rendszerek megfelelnek az ezen irányelvvel módosított 77/541/EGK irányelv követelményeinek.
(2) 2001. október 1-jei hatállyal a tagállamok:
- többé nem adhatnak meg EK-típusjóváhagyást, és
- elutasíthatják a nemzeti típusjóváhagyás megadását
egy gépjárműtípusra, ha az ezen irányelvvel módosított 77/541/EGK irányelv követelményei a gyermekbiztonsági rendszerek, valamint az M1 kategóriájú gépjárművek üléshelyeihez beszerelt biztonsági övek vonatkozásában nem teljesülnek, beleértve a beépített gyermekbiztonsági rendszereket is, ha ilyet beszereltek.
Az M1 kategóriájú gépjárművek üléshelyeihez beszerelt, hárompontos biztonsági övekre vonatkozó követelmények azonban 2002. április 1-jétől lépnek hatályba. Eddig az időpontig az M1 kategóriájú gépjárművek biztonsági övösszeállításaira vonatkozó követelmények megegyeznek a 77/541/EGK irányelv XV. mellékletében előírtakkal.
(3) 2002. október 1-jei hatállyal a tagállamok:
- a 70/156/EGK irányelvnek megfelelően az M1 kategóriájú, új gépjárműveket kísérő megfelelőségi tanúsítványokat az említett irányelv 7. cikke (1) bekezdésének értelmében nem tekintik érvényesnek, és elutasítják azoknak az új gépjárműveknek a nyilvántartásba vételét, értékesítését vagy forgalomba helyezését, melyeket nem kísér a 70/156/EGK irányelvben előírt érvényes megfelelőségi tanúsítvány, kivéve azt az esetet, amikor az irányelv 8. cikke (2) bekezdésére hivatkoznak,
- elutasíthatják a 3,5 tonnánál nem nagyobb tömegű, N1 és M2 kategóriájú, új gépjárművek nyilvántartásba vételét, értékesítését vagy forgalomba helyezését, amennyiben azokat felszerelték beépített gyermekbiztonsági rendszerekkel
a biztonsági övekre és utasbiztonsági rendszerekre vonatkozó indokkal, ha az ezzel az irányelvvel módosított 77/541/EGK irányelv követelményei nem teljesülnek.
Az M1 kategóriájú gépjárművek üléshelyeihez beszerelt, hárompontos biztonsági övekre vonatkozó követelményeket 2004. október 1-jétől kell alkalmazni. Eddig az időpontig az M1 kategóriájú gépjárművek biztonsági övszerkezeteire vonatkozó követelmények megegyeznek a 77/541/EGK irányelv XV. mellékletében előírtakkal.
(4) 2001. január 1-jei hatállyal az ezzel az irányelvvel módosított 77/541/EGK irányelv követelményeit kell alkalmazni a 70/156/EGK irányelv 7. cikkének (1) bekezdésével összhangban a beépített gyermekbiztonsági rendszerekre vonatkozóan, ha ezeket alapfelszerelésként szerelték be egy gépjárműbe.
3. cikk
(1) A tagállamok hatályba léptetik azokat a törvényi, rendeleti és közigazgatási rendelkezéseket, amelyek szükségesek ahhoz, hogy ezen irányelvnek legkésőbb 2000. szeptember 30-ig megfeleljenek. Erről haladéktalanul tájékoztatják a Bizottságot.
Amikor a tagállamok elfogadják ezeket a rendelkezéseket, azokban hivatkozniuk kell az irányelvre, vagy a rendelkezésekhez a hivatalos kihirdetéssel egyidejűleg ilyen hivatkozást kell fűzniük. A hivatkozás módját a tagállamok határozzák meg.
(2) A tagállamok tájékoztatják a Bizottságot nemzeti joguk legfontosabb előírásairól, amelyeket az ezen irányelv által szabályozott területen fogadtak el.
4. cikk
Ez az irányelv az Európai Közösségek Hivatalos Lapjában történő kihirdetését követő 20. napon lép hatályba.
5. cikk
Ennek az irányelvnek a tagállamok a címzettjei.
MELLÉKLET
A 77/541/EGK irányelv mellékletei helyébe a következők lépnek:
"MELLÉKLETEK LISTÁJA
| I. melléklet: | Hatály, meghatározások, EK-alkatrész-típusjóváhagyás, beszerelési követelmények |
| II. melléklet: | Típusjóváhagyási dokumentáció 1. függelék: Adatlap (alkatrész) 2. függelék: Adatlap (gépjármű) 3. függelék: Típusbizonyítvány (alkatrész) 4. függelék: Típusbizonyítvány (gépjármű) |
| III. melléklet: | EK-alkatrész-típusjóváhagyási jel |
| IV. melléklet: | Példa az övvisszahúzó szerkezet mechanikájának tartóssági vizsgálatára szolgáló vizsgálóberendezésre |
| V. melléklet: | Példa a vészhelyzetben reteszelő övvisszahúzó szerkezetek reteszelési vizsgálatára szolgáló vizsgálóberendezésre |
| VI. melléklet: | Példa az övvisszahúzó szerkezetek porállósági vizsgálatára szolgáló vizsgálóberendezésre |
| VII. melléklet: | A vizsgálókocsi, az ülés, a rögzítések és a fékezőberendezés leírása |
| VIII. melléklet: | A próbabábu leírása |
| IX. melléklet: | A vizsgálókocsi lassulási görbéjének leírása az idő függvényében |
| X. melléklet: | Használati utasítás |
| XI. melléklet: | Kettős csatvizsgálat |
| XII. melléklet: | Kopási és mikrocsúszási vizsgálat |
| XIII. melléklet: | Korrózióállósági vizsgálat |
| XIV. melléklet: | A vizsgálatok időbeli sorrendje |
| XV. melléklet: | A biztonsági övek és utasbiztonsági rendszerek minimumkövetelményei |
| XVI. melléklet: | A gyártás megfelelőségének ellenőrzése |
| XVII. melléklet: | A gyermekbiztonsági rendszerek követelményei |
| XVIII. melléklet: | A gyermekbiztonsági rendszerek beszerelésének követelményei Függelék: Az ENSZ Európai Gazdasági Bizottsága R. E.3 egységes szerkezetbe foglalt állásfoglalásai 13. mellékletének szövege (5.2. pont és 2. függelék) |
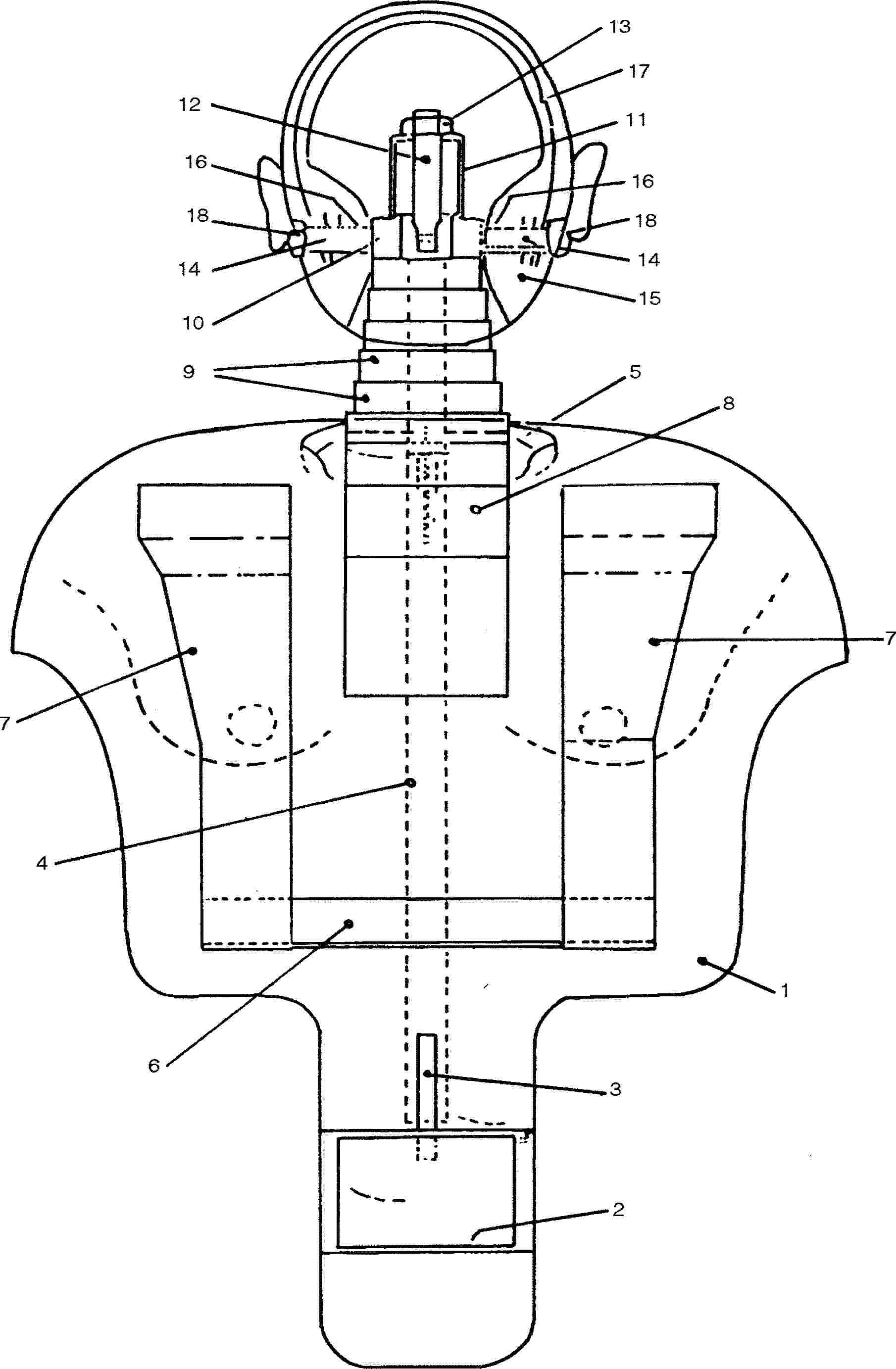
I. MELLÉKLET
HATÁLY, FOGALOMMEGHATÁROZÁSOK, EK-ALKATRÉSZ-TÍPUSJÓVÁHAGYÁS, BESZERELÉSI KÖVETELMÉNYEK
| SZÖVEG HIÁNYZIK |

Kép #1

Kép #2
II. MELLÉKLET
TÍPUS-JÓVÁHAGYÁSI DOKUMENTÁCIÓ
1. függelék
... sz. ADATLAP
a legutóbb a 2000/ .../EK irányelvvel módosított, a biztonsági övek és utasbiztonsági rendszerek EK-alkatrész-típusjóváhagyására vonatkozó (77/541/EGK) tanácsi irányelv szerint
A következő adatlapot, ha alkalmazható, három példányban, tartalomjegyzékkel együtt kell benyújtani. Minden rajzot a megfelelő méretarányban és kellő részletességgel kell elkészíteni A4-es méretű lapon vagy tervrajzon. Az esetleges fényképeknek megfelelő részletességűeknek kell lenniük.
Ha a rendszerek, alkatrészek vagy különálló műszaki egységek elektronikus vezérléssel rendelkeznek, az azok teljesítményére vonatkozó információt is meg kell adni.
| 0. | ÁLTALÁNOS ADATOK |
| 0.1. | Gyártmány (a gyártó cégneve): |
| 0.2. | Típus- és általános kereskedelmi leírás(ok): |
| 0.5. | A gyártó neve és címe: |
| 0.7. | Alkatrész és különálló műszaki egység esetében az EK-jóváhagyás jelének elhelyezése és felerősítési módja: |
| 0.8. | Az összeszerelő üzem(ek) címe(i): |
| 1. | A GÉPJÁRMŰ(VEK) FELSOROLÁSA, AMELY(EK)HEZ AZ ESZKÖZT FELSZERELNI TERVEZTÉK (ha alkalmazható) |
| 2. | AZ ESZKÖZ LEÍRÁSA |
| 2.1. | Biztonsági öv |
| 2.1.1. | A biztonsági öv elrendezése (kétpontos biztonsági öv, hárompontos biztonsági öv, statikus, automatikus): |
| 2.1.2. | A hevederszalag adatai (anyag, szövés, méretek és szín): |
| 2.1.3. | Az övvisszahúzó típusa (az övvisszahúzó rendeltetése a 77/541/EGK irányelv III. mellékletének 1.1.3.2.2. pontja szerint): |
| 2.1.3.1. | Információ a járulékos funkciókról, ha alkalmazható: |
| 2.1.4. | A merev részek rajza (a 77/541/EGK irányelv I. mellékletének 1.2.1. pontja szerint): |
| 2.1.5. | A biztonságiöv-szerelvény ábrája, mely lehetővé teszi merev részek azonosítását és elhelyezését: |
| 2.1.6. | Szerelési utasítások, amelyek többek között megmutatják az övvisszahúzó és érzékelőeszköze beszerelését: |
| 2.1.7. | Ha van övmagasság-beállító eszköz, annak megállapítása, hogy az öv részének tekinthető-e: |
| 2.1.8. | Előfeszítő eszköz vagy rendszer esetében a szerkezet és a funkció teljes műszaki leírása, beleértve valamennyi érzékelőeszközt is, feltüntetve a működésbe hozás módszereit, és bármely módszert, amellyel elkerülhető a figyelmetlenségből történő működtetés: |
| 2.2. | Utasbiztonsági rendszer A fenti 2.1. pont alatt kért információn kívül |
| 2.2.1. | Rajzok a gépjárműszerkezet kapcsolódó részeiről és az ülésrögzítések megerősítéséről: |
| 2.2.2. | Az ülés szerkezetét, a beállítórendszert és rögzítőelemet bemutató rajz, az alkalmazott anyagok feltüntetésével: |
| 2.2.3. | Rajzok vagy fényképek az utasbiztonsági rendszerről, beszerelt állapotban: |
| 2.3. | Gyermekbiztonsági rendszer |
| 2.3.1. | Kategória (kategóriák): |
| 2.3.2. | Testsúly-csoport(ok): |
| 2.3.3. | Előre néző gyermekbiztonsági/menetiránynak hátrafelé néző gyermekbiztonsági rendszer/hordozható gyermekfekhely (1) |
| 2.3.4. | Beépített/nem beépített/ütéselnyelő párnázat (1) |
| 2.3.5. | Övtípus: (felnőtt) hárompontos biztonsági öv/(felnőtt) kétpontos biztonsági öv/különleges utasbiztonsági rendszer/övvisszahúzó szerkezet (1) |
| 2.3.6. | Egyéb jellemzők: székszerelvény/ütközésvédő (1) |
| 2.3.7. | Rajzok, ábrák és tervek a gyermekbiztonsági rendszerhez, beleértve bármilyen felszerelt biztonsági rendszert, székszerelvényt, ütközésvédőt: |
| 2.3.8. | Nyilatkozat a mérgező hatásról, a XVII. melléklet 6.1.5. pontja szerint: |
| 2.3.9. | Nyilatkozat a tűzveszélyességről, a XVII. melléklet 6.1.6. pontja szerint: |
| (1) A nem megfelelőt törölni kell. | |
Dátum, iktatószám
2. függelék
... sz. ADATLAP
a legutóbb a 2000/ .../EK irányelvvel módosított, a biztonsági övek és utasbiztonsági rendszerek EK-alkatrész-típusjóváhagyására vonatkozó 70/156/EGK ( 6 ) tanácsi irányelv I. melléklete szerint (77/541/EGK)
A következő adatlapot, ha alkalmazható, három példányban kell benyújtani, beleértve a tartalomjegyzéket is. Valamennyi rajzot a megfelelő méretarányban és elegendő részlettel, A4-es méretű lapon vagy tervrajzon kell benyújtani. A fényképeknek, ha vannak, elegendő részletet kell mutatniuk.
Ha a rendszerek, alkatrészek vagy különálló műszaki egységek elektronikus vezérléssel rendelkeznek, az azok teljesítményére vonatkozó információt is meg kell adni.
| SZÖVEG HIÁNYZIK |
Dátum, iktatószám
3. függelék
MINTA
(maximális formátum: A4-es [210 × 297 mm])
EK-TÍPUSBIZONYÍTVÁNY
A hatóság bélyegzője
Közlemény az alábbiakra vonatkozóan
- típusjóváhagyás ( 7 )
- a típusjóváhagyás kiterjesztése (7)
- a típusjóváhagyás elutasítása (7)
- a típusjóváhagyás visszavonása (7)
egy gépjármű/alkatrész/különálló műszaki egység (7) típusához, tekintettel az utoljára a.../.../EGK irányelvvel módosított.../.../EGK irányelvre.
Típusjóváhagyási szám:
A kiterjesztés indoka:
I. SZAKASZ
| 0.1. | Gyártmány (a gyártó cégneve): |
| 0.2. | Típus- és általános kereskedelmi leírás(ok): |
| 0.3. | A típusazonosítás módja, ha jelölve van a gépjárművön /alkatrészen /különálló műszaki egységen (1) (2) |
| 0.3.1. | A jelölés helye: |
| 0.4. | A gépjármű kategóriája (1) (3) |
| 0.5. | A gyártó neve és címe: |
| 0.7. | Alkatrészek és különálló műszaki egységek esetében az EK-típus-jóváhagyási jel helye és a rögzítés módja: |
| 0.8. | Az összeszerelő üzem(ek) címe(i): |
| (1) A nem megfelelőt törölni kell. (2) Ha a típusazonosítási mód az ebben a típusbizonyítványban taglalt gépjármű, alkatrész vagy különálló műszaki egység leírására nem vonatkozó karaktereket is tartalmaz, az ilyen karaktereket a »?« jellel kell ábrázolni ebben a dokumentációban (pl. ABC??123??). (3) A 70/156/EGK irányelv II. mellékletében meghatározottak szerint. | |
II. SZAKASZ
| 1. | Kiegészítő információ (ahol alkalmazható) (lásd a kiegészítést) |
| 2. | A vizsgálatok elvégzéséért felelős műszaki állomás: |
| 3. | A vizsgálati jelentés kelte: |
| 4. | A vizsgálati jelentés száma: |
| 5. | Észrevételek (ha van) (lásd a kiegészítést) |
| 6. | Hely: |
| 7. | Kelt: |
| 8. | Aláírás: |
| 9. | A jóváhagyó hatóságnál maradó azon dokumentumok jegyzéke, amelyek a hatóságtól igény esetén beszerezhetők. |
Kiegészítés
a biztonsági övek és utasbiztonsági rendszerek alkatrész-típusjóváhagyására vonatkozó... sz. EK-típusbizonyítványhoz, tekintettel az utoljára a.../.../EK irányelvvel módosított 77/541/EGK irányelvre
| 1. | Kiegészítő információ |
| 1.1. | Kialakítás: (a III. melléklet 1.3. és 1.4. pontjaiban leírt szimbólumokat kell használni; ha alkalmazhatók, jelezni kell a kiegészítő tulajdonságokat, mint a magasság-beállító eszköz, előfeszítő eszköz stb.) |
| 1.2. | Gépjárművek, amelyekhez az eszközt tervezték: |
| 1.3. | Hely a gépjárművön, ahová az eszközt fel kell szerelni (1): |
| 1.4. | A gyermekbiztonsági rendszerekre vonatkozó kiegészítő információ |
| 1.4.1. | Kategória (kategóriák): |
| 1.4.2. | Testsúly-csoport(ok): |
| 1.4.3. | Előre néző gyermekbiztonsági rendszer/menetiránynak hátrafelé néző gyermekbiztonsági rendszer/hordozható gyermekfekhely (2): |
| 1.4.4. | Beépített/nem beépített/ütés-elnyelő párnázat (2): |
| 1.4.5. | Övtípus: (felnőtt) hárompontos biztonsági öv/(felnőtt) kétpontos biztonsági öv/különleges utasbiztonsági rendszer (2): |
| 1.4.6. | Egyéb jellemzők: székszerelvény/ütközésvédő (2): |
| 5. | Észrevételek: |
| (1) Ha az övet az irányelv I. melléklete 2.6.1.3.3. bekezdésében leírt rendelkezéseket követően hagyták jóvá, ez az öv csak külső elülső ülés helyzetben szerelhető fel, amelyet előtte elhelyezett légzsák véd, feltéve, hogy a kérdéses gépjárművet az Európai Parlament és a Tanács 96/79/EK irányelve alapján hagyták jóvá (HL L 18., 1997.1.21., 7. o.). (2) A nem megfelelőt törölni kell. | |
4. függelék
MINTA
(maximális formátum: A4-es [210 × 297 mm])
EK-TÍPUSBIZONYÍTVÁNY
A hatóság bélyegzője
Közlemény az alábbiakra vonatkozóan
- típusjóváhagyás ( 8 ),
- a típusjóváhagyás kiterjesztése (8) ,
- a típusjóváhagyás elutasítása (8) ,
- a típusjóváhagyás visszavonása (8) ,
egy gépjármű/alkatrész/különálló műszaki egység (8) típusához, tekintettel az utoljára a.../.../EGK irányelvvel módosított.../.../EGK irányelvre.
Típusjóváhagyási szám:
A kiterjesztés indoka:
I. SZAKASZ
| 0.1. | Gyártmány (a gyártó cégneve): |
| 0.2. | Típus- és általános kereskedelmi leírás(ok): |
| 0.3. | A típus azonosítás módja, ha jelölve van a gépjárművön/alkatrészen/különálló műszaki egységen (1), (2): |
| 0.3.1. | A jelölés helye: |
| 0.4. | A gépjármű kategóriája (1), (3): |
| 0.5. | A gyártó neve és címe: |
| 0.7. | Alkatrészek és különálló műszaki egységek esetében az EK-típus-jóváhagyási jel helye és a felerősítés módja: |
| 0.8. | Az összeszerelő üzem(ek) címe(i): |
| (1) A nem megfelelőt törölni kell. (2) Ha a típusazonosítási mód az ebben a típusbizonyítványban taglalt gépjármű, alkatrész vagy különálló műszaki egység leírására nem vonatkozó karaktereket is tartalmaz, az ilyen karaktereket a „?” jellel kell ábrázolni ebben a dokumentációban (pl. ABC??123??). (3) A 70/156/EGK irányelv II. mellékletében meghatározottak szerint. | |
II. SZAKASZ
| 1. | Kiegészítő információ (ahol alkalmazható) (lásd a kiegészítést): |
| 2. | A vizsgálatok elvégzéséért felelős műszaki állomás: |
| 3. | A vizsgálati jelentés kelte: |
| 4. | A vizsgálati jelentés száma: |
| 5. | Észrevételek (ha van) (lásd a kiegészítést): |
| 6. | Hely: |
| 7. | Kelt: |
| 8. | Aláírás: |
| 9. | A jóváhagyó hatóságnál maradó azon dokumentumok jegyzéke, amelyek a hatóságtól igény esetén beszerezhetők. |
Kiegészítés
a gépjármű típusjóváhagyására vonatkozó... sz. EK-típusbizonyítványhoz, tekintettel az utoljára a.../.../EK irányelvvel módosított 77/541/EGK irányelvre
| 1. | Kiegészítő információ: |
| 1.1. | A gépjárműre szerelhető biztonsági övek vagy utasbiztonsági rendszerek megjelölése: |
| 1.1.1. | Gyártmány: |
| 1.1.2. | Alkatrész-típusjóváhagyási jel: |
| 1.1.3. | A jel helye a gépjárművön: |
| 1.2. | A biztonsági öv rögzítései: |
| 1.2.1. | A típusjóváhagyás száma: |
| 1.3. | Ülések: |
| 1.3.1. | Az ülések típusjóváhagyási száma, ha rendelkezésre áll: |
| 5. | Észrevételek: |
III. MELLÉKLET
EK-ALKATRÉSZ-TÍPUSJÓVÁHAGYÁSI JEL
| 1.1. | Minden biztonsági övön vagy utasbiztonsági rendszeren, amely az irányelv alapján jóváhagyott típussal megegyezik, egy EK-alkatrész-típusjóváhagyási jelet kell feltüntetni. Az EK-alkatrész-típusjóváhagyási jel az alábbiakból áll: |
| 1.1.1. | egy négyszöggel körbevett, kis »e« betű, amelyet azokhoz a tagállamokhoz tartozó megkülönböztető betű(k) vagy szám(ok) követ(nek), amelyek az EK-alkatrész-típusjóváhagyást megadták: 1 Németország 2 Franciaország 3 Olaszország 4 Hollandia 5 Svédország 6 Belgium 9 Spanyolország 11 Nagy-Britannia 12 Ausztria 13 Luxemburg 17 Finnország 18 Dánia 21 Portugália 23 Görögország IRL Írország |
| 1.1.2. | A négyszög környezetében a 70/156/EGK irányelv VII. mellékletében említett típusjóváhagyási szám 4. szakaszában foglalt »alap-jóváhagyási szám« van feltüntetve, amelyet a 77/541/EGK irányelv legutolsó nagyobb műszaki módosításához rendelt soron következő számot jelölő két számjegy előz meg, amelyeket az EK-alkatrész-típusjóváhagyás napján adtak. Az irányelvben a soron következő szám 04 a felnőtt biztonsági övekhez és utasbiztonsági rendszerekhez, és 03 a gyermekbiztonsági rendszerekhez. |
| 1.1.3. | A következő járulékos szimbólum vagy szimbólumok a négyszög fölött vannak elhelyezve. |
| 1.1.3.1. | »A« betű a hárompontos biztonsági öv esetén, »B« betű a kétpontos biztonsági öv esetén és »S« betű a különleges öv esetén. |
| 1.1.3.2. | Az 1.1.3.1. pontban említett szimbólumokat a következő jelzések egészítik ki. |
| 1.1.3.2.1. | Az »e« betű abban az esetben, ha az öv energiaelnyelővel van ellátva. |
| 1.1.3.2.2. | Az »r« betű abban az esetben, ha a biztonsági öv övvisszahúzó szerkezettel van ellátva, amelyet az alkalmazott övvisszahúzó szerkezet típusszáma követ, az I. melléklet 1.8. pontja szerint, valamint az »m« betű, ha az alkalmazott övvisszahúzó szerkezet egy többszörös érzékenységgel rendelkező, vészhelyzetben reteszelő övvisszahúzó szerkezet. |
| 1.1.3.2.3. | A »p« betű abban az esetben, ha a biztonsági öv előfeszítő eszközzel van ellátva. |
| 1.1.3.3. | Az 1.1.3.1. pontban említett szimbólumokat a »Z« betű előzi meg, ha a biztonsági öv egy utasbiztonsági rendszer része. |
| 1.1.4. | A 4N típusú övvisszahúzóval felszerelt öveket szintén el kell látni a négyszögből álló szimbólummal, amelyen az M1 kategóriájú gépjárművet át kell húzni, jelezve, hogy ebben a gépjármű-kategóriában tilos ezt az övtípust használni. |
| 1.1.5. | Ha a biztonsági övet az irányelv I. melléklete 2.6.1.3.3. bekezdésének rendelkezéseit követve hagyták jóvá, azt egy négyszögbe írt »LÉGZSÁK« szóval kell megjelölni. |
| 1.1.6. | Gyermekbiztonsági rendszerek esetében a következő kiegészítő szöveget kell elhelyezni a négyszög felett: |
| 1.1.6.1. | az »univerzális«, »korlátozott«, »féluniverzális« vagy az »adott gépjárműtípushoz« szót vagy szavakat, az övvisszahúzó kategóriájától függően, |
| 1.1.6.2. | a testsúlytartományt, amelyre a gyermekbiztonsági rendszert tervezték, azaz: 10 kg-nál kevesebb; 13 kg-nál kevesebb; 9-18 kg; 15-25 kg; 22-36 kg; 18 kg-nál kevesebb; 9-25 kg; 15-36 kg; 25 kg-nál kevesebb; 9-36 kg; 36 kg-nál kevesebb, |
| 1.1.6.3. | az »Y« betűt abban az esetben, ha az eszköz Y-hevedert tartalmaz, |
| 1.1.6.4. | az »S« betűt a »különleges igényű utasbiztonsági rendszer« esetében. |
| 1.2. | Az 1.1. pontban leírt részleteket úgy kell rögzíteni, hogy azok tisztán olvashatóak és letörölhetetlenek legyenek, és címkével vagy közvetlen jelöléssel kell azokat felvinni. A címkének vagy közvetlen jelölésnek kopásállónak kell lennie. |
| 2. | AZ EK-ALKATRÉSZ-TÍPUSJÓVÁHAGYÁSI JEL ÁBRÁI |
| 2.1. | [Kép #3] A fenti EK-alkatrész-típusjóváhagyási jelet viselő öv egy hárompontos »A« öv, amely energiaelnyelővel van ellátva, (e) és Hollandiában (e 4) az irányelv (04) alapján a 2439 alap-jóváhagyási szám alatt hagyták jóvá. |
| 2.2. | [Kép #4] A fenti EK-alkatrész-típusjóváhagyási jelet viselő öv egy kétpontos »B« öv, amely egy 4 típusú, többszörös érzékenységű övvisszahúzó szerkezettel van ellátva, és Hollandiában (e 4) az irányelv (04) alapján a 2439 alap-jóváhagyási szám alatt hagyták jóvá. |
| 2.3. | [Kép #5] A fenti EK-alkatrész-típusjóváhagyási jelet viselő öv egy különleges típusú »S« öv, amely energiaelnyelővel (e) van ellátva, mely egy »Z« utasbiztonsági rendszer részét alkotja, és Hollandiában (e 4) az irányelv (04) alapján a 2439 alap-jóváhagyási szám alatt hagyták jóvá. |
| 2.4. | [Kép #6] A fenti típusjóváhagyási jelet viselő öv egy hárompontos »A« öv, ami egy »m« típusú, 4N »r4N« többszörös érzékenységű övvisszahúzó szerkezettel rendelkezik, amelyre vonatkozóan az EK-alkatrész-típusjóváhagyást Hollandiában (e 4) adták meg, az irányelv (04) alapján, a 2439 alap-jóváhagyási szám alatt. Ezzel az övvel nem szerelhetők fel az M1 kategóriájú gépjárművek.Megjegyzés: Az alap-jóváhagyási számot és a szimbólumo(ka)t a négyszög közelében kell elhelyezni. |
| 2.5. | [Kép #7] A fenti típusjóváhagyási jelet viselő öv egy hárompontos »A« öv, amelyet az ennek az irányelvnek I. melléklete 2.6.1.3.3. bekezdésének különleges követelményeit kielégítő energiaelnyelővel (e) láttak el, és egy »m« típusú, 4N »r4N« többszörös érzékenységű övvisszahúzó szerkezettel rendelkezik, amelyre vonatkozóan az EK-alkatrész-típusjóváhagyást Hollandiában (e 4) adták meg, ennek az irányelvnek (04) az alapján, a 2439 alap-jóváhagyási szám alatt. Ezzel az övvel a megadott ülőhelyen légzsákkal felszerelt gépjárművet kell ellátni. |

Kép #3

Kép #4

Kép #5

Kép #6

Kép #7
IV. MELLÉKLET
PÉLDA AZ ÖVVISSZAHÚZÓ SZERKEZET MECHANIKÁJÁNAK TARTÓSSÁGI VIZSGÁLATÁRA SZOLGÁLÓ KÉSZÜLÉKRE

V. MELLÉKLET
PÉLDA A VÉSZHELYZETBEN RETESZELŐ ÖVVISSZAHÚZÓ SZERKEZETEK RETESZELÉSI VIZSGÁLATÁRA SZOLGÁLÓ KÉSZÜLÉKRE
Az ábra egy vizsgálatra alkalmas készüléket mutat be, amely egy motorral hajtott kényszerpályából áll, a lökő rúd huzalokkal egy sínre szerelt kis kocsihoz csatlakozik. A lökő rúd egy »holtjárati« eszközt tartalmaz, amely bármilyen mozgást elnyel, amennyiben a cséve reteszelne, mielőtt a lökő rúd a teljes löketet befejezné. A kényszerpálya kialakításának és a motor fordulatszámának a kombinációja a kívánt gyorsulást nyújtja az I. melléklet 2.7.7.2.2. pontjában előírt gyorsulásnövekedési sebességnél, a lökethosszt pedig úgy alakították ki, hogy meghaladja a reteszelés előtt megengedhető maximális hevedermozgást.
A vizsgálókocsira egy elfordítható tartó van szerelve, hogy az övvisszahúzó szerkezet a kocsi mozgási irányához képest különböző helyzetekben legyen felerősíthető.
Amikor azt vizsgálják, hogy az övvisszahúzó szerkezetek milyen érzékenyek a heveder mozgására, akkor az övvisszahúzó szerkezetet egy megfelelően rögzített bakra erősítik, a heveder pedig a kocsihoz csatlakozik.
A fenti vizsgálat elvégzésekor valamennyi, a gyártó vagy képviselője által átadott bakot stb. be kell vonni a vizsgálati összeállításba, hogy lehetőleg minél jobban modellezni lehessen a gépjárműbe történő beszerelést.
Valamennyi járulékos bakot stb., amelyre szükség lehet, hogy minél jobban modellezni lehessen a gépjárműbe való beszerelést, a gyártónak vagy képviselőjének kell biztosítania.

VI. MELLÉKLET
PÉLDA A PORÁLLÓSÁGI VIZSGÁLATOKRA ALKALMAS KÉSZÜLÉKRE

VII. MELLÉKLET
A VIZSGÁLÓKOCSI, AZ ÜLÉS, A RÖGZÍTÉS ÉS A FÉKEZŐBERENDEZÉS LEÍRÁSA
| 1. | VIZSGÁLÓKOCSI A biztonsági öveken végzett vizsgálatokhoz a csak az ülést hordozó vizsgálókocsinak 400 ± 20 kg tömeggel kell rendelkeznie. Az utasbiztonsági rendszereken végzett vizsgálatokhoz a kocsinak, amelyhez a gépjárműszerkezet csatlakozik, 800 kg tömegűnek kell lennie. Ha azonban szükséges, a vizsgálókocsi és a gépjárműszerkezet teljes tömege 200 kg-os lépésekben növelhető. Semmilyen esetben sem térhet el a teljes tömeg a névleges értéktől ± 40 kg-nál nagyobb mértékben. |
| 2. | ÜLÉS Az utasbiztonsági rendszerek vizsgálatának esetét kivéve, az ülésnek merev kivitelűnek és sima felületűnek kell lennie. Az 1. ábrán megadott részletes adatokat kell figyelembe venni, gondot fordítva arra, hogy fém rész ne kerülhessen érintkezésbe az övvel. |
| 3. | RÖGZÍTÉSEK A rögzítési pontokat az 1. ábrán látható módon kell elhelyezni. A kör alakú jelzések, amelyek megfelelnek a lerögzítések elrendezésének, a körülményektől függően mutatják, hogy hová kell az öv végeit a vizsgálókocsin vagy a terhelésátalakítón csatlakoztatni. A lerögzítések a rendes használathoz az A, B és K pontokban találhatók, ha a heveder hosszúsága a csat felső széle és a hevedert megtámasztó csatlakoztatónyílás között legfeljebb 250 mm. Egyébként az A1 és B1 pontokat kell használni. A rögzítéseket hordozó szerkezetnek merevnek kell lennie. A felső lerögzítés hosszanti irányban nem lehet 0,2 mm-nél nagyobb mértékben elmozdítható, amikor 98 daN értékű terhelés hat ugyanebben az irányban. A vizsgálókocsit úgy kell kialakítani, hogy tartós alakváltozás ne léphessen fel a vizsgálat során a rögzítéseket tartó részekben. A rögzítési pontok helyzetének a tűrése szerint az egyes rögzítési pontok a körülményektől függően legfeljebb 50 mm-re helyezkedhetnek el az 1. ábrán megjelölt, megfelelő A, B és K jelű pontoktól, vagy az A1, B1 és K pontoktól. Ha egy negyedik rögzítésre is szükség van az övvisszahúzó eszköz csatlakoztatásához, akkor ez a rögzítés: — legyen a K ponton áthaladó, hosszanti függőleges síkban elhelyezve, — tegye lehetővé az övvisszahúzó eszköznek a gyártó által előírt szögbe döntését, — a K középpontú és KB1 = 790 mm sugarú köríven legyen elhelyezve, ha a hosszúság a heveder felső vezetője és a hevedernek az övvisszahúzó eszköznél található kihúzónyílása között legalább 540 mm, vagy minden más esetben a K középpontú és 350 mm sugarú köríven. |
| 3.1. | Abban az esetben, ha az öv az irányelv 1.8.6. pontjában meghatározott övmagasság-beállító eszközzel van felszerelve, azt a merev kerethez vagy a gépjármű olyan részéhez kell erősíteni, amelyre rendes körülmények között fel van szerelve, s amelyet a vizsgálókocsin szilárdan kell rögzíteni. |
| 4. | FÉKEZőBERENDEZÉS Az eszköz két azonos, párhuzamosan felerősített energiaelnyelőből áll, az utasbiztonsági rendszerek esetét kivéve, amikor négy, a 800 kg névleges tömeghez tartozó energiaelnyelőt kell alkalmazni. Ha szükséges, egy további elnyelőt kell használni a névleges tömeg minden egyes, 200 kg-os növeléséhez. Az egyes elnyelők az alábbiakból állnak: — acélcsőből kialakított külső ház, — poliuretán energiaelnyelő cső, — olajbogyó alakú, csiszolt acélgomb, amely behatol az elnyelőbe, — tengely és ütközőlemez. Az energiaelnyelő különböző alkatrészeinek méretei a 2., 3. és 4. ábrán láthatók. Az energiaelnyelő anyagainak jellemző értékeit az alábbi táblázat adja meg. Közvetlenül az egyes vizsgálatok előtt a csöveket legalább 12 órán keresztül 15–30 oC között kell használat nélkül előkezelni. A fékezőberendezésnek a biztonsági övek és utasbiztonsági rendszerek dinamikai vizsgálata alatt maximum ± 2 oC-os eltéréssel ugyanolyan hőmérsékletűnek kell lennie, mint a hitelesítési vizsgálat alatt. A fékezőberendezésre vonatkozó követelmények a IX. mellékletben találhatók. Bármilyen más eszköz, amely azonos eredményeket ad, elfogadható. |
AZ ENERGIAELNYELŐ ANYAGÁNAK JELLEMZŐ ÉRTÉKEI
(ASTM, D 735 módszer, hacsak nincs más megadva)
| Shore-féle keménység A: | 95 ± 2; 20 ± 5 oC-on | |
| Szakítószilárdság: | Ro ≥ 343 daN/cm2 | |
| Minimális nyúlás: | Ao ≥ 400 % | |
| Modulus: | 100 % nyúlásnál: ≥ 108 daN/cm2 | |
| 300 % nyúlásnál: ≥ 235 daN/cm2 | ||
| Kis hőmérsékletű törékenység:(ASTM, D 736 módszer) | öt óra – 55 oC-on | |
| Nyomókísérlet-sorozat (B módszer): | 22 óra 70 oC-on ≤ 45 % | |
| Sűrűség 25 oC-on: | 1,05-1,10 | |
| Öregedés levegőn: (ASTM, D 573 módszer): | ||
| 70 óra 100 oC-on | – Shore-féle keménység A: | max. változás ± 3 |
| – szakítószilárdság: | csökkenés < Ro 10 %-a | |
| – nyúlás: | csökkenés < Ao 10 %-a | |
| – tömeg: | csökkenés < 1 % | |
| Bemerítés olajba: (ASTM, 1. módszer, olaj): | ||
| 70 óra 100 oC-on | – Shore-féle keménység A: | max. változás ± 4 |
| – szakítószilárdság: | csökkenés < Ro 15 %-a | |
| – nyúlás: | csökkenés < Ao 10 %-a | |
| – térfogat: | duzzadás: < 5 % | |
| Bemerítés olajba: (ASTM, 3. módszer, olaj): | ||
| 70 óra 100 oC-on | – szakítószilárdság: | csökkenés < Ro 15 %-a |
| – nyúlás: | csökkenés < Ao 15 %-a | |
| – térfogat: | duzzadás: < 20 % | |
| Bemerítés desztillált vízbe: | ||
| egy hét 70 oC-on | – szakítószilárdság: | csökkenés < Ro 35 %-a |
| – nyúlás: | növekedés < Ao 20 %-a | |

1. ábra
Vizsgálókocsi, ülés, rögzítések

2. ábra
Fékezőberendezés

3. ábra
Fékezőberendezés
(poliuretáncső)

4. ábra
Fékezőberendezés
(olajbogyó formájú gomb)
VIII. MELLÉKLET
A PRÓBABÁBU LEÍRÁSA
| SZÖVEG HIÁNYZIK |
1. TÁBLÁZAT
| A próbabábu alkatrészei | Tömeg kilogrammban |
| Fej és nyak | 4,6 ± 0,3 |
| Törzs és karok | 40,3 ± 1,0 |
| Combok | 16,2 ± 0,5 |
| Alsó lábszár és lábfej | 9,0 ± 0,5 |
| Teljes súly a korrekciós súlyokkal együtt | 74,5 ± 1,0 |
2. TÁBLÁZAT
| Hiv. szám | Megnevezés | Anyag | Méret |
| 1 | Test | poliuretán | – |
| 2 | Csípőcső | acél | 76 × 70 × 100 mm |
| 3 | Láncrögzítő | acél | 25 × 10 × 70 mm |
| 4 | Hevederes lánc | acél | ¾ mm |
| 5 | Vállsík | poliuretán | – |
| 6 | Bordák (hengerelt szelvény) | acél | 30 × 30 × 3 × 250 mm |
| 7 | Bordák | perforált acéllemez | 400 × 85 × 1,5 mm |
| 8 | Szegycsont | perforált acéllemez | 250 × 90 × 1,5 mm |
| 9 | Korongok (6) | poliuretán | Ø 90 × 20 mm, Ø 80 × 20 mm Ø 75 × 20 mm, Ø 70 × 20 mm Ø 65 × 20 mm, Ø 60 × 20 mm |
| 10 | Tömb | poliamid | 60 × 60 × 25 mm |
| 11 | Cső alakú távtartó | acél | 40 × 40 × 2 × 50 mm |
| 12 | Feszítőcsavar | acél | M16 × 90 mm |
| 13 | Feszítőanya | acél | M16 |
| 14 | Feszítőelem az atlaszcsigolya-ízülethez | acél | Ø 12 × 130 mm (M12) |
| 15 | Fej | poliuretán | – |
| 16 | Cső alakú távtartó | acél | Ø 18 × 13 × 17 mm |
| 17 | Megerősítő lemez | acél | 30 × 3 × 500 mm |
| 18 | Feszítőanya | acél | M12 |
| 19 | Combok | poliuretán | – |
| 20 | Csípőcső | acél | 76 × 70 × 80 mm |
| 21 | Combrúd | acél | 30 × 30 × 440 mm |
| 22 | Térdcső | acél | 52 × 46 × 40 mm |
| 23 | Csípő összekötő cső | acél | 70 × 64 × 250 mm |
| 24 | Dörzstárcsák (4) | acél | 160 × 75 × 1 mm |
| 25 | Feszítőszerelvény | acél | M12 × 320 lemezek és anyák |
| 26 | Térdcső | acél | 52 × 46 × 160 mm |
| 27 | Térdösszekötő cső | acél | 44 × 39 × 190 mm |
| 28 | Feszítőlemez | acél | Ø 70 × 4 mm |
| 29 | Sípcsontcső | acél | 50 × 50 × 2 × 460 mm |
| 30 | Talplemez | acél | 100 × 170 × 3 mm |
| 31 | Törzskorrekciós súlyok (6) | poliuretán | egyenként 1 kg |
| 32 | Párna | polietilénhab | 350 × 250 × 25 mm |
| 33 | Kezeslábas ruha | pamut, poliamidpántok | |
| 34 | Csípőízület-korrekciós súlyok (6) | acél | egyenként 1 kg |

1. ábra

2. ábra

3. és 4. ábra

5. és 6. ábra
Próbabábu, amint a VII. melléklet 1. ábráján bemutatott helyzetben ül.
G = súlypont.
T = törzsmérési pont (a próbabábu elején, a középvonalban elhelyezve),
P = medencemérési pont (a próbabábu hátulján, a középvonalban elhelyezve).
IX. MELLÉKLET
A VIZSGÁLÓKOCSI LASSULÁSI GÖRBÉJÉNEK LEÍRÁSA AZ IDŐ FÜGGVÉNYÉBEN
(Görbe a fékezőberendezések vizsgálatához)

| t | g | |
| A | 10 | 15 |
| B | 15 | 20 |
| C | 25 | 26 |
| D | 45 | 26 |
| E | 55 | 20 |
| F | 60 | 0 |
| G | 18 | 32 |
| H | 60 | 32 |
| I | 80 | 0 |
A biztonságiöv-vizsgálatokhoz 455 ± 20 kg, az utasbiztonságirendszer-vizsgálatokhoz pedig 910 ± 40 kg teljes tömeg létrehozásához tehetetlen tömeggel terhelt vizsgálókocsi lassulási görbéjének, ahol a kocsi és a gépjárműszerkezet névleges tömege 800 kg, a fenti ábrán bejelölt területen belül kell maradnia. Ha szükséges, a vizsgálókocsi és a ráerősített gépjárműszerkezet névleges tömege 200 kg-os lépésekben növelhető, de ebben az esetben minden egyes növekményhez 28 kg tehetetlen tömeget kell hozzáadni. A vizsgálókocsi, a gépjárműszerkezet és a tehetetlen tömeg összege semmilyen esetben sem térhet el a hitelesítővizsgálatokhoz alkalmazott névleges értéktől ± 40 kg-nál nagyobb mértékben. A vizsgálókocsi hitelesítésekor a féktávolságnak 400 ± 20 mm mértékűnek, a kocsi sebességének pedig 50 ± 1 km/h értékűnek kell lennie.
Mindkét esetben a mérőberendezésnek olyan frekvencia-jelleggörbével kell rendelkeznie, amely alapjában véve egészen 60 Hz-ig lapos, 100 Hz-es határfrekvencia mellett. A jelátalakító összeállításra ható mechanikai rezonanciák nem torzíthatják a leolvasott adatokat. Figyelmet kell fordítani a kábel hosszának és hőmérsékletének a frekvenciamenetre gyakorolt hatására ( 9 ).
X. MELLÉKLET
HASZNÁLATI UTASÍTÁSOK
| 1. | Beszerelési utasítások (nem szükséges akkor, ha a gyártó a gépjárműveket előre beszerelt biztonsági övekkel szállítja), amelyek pontosan meghatározzák azt, hogy melyik gépjárműtípusokhoz alkalmazható az övszerelvény, valamint az övszerelvénynek a gépjárműbe való helyes beszerelési módszerét, beleértve a hevederek kopás elleni védelmére vonatkozó figyelmeztetést is. |
| 2. | A használati utasításoknak (amelyek belefoglalhatók a gépjármű felhasználói kézikönyvébe is, amennyiben a gyártó a gépjárműveket előre beszerelt biztonsági övekkel szállítja) tartalmazniuk kell azokat az utasításokat, amelyek szükségesek annak biztosítására, hogy a felhasználónak a legnagyobb hasznára váljon a biztonsági öv. Ezekben az utasításokban utalni kell az alábbiakra: a) a biztonsági öv használatának fontossága minden utazás alatt; b) a biztonsági öv viselésének helyes módja, és különösen: — a csat tervezett helye, — a biztonsági öv feszességének szükségessége használat közben, — a hevederek megfelelő elhelyezése és a megcsavarodás elkerülésének fontossága, — az a tény, hogy minden egyes biztonsági övet csak egyetlen utas használhat, és az övet nem szabad az utas ölében ülő gyermek köré csatolni; c) a csat rögzítésének és kioldásának módszere; d) az öv beállításának módszere; e) az övvisszahúzó szerkezet működtetésének módszere, amit a szerelvény magában foglal, valamint a reteszelés ellenőrzésének módszere; f) az öv ajánlott tisztítási módszere, valamint annak újra összeszerelése a tisztítás után, ha szükséges; g) annak fontossága, hogy a biztonsági övet kicseréljék, ha korábban súlyos balesetben használták, vagy komolyabb kirojtosodás vagy bevágás jelei mutatkoznak rajta; h) az a tény, hogy a biztonsági övet semmilyen módon sem szabad megváltoztatni vagy módosítani, mivel az ilyen változtatások az övet hatástalanná teszik; különösen, ahol a szerkezet lehetővé teszi az alkatrészek szétszerelését, továbbá utasításokat kell adni a megfelelő újra összeszerelés biztosítására; i) az a tény, hogy a biztonsági övet felnőtt utasok testfelépítéséhez tervezték; j) az öv tárolása, amikor nincs használatban. |
| 3. | A 4N típusú övvisszahúzó szerkezettel ellátott biztonsági övek esetében a beszerelési utasításban és valamennyi csomagoláson fel kell tüntetni, hogy ez az öv nem alkalmas a vezető ülésével együtt kilencnél több üléses gépjárműbe történő beszerelésre. |
| 4. | A gépjármű gyártójának tanácsot kell adnia a gépjármű kézikönyvében arra vonatkozóan, hogy az egyes utasülések alkalmasak-e 12 éves korig (vagy 1,5 m magasságig) gyermekek szállítására vagy gyermekbiztonsági rendszerek felszerelésére. A tájékoztatást annak az országnak a hivatalos nyelvén vagy legalább hivatalos nyelveinek egyikén kell biztosítani, ahol a gépjárművet forgalomba hozzák. |
| 4.1. | Minden menetirányba néző utasülőhely esetében a gyártónak vagy: |
| 4.1.1. | jeleznie kell, hogy az ülőhely alkalmas-e univerzális kategóriájú gyermekbiztonsági rendszerekhez; |
| 4.1.2. | fel kell sorolnia azokat az univerzális, félig univerzális, korlátozott vagy meghatározott gépjárműre tervezett kategóriájú utasbiztonsági rendszereket, amelyek alkalmasak a gépjárműnek ahhoz az ülőhelyéhez, megjelölve azokat a korosztályokat, amelyeknek az utasbiztonsági rendszereket tervezték; |
| 4.1.3. | biztosítania kell egy beépített gyermekbiztonsági rendszert, feltüntetve a korosztály(oka)t, amely(ek)nek a rendszert tervezték az egyes kialakításokban, szükség szerint; vagy |
| 4.1.4. | a 4.1.1., 4.1.2. és 4.1.3. pontokban foglalt előírások bármilyen kombinációját. |
| 4.1.5. | Ha egy adott korosztályra a 4.1.1.–4.1.4. pontok nem tartalmaznak előírásokat egy bizonyos ülőhelyet illetően, a gyártónak jeleznie kell, hogy az olyan korú gyermekek nem szállíthatók azon az ülőhelyen. |
| 4.1.6. | Ehhez a tájékoztatóhoz alkalmas formát e melléklet 1. függeléke tartalmaz. |
1. függelék
| Korcsoport | Ülőhely | |||
| Első utas | Hátsó utas | Hátsó középső | Pótülések | |
| < 10 kg (0-9 hónapos) | X | U | L | – |
| < 13 kg (0-24 hónapos) | U | U | L | – |
| 9-18 kg (9-48 hónapos) | UV | U | L | – |
| 15-36 kg (4-12 éves) | U | U | B | – |
JELMAGYARÁZAT:
U : Alkalmas az erre a korcsoportra jóváhagyott »univerzális« kategóriájú utasbiztonsági rendszerekhez.
UF : Alkalmas az erre a korcsoportra jóváhagyott, menetirányba néző »univerzális« kategóriájú utasbiztonsági rendszerekhez.
L : Alkalmas bizonyos, a mellékelt listán megadott gyermekbiztonsági rendszerekhez. Ezek a rendszerek lehetnek »adott gépjárműtípusba beépíthető«, »korlátozott«, »félig univerzális« vagy »univerzális« kategóriájúak.
B : Beépített utasbiztonsági rendszer, amelyet ehhez a korosztályhoz hagytak jóvá.
X : Az ülőhely nem alkalmas ehhez a gyermek korosztályhoz.
XI. MELLÉKLET
KETTŐSCSAT-VIZSGÁLAT
(leírása az I. melléklet 2.7.6.5. tételében)

XII. MELLÉKLET
KOPTATÓ- ÉS MIKROCSÚSZÁSI VIZSGÁLAT

1. ábra
1. típusú vizsgálat
Példák a beállítóeszköz típusának megfelelő vizsgálati elrendezésekre

2. ábra
2. típusú vizsgálat

3. ábra
3. típusú vizsgálat és mikrocsúszási vizsgálat
KORRÓZIÓÁLLÓSÁGI VIZSGÁLAT
| 1. | VIZSGÁLÓKÉSZÜLÉK |
| 1.1. | A készülék ködkamrából, sóoldattartályból, megfelelően szabályozott sűrített levegőellátásból, egy vagy több porlasztófúvókából, mintadarabtartóból, a kamra, valamint a szükséges vezérlőeszközök fűtésének biztosításából áll. A készülék méretei és kivitelezési részletei szabadon választhatóan alakíthatók ki, feltéve, hogy azok kielégítik a vizsgálati feltételeket. |
| 1.2. | Fontos biztosítani, hogy a kamra mennyezetén vagy belső burkolatán összegyűlt oldatcseppek ne csepegjenek rá a vizsgált mintadarabra, és |
| 1.3. | hogy azok az oldatcseppek, amelyek a vizsgált mintadarabokról csepegnek le, ne juthassanak vissza a tartályba, ahonnan újra a porlasztóba kerülnének. |
| 1.4. | A készülék nem készülhet olyan anyagokból, amelyek befolyásolják a pára korróziót eredményező tulajdonságait. |
| 2. | A VIZSGÁLT MINTADARABOK ELHELYEZÉSE A KÖDKAMRÁBAN |
| 2.1. | A mintadarabokat, az övvisszahúzó szerkezetek kivételével, a függőlegeshez képest 15o és 30o közötti szögben kell alátámasztani vagy felfüggeszteni, és lehetőleg a kamrán vízszintesen keresztüláramló pára fő irányával párhuzamosan, a vizsgált mintadarab legnagyobb felületéhez viszonyítva. |
| 2.2. | Az övvisszahúzó szerkezeteket úgy kell alátámasztani vagy felfüggeszteni, hogy a heveder tárolására szolgáló cséve tengelye merőleges legyen a kamrán vízszintesen keresztüláramló pára fő irányára. Az övvisszahúzó szerkezetben a heveder nyílásának szintén ebbe a fő irányba kell néznie. |
| 2.3. | A mintadarabokat úgy kell elhelyezni, hogy lehetővé tegyék a pára szabad lecsapódását az összes mintadarabon. |
| 2.4. | A mintadarabokat úgy kell elhelyezni, hogy kiküszöbölhető legyen a sóoldat csepegése az egyik mintadarabról a másikra. |
| 3. | SÓOLDAT |
| 3.1. | A sóoldat elkészítéséhez 5 ± 1 tömegrész konyhasót kell feloldani 95 rész desztillált vízben. A konyhasónak alapvetően nikkel- és rézmentesnek kell lennie, és száraz állapotban nem tartalmazhat 0,1 %-nál több nátrium-jodidot és 0,3 %-nál több szennyezőanyagot, a teljes tömegre vonatkoztatva. |
| 3.2. | Az oldatnak olyannak kell lennie, hogy 35°C-on porlasztva az összegyűjtött oldat a 6,5-7,2 közötti pH-tartományba essen. |
| 4. | LEVEGŐELLÁTÁS A fúvókához vagy fúvókákhoz a sóoldat porlasztása céljából szállított sűrített levegőnek olaj- és szennyezőanyag-mentesnek kell lennie, a nyomását pedig 70 kN/m2 és 170 kN/m2 közötti értéken kell tartani. |
| 5. | KÖRÜLMÉNYEK A KÖDKAMRÁBAN |
| 5.1. | A ködkamra megfigyelési tartományát 35 ± 5 °C hőmérsékleten kell tartani. A megfigyelési tartományon belül legalább két tiszta páragyűjtőt kell elhelyezni annak megelőzésére, hogy a mintadarabokon vagy más lecsapódási felületen összegyűlt oldat lecsöpögjön. A páragyűjtőket a vizsgált mintadarabok közelében kell elhelyezni, az egyiket minél közelebb a fúvókákhoz, a másikat pedig a fúvókáktól minél távolabb. A párának olyannak kell lennie, hogy mindegyik 80 cm2 méretű, vízszintes gyűjtőfelületen átlagosan 1,0 és 2,0 ml oldat gyűljön össze óránként és páragyűjtőnként, legalább 16 órán keresztül mérve. |
| 5.2. | A fúvókát vagy fúvókákat oly módon kell irányítani vagy terelőlappal ellátni, hogy a permet ne szálljon rá közvetlenül a vizsgált mintadarabokra. |
IV. MELLÉKLET
A VIZSGÁLATOK IDŐBELI SORRENDJE
| Vonatkozó irányelv pontja | Vizsgálat | Mintadarabok | |||||||||||||||
| Öv vagy utasbiztonsági rendszer száma | Heveder száma | ||||||||||||||||
| 1 | 2 | 3 | 4 | 5 | 1 | 2 | 3 | 4 | 5 | 6 | 7 | 8 | 9 | 10 | 11 | ||
| 2.2., 2.3.2., 2.4.1.1., 2.5.1.1. | Öv vagy utasbiztonsági rendszer felülvizsgálata | × | |||||||||||||||
| 2.4.2.1., 2.4.2.2. | Csat felülvizsgálata | × | × | × | × | × | |||||||||||
| 2.4.2.6., 2.4.2.7., 2.7.6.1., 2.7.6.5., | Csat szilárdságvizsgálata | × | |||||||||||||||
| 2.4.3.2., 2.7.6.1. | Beállítóeszköz szilárdsági vizsgálata (és ahol kell, az övvisszahúzóé) | × | |||||||||||||||
| 2.4.4., 2.7.6.2. | Csatlakoztató szerelékek szilárdság vizsgálata (és ahol kell, az övvisszahúzóé) | × | |||||||||||||||
| 2.4.2.4., 2.7.6.3. | Csat vizsgálata alacsony hőmérsékleten | × | × | ||||||||||||||
| 2.4.1.4., 2.7.6.4. | Merev részek ütéspróbája alacsony hőmérsékleten | × | × | ||||||||||||||
| 2.4.3.3., 2.7.6.6. | Könnyű beállíthatóság | × | |||||||||||||||
| Öv vagy utasbiztonsági rendszer előkezelése/vizsgálata dinamikus vizsgálat előtt: | |||||||||||||||||
| 2.4.2.3., 2.6.1.2. | Csat tartóssága | × | × | ||||||||||||||
| 2.4.1.2., 2.7.2. | Merev részek korrózióállósága | × | × | ||||||||||||||
| Övvisszahúzók előkezelése | |||||||||||||||||
| 2.4.5.1.1., 2.4.5.2.1., 2.4.5.2.2., 2.4.5.2.3., 2.7.7.2. | Reteszelési küszöb | × | × | ||||||||||||||
| 2.4.5.1.2, 2.4.5.2.4, 2.7.7.4. | Visszahúzó erő | × | × | ||||||||||||||
| 2.4.5.1.3., 2.4.5.2.5., 2.7.7.1. | Tartósság | × | × | ||||||||||||||
| 2.4.5.1.3., 2.4.5.2.5., 2.7.2. | Korrózió | × | × | ||||||||||||||
| 2.4.5.1.3., 2.4.5.2.5., 2.7.7.3. | Por | × | × | ||||||||||||||
| 2.4.5.1.2., 2.7.5. | Heveder szélesség vizsgálata | × | × | ||||||||||||||
| Heveder szilárdságvizsgálata az alábbiak után: | |||||||||||||||||
| 2.5.2., 2.7.5., 2.7.3.1. | Előkezelés szobahőmérsékleten | × | × | ||||||||||||||
| 2.5.3., 2.7.5., 2.7.3.2. | Előkezelés fényben | × | × | ||||||||||||||
| 2.5.3., 2.7.5., 2.7.3.3. | Előkezelés alacsony hőmérsékleten | X | × | × | |||||||||||||
| 2.5.3., 2.7.5., 2.7.3.4. | Hő-előkezelés | × | × | ||||||||||||||
| 2.5.3., 2.7.5., 2.7.3.5. | Előkezelés vízben | × | × | ||||||||||||||
| 2.4.3.1., 2.7.4. | Mikrocsúszás-vizsgálat | × | × | ||||||||||||||
| 2.6.2., 2.7.3.6. | Koptatásvizsgálat | × | × | ||||||||||||||
| 2.6.1., 2.7.8. | Dinamikai vizsgálat | × | × | ||||||||||||||
| 2.4.2.5., 2.4.2.7., 2.7.8., 2.7.9. | Csatnyitási vizsgálat | × | × | ||||||||||||||
| 2.7.1.4. | Hevederminta megőrzése | × | |||||||||||||||
XV. MELLÉKLET
A BIZTONSÁGI ÖVEK ÉS UTASBIZTONSÁGI RENDSZEREK MINIMUMKÖVETELMÉNYEI
| Gépjármű-kategória | Menetirányba néző ülőhelyek | Menetiránynak háttal elhelyezkedő ülőhelyek | |||
| Külső ülőhelyek | Középső ülőhelyek | ||||
| Elülső | Nem elülső | Elülső | Nem elülső | ||
| M1 | Ar4m | Ar4m | Ar4m | Ar4, Ar4m | B, Br3, Br4m |
| M2 ≤ 3,5 T | Ar4m, Ar4Nm | Ar4m, Ar4Nm | Ar4m, Ar4Nm | Ar4m, Ar4Nm | Br3, Br4m, Br4Nm |
| M2>3,5 T | Br3, Br4m, Br4Nm vagy Ar4m, Ar4Nm [Kép #8] | Br3, Br4m, Br4Nm vagy Ar4m, Ar4Nm [Kép #9] | Br3, Br4m, Br4Nm vagy Ar4m, Ar4Nm [Kép #10] | Br3, Br4m, Br4Nm vagy Ar4m, Ar4Nm [Kép #11] | Br3, Br4m, Br4Nm |
| M3 | Lásd a 3.1.10. pontot a feltételekhez, amikor kétpontos biztonsági öv megengedett | Lásd a 3.1.10. pontot a feltételekhez, amikor kétpontos biztonsági öv megengedett | Lásd a 3.1.10. pontot a feltételekhez, amikor kétpontos biztonsági öv megengedett | Lásd a 3.1.10. pontot a feltételekhez, amikor kétpontos biztonsági öv megengedett | |
| N1 | Ar4m, Ar4Nm | B, Br3, Br4m, Br4Nm vagy semmi | B, Br3, Br4m, Br4Nm vagy A, Ar4m, Ar4Nm* | B, Br3, Br4m, Br4Nm vagy semmi | semmi |
| 3.1.8. és 9. pont: kétpontos biztonsági öv kell a nem védett ülőhelyeken | 3.1.7. pont: kétpontos biztonsági öv megengedett, ha a szélvédő nincs a referenciazónában | 3.1.8. és 9. pont: kétpontos biztonsági öv kell a nem védett ülőhelyeken | |||
| N2 | B, Br3, Br4m, Br4Nm vagy A, Ar4m, Ar4Nm* | B, Br3, Br4m, Br4Nm vagy semmi # | B, Br3, Br4m, Br4Nm vagy A, Ar4m, Ar4Nm* | B, Br3, Br4m, Br4Nm vagy semmi # | semmi |
| N3 | 3.1.7. pont: kétpontos biztonsági öv megengedett, ha a szélvédő a referenciazónán kívül van, és a vezetőüléshez | 3.1.8. és 9. pont: kétpontos biztonsági öv kell a nem védett ülőhelyeken | 3.1.7. pont: kétpontos biztonsági öv megengedett, ha a szélvédő nincs a referenciazónában | 3.1.8. és 9. pont: kétpontos biztonsági öv kell a nem védett ülőhelyeken | |
| Megjegyzés: Az összes esetben S-típusú övek felszerelhetők az A vagy B típusú övvel ellátott helyre, feltéve, hogy a 76/115/EGK irányelvet kielégítő rögzítéseket használnak. | |||||

Kép #8

Kép #9

Kép #10

Kép #11
XVI. MELLÉKLET
A GYÁRTÁS MEGFELELŐSÉGÉNEK ELLENŐRZÉSE
| 1. | VIZSGÁLATOK A biztonsági öveknek eleget kell tenniük a következő vizsgálatokban foglalt követelményeknek. |
| 1.1. | A vészhelyzetben reteszelő övvisszahúzó szerkezetek reteszelési küszöbének és tartósságának ellenőrzése A 2.7.7.2. pont rendelkezései szerint, miután a 2.4.5.2.5. pont követelményének megfelelően alávetették a 2.7.2., 2.7.7.1. és 2.7.7.3. pontokban részletezett tartósságvizsgálatnak, szükség szerint a legkedvezőtlenebb irányban. |
| 1.2. | Az automatikusan reteszelő övvisszahúzó szerkezetek tartósságának ellenőrzése A 2.7.7.1. pont rendelkezései szerint, kiegészítve a 2.7.2. és 2.7.7.3. pontokban előírt vizsgálatokkal, a 2.4.5.1.3. pont előírásaként. |
| 1.3. | A hevederek szilárdságvizsgálata előkezelés után A 2.7.5. pontban leírt rendelkezések szerint, a 2.7.3.1.–2.7.3.5. pontok előírásai szerinti előkezelés után. |
| 1.3.1. | A hevederek szilárdságvizsgálata koptatás után A 2.7.5. pontban leírt eljárás szerint, a 2.7.3.6. pontban leírt előírások szerinti pihentetés után. |
| 1.4. | Mikrocsúszás-vizsgálat A 2.7.4. pontban leírt eljárás szerint. |
| 1.5. | A merev részek vizsgálata A 2.7.6. pontban leírt eljárás szerint. |
| 1.6. | A biztonsági övek vagy utasbiztonsági rendszerek hatásossági követelményeinek felülvizsgálata, ha dinamikai vizsgálatnak alávetették. |
| 1.6.1. | Előkezeléssel járó vizsgálatok |
| 1.6.1.1. | Vészhelyzetben reteszelő övvisszahúzó szerkezettel ellátott biztonsági övek vagy utasbiztonsági rendszerek: a 2.7.8. és 2.7.9. pontokban felsorolt rendelkezések szerint, olyan övet használva hozzájuk, melynek övvisszahúzó szerkezetét előzőleg egy, a 2.7.7.1 pontban előírt, 45 000 ciklusú tartósságvizsgálatnak, valamint a 2.4.2.3., 2.7.2. és 2.7.7.3. pontokban meghatározott vizsgálatnak vetették alá. |
| 1.6.1.2. | Automatikusan reteszelő övvisszahúzó szerkezettel ellátott biztonsági övek vagy utasbiztonsági rendszerek: a 2.7.8. és 2.7.9. pontokban felsorolt rendelkezések szerint, olyan övet használva hozzájuk, amelynek övvisszahúzó szerkezetét előzőleg egy, a 2.7.7.1. pontban előírt 10 000 ciklusú tartósságvizsgálatnak, valamint a 2.4.2.3., 2.7.2. és 2.7.7.3. pontokban előírt vizsgálatoknak is alávetették. |
| 1.6.1.3. | Statikus öv: a 2.7.8. és 2.7.9. pontokban felsorolt rendelkezések szerint, olyan övet használva, amelyet már alávetették a 2.4.2.3. és 2.7.2. pontoban előírt vizsgálatnak. |
| 1.6.2. | Vizsgálatok előkezelés nélkül A 2.7.8. és 2.7.9. pontokban felsorolt rendelkezések szerint. |
| 2. | VIZSGÁLATI GYAKORISÁG ÉS EREDMÉNYEK |
| 2.1. | Az 1.1.–1.5. pontok követelményei szerint elvégzett vizsgálatok gyakoriságát statisztikailag ellenőrzött módon, véletlenszerűen kell meghatározni, a szabályos minőségbiztosítási eljárások valamelyikének megfelelően. |
| 2.1.1. | Továbbá, a vészhelyzetben reteszelő övvisszahúzók esetében, az összes szerelvényt ellenőrizni kell: |
| 2.1.1.1. | vagy a 2.7.7.2.1. és a 2.7.7.2.2. pontokban felsorolt rendelkezések szerint, a 2.7.7.2.1.2. pontban előírtak szerinti legkedvezőtlenebb irányban. A vizsgálati eredményeknek ki kell elégíteniük a 2.4.5.2.1.1. és 2.4.5.2.3. pontokban foglalt követelményeket. |
| 2.1.1.2. | vagy a 2.7.7.2.3. pontban felsorolt rendelkezések szerint, a legkedvezőtlenebb irányban. A dőlés sebessége azonban az előírt sebességnél nagyobb is lehet, amennyiben az nem befolyásolja a vizsgálati eredményeket. A vizsgálati eredményeknek meg kell felelniük a 2.4.5.2.1.4. pontban foglalt követelményeknek. |
| 2.2.1. | Vizsgálatok előkezeléssel |
| 2.2.1.1. | Vészhelyzetben reteszelő övvisszahúzó szerkezettel felszerelt övek esetében, — ahol a napi termelés nagyobb, mint 1 000 öv: minden legyártott 100 000 övből egy darab, legalább kéthetenként egyszeri gyakorisággal, — ahol a napi termelés kisebb, mint 1 000 öv, vagy azzal egyenlő: minden legyártott 10 000 övből egy darab, legalább évenként egyszeri gyakorisággal, reteszelőszerkezet-fajtánként, az ennek a mellékletnek az 1.6.1.1. pontjában előírt vizsgálatnak kell alávetni. (1) |
| 2.2.1.2. | Automatikusan reteszelő övvisszahúzó szerkezettel felszerelt övek és statikus övek esetében, — ahol a napi termelés nagyobb, mint 1 000 öv: minden legyártott 100 000 övből egy darab, legalább kéthetenként egyszeri gyakorisággal, — ahol a napi termelés kisebb, mint 1 000 öv, vagy azzal egyenlő: minden legyártott 10 000 övből egy darab, legalább évenként egyszeri gyakorisággal, az ennek a mellékletnek az 1.6.1.2., illetve az 1.6.1.3. pontjában előírt vizsgálatnak kell alávetni. |
| 2.2.2. | Vizsgálatok előkezelés nélkül |
| 2.2.2.1. | Vészhelyzetben reteszelő övvisszahúzó szerkezettel felszerelt övek esetében a következő számú mintadarabot kell alávetni az ennek a mellékletnek az 1.6.2. pontjában előírt vizsgálatnak: |
| 2.2.2.1.1. | napi 5 000 övnél nem kevesebb gyártása esetén két övet minden 25 000 legyártott darabból, legalább napi egy öv gyakorisággal, reteszelőszerkezet-fajtánként; |
| 2.2.2.1.2. | napi 5 000 hevedernél kevesebb gyártása esetén egy övet minden 5 000 legyártott darabból, legalább évi egy öv gyakorisággal, reteszelőszerkezet-fajtánként. |
| 2.2.2.2. | Automatikusan reteszelő övvisszahúzó szerkezettel felszerelt övek és statikus övek esetében a következő számú mintadarabot kell alávetni az ennek a mellékletnek az 1.6.2. pontjában előírt vizsgálatnak: |
| 2.2.2.2.1. | napi 5 000 övnél nem kevesebb gyártása esetén két övet minden 25 000 legyártott darabból, legalább napi egy öv gyakorisággal, jóváhagyott típusonként, |
| 2.2.2.2.2. | napi 5 000 hevedernél kevesebb gyártás esetén egy övet minden 5 000 legyártott darabból, legalább évi egy öv gyakorisággal, jóváhagyott típusonként. |
| 2.2.3. | Eredmények A vizsgálati eredményeknek ki kell elégíteniük az I. melléklet 2.6.1.3.1. pontjában felsorolt követelményeket. A próbabábu előre irányuló elmozdulása az I. melléklet 2.6.1.3.2. pontjára is tekintettel ellenőrizhető (vagy a 2.6.1.4. pontra, amennyiben alkalmazható) az ennek a mellékletnek az 1.6.1. pontja szerint végrehajtott vizsgálat alatt vagy egy erre alkalmassá tett, egyszerűsített módszer segítségével. |
| 2.2.3.1. | Az irányelv I. melléklete 2.6.1.3.3. pontja és az ennek a mellékletnek az 1.6.1. pontja szerinti jóváhagyás esetében csak az a követelmény, hogy az öv egyik része sem roncsolódhat vagy kapcsolódhat szét, továbbá az, hogy a mellkas vonatkoztatási pontjának sebessége 300 mm-es elmozdulásnál nem lépheti túl a 24 km/h sebességet. |
| 2.3. | Ahol a vizsgált mintadarab nem felel meg egy adott vizsgálatnak, amelynek alávetették, legalább három másik mintadarabon további vizsgálatot kell végezni azonos követelmények szerint. Dinamikai vizsgálatok esetében, ha a három mintadarab egyike nem felel meg a követelményeknek, a jóváhagyás jogosultja vagy megfelelően meghatalmazott képviselője értesíti az illetékes hatóságot, amely a típusjóváhagyást megadta, jelezve, hogy eddig milyen lépéseket tett a gyártás minőségének helyreállítása érdekében. |
| (1) Ennek a mellékletnek az alkalmazásában a »reteszelőszerkezet-fajta« minden olyan vészhelyzetben reteszelő övvisszahúzó szerkezetet jelent, amelyek mechanikái csak az érzékelőeszköznek a gépjármű vonatkoztatási tengely-rendszeréhez viszonyított terhelési szögében (szögeiben) különböznek egymástól. | |
XVII. MELLÉKLET
A GYERMEKBIZTONSÁGI RENDSZEREK KÖVETELMÉNYEI
A gyermekbiztonsági rendszer jóváhagyásának követelményei az ENSZ Európai Gazdasági Bizottsága 44. előírásának 2., 6., 7., 8., 9. és 14. bekezdéseiben ( 10 ) találhatók, a 3-21. mellékletekkel együtt, a módosítások 03 sorozatáig.
(A fenti 6-8. bekezdésekben a 14., 16. és 21. előírásokra található hivatkozások mint a 76/115/EGK irányelv, ez az irányelv és a 74/60/EGK irányelv értendők.)
XVIII. MELLÉKLET
A GYERMEKBIZTONSÁGI RENDSZEREK BESZERELÉSÉNEK KÖVETELMÉNYEI
A gyermekbiztonsági rendszerek beszerelésének követelményei az ENSZ Európai Gazdasági Bizottsága R. E.3 egységes szerkezetbe foglalt állásfoglalásai 13. mellékletének 2. függeléke 5.2. pontjában találhatók, melyeket megismétel az ehhez a melléklethez tartozó függelék.
1. függelék
Az alábbiakban megismételt szöveg az ENSZ Európai Gazdasági Bizottsága R. E.3 egységes szerkezetbe foglalt állásfoglalásai 13. mellékletére (2. függelék 5.2. pont) utal (TRANS/WP.29/78/Rev.1., kelt 1997. augusztus 11-én).
13. MELLÉKLET
AJÁNLÁS A GÉPJÁRMŰVEK MENETIRÁNNYAL MEGEGYEZŐEN ÉS MENETIRÁNNYAL ELLENTÉTESEN BEÉPÍTETT FELNŐTT-UTASÜLÉSEIHEZ ALKALMAZHATÓ BIZTONSÁGI ÖVEK ÉS UTASBIZTONSÁGI RENDSZEREK BESZERELÉSÉNEK KÖVETELMÉNYEIHEZ
| 5.2. | Az »univerzális« kategóriájú gyermekbiztonsági rendszer olyan gyermekbiztonsági rendszert jelent, melyet az EGB 44. sz. előírás 03 módosítási sorozatának »univerzális« kategóriája szerint hagytak jóvá. Az ülőhelynek, melyet a gépjármű gyártója »univerzális« kategóriájú gyermekbiztonsági rendszer beszerelésére alkalmasnak tüntetett fel, eleget kell tennie az e melléklet 2. függelékében felsorolt rendelkezéseknek. |
2. függelék
A gépjármű biztonsági öv berendezéseivel beszerelt »univerzális« kategóriájú gyermekbiztonsági rendszerek beszerelésére vonatkozó rendelkezések
| 1. | ÁLTALÁNOS KÖVETELMÉNYEK |
| 1.1. | Az ebben a függelékben található vizsgálati eljárásokat és követelményeket az »univerzális« kategóriájú gyermekbiztonsági rendszer beszerelésére szolgáló ülőhelyek alkalmasságának meghatározására kell alkalmazni. |
| 1.2. | A vizsgálatokat a gépjárműben vagy a gépjármű jellemző részén lehet elvégezni. |
| 2. | Vizsgálati eljárás |
| 2.1. | Az ülést az egészen hátratolt és legalacsonyabb helyzetébe kell állítani. |
| 2.2. | Az ülés háttámláját a gyártó által tervezett szögbe kell állítani. Előírások hiányában az ülés háttámláját a függőlegestől mért 25 fokban vagy az ahhoz legközelebbi fix helyzetben kell használni. |
| 2.3. | A vállmagasságban található rögzítési helyet a legalacsonyabb helyzetbe kell állítani. |
| 2.4. | Pamutvásznat kell a háttámlára és az üléspárnára helyezni. |
| 2.5. | A készüléket (az e a függelék 1. ábráján leírtak szerint) a gépjármű ülésére kell helyezni. |
| 2.6. | Ha az ülőhelyet menetiránnyal megegyezően vagy menetiránnyal ellentétesen beépített univerzális utasbiztonsági rendszer hozzáillesztésére tervezték, a 2.6.1., 2.7., 2.8., 2.9. és 2.10. bekezdések szerint kell eljárni. Ha az ülőhelyet csak a menetiránnyal megegyező univerzális utasbiztonsági rendszer hozzáillesztésére tervezték, a 2.6.2., 2.7., 2.8., 2.9. és 2.10. bekezdések szerint kell eljárni. |
| 2.6.1. | A 2. és 3. ábrákon bemutatott módon kell elrendezni a biztonsági öv hevederét a készülék körül megközelítőleg helyes pozícióba, majd be kell kapcsolni a csatot. |
| 2.6.2. | A biztonsági öv vízszintes hevederét a készülék 150 mm-es sugarú alsó része körül a helyes pozícióba a 3. ábrán bemutatott módon kell elrendezni, majd be kell kapcsolni a csatot. |
| 2.7. | A készüléknek a középvonalával az ülőhely szemmel látható középvonalán ± 25 mm-en belül kell elhelyezkednie úgy, hogy a középvonala párhuzamos legyen a gépjármű középvonalával. |
| 2.8. | A hevederszalag lazaságának teljesen meg kell szűnnie. A lazaság megszüntetéséhez elegendő erőt kell alkalmazni anélkül hogy, a hevederszalag megfeszített állapotba kerüljön. |
| 2.9. | A készüléket az elülső felülete középpontjára gyakorolt 100 N ± 10 N erővel hátra kell nyomni, az alsó felületével párhuzamosan, majd meg kell szüntetni az erőt. |
| 2.10. | Nyomjuk lefelé a készüléket a felső felülete középpontjára gyakorolt 100 N ± 10 N függőleges erővel, majd szüntessük meg az erőt. |
| 3. | KÖVETELMÉNYEK |
| 3.1. | A készülék alapja érintkezzen az üléspárna felületének mind az előre, mind a hátra irányuló részeivel. Ha ilyen érintkezés nem jön létre a vizsgálókészülékben lévő övhozzáférési rés miatt, akkor ezt a rést a vizsgálókészülék aljával egy vonalban le kell fedni. |
| 3.2. | Az öv vízszintes része a készüléket mindkét oldalán érintse a kétpontos biztonsági öv nyomvonalának hátsó részénél (lásd a 3. ábrát). |
| 3.3. | Amennyiben a fenti követelményeket a 2.1., 2.2. és a 2.3. bekezdésekben előírt beállítások nem elégítik ki, akkor az ülésháttámla és a biztonsági öv rögzítése a gyártó által a szokásos használat céljára kijelölt másik pozícióba beállítható, amelyben a fenti beszerelési eljárást meg kell ismételni, a követelményeknek való megfelelést pedig újra ellenőrizni kell. |

1. ábra
A készülék adatai

2. ábra
A készülék felszerelése a gépjármű ülésére
(lásd a 2.6.1. pontot)

3. ábra
Az illeszthetőség ellenőrzése
(lásd a 2.6.1. és 3.2. pontokat)
( 1 ) HL L 11., 1999.1.16., 25. o.
( 2 ) HL L 42., 1970.2.23., 1. o.
( 3 ) HL L 178., 1996.7.17., 15. o.
( 4 ) HL L 220., 1977.8.29., 95. o.
( 5 ) HL L 346., 1997.12.17., 78. o.
( 6 ) Az ebben az adatlapban alkalmazott tételszámok és lábjegyzetek megfelelnek a 70/156/EGK irányelv I. mellékletében alkalmazottaknak. Az erre az irányelvre nem vonatkozó tételek kimaradtak.
( 7 ) A nem megfelelőt törölni kell.
( 8 ) A nem megfelelőt törölni kell.
( 9 ) Ezek a követelmények összhangban vannak az ISO R 6478/1980 ajánlással.
( 10 ) A Hivatalos Lapban megjelent és kihirdetett szöveg."
Lábjegyzetek:
[1] A dokumentum eredetije megtekinthető CELEX: 32000L0003 - https://eur-lex.europa.eu/legal-content/HU/ALL/?uri=CELEX:32000L0003&locale=hu Utolsó elérhető, magyar nyelvű konszolidált változat CELEX: 02000L0003-20000316 - https://eur-lex.europa.eu/legal-content/HU/ALL/?uri=CELEX:02000L0003-20000316&locale=hu