32011D0291[1]
2011/291/EU: A Bizottság határozata ( 2011. április 26. ) a hagyományos transzeurópai vasúti rendszer "mozdonyok és személyszállító járművek" járműalrendszerére vonatkozó átjárhatósági műszaki előírásokról (az értesítés a C(2011) 2737. számú dokumentummal történt)
A BIZOTTSÁG HATÁROZATA
(2011. április 26.)
a hagyományos transzeurópai vasúti rendszer "mozdonyok és személyszállító járművek" járműalrendszerére vonatkozó átjárhatósági műszaki előírásokról
(az értesítés a C(2011) 2737. számú dokumentummal történt)
(EGT-vonatkozású szöveg)
(2011/291/EU)
AZ EURÓPAI BIZOTTSÁG,
tekintettel az Európai Unió működéséről szóló szerződésre,
tekintettel a vasúti rendszer Közösségen belüli kölcsönös átjárhatóságáról szóló, 2008. június 17-i 2008/57/EK európai parlamenti és tanácsi irányelvre ( 1 ) és különösen annak 6. cikke (1) bekezdésére,
mivel:
(1) A 2008/57/EK irányelv 2. cikkének e) pontjával és II. mellékletével összhangban a vasúti rendszert strukturális és funkcionális alrendszerekre osztják fel, ideértve a járműalrendszert is.
(2) A Bizottság 2007. február 9-i C(2006) 124 végleges határozatával felhatalmazást adott az Európai Vasúti Ügynökségnek (a továbbiakban: az Ügynökség) a hagyományos transzeurópai vasúti rendszer kölcsönös átjárhatóságáról szóló, 2001. március 19-i 2001/16/EK európai parlamenti és tanácsi irányelv ( 2 ) szerinti átjárhatósági műszaki előírások (ÁME-k) kialakítására. Az Ügynökséget e felhatalmazás alapján felkérték a hagyományos vasúti rendszer járműalrendszeréhez kapcsolódóan a személyszállító kocsikra, valamint a mozdonyokra és vontatóegységekre vonatkozó ÁME megszövegezésére.
(3) Az átjárhatósági műszaki előírások (ÁME) a 2008/57/EK irányelvnek megfelelően elfogadott előírások. Az ezzel a határozattal létrehozandó ÁME hatályának - az alapvető követelmények betartásának és a vasúti rendszer kölcsönös átjárhatóságának a biztosítása érdekében - ki kell terjednie a járműalrendszerre.
(4) Az ezzel a határozattal létrehozandó, járművekre vonatkozó ÁME nem foglalkozik teljeskörűen valamennyi alapvető követelménnyel. A 2008/57/EK irányelv 5. cikkének (6) bekezdésével összhangban az ÁME-nek nyitott kérdésként kell kezelnie mindazokat a műszaki szempontokat, amelyeket nem szabályoz.
(5) A járművekre vonatkozó ÁME-nek az Európai Parlament és a Tanács 2008/57/EK irányelve alapján elfogadott, az átjárhatósági műszaki előírások keretében alkalmazandó megfelelőségértékelési, alkalmazhatósági és EK-hitelesítési eljárások moduljairól szóló, 2010. november 9-i 2010/713/EU bizottsági határozatra ( 3 ) kell hivatkoznia.
(6) A tagállamoknak a 2008/57/EK irányelv 17. cikke (3) bekezdésének megfelelően értesíteniük kell a Bizottságot és a többi tagállamot az egyes esetekben használandó műszaki szabályokról, megfelelőségértékelési és hitelesítési eljárásokról, valamint az ezek elvégzéséért felelős szervezetekről.
(7) A hagyományos és nagysebességű transzeurópai vasúti rendszerben a hagyományos vasúti rendszerben futó járművekre vonatkozó néhány paraméter a vasúti alagutak biztonságával kapcsolatban elfogadott kölcsönös átjárhatóság műszaki előírásairól szóló, 2007. december 20-i 2008/163/EK bizottsági határozat ( 4 ) alkalmazási körébe tartozik. Ennélfogva a 2008/163/EK határozatot módosítani kell.
(8) A járművekre vonatkozó ÁME a járműalrendszerekre adott esetben irányadó más ÁME-k rendelkezéseivel nem ütközhet.
(9) A járművekre vonatkozó ÁME külön technológiák vagy műszaki megoldások alkalmazását csak abban az esetben írhatja elő, ha ez a vasúti rendszernek az Európai Unión belüli kölcsönös átjárhatóságához feltétlenül szükséges.
(10) A járművekre vonatkozó ÁME-nek a 2008/57/EK irányelv 11. cikkének (5) bekezdésével összhangban - bizonyos feltételek teljesülése esetén - korlátozott ideig lehetővé kell tennie a kölcsönös átjárhatóságot lehetővé tevő rendszerelemeknek az alrendszerekbe hitelesítés nélkül történő beépítését.
(11) Az innováció további ösztönzése és a megszerzett tapasztalatok figyelembevétele érdekében ezt a határozatot rendszeres időközönként felül kell vizsgálni.
(12) E határozat rendelkezései összhangban vannak a 96/48/EK tanácsi irányelv 21. cikke által létrehozott bizottság véleményével ( 5 ),
ELFOGADTA EZT A HATÁROZATOT:
1. cikk
A mellékletben lefektetett, a hagyományos transzeurópai vasúti rendszer "mozdonyok és személyszállító járművek" járműalrendszerére vonatkozó átjárhatósági műszaki előírások ("ÁME"-k) elfogadásra kerülnek.
2. cikk
(1) A mellékletben meghatározott ÁME-t a 2008/57/EK irányelv I. mellékletében meghatározott hagyományos transzeurópai vasúti rendszer valamennyi új járművére alkalmazni kell. A határozat műszaki alkalmazási körét és területi hatályát a melléklet 1.1. és 1.2. pontja határozza meg.
A mellékletben meghatározott ÁME 2008/57/EK irányelv 20. cikkének megfelelően felújításra vagy korszerűsítésre kerülő meglévő járművekre is vonatkozik.
(2) Ezen ÁME alkalmazása 2017. június 1-jéig nem kötelező a következő járművek tekintetében:
a) a mellékletben meghatározott ÁME 7.1.1.2.2. pontjában említett, a kidolgozás előrehaladott állapotában lévő projektek;
b) a mellékletben meghatározott ÁME 7.1.1.2.3. pontjában említett, teljesítés alatt álló szerződések;
c) a mellékletben meghatározott ÁME 7.1.1.2.4. pontjában említett, meglévő konstrukciójú járművek.
3. cikk
(1) A mellékletben meghatározott ÁME-ben nyitott kérdésként felsorolt pontok tekintetében a 2008/57/EK irányelv 17. cikkének (2) bekezdése értelmében a kölcsönös átjárhatóság felülvizsgálatával kapcsolatban teljesítendő feltételek az azokban a tagállamokban használatos alkalmazandó műszaki szabályok, amelyek az e határozatban szabályozott alrendszerek üzembe helyezését engedélyezik.
(2) Az e határozatról szóló értesítést követő hat hónapon belül minden tagállam értesíti a többi tagállamot és a Bizottságot a következőkről:
a) az (1) bekezdésben említett, alkalmazandó műszaki szabályok;
b) a megfelelőségértékelési és ellenőrzési eljárások, amelyeket az (1) bekezdésben említett szabályok alkalmazására tekintettel kell alkalmazni;
c) az (1) bekezdésben említett nyitott kérdések tekintetében a megfelelőségértékelési és ellenőrzési eljárások végrehajtására kijelölt szervek.
(3) A 4.2.3.5.2.2. pontban nemzeti használatra meghatározott járművekre alkalmazandó nemzeti szabályokra is e cikk (2) bekezdése vonatkozik.
4. cikk
(1) A mellékletben meghatározott ÁME 7. pontjában különleges esetként felsorolt pontok tekintetében a 2008/57/EK irányelv 17. cikkének (2) bekezdése értelmében a kölcsönös átjárhatóság felülvizsgálatával kapcsolatban teljesítendő feltételek az azon tagállamokban használatos alkalmazandó műszaki szabályok, amelyek az e határozatban szabályozott alrendszerek üzembe helyezését engedélyezik.
(2) Az e határozatról szóló értesítést követő hat hónapon belül minden tagállam értesíti a többi tagállamot és a Bizottságot a következőkről:
a) az (1) bekezdésben említett műszaki szabályok;
b) a megfelelőségértékelési és ellenőrzési eljárások, amelyeket az (1) bekezdésben említett műszaki szabályok alkalmazása során kell alkalmazni;
c) az (1) bekezdésben említett különleges esetek tekintetében a megfelelőségértékelési és ellenőrzési eljárások végrehajtására kijelölt szervek.
5. cikk
A mellékletben meghatározott ÁME 6. pontjában meghatározott, a megfelelőség és a használatra való alkalmasság értékelésére és az EK-hitelesítésre vonatkozó eljárások alapját a 2010/713/EU határozatban meghatározott modulok képezik.
6. cikk
(1) A melléklet 6.3. pontjában meghatározott rendelkezések teljesülése esetén egy hatéves átmeneti időszak alatt EK-ellenőrzési tanúsítvány állítható ki olyan alrendszerek tekintetében, amelyek EK-megfelelőségi nyilatkozattal vagy EK-alkalmazhatósági nyilatkozattal nem rendelkező, kölcsönös átjárhatóságot lehetővé tevő rendszerelemeket tartalmaznak.
(2) A kölcsönös átjárhatóságot lehetővé tevő, nem hitelesített rendszerelemeket igénybe vevő alrendszer korszerűsítésének/felújításának - az üzembe helyezést is ideértve - az átmeneti időszakon belül be kell fejeződnie.
(3) Az átmeneti időszak alatt a tagállamok biztosítják, hogy:
a) az (1) bekezdésben említett ellenőrzési eljárás során megfelelően megjelölik a kölcsönös átjárhatóságot lehetővé tevő rendszerelemek hitelesítése mellőzésének okait;
b) a nemzeti biztonsági hatóságok által készített, a 2004/49/EK európai parlamenti és tanácsi irányelv ( 6 ) 18. cikkében említett éves jelentés tartalmazza a kölcsönös átjárhatóságot lehetővé tevő, nem hitelesített rendszerelemek leírását és a hitelesítés mellőzésének okait, beleértve a 2008/57/EK irányelv 17. cikke szerint értesített nemzeti szabályok alkalmazását is.
(4) A kölcsönös átjárhatóságot lehetővé tevő rendszerelemeknek az átmeneti időszakot követően, illetve a karbantartás tekintetében a melléklet 6.3.3. pontjában engedélyezett kivételekre figyelemmel, az alrendszerbe történő beépítésüket megelőzően a kötelező EK-megfelelőségi és/vagy EK-alkalmazhatósági nyilatkozatokkal kell rendelkezniük.
7. cikk
A kidolgozás előrehaladott állapotában lévő projektekkel érintett járművek tekintetében a határozat hatálybalépését követő egy éven belül valamennyi tagállam közli a Bizottsággal a területén zajló azon projektek listáját, amelyek előrehaladott fejlesztési szakaszban vannak.
8. cikk
A 2008/163/EK határozat módosításai
A 2008/163/EK határozat a következőképpen módosul:
1. A szöveg a 4.2.5.1. Járművek anyagának tulajdonságai pont második bekezdése után a következőkel egészül ki:
"Ezen túlmenően a hagyományos vasúti járművekre vonatkoznak a hagyományos mozdonyokra és személyszállító járművekre vonatkozó ÁME 4.2.10.2. pontjának (Anyagokra vonatkozó követelmények) követelményei is."
2. A 4.2.5.4. pont helyébe a következő rendelkezés lép:
"4.2.5.4. Személyszállító járműveken használandó tűzvédelmi gátak
- A nagy sebességű vasúti járművekre a nagy sebességű vasúti járművekre vonatkozó ÁME 4.2.7.2.3.3. (Tűzállóság) pontjának követelményei vonatkoznak.
- A hagyományos vasúti járművekre a nagy sebességű vasúti járművekre vonatkozó ÁME 4.2.7.2.3.3. (Tűzállóság) pontjának és a hagyományos mozdonyokra és személyszállító járművekre vonatkozó ÁME 4.2.10.5 (Tűzvédelmi gátak) pontjának követelményei vonatkoznak."
3. A 4.2.5.7. pont helyébe a következő rendelkezés lép:
"4.2.5.7. Vonatokon használandó kommunikációs eszközök
- A nagy sebességű vasúti járművekre a nagy sebességű vasúti járművekre vonatkozó ÁME 4.2.5.1. (Hangosbemondó rendszer) pontjának követelményei vonatkoznak.
- A hagyományos vasúti járművekre a hagyományos mozdonyokra és személyszállító járművekre vonatkozó ÁME 4.2.5.2. (Hangosbemondó rendszer: hallható kommunikációs rendszer) pontjának követelményei vonatkoznak."
4. A 4.2.5.8. pont helyébe a következő rendelkezés lép:
"4.2.5.8. Vészfékezés felülbírálása
- A nagy sebességű vasúti járművekre a nagy sebességű vasúti járművekre vonatkozó ÁME 4.2.5.3. (Az utasok által működésbe hozható riasztó) pontjának követelményei vonatkoznak.
- A hagyományos vasúti járművekre a hagyományos mozdonyokra és személyszállító járművekre vonatkozó ÁME 4.2.5.3. (Az utasok által működésbe hozható riasztó: funkcionális követelmények) pontjának követelményei vonatkoznak."
5. A 4.2.5.11.1. pont helyébe a következő rendelkezés lép:
"4.2.5.11.1. Utasok által használandó vészkijáratok
- A nagy sebességű vasúti járművekre a nagy sebességű vasúti járművekre vonatkozó ÁME 4.2.7.1.1. (Utasok által használandó vészkijáratok) pontjának követelményei vonatkoznak.
- A hagyományos vasúti járművekre a hagyományos mozdonyokra és személyszállító járművekre vonatkozó ÁME 4.2.10.4. (Utasok evakuálása) pontjának követelményei vonatkoznak."
9. cikk
Ezt a határozatot 2011. június 1-jétől kell alkalmazni.
10. cikk
Ennek a határozatnak a tagállamok a címzettjei.
MELLÉKLET
A VASÚTI RENDSZER KÖZÖSSÉGEN BELÜLI KÖLCSÖNÖS ÁTJÁRHATÓSÁGÁRÓL SZÓLÓ 2008/57/EK IRÁNYELV
ÁTJÁRHATÓSÁGI MŰSZAKI ELŐÍRÁSOK
A transzeurópai hagyományos vasúti rendszer járműalrendszere "Mozdonyok és személyszállító járművek"
1. BEVEZETÉS
1.1. Műszaki hatály
Ezek az átjárhatósági műszaki előírások (ÁME) olyan előírások, amelyek a 2008/57/EK irányelvben meghatározottak szerint az alapvető követelmények teljesítése, valamint a hagyományos transzeurópai vasúti rendszer kölcsönös átjárhatóságának a biztosítása érdekében egy adott alrendszerre vonatkoznak.
Az adott alrendszer a 2008/57/EK irányelv I. mellékletének 1. pontjában említett hagyományos transzeurópai vasúti rendszer járműalrendszere.
Ez az ÁME magában foglalja a 2008/57/EK irányelv II. mellékletének 2.6. pontjában meghatározott járműalrendszert és az energia-alrendszer kapcsolódó részeit ("a villamos fogyasztásmérő készülék járművekre felszerelt részei", a 2008/57/EK irányelv II. mellékletének 2.2. pontjában meghatározottak szerint), ami megfelel az "energia" strukturális alrendszer járműveken található részének.
Ez az ÁME olyan járművekre vonatkozik,
- amelyeket az ÁME 1.2. "Területi hatály" pontjában meghatározott vasúti hálózaton üzemeltetnek vagy kívánnak üzemeltetni,
- és
- amelyek az alábbi típusok valamelyikébe tartoznak (a 2008/57/EK irányelv I. mellékletének 1.2. pontjában meghatározottak szerint):
-
- dízel vagy villamos motorvonatok,
- dízel vagy villamos vontató járművek,
- személykocsik,
- a vasúti infrastruktúra építését és karbantartását szolgáló mobil berendezések.
Az ezen ÁME hatályába tartozó járművekről a melléklet 2. pontja tartalmaz bővebb információkat.
1.2. Területi hatály
- Ezen ÁME hatálya a 2008/57/EK irányelv I. mellékletének 1.1. pontjában leírtaknak megfelelő hagyományos transzeurópai vasúti rendszer hálózatára terjed ki.
- Nem tartoznak ezen ÁME hatálya alá a 2008/57/EK irányelv I. mellékletének 2.2. pontjában előírt, nagy sebességű transzeurópai vasúti rendszeren való működésre tervezett nagy sebességű járművekre vonatkozó követelmények.
- Az ÁME e változatában nyitott kérdésként kerülnek meghatározásra azok a további követelmények, amelyekkel ezt az ÁME-t a (lenti 2.3. pontban meghatározottak szerint) hatálya alá tartozó, 190 km/h végsebességnél alacsonyabb sebességű hagyományos vasúti járművek nagy sebességű hálózaton való biztonságos üzemelése érdekében ki kell egészíteni.
1.3. Ezen ÁME tartalma
A 2008/57/EK irányelv 5. cikkének (3) bekezdésével összhangban ez az ÁME:
a) megállapítja annak tervezett hatályát (2. pont);
b) alapvető követelményeket állapít meg minden érintett alrendszerre és azok más alrendszerekkel való kapcsolódási pontjaira vonatkozóan (3. pont);
c) megállapítja az alrendszer és annak más alrendszerekkel való kapcsolódási pontjai által teljesítendő működési és műszaki előírásokat (4. pont);
d) meghatározza azokat az európai előírások, köztük az európai szabványok hatálya alá tartozó kölcsönös átjárhatóságot lehetővé tevő rendszerelemeket és interfészeket, amelyek a hagyományos transzeurópai vasúti rendszeren belüli kölcsönös átjárhatóság megvalósításához szükségesek (5. pont);
e) valamennyi figyelembe vett esetben megállapítja, hogy amely eljárásokat kell alkalmazni a kölcsönös átjárhatóságot lehetővé tevő rendszerelemek megfelelőségének vagy alkalmazhatóságának értékelése, illetve az alrendszerek EK-hitelesítése érdekében (6. pont),
f) megállapítja az ÁME végrehajtásának stratégiáját (7. pont);
g) az érintett személyzet esetében megállapítja az alrendszer működéséhez és karbantartásához, valamint az ÁME végrehajtásához szükséges szakmai képesítéseket, illetve a munka-egészségügyi és biztonsági feltételeket (4. pont).
Továbbá a 2008/57/EK irányelv 5. cikkének (5) bekezdésével összhangban valamennyi ÁME esetében rendelkezni lehet különleges esetekről; ezek a 7. pontban találhatók.
1.4. Hivatkozott dokumentumok
- a hagyományos mozdonyokra és személyszállító járművekre vonatkozó ÁME: ez a dokumentum.
Hatályos jogalkotási intézkedések:
- a 2008/57/EK irányelv,
- az ellenőrző-irányító és jelző alrendszerre vonatkozó ÁME,
- a nagysebességű transzeurópai vasúti rendszer járműveire vonatkozó ÁME: a 2008/232/EK bizottsági határozat ( 7 ),
- a mozgáskorlátozott személyek általi megközelíthetőségre vonatkozó ÁME: a 2008/164/EK bizottsági határozat ( 8 ),
- a vasúti alagutak biztonságára vonatkozó ÁME: a 2008/163/EK bizottsági határozat ( 9 ),
- a hagyományos vasúti zajra vonatkozó ÁME: a 2006/66/EK bizottsági határozat ( 10 ),
- a hagyományos vasúti áruszállító kocsik alrendszerére vonatkozó ÁME: A 2009/107/EK bizottsági határozattal ( 11 ) módosított 2006/861/EK ( 12 ) bizottsági határozat,
- a hagyományos vasúti forgalmi műveletekre és forgalomirányításra vonatkozó ÁME: a 2009/107/EK határozattal módosított 2006/920/EK ( 13 ) bizottsági határozat,
- a közös biztonsági módszerek: a 352/2009/EK bizottsági rendelet ( 14 ).
Elfogadás alatt álló jogalkotási intézkedések:
- a hagyományos vasúti infrastruktúrára vonatkozó ÁME,
- a hagyományos vasút energiaellátására vonatkozó ÁME,
- a megfelelőségértékelési modulok leírása,
- az üzemeltetésre vonatkozó ÁME (P és T melléklet) felülvizsgálata.
Kialakítás alatt álló jogalkotási intézkedések:
- az utasoknak szóló telematikai alkalmazásokra vonatkozó ÁME.
2. A JÁRMŰALRENDSZER ÉS FUNKCIÓi
2.1. A járműalrendszer mint a hagyományos vasúti rendszer része
A transzeurópai vasúti rendszer nagy sebességű vasúti rendszerből és hagyományos vasúti rendszerből áll.
A 2008/57/EK irányelv szerint a nagy sebességű transzeurópai vasúti rendszer járműalrendszerének részét alkotják - az eleve nagy sebességre tervezett vagy nagy sebességűre (azaz a 200 km/h vagy ennél magasabb sebességtartományra) korszerűsített és a 1692/96/EK európai parlamenti és tanácsi határozat ( 15 ) 1. mellékletében ilyenként feltüntetett vonalakból álló - nagy sebességű transzeurópai vasúti rendszeren való működésre tervezett nagy sebességű járművek.
Megjegyzés: a nagy sebességű járművekre vonatkozó ÁME 1.1. pontja a hatálya alá tartozó járművekre a 190 km/h sebességhatárt ír elő.
A 2008/57/EK irányelv szerint a hagyományos transzeurópai vasúti rendszerbe tartozik minden olyan vonat, amely a TEN hagyományos vonalainak minden részén valószínűleg közlekedni fog; e vonatok tekintetében a legnagyobb üzemi sebesség nem került meghatározásra.
A hagyományos vasúti rendszer a 2008/57/EK irányelv II. mellékletében (i. alpont) meghatározott és alább felsorolt alrendszerekre oszlik.
Strukturális területek:
- infrastruktúra,
- energia,
- ellenőrzés-irányítás és jelzés,
- járművek.
Funkcionális területek:
- forgalmi műveletek és forgalomirányítás,
- karbantartás,
- telematikai alkalmazások a személyszállítási és áruszállítási szolgáltatások céljára.
A karbantartás kivételével minden egyed alrendszerrel külön ÁME foglalkozik.
Az ebben az ÁME-ben tárgyalt (az 1.1. pontban meghatározott) járműalrendszernek a hagyományos vasúti rendszer összes fent említett alrendszerével vannak kapcsolódási pontjai; ezeket az alrendszereket az összes vonatkozó ÁME-nek megfelelő integrált rendszer kell tekinteni.
Az ÁME-k második csoportját illetően a következő ÁME-k léteznek:
- két ÁME írja le a vasúti rendszer és több alrendszer sajátos vonatkozásait, a hagyományos vasúti járművek ezek egyikét alkotják:
-
a) vasúti alagutak biztonsága;
b) mozgáskorlátozott személyek általi megközelíthetőség,
- és:
- két ÁME foglalkozik a hagyományos vasúti járműalrendszerrel:
-
c) zaj ÁME;
d) áruszállító kocsik ÁME.
A járműalrendszerre vonatkozóan e négy ÁME-ben megjelenő követelményeket ez az ÁME nem ismétli meg.
2.2. A járművekre vonatkozó fogalommeghatározások
Ezen ÁME alkalmazásában az alábbi fogalommeghatározásokat kell alkalmazni:
Vonat-összeállítás:
- Egység: az ezen ÁME alkalmazási hatálya alá tartozó és emiatt EK-hitelesítési nyilatkozathoz kötött járművek megjelölésére használt általános kifejezés.
- Az egység állhat több, a 2008/57/EK irányelv 2. cikkének c) pontjában meghatározott járműből; ezen ÁME hatályát tekintve a "jármű" kifejezés használata a járműalrendszerre korlátozódik.
- Vonat: egy vagy több egységből álló üzemi összeállítás.
- Személyszállító vonat: az utasok számára elérhető üzemi összeállítás (a személyszállító járművekből álló, de az utasok számára nem elérhető vonat nem minősül személyszállító vonatnak).
- Fix összeállítás: olyan vonat-összeállítás, amelynek módosítása csak műhelykörnyezetben lehetséges
- Előre meghatározott összeállítás(ok): olyan, több összekapcsolt egységből álló vonat-összeállítás(ok), amely(ek)et a tervezési pontban határoztak meg és amely(ek)et üzem közben lehet módosítani.
- Többes üzem: amennyiben többes üzemre van szükség:
-
- a vonat-összeállításokat úgy tervezik, hogy ezekből (vagy az értékelt típusból) több összekapcsolható legyen egy vezetőfülkéből irányított egyetlen vonatként történő üzemelés céljára,
- a mozdonyokat úgy tervezik, hogy ezekből (vagy az értékelt típusból) több összekapcsolható legyen egy vezetőfülkéből irányított egyetlen vonatként történő üzemelés céljára.
- Általános üzem: az egység akkor általános üzemre tervezett, ha azt a tervezési pontban meg nem határozott vonat-összeállításban történő üzemelés céljából más egységgel (egységekkel) való összekapcsolásra szánják.
Járművek:
A. Dízel és/vagy villamos motorvonatok:
Szerelvény: olyan fix összeállítás, amelyet csak műhelyi körülmények között lehet átkonfigurálni. Állhat csak motoros, illetve motoros és motorral nem rendelkező járművekből egyaránt.
Villamos és/vagy dízel többrészes egység: olyan szerelvény, amelynek valamennyi járműve képes utasok vagy csomagok/posta szállítására.
Motorkocsi: olyan jármű, amely önálló működésre és utasok vagy csomag/posta szállítására képes.
B. Dízel vagy villamos vontató járművek:
Mozdony: olyan vontató jármű (vagy több jármű kombinációja), amelyet nem hasznos teher szállítására terveztek, de amely normál üzemben leválasztható a vonatról, és képes önállóan működni.
Tolatómozdony: csak rendező pályaudvarokon, állomásokon és járműszínekben való használatra tervezett vontatóegység.
A vonat hajtását adhatja vezetőfülkével felszerelt vagy anélküli olyan motoros jármű is, amelyet normál üzem közben nem kell lekapcsolni. Az ilyen jármű megnevezése általánosságban motorkocsi, illetve záró motorkocsi, amennyiben a vonatszerelvény egyik végén található és vezetőfülkével szerelték fel.
C. Személyszállító kocsik és más kapcsolódó kocsik:
Kocsi: olyan nem vontató jármű rögzített vagy változtatható összeállításban, amely képes utasokat szállítani (az ebben az ÁME-ben a kocsira meghatározott követelményeket kiterjesztett értelmezéssel az étkezőkocsikra, hálókocsikra, fekvőhelyes kocsikra stb. is alkalmazni kell). A kocsi lehet vezetőfülkével felszerelt; ilyen esetben a neve motorvonat.
Poggyászkocsi: olyan nem vontató jármű, amely nem személyek, hanem más hasznos teher, pl. poggyász vagy posta szállítására szolgál, és amelyet a személyszállításra szánt rögzített vagy változtatható összeállításba való beillesztésre szántak. A poggyászkocsit vezetőfülkével is fel lehet szerelni, és esetben elnevezése poggyászvonat.
Vezethető kocsi: vezetőfülkével felszerelt, nem vontató jármű.
Személygépjármű-szállító kocsi: utasok nélküli személygépjárművek szállítására alkalmas, nem vontató jármű, amelyet személyszállító vonatba történő beillesztésre terveztek.
Rögzített egységként működő kocsicsoport: több, "félig állandó jelleggel" összekapcsolt kocsi, illetve csak üzemen kívül módosítható összeállítás.
D. A vasúti infrastruktúra építését és karbantartását szolgáló mobil berendezések (vagy vasúti munkagépek)
Vasúti munkagépek: külön a vágányok és az infrastruktúra építésére és karbantartására tervezett járművek. A vasúti munkagépeket különböző üzemmódokban használják: munkavégzési üzemmódban, meghajtott járműként szállítási üzemmódban és vontatott járműként szállítási üzemmódban.
Az infrastruktúra állagának figyelemmel kísérésére használt infrastruktúra-ellenőrző járműveket a fent meghatározott vasúti munkagépnek tekintik.
2.3. Az ÁME hatálya alá tartozó járművek
Az 1.1. pontban meghatározott járműtípusok szerinti besorolású járművekre vonatkozó ezen ÁME részletes felépítése a következő:
A. Dízel és/vagy villamos motorvonatok:
Ebbe a típusba tartozik az összes személyszállító vonat, fix vagy előre meghatározott összeállításban.
A vonat egyes járműveibe dízel vagy villamos vontatóberendezést építettek és a vonatot vezetőfülkével szerelték fel.
Kizárás az ÁME hatálya alól:
Az elsődlegesen városi villamosvonalakon vagy helyi érdekű vasútvonalakon való üzemre tervezett, utasok városi vagy elővárosi viszonylatban történő szállítására szánt járművek nem tartoznak az ÁME e változatának hatálya alá.
A TEN vonalak körébe nem tartozó, kifejezetten meghatározott helyi (városi vagy elővárosi) vonalakon történő üzemre szánt motorkocsik vagy villamos és/vagy dízel többrészes egységek nem tartoznak ezen ÁME hatálya alá.
Amennyiben e járműtípusokat a vasúthálózat helyi konfigurációja miatt igen rövid távon TEN-vonalakon kívánják üzemeltetni, a 2008/57/EK irányelv (nemzeti szabályok alkalmazására utaló) 24. és 25. cikkét kell alkalmazni.
B. Dízel vagy villamos vontató járművek:
Ebbe a típusba tartoznak azok a vontató járművek, amelyek nem képesek rakomány szállítására, vagyis a dízel- vagy villamos mozdonyok, illetve záró motorkocsik.
Az érintett vontató járművek áru- és/vagy utasszállítási célokra szolgálnak.
Kizárás az ÁME hatálya alól:
A meghatározásuk szerint nem a TEN-fővonalakon való üzemre tervezett tolatómozdonyok nem tartoznak az ÁME e változatának hatálya alá.
Amennyiben ezekkel TEN-fővonalakon kívánnak (rövid távon) tolatási mozgást végezni, a 2008/57/EK irányelv (nemzeti szabályok alkalmazására utaló) 24. és 25. cikkét kell alkalmazni.
C. Személyszállító kocsik és más kapcsolódó kocsik:
- Személyszállító kocsik:
- Ebbe a típusba az utasokat szállító, nem vontató járművek tartoznak, amelyeket a fentebb a vontatási funkció ellátása céljaira "dízel vagy villamos vontató járművekkel" változó összeállításban üzemeltetnek.
- Személyszállító vonatba épített nem személyszállító járművek:
-
- A személyszállító vonatba épített nem vontató járművek (pl. poggyász vagy postakocsik, autószállító kocsik, szolgálati járművek...) a személyszállító kocsik fogalmának kiterjesztett értelmezése folytán az ÁME hatálya alá tartoznak.
- Kizárás az ÁME hatálya alól:
-
- Az áruszállító kocsik nem tartoznak ezen ÁME hatálya alá, hanem azokra az "áruszállító kocsikra" vonatkozó ÁME irányadó abban az esetben is, ha azokat személyszállító vonatba illesztik (a vonat összeállítása ilyen esetben üzemeltetési kérdés).
- A közúti gépjárművek azokban tartózkodó személyekkel együttes szállítására tervezett járművek nem tartoznak ezen ÁME hatálya alá.
D. A vasúti infrastruktúra építését és karbantartását szolgáló mobil berendezések
Az e típusba tartozó járművek csak akkor tartoznak az ÁME hatálya alá, ha azok(at):
- saját kerekein, sínen futnak,
- úgy tervezték, hogy jelenlétüket forgalomirányítási célokból a sínbe épített vonatérzékelő rendszer kimutassa, és
- szállítási (futó) összeállításban sínen, saját kerekein futnak, önjárók vagy vontatottak.
A munkavégzési összeállítás nem tartozik ezen ÁME hatálya alá.
3. ALAPVETŐ KÖVETELMÉNYEK
3.1. Általános előírások
A 2008/57/EK irányelv 4. cikkének (1) bekezdése alapján a hagyományos transzeurópai vasúti rendszer, az alrendszerek és a kölcsönös átjárhatóságot lehetővé tevő rendszerelemek megfelelnek az irányelv III. mellékletének általános feltételeiben megállapított alapvető követelményeknek.
Ezen ÁME alkalmazási körében a 3.2. pontban megadott vonatkozó alapvető követelmények teljesítését az alrendszerek tekintetében a 4. pont vagy az átjárhatóságot lehetővé tevő rendszerelemek tekintetében az 5. pont előírásainak való megfelelés biztosítja, amelyet a 6.1. pontban a kölcsönös átjárhatóságot lehetővé tevő rendszerelemek megfelelősége, illetve alkalmazhatósága vagy a 6.2. pontban az alrendszerek hitelesítése vonatkozásában leírt értékelés igazol.
Mindazonáltal, ha az alapvető követelmények egy részére az ÁME-ben feltüntetett nyitott kérdések vagy a 7.3. pontban leírt különleges esetek miatt a nemzeti szabályok vonatkoznak, a megfelelő nemzeti szabályoknak részét képezi a megfelelőségértékelés, amelyet az adott tagállam felelősségére kell elvégezni.
3.2. A járműalrendszer alapvető követelményeknek megfelelő elemei
A járműalrendszer tekintetében az ÁME 4. pontjában meghatározott követelményeket teljesítő alapvető követelményeket a következő táblázat tünteti fel, a 2008/57/EK irányelv III. mellékletének meghatározása és számozása szerint.
Az alapvető követelményeknek megfelelő járműelemek
A járműalrendszer eleme | Hivatkozott pont | Biztonság | Megbízhatóság – rendelkezésre állás | Egészség | Környezetvédelem | Műszaki összeegyeztethetőség |
Belső kapcsolókészülék | 4.2.2.2.2 | 1.1.3 2.4.1 | ||||
Végkapcsoló-készülék | 4.2.2.2.3 | 1.1.3 2.4.1 | ||||
Mentésre szolgáló kocsikapcsoló berendezés | 4.2.2.2.4 | 2.4.2 | 2.5.3 | |||
A személyzet hozzáférése az összekapcsoláshoz/szétkapcsoláshoz | 4.2.2.2.5 | 1.1.5 | 2.5.1 | 2.5.3 | ||
Átjárók | 4.2.2.3 | 1.1.5 | ||||
A jármű szerkezetének szilárdsága | 4.2.2.4 | 1.1.3 2.4.1 | ||||
Passzív biztonság | 4.2.2.5 | 2.4.1 | ||||
Emelés | 4.2.2.6 | 2.5.3 | ||||
Készülékek rögzítése a kocsiszekrény szerkezetére | 4.2.2.7 | 1.1.3 | ||||
Peronajtók a személyzet és a rakomány számára | 4.2.2.8 | 1.1.5 2.4.1 | ||||
Üvegek műszaki jellemzői | 4.2.2.9 | 2.4.1 | ||||
Terhelési állapot és terhelt tömeg | 4.2.2.10 | 1.1.3 | ||||
Űrszelvény – kinematikus szerkesztési szelvény | 4.2.3.1 | 2.4.3 | ||||
Tengelyterhelés | 4.2.3.2.1 | 2.4.3 | ||||
Kerékterhelés | 4.2.3.2.2 | 1.1.3 | ||||
A járművek ellenőrző-irányító-jelző alrendszert befolyásoló paraméterei | 4.2.3.3.1 | 1.1.1 | 2.4.3 2.3.2 | |||
A tengelycsapágy állapotának figyelemmel kísérése | 4.2.3.3.2 | 1.1.1 | 1.2 | |||
Féloldali vágánysüppedésen való kisiklással szembeni biztonság | 4.2.3.4.1 | 1.1.1 1.1.2 | 2.4.3 | |||
Menetdinamikai viselkedés | 4.2.3.4.2 | 1.1.1 1.1.2 | 2.4.3 | |||
A menetbiztonság határértékei | 4.2.3.4.2.1 | 1.1.1 1.1.2 | 2.4.3 | |||
Vágányterhelési határértékek | 4.2.3.4.2.2 | 2.4.3 | ||||
Egyenértékű kúposság | 4.2.3.4.3 | 1.1.1 1.1.2 | 2.4.3 | |||
Új kerékprofilok tervezési értékei | 4.2.3.4.3.1 | 1.1.1 1.1.2 | 2.4.3 | |||
A kerékpár egyenértékű kúposságának üzem közbeni értékei | 4.2.3.4.3.2 | 1.1.2 | 1.2 | 2.4.3 | ||
A forgóváz strukturális kialakítása | 4.2.3.5.1 | 1.1.1 1.1.2 | ||||
A kerékpár mechanikai és geometriai jellemzői | 4.2.3.5.2.1 | 1.1.1 1.1.2 | 2.4.3 | |||
A kerekek mechanikai és geometriai jellemzői | 4.2.3.5.2.2 | 1.1.1 1.1.2 | ||||
Változtatható nyomtávú kerékpár | 4.2.3.5.2.3 | 1.1.1 1.1.2 | ||||
Legkisebb ívsugár | 4.2.3.6 | 1.1.1 1.1.2 | 2.4.3 | |||
Életvédelmi eszközök | 4.2.3.7 | 1.1.1 | ||||
Fékezés – funkcionális követelmények | 4.2.4.2.1 | 1.1.1 2.4.1 | 2.4.2 | 1.5 | ||
Fékezés – biztonsági követelmények | 4.2.4.2.2 | 1.1.1 | 1.2 2.4.2 | |||
Fékrendszerek típusa | 4.2.4.3 | 2.4.3 | ||||
Vészfékezés vezérlése | 4.2.4.4.1 | 2.4.1 | 2.4.3 | |||
Üzemi fékezés vezérlése | 4.2.4.4.2 | 2.4.3 | ||||
Közvetlen fékezés vezérlése | 4.2.4.4.3 | 2.4.3 | ||||
Dinamikus fékezésvezérlés | 4.2.4.4.4 | 1.1.3 | ||||
Rögzítő fékezés vezérlése | 4.2.4.4.5 | 2.4.3 | ||||
Fékhatásosság –általános követelmények | 4.2.4.5.1 | 1.1.1 2.4.1 | 2.4.2 | 1.5 | ||
Vészfékezés | 4.2.4.5.2 | 2.4.1 | 2.4.3 | |||
Üzemi fékezés | 4.2.4.5.3 | 2.4.3 | ||||
Hőkapacitással kapcsolatos számítások | 4.2.4.5.4 | 2.4.1 | 2.4.3 | |||
Rögzítőfék | 4.2.4.5.5 | 2.4.1 | 2.4.3 | |||
A kerék és a sín közötti tapadás profiljának határértéke | 4.2.4.6.1 | 2.4.1 | 1.2 2.4.2 | |||
Csúszásgátló rendszer | 4.2.4.6.2 | 2.4.1 | 1.2 2.4.2 | |||
Dinamikus fék – vontatórendszerhez kapcsolt fékrendszerek | 4.2.4.7 | 1.2 2.4.2 | ||||
A tapadási feltételektől független fékrendszerek – általában | 4.2.4.8.1. | 1.2 2.4.2 | ||||
Mágneses sínfék | 4.2.4.8.2. | 2.4.3 | ||||
Örvényáramú fékek | 4.2.4.8.3 | 2.4.3 | ||||
Fékállapot- és hibajelzés | 4.2.4.9 | 1.1.1 | 1.2 2.4.2 | |||
Mentési célú fékkövetelmények | 4.2.4.10 | 2.4.2 | ||||
Egészségügyi rendszerek | 4.2.5.1 | 1.4.1 | ||||
Hangosbemondó rendszer: hallható kommunikációs rendszer | 4.2.5.2 | 2.4.1 | ||||
Az utasok által működtetett riasztó: funkcionális követelmények | 4.2.5.3 | 2.4.1 | ||||
Az utasoknak szóló biztonsági utasítások – jelek | 4.2.5.4 | 1.1.5 | ||||
Utasok által használható kommunikációs eszközök | 4.2.5.5 | 2.4.1 | ||||
Külső ajtók: a jármű elérése és kijárat a járműből | 4.2.5.6 | 2.4.1 | ||||
Külső ajtók: rendszerkialakítás | 4.2.5.7 | 1.1.3 2.4.1 | ||||
Egységeket összekötő ajtók | 4.2.5.8 | 1.1.5 | ||||
A belső levegő minősége | 4.2.5.9 | 1.3.2 | ||||
A járműszekrény oldalablakai | 4.2.5.10 | 1.1.5 | ||||
Környezeti feltételek | 4.2.6.1 | 2.4.2 | ||||
Az elhaladó vonatok miatt a peron mentén tartózkodó utasokat érő légörvényhatás | 4.2.6.2.1 | 1.1.1 | 1.3.1 | |||
Az elhaladó vonatok miatt a vágány mentén dolgozókat érő légörvényhatás | 4.2.6.2.2 | 1.1.1 | 1.3.1 | |||
Légnyomásimpulzus | 4.2.6.2.3 | 2.4.3 | ||||
Maximális nyomásingadozás alagutakban | 4.2.6.2.4 | 2.4.3 | ||||
Oldalszél | 4.2.6.2.5 | 1.1.1 | ||||
Fényszórók | 4.2.7.1.1 | 2.4.3 | ||||
Helyzetjelző lámpák | 4.2.7.1.2 | 1.1.1 | 2.4.3 | |||
Zárjelző lámpák | 4.2.7.1.3 | 1.1.1 | 2.4.3 | |||
Lámpák működtető szerelvényei | 4.2.7.1.4 | 2.4.3 | ||||
Kürt – általában | 4.2.7.2.1 | 1.1.1 | 2.4.3 2.6.3 | |||
A figyelmeztető kürt hangnyomás szintjei | 4.2.7.2.2 | 1.1.1 | 1.3.1 | |||
Védelem | 4.2.7.2.3 | 2.4.3 | ||||
Kürt kezelőszerve | 4.2.7.2.4 | 1.1.1 | 2.4.3 | |||
Vontatási teljesítmény | 4.2.8.1 | 2.4.3 2.6.3 | ||||
Energiaellátás | 4.2.8.2 4.2.8.2.1–4.2.8.2.9 | 1.5 2.4.3 2.2.3 | ||||
A vonat elektromos védelme | 4.2.8.2.10 | 2.4.1 | ||||
Dízel- és más termikus vontatási rendszerek | 4.2.8.3 | 2.4.1 | 1.4.1 | |||
Áramforrásból fakadó elektromos veszélyekkel szembeni védelem | 4.2.8.4 | 2.4.1 | ||||
Vezetőállás – általános követelmények | 4.2.9.1.1 | — | — | — | — | — |
Be- és kiszállás | 4.2.9.1.2 | 1.1.5 | 2.4.3 | |||
Kilátás | 4.2.9.1.3 | 1.1.1 | 2.4.3 | |||
Belső elrendezés | 4.2.9.1.4 | 1.1.5 | ||||
Vezetőülés | 4.2.9.1.5 | 1.3.1 | ||||
Vezetőállás – ergonómiai kialakítás | 4.2.9.1.6 | 1.1.5 | 1.3.1 | |||
Hőmérséklet szabályozása és levegőminőség | 4.2.9.1.7 | 1.3.1 | ||||
Belső világítás | 4.2.9.1.8 | 2.6.3 | ||||
Szélvédő – mechanikai jellemzők | 4.2.9.2.1 | 2.4.1 | ||||
Szélvédő – fénytani jellemzők | 4.2.9.2.2 | 2.4.3 | ||||
Szélvédő – berendezés | 4.2.9.2.3 | 2.4.3 | ||||
A vezető aktivitásának ellenőrzését szolgáló funkció | 4.2.9.3.1 | 1.1.1 | 2.6.3 | |||
Sebesség kijelzése | 4.2.9.3.2 | 1.1.5 | ||||
A vezető kijelzője és képernyői | 4.2.9.3.3 | 1.1.5 | ||||
Kezelőszervek és jelzőműszerek | 4.2.9.3.4 | 1.1.5 | ||||
Feliratozás | 4.2.9.3.5 | 2.6.3 | ||||
Távirányítás a talajról | 4.2.9.3.6 | 1.1.1 | ||||
Fedélzeti eszközök és hordozható berendezések | 4.2.9.4 | 2.4.1 | 2.4.3 2.6.3 | |||
Tárolási lehetőségek a személyzet számára | 4.2.9.5 | — | — | — | — | — |
Rögzítőberendezés | 4.2.9.6 | 2.4.4 | ||||
Tűzbiztonság – Anyagokra vonatkozó követelmények | 4.2.10.2 | 1.1.4 | 1.3.2 | 1.4.2 | ||
A gyúlékony folyadékokkal kapcsolatos különleges intézkedések | 4.2.10.3 | 1.1.4 | ||||
Az utasok evakuálása | 4.2.10.4 | 2.4.1 | ||||
Tűzvédelmi gátak | 4.2.10.5 | 1.1.4 | ||||
A vonat külső tisztítása | 4.2.11.2 | 1.5 | ||||
Illemhelyürítő rendszer | 4.2.11.3 | 1.5 | ||||
Vízfeltöltő berendezés | 4.2.11.4 | 1.3.1 | ||||
Kapcsolódási pont vízfeltöltéshez | 4.2.11.5 | 1.5 | ||||
A vonatok tárolásának külön követelményei | 4.2.11.6 | 1.5 | ||||
Üzemanyagtöltő berendezés | 4.2.11.7 | 1.5 | ||||
Általános dokumentáció | 4.2.12.2 | 1.5 | ||||
Karbantartási dokumentáció | 4.2.12.3 | 1.1.1 | 2.5.1 2.5.2 2.6.1 2.6.2 | |||
Üzemi dokumentáció | 4.2.12.4 | 1.1.1 | 2.4.2 2.6.1 2.6.2 | |||
Emelési diagram és mentési utasítások | 4.2.12.5 | 2.5.3 | ||||
Mentési leírások | 4.2.12.6 | 2.4.2 | 2.5.3 | |||
Megjegyzés: a 4.2. pontból csak a követelményeket tartalmazó alpontok kerülnek felsorolásra. |
3.3. Az ÁME hatálya alá nem tartozó alapvető követelmények
A 2008/57/EKirányelv III. mellékletében általános követelményként vagy más alrendszerekre jellemzőként besorolt alapvető követelmények azok, amelyek hatást gyakorolnak a járműalrendszerére; az ÁME hatálya alá nem vagy csak korlátozásokkal tartozó követelmények az alábbiakban kerülnek megadásra.
3.3.1. Általános követelmények, karbantartáshoz és üzemeltetéshez kapcsolódó követelmények
A pontok és az alapvető követelmények számozása megegyezik a 2008/57/EK irányelvben meghatározott számozással.
Az ÁME hatálya alá nem tartozó alapvető követelmények a következők.
1.4. Környezetvédelem
1.4.1. "A hagyományos transzeurópai vasúti rendszer létrehozásának és üzemeltetésének környezeti hatásait a rendszer tervezési szakaszában a Közösség érvényben levő rendelkezéseivel összhangban kell vizsgálni és figyelembe venni."
Ezt az alapvető követelményt a vonatkozó hatályos európai rendelkezések szabályozzák.
1.4.3. "A járműveket és az energiaellátó rendszereket úgy kell megtervezni és megépíteni, hogy biztosított legyen elektromágneses összeférhetőségük azokkal a vasúti berendezésekkel, eszközökkel és nyilvános vagy magánhálózatokkal, amelyeket zavarhatnak."
Ezt az alapvető követelményt a vonatkozó hatályos európai rendelkezések szabályozzák.
1.4.4. "A vasúti rendszer működtetésénél tiszteletben kell tartani a zajártalomra vonatkozó hatályos rendelkezéseket."
Ezt az alapvető követelményt a hatályos zaj ÁME szabályozza.
1.4.5. "A hagyományos transzeurópai vasúti rendszer üzemeltetése átlagos karbantartási állapot esetén nem okozhat megengedhetetlen mértékű talajrezgést a pálya közelében elhelyezkedő területeken."
Ezt az alapvető követelményt a hagyományos vasúti infrastruktúrára vonatkozó ÁME szabályozza (a hatályos változatban nyitott kérdés).
2.5. Karbantartás
Ezek az alapvető követelmények az ÁME alkalmazási körében annak 3.2. pontja szerint csak a járműalrendszer műszaki karbantartási dokumentációja tekintetében bírnak jelentőséggel, és a karbantartó berendezések vonatkozásában nem tartoznak az ÁME alkalmazási körébe.
2.6. Üzemeltetés
Ezek az alapvető követelmények az ÁME alkalmazási körében annak 3.2. pontja szerint csak a járműalrendszer üzemeltetési dokumentációja (a 2.6.1. és 2.6.2. pont szerinti alapvető követelmények) és a járművek üzemeltetési szabályokkal való műszaki kompatibilitása (2.6.3. pont szerinti alapvető követelmények) tekintetében bírnak jelentőséggel.
3.3.2. A többi alrendszerre vonatkozó követelmények
A többi vonatkozó alrendszerre vonatkozó követelmények ezeknek az egész vasúti rendszer tekintetében történő betartásához szükségesek.
Az ÁME 3.2. pontja, illetve a 2008/57/EK irányelv III. mellékletének 2.2.3. és 2.3.2. pontja említi meg a járműalrendszer azon követelményeit, amelyek hozzájárulnak ezen alapvető követelmények teljesítéséhez.
Más alapvető követelményekre ezen ÁME hatálya nem terjed ki.
4. A JÁRMŰALRENDSZER JELLEMZÉSE
4.1. Bevezetés
4.1.1. Általános előírások
A 2008/57/EK irányelv tárgyát képező hagyományos transzeurópai vasúti rendszer, amelynek része a járműalrendszer, olyan integrált rendszer, amelynek egységességét igazolni kell. Ezt az egységességet különösen a járműalrendszer műszaki előírásai, a hagyományos vasúti rendszer más alrendszereihez való kapcsolódási pontjai és az üzemeltetési és karbantartási szabályok szempontjából kell ellenőrizni.
A járműalrendszer alapvető paramétereit ezen ÁME 4. pontja határozza meg.
Az alrendszer funkcionális és műszaki előírásai és annak kapcsolódási pontjai, amelyek leírása a 4.2. és a 4.3. pontban található, nem teszik kötelezővé meghatározott technológiák vagy műszaki megoldások alkalmazását, kivéve, ha ez a hagyományos transzeurópai vasúthálózat átjárhatóságához mindenképpen szükséges.
Azok az innovatív megoldások, amelyek nem teljesítik az ezen ÁME-ben előírt követelményeket, illetve nem mérhetők fel az ÁME-ben meghatározott módon, új előírásokat, illetve új értékelési módszereket tehetnek szükségessé. A műszaki újítás lehetővé tétele érdekében ezen előírások és vizsgálati módszerek kidolgozása a 6. pontban ismertetett "innovatív megoldások" folyamat szerint történik.
4.1.2. Az ÁME alkalmazási körébe tartozó járművek leírása
Az ÁME alkalmazási körébe tartozó (az ÁME-vel összefüggésben egységként megjelölt) járműveket az EK-hitelesítésben a következő jellemzők egyikével kell leírni:
- fix összeállítású vonatszerelvény, és szükség esetén a többes üzem vonatkozásában értékelt típusba tartozó több vonatszerelvény előre meghatározott összeállítása(i),
- egyetlen jármű vagy előre meghatározott összeállítás(ok)ra szánt járművek rögzített egysége,
- egyetlen jármű vagy általános üzemre szánt járművek rögzített egysége, és szükség esetén a többes üzem vonatkozásában értékelt típusba tartozó több jármű (mozdony) előre meghatározott összeállítása(i).
Megjegyzés: az értékelt típus más típusú járművel való többes üzeme nem tartozik ezen ÁMA hatálya alá.
A vonat-összeállításhoz és az egységhez kapcsolódó fogalommeghatározások az ÁME 2.2. pontjában szerepelnek.
Amennyiben egy fix vagy előre meghatározott összeállítás(ok)ra szánt egység értékelésére kerül sor, az értékelést kérő félnek meg kell adnia azokat az összeállításokat, amelyekre az értékelés érvényes, és ezt fel kell tüntetni az EK-hitelesítési tanúsítványban. Az egyes összeállítások meghatározásának tartalmaznia kell az egyes járművek típusmegjelölését, a járművek számát és a járművek összeállításban elfoglalt helyét. A részletek a 6.2. pontban szerepelnek.
Az általános üzemre használni kívánt egység egyes jellemzői vagy értékelései a vonat-összeállítások meghatározott korlátait teszik szükségessé. Ezeket a korlátokat a 4.2. és a 6.2.6. pont tartalmazza.
4.1.3. A járművek ÁME követelmények alkalmazása tekintetében történő fő kategóriákba sorolása
Az adott egységre alkalmazandó, vonatkozó követelmények meghatározásához a járművek műszaki kategóriába sorolási rendszere használatos az ÁME következő pontjaiban.
Az értékelést kérő félnek kell megadnia az(oka)t a műszaki kategóriá(ka)t, amelyek jelentőséggel bírnak azon egység tekintetében, amelyre az ÁME-t alkalmazzák. Az értékelést végző bejelentett szervezet ezt a kategóriába sorolást használja az ÁME vonatkozó követelményeinek értékeléséhez, és ezt fel kell tüntetni az EK-hitelesítési tanúsítványban.
A járművek műszaki kategóriái a következők:
- utasok szállítására szolgáló egység,
- utasokhoz tartozó dolgok (poggyász, autók stb.) szállítására tervezett egységek,
- a vezetőálláson belüli zaj,
- vontató berendezéssel felszerelt egység,
- villamos egység, amelynek meghatározása: olyan egység, amelynek energiaellátása a hagyományos vasút energiaellátására vonatkozó ÁME-ben meghatározott villamosítási rendszerrel történik,
- tehermozdony: áruszállító kocsik vontatására tervezett egység,
- személymozdony: személyszállító kocsik vontatására szolgáló egység,
- pályaépítő és karbantartó berendezések (vasúti munkagépek).
Valamely egység tartozhat egy vagy több fenti kategóriába is.
A 4.2. pont eltérő rendelkezésének hiányában az ebben az ÁME-ben meghatározott rendelkezések a járművek összes fenti műszaki kategóriájára vonatkoznak.
Értékeléskor figyelembe kell venni az egység üzemi összeállítását, és meg kell különböztetni a következőket:
- vonatként üzemeltethető egységek,
- önmagukban nem üzemeltethető egységek, amelyeket a vonatként történő üzemeltetéshez más egységgel (egységekkel) kell összekapcsolni (lásd még a 4.1.2., 6.2.6. és 6.2.7. pontot).
4.1.4. A járművek tűzbiztonsági kategóriákba sorolása
Tűzbiztonsági követelmények tekintetében az ÁME 4.2.10. pontja három járműkategóriát határoz meg és részletez.
A nagy sebességű járművekre és a vasúti alagutak biztonságára vonatkozó ÁME-nek megfelelően az ÁME hatálya alá tartozó járműveket (legalább) egy kategóriába be kell sorolni:
- A. tűzbiztonsági kategória,
- B. tűzbiztonsági kategória,
- tehermozdony és vasúti munkagép.
4.2. Az alrendszer működési és műszaki előírásai
4.2.1. Általános előírások
4.2.1.1. Részletezés
A 3. pont alapvető követelményeire figyelemmel a járműalrendszer funkcionális és műszaki jellemzőit e pont alábbi pontjai szerint csoportosították és rendezték:
- szerkezetek és mechanikus részek,
- a jármű és a vágány kölcsönhatása és annak méretezése,
- fékezés,
- személyszállítási elemek,
- környezeti feltételek,
- külső világítás és figyelmeztető hang- és fényjelző eszközök,
- vontatási és elektromos berendezések,
- vezetőállás és a mozdonyvezető és a gép közötti kapcsolódási pont,
- tűzbiztonság és evakuálás,
- szervizelés,
- üzemeltetési és karbantartási dokumentáció.
A működési és műszaki előírások - a 2008/57/EK irányelv 5. cikkének (8) bekezdésében megengedettek szerint - adott műszaki vonatkozások tekintetében kifejezetten hivatkoznak valamely EN-szabvány vagy más műszaki dokumentum valamely pontjára, amely hivatkozásokat ezen ÁME J. melléklete tartalmazza.
A vonaton szolgálatot teljesítő személyzet számára a vonat üzemi állapotának (átlagos állapot, üzemen kívüli berendezés, meghibásodás stb.) ismerete tekintetében szükséges tájékoztatást az adott funkciót tárgyaló pont, valamint a 4.2.12. "üzemeltetés és karbantartás tekintetében kért információ" pont tartalmazza.
4.2.1.2. Nyitott kérdések
Amennyiben valamely adott műszaki vonatkozásra még nem alakították ki az alapvető követelmények teljesítéséhez szükséges működési és műszaki előírásokat, és emiatt azok ebben az ÁME-ben nem szerepelnek, ezeket a vonatkozásokat az adott pont nyitott kérdésként tünteti fel. Az I. melléklet a 2008/57/EK irányelv 5. cikke (6) bekezdésének előírása szerint az összes nyitott kérdést felsorolja.
Az I. melléklet megemlíti azt is, hogy a nyitott kérdések a hálózattal való műszaki kompatibilitáshoz kapcsolódnak-e, és ebből a célból az I. melléklet 3. részre tagolódik:
- a teljes hálózatot érintő, általános nyitott kérdések,
- a jármű és az adott hálózat között műszaki kompatibilitáshoz kapcsolódó nyitott kérdések,
- a jármű és a hálózat műszaki kompatibilitásához nem kapcsolódó nyitott kérdések.
A 2008/57/EK irányelv 17. cikkének (3) bekezdésében előírtak szerint a nyitott kérdéseket a nemzeti műszaki szabályok alkalmazásával kell rendezni.
4.2.1.3. Biztonsági vonatkozások
A "biztonság" alapvető követelményhez hozzájáruló funkciókat az ÁME 3.2. pontja állapítja meg.
Az e funkciókhoz kapcsolódó biztonsági követelmények zömét a 4.2. pontban kifejtett műszaki előírások tárgyalják (pl. "passzív biztonság", "kerekek" ...).
A biztonsághoz kapcsolódó következő funkciók tekintetében a műszaki előírásokat ki kell egészíteni a biztonságra vonatkozó követelménnyel, amelyre vonatkozóan a megfelelőség igazolása a kockázatelemzési és -értékelési rendeletben leírt alapelveket alkalmazhatja (referenciarendszer(ek)hez való hasonlóság, eljárási szabályzatok alkalmazása, valószínűség-elméleti megközelítés):
- a 4.2.3.4.2. pontban meghatározott dinamikai viselkedés (aktív vezérlés alkalmazásakor),
- vészfékhatásosság (ideértve a vonóerő kiiktatását), a 4.2.4.2., a 4.2.4.7. és a 4.2.4.8.1. pontban előírtak szerint; a biztonsági követelményeket a 4.2.4.2.2. pont határozza meg,
- rögzítő fékezés, a 4.2.4.2., a 4.2.4.4.5. és a 4.2.4.5.5. pontban előírtak szerint, a biztonsági követelményeket a 4.2.4.2.2. pont határozza meg,
- fékállapot- és hibajelzés, a 4.2.4.9. pontban előírtak szerint,
- az utasok által működésbe hozható riasztó, amelyet a 4.2.5.3. pont határoz meg,
- a külső ajtók utasok általi működtetése, amelyet a 4.2.5.3. pont határoz meg,
- az elektromos áramellátás kiiktatása, amelyet a 4.2.8.2.10. pont határoz meg,
- a vezető aktivitásának ellenőrzését szolgáló funkció, amelyet a 4.2.9.3.1. pont határoz meg,
- tűzvédelmi gátak (nem teljes keresztmetszetű válaszfalak), amelyet a 4.2.10.5. pont határoz meg. Amennyiben e biztonsággal kapcsolatos funkcióként meghatározott funkciók biztonsági vonatkozásai nem kellően szabályozottak vagy biztonságról nem is esik említés, ezt a funkciót tárgyaló megfelelő pont nyitott kérdésként azonosítja.
A biztonsággal kapcsolatos funkciók elvégzésére használt szoftverek fejlesztését és értékelését a biztonsággal kapcsolatos szoftverekre megfelelő módszertan szerint kell végezni.
Ez vonatkozik azokra a szoftverekre is, amelyek az ÁME 4.2. pontjában biztonsággal kapcsolatos funkcióként meghatározott funkciókra gyakorolnak hatást.
4.2.2. Szerkezetek és mechanikus részek
4.2.2.1. Általános előírások
Ez a rész a jármű strukturális felépítményére (a jármű szerkezeti erősségére), valamint a járművek vagy egységek közötti mechanikus csatlakozásokra (mechanikus kapcsolódási pontokra) vonatkozó követelményeket tárgyalja.
E követelmények legtöbbjének a célja üzem és mentési műveletek közben a vonat épségének biztosítása, valamint az utas- és személyzeti terek ütközés vagy kisiklás esetén történő védelme.
4.2.2.2. Mechanikai kapcsolódási pontok
4.2.2.2.1. Általános követelmények és fogalommeghatározások
A (2.2 pontban meghatározott) vonat kialakításához a járműveket az együttes üzemelésüket lehetővé tevő módon kapcsolják össze. A kapcsolókészülék az ezt lehetővé tevő mechanikai kapcsolódási pont. Többféle típusú kapcsolókészülék létezik:
- "Belső" kapcsolókészülék (nevezik "köztes" kapcsolókészüléknek is): a több járműből álló egység (pl. rögzített egységként működő kocsicsoport vagy vonatszerelvény) kialakítására szolgáló, a járművek közötti kapcsolókészülék.
- Az egységek végkapcsoló-készüléke ("külső" kapcsolókészüléke): a két (vagy több) egység vonat kialakítása céljából történő összekapcsolására használt kapcsolókészülék. Az egység végére nem kötelező végkapcsoló-készüléket felszerelni. Amennyiben az egység valamely végén nincsen végkapcsoló-készülék, az ilyen végekre fel kell szerelni a mentésre szolgáló kocsikapcsoló berendezés beszerelését lehetővé tevő eszközt.
- A végkapcsoló-készülék lehet "automata", "félautomata" vagy "kézi".
- Ezen ÁME összefüggéseiben a "kézi" kapcsolókészülék olyan végkapcsoló-készülék, amely az összekapcsolandó vagy szétkapcsolandó egységek között (egy vagy több) személy jelenlétét igényli az egységek mechanikus kapcsolásának elvégzésére.
- Mentésre szolgáló kocsikapcsoló berendezés: olyan kapcsolókészülék, amely lehetővé teszi az egységnek egy 4.2.2.2.3. pont szerinti szabványos kapcsolókészülékkel felszerelt vontató motorkocsival való mentését, ha a mentésre szoruló egységet másféle kapcsolókészülékkel szerelték fel vagy kapcsolókészülékkel nem látták el.
4.2.2.2.2. Belső kapcsolókészülék
Az egység különböző járművei közötti belső kapcsolókészülék tartalmaz egy rugalmas rendszert, amely képes ellenállni a rendeltetésszerű üzemi körülmények által keltett erőknek.
Amennyiben a járművek közötti belső kapcsolókészülék hosszanti ereje kisebb, mint az egység végkapcsoló-készülékéé, rendelkezéseket kell hozni az egység olyan esetben történő mentésére, ha az ilyen belső kapcsolókészülék meghibásodik. Ezeket a rendelkezéseket a 4.2.12.6. pontban előírt dokumentációban meg kell adni.
Csuklós egységek: az azonos futóművön osztozó két jármű közötti csatlakozásnak meg kell felelnie az EN 12663-1:2010 szabvány 6.5.3. és 6.7.5. pontjának.
4.2.2.2.3. Végkapcsoló-készülék
a) Végkapcsoló-készülék - általános követelmények
Amennyiben az egység valamely végén van végkapcsoló-készülék, valamennyi típusú (automata, félautomata vagy kézi) végkapcsoló-készüléknek meg kell felelnie a következő követelményeknek:
- A végkapcsoló-készülék tartalmaz egy rugalmas összekapcsolási rendszert, amely képes ellenállni a rendeltetésszerű üzemi körülmények által keltett erőknek.
Ez az ÁME az automata és félautomata kapcsolórendszerekre további követelményeket nem tartalmaz.
b) Kézi kapcsolókészülék
A következő rendelkezések külön a kézi kapcsolókészülékkel felszerelt egységekre vonatkoznak:
- A kapcsolórendszert úgy kell kialakítani, hogy az összekapcsolandó/lekapcsolandó egységek egyikének mozgása közben se legyen szükség emberi jelenlétre.
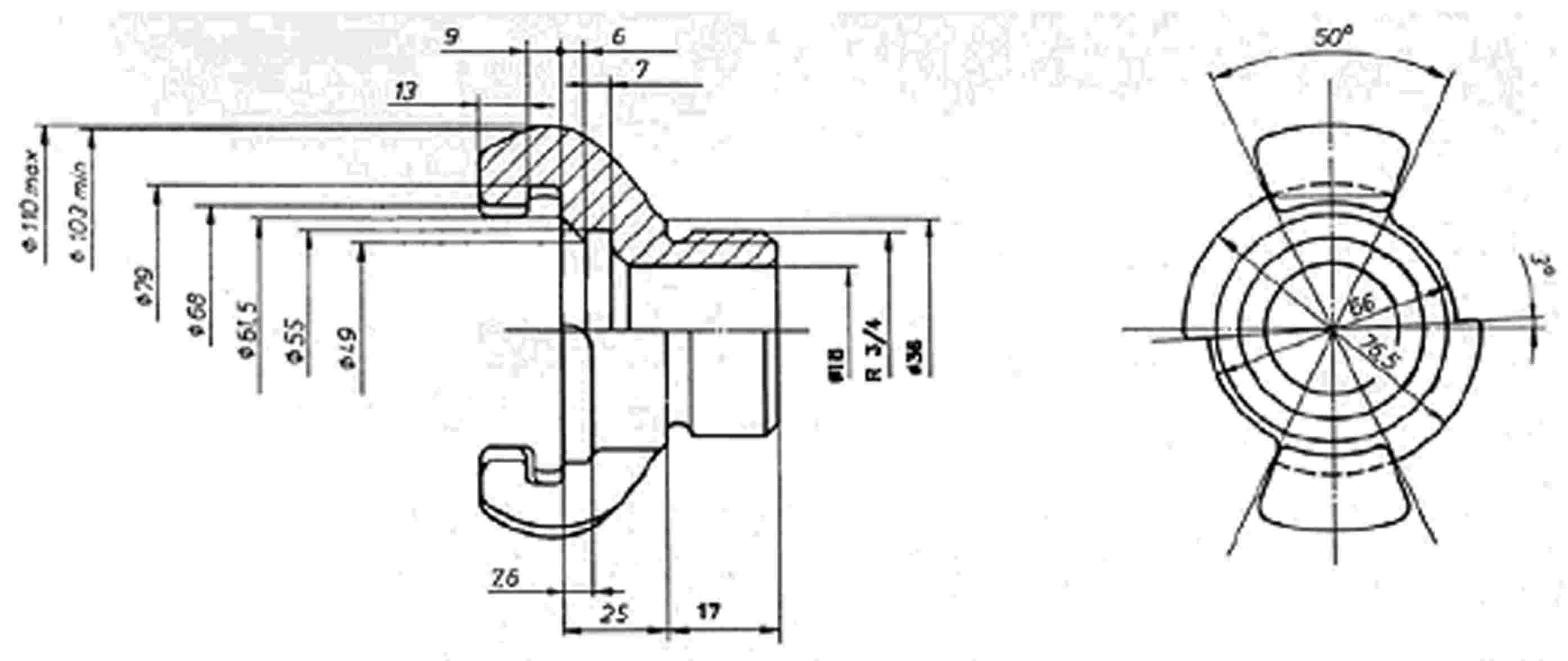
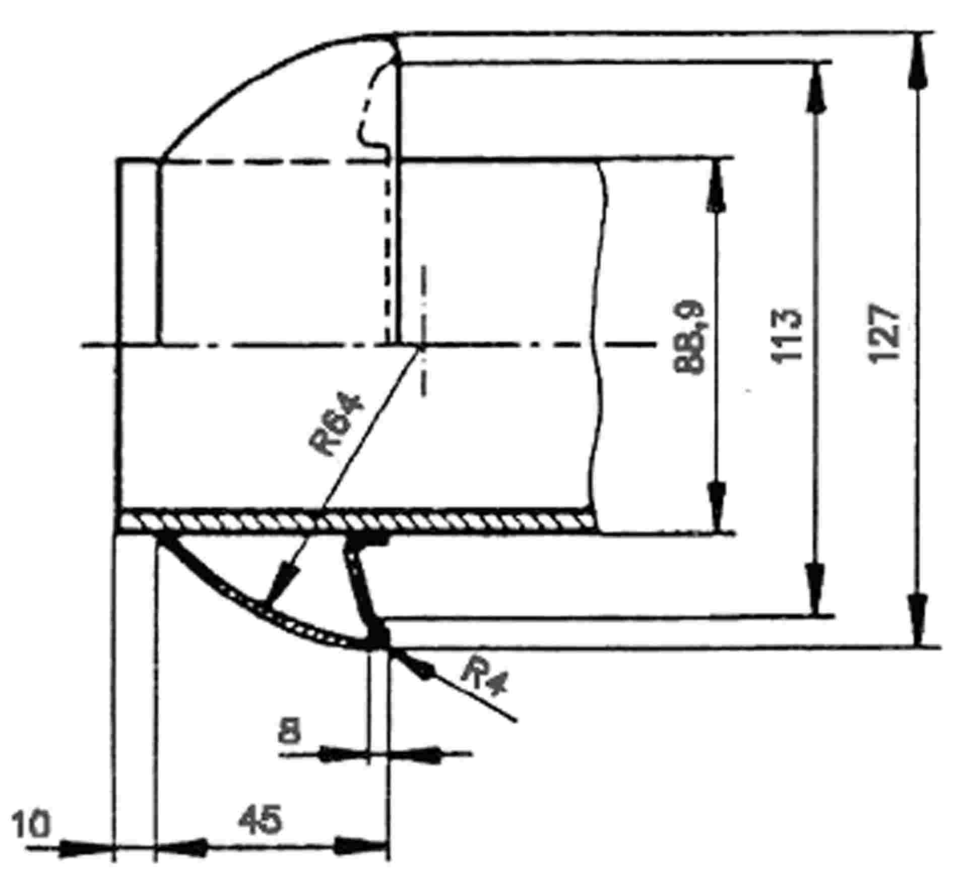
- A kézi kapcsolókészüléssel felszerelt kocsikat az EN 15551:2009 és EN 15566:2009 szabvány utaskocsikra vonatkozó részeinek megfelelő ütközővel, vonókészülékkel és csavaros kapcsolókészülékkel kell felszerelni. A kocsiktól eltérő, kézi kapcsolókészülékkel felszerelt egységeket az EN 15551:2009, illetve az EN 15566:2009 szabvány vonatkozó részeinek megfelelő ütközővel, vonókészülékkel és csavaros kapcsolókészülékkel kell felszerelni
Az ütközőket és a csavaros kapcsolókészüléket az A. melléklet A.1-A.3. pontja szerint kell felszerelni.
A kizárólag a szabványos 1 435 mm nyomtávú hálózaton való üzemre tervezett, kézi kapcsolókészülékkel és UIC pneumatikus fékkel felszerelt összes egységre az alábbi követelmények vonatkoznak:
- A fékvezetékek és féktömlők, kapcsolókészülékek és csapok méreteinek és elrendezésének meg kell felelnie a hagyományos vasúti áruszállító kocsik alrendszerére vonatkozó ÁME-ben szereplő követelményeknek. A fékcsövek és csapok ütköző tartólemezéhez viszonyított hosszanti és függőleges helyzetének meg kell felelnie az 541-1: 2003. novemberi UIC-tájékoztató B2. mellékletének 16b. vagy 16c. ábráján meghatározott, megfelelő követelményeknek.
-
Megjegyzés: ezek vonatkozásában egy EN -szabvány előkészületben van.
- A fékcsövek és csapok oldalirányú helyzete megfelelhet a 648: 2001. szeptemberi UIC-tájékoztató követelményeinek.
c) Az eltérő nyomtávon történő üzemre tervezett egységek kézi kapcsolókészülékének rendszerkompatibilitása
A több eltérő nyomtávú pályából (pl. 1 435 mm és 1 520/1 524 mm, vagy 1 435 mm és 1 668 mm) álló hálózatokon való üzemre tervezett, kézi kapcsolókészülékkel és UIC pneumatikus fékrendszerrel felszerelt egységeknek egyszerre kell megfelelniük a következőknek:
- a 1 435 mm-es nyomtávú hálózatokra a 4.2.2.2.3 "Végkapcsoló-készülék" pontban meghatározott, kapcsolódási pontra vonatkozó követelmények, és
- az ÁME 7.3. pontjában meghatározott "nem 1 435 mm-es nyomtávú" hálózatokra meghatározott különleges esetek.
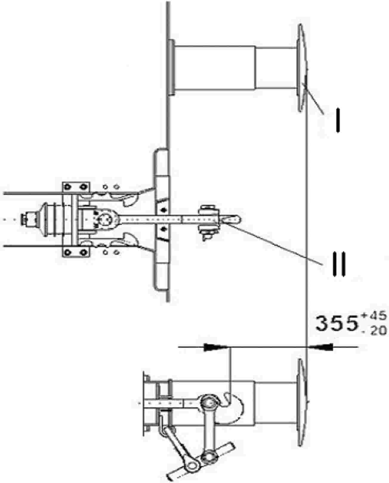
4.2.2.2.4. Mentésre szolgáló kocsikapcsoló berendezés
Az egységek végkapcsoló-készülékkel fel nem szerelt, vagy az ezen ÁME 4.2.2.2.3. pontja szerinti kézi kapcsoló rendszerrel nem kompatibilis kapcsolókészülékkel felszerelt végei tekintetében intézkedni kell arra, hogy meghibásodás esetén a vonal a mentésre szoruló egység vontatása vagy meghajtása révén felszabadítható legyen:
- amennyiben a mentésre szoruló egységet végkapcsoló-készülékkel felszerelték: az azonos típusú végkapcsoló-készülékkel felszerelt motorkocsival, és
- vontatóegységgel, azaz mindkét végén mentési célú használatra a következőkkel felszerelt motorkocsival:
-
- a fenti 4.2.2.2.3. pontnak megfelelő kézi kapcsolókészülék és pneumatikus fék,
- a fékcsövek és csapok oldalsó elhelyezkedése a 648: 2001. szeptember UIC-tájékoztató szerint,
- a horog középvonala felett 395 mm szabad hely az alább leírt mentőadapter felszerelésének lehetővé tételére.
Ez megvalósítható egy állandó jelleggel felszerelt, kompatibilis kapcsolókészülékkel vagy (mentőadapternek is nevezett) mentő-kapcsolókészülékkel.
Ilyen esetben az értékelendő egységet úgy kell kialakítani, hogy a mentő-kapcsolókészülék az egység fedélzetén szállítható legyen.
A mentő-kapcsolókészülék(nek):
- tervezésének lehetővé kell tennie a legalább 30 km/h sebességgel történő mentést a hagyományos vasúti infrastruktúrára vonatkozó ÁME-nek megfelelő vasútvonalakon,
- vontatóegységre való felszerelését követően azt olyan módon kell rögzíteni, ami meggátolja annak a mentési művelet közbeni leválását,
- ellen kell állnia a végezni kívánt mentési művelet során fellépő erőknek,
- kialakításának olyannak kell lennie, hogy a vontató és mentésre szoruló egységek egyikének mozgása közben se legyen szükség emberi jelenlétre,
- sem a mentő-kapcsolókészülék, sem a féktömlők nem gátolhatják a vontatóegységre szerelt horog oldalirányú mozgását.
A fékkapcsolódási pontra ezen ÁME 4.2.4.10. pontjának követelményei vonatkoznak.
4.2.2.2.5. A személyzet hozzáférése az összekapcsoláshoz/szétkapcsoláshoz
A járműveket úgy kell kialakítani, hogy a személyzet ne legyen kitéve indokolatlan kockázatnak az össze- és szétkapcsolás vagy mentési művelet során.
E követelmény teljesítése érdekében a 4.2.2.2.3. pontja szerinti kézi kapcsoló rendszerrel felszerelt egységeknek a következő követelményeknek kell megfelelniük (a "berni négyszög"):
- az A. melléklet A2. ábráján jelölt területeken nem lehetnek rögzített alkatrészek. E követelmény teljesüléséhez a vonókészülékek alkotóelemeit oldalirányban középen helyezik el.
- A vezetékek és rugalmas tömlők csatlakoztatása, illetve az átjárók deformálódó részei ezen a területen belül lehetnek. Az ütközők alatt nem lehetnek olyan szerkezetek, amelyek akadályoznák a hozzáférést ehhez a területhez,
- amennyiben kombinált automatikus és csavaros kapcsolókészülék van felszerelve, megengedhető, hogy az automatikus kapcsolókészülék feje a bal oldali berni négyszögön belül legyen (az A. melléklet A2. ábrája szerint) vontatáskor és a csavaros kapcsolókészülék használata közben,
- valamennyi ütköző alján fogódzónak kell lennie. A fogódzónak 1,5 kN erőt kell kibírnia törés nélkül.
4.2.2.3. Átjárók
Amennyiben az utasok kocsik vagy vonatszerelvények közötti átjárásának lehetővé tételéhez átjárókat biztosítanak, ezek nem tehetik ki az utasokat indokolatlan kockázatnak.
Amennyiben lehetséges nem csatlakoztatott átjárók melletti üzem is, az utasok átjáróra való kijutása megakadályozható kell, hogy legyen.
A használaton kívüli átjárók ajtóival kapcsolatos követelményeket a 4.2.5.8 "Személyszállítási elemek - Egységeket összekötő ajtók" pont tartalmazza.
További követelmények szerepelnek a mozgáskorlátozott személyekre vonatkozó ÁME-ben (a mozgáskorlátozott személyekre vonatkozó ÁME 4.2.2.7 "Biztonsági sáv" pontja).
Ezek a követelmények nem vonatkoznak a járművek végére, amennyiben ezek nem utasok általi rendszeres használatra szolgálnak.
4.2.2.4. A jármű szerkezetének szilárdsága
Ez a pont valamennyi egységre vonatkozik.
A vasúti infrastruktúra építését és karbantartását szolgáló mobil berendezések (vasúti munkagépek) tekintetében az e pontban meghatározott követelmények helyett a C. melléklet C.1. pontjában meghatározott követelmények szerepelnek a statikus terhelés, kategória és gyorsulás tekintetében.
A járműszekrények statikus és dinamikus szilárdsága (fáradás) az abban tartózkodók számára szükséges biztonság garantálása, valamint a vontatási és tolatási műveletekben részt vevő járművel szerkezeti épsége tekintetében bír jelentőséggel.
Ezért minden jármű szerkezetének meg kell felelnie az EN 12663-1:2010 "Vasúti kocsik szilárdsági követelményei - 1. rész Mozdonyok és személyszállító járművek (és alternatív módszerű áruszállító kocsikra)". A figyelembe veendő vasúti járműkategóriák az L kategóriájú mozdonyok és motorkocsik, és az ÁME hatálya alá tartozó minden más PI vagy PII kategóriájú járműtípus, az EN 12663-1:2010 szabvány 5.2. pontjában meghatározottak szerint.
A járműszekrény tartós alakváltozásnak és törésnek való ellenállási képességének bizonyítéka lehet különösen számítás vagy vizsgálat, a EN 12663-1:2010 szabvány 9.2.3.1. pontjában meghatározott feltételek mellett.
A vizsgálandó terhelési állapotok ezen ÁME 4.2.2.10. pontjában szerepelnek.
Az aerodinamikai terhelésre vonatkozó feltételeket ezen ÁME 4.2.6.2.3. pontja tartalmazza.
A fenti követelmények kiterjednek a kapcsolási technikákra is. Léteznie kell a gyártási szakaszban ellenőrzési eljárásnak annak biztosítására, hogy a szerkezet mechanikai jellemzőit semmilyen hiba se gyengíthesse.
4.2.2.5. Passzív biztonság
Az üzem közben nem utasok vagy személyzet szállítására szolgáló egységek és a vasúti munkagépek kivételével ez a követelmény minden egységre vonatkozik.
Emellett az alábbi ütközési esetekben meghatározott ütközési sebességre nem felgyorsítható egységek mentesülnek az adott ütközési esetre vonatkozó rendelkezések alól.
A passzív biztonság célja az aktív biztonság kiegészítése olyan esetekben, amikor minden más intézkedés kudarcot vallott.
Ebből a célból a járművek mechanikai szerkezetének kell ütközés esetére védelmet nyújtania az abban tartózkodók számára a következőkkel:
- a lassulás mérséklése,
- a tartózkodási területek túlélési terének és szerkezeti integritásának fenntartása,
- az egymásra futás kockázatának csökkentése,
- a kisiklás kockázatának csökkentése,
- a vágányon lévő akadállyal való ütközés következményeinek korlátozása.
E funkcionális követelmény teljesítéséhez az egységeknek eltérő további rendelkezés hiányában meg kell felelniük az EN 15227:2008 szabványban a C-I törésbiztonsági tervezési kategóriára meghatározott részletes követelményeknek (az EN 15227:2008 szabvány 4. pontjának 1. táblázata szerint).
A következő négy ütközési referenciaesetet kell vizsgálni:
- 1. eset: frontális ütközés két azonos egység között,
- 2. eset: frontális ütközés áruszállító kocsival,
- 3. eset: teherautóval való ütközés szintbeli vasúti átjáróban,
- 4. eset: az egység alacsony akadályba ütközés (pl. szintbeli vasúti átjáróban autóval, állattal, kőtömbbel stb.)
Ezeket az eseteket az EN 15227:2008 szabvány 5. pontjának 2. táblázata ismerteti.
Ezen ÁME alkalmazási körében a 2. táblázatban szereplő alkalmazási szabályok a következőkkel egészülnek ki:
- nyitott kérdés az 1. és a 2. esethez kapcsolódó követelményeknek a hagyományos TEN-vonalakon működtetni kívánt, csak áruszállítási műveletekre használt és a Willison- (pl. SA3) vagy a Janney- (AAR-szabvány) elvnek megfelelő középső kapcsolókészülékkel felszerelt nehéz tehermozdonyokra való alkalmazása,
- nyitott kérdés a középső vezetőállással rendelkező mozdonyok esetében a 3. esethez kapcsolódó követelményeknek való megfelelés értékelése.
Ez az ÁME meghatározza az alkalmazási körében használatos törésbiztonsági követelményeket, ezért nem kell alkalmazni az EN 15227:2008 szabvány A. mellékletét. Az EN 15227:2008 szabvány 6. pontjának követelményeit a fent megadott ütközési referenciaesetekkel kapcsolatban kell alkalmazni.
A vágányon lévő akadállyal való ütközés következményeinek korlátozása érdekében a mozdonyok, motorkocsik, vezethető kocsik és vonatszerelvények menetirány szerinti elejét terelőlappal kell felszerelni. A terelőlap által teljesítendő követelményeket az EN 15227:2008 szabvány §5 3. táblázata és 6.5. pontja határozza meg.
4.2.2.6. Emelés
Ez a pont a vasúti munkagépek (vasúti infrastruktúra építését és karbantartását szolgáló mobil berendezések) kivételével minden egységre vonatkozik.
A vasúti munkagépek emelésére vonatkozó rendelkezéseket a C. melléklet C.2. pontja határozza meg.
Biztosítani kell az egységet alkotó valamennyi jármű vontatási (kisiklás, baleset vagy váratlan esemény után) és karbantartási célból történő biztonságos felemelését.
Biztosítani kell a jármű egyik végénél fogva (akár a futóműnél is) történő felemelését úgy, hogy a jármű másik vége a többi futóművön (futóműveken) maradjon.
Ebből a célból kijelölt és megjelölt emelési pontokat kell megadni.
Az emelési pontok geometriájának és helyének meg kell felelnie a B. mellékletnek.
Az emelési pontokat a B. mellékletnek megfelelő jelzésekkel kell jelölni.
A szerkezetnek el kell viselnie az EN 12663-1:2010 szabványban (6.3.2. és 6.3.3. pont) megadott terheléseket.
A járműszekrény tartós alakváltozásnak és törésnek való ellenállási képességének bizonyítéka lehet különösen számítás vagy vizsgálat, a EN 12663-1:2010 szabvány 9.2.3.1. pontjában meghatározott feltételek mellett.
4.2.2.7. Készülékek rögzítése a kocsiszekrény szerkezetére
Ez a pont a vasúti munkagépek (vasúti infrastruktúra építését és karbantartását szolgáló mobil berendezések) kivételével minden egységre vonatkozik.
A vasúti munkagépek szerkezeti szilárdságára vonatkozó rendelkezéseket a C. melléklet C.1. pontja határozza meg.
A balesetek következményeinek mérséklésére a rögzített eszközöket (az utastérben is) olyan módon kell a kocsiszekrény szerkezetéhez rögzíteni, ami megakadályozza e rögzített eszközök meglazulását, ami az utasok számára sérülési kockázatot jelent, illetve kisikláshoz vezethet. Ebből a célból a fenti 4.2.2.4. pontban meghatározott kategóriák tekintetében ezeknek az eszközöknek a rögzítését az EN 12663-1:2010 szabvány 6.5.2. pontja szerint kell kialakítani.
4.2.2.8. Peronajtók a személyzet és a rakomány számára
Az utasok által használt ajtókra ezen ÁME 4.2.5. "Személyszállítási elemek" pontja vonatkozik. A vezetőállás ajtóival a jelen ÁME 4.2.9. pontja foglalkozik.
Ez a pont a rakományhoz használt ajtókkal, és a vezetőállás ajtói kivételével a vonatkísérő személyzet által használt ajtókkal foglalkozik.
A vonatkísérő személyzet vagy rakomány számára fenntartott térrel ellátott járműveket fel kell szerelni az ajtók zárására és reteszelésére szolgáló eszközzel. Az ajtóknak mindaddig zárt és reteszelt állapotban kell maradniuk, amíg azokat a vonatkísérő személyzet szándékosan ki nem nyitja.
4.2.2.9. (Nem szélvédő) üvegek műszaki jellemzői
Amennyiben üvegezéshez üveget használnak (ideértve a tükröket is), annak a minőség és a felhasználási terület tekintetében a vonatkozó nemzeti vagy nemzetközi szabványnak megfelelő rétegelt vagy edzett üvegnek kell lennie, ezzel a legkisebbre csökkentve az utasok és a személyzet üvegtörés miatti sérülésének kockázatát.
4.2.2.10. Terhelési állapot és terhelt tömeg
Az EN 15663:2009 szabvány 3.1. pontjában meghatározott következő terhelési viszonyokat kell meghatározni:
- tervezési tömeg rendkívüli hasznos teher mellett,
- tervezési tömeg átlagos hasznos teher mellett,
- tervezési tömeg menetkész állapotban.
A fent meghatározott terhelési állapotok előállításához tett feltételezéseknek meg kell felelniük az EN 15663:2009 szabványnak (helyközi vonat, egyéb vonat, egy négyzetméterre jutó hasznos teher az állótérben és szolgálati térben), és ezeket a feltételezéseket a 4.2.12.2. pontban ismertetett általános dokumentációban kell indokolni és dokumentálni.
Vasúti munkagépek esetében eltérő terhelési állapotok (minimum tömeg, maximum tömeg) használhatóak a szerelvényen esetlegesen található berendezések figyelembevételére.
A fent meghatározott terhelési állapotok mindegyike tekintetében a következő információkat kell megadni a 4.2.12. pontban ismertetett műszaki dokumentációban:
- teljes járműtömeg (az egység minden járművére),
- tengelyterhelés (mindegyik tengelyre),
- kerékterhelés (mindegyik kerékre),
A "Tervezési tömeg menetkész állapotban" terhelési állapotot a jármű súlymérésével kell meghatározni. A többi terhelési állapot számítással történő levezetése megengedett.
Amennyiben valamely járművet valamely típusnak megfelelőként igazolnak (a 6.2.2.1. és 7.1.3. pontnak megfelelően), a teljes jármű mért tömege a "tervezési tömeg menetkész állapotban" terhelési állapot esetében legfeljebb 3 %-kal térhet el attól a teljes járműtömegtől, amelyet az EK-hitelesítés típus- vagy konstrukcióvizsgálati tanúsítványában jelentettek.
4.2.3. A jármű és a vágány kölcsönhatása és annak méretezése
4.2.3.1. Nyomtáv
A szelvény az egység (jármű) és az infrastruktúra közötti, közös referencia-körvonallal és a kapcsolódó számítási szabályokkal leírt kapcsolódási pont. A szelvény a hagyományos vasúti infrastruktúrára vonatkozó ÁME 4.2.2. pontjában meghatározott teljesítményparaméter, és a vonalkategóriától függ.
A kinematikus referencia-körvonal a számítási szabályokkal együtt az egység külső méreteit írja le, és annak a GA, GB vagy GC referenciaprofilok egyikén belül kell lennie (a hagyományos vasúti infrastruktúrára vonatkozó ÁME 4.2.2. pontja szerint). A szelvényszámításhoz használt feltételezett kilengési (vagy rugalmassági) együtthatót számításokkal vagy mérésekkel kell igazolni az EN 15273-2:2009 szabványban meghatározottak szerint.
Villamos egységek esetében az áramszedő űrszelvényét számítással kell ellenőrizni az EN 15273-2:2009 szabvány A.3.12. pontja szerint annak biztosítására, hogy az áramszedő szelvénye megfeleljen az áramszedő mechanikai kinematikus űrszelvényének, amelyet a hagyományos vasút energiaellátására vonatkozó ÁME E. melléklete határoz meg, és függ az áramszedőfej választott geometriájától: a két megengedett lehetőséget ezen ÁME 4.2.8.2.9.2. pontja határozza meg.
Az infrastruktúra űrszelvényben figyelembe veszik az áramellátás feszültségét az áramszedő és a telepített berendezések közötti megfelelő szigetelési távolságok biztosítására.
A hagyományos vasút energiaellátására vonatkozó ÁME 4.2.14. pontjában meghatározott és a mechanikai kinematikus szelvényszámításhoz használt áramszedőlengést számításokkal vagy mérésekkel kell igazolni az EN 15273-2:2009 szabványban meghatározottak szerint.
4.2.3.2. Tengelyterhelés és kerékterhelés
4.2.3.2.1. Tengelyterhelési paraméter
A tengelyterhelés az egység és az infrastruktúra közötti kapcsolódási pont. A tengelyterhelés a hagyományos vasúti infrastruktúrára vonatkozó ÁME 4.2.2. pontjában meghatározott teljesítményparaméter és a vonalkategóriától függ. Értékelésekor figyelembe kell venni a tengelytávot, a vonat hosszát és az egység vizsgált vonalon megengedett legnagyobb sebességét.
Az infrastruktúra kapcsolódási pontként használatos következő jellemzőket kell használni az egység értékeléskor készített és a 4.2.12.2. pontban ismertetett általános dokumentációban:
- az egy tengelyre jutó terhelés (mindegyik tengelyre) mindhárom terhelési állapotra (a 4.2.2. pontban meghatározottak szerint, amely előírja ezen adatok dokumentációba történő felvételét),
- a tengelyek helyzete az egységben (tengelytáv),
- az egység hossza,
- a legnagyobb tervezési sebesség (amelynek dokumentációba való felvételét a 4.2.8.1.2. pont írja elő).
Ezen adatoknak a jármű és infrastruktúra kompatibilitásának (ezen ÁMA hatályán kívül eső) ellenőrzéséhez üzemeltetési szinten történő használata:
Az egység egyes tengelyeinek az infrastruktúrához való kapcsolódási pontként használandó tengelyterhelését a vasúttársaságnak kell meghatároznia a hagyományos vasút üzemeltetésére vonatkozó ÁME 4.2.2.5. pontjában előírtak szerint, figyelemmel a végezni kívánt szolgáltatással járó várható terhelésre (ezt az egység értékelésekor nem határozzák meg). A "tervezési tömeg rendkívüli hasznos teher mellett" terhelési állapot melletti tengelyterhelés a fent említett tengelyterhelés legmagasabb lehetséges értéke.
4.2.3.2.2. Kerékterhelés
A Δqj tengelyenkénti kerékterhelési eltérés arányát kerékterhelés-méréssel kell értékelni, a "tervezési tömeg menetkész állapotban" terhelési állapot figyelembevételével. A tengelyterhelés 5 %-ánál nagyobb kerékterhelés-eltérés csak akkor megengedett, ha vizsgálatokkal igazolt az ÁME 4.2.3.4.1. pontjában meghatározott féloldali vágánysüppedésen való kisiklással szembeni biztonság.
4.2.3.3. A járművek földi vonatfigyelő rendszereket befolyásoló paraméterei
4.2.3.3.1. A járművek jellemzői a vonatérzékelő rendszerekkel való kompatibilitás tekintetében
A vonatérzékelő célrendszerekkel való kompatibilitást befolyásoló járműjellemzők a 4.2.3.3.1.1., 4.2.3.3.1.2. és 4.2.3.3.1.3. pontban szerepelnek.
Azon jellemzők csoportját, amelynek a jármű megfelel, fel kell tüntetni az ÁME 4.8. pontjában meghatározott járműnyilvántartásban.
4.2.3.3.1.1. A JÁRMŰVEK JELLEMZŐI A SÍNBE ÉPÍTETT VONATÉRZÉKELŐ RENDSZERREL VALÓ KOMPATIBILITÁS TEKINTETÉBEN
- A jármű geometriai adatai
-
- A két egymást követő tengely közötti legnagyobb távolságot (ai távolság az 1. ábrán) az ellenőrző-irányító és jelző alrendszerre vonatkozó ÁME A. melléklete 77. hivatkozásának 3.1.2. pontjában említett előírásokban határozzák meg.
- Az ütközővég és az első tengely közötti legnagyobb távolságot (b1 távolság az 1. ábrán) az ellenőrző-irányító és jelző alrendszerre vonatkozó ÁME A. melléklete 77. hivatkozásának 3.1.2. pontjában említett előírásokban határozzák meg.
- A járművek felépítése
-
- A legkisebb tengelyterhelést minden terhelési állapotra az ellenőrző-irányító és jelző alrendszerre vonatkozó ÁME A. melléklete 77. függelékének 3.1.7. pontjában említett előírásokban határozzák meg.
- A szemben lévő kerekek futófelületei közötti elektromos ellenállást az ellenőrző-irányító és jelző alrendszerre vonatkozó ÁME A. melléklete 77. hivatkozásának 3.1.9. pontja tartalmazza, a mérési módszer pedig ugyanezen pontban található.
- Az áramszedővel felszerelt villamos egységek esetében az áramszedő és a vonat egyes kerekei közötti legkisebb impedancia nyitott kérdést alkot az ellenőrző-irányító és jelző alrendszerre vonatkozó ÁME A. melléklete 77. függelékének 3.2.2. pontjában említett előírásban.
- A kisugárzások izolálása
-
- A homokszóró berendezés használatának korlátait az ellenőrző-irányító és jelző alrendszerre vonatkozó ÁME A. melléklete 77. függelékének 3.1.4. pontjában említett előírásokban határozzák meg.
- A kompozit féktuskók használatának korlátait az ellenőrző-irányító és jelző alrendszerre vonatkozó ÁME A. melléklete 77. függelékének 3.1.6. pontjában említett előírásokban határozzák meg.
- EMC
-
- Az elektromágneses összeférhetőségre vonatkozó követelmények nyitott kérdést alkotnak az ellenőrző-irányító és jelző alrendszerre vonatkozó ÁME A. melléklete 77. függelékének 3.2.1 és 3.2.2. pontjában említett előírásokban.
- A vontatási áramokból eredő elektromágneses zavar határértékei nyitott kérdést alkotnak az ellenőrző-irányító és jelző alrendszerre vonatkozó ÁME A. melléklete 77. függelékének 3.2.2. pontjában említett előírásokban.
4.2.3.3.1.2. A JÁRMŰVEK JELLEMZŐI A TENGELYSZÁMLÁLÓN ALAPULÓ VONATÉRZÉKELŐ RENDSZERREL VALÓ KOMPATIBILITÁS TEKINTETÉBEN
- A jármű geometriai adatai
-
- A két egymást követő tengely közötti legnagyobb távolságot az ellenőrző-irányító és jelző alrendszerre vonatkozó ÁME A. melléklete 77. hivatkozásának 3.1.2. pontjában említett előírásokban határozzák meg.
- A szerelvény két egymást követő tengelye közötti legkisebb távolságot az ellenőrző-irányító és jelző alrendszerre vonatkozó ÁME A. melléklete 77. hivatkozásának 3.1.2. pontjában említett előírásokban határozzák meg.
- Az összekapcsolni kívánt egység végén az egység vége és az első tengely közötti legkisebb távolság az ellenőrző-irányító és jelző alrendszerre vonatkozó ÁME A. melléklete 77. hivatkozásának 3.1.2. pontjában említett előírásokban megadott távolság fele.
- Az egység vége és az első tengely közötti legnagyobb távolságot (b1 távolság az 1. ábrán) az ellenőrző-irányító és jelző alrendszerre vonatkozó ÁME A. melléklete 77. hivatkozásának 3.1.2. pontjában említett előírásokban határozzák meg.
- Az egység végén lévő tengelyek közötti legkisebb távolságot az ellenőrző-irányító és jelző alrendszerre vonatkozó ÁME A. melléklete 77. hivatkozásának 3.1.2. pontjában említett előírásokban határozzák meg.
- A kerék geometriai méretei
-
- A kerékgeometriát ezen ÁME 4.2.3.5.2.2. pontja határozza meg.
- A legkisebb (sebességfüggő) kerékátmérőt az ellenőrző-irányító és jelző alrendszerre vonatkozó ÁME A. melléklete 77. hivatkozásának 3.1.3. pontjában említett előírásokban határozzák meg.
- A járművek felépítése
-
- A kerekek körüli fémmentes tér nyitott kérdést alkot az ellenőrző-irányító és jelző alrendszerre vonatkozó ÁME A. melléklete 77. függelékének 3.1.3.5. pontjában említett előírásokban.
- A kerék anyagának mágneses mezőre vonatkozó jellemzőit az ellenőrző-irányító és jelző alrendszerre vonatkozó ÁME A. melléklete 77. hivatkozásának 3.1.3.6. pontjában említett előírásokban határozzák meg.
- EMC
-
- Az elektromágneses összeférhetőségre vonatkozó követelményeket az ellenőrző-irányító és jelző alrendszerre vonatkozó ÁME A. melléklete 77. függelékének 3.2.1. és 3.2.2. pontjában említett előírásokban határozzák meg.
- Az örvényáramú vagy mágneses vágányfékek használatából eredő elektromágneses zavar határértékei nyitott kérdést alkotnak az ellenőrző-irányító és jelző alrendszerre vonatkozó ÁME A. melléklete 77. függelékének 3.2.3. pontjában említett előírásokban.
4.2.3.3.1.3. A JÁRMŰ HUROKBERENDEZÉSEN ALAPULÓ VONATÉRZÉKELÉSI RENDSZERREL VALÓ KOMPATIBILITÁSI JELLEMZŐI
- A járművek felépítése
- A járművek fémtömege nyitott kérdést alkot az ellenőrző-irányító és jelző alrendszerre vonatkozó ÁME A. melléklete 77. függelékének 3.1.7.2. pontjában említett előírásokban.
4.2.3.3.2. A tengelycsapágy állapotának figyelemmel kísérése
Biztosítani kell a tengelycsapágy állapota figyelemmel kísérését.
Ez a vonaton lévő vagy pálya mellett elhelyezett berendezéssel is megengedett.
A vonaton lévő berendezésre vonatkozó követelmény ebben az ÁME-ben nyitott kérdés.
A tengelycsapágy állapotának pálya mellett elhelyezett berendezéssel történő ellenőrzése esetén a járműnek a következő követelményeknek kell megfelelnie:
- A jármű pálya menti berendezés számára látható részének az EN 15437-1:2009 szabvány 5.1. és 5.2. pontjában meghatározott területnek kell lennie.
- A tengelycsapágy üzem közbeni hőmérséklete nyitott kérdés.
Megjegyzés: a tengelyágyak tekintetében lásd még a 4.2.3.5.2.1. pontot.
4.2.3.4. A járművek dinamikai viselkedése
4.2.3.4.1. Féloldali vágánysüppedésen való kisiklással szembeni biztonság
Az egységet (vagy az egységet alkotó járműveket) úgy kell kialakítani, hogy biztosított legyen a süppedt vágányon való futás, figyelemmel a döntött és vízszintes vágány közötti átmeneti szakaszra és a keresztezések szintbeli eltéréseire. Az e követelménynek való megfelelést az EN 14363:2005 szabvány 4.1. pontjával összhangban, az alábbiak értékelésén keresztül kell hitelesíteni:
Vasúti munkagépek esetében a féloldali vágánysüppedésen való kisiklással szembeni biztonság jóváhagyott számítási módszerrel is igazolható. Amennyiben ez nem lehetséges, el kell végezni az EN 14363:2005 szabvány követelményeinek megfelelő vizsgálatokat.
Az EN 14363:2005 szabvány 4.1. pontja szerinti, féloldali vágánysüppedésen való futás vizsgálati feltételei a forgóvázzal és az egyes kerékpárokkal felszerelt gépekre is vonatkoznak.
4.2.3.4.2. Menetdinamikai viselkedés
a) Bevezetés
Ez a 4.2.3.4.2. pont a 60 km/h-nál nagyobb sebességre tervezett egységekre vonatkozik.
Nem vonatkozik a vasúti munkagépekre (vasúti infrastruktúra építését és karbantartását szolgáló mobil berendezések); a vasúti munkagépekre vonatkozó követelményeket a C. melléklet C.3. pontja tartalmazza.
A jármű dinamikai viselkedése erőteljes hatással van a kisiklás elleni biztonságra, a futási stabilitásra és a vágányterhelésre. Erre a biztonsági funkcióra e pont rendelkezései vonatkoznak. Szoftver használata esetében a szoftver fejlesztéséhez figyelembe veendő biztonsági szint nyitott kérdés.
b) Követelmények
Az egység menetdinamikai tulajdonságainak (futásbiztonság és vágányterhelés) ellenőrzésére az EN 14363:2005 szabvány 5. pontjában meghatározott eljárást és a billenőkocsis vonatok tekintetében az EN 15686:2010 szabványban meghatározott eljárást az alább (ebben a pontban és alpontjaiban) meghatározott eltérésekkel kell alkalmazni. A 4.2.3.4.2.1. és 4.2.3.4.2.2. pontban bemutatott paramétereket az EN 14363:2005 szabványban meghatározott szempontok használatával kell értékelni.
Az EN 14363:2005 szabvány 5.4.4.4. pontjában meghatározott, két különböző sínlejtésű pályán végzett vizsgálat helyett megengedett a vizsgálatok egy sínlejtés melletti végrehajtása, amennyiben igazolt az, hogy a vizsgálat lefedi az alábbiakban meghatározott érintkezésifeltétel-tartományt:
- Az egyenes vágány és a nagy sugarú ív egyenértékű kúposságának tan γe paraméterét úgy kell elosztani, hogy a vágányszakasz legalább 50 %-án a tan γe = 0,2 ± 0,05 a kerékpár +/-2 és +/-4 mm közötti oldalirányú kitérésének (y) amplitúdó tartományában legyen.
- Az EN 14363:2005 szabvány instabilitási kritériumát értékelni kell az alacsony frekvenciájú kocsimozgások tekintetében legalább két, 0,05 egyenértékű kúposságú vágányszakaszon (a vágányszakasz átlagértéke).
- Az EN 14363:2005 szabvány instabilitási kritériumát legalább két, az alábbi 1. táblázat szerinti egyenérték kúposságú vágányszakaszon kell értékelni.
-
1. táblázat
A vágányvizsgálathoz kapcsolódó érintkezési feltételek paraméterei
A jármű legnagyobb sebessége | Egyenértékű kúposság |
60 km/h < V ≤ 140 km/h | ≥ 0,50 |
140 km/h < V ≤ 200 km/h | ≥ 0,40 |
200 km/h < V ≤ 230 km/h | ≥ 0,35 |
230 km/h < V ≤ 250 km/h | ≥ 0,30 |
A vizsgálati jegyzőkönyvre az EN 14363:2005 szabvány 5.6. pontjában megadott követelményeken túlmenően a jegyzőkönyvnek a következő adatokat is tartalmaznia kell:
- Az egység vizsgálatához használt vágány minősége, amit az EN 13848-1:2003/A1:2008 szabványban meghatározott több paraméter egységes csoportjának figyelemmel kísérésével rögzítene. A választott paramétercsoport a rendelkezésre álló mérőeszközöktől függ.
- Az az egyenértékű kúposság, amelynek vonatkozásában az egységet vizsgálták.
A vizsgálati jegyzőkönyv a 4.2.12. pontban ismertetett dokumentáció része.
c) A vizsgálathoz és a vágányvizsgálatokhoz használt vágány minősége:
Vizsgálati feltételek: az EN 14363 szabvány határozza meg a vágányvizsgálatok referenciaként elfogadott vizsgálati feltételeit. Ezek a vizsgálati feltételek azonban a vizsgálat helye szerinti övezet korlátozásai miatt a következő területeken nem mindig megvalósíthatóak:
- a vágány geometriai minősége,
- a sebesség, az ív és a túlemelési elégtelenség kombinációi (az EN 14363 szabvány 5.4.2. pontja).
A vágány geometriai minőségét illetően nyitott kérdés a vizsgálatokhoz használt referenciavágány, ideértve a vágány minőségi paramétereit, amelyeket az EN 13848-1 szabvány határoz meg. Ezért e határértékek meghatározására a nemzeti szabályok vonatkoznak, amelyet amit az EN 13848-1 szabványnak megfelelően kell meghatározni annak értékelhetősége érdekében, hogy egy már elvégzett vizsgálat elfogadható-e.
4.2.3.4.2.1. A MENETBIZTONSÁG HATÁRÉRTÉKEI
Az egység által teljesítendő futási stabilitás határértékeket az EN 14363:2005 szabvány 5.3.2.2. pontja és billenő vonatokra az EN 15686:2010 szabvány határozza meg, a sínre gyakorolt irányító erő és a kerékre gyakorolt erő hányadosa (Y/Q) tekintetében a következő módosítással:
A sínre gyakorolt irányító erő és a kerékre gyakorolt erő hányadosa (Y/Q) határértékének túllépése esetén megengedhető az Y/Q becsült legnagyobb értékének újraszámítása a következő eljárás szerint:
- hozzunk létre egy legalább 300 m és legfeljebb 500 m sugarú vágányszakaszokból álló alternatív vizsgálati övezetet,
- a szakaszonkénti statisztikai feldolgozáshoz xi (97,5 %) helyett használjunk xi (99,85 %) értéket,
- az övezetenkénti statisztikai feldolgozáshoz a k = 3 (egydimenziós módszer használatakor) vagy a t (N - 2; 99 %) (kétdimenziós módszer használatakor) homogenitási együttható értéket cseréljük le a t (N-2; 95 %) homogenitási együtthatóra.
A vizsgálati jegyzőkönyvben mindkét (a számítás előtti és utáni) eredményt is fel kell jegyezni.
4.2.3.4.2.2. VÁGÁNYTERHELÉSI HATÁRÉRTÉKEK
Az EN 14363:2005 szabvány 5.3.2.3. pontja határozza meg az egység által szokásos módszerrel történő vizsgálat során teljesítendő vágányterhelési határértékeket az Yqst sínre gyakorolt kvázi statikus irányító erő kivételével.
Az Yqst sínre gyakorolt kvázi statikus irányító erő határértékei az alábbiakban kerülnek meghatározásra.
Az Yqst sínre gyakorolt kvázi statikus irányító erő határértékeit legalább 250 m-es és 400 m alatti ívsugarak tekintetében kell értékelni.
A jármű TEN-vonalakon való korlátozásmentes (ezen ÁME-ben meghatározott) üzemeléséhez a határérték a következő: (Yqst)lim = (30 + 10 500/Rm) kN
Ahol: Rm = az értékelésre használt vágányszakasz átlagsugara (méterben)
E határérték magas súrlódási viszonyok miatti túllépése esetében megengedett az övezet Yqst becsült értékének újraszámítása az "i" vágányszakaszon az egyes (Yqst)i értékek kicserélése után, amennyiben az (Y/Q)ir (a szakaszon a belső sínen az Y/Q átlagértéke) meghaladja a 0,40-t a következővel: (Yqst)i - 50[(Y/Q)ir - 0,4]. Az Yqst, a Qqst és az átlagos ívsugár (átszámítás előtti és utáni) értékét a vizsgálati jelentésben fel kell jegyezni.
Ha a Yqst értéke túllépi a fent kifejezett határértéket, az infrastruktúra korlátozhatja a jármű üzemi teljesítményét (pl. legnagyobb sebességét), a vágányjellemzőkre (pl. ívsugár, túlemelés, sínmagasság) figyelemmel.
Megjegyzés: az EN 14363:2005 szabványban meghatározott határértékek érvényesülnek a hagyományos vasúti infrastruktúrára vonatkozó ÁME 4.2.2. pontjában említett tengelyterhelés-tartományban; a magasabb tengelyterhelésre tervezett vágányok tekintetében harmonizált terhelési határértékeket nem határoztak meg.
4.2.3.4.3. Egyenértékű kúposság
A járműnyilvántartásban meg kell határozni és fel kell tüntetni az egység stabil tervezési sebesség és egyenértékű kúposság értékeinek tartományát. Ezeket az értékeket a tervezési és üzemi feltételek tekintetében is be kell tartani.
Az egyenértékű kúposságot a kerékpár oldalsó kitérésének amplitúdója (y) esetében az EN 15302:2008 szabványnak megfelelően kell kiszámítani:
— y = 3 mm, | if (TG – SR) ≥ 7 mm |
— [Kép #1] , | if 5 mm ≤ (TG – SR) < 7 mm |
— y = 2 mm, | if (TG – SR) < 5 mm |

Kép #1
ahol a TG a nyomtáv és SR a kerékpár aktív felületei közötti távolság (lásd az 1. ábrát.)
Az önállóan forgó kerekekkel felszerelt egységek mentesülnek az ezen ÁME 4.2.3.4.3. pontjában szereplő követelmények alól.
4.2.3.4.3.1. ÚJ KERÉKPROFILOK TERVEZÉSI ÉRTÉKEI
Ez a pont határozza meg a számításokkal annak biztosítása érdekében elvégzendő ellenőrzéseket, hogy az "új kerék" profilja és a kerekek aktív felületének távolsága megfelelő a TEN-hálózat hagyományos vasúti infrastruktúrára vonatkozó ÁME-nek megfelelő pályáinak.
A kerékprofilokat és a kerekek aktív felületei közötti távolságot (az 1. ábra szerinti szerinti SR méretet, § 4.2.3.5.2.1) úgy kell kiválasztani, hogy az egyenértékű kúposság ne lépje túl a 2. táblázatban (Egyenértékű kúposság tervezési határértékei) megállapított határértékeket, amikor a tervezett kerékpár a modellezés során áthalad a vágány 3. táblázatban (Vágányvizsgálati feltételek a TEN-hálózatra jellemző egyenértékű kúposság tekintetében) meghatározott vizsgálati feltételeinek reprezentatív mintáján.
2. táblázat
Egyenértékű kúposság tervezési határértékei
A jármű legnagyobb üzemi sebessége (km/h) | Az egyenértékű kúposság határértékei | Vizsgálati feltételek (lásd: 3. táblázat) |
≤ 60 | Nem alkalmazható | Nem alkalmazható |
> 60 és ≤ 190 | 0,30 | összes |
> 190 | A nagy sebességű járművekre vonatkozó ÁME-ben meghatározott értékek | A nagy sebességű járművekre vonatkozó ÁME-ben meghatározott feltételek |
3. táblázat
Vágányvizsgálati feltételek a TEN-hálózatra jellemző egyenértékű kúposság tekintetében
Vizsgálati feltétel sz. | Sínfejprofil | Síndőlés | Nyomtáv |
1. | Az EN 13674-1:2003 szabványban meghatározott 60 E 1 sínmetszet | 1:20 | 1 435 mm |
2. | Az EN 13674-1:2003 szabványban meghatározott 60 E 1 sínmetszet | 1:40 | 1 435 mm |
3. | Az EN 13674-1:2003 szabványban meghatározott 60 E 1 sínmetszet | 1:20 | 1 437 mm |
4. | Az EN 13674-1:2003 szabványban meghatározott 60 E 1 sínmetszet | 1:40 | 1 437 mm |
5. | Az EN 13674-1:2003/A1:2007 szabványban meghatározott 60 E 2 sínmetszet | 1:40 | 1 435 mm |
6. | az EN 13674-1:2003/A1:2007 szabványban meghatározott 60 E 2 sínmetszet | 1:40 | 1 437 mm |
7. | Az EN 13674-1 2003 szabványban meghatározott 54 E1 sínmetszet | 1:20 | 1 435 mm |
8. | Az EN 13674-1 2003 szabványban meghatározott 54 E1 sínmetszet | 1:40 | 1 435 mm |
9. | Az EN 13674-1 2003 szabványban meghatározott 54 E1 sínmetszet | 1:20 | 1 437 mm |
10. | Az EN 13674-1 2003 szabványban meghatározott 54 E1 sínmetszet | 1:40 | 1 437 mm |
Az EN 13715:2006 szabvány meghatározása szerint az aktív felületek között 1 420 és 1 426 mm közötti hézaggal rendelkező, le nem kopott S1002 vagy GV 1/40 kerékprofilokkal rendelkező kerékpárokról vélelmezik, hogy teljesítik e pont követelményeit.
4.2.3.4.3.2. A KERÉKPÁR EGYENÉRTÉKŰ KÚPOSSÁGÁNAK ÜZEM KÖZBENI ÉRTÉKEI
A jármű menetstabilitásának szabályozása érdekében szabályozni kell az egyenértékű kúposság üzem közbeni értékeit. A kölcsönös átjárhatóságot biztosító járművek kerékpárja kúposságának üzem közbeni célértékeit a vágánykúposság üzem közbeni célértékeivel együtt kell meghatározni.
A "vágánykúposság üzem közbeni értékei" a hagyományos vasúti infrastruktúrára vonatkozó ÁME-ben nyitott kérdést alkotnak; ezért "a kerékpár kúposságának üzemi értékei" ebben az ÁME-ben is nyitott kérdést képeznek.
Ezt a pontot kizárták a bejelentett szervezet általi értékelésből.
Amennyiben az egység egy adott vonalon üzemel, az egyenértékű kúposság üzemi értékeit az egységre (lásd a 4.2.3.4.3. pontot) és a hálózat helyi viszonyaira megadott határértékek figyelembevételével kell fenntartani.
4.2.3.5. Futómű
4.2.3.5.1. A forgóváz strukturális kialakítása
A forgóvázas egységek vonatkozásában a forgóvázat, a forgóváz keretét és minden ezekhez csatlakozó berendezést a kocsiszekrénnyel összekapcsoló szerkezet sértetlenségét az EN 13749:2005 szabvány 9.2. pontjában meghatározott módszerek alapján kell igazolni. A forgóváz kialakításának az EN 13749:2005 szabvány 7. pontjában meghatározott információkon kell alapulnia.
Megjegyzés: a forgóváz EN 13749:2005 szabvány 5. pontja szerinti besorolása nem szükséges.
A fent említett szabványban hivatkozott terhelési esetek alkalmazásakor a rendkívüli hasznos terhet kell a az ÁME 4.2.2.10. pontjában meghatározott "tervezési tömeg átlagos hasznos teher mellett", illetve az üzemi (fáradási) terhelést az ugyanitt meghatározott "tervezési tömeg átlagos hasznos teher mellett" feltételnek tekinteni.
A forgóváz mozgásából eredő terhelés értékeléséhez az EN 13749:2005 szabvány C. mellékletének megfelelően tett feltevéseket (képleteket és együtthatókat) indokolni és dokumentálni kell a 4.2.12. pontban ismertetett műszaki dokumentációban.
4.2.3.5.2. Kerékpárok
Ezen ÁME alkalmazásában a kerékpárok meghatározásának részét képezik a fő alkatrészek (tengely és kerekek) és a kiegészítő alkatrészek (tengelycsapágyak, tengelyágyak, sebességváltók és féktárcsák). A kerékpár tervezésekor és gyártásakor következetes módszertant kell követni az ÁME 4.2.2.10. pontjában meghatározott terhelési állapotoknak megfelelő terhelési eseteket használva.
4.2.3.5.2.1. A KERÉKPÁR MECHANIKAI ÉS GEOMETRIAI JELLEMZŐI
A kerékpárok mechanikai viselkedése:
A kerékpárok mechanikai viselkedésének biztosítania kell a jármű biztonságos mozgását.
A mechanikai jellemzők körébe a következők tartoznak:
- összeállítás,
- mechanikai ellenállás és fáradási jellemzők.
Az összeállítás megfelelősége igazolásának az EN 13260:2009 szabvány 3.2.1. és 3.2.2. pontján kell alapulnia, amely pontok a tengelyre ható erők és a kifáradás határértékeit, illetve a kapcsolódó ellenőrző vizsgálatokat határozzák meg.
A tengelyek mechanikai viselkedése:
Az összeállításra a fentiek szerint vonatkozó követelményeken túlmenően a tengely mechanikai ellenállási és kifáradási jellemzőknek való megfelelése igazolásának a nem hajtott tengelyek esetében az EN 13103:2009 szabvány 4., 5. és 6. pontján, illetve hajtott tengelyek esetében az EN 13104:2009 szabvány 4., 5. és 6. pontján kell alapulnia.
A megengedett igénybevételre vonatkozó döntési feltételeket nem hajtott tengelyek tekintetében az EN 13103:2009 szabvány 7. pontja, illetve hajtott tengelyek tekintetében az EN 13104:2009 szabvány 7. pontja határozza meg.
A tengely kifáradási jellemzőit (figyelemmel a tervezésre, a gyártási eljárásra és a tengelyek különféle kritikus területeire) 10 millió terhelési ciklusból álló kifáradási típusvizsgálattal kell igazolni.
A gyártott tengelyek ellenőrzése:
Lennie kell a gyártási szakaszban egy ellenőrzési eljárásnak annak biztosítására, hogy a tengelyek mechanikai jellemzőit semmilyen hiba ne mérsékelhesse.
Ellenőrizni kell a tengely anyagának szakítószilárdságát, ütésállóságát, felszíni épségét, anyagjellemzőit és anyagtisztaságát.
Az ellenőrzési eljárásnak meg kell határozni az egyes ellenőrizendő jellemzőkre használt mintavételi eljárást.
A tengelyágyak mechanikai viselkedése:
A tengelyágyat a mechanikai ellenállási és kifáradási jellemzők figyelembevételével kell megtervezni. Meg kell határozni az üzem közben elért hőmérsékleti határértékeket, és azokat fel kell jegyezni az ÁME 4.2.12. pontjában ismertetett műszaki dokumentációban.
A tengelycsapágy állapotának figyelemmel kísérését az ÁME 4.2.3.3.2. pontja határozza meg.
A kerékpárok geometriai méretei:
A kerékpárok 1. ábrán meghatározott geometriai méreteinek meg kell felelnie a 4. táblázatban meghatározott határértékeknek. Ezeket a határértékeket kell tervezési értéknek (új kerékpárok) és (karbantartási célokra használatos) üzemi határértéknek tekinteni (lásd még a 4.5. pontot).
4. áblázat
Kerékpárok geometriai méreteinek üzemi határértékei
Megnevezés | D kerékátmérő (mm) | Legkisebb érték (mm) | Legnagyobb érték (mm) |
Alrendszerrel kapcsolatos követelmények | |||
Előoldalak közötti távolság (SR) (az aktív felületek közötti távolság) SR = AR + Sd (bal oldali kerék) + Sd(jobb oldali kerék) | D > 840 | 1 410 | 1 426 |
760 < D ≤ 840 | 1 412 | ||
330 ≤ D ≤ 760 | 1 415 | ||
A két hátoldal közötti távolság (AR) | D > 840 | 1 357 | 1 363 |
760 < D ≤ 840 | 1 358 | ||
330 ≤ D ≤ 760 | 1 359 |
Az AR méretet a sínkoronán kell mérni. Meg kell felelni az AR és az SR értéknek megrakodott és üres állapotban. A gyártó a karbantartási dokumentációban az üzemi értékek tekintetében a fenti értékeken belüli kisebb tűrést is meghatározhat.
1. ábra

4.2.3.5.2.2. A KEREKEK MECHANIKAI ÉS GEOMETRIAI JELLEMZŐI
A kerekek jellemzői biztosítják a jármű biztonságos mozgását, és hozzájárulnak a jármű irányításához.
Mechanikai viselkedés:
A kerék mechanikai jellemzőit mechanikai erősségszámításokkal kell igazolni, három terhelési eset figyelembevételével: egyenes vágány (a kerékpár középponti helyzetben van), kanyar (a nyomkarima a sínnek nyomódik), egyes pontokon és kereszteződéseken való áthaladás (a nyomkarima belső felülete a sínnel érintkezik), az EN 13979-1:2003 szabvány 7.2.1. és 7.2.2. pontjában meghatározottak szerint.
Kovácsolt és hengerelt kerekek esetében a döntési feltételeket az EN 13979-1:2003/A1:2009 szabvány 7.2.3. pontja tartalmazza. Ha a számítások a döntési feltételeket meghaladó értékeket mutatnak, a megfelelőség értékeléséhez az EN 13979-1:2003/A1:2009 szabvány 7.3. pontja szerinti mérőpados vizsgálatot kell elvégezni.
Kovácsolt és hengerelt kerekek esetében a kifáradási jellemzőket (figyelemmel a felületi érdességre is) 10 millió terhelési ciklusból álló kifáradási típusvizsgálattal kell igazolni, 450 MPa (megmunkált keréktárcsa esetében) és 315 MPa (nem megmunkált keréktárcsa esetében) alatti kifáradási igénybevétellel, 99,7 %-os valószínűséggel. A kifáradási vizsgálat kritériumait kell alkalmazni az ER6, ER7, ER8 és ER9 minőségű acélokra; más acélminőség esetében a döntési feltételeket a többi anyag ismert kritériumaiból kell extrapolálni.
Másféle keréktípusok a nemzeti használatra korlátozott járművek esetén engedélyezettek. Ebben az esetben a döntési feltételeket és a kifáradási igénybevétel kritériumait nemzeti szabályokban kell meghatározni. Ezeket a nemzeti szabályokat a tagállamoknak a 3. cikknek megfelelően kell bejelenteniük.
Hőmechanikai viselkedés:
Ha az egység kerék futófelületére ható tuskókkal való fékezéséhez a kereket használják, a kereket a legnagyobb várható fékezési energia számításba vételével hőmechanikai szempontból is ellenőrizni kell. El kell végezni az EN 13979-1:2003/A1:2009 szabvány 6.2. pontjában leírt típusvizsgálatot annak ellenőrzése érdekében, hogy a nyomkarima fékezés közbeni oldalirányú elmozdulása és a maradékfeszültség a megadott tűréshatárokon belül marad.
Kovácsolt és hengerelt kerekek esetében a maradékfeszültségre vonatkozó döntési feltételeket ER 6 és ER 7 kerékanyag-minőség tekintetében az EN 13979-1:2003/A1:2009 szabvány 6.2.2. pontja határozza meg. Más acélminőségek esetében a maradékfeszültségre vonatkozó döntési feltételeket az ER6 és ER7 minőségű anyagok ismert kritériumaiból kell extrapolálni. Megengedett az EN 13979-1:2003/A1:2009 szabvány 6.3. pontja szerinti második vizsgálat, ha az elsődleges vizsgálat során túllépték a tervezési maradékfeszültség értékét. Ebben az esetben el kell végezni az EN 13979-1:2003/A1:2009 szabvány 6.4. pontja szerinti, terepen végzett féktesztet is.
Másféle keréktípusok a nemzeti használatra korlátozott járművek esetén engedélyezettek. Ebben az esetben a féktuskók használata miatti hőmechanikai viselkedést nemzeti szabályokban kell meghatározni. Ezeket a nemzeti szabályokat a tagállamoknak a 3. cikknek megfelelően kell bejelenteniük.
A gyártott tengelyek ellenőrzése:
Léteznie kell a gyártási szakaszban ellenőrzési eljárásnak annak biztosítására, hogy a kerekek mechanikai jellemzőit semmilyen hiba ne mérsékelhesse.
Ellenőrizni kell a kerék anyagának szakítószilárdságát, a futófelület keménységét, törésszilárdságát, ütésállóságát, anyagjellemzőit és anyagtisztaságát.
Az ellenőrzési eljárásnak meg kell határoznia az egyes ellenőrizendő jellemzőkre használt mintavételi eljárást.
Geometriai méretek:
A kerekek 2. ábrán meghatározott geometriai méreteinek meg kell felelnie az 5. táblázatban meghatározott határértékeknek. Ezeket a határértékeket kell tervezési értéknek (új kerék) és (karbantartási célokra használatos) üzemi határértéknek tekinteni (lásd még a 4.5. pontot).
5. táblázat
A kerekek geometriai méreteinek üzemi határértékei
Megnevezés | D kerékátmérő (mm) | Legkisebb érték (mm) | Legnagyobb érték (mm) |
A kerékkoszorú szélessége (BR + sorja) | D ≥ 330 | 133 | 145 |
A nyomkarima vastagsága (Sd) | D > 840 | 22 | 33 |
760 < D ≤ 840 | 25 | ||
330 ≤ D ≤ 760 | 27,5 | ||
A nyomkarima magassága (Sh) | D > 760 | 27,5 | 36 |
630 < D ≤ 760 | 29,5 | ||
330 ≤ D ≤ 630 | 31,5 | ||
A nyomkarima felülete (qR) | ≥ 330 | 6,5 |
2. ábra

Az önállóan forgó kerekekkel felszerelt egységeknek a kerekekkel foglalkozó e pont követelményein túl meg kell felelniük az ÁME 4.2.3.5.2.1. pontjában a kerékpárok mechanikai jellemzőire meghatározott követelményeknek is.
4.2.3.5.2.3. VÁLTOZTATHATÓ NYOMTÁVÚ KERÉKPÁROK
Ez a követelmény az európai szabványos névleges nyomtávolság és más nyomtávolság között változtatható nyomtávú kerékpárokkal felszerelt egységekre vonatkozik.
A kerékpárok átállító mechanizmusának biztosítania kell a kerék kívánt helyes tengelyállásban való biztonságos rögzítését.
Biztosítani kell a záró rendszer (zárt vagy nyitott) állásának kívülről szemrevételezéssel történő ellenőrzésének.
Ha a kerékpárt fékberendezéssel szerelték fel, biztosítani kell, hogy ez a berendezés is a helyes állásban legyen, és zárjon.
Az e pontban meghatározott követelmények teljesítésének értékelése nyitott kérdés.
4.2.3.6. Legkisebb ívsugár
A vizsgálandó legkisebb ívsugár:
- minden egység tekintetében 150 m.
4.2.3.7. Életvédelmi eszközök
Ez a követelmény a vezetőállással felszerelt egységekre vonatkozik.
A kerekeket óvni kell a sínen fekvő kisebb tárgyak okozta sérülésektől. Ez a követelmény a vonat menetirány szerinti első tengelye elé szerelt életvédelmi eszközzel teljesíthető.
Az életvédelmi eszköz alsó szélének a sín feletti magassága:
- legalább 30 mm minden körülmények között,
- legfeljebb 130 mm minden körülmények között,
figyelemmel különösen a kerékkopásra és a felfüggesztés összenyomódására.
Ha a 4.2.2.5. pontban meghatározott terelőlap alsó széle minden körülmények között 130 mm-nél közelebb van a sín síkjához, ez teljesíti az életvédelmi eszközre vonatkozó funkcionális követelményeket, és ezért megengedett az életvédelmi eszköz felszerelésének mellőzése.
Az életvédelmi eszközt úgy kell tervezni, hogy tartós alakváltozás nélkül elviseljen legalább 20 kN hosszirányú erőhatást. Ezt a követelményt számítással kell ellenőrizni.
Az életvédelmi eszközt úgy kell megtervezni, hogy a rugalmas alakváltozás közben ne nyúljon be a vágányra vagy a futóműbe és a futófelülettel való esetleges érintkezése ne keltsen kisiklási kockázatot.
4.2.4. Fékezés
4.2.4.1. Általános előírások
A vonatfékező rendszer célja annak biztosítása, hogy a vonat sebessége csökkenthető vagy lejtőn fenntartható legyen, illetve a vonat a megengedett legnagyobb féktávolságon belül megállítható legyen. A fékezés biztosítja a vonat leállítását is.
A fékhatásosságot befolyásoló elsődleges tényezők a fékerő (fékerő előállítása), a vonat tömege, a vonat gördülési ellenállása, a sebesség és a rendelkezésre álló tapadás.
A különböző vonat-összeállításokban üzemeltetett egységek egyéni teljesítményét úgy határozzák meg, hogy abból származtatható legyen a vonat összesített fékhatásossága.
A fékhatásosság meghatározása lassulási profilokkal (lassulás = F(sebesség) és a megfelelő fékkésedelmi idő) történik.
A féktávolságot, a fékerőszázalékot (ami "lambda" vagy "féksúlyszázalék" néven is ismert), a lefékezett tömeget is használják, és ezek a lassulási profilokból számítással levezethetőek (közvetlenül vagy a féktávolságon keresztül).
A fékhatásosság a vonat vagy jármű terhelésétől függően változó.
A vonat adott vonalon kívánt sebességgel történő üzemeltetéséhez szükséges legkisebb fékhatásosság függ a vonal jellemzőitől (jelzőrendszer, legnagyobb sebesség, lejtőszögek, a vonal biztonsági tűrésétől), és ez az infrastruktúra jellemzője.
A vonat vagy jármű fékhatásosságot jellemző fő adatait az ÁME 4.2.4.5. pontja határozza meg.
Az infrastruktúra és a járművek közötti e kapcsolódási pontra a hagyományos vasút üzemeltetésére vonatkozó ÁME 4.2.2.6.2. pontja vonatkozik.
4.2.4.2. Fő funkcionális és biztonsági követelmények
4.2.4.2.1. Funkcionális követelmények
Az alábbi követelmények valamennyi egységre vonatkoznak.
Az egységeket fel kell szerelni a következőkkel:
- üzem közben üzemi fékezésre és vészfékezésre használt fő fékfunkció,
- a vonat parkoló állásában használt rögzítőfék, amely határozatlan ideig és bármiféle, a járművön lévő energia nélkül teszi lehetővé fékerő kifejtését.
A vonat fő fékrendszere:
- folytonos: a fékezési jelet a központi vezérlőből egy vezérlővezeték továbbítja a teljes vonat számára,
- automata: a vezérlővezeték véletlen zavara (sérülése) a vonat összes járművén működésbe hozza a fékeket.
A fő fékfunkciót kiegészíthetik a 4.2.4.7. (dinamikus fék - vontatórendszerhez kapcsolt fékrendszerek) és/vagy a 4.2.4.8. (tapadási feltételektől független fékezési rendszerek) pontban ismertetett további fékrendszerek.
A fékezési energia szétszóródását a fékrendszer tervezésekor figyelembe kell venni, és az szokásos üzemi körülmények között nem okozhat semmiféle károsodást a fékrendszer alkatrészeiben. Ezt az ÁME 4.2.4.5.4. pontjában meghatározott számítással kell igazolni.
A jármű tervezésekor figyelembe kell venni a fék alkatrészei körül elért hőmérsékletet is.
A fékrendszer tervezésének részét kell képezniük az ÁME 4.2.4.9. pontjában meghatározott ellenőrző eszközök és vizsgálatok is.
A 4.2.4.2.1. pontban megadott további követelmények minden, vonatként üzemeltethető egységre vonatkoznak.
A 4.2.4.2.2. pontban kifejtett biztonsági követelményekkel összhangban a fékhatásosságot biztosítani kell a vezérlővezeték véletlen zavara esetén, a fékenergia-ellátás megszakadása, az áramellátás megszakadása vagy az energiaforrás más zavara esetére is.
A szükséges fékerő biztosítására különösen elegendő fékezési energiának kell rendelkezésre állnia a vonaton (tárolt energia), a fékrendszer kialakításának megfelelően vonat teljes hosszán elosztva.
A fékrendszer tervezésekor figyelembe kell venni a fék egymás utáni alkalmazását és kiengedését is (kimeríthetetlenség).
A vonat véletlen szétválása esetén a vonat mindkét részének meg kell állnia, de a vonat két részében a fékhatásosságnak nem kell megegyeznie a normál üzemi fékezési teljesítménnyel.
A fékenergia-ellátás vagy az áramellátás megszakadása esetén biztosítani kell a legnagyobb terhelésű (tervezési tömeg rendkívüli hasznos teher mellett) vonatnak egy 35 ‰-es lejtőn kizárólag a főfékrendszer súrlódó fékének használatával legalább két órán át történő megállítását.
Az egység fékvezérlési rendszerének három vezérlési módozattal kell rendelkeznie:
- Vészfékezés: előre meghatározott fékerőnek a vonat lehető legrövidebb idő alatt, meghatározott fékhatásosságszint mellett történő megállítása céljából történő kifejtése.
- Üzemi fékezés: változtatható fékerő alkalmazása a vonat sebességének szabályozására, ideértve a megállást és az ideiglenes leállítást.
- Rögzítőfék: fékerő alkalmazása a vonat (vagy jármű) tartósan leállított állapotban történő megtartására, a vonaton rendelkezésre álló energia nélkül.
A fékezésre vonatkozó parancsnak vezérlési módtól függetlenül kell vezérelnie a fékrendszert, aktív fékkioldási parancs esetén is. Megengedhető e követelmény alkalmazásának mellőzése a fékezési parancs vezető általi szándékos felülírása (pl. utasok által működésbe hozható riasztó hatástalanítása, szétkapcsolás...) esetében.
Az 5 km/h-t meghaladó sebesség tekintetében a fékezés miatti legnagyobb hirtelen rángatás nem érheti el a 4 m/s3-t.
A rángatás mértéke levezethető számítással és a fékvizsgálatok során mért lassulási viselkedés értékeléséből is.
4.2.4.2.2. Biztonsági követelmények
A fékrendszer a vonat megállításának eszköze, ezért hozzájárul a vasúti rendszer biztonsági szintjéhez.
- Különösen a vészfékezési rendszer és a hatásosság olyan járműtulajdonságok, amelyeket az ellenőrző-irányító-jelző alrendszer használ.
A 4.2.4.2.1. pontban ismertetett funkcionális követelmények hozzájárulnak a fékrendszer biztonságos működésének biztosításához; ennek ellenére az érintett összetevők nagy száma miatt a fékhatásosság értékelése kockázati megközelítést igényel.
Az alábbi 6. táblázat a vizsgált veszélyeket és a teljesítendő megfelelő biztonsági követelményeket ismerteti.
6. táblázat
Fékrendszer - biztonsági követelmények
A teljesítendő biztonsági előírás | |||
Veszély | Súlyosság/Megelőzendő következmény | A hibakombinációk legkisebb megengedhető száma | |
1. sz. | Vezetőállással felszerelt egységekre vonatkozik (fékvezérlés) | ||
A vészfékezési parancs kiadásakor a vonat nem lassul a fékrendszer meghibásodása (a fékerő teljes és tartós kiesése) miatt Megjegyzés: vizsgálandó a mozdonyvezető vagy az ellenőrző-irányító-jelző rendszer általi aktiválás. Utasok általi aktiválás (riasztás) nem vizsgálandó. | súlyos | 2 (hiba egyáltalán nem elfogadható) | |
2. sz. | Vontató berendezéssel felszerelt egységekre vonatkozik | ||
A vészfékezési parancs kiadásakor a vonat nem lassul a vontató rendszer meghibásodása (a vonóerő teljes és tartós kiesése) miatt. | súlyos | 2 (hiba egyáltalán nem elfogadható) | |
3. sz. | Minden egységre vonatkozik | ||
A vészfékezési parancs kiadásakor a fékút a fékrendszer meghibásodása miatt a normál fékútnál hosszabb. Megjegyzés: a normál üzemmódbeli teljesítményt a 4.2.4.5.2. pont határozza meg. | NA | Azonosítani kell a fékutat 5 %-nál nagyobb mértéken növelő egyes hibákat és meg kell határozni a fékút növekedését. | |
4. sz. | Minden egységre vonatkozik | ||
A rögzítőfék aktiválása után nincs rögzítő fékerő (a rögzítőfékerő teljes és tartós kiesése). | NA | 2 (hiba egyáltalán nem elfogadható) |
A "súlyos következmény" meghatározása a közös biztonsági módszerről szóló rendelet 3. cikkének 23. pontjában található.
A biztonsági vizsgálat során vizsgálhatóak a további fékrendszerek is a 4.2.4.7. és 4.2.4.8. pontban meghatározott feltételek szerint.
4.2.4.3. A fékrendszer típusa
Az általános üzemre (különböző eredetű járművek különféle összeállításai; a tervezési szakaszban a vonat-összeállítás nem kerül meghatározásra) tervezett és értékelt egységeket az UIC-fékrendszerrel kompatibilis fékcsövekkel ellátott fékrendszerrel kell felszerelni. Ebből a célból az alkalmazandó elveket az EN 14198:2004 "Követelmények mozdonnyal vontatott vonatok fékrendszerére" szabvány 5.4. "UIC-fékrendszer" pontja határozza meg.
E követelmény meghatározásának célja a vonat különböző eredetű járművei között a fékfunkció műszaki kompatibilitásának biztosítása.
Nincs követelmény a fix vagy előre meghatározott összeállításban értékelt egységek (vonatszerelvények vagy járművek) fékegységeinek típusa tekintetében.
4.2.4.4. Fékvezérlés
4.2.4.4.1. Vészfékezés vezérlése
Ez a pont a vezetőállással felszerelt egységekre vonatkozik.
Legalább két független vészfékezés-vezérlő berendezésnek kell rendelkezésre állnia, amelyek lehetővé teszik a mozdonyvezető számára a vészfék egyszerű és egy mozdulattal szokásos vezetési pozícióban, egy kézzel történő működtetését.
E két eszköz egymást követő működtetése a 4.2.4.2.2. pontban található 6. táblázat 1. követelménye teljesítésének tekinthető.
Az eszközök egyikének vörös nyomógombnak kell lennie (gomba alakú nyomógomb).
E két eszköz működtetett állapoti vészfékezési állásának mechanikus eszközzel önzárónak kell lennie, állásuk kioldása csak szándékos mozdulattal lehet lehetséges.
Biztosítani kell a vészfék hagyományos vasúti ellenőrző-irányító-jelző rendszerre vonatkozó ÁME-ben meghatározott fedélzeti ellenőrző-irányító-jelző berendezés általi működtetésének is.
A vezérlés visszavonásának hiányában a vészfék működtetésének tartósan, automatikusan és 0,25 másodpercen belül a következő eredményre kell vezetnie:
- a vészfékvezérlésnek a fékvezérlő vezetéken keresztül meghatározott, 250 m/s sebességnél gyorsabb átviteli sebességgel való továbbítása a vonat teljes hosszán,
- az összes vonóerő 2 másodpercnél rövidebb időn belüli kiiktatása, a vonóerő mindaddig nem állhat vissza, ameddig a vontatásvezérlést a mozdonyvezető nem kapcsolja ki,
- valamennyi "fékkioldás" parancs vagy művelet letiltása.
4.2.4.4.2. Üzemi fékezés vezérlése
Ez a pont a vezetőállással felszerelt egységekre vonatkozik.
Az üzemi fékfunkciónak lehetővé kell tennie a mozdonyvezető számára a fékerő legkisebb és legnagyobb fékerőtartományban legalább 7 lépésben (beleértve a teljes fékkioldást és a legnagyobb fékerő kifejtését) történő állítását (működtetéssel vagy kioldással) a vonat sebességének irányítása érdekében.
A vonatban csak egy üzemifék-vezérlés lehet működőképes. E követelmény teljesítéséhez biztosítani kell az üzemi fékfunkciónak a fix és előre meghatározott vonat-összeállítás egységei más üzemifék-vezérléséről (vezérléseiről) történő leválasztását.
Amennyiben a vonat sebessége 15 km/h-nál nagyobb, az üzemi fék működtetésének automatikusan az összes vonóerő kiiktatását kell eredményeznie; a vonóerő mindaddig nem állhat vissza, ameddig a vontatásvezérlést a mozdonyvezető nem kapcsolja ki.
Megjegyzés: 15 km/h sebesség felett adott célokra (jégmentesítés, a fékalkatrészek tisztítása...) használhatóak súrlódásos fékek vonóerővel együttesen. E sajátos funkciók használata az üzemi fék működtetése közben nem lehet lehetséges.
4.2.4.4.3. Közvetlen fékezés vezérlése
Az általános üzemre értékelt mozdonyokat (áruszállító vagy személyszállító kocsik vontatására tervezett egységeket) közvetlen fékrendszerrel kell felszerelni.
A közvetlen fékrendszer lehetővé teszi a féknek csak az érintett egység(ek)en történő működtetését, miközben a többi egység(ek) fékezetlen(ek) marad(nak).
4.2.4.4.4. Dinamikus fékezés vezérlése
Ha valamely egységet dinamikus fékrendszerrel szereltek fel:
- A mozdonyvezető számára lehetségesnek kell lennie a villamos egységeken a visszatápláló fékezés használata kiiktatásának úgy, hogy ne történjen energia-visszatáplálás a felsővezetékbe olyan vonalon haladáskor, amely ezt nem engedi meg (lásd a hagyományos vasút energiaellátására vonatkozó ÁME 4.2.7. pontját).
- A visszatápláló féket lásd a 4.2.8.2.3. pontban.
- Megengedett a dinamikus fék más fékrendszerektől független vagy azokkal együttes használata (vegyítés).
4.2.4.4.5. Rögzítő fékezés vezérlése
Ez a pont valamennyi egységre vonatkozik.
A rögzítő fékezés vezérlésének a meghatározott fékerő határozatlan ideig történő kifejtését kell eredményeznie, amely idő alatt előfordulhat, hogy a vonat energiaellátása szünetel.
Bármely helyzetben lehetségesnek kell lennie a rögzítőfék álló helyzetben történő manuális kioldásának.
Fix vagy előre meghatározott összeállításban értékelt egységek és általános üzemre értékelt mozdonyok esetében a rögzítőféknek az egység lekapcsolásakor automatikusan működésbe kell lépnie.
Más egységek esetében a rögzítőfék működtethető manuálisan vagy az egység kikapcsolásakor automatikusan is működésbe léphet.
Megjegyzés: a rögzítő fékezés függhet az üzemi fék állásától, működnie kell, ha az üzemi fékezéshez szükséges fedélzeti energia csökkenése vagy kiesése várható.
4.2.4.5. Fékhatásosság
4.2.4.5.1. Általános előírások
Az egység (vonatszerelvény vagy jármű) fékhatásosságát (lassulás = F(sebesség) és a megfelelő fékkésedelmi idő) az EN 14531-6:2009 szabványban meghatározottak szerint, vízszintes vágány figyelembevételével kell kiszámítani.
Minden számítást el kell végezni új, félig kopott és kopott kerekekre és a számításnak ki kell térnie a szükséges síntapadási szintre (lásd a 4.2.4.6.1. pontot).
Indokolni kell a súrlódásos fékberendezések által használt és a számításokhoz figyelembe vett súrlódási együtthatót (lásd az EN 14531-1:2005 szabvány 5.3.1.4. pontját).
A fékhatásosság számítását két vezérlési módra kell elvégezni: vészfékezésre és az üzemi fékezés legmagasabb fokára.
A fékhatásosság számítását tervezési szakaszban kell elvégezni és azt a 6.2.2.2.5. és 6.2.2.2.6. pont szerinti fizikai vizsgálatok után a vizsgálati eredményekkel való konzisztencia érdekében felül kell vizsgálni (paraméterkorrekció).
A végleges (vizsgálati eredményekkel konzisztens) fékhatásosság számítása a 4.2.12. pontban ismertetett dokumentáció része.
Az összes fék használatával (beleértve a kerék/sín tapadástól független fékeket is) elért átlagos legnagyobb lassulásnak 2,5 m/s2 alatt kell lennie, ez a követelmény a vágány hosszirányú ellenállásához kapcsolódik (kapcsolódási pont az infrastruktúrával; lásd a hagyományos vasúti infrastruktúrára vonatkozó ÁME 4.2.7.2. pontját).
4.2.4.5.2. Vészfékezés
Fékkésedelmi idő:
Fix vagy előre meghatározott összeállítás(ok)ban értékelt egységek esetében a vészfékezési parancsra kifejtett teljes vészfékezési erő tekintetében értékelt megfelelő reakcióidőnek ( 16 ) és a késleltetési időnek (16) a következő értékeknél alacsonyabbnak kell lennie:
- megfelelő fékkésedelmi idő: 5 másodperc,
- késleltetési idő: 2 másodperc.
Általános üzemre értékelt egységek esetében a fékkésedelmi időnek az UIC-fékrendszerekre meghatározott időnek kell lennie (lásd még a 4.2.4.3. pontot: a fékrendszernek kompatibilisnek kell lennie az UIC-fékrendszerrel).
A lassulás kiszámítása:
A vészfékezési teljesítmény számítását minden egységre az EN 14531-6:2009 szabványnak megfelelően kell végezni a fékrendszer normál üzemmódjában; a lassulási profilt és a megállási távolságot a következő induló sebességről kell meghatározni (ha a legnagyobb sebességnél alacsonyabb): 30 km/h; 80 km/h; 120 km/h; 140 km/h; 160 km/h; 200 km/h.
Az EN 14531-1:2005 szabvány 5.12. pontja határozza meg, hogy a többi paraméter [féksúlyszázalék, (lambda), fékezett tömeg] miként vezethető le a lassulás számításából vagy az egység megállási távolságából.
Az általános üzemre tervezett és értékelt egységek esetében meg kell határozni a féksúlyszázalékot (lambda) is.
A vészfékhatásosság számítását a fékrendszer két vezérlési módjára kell elvégezni:
- Normál üzemmód: a fékrendszerben hiba nincs jelen és a súrlódásos fékberendezés a névleges (száraz viszonyoknak megfelelő) súrlódási együtthatót használja. Ez a számítás a fékhatásosságot normál módra adja meg.
- Korlátozott mód: megfelel a 4.2.4.2.2. pont 3. sz. veszélyesetében tárgyalt meghibásodásnak és a súrlódásos fékberendezés a névleges súrlódási együtthatót használja. A korlátozott mód lehetséges egyedi hibákat vesz figyelembe. Ebből a célból meg kell határozni a vészfékhatásosságot a fékutat 5 %-nál nagyobb mértékben növelő egyes hibákra és egyértelműen azonosítani kell a vonatkozó hibát (az érintett összetevővel és a hibamóddal, valamint ha rendelkezésre áll, a hibaaránnyal együtt).
- Korlátozott körülmények: ezen túlmenően el kell végezni a vészfékhatásosság számítását csökkentett súrlódási együttható értékekkel, figyelembe véve a hőmérséklet és páratartalom határértékeit (lásd az EN 14531-1:2005 szabvány 5.3.1.4. pontját).
Megjegyzés: Ezeket a különböző módokat és feltételeket különösen akkor kell figyelembe venni, ha a vasúti rendszer optimalizálását célzó fejlett ellenőrző-irányító-jelző rendszereket (például ETCS) építenek ki.
A vészfékhatásosság számítását a 4.2.2.10. pontban az alábbiak szerint meghatározott három terhelési állapotra:
- legkisebb terhelés: "tervezési tömeg menetkész állapotban",
- átlagos terhelés: "tervezési tömeg átlagos hasznos teher mellett",
- legnagyobb terhelés: "tervezési tömeg rendkívüli hasznos teher mellett".
4.2.4.5.3. Üzemi fékezés
A lassulás kiszámítása:
Az üzemi fékhatásosság számítását minden egységre az EN 14531-6:2009 szabványnak megfelelően kell végezni a fékrendszer normál üzemmódjában, a súrlódásos fékberendezés által a "tervezési tömeg átlagos hasznos teher mellett" terhelési állapotra a legnagyobb tervezési sebességen használt súrlódási együttható névleges értékével.
A legnagyobb üzemi fékhatásosság:
Amennyiben az üzemi fékezés tervezési teljesítménykapacitása meghaladja a vészfékezését, lehetségesnek kell lennie a legnagyobb üzemi fékhatásosság vészfékezési teljesítmény szintje alá történő korlátozásának (a fékvezérlő berendezés kialakításával vagy karbantartási tevékenységként).
Megjegyzés: Egy tagállam kérheti, hogy a vészfékezési teljesítmény biztonsági okokból a legnagyobb üzemi fékhatásosságnál magasabb szintű legyen, de semmi esetre nem gátolhatja meg a vasúttársaságot magasabb üzemi fékhatásosság használatában, kivéve, ha az adott tagállam igazolni tudja, hogy az veszélyezteti a nemzeti biztonsági szintet.
4.2.4.5.4. Hőkapacitással kapcsolatos számítások
Ez a pont valamennyi egységre vonatkozik.
Vasúti munkagépek tekintetében megengedett e követelmény kerekeken és fékberendezésen történő hőmérsékletméréssel történő igazolása.
A fékenergia-kapacitást számítással kell igazolni annak bizonyításával, hogy a fékrendszer tervezése folytán ellenáll a fékezési energia szétszóródásának. Az ebben a számításban a fékrendszer összetevői tekintetében használt referenciaértékeket hővizsgálattal vagy korábbi tapasztalatokkal kell validálni.
Ennek a számításnak része a "tervezési tömeg rendkívüli hasznos teher mellett" terhelési állapot mellett vízszintes vágányon a legnagyobb sebességről 2 alkalommal egymás után történő vészfékezés esete (az időköz a vonat legnagyobb sebességre történő felgyorsításához szükséges idő).
Az önmagukban vonatként nem üzemeltethető egységek esetében a két egymást követő vészfékezés közötti időközt jegyzőkönyvezni kell.
A "tervezési tömeg rendkívüli hasznos teher mellett" terhelési állapotra a vonat állandó üzemi sebességének üzemi fékezéssel való fenntartásával számítással meg kell határozni azt a legnagyobb vonallejtést, a kapcsolódó hosszúságot és üzemi sebességet, amelyre a fékrendszert a termális fékenergia-kapacitáshoz viszonyítva tervezték.
Javasolt a vizsgálandó lejtőre a következő "referenciaeset": 80 km/h sebesség tartása 46 km-en át 21 ‰ állandó lejtési szögű lejtőn.
4.2.4.5.5. Rögzítőfék
Teljesítmény:
Álló helyzetben kell tartani a 35 ‰ lejtési szögű lejtőn tartósan megállított, a "tervezési tömeg menetkész állapotban" terhelési állapotra terhelt és áramellátás nélküli egységet (vonatot vagy járművet).
Az álló helyzet elérhető a rögzítőfék funkcióval és kiegészítő eszközökkel (pl. féksarukkal) olyan esetben, ha a rögzítőfék nem képes önmagában erre a teljesítményre. A szükséges további eszközöknek a vonaton rendelkezésre kell állniuk.
Számítás:
Az egység (vonatszerelvény vagy jármű) rögzítőfék-hatásosságát az EN 14531-6:2009 szabványban meghatározottak szerint kell kiszámítani.
4.2.4.6. A kerék és a sín közötti tapadás profilja - csúszásgátló rendszer
4.2.4.6.1. A kerék és a sín közötti tapadás profiljának határértéke
Az egység fékrendszerét úgy kell megtervezni, hogy a dinamikus fék nélküli üzemi fékhatásosság és a vészfékhatásosság a 30 km/h feletti sebességtartományban ne feltételezzen az alábbi értékeknél magasabb számított kerék/sín tapadást:
- 0,15 mozdonyok, utasok szállítására tervezett és általános üzemre értékelt egységek, fix vagy előre meghatározott összeállítás(ok)ban értékelt és 7-nél több, de 16-nál kevesebb tengellyel rendelkező egységek esetében,
- 0,13 fix vagy előre meghatározott összeállítás(ok)ban értékelt és legfeljebb 7 tengellyel rendelkező egységek esetében,
- 0,17 fix vagy előre meghatározott összeállítás(ok)ban értékelt és legalább 20 tengellyel rendelkező egységek esetében. A tengelyek legkisebb száma 16-ra csökkenthető, ha a 4.2.4.6.2. pontban a WSP-rendszer hatásosságára előírt vizsgálatok pozitív eredményt adnak; egyébként 16 és 20 tengely között 0,15-öt kell használni a kerék/sín tapadás korlátozott értékeként.
A fenti követelmény vonatkozik a 4.2.4.4.3. pontban ismertetett közvetlen fékezés vezérlésére is.
A rögzítőfék-teljesítmény számításakor az egység tervezésekor nem szabad 0,12 feletti kerék/sín tapadást feltételezni.
A kerék/sín tapadás e határértékeit számítással kell ellenőrizni a legkisebb kerékátmérő és a 4.2.4.5. pontban ismertetett 3 terhelési állapot figyelembevételével.
Valamennyi tapadási értéket két tizedesre kell kerekíteni.
4.2.4.6.2. Csúszásgátló rendszer
A csúszásgátló rendszer (WSP) a rendelkezésre álló tapadás legjobb kihasználására tervezett rendszer a fékerő ellenőrzött csökkentésével és helyreállításával, a kerékpárok blokkolásának és ellenőrizetlen csúszásának a megakadályozása és így a féktávolság növekedésének és az esetleges kerékkárosodásnak a megakadályozása érdekében.
A WSP-rendszer egységen való jelenlétére és használatára vonatkozó követelmények:
- A 150 km/h feletti legnagyobb sebességre tervezett egységeket fel kell szerelni csúszásgátló rendszerrel.
- A kerék futófelületén féktuskókkal felszerelt és 0,12-nél magasabb számított kerék/sín tapadást feltételező egységeket fel kell szerelni csúszásgátló rendszerrel.
- A kerék futófelületén féktuskókkal fel nem szerelt és 0,11-nél magasabb számított kerék/sín tapadást feltételező egységeket fel kell szerelni csúszásgátló rendszerrel.
- A csúszásgátló rendszerre vonatkozó fenti követelmények két fékezési módra vonatkoznak: vészfékezésre és az üzemi fékezésre.
- Vonatkoznak az üzemi fékrendszer és esetlegesen a vészfékezés részét alkotó dinamikus fékrendszerre is (lásd a 4.2.4.7. pontot).
A WSP-rendszer teljesítményére vonatkozó követelmények:
- Dinamikus fékrendszerrel felszerelt egységek esetében a WSP-rendszer (ha a fenti pont szerint van) szabályozza a dinamikus fékerőt; ha ez a WSP-rendszer nem elérhető, a dinamikus fékerőt le kell tiltani vagy korlátozni kell, hogy ne eredményezzen 0,15 feletti kerék/sín tapadási határértéket.
- A csúszásgátló rendszert az EN 15595:2009 szabvány 4. pontja szerint kell megtervezni és ellenőrzésére a EN 15595:2009 szabvány 5 és 6. pontjában meghatározott módszertant kell használni; az EN 15595:2009 szabvány 6.2. "A szükséges vizsgálati programok áttekintése" pontjára hivatkozáskor csak a 6.2.3. pontot kell alkalmazni és az valamennyi egységtípusra vonatkozik.
Ha az egységet WSP-vel felszerelték, vizsgálatot kell végezni a WSP-rendszer hatékonyságának ellenőrzésére (a féktávolság legnagyobb növekedése a száraz sínen valóféktávolsághoz képest), az egységbe beszereléskor.
A csúszásgátló rendszer vonatkozó összetevőit figyelembe kell venni a vészfékezési funkció 4.2.4.2.2. pontban előírt biztonsági értékelésekor.
4.2.4.7. Dinamikus fék - vontatórendszerhez kapcsolt fékrendszer
Amennyiben a 4.2.4.5.2. pontban meghatározott normál üzemmódban a vészfékezés teljesítményében benne van a vontatórendszerhez kapcsolt dinamikus fék vagy fékrendszerek teljesítménye, a dinamikus féket vagy vontatórendszerhez kapcsolt fékrendszert:
- a fő fékrendszer vezérlővezetékének kell vezérelnie (lásd a 4.2.4.2.1. pontot),
- figyelembe kell venni a vészfékezési funkcióra a 4.2.4.2.2. pontban meghatározott 3.biztonsági követelményhez szükséges biztonsági értékelésben,
- alá kell vetni a "vészfékezési parancs kiadásakor a fékerő teljes és tartós kiesése" veszélyre kiterjedő biztonsági értékelésnek.
Megjegyzés: villamos egységek tekintetében ennek az értékelésnek ki kell terjednie azokra a meghibásodásokra, amelyek az egység külső áramforrásból érkező feszültségének kiesésére vezetnek.
4.2.4.8. A tapadási feltételektől független fékrendszerek
4.2.4.8.1. Általános előírások
A kerék/sín tapadástól függetlenül a sínre alkalmazott fékerő keltésére képes fékrendszerek a további fékhatásosságot adó eszközök, ha a kért teljesítmény nagyobb a rendelkezésre álló kerék/sín tapadási határértéknek megfelelő teljesítménynél magasabb (lásd a 4.2.4.6. pontot).
Megengedett a kerék és a sín tapadásától független fékek hozzájárulásának szerepeltetése a 4.2.4.5. pontban meghatározott normál vészfékezési fékhatásosságban. Ilyen esetben a tapadási feltételektől független fékrendszert:
- a fő fékrendszer vezérlővezetékének kell vezérelnie (lásd a 4.2.4.2.1. pontot),
- figyelembe kell venni a vészfékezési funkcióra a 4.2.4.2.2. pontban meghatározott 3. sz. biztonsági követelményhez szükséges biztonsági értékelésben,
- alá kell vetni a "vészfékezési parancs kiadásakor a fékerő teljes és tartós kiesése" veszélyre kiterjedő biztonsági értékelésnek.
4.2.4.8.2. Mágneses vágányfék
A mágneses vágányfékekre vonatkozó, az ellenőrző-irányító-jelző alrendszerben meghatározott követelményekre ezen ÁME 4.2.3.3.1. pontja hivatkozik.
Megengedett a mágneses vágányfék vészfékként történő használata a hagyományos vasúti infrastruktúrára vonatkozó ÁME 4.2.7.2. pontjában említettek szerint.
A vágánnyal érintkező mágnes geometriai jellemzőinek és záróelemeinek az UIC 541-06:Jan 1992 3. mellékletében ismertetett típusok egyikének kell megfelelnie.
4.2.4.8.3. Örvényáramú fék
Ez a pont csak a jármű és a sín között fékerőt keltő örvényáramú fékekre vonatkozik.
Az örvényáramú fékekre vonatkozó, az ellenőrző-irányító-jelző alrendszerben meghatározott követelményekre ezen ÁME 4.2.3.3.1. pontja hivatkozik.
A hagyományos vasúti infrastruktúrára vonatkozó ÁME 4.2.7.2. pontja szerint az örvényáramú fékek használatának feltételei nem harmonizáltak.
Ezért az örvényáramú fékek által teljesítendő követelmények nyitott kérdést alkotnak.
4.2.4.9. Fékállapot- és hibajelzés
A vonatszemélyzet rendelkezésére álló információknak lehetővé kell tenniük a jármű korlátozott módjának (a fékhatásosság a szükségesnél alacsonyabb), amelyre különleges üzemeltetési szabályok vonatkoznak.
Ebből a célból lehetségesnek kell lennie az üzemeltetés egyes szakaszaiban a vonatszemélyzet számára a fő (vészfék- és üzemifék-) és a rögzítő fékrendszerek (működtetett, kioldott vagy leválasztott), illetve e rendszerek függetlenül irányítható és/vagy leválasztható egyes részei állásának megállapítását.
Ha a rögzítőfék mindig közvetlenül függ a fő fékrendszer állásától, a rögzítő fékrendszerre további vagy külön jelzés nem szükséges.
Üzem közben az álló és a haladási fázis vehető figyelembe.
Álló helyzetben a vonatszemélyzet számára lehetségesnek kell lennie az alábbiak vonatból és/vagy vonaton kívülről történő ellenőrzésére:
- a vonat fékvezérlő utasításokat továbbító vezetékének épsége,
- a fékenergia-ellátás vonat teljes hosszán való rendelkezésre állása,
- a fő és rögzítő fékrendszerek állása és e rendszerek egyes függetlenül irányítható és/vagy leválasztható (e pont első bekezdésében leírtak szerinti) részeinek állása (ideértve egy vagy több működtető berendezést), a dinamikus fék és a vontatórendszerhez kapcsolt fékrendszerek kivételével.
Haladás közben a mozdonyvezető számára biztosítani kell a vezetőállásban vezetés közben elfoglalt helyéről a következők ellenőrzését:
- a vonat fékvezérlő utasításokat továbbító vezetékének állapota,
- a fék-energiaellátás állapota,
- a fékhatásságban figyelembe vett dinamikus fék és a vontatórendszerhez kapcsolt fékrendszerek állása,
- a fő fékrendszer legalább egy, függetlenül működtetett részének (működtető berendezés) állása (pl. az a rész, amely az aktív vezetőállással felszerelt járműre szereltek).
A fent leírt információkat a vonatszemélyzet számára továbbító funkció biztonsággal kapcsolatos, mivel azt a vonatszemélyzet a vonat fékhatásosságának értékelésére használja. Amennyiben a jelzőműszerek helyi adatokat adnak, a harmonizált jelzőműszerek használata biztosítja a szükséges biztonsági szintet. Amennyiben egy központi vezérlőrendszer teszi lehetővé a vonatszemélyzet számára az összes ellenőrzés egy helyszínről (pl. a vezetőállásból) való elvégzését, a vezérlőrendszer biztonsági szintje nyitott kérdés.
Az általános üzemre szánt egységekre való alkalmazhatóság:
A csak az egység tervezési tulajdonságai tekintetében jelentőséggel bíró funkciókat (pl. vezetőállás meglétét...) kell vizsgálni.
Dokumentálni kell az egység és a vonatban lévő más összekapcsolt egység(ek) közötti, a fékrendszerre vonatkozó, vonatszinten szükséges (ha van ilyen) információk tekintetében történő jeltovábbítást, figyelemmel a funkcionális vonatkozásokra.
Ez az ÁME nem ír elő semmiféle műszaki megoldást az egységek közötti fizikai kapcsolódási pontokra.
4.2.4.10. Mentési célú fékkövetelmények
Valamennyi féket (vész-, üzemi, rögzítő féket) fel kell szerelni a kioldásukat és leválasztásukat lehetővé tevő eszközökkel. Ezeknek az eszközöknek hozzáférhetőnek és működőképesnek kell lenniük, függetlenül attól, hogy a vonat vagy jármű: motoros, nem motoros vagy áll, fedélzeti energia nélkül.
Biztosítani kell a vonatnak fedélzeten rendelkezésre álló energia hiányában egy UIC-fékrendszerrel kompatibilis (a fékvezérlő utasításokat továbbító vezeték helyett fékcsöves) pneumatikus fékrendszerrel felszerelt mentő motoros egységgel történő mentését, és a mentett vonat fékrendszere egy részének egy kapcsolódó eszközzel történő vezérlését.
Megjegyzés: a mechanikus kapcsolódási pontot lásd ezen ÁME 4.2.2.2.4. pontjában.
A mentett vonat által e sajátos üzemmódban kifejtett fékhatásosságot számítással kell értékelni, de ennek nem kell megegyeznie a 4.2.4.5.2. pontban ismertetett fékteljesítménnyel. A számított fékhatásosságnak szerepelnie kell a 4.2.12. pontban ismertetett műszaki dokumentációban.
Ez a követelmény nem érvényes azokra az egységekre, amelyek ("tervezési tömeg menetkész állapotban" terhelési állapot mellett) 200 tonna alatti vonat-összeállításban üzemelnek.
4.2.5. Személyszállítási elemek
Kizárólag tájékoztatási célokból a következő példálózó lista ad áttekintést a mozgáskorlátozott személyekre vonatkozó ÁME hatálya alá tartozó azon alapvető paraméterekről, amelyek az utasok szállítására szánt hagyományos vasúti egységekre érvényesek:
- ülések, ideértve a megkülönböztetett üléseket,
- kerekesszékek számára kialakított helyek,
- külső ajtók, ideértve a méreteket, akadályérzékelőket, vezérlőket,
- belső ajtók, ideértve az akadályérzékelőket, vezérlőket,
- mosdók,
- közlekedők,
- világítás,
- ügyféltájékoztatás,
- a padlózat magasságának változásai,
- fogódzók,
- kerekesszékkel elérhető hálófülkék,
- a lépcső pozíciója a járműre való fel- és leszálláshoz, beleértve a lépcsőket és a fel- és leszállást segítő eszközöket.
A további követelményeket ez a pont írja elő.
Az utasokkal kapcsolatos, a vasúti alagutak biztonságára vonatkozó ÁME 4.2.5.7. (Vonatokon használandó kommunikációs eszközök) és 4.2.5.8. (Vészfékezés felülbírálása) pontjában meghatározott paraméterek egyes követelmények tekintetében eltérnek ezen ÁME követelményeitől. Ezek tekintetében az ÁME-t a következőképpen kell alkalmazni:
- a vasúti alagutak biztonságára vonatkozó ÁME 4.2.5.7. (Vonatokon használandó kommunikációs eszközök) pontja helyében a hagyományos vasúti járművekre vonatkozó ezen ÁME 4.2.5.2. (Hangosbemondó rendszer: hallható kommunikációs rendszer) pontja lép,
- a vasúti alagutak biztonságára vonatkozó ÁME 4.2.5.8. (Vészfékezés felülbírálása) pontja helyébe a hagyományos vasúti járművekre vonatkozó ezen ÁME 4.2.5.3. (Az utasok által működésbe hozható riasztó: funkcionális követelmények) pontja lép.
Megjegyzés: az ezen ÁME és vasúti alagutak biztonságára vonatkozó ÁME közötti többi kapcsolódási pontra vonatkozó információk ezen ÁME 4.2.10.1.3. pontjában szerepelnek.
4.2.5.1. Egészségügyi rendszerek
Ha valamely egységet vízcsappal szereltek fel, és a csapból folyó víz nem felel meg az ivóvízről szóló irányelvnek (a 98/83/EK irányelv ( 17 ), egyértelmű látható jelzéssel kell jelezni, hogy a csap vize nem iható.
Az egészségügyi rendszerek (illemhelyek, mosdók, büfé/étterem) felszerelése nem teheti lehetővé az emberi egészségre vagy a környezetre káros anyagok kibocsátását.
A kibocsátott anyagoknak (kezelt víznek) meg kell felelniük a vízügyi keretirányelv értelmében alkalmazandó, vonatkozó európai jogszabályoknak:
- az egészségügyi rendszerekből kiengedett víz baktériumtartalma soha nem haladhatja meg a belvizek tekintetében a fürdővizek minőségéről szóló 2006/7/EK európai parlamenti és tanácsi irányelvben ( 18 )"jó"-nak meghatározott, béltraktusból származó Enterococcus és Escherichia coli baktériumszintet,
- a kezelési eljárások során nem adható a vízhez a Közösség vízi környezetébe bocsátott egyes veszélyes anyagok által okozott szennyezésről szóló 2006/11/EK európai parlamenti és tanácsi irányelv ( 19 ) I. mellékletében meghatározott anyag.
A kiengedett folyadék pálya menti szétszóródásának korlátozására ellenőrizetlen kifolyás bármely forrásból csak lefelé, a járműszekrény alá, a jármű hossztengelyétől legfeljebb 0,7 méterre történhet.
A 4.2.12. pontban ismertetett dokumentációnak a következőket kell tartalmaznia:
- az egységben illemhely megléte és annak típusa,
- az öblítéshez használt anyag jellemzői, amennyiben az nem tiszta víz,
- a kiengedett víz kezelési rendszerének jellege és azok a szabványok, amelyekhez képest a megfelelőséget ellenőrizték.
4.2.5.2. Hangosbemondó rendszer: hallható kommunikációs rendszer
A hagyományos vasúti járművek tekintetében ez a pont lép a vasúti alagutak biztonságára vonatkozó ÁME 4.2.5.7. (Vonatokon használandó kommunikációs eszközök) pontja helyébe.
Ez a pont valamennyi utasok szállítására tervezett, illetve személyvonatok vontatására tervezett egységre vonatkozik.
A vonatokat fel kell szerelni legalább hallható kommunikációs eszközzel:
- a vonatkísérő személyzet számára a vonaton tartózkodó utasoknak szóló közlemények érdekében,
- a vonatkísérő személyzet és a földi irányítás számára, hogy kommunikálhassanak egymással.
-
Megjegyzés: az e funkcióra vonatkozó előírások a hagyományos vasúti ellenőrző-irányító-jelző rendszerre vonatkozó ÁME 4.2.4. "EIRENE-funkciók" részét képezik.
- a vonatkísérő személyzet tagjai közötti belső kapcsolattartás érdekében, különösen a vezető és az utastérben tartózkodó személyzet (ha ilyen van) között.
A berendezésnek alkalmasnak kell lennie a fő energiaellátástól független készenléti állapot fenntartására legalább három órán keresztül. A készenléti idő alatt a berendezésnek képesnek kell lennie véletlenszerű időközönként és időtartamon át összesen 30 percig történő működésre.
A kommunikációs rendszert oly módon kell megtervezni, hogy a hangszórók legalább fele tovább működjön (a vonat egészén elosztva), ha az egyik továbbító eleme meghibásodik, vagy más eszköznek kell elérhetőnek lennie az utasok meghibásodás esetén történő tájékoztatására.
Az utasok és a vonatkísérő személyzet közötti kapcsolattartásra vonatkozó rendelkezések a 4.2.5.3. (Utasok által működésbe hozható riasztó) és a 4.2.5.5. (Utasok által használható kommunikációs eszközök) pontban találhatóak.
Az általános üzemre szánt egységekre való alkalmazhatóság:
Csak az egység tervezési tulajdonságai tekintetében jelentőséggel bíró funkciókat (pl. vezetőállás, kísérőszemélyzettel való kapcsolatteremtés rendszer meglétét...) kell vizsgálni.
Dokumentálni kell az egység és a vonatban lévő más összekapcsolt egység(ek) közötti, a kommunikációs rendszer vonatszintű rendelkezésre állásához szükséges jeltovábbítást, figyelemmel a funkcionális vonatkozásokra.
Ez az ÁME nem ír elő semmiféle műszaki megoldást az egységek közötti fizikai kapcsolódási pontokra.
4.2.5.3. Az utasok által működtetett riasztó: funkcionális követelmények
A hagyományos vasúti járművek tekintetében ez a pont lép a vasúti alagutak biztonságára vonatkozó ÁME 4.2.5.8. (Vészfékezés felülbírálása) pontja helyébe.
Ez a pont valamennyi utasok szállítására tervezett, illetve személyvonatok vontatására tervezett egységre vonatkozik.
Az utasok által működésbe hozható riasztó biztonsággal kapcsolatos funkció, és az erre vonatkozó követelményeket ez a pont tartalmazza, a biztonsági vonatkozásokkal együtt.
Általános követelmények:
Az utasok által működésbe hozható riasztónak a következők egyikének kell megfelelnie:
a) a nagy sebességű járművekre vonatkozó ÁME (2008) 4.2.5.3. pontja;
b) vagy az alábbi rendelkezések, amelyek a hagyományos mozdonyokra és személyszállító járművekre vonatkozó ÁME hatálya alá tartozó egységek tekintetében a nagy sebességű járművekre vonatkozó ÁME (2008) rendelkezései helyébe lépnek.
Az utasok által működésbe hozható riasztóra vonatkozó alternatív rendelkezések:
A tájékoztatási kapcsolódási pontokra vonatkozó követelmények:
- A mosdók és a közlekedők kivételével minden fülkét, minden bejárati előteret és minden más utasoknak szánt elkülönített teret el kell látni legalább egy jól látható és jelölt riasztóberendezéssel a mozdonyvezető veszély esetén történő értesítésére.
- A riasztóberendezést úgy kell kialakítani, hogy azt az utasok a működésbe hozás után ne iktathassák ki.
- Az utasok által működésbe hozható riasztó aktiválásakor fényjelzésnek és hangjelzésnek egyaránt jeleznie kell a mozdonyvezető számára azt, hogy egy vagy több, utasok által működésbe hozható riasztót működésbe hoztak.
- A vezetőállásban elhelyezett eszköznek lehetővé kell tennie a mozdonyvezető számára a riasztás tudomásulvételének jelzését. A mozdonyvezető általi visszaigazolásnak észlelhetőnek kell lennie az utasok által működésbe hozható riasztó aktválásának helyén, és le kell állítania a vezetőállásban a hangjelzést.
- A mozdonyvezető kezdeményezésére a rendszernek lehetővé kell tenne a vezetőállás és a riasztó(k) aktiválásának helye közötti kommunikációs kapcsolat létrehozását. A rendszernek lehetővé kell tennie, hogy a mozdonyvezető saját kezdeményezésére letilthassa ezt a kommunikációs kapcsolatot.
- A berendezésnek lehetővé kell tennie a kísérőszemélyzet számára az utasok által működésbe hozható riasztó alaphelyzetbe való visszaállítását.
A fék utasok által működésbe hozható riasztó általi aktiválására vonatkozó körülmények:
- Amennyiben a vonat peronnál megállt vagy onnan indul, az utasok által működésbe hozható riasztó aktiválásának ki kell váltania az üzemi fék vagy a vészfék közvetlen aktválását, amelynek következtében a vonat teljesen megáll. Ebben az esetben a rendszer csak a vonat teljes megállása után engedheti meg a mozdonyvezetőnek az utasok által működésbe hozható riasztó által kiváltott automatikus fékezés letiltását;
- Más helyzetekben az utasok által működésbe hozható (első) riasztó aktiválását 10 +/-1 másodperccel követőem legalább az üzemi féknek automatikusan működésbe kell lépnie, amennyiben a mozdonyvezető ezen az időn belül nem igazolja vissza az utasok által működésbe hozható riasztót. Ennek a rendszernek lehetővé kell tennie a mozdonyvezető számára, hogy bármikor hatástalanítsa az utasok által működésbe hozható riasztó által kiváltott fékezést.
A perontól induló vonatra vonatkozó kritériumok:
A vonatot az ajtók nyitott állásból csukott és zárt állásba történő átváltásának pillanata és azon pillanat között kell peronról indulónak tekinteni, amikor az utolsó jármű elhagyja a peront.
Ezt a pillanatot fedélzeti eszköznek kell észlelnie. Ha a peron fizikailag nem érzékelhető, a vonatot akkor kell a peront elhagyottnak tekinteni, amikor az alábbiak közül a korábbi bekövetkezik:
- a vonat sebessége eléri a 15 (+/- 5) km/h-t vagy,
- a megtett távolság 100 (+/- 20) m
Biztonsági követelmények:
Az utasok által működésbe hozható riasztó biztonsággal kapcsolatos funkciónak minősül, amelyre vonatkozóan a szükséges biztonsági szint a következő követelmények teljesülése esetén teljesül:
- Egy ellenőrző rendszernek állandóan figyelemmel kell kísérnie az utasok által működtetett riasztó jeltovábbítási képességét.
- Ehelyett elfogadható ellenőrző rendszer nélküli, utasok által működtetett (ebben az alpontban leírt) riasztó is, ha bizonyított, hogy megfelel a szükséges biztonsági szintnek. A szükséges biztonsági szint mértéke nyitott kérdés.
- A vezetőállással felszerelt egységeket fel kell szerelni olyan eszközzel, amely lehetővé teszi az erre felhatalmazott személyzet számára az utasok által működtetett riasztó leválasztását.
- Ha az utasok által működtetett riasztó nem működik a személyzet szándékos beavatkozása, műszaki hiba vagy az egység nem kompatibilis egységhez való csatlakoztatása miatt, az utasok által működtetett riasztó aktiválásának a fékek közvetlen működtetését kell eredményeznie. Ebben az esetben nem kötelezőek a mozdonyvezető számára a fékezés felülírását lehetővé tevő rendelkezések.
- Ha az utasok által működtetett riasztórendszer nem működik, ezt a mozdonyvezető számára állandó jelleggel jelezni kell az aktív vezetőállásban.
A leválasztott utasok által működtetett riasztóval rendelkező vonat nem felel meg ezen ÁME biztonsági és kölcsönös átjárhatósági minimumkövetelményeinek, és ezért azt korlátozott módúnak kell tekinteni.
Az általános üzemre szánt egységekre való alkalmazhatóság:
Csak az egység tervezési tulajdonságai tekintetében jelentőséggel bíró funkciókat (pl. vezetőállás, kísérőszemélyzettel való kapcsolatteremtés rendszer meglétét...) kell vizsgálni.
Dokumentálni kell az egység és a vonatban lévő más összekapcsolt egység(ek) közötti, az utasok által működtetett riasztórendszer vonatszintű rendelkezésre állásához szükséges jeltovábbítást, figyelemmel a funkcionális vonatkozásokra. A jeltovábbításnak kompatibilisnek kell lennie az Általános követelmények a) és b) pontja alatt említett mindkét megoldással.
Ez az ÁME nem ír elő semmiféle műszaki megoldást az egységek közötti fizikai kapcsolódási pontokra.
4.2.5.4. Az utasoknak szóló biztonsági utasítások - jelek
Ez a pont valamennyi utasok szállítására tervezett egységre vonatkozik.
Az utasok számára utasításokat kell adni a vészkijáratok használatáról, az utasok által működtetett riasztó aktiválásáról, az üzemen kívüli utasajtókról stb. Ezeket az utasításokat a mozgáskorlátozott személyekre vonatkozó ÁME 4.2.2.8.1. és 4.2.2.8.2. pontjának megfelelően kell megadni.
4.2.5.5. Utasok által használható kommunikációs eszközök
Ez a pont valamennyi utasok szállítására tervezett, illetve személyvonatok vontatására tervezett egységre vonatkozik.
A (mozdonyvezetőn kívül) kísérőszemélyzet jelenléte nélküli üzemre tervezett egységeket fel kell szerelni vészhívó eszközzel az utasok számára, hogy vészhelyzet esetén kommunikálni tudjanak a mozdonyvezetővel. Ebben az esetben a rendszernek lehetővé kell tennie a kommunikációs kapcsolat utasok kezdeményezésére történő létrehozását. A rendszernek lehetővé kell tennie, hogy a mozdonyvezető saját kezdeményezésére letilthassa ezt a kommunikációs kapcsolatot. A vészhívó eszköz elhelyezésére vonatkozó követelmények megegyeznek a 4.2.5.3. (Utasok által működtetett riasztó: funkcionális követelmények) pontban az utasok által működtetett riasztóra meghatározott követelményekkel: A vészhívó berendezéseknek meg kell felelniük a mozgáskorlátozott személyekre vonatkozó ÁME 4.2.2.8.2.2. "Az átjárhatóságot biztosító rendszerelemre vonatkozó követelmények" pontjában a "Vészhívó berendezés" tekintetében meghatározott tájékoztatási és jelzési követelményekkel.
Az általános üzemre szánt egységekre való alkalmazhatóság:
Csak az egység tervezési tulajdonságai tekintetében jelentőséggel bíró funkciókat (pl. vezetőállás, kísérőszemélyzettel való kapcsolatteremtés rendszer meglétét...) kell vizsgálni.
Dokumentálni kell az egység és a vonatban lévő más összekapcsolt egység(ek) közötti, a kommunikációs rendszer vonatszintű rendelkezésre állásához szükséges jeltovábbítást, figyelemmel a funkcionális vonatkozásokra.
Ez az ÁME nem ír elő semmiféle műszaki megoldást az egységek közötti fizikai kapcsolódási pontokra.
4.2.5.6. Külső ajtók: a jármű utasok általi elérése és kijárat a járműből
Ez a pont valamennyi utasok szállítására tervezett, illetve személyvonatok vontatására tervezett egységre vonatkozik.
A személyzet és a rakomány számára fenntartott ajtókkal az ÁME 4.2.2.8. és 4.2.9.1.2. pontja foglalkozik.
Az utasok által használandó peronajtók vezérlése biztonsággal kapcsolatos funkció. Az e pontban meghatározott funkcionális követelmények szükségesek az előírt biztonsági szint biztosításához. Az alábbi D. és E pontban ismertetett vezérlőrendszerek szükséges biztonsági szintje nyitott kérdés.
A. Használt szakkifejezések:
- E pont alkalmazásában "ajtó": az utasok által használandó külső ajtó, amelynek elsődleges rendeltetése, hogy az utasok az egységbe azon keresztül szálljanak be, illetve azt azon keresztül hagyják el.
- "Zárt ajtó":a fizikai ajtózáró eszközzel zárva tartott ajtó.
- "Használaton kívüli zárt ajtó": olyan ajtó, amelyet zárt helyzetben a vonatkísérő személyzet által manuálisan működtetett mechanikus záróeszközzel tettek működésképtelenné.
- "Kioldott ajtó": a helyi vagy központi (ha ilyen van) ajtónyitó aktiválásával nyitható ajtó.
- E pont alkalmazásában a vonat áll, ha sebessége legfeljebb 3 km/h-ra csökkent.
B. Az ajtók zárása és reteszelése:
Az ajtónyitást vezérlő eszköz lehetővé teszi, hogy a vonatkísérő személyzet a vonat indulása előtt becsukja és lezárja az ajtókat.
Amikor a központi ajtózárást és reteszelést a személyzet vezérli, és aktiválása az egyik ajtónál történik, megengedett, hogy ez az ajtó nyitva maradjon, amikor más ajtók zárva vannak és reteszelnek. Az ajtónyitást vezérlő rendszer lehetővé teszi, hogy a vonatkísérő személyzet a vonat indulása előtt bezárja és reteszelje az ajtókat.
Az ajtóknak mindaddig zárt és reteszelt állásban kell maradniuk, amíg azokat az e pont E. "Ajtónyitás" alpontjának megfelelően ki nem oldják. Az ajtóműködtetés áramellátásának kiesése esetén az ajtókat a zárószerkezettel kell zárva tartani.
C. Használaton kívüli ajtó zárása:
Az ajtóhoz egy kézi vezérlésű mechanikus záróeszközt kell biztosítani a használaton kívüli ajtók (vonatkísérő személyzet vagy a karbantartók általi) reteszelése céljából.
A záróeszköz a következő feladatokat látja el:
- leválasztja az ajtót a nyitási parancsokról,
- az ajtót mechanikusan reteszelt állásban tartja,
- mutatja a leválasztó eszköz állását,
- lehetővé teszi, hogy az ajtót az ajtózárást ellenőrző eszköz kihagyja.
Biztosítani kell a használaton kívüli zárt ajtó egyértelmű jelöléssel való jelzésére, a mozgáskorlátozott személyekre vonatkozó ÁME 4.2.2.8. "Ügyféltájékoztatás" pontja szerint.
D. A vonatkísérő személyzet rendelkezésére álló információk:
Megfelelő ajtózárást ellenőrző eszköznek kell a mozdonyvezető számára lehetővé tennie annak bármikor történő ellenőrzését, hogy valamennyi ajtó zárt és reteszelt állapotban van.
Ha egy vagy több ajtó nincs reteszelve, ezt folyamatosan vissza kell jelezni a mozdonyvezetőnek.
Jelzést kell adni a mozdonyvezetőnek, ha az ajtózárási és/vagy reteszelési műveletek során bármilyen meghibásodás lép fel.
A mozdonyvezető számára hang- és fényjelzésnek kell jeleznie egy vagy több ajtó vésznyitását.
Megengedett, hogy a "használaton kívüli zárt ajtót" az ajtózárát ellenőrző eszköz kihagyja.
E. Az ajtónyitás:
A vonatot fel kell szerelni ajtókioldó vezérlőkkel, amelyek lehetővé teszik a kísérőszemélyzet vagy a peronnál való megálláshoz kapcsolt automata eszköz számára az ajtók mindkét oldalon külön történő kioldásának vezérlését, lehetővé téve azok utasok vagy ha van, központi nyitóparancs általi nyitását a vonat álló helyzetében.
Minden egyes ajtónál helyi nyitásvezérlőnek vagy nyitó szerkezetnek kell az utasok számára elérhetőnek lennie mind a jármű külseje, mind annak belseje felől.
F. Ajtó - Vontatás biztonsági reteszelése:
A vonóerő csak akkor alkalmazható, ha valamennyi ajtó lezárt és reteszelt állapotban van. Ezt automata ajtó-vontatás biztonsági reteszelő rendszerrel kell biztosítani. Az ajtó-vontatás biztonsági reteszelő rendszernek meg kell akadályoznia vonóerő kifejtését, ha nincs az összes ajtó zárt és reteszelt állapotban.
A vontatás biztonsági reteszelő rendszert el kell látni manuális kioldóval, a mozdonyvezető által rendkívüli helyzetekben történő aktiválás céljából, hogy akkor is vonóerőt alkalmazhasson, ha nincs az összes ajtó zárva és reteszelve.
G. Az ajtók vésznyitása:
Alkalmazni kell a nagy sebességű vasúti járművekre vonatkozó ÁME (2008) 4.2.2.4.2.1. pontja g). alpontjának követelményeit.
Az általános üzemre szánt egységekre való alkalmazhatóság:
Csak az egység tervezési tulajdonságai tekintetében jelentőséggel bíró funkciókat (pl. vezetőállás, kísérőszemélyzettel való kapcsolatteremtés rendszer meglétét...) kell vizsgálni.
Dokumentálni kell az egység és a vonatban lévő más összekapcsolt egység(ek) közötti, az ajtórendszer vonatszintű rendelkezésre állásához szükséges jeltovábbítást, figyelemmel a funkcionális vonatkozásokra.
Ez az ÁME nem ír elő semmiféle műszaki megoldást az egységek közötti fizikai kapcsolódási pontokra.
4.2.5.7. A külső ajtórendszer kialakítása
Ha az egységet felszerelték az utasok be- és kiszállására szolgáló ajtóval, a következő rendelkezéseket kell alkalmazni:
Az ajtókat átlátszó ablakokkal kell felszerelni, amelyek láthatóvá teszik az utasok számára, hogy a vonat peron mellett áll-e.
A személykocsik külső felületét olyan módon kell kialakítani, hogy az ajtók zárt és reteszelt állásánál ne legyen lehetséges az ajtóba kapaszkodva a vonaton kívül történő utazás.
Az ajtóba kapaszkodva a vonaton kívül történő utazást megakadályozó intézkedésként az ajtó külső felületén kerülendők a kézi fogódzók vagy azokat úgy kell kialakítani, hogy zárt ajtó mellett azokat ne lehessen megfogni.
A fogódzókat és a kapaszkodókat úgy kell rögzíteni, hogy azok elviseljék az üzem közben kifejtett erőket.
4.2.5.8. Egységeket összekötő ajtók
Ez a pont valamennyi utasok szállítására tervezett egységre vonatkozik.
Amennyiben az egységet a kocsik vagy egységek végén összekötő ajtókkal felszerelték, azokat fel kell szerelni a lezárásukat lehetővé tevő eszközzel (pl. amennyiben az ajtóhoz nem csatlakozik a szomszédos kocsiba vagy egységbe tartó utasok számára átjáró stb.).
4.2.5.9. A belső levegő minősége
Rendes üzem közben a járművek azon területein, ahol utasok és/vagy személyzet tartózkodhatnak, a levegő mennyiségének és minőségének olyannak kell lennie, hogy az az utasok vagy a személyzet számára a külső környezeti levegőminőséghez képest további egészségi kockázatot ne keltsen.
Szellőztető rendszerrel kell fenntartani az üzemi feltételek mellett elfogadható belső CO2-szintet.
- A CO2-szint nem haladhatja meg az 5 000 ppm-et egy normál üzemmódban sem.
- A szellőztetés fő áramforrás kiesése vagy a rendszer meghibásodása miatti kiesése esetére vészhelyzeti megoldásnak kell biztosítania az utasok és személyzet által használt összes terület külső levegővel való ellátását.
- Ha ezt a vészhelyzeti megoldást akkumulátoros kényszerszellőztetéssel biztosítják, méréseket kell végezni azon időtartam meghatározására, ameddig a CO2-szint 10 000 ppm alatt marad, a "tervezési tömeg átlagos hasznos teher mellett" terhelési állapotból levezetett utaslétszámot feltételezve. Az időtartam legalább 30 perc.
- A vonatkísérő személyzetnek lehetőséggel kell rendelkeznie arra, hogy meggátolja az utasok környezeti füstnek kitételét, különösen alagutakban. Ez a követelmény teljesül a nagy sebességű vasúti járművekre vonatkozó ÁME 4.2.7.11.1. pontjának teljesítésével.
4.2.5.10. A kocsiszekrény oldalablakai
Amennyiben a kocsiszekrény oldalablakai az utasok által nyithatóak és azokat a vonatkísérő személyzet nem tudja lezárni, a nyílás mérete csak akkora lehet, hogy azon 10 cm átmérőjű gömb alakú tárgy ne férhessen át.
4.2.6. Környezeti feltételek és aerodinamikai hatások
Ez a pont valamennyi egységre vonatkozik.
4.2.6.1. Környezeti feltételek
A környezeti feltételek a terméken kívüli fizikai, vegyi vagy biológiai feltételek, és amelyeknek az adott időben ki van téve.
A járművek és azok alkotóelemei kialakításának figyelembe kell vennie azokat a környezeti feltételeket, amelyeknek a jármű ki lesz téve.
A környezeti paraméterek az alábbi. pontban kerülnek bemutatásra. Minden egyes környezeti paraméterre meghatározásra kerül az Európában leggyakrabban tapasztalt névleges tartomány, és ez képezi a kölcsönösen átjárható járművek tekintetében az alapot. Egyes környezeti paraméterek tekintetében a névleges tartományon kívül meghatározásra kerültek más tartományok is, ebben az esetben a jármű tervezése céljaira ki kell választani egy tartományt.
Az alábbi pontokban megadott funkciók tekintetében a műszaki dokumentációban kell ismertetni azokat a tervezési és/vizsgálati rendelkezéseket, amelyeket az adott tartományba tartozó ÁME-követelmények jármű általi teljesítésének biztosítására hoztak.
A kiválasztott tartományoktól és a meghozott (a műszaki dokumentációban ismertetett) intézkedésektől függően szükség lehet vonatkozó üzemeltetési szabályokra annak biztosítására, hogy a jármű és a környezeti feltételek közötti műszaki kompatibilitás betartható legyen a TEN-hálózat részein.
Különösen üzemeltetési szabályokra van szükség akkor, ha a névleges tartományra tervezett járművet üzemeltetnek a TEN-hálózat egy adott vonalán, ahol az értékek az év egyes szakaszaiban a névleges tartományon kívül esnek.
A tagállamok határozzák meg a névlegestől eltérő tartományokat, amelyeket a földrajzi területhez vagy éghajlati viszonyokhoz kapcsolódó korlátozó üzemeltetési szabályok elkerüléséhez választani kell, és ezek a felsorolása a 7.4. pontban található
4.2.6.1.1. Magasság
A járműnek teljesítenie kell ezen ÁME választott tartományra vonatkozó követelményeit az EN 50125-1:1999 szabvány 4.2. pontjában meghatározottak szerint.
4.2.6.1.2. Hőmérséklet
A járműveknek teljesíteniük kell ezen ÁME EN 50125-1:1999 szabvány 4.3. pontjában meghatározott T1 (-25 °C-tól + 40 °C-ig; névleges), T2 (-40 °C-tól + 35 °C-ig) vagy T3 (-25-tól +45 °C-ig) éghajlati övezet közül egynek (vagy többnek) a követelményeit.
A járművek alkotóelemeinek tervezése céljaira figyelembe veendő hőmérsékletnek tekintettel kell lennie azok járműbe való beépítésére.
4.2.6.1.3. Páratartalom
A járműnek állagromlás nélkül teljesítenie kell ezen ÁME páratartalomra vonatkozó követelményeit az EN 50125-1:1999 szabvány 4.4. pontjában meghatározottak szerint.
A járművek alkotóelemeinek tervezése céljaira figyelembe veendő páratartalomnak tekintettel kell lennie azok járműbe való beépítésére.
4.2.6.1.4. Eső
A járműnek állagromlás nélkül teljesítenie kell ezen ÁME esőre vonatkozó követelményeit az EN 50125-1:1999 szabvány 4.6. pontjában meghatározottak szerint.
4.2.6.1.5. Hó, jég és jégeső
A járműnek állagromlás nélkül teljesítenie kell ezen ÁME hó-, jég- és jégesőviszonyokra vonatkozó követelményeit az EN 50125-1:1999 szabvány 4.7. pontjában meghatározottak szerint.
A járművek alkotóelemeinek tervezése céljaira figyelembe veendő páratartalomnak tekintettel kell lennie azok járműbe való beépítésére.
Amennyiben több súlyos "hó, jég és jégeső" viszonyt választanak ki, a járműveket és az alrendszer részeit úgy kell kialakítani, hogy azok megfeleljenek az ÁME követelményeinek a következő eseteket figyelembe véve:
- hófúvás (könnyű hó alacsony víztartalommal), amely a pályát a sín szintje fölött legfeljebb 80 cm-re folyamatosan befedi,
- porhó, nagy mennyiségben leeső, alacsony vízegyenérték tartalmú hó,
- egyidejű hőmérsékletesés, hőmérséklet- és páratartalom-változás, amely a járművön jegesedést okoz,
- a 4.2.6.1.2. pontban meghatározottak szerint kiválasztott hőmérsékleti övezetnek megfelelő, alacsony hőmérséklettel együttes hatás.
Az ÁME 4.2.6.1.2. (T2 éghajlati övezet) pontjával és 4.2.6.1.5. (Súlyos hó-, jég- és jégesőviszonyok) pontjával kapcsolatban rendelkezéseket kell hozni az ÁME követelményeinek e súlyos körülmények között történő teljesítésére és azt igazolni kell, különösen a következő ÁME-követelmények tekintetében szükséges tervezési és/vagy vizsgálati rendelkezéseket:
- Az ÁME 4.2.2.5. pontjában meghatározott terelőlap: ezen túlmenően a vonat előtti hó elkotrására való képesség.
- A havat a terelőlap által eltávolítandó akadálynak kell tekinteni; a következő követelményeket a 4.2.2.5. pont határozza meg (az EN 15227 szabványra hivatkozással):
-
"A terelőlapnak megfelelő méretűnek kell lennie a forgóváz útjában lévő akadályok eltávolításához. Szerkezetének folytonos felépítésűnek kell lennie és úgy kell kialakítani, hogy az akadályokat ne felfelé vagy lefelé terelje. Normál üzemi feltételek mellett a terelőlap alsó szélének a jármű mozgása és a szelvény vonala által megengedett legalacsonyabbnak kell lennie.
A terelőlapnak felülnézetből egy »V« alakhoz kell hasonlítani, és a bezárt szög legfeljebb 160° lehet. Kialakítható a hóekeként történő üzemeléssel kompatibilis geometriával is"
- Az ÁME 4.2.2.5. pontjában meghatározott erőket elegendőnek minősítik a hó elkotrásához.
- Az ÁME 4.2.2.5. pontjában meghatározott futómű: figyelemmel a hó- és jégfelgyülemlésre és annak a menetstabilitásra és fékezési funkcióra gyakorolt hatására.
- Fékezési funkció és fékerőellátás az ÁME 4.2.4. pontjában meghatározottak szerint.
- A vonat jelenlétének mások számára való jelzése az ÁME 4.2.7. pontjában meghatározottak szerint.
- Előrefelé történő kilátás biztosítása az ÁME 4.2.7.3.1.1. (fényszórók) és 4.2.9.1.3.1. (kilátás előre) meghatározottak szerint, a 4.2.9.2. pontban meghatározott, működő szélvédőtisztító berendezéssel felszerelve.
- A mozdonyvezető számára elfogadható munkavégzési viszonyok biztosítása az ÁME 4.2.9.1.7. pontjában meghatározottak szerint.
Az elfogadott rendelkezést dokumentálni kell az ÁME 4.2.12. pontjában ismertetett műszaki dokumentációban.
4.2.6.1.6. Napsugárzás
A járműnek teljesítenie kell ezen ÁME napsugárzásra vonatkozó követelményeit az EN 50125-1:1999 szabvány 4.9. pontjában meghatározottak szerint.
A járművek alkotóelemeinek tervezése céljaira figyelembe veendő napsugárzás hatásnak tekintetbe kell vennie azok alkotóelemek járműbe való beépítését.
4.2.6.1.7. Szennyezésnek való ellenállás
A járműveknek meg kell felelniük ezen ÁME követelményeinek a környezeti és a következő listán szereplő anyagokkal való kölcsönhatás okozta szennyező hatások tekintetében:
- Vegyileg aktív anyagok - az EN 60721-3-5:1997 szabvány 5C2 osztálya.
- Az EN 60721-3-5:1997 szabvány 5F2 osztálya (villanymotor).
- Az EN 60721-3-5:1997 szabvány 5F3 osztálya (belsőégésű motor).
- Biológiailag aktív anyagok - az EN 60721-3-5:1997 szabvány 5B2 osztálya.
- Az EN 60721-3-5:1997 szabvány 5S2 osztályának meghatározása szerinti por.
- Kövek és más tárgyak: legfeljebb 15 mm átmérőjű kavics és egyéb.
- Fűszálak és falevelek, pollen, repülő rovarok, szálak stb. (a szellőzővezetékek tervezése).
- Az EN 60721-3-5:1997 szabvány szerinti homok.
- A tengervíz permetje az EN 60721-3-5:1997 szabvány 5C2 osztálya szerint
Megjegyzés: ebben a pontban a szabványokra hivatkozás csak a szennyező hatású anyagok meghatározása tekintetében bír jelentőséggel.
A fent leírt szennyező hatást a tervezési szakaszban kell értékelni.
4.2.6.2. Aerodinamikai hatások
Az elhaladó vonat változó nyomású és áramlássebességű mozgó légáramot kelt. Az átmeneti nyomás és áramlássebesség hat a pálya mentén lévő emberekre, tárgyakra és épületekre, illetve hatása van a járművekre is.
A vonat és a levegő sebességének együttes hatása aerodinamikai gördülőnyomatékot kelt, ami befolyásolhatja a járművek stabilitását.
4.2.6.2.1. Az elhaladó vonatok miatt A peron mentén tartózkodó utasokat érő légörvényhatás
A nyílt terepen vtr > 160 km/h legnagyobb sebességgel haladó jármú elhaladása következtében a levegő sebessége nem haladhatja meg az u2σ = 15,5 m/s értéket a peron felszínétől számított 1,2 m magasságban és a vágánytengelytől számított 3,0 m távolságban a jármű elhaladása közben.
Az alábbiakban meghatározásra kerül az egyes járműtípusok tekintetében a vizsgálat céljára használandó vonatösszeállítás:
- Fix vagy előre meghatározott összeállításban értékelt egység.
- A fix vagy előre meghatározott összeállítás teljes hossza (a megengedett legnagyobb számú összekapcsolható egység)
- Az általános üzemre értékelt egységek tekintetében (a vonat-összeállítás nincs meghatározva) nyitott kérdés.
4.2.6.2.2. Az elhaladó vonatok miatt a vágány mentén dolgozókat érő légörvényhatás
A nyílt terepen vtr > 160 km/h legnagyobb sebességgel haladó jármú elhaladása következtében a levegő sebessége nem haladhatja meg az u2σ = 20 m/s értéket a vágány mellett 0,2 m magasságban és a vágánytengelytől számított 3,0 m távolságban mérve a jármű elhaladása közben.
Az alábbiakban meghatározásra kerül a különféle járműtípusok tekintetében a vizsgálat céljára használandó vonatösszeállítás:
- Fix vagy előre meghatározott összeállításban értékelt egység.
- A fix vagy előre meghatározott összeállítás teljes hossza (a megengedett legnagyobb számú összekapcsolható egység)
- Az általános üzemre értékelt egységek tekintetében (a vonat-összeállítás a tervezési szakaszban nincs meghatározva) nyitott kérdés.
4.2.6.2.3. Légnyomásimpulzus
Két vonat egymás melletti elhaladása mindkét vonatra aerodinamikai terhelést kelt. A nyílt terepi légörvényhatásra vonatkozó alábbi követelmény lehetővé teszi a két vonat elhaladása közben fellépő aerodinamikai terhelés határértékének meghatározását, amit a jármű tervezése során 4,0 m vágánytengely-távolságot feltételezve kell figyelembe venni.
A nyílt terepen vtr > 160 km/h-nál nagyobb sebességgel haladó jármű elhaladása következtében a vonat elejének elhaladásakor a két csúcsérték közötti legnagyobb nyomásváltozás nem haladhatja meg a 720 Pa Δp2σ értéket a sínkorona fölötti 1,5 és 3,3 m közötti magasságban és a vágánytengelytől 2,5 m távolságban mérve.
Az alábbiakban meghatározásra kerül a különféle járműtípusok tekintetében ellenőrizendő összeállítás:
- Fix vagy előre meghatározott összeállításban értékelt egység.
- A fix összeállítás egyetlen egysége vagy az előre meghatározott összeállítás bármely formája.
- Az általános üzemre értékelt egységek tekintetében (a vonat-összeállítás a tervezési szakaszban nincs meghatározva):
- a vezetőállással felszerelt egységeket külön kell értékelni,
- más egységek: a követelmény nem alkalmazandó.
4.2.6.2.4. Maximális nyomásingadozás alagutakban
A hagyományos vasút tekintetében a hagyományos vasúti infrastruktúrára vonatkozó ÁME nem határoz nem határoz meg célértéket az alagutak legkisebb területére. Ezért nincsenek járműszintű harmonizált követelmények e paraméter tekintetében és értékelésre sincsen szükség.
Megjegyzés: a járművek alagutakban történő üzemeltetési feltételeit szükség esetén kell vizsgálni (ezen ÁME hatályán kívül).
4.2.6.2.5. Oldalszél
A járművek tervezésekor figyelembe veendő széljellemzők: nincs megegyezés szerinti harmonizált érték (nyitott kérdés).
Értékelési módszer: kialakítás alatt állnak és még nem állnak rendelkezésre a szabványok e módszerek harmonizálása érdekében (nyitott kérdés).
Megjegyzés: Az (ezen ÁME hatályán kívüli) üzemeltetési feltételek meghatározásához szükséges információk rendelkezésre állása érdekében a járművek tervezési szakaszában figyelembe veendő oldalszél tulajdonságait (sebessége) és a használt értékelési módszert (az érintett tagállam nemzeti szabályának előírása szerint, ha van) fel kell tüntetni a műszaki dokumentációban.
Az üzemeltetési feltételek közé tartozhatnak infrastruktúra (szélvédett területek) vagy üzemeltetési (sebességkorlátozás) szintű intézkedések.
4.2.7. Külső világítás és figyelmeztető hang- és fényjelző eszközök
4.2.7.1. Külső világítás
Külső fény vagy megvilágítás céljaira zöld színű fény nem használható. E követelmény célja a rögzített jelzésekkel való összetévesztés megelőzése.
4.2.7.1.1. Fényszórók
Ez a pont a vezetőállással felszerelt egységekre vonatkozik.
A vonat elejét két fehér fényű fényszóróval kell ellátni, a mozdonyvezető kilátásának biztosítására.
Ezeket a fényszórókat, vízszintes tengelyen kell elhelyezni a sínkorona fölött azonos magasságra, a középvonalra szimmetrikusan és legalább 1 000 mm-re egymástól. A fényszórókat a sínkorona fölött 1 500 és 2 000 mm közötti magasságban kell felszerelni.
A fényszórók fénye színének meg kell felelnie a CIE S 004 szabványban meghatározott "A osztályú fehér" vagy "B osztályú fehér" színnek.
A fényszóróknak a következő két fényerősség-intenzitást kell biztosítaniuk: "tompított fényszóró" és "távolsági fényszóró".
A "tompított fényszóró" esetében a fényszóró optikai tengelye mentén mért fényerősségnek meg kell felelnie az EN 15153-1:2007 szabvány 5.3.5. pontja 2. táblázata első sorában meghatározott értékeknek.
A "távolsági fényszóró" esetében a fényszóró optikai tengelye mentén mért legkisebb fényerősségnek meg kell felelnie az EN 15153-1:2007 szabvány 5.3.5. pontja 2. táblázata első sorában meghatározott értékeknek.
4.2.7.1.2. Helyzetjelző lámpák
Ez a pont a vezetőállással felszerelt egységekre vonatkozik.
A vonat elején három fehér helyzetjelző lámpát kell elhelyezni a mozdonyvezető kilátásának biztosítására.
Két helyzetjelző lámpát a vízszintes tengelyen kell elhelyezni a sínkorona fölött azonos magasságban, a középvonalra szimmetrikusan és legalább 1 000 mm-re egymástól, ezeket a sínkorona fölött 1 500 és 2 000 mm közötti magasságban kell felszerelni.
A harmadik helyzetjelző lámpát a két alsó lámpa fölött középen, legalább 600 mm függőleges térközzel kell elhelyezni.
Megengedett a fényszóró és a helyzetjelző tekintetében azonos alkatrész használata.
A helyzetjelző lámpák fénye színének meg kell felelnie a CIE S 004 szabványban meghatározott "A osztályú fehér" vagy "B osztályú fehér" színnek.
A helyzetjelző lámpák fényerősségének meg kell felelnie az EN 15153-1:2007 szabvány 5.4.4. pontjának.
4.2.7.1.3. Zárjelző lámpák
Az egységek végén üzemeltetni kívánt egységen két vörös fényű zárjelző lámpát kell elhelyezni a vonat láthatóságának biztosítására.
Az általános üzemre értékelt egységek esetében a lámpák lehetnek hordozható lámpák. Ebben az esetben a használandó hordozható lámpa típusát fel kell tüntetni a műszaki dokumentációban, és a funkciót alkatrész (hordozható lámpa) szintű tervezési vizsgálattal és típusvizsgálattal kell igazolni, de a hordozható lámpákat nem kell átadni.
A zárjelző lámpákat a vízszintes tengelyen kell elhelyezni a sínkorona fölött azonos magasságban, a középvonalra szimmetrikusan és legalább 1 000 mm-re egymástól, ezeket a sínkorona fölött 1 500 és 2 000 mm közötti magasságban kell felszerelni.
A zárjelző lámpák színének meg kell felelnie az EN 15153-1:2007 szabvány 5.5.3. pontjának (értékeinek).
A zárjelző lámpák fényerősségének meg kell felelnie az EN 15153-1:2007 szabvány 5.5.4. pontjának (értékeinek).
4.2.7.1.4. Lámpák működtető szerelvényei
Ez a pont a vezetőállással felszerelt egységekre vonatkozik.
A mozdonyvezető számára lehetségesnek kell lennie az egység fényszórói, helyzetjelző lámpái és zárjelző lámpái szokásos vezetési helyzetből való vezérlésének. A vezérlés lehet egyedi parancs vagy parancsok kombinációja.
Megjegyzés: nem szükséges a lámpák vészhelyzetben vészfigyelmeztető fényjelzés céljából meghatározott kombinációban történő vezérlése.
4.2.7.2. Kürt (figyelmeztető hangjelző eszköz)
4.2.7.2.1. Általános előírások
Ez a pont a vezetőállással felszerelt egységekre vonatkozik.
A vonatokat kürttel kell felszerelni, a vonat hallhatóságának érdekében.
A figyelmeztető hangjelző kürtök hangját úgy tervezik meg, hogy felismerhetően vonattól eredjen, és ne hasonlítson a közúti közlekedésben, gyárakban vagy más általános figyelmeztető eszközökben használt figyelmeztető eszközökhöz.
A figyelmeztető kürtök működtetésekor legalább az alábbi külön figyelmeztető hangok egyikének kell felhangzania:
1. hangjelzés: a külön hallható dallam alapfrekvenciája 660 Hz ± 30 Hz (magas dallam).
2. hangjelzés: a külön hallható dallam alapfrekvenciája 370 Hz ± 20 Hz (mély dallam).
4.2.7.2.2. A figyelmeztető kürt hangnyomás szintjei
A külön (vagy ha úgy tervezték, hogy hangzatban együtt szólaljon meg, csoportban) megszólaltatott kürtök által keltett C súlyozott hangnyomás szintnek 115 dB és 123 dB között kell lennie az 15153-2:2007 szabvány 4.3.2. pontjának.
4.2.7.2.3. Védelem
A figyelmeztető kürtöket és azok működtető rendszereit úgy kell kialakítani vagy védeni, hogy a levegőben szálló objektumok, például törmelék, por, hó, jégeső vagy madarak általi ütések és az amiatti eltömődés ellenére működőképesek maradjanak.
4.2.7.2.4. Kürt kezelőszerve
A mozdonyvezető számára lehetségesnek kell lennie a figyelmeztető hangjelzésnek az ÁME 4.2.9. pontjában meghatározott valamennyi hangjelzésből történő üzemeltetésének.
4.2.8. Vontatási és elektromos berendezések
4.2.8.1. Vontatási teljesítmény
4.2.8.1.1. Általános előírások
A vonat vontatórendszerének célja annak biztosítása, hogy a vonat a legnagyobb sebességéig terjedő különféle sebességeken üzemeltethető legyen. A vontatási teljesítményt befolyásoló elsődleges tényezők: a vonóerő, a vonat összeállítása és tömege, tapadás, a vágány lejtésszöge és a vonat menetellenállása.
A különböző vonat-összeállításokban üzemeltetett és vontató berendezéssel felszerelt egységek egyéni teljesítményét úgy kell meghatározni, hogy abból származtatható legyen a vonat összesített vontatási teljesítménye.
A vontatási teljesítményt a legnagyobb üzemi sebesség és a vonóerőprofil (a nyomkarimára ható erő = F(sebesség)) jellemzi.
Az egységet menetellenállása és tömege jellemzi.
A legnagyobb üzemi sebesség, a vonóerőprofil és a menetellenállás a jármű azon jellemzői, amelyekre szükség van a vonat adott vonal általános forgalmába való beillesztéséhez szükséges menetrend meghatározásához, és az egység műszaki dokumentációjának részét képezik.
4.2.8.1.2. Teljesítménykövetelmények
Ez a pont a vontató berendezéssel felszerelt egységekre vonatkozik.
Az egység vonóerőprofilját (a nyomkarimára ható erő = F(sebesség)) számítással kell meghatározni. Az egység menetellenállását a 4.2.2.10. pontban meghatározott "tervezési tömeg átlagos hasznos teher mellett" terhelési állapotra számítással kell meghatározni.
Az egység vonóerőprofilját és menetellenállását fel kell tüntetni a műszaki dokumentációban (lásd a 4.2.12.2. pontot).
A legnagyobb tervezési sebességet a fenti "tervezési tömeg átlagos hasznos teher mellett" terhelési állapotra vízszintes vágányra kell meghatározni.
A fékezés esetén szükséges vonóerő kiiktatásra vonatkozó követelményeket ezen ÁME 4.2.4. pontja határozza meg.
A vontató funkció fedélzeti tűz esetén való rendelkezésre állására vonatkozó követelményeket az alagutakra vonatkozó ÁME 4.2.5.3. (tehervonat) és 4.2.5.5. (személyvonat) pontja határozza meg.
4.2.8.2. Energiaellátás
4.2.8.2.1. Általános előírások
Ez a pont a járművekre vonatkozó és az energia-alrendszerrel kapcsolódási pontot alkotó követelményeket tárgyalja. Ezért a 4.2.8.2. pont villamos egységekre vonatkozik.
A hagyományos vasút energiaellátására vonatkozó ÁME célrendszerként a váltakozó áramú 25 kV-os 50 Hz-es rendszert határozza meg és megengedi a váltakozó áramú 15 kV-os 16,7 Hz-es és az egyenáramú 3 kV-os vagy 1,5 kV-os rendszer használatát. Ezért az alábbiakban meghatározott követelmények csak e 4 rendszerre vonatkoznak és a szabványokra való hivatkozások is e négy rendszerre vonatkoznak.
A hagyományos vasút energiaellátására vonatkozó ÁME megengedi az 1 600 mm vagy 1 950 mm hosszú áramszedőfej-geometriával kompatibilis felsővezeték-rendszerek használatát (lásd a 4.2.8.2.9.2. pontot).
4.2.8.2.2. Feszültség- és frekvenciatartományban való működés
A villamos egységeknek képesnek kell lenniük legalább a hagyományos vasút energiaellátására vonatkozó ÁME 4.2.3. pontjában meghatározott a "feszültség és frekvencia" rendszerek egyikének tartományain belüli működésre.
A vonal tényleges feszültségének a vezetési konfigurációjú vezetőállásban kell rendelkezésre állnia.
4.2.8.2.3. Visszatápláló fék a felsővezetékbe történő energiavisszatáplálással
A felsővezetékbe visszatápláló fékezés üzemmódban villamos energiát visszatápláló villamos egységeknek meg kell felelniük az EN 50388:2005 szabvány 12.1.1. pontjának.
Biztosítani kell a visszatápláló fékezés használata kiiktatását.
4.2.8.2.4. A felsővezetékről felvehető megengedett legnagyobb teljesítmény és áramerősség
A 2MW teljesítmény feletti villamos egységeket (beleértve a kinyilvánított fix vagy előre meghatározott összeállításokat is) fel kell szerelni az EN 50388:2005 szabvány 7.3. pontjában előírt áramkorlátozó funkcióval.
A villamos egységeket fel kell szerelni az áramot abnormális feszültségviszonyok között automatikusan szabályozó funkcióval, az EN 50388:2005 szabvány 7.2. pontjában előírtak szerint.
4.2.8.2.5. Legnagyobb áramerősség a villamos vontatójármű álló helyzetében egyenáramú rendszerek esetében
Egyenáramú rendszerek esetében álló helyzetben az áramszedőnként felvett legnagyobb áramerősséget ki kell számítani és méréssel kell ellenőrizni.
A határértékeket a hagyományos vasút energiaellátására vonatkozó ÁME 4.2.6. pontja határozza meg.
4.2.8.2.6. Teljesítménytényező
A teljesítménytényező tervezési adatait a hagyományos vasút energiaellátására vonatkozó ÁME G. melléklete határozza meg.
4.2.8.2.7. A rendszer energiaellátási üzemzavarai váltakozó áramú rendszerek esetében
A villamos egységek nem kelthetnek elfogadhatatlan túlfeszültséget és az EN 50388:2005 szabvány 10.1(felharmonikus és dinamikus hatások) pontjában a felsővezeték tekintetében leírt egyén jelenségeket.
Összeegyeztethetőségi vizsgálatot kell végezni az EN 50388:2005 szabvány 6. táblázatában meghatározott módszertan követésével. Az EN 50388:2005 szabvány 6. táblázatában leírt lépéseket és feltételezéseket a kérelmezőnek kell meghatározni (a 3. oszlopot nem kell alkalmazni), figyelembe véve az ugyanezen szabvány D. mellékletében megadott bemeneti adatokat. Az elfogadási kritériumokat az EN 50388:2005 szabvány 10.4. pontja szerint kell meghatározni.
Az összeegyeztethetőségi vizsgálatban figyelembe vett feltételezéseket és adatokat fel kell tüntetni a műszaki dokumentációban (lásd a 4.2.12.2. pontot).
4.2.8.2.8. Villamos fogyasztásmérő funkció
Ez a pont valamennyi villamos egységre vonatkozik.
Ha felszerelésre került villamos fogyasztásmérő készülék, annak összeegyeztethetőnek kell lennie ezen ÁME D. mellékletével. Ezt a berendezést lehet számlázási célokra használni és az általa adott adatokat valamennyi tagállamban el kell számlázáshoz fogadni.
Megjegyzés: Amennyiben az adott tagállamban számlázási célokra nincs szükség a helymeghatározó funkcióra, megengedett a funkcióhoz szolgáló alkatrészek beszerelésének mellőzése. Az ilyen rendszereket minden esetben a helymeghatározó funkció esetleges jövőbeni használatának figyelembevételével kell megtervezni.
4.2.8.2.9. Alrendszerrel kapcsolatos követelmények
4.2.8.2.9.1. MŰKÖDÉSI TARTOMÁNY AZ ÁRAMSZEDŐ MAGASSÁGÁBAN - 4.2.8.2.9.1.1 A MUNKAVEZETÉKKEL VALÓ ÉRINTKEZÉSI MAGASSÁG (JÁRMŰVEK SZINTJÉN)
Az áramszedő villamos egységre való felszerelésének lehetségessé kell tennie az alábbi magasságok közötti munkavezetékek legalább egyikével való mechanikai érintkezést:
- a sínkorona felett 4 800 mm és 6 500 mm a GC nyomtáv szerint tervezett vágányok esetében,
- a sínkorona felett 4 500 mm és 6 500 mm a GA/GB nyomtáv szerint tervezett vágányok esetében.
4.2.8.2.9.1.2 MŰKÖDÉSI TARTOMÁNY AZ ÁRAMSZEDŐ MAGASSÁGÁBAN (KÖLCSÖNÖS ÁTJÁRHATÓSÁGOT LEHETŐVÉ TEVŐ RENDSZERELEM SZINTJÉN)
Az áramszedőknek legalább 2 000 mm üzemi tartománnyal kell rendelkezniük. A Megfelelőségértékelést az EN 50206-1:2010 szabvány 4.2. és 6.2.3. pontja szerint kell elvégezni.
4.2.8.2.9.2. AZ ÁRAMSZEDŐFEJ GEOMETRIÁJA (KÖLCSÖNÖS ÁTJÁRHATÓSÁGOT LEHETŐVÉ TEVŐ RENDSZERELEM SZINTJÉN)
A villamos egységre felszerelendő áramszedő(k) legalább egyikének az alábbi. pontokban megadott áramszedőfej-geometriának megfelelő geometriatípussal kell rendelkeznie.
A független felfüggesztéssel rendelkező csúszóbetétekkel felszerelt áramszedőfejeknek továbbra is meg kell felelniük az általános profilnak úgy, hogy a fej közepén 70 N statikus sarunyomás lép fel. Az áramszedőfej rézsútosságának megengedett értékét az EN 50367:2006 szabvány 5.2. pontja határozza meg.
A munkavezeték és az áramszedőfej közötti érintkezés a csúszóbetéteken kívül és a teljes áramvezetési tartományon belül is megengedett korlátozott vonalszakaszokon és kedvezőtlen körülmények között, pl. ha erős szélben kibillen a jármű.
4.2.8.2.9.2.1. 1 600 MM HOSSZÚSÁGÚ ÁRAMSZEDŐFEJ-GEOMETRIA TÍPUS
Az áramszedőfej profiljának az EN 50367:2006 szabvány A.2. mellékletének A.7. ábráján ábrázoltnak kell lennie.
4.2.8.2.9.2.2. 1 950 MM HOSSZÚSÁGÚ ÁRAMSZEDŐFEJ-GEOMETRIA TÍPUS
Az áramszedőfej profiljának az EN 50367:2006 szabvány B.2. mellékletének B.3. ábráján ábrázoltnak kell lennie, az ott feltüntetett 368 mm helyett 340 mm magassággal és legalább 1 550 mm-es gyűjtőfej-vezetési tartománnyal.
A szarvak készülhetnek szigetelt és nem szigetelt anyagból is.
4.2.8.2.9.3. AZ ÁRAMSZEDŐ ÁRAMTERHELHETŐSÉGE (KÖLCSÖNÖS ÁTJÁRHATÓSÁGOT LEHETŐVÉ TEVŐ RENDSZERELEM SZINTJÉN)
Az áramszedőket úgy kell megtervezni, hogy továbbítani tudják a (4.2.8.2.4. pontban meghatározott) névleges áramerősséget a villamos egység felé.
Elemzéssel kell igazolni, hogy az áramszedő képes a névleges áramerősség továbbítására. Ennek az elemzésnek ki kell térnie az EN 50206-1:2010 szabvány 6.13.2. pontja követelményeinek ellenőrzésére is.
Az egyenáramú rendszerekhez szolgáló áramszedőket az álló helyzetben felvett legnagyobb (az ÁME 4.2.8.2.5. pontjában meghatározott) áramerősségre kell tervezni.
4.2.8.2.9.4. CSÚSZÓBETÉTEK (KÖLCSÖNÖS ÁTJÁRHATÓSÁGOT LEHETŐVÉ TEVŐ RENDSZERELEM SZINTJÉN)
4.2.8.2.9.4.1. A CSÚSZÓBETÉT GEOMETRIÁJA
A csúszóbetétek geometriáját úgy kell megtervezni, hogy azok illeszkedjenek a 4.2.8.2.9.2. pontban meghatározott áramszedőfej-geometriák egyikéhez.
4.2.8.2.9.4.2. A CSÚSZÓBETÉT ANYAGA
A csúszóbetétekhez használt anyagnak mechanikailag és elektronikusan kompatibilisnek kell lennie a munkavezeték anyagával (amelyet a hagyományos vasút energiaellátására vonatkozó ÁME 4.2.8. pontja határoz meg), hogy így elkerülhető legyen a munkavezetékek felületének túlzott mértékű kopása, és ezáltal a minimumra csökkenjen mind a munkavezetékek, mind a csúszóbetétek kopása.
A csak váltakozó áramú vonalakon használt csúszóbetétek tekintetében a tiszta szén megengedett. A váltakozó áramú rendszerek esetében a fentitől eltérő más anyag használata nyitott kérdés.
A csak egyenáramú vonalakon használt csúszóbetétek tekintetében megengedett a tiszta szén, adalékkal átitatott szén vagy rézzel burkolt, átitatott szén. Fémadalék használatakor a szén csúszóbetét fémtartalma súlyszázalékban kifejezve a 40 %-ot nem haladhatja meg. Az egyenáramú rendszerek esetében a fentitől eltérő más anyag használata nyitott kérdés.
A váltakozó áramú és egyenáramú vonalakon használt csúszóbetétek tekintetében a tiszta szén megengedett. A váltakozó áramú és egyenáramú rendszereken egyaránt történő használat esetében a fentitől eltérő más anyag használata nyitott kérdés.
Megjegyzés: ez a nyitott kérdés nem biztonsággal kapcsolatos, ezért elfogadható, hogy a (4.2.12.4. pontban meghatározott) üzemeltetési dokumentáció lehetővé tegye az adalékkal átitatott szén korlátozott módban váltakozó áramú vonalakon (pl. az áramszedők egyikében a vezérlőáramkör kiesése vagy a fedélzeti energiaellátást befolyásoló más meghibásodás miatt) az út folytatása érdekében történő használatát.
4.2.8.2.9.4.3. A CSÚSZÓBETÉT JELLEMZŐI
A csúszóbetétek az áramszedőfej cserélhető alkatrészei, amelyek közvetlenül érintkeznek a munkavezetékkel, és ezért kopásnak vannak kitéve.
4.2.8.2.9.5. AZ ÁRAMSZEDŐ STATIKUS SARUNYOMÁSA (KÖLCSÖNÖS ÁTJÁRHATÓSÁGOT LEHETŐVÉ TEVŐ RENDSZERELEM SZINTJÉN)
A statikus sarunyomás az áramszedőfej által felfelé gyakorolt és az áramszedő-emelő berendezés által okozott függőleges sarunyomás az áramszedő megemelt állapotában és álló jármű mellett.
Az áramszedő által a munkavezetékre gyakorolt, fent meghatározott statikus sarunyomás a következő tartományokon belül állítható:
- 60-90 N a váltakozó áramú rendszerek esetében,
- 90-120 N, 3 kV-os egyenáramú rendszerekre,
- 70-140 N, 1,5 kV-os egyenáramú rendszerekre,
4.2.8.2.9.6. AZ ÁRAMSZEDŐ SARUNYOMÁSA ÉS DINAMIKAI VISELKEDÉSE
Az Fm közepes sarunyomás az áramszedő sarunyomásának statisztikai átlagértéke és a sarunyomás statikus és aerodinamikus összetevőiből áll, dinamikus korrekcióval.
A közepes sarunyomást befolyásoló tényezők: maga az áramszedő, amelynek vonatbeli pozíciója az áramszedő adott függőleges kinyúlásától függ, valamint a jármű, amelyre az áramszedőt felszerelték.
A járművet és a járműre szerelt áramszedőt úgy tervezik, hogy az a hagyományos vasút energiaellátására vonatkozó ÁME 4.2.16. pontjában meghatározott tartományba eső Fm közepes sarunyomást fejtse ki a munkavezetékre az áramfelvétel minőségének ívhúzásmentes biztosítására, másrészt pedig a csúszóbetétek kopásának csökkentése és sérülésének elkerülése érdekében. Dinamikus vizsgálatok végzésekor a sarunyomást állítani kell.
A kölcsönös átjárhatóságot biztosító rendszerelem szintjén történő ellenőrzés validálja magának az áramszedőnek a dinamikus viselkedését, valamint annak az ÁME-nek megfelelő felsővezetékből való áramfelvételi képességét (lásd a 6.1.2.2.6. pontot).
A járműalrendszer szintjén történő ellenőrzés lehetővé teszi a sarunyomás állítását, figyelemmel a jármű által keltett aerodinamikai hatásokra és az áramszedő fix vagy előre meghatározott összeállítású egységeken való helyzetét (lásd a 6.2.2.2.15. pontot).
4.2.8.2.9.7. AZ ÁRAMSZEDŐK ELRENDEZÉSE (A JÁRMŰVEK SZINTJÉN)
Megengedett, hogy egyidejűleg egynél több áramszedő érintkezzen a felsővezetékkel.
Az áramszedők számát és azok távolságát az áramszedési teljesítményre vonatkozó követelmények figyelembevételével kell megválasztani (a fenti 4.2.8.2.9.6. pontban meghatározottak szerint).
Amennyiben fix vagy előre meghatározott összeállításban értékelt egységek esetében az egymás melletti áramszedők közötti távolsága kisebb, mint a kiválasztott felsővezeték távolságtervezésének típusa tekintetében a hagyományos vasút energiaellátására vonatkozó ÁME 4.2.17. pontjában meghatározott térköz, illetve ha egyidejűleg 2-nél több áramszedő érintkezik a felsővezetéki berendezéssel, vizsgálattal kell igazolni, hogy a leggyengébb teljesítményű áramszedő esetében a fenti 4.2.8.2.9.6. pontban meghatározott áramfelvételi minőség teljesül.
A választott (és ezért a vizsgálathoz is használt) felsővezeték távolságtervezést (A, B vagy C, a hagyományos vasút energiaellátására vonatkozó ÁME 4.2.17. pontjában meghatározottak szerint) fel kell tüntetni a műszaki dokumentációban (lásd a 4.2.12.2. pontot).
4.2.8.2.9.8. ÁTHALADÁS A FÁZIS- VAGY RENDSZERHATÁRON (A JÁRMŰVEK SZINTJÉN)
A vonatokat úgy kell megtervezni, hogy képesek legyenek egy áramellátó rendszerről és egy fázisszakaszról egy másikra átváltani anélkül, hogy áthidalnák bármelyik rendszert vagy fázishatárt.
Fázishatáron való áthaladáskor lehetségesnek kell lennie az egység áramfelvételének nullára csökkentésének, a hagyományos vasút energiaellátására vonatkozó ÁME. 4.2.19. pontjában meghatározottak szerint. Az infrastruktúra-nyilvántartás ad tájékoztatást a rendszer vagy fázishatárokon történő áthaladáskor megengedett áramszedőhelyzeteket: ez lehet leengedett vagy felengedett (a megengedett áramszedő-elrendezés mellett).
A többféle energiaellátó rendszerre tervezett járműveknek rendszerhatárokon való áthaladáskor automatikusan fel kell ismerniük az áramszedőnél az energiaellátó rendszer feszültségét.
4.2.8.2.9.9. AZ ÁRAMSZEDŐ ÉS A JÁRMŰ KÖZÖTTI SZIGETELÉS (A JÁRMŰVEK SZINTJÉN)
Az áramszedőket a villamos egységre úgy kell felszerelni, hogy az biztosítsa a földeléstől való szigetelést. A szigetelésnek az összes rendszerfeszültség esetében megfelelőnek kell lennie.
4.2.8.2.9.10. AZ ÁRAMSZEDŐ LEENGEDÉSE (A JÁRMŰVEK SZINTJÉN)
A villamos egységnek a mozdonyvezető kezdeményezésére vagy az ellenőrző-irányító jelekre (ideértve a CCS-funkciót) adott válaszként le kell engednie az áramszedőt az EN 50206-1:2010 szabvány 4.7. pontjában említett követelményeknek megfelelő időre (3 másodperc) és az EN 50119:2009 szabvány 2. táblázata szerinti dinamikus szigetelési távolságonként. Az áramszedőnek kevesebb mint 10 másodperc alatt kell leengedett állapotba kerülnie.
Az áramszedő leengedésekor a főmegszakítónak előzőleg automatikusan ki kell oldania.
Ha a villamos egység olyan automatikus leengedő készülékkel van felszerelve eszközzel kell felszerelni, amely az áramszedőfej meghibásodása esetén leengedi az áramszedőt, annak meg kell felelnie az EN 50206-1:2010 szabvány 4.8. pontjában említett követelményeknek.
Meg kell engedni a villamos egységek automatikus leengedő készülékkel való felszerelését.
A legalább 100 km/h legnagyobb sebességre tervezett villamos egységek automatikus leengedő készülékkel való kötelező felszerelése nyitott kérdés.
4.2.8.2.10. A vonat elektromos védelme
A villamos egységeket védeni kell a belső (az egység belsejéből kiinduló) rövidzárlattól.
A főmegszakítónak olyan helyen kell lennie, hogy védje a fedélzeti nagyfeszültségű áramköröket, ideértve a járművek közötti nagyfeszültségű csatlakozásokat. Az áramszedőnek, a főmegszakítónak és a közöttük lévő nagyfeszültségű csatlakozásnak ugyanazon a járművön kell lennie.
Az áramütés veszélyének megelőzésére kerülni kell a nem szándékos feszültség alá helyezést. A főmegszakító vezérlése biztonsággal kapcsolatos funkció; a szükséges biztonsági szint nyitott kérdés.
A villamos egységeknek védeniük kell magukat a rövid ideig tartó túlfeszültség, az ideiglenes túlfeszültség és a legnagyobb földzárlati hibaáram ellen. E követelmény teljesítéséhez az elektromos védelem tervezésének meg kell felelnie az EN 50388:2005 szabvány 11. "védelem koordinálása" pontjának; e pont 8. táblázata helyébe a hagyományos vasút energiaellátására vonatkozó ÁME H melléklete lép.
4.2.8.3. Dízel- és más termikus vontatási rendszerek
A dízelmotoroknak meg kell felelniük a kipufogógázra vonatkozó uniós jogszabályoknak (az összetétel és határértékek vonatkozásában).
4.2.8.4. Áramforrásból fakadó elektromos veszélyekkel szembeni védelem
A jármű és áram alá helyezett alkatrészei kialakításának olyannak kell lennie, hogy szokásos üzemben és a berendezés meghibásodása esetén is megelőzhető legyen, hogy a vonatkísérő személyzet és utasok szándékosan és véletlenül érintkezésbe kerüljenek azokkal. E követelmény teljesítéséhez az EN 50153:2002 szabványban előírt rendelkezéseket kell teljesíteni.
4.2.9. Vezetőállás és a mozdonyvezető-gép közötti kapcsolódási pont
A 4.2.9. pontban meghatározott követelmények a vezetőállással felszerelt egységekre vonatkoznak.
4.2.9.1. Vezetőállás
4.2.9.1.1. Általános előírások
A vezetőállást úgy kell kialakítani, hogy azt egy mozdonyvezető működtethesse.
A zajra vonatkozó ÁME határozza meg a vezetőállásban megengedhető legmagasabb zajszintet.
4.2.9.1.2. Be- és kiszállás
4.2.9.1.2.1. FEL- ÉS LESZÁLLÁS ÜZEMI KÖRÜLMÉNYEK KÖZÖTT
A vezetőállásnak a sínkorona alatt 200 mm-ről a vonat mindkét oldaláról, a peronról és a talajszintről is megközelíthetőnek kell lennie.
Ez a megközelíthetőség megengedett közvetlenül kívülről, a vezetőállás külső ajtaján át, illetve a vezetőállás hátulsó részén, egy szomszédos fülkén keresztül. Ez utóbbi esetben az ebben a pontban meghatározott követelmények vonatkoznak az e fülkében (vagy területen) a jármű bármely oldalán található külső megközelítési lehetőségre.
A vonatkísérő személyzet vezetőállásba való be- és kiszállására szolgáló eszközöknek - úgymint lépcsőknek, fogódzóknak vagy nyitó kézikaroknak - megfelelő méretüknél (dőlésszögüknél, szélességüknél, térközüknél, alakjuknál) fogva lehetővé kell tenniük a biztonságos és egyszerű használatot, tervezésükkor a használatukhoz kapcsolódó ergonómiai kritériumokat figyelembe kell venni. A lépcsők szegélyei nem lehetnek olyan élesek, hogy beleakadjanak a vonatkísérő személyzet lábbelijébe.
A külső gyalogjárókkal felszerelt járműveket fogódzókkal és lábrácsokkal kell felszerelni a vezetőállásba ki-beszálló mozdonyvezető biztonsága érdekében.
A vezetőállás külső ajtóinak nyíláskor az (ebben az ÁME-ben meghatározott) űrszelvényen belül kell maradniuk.
A vezetőállás külső ajtajának lépcsőről történő megközelítéskor legalább 1 675 x 500 mm, vagy szintbeli megközelítéskor 1 750 x 500 mm méretűnek kell lennie.
A vonatkísérő személyzet által a vezetőállás megközelítéséhez használt belső ajtók mérete legalább 1 700 x 430 mm.
A vezetőállást és annak megközelítését úgy kell kialakítani, hogy a vonatkísérő személyzet megakadályozhassa illetéktelenek vezetőállásba való bejutását, függetlenül attól, hogy a vezetőállás foglalt-e vagy sem, és hogy a vezetőállásban tartózkodó elhagyhassa azt bármiféle szerszám vagy kulcs használata nélkül.
A vezetőállás megközelítésének a fedélzeti energiaellátás kiesése esetén is elérhetőnek kell lennie. A vezetőállás külső ajtói véletlenül nem nyílhatnak ki.
4.2.9.1.2.2. A VEZETŐÁLLÁS VÉSZKIJÁRATA
Vészhelyzetben a vonatkísérő személyzet a vezetőállásból evakuálható kell legyen, és a vezetőállás belső részét a mentőszolgálatoknak a vezetőállás mindkét oldaláról el kell érniük, a következő vészkijárati lehetőségek használatával: külső ajtókon (lásd a fenti 4.2.9.1.2.1. pontot) vagy oldalablakokon vagy nyitható vésztetőn keresztül.
A vészkijárati lehetőségeknek minden esetben legalább 2 000 cm2 szabad helyet kell biztosítaniuk, és legalább 400 mm belső átmérővel kell rendelkezniük a beszorult személyek kiengedésének lehetővé tételére.
Az elülső vezetőállásnak legalább egy belső kijáratának kell lennie, ez a kijárat egy legalább 2 m hosszú és 1 700 mm magas és 430 mm széles szabad térre kell nyílnia, padlózatán akadály nem lehet. E területnek az egység fedélzetén kell lennie és lehet belső terület vagy nyílhat kültérre is.
4.2.9.1.3. Kilátás
4.2.9.1.3.1. KILÁTÁS ELŐRE
A vezetőállást úgy kell kialakítani, hogy a vezető ülő helyzetéből tisztán és akadálymentesen láthasson ki az egyenes vágány és a legalább 300 m sugarú ívű pálya mindkét oldalán elhelyezett rögzített jelzések F. mellékletben meghatározott feltételek mellett történő észleléséhez.
A fenti követelménynek az F. mellékletben meghatározott feltételek mellett teljesülnie kell álló vezetési helyzetből is mozdonyok és mozdonnyal vonatszerelvényben használni kívánt vezethető kocsik esetében.
A középső vezetőállással rendelkező mozdonyok és vasúti munkagépek esetében az alacsonyan elhelyezett jelzések észlelhetőségének biztosítása érdekében megengedett, hogy a mozdonyvezető a vezetőállásban több különböző helyzetben is tartózkodjon. A feltétel ülő vezetési helyzetből való teljesítése nem feltétel.
4.2.9.1.3.2. KILÁTÁS HÁTRA ÉS OLDALRA
A vezetőállást úgy kell kialakítani, hogy a vonat álló helyzetében hátrafelé láthassa a vonat mindkét oldalát, ugyanakkor képes legyen a vészfék működtetésére. Megengedett a fenti követelmény alábbi eszközök egyike révén történő teljesítése: a vezetőállás mindkét oldalán felnyíló ablakok vagy panelek, külső tükrök, kamerarendszer.
A mindkét oldalán felnyíló ablakoknak vagy paneleknek elegendően nagynak kell ahhoz lennie, hogy a mozdonyvezető átdughassa a fejét a nyíláson.
4.2.9.1.4. Belső elrendezés
A vezetőállás belső elrendezésének figyelembe kell vennie a mozdonyvezető E. mellékletben megállapított testméreteit.
A vezetőállás belső terében a személyzet mozgását nem akadályozhatják akadályok.
A vezetőállás mozdonyvezető munkaterének megfelelő padlóján lépcső nem lehet (a vezetőállás bejáratának kivételével).
A belső elrendezésnek lehetővé kell tennie a mozdonyok és mozdonnyal vonatszerelvényben használni kívánt vezethető kocsik esetében az ülő és álló helyzetben történő vezetést is.
A vezetőállást legalább egy vezetőüléssel kell felszerelni (lásd a 4.2.9.1.5. pontot) valamint ezen túlmenően egy előre néző, vezetési helynek nem minősülő üléssel az esetleges további kísérő személyzetnek.
4.2.9.1.5. Vezetőülés
A vezetőülést úgy kell kialakítani, hogy lehetővé tegye a mozdonyvezető számára az összes szokásos vezetési művelet ülő helyzetben történő elvégzését, figyelemmel a vezető E. mellékletben meghatározott testméreteire. Az ülésnek lehetővé kell tennie, hogy a mozdonyvezető fiziológiailag helyes testtartásban üljön.
A mozdonyvezető számára lehetségesnek kell lennie az ülés állításának a külső kilátás érdekében a 4.2.9.1.3.1. pontban meghatározott referencia-látószög biztosítására.
Az ülés nem akadályozhatja a vezető vészhelyzetben történő menekülését.
Az ülés kialakítása, felszerelése és mozdonyvezető általi használata tekintetében az ergonómiai és egészségügyi vonatkozásokat figyelembe kell venni.
A vezetőülés beszerelésének a mozdonyok és mozdonnyal vonatszerelvényben használni kívánt vezethető kocsik esetében lehetővé kell tennie az álló vezetési helyzethez szükséges szabad terület előállításához szükséges állítását.
4.2.9.1.6. Vezetőállás - ergonómiai kialakítás
A vezetőállást és annak működtető berendezéseit és vezérlőit úgy kell elrendezni, hogy a leggyakrabban használt vezetési helyzetben a mozdonyvezető normál tartásban lehessen, mozgásában ne legyen akadályozva, figyelemmel a vezető E. mellékletben meghatározott testméreteire.
A vezetés közben szükséges papíralapú okmányok vezetőálláson való elhelyezésének lehetővé tételére a vezetőülés előtt legalább 30 cm x 21 cm nagyságú olvasóterületnek kell rendelkezésre állnia.
A működtető és vezérlő elemeket egyértelmű jelöléssel kell ellátni, hogy azokat a mozdonyvezető azonosíthassa.
Ha a vonó és/vagy fékerő állítása (kombinált vagy külön) karral történik, a "vonóerő"-nek a kar előrefelé történő mozgatásával nőnie kell, míg a fékerőnek a kar mozdonyvezető irányába történő elmozdításával kell nőnie.
Ha külön állás van a vészfékezéshez, annak egyértelműen megkülönböztethetően kell lennie a kar többi állásától.
4.2.9.1.7. Hőmérséklet szabályozása és levegőminőség
A vezetőállás levegőjét cserélni kell a CO2 koncentrációnak az ÁME 4.2.5.9. pontban meghatározott koncentráción tartása érdekében.
(A 4.2.9.1.3. pontban meghatározott) ülő vezetési helyzetben a mozdonyvezető fejénél és vállánál nem lehet a szellőztető rendszer keltett, a megfelelő munkavégzési feltételekhez elismert határértéket meghaladó sebességű légáram.
4.2.9.1.8. Belső világítás
A vezetőállás mozdonyvezető utasítására történő általános megvilágításának (a lekapcsolást is ideértve) a jármű valamennyi üzemmódjában biztosítani kell. A megvilágítás fényerejének 75 luxnak kell lennie.
A vezetőállás olvasó felületének a mozdonyvezető utasítására történő független megvilágítását biztosítani kell, és annak 150 lux feletti értékig állíthatónak kell lennie.
Ha az eszközök meg vannak világítva, a megvilágításnak az általános megvilágítástól függetlennek és állíthatónak kell lennie.
A külső üzemi fényjelzésekkel való összetéveszthetőség kizárására a vezetőállásban zöld színű fény vagy megvilágítás nem lehet, a meglévő B osztályú jelzések kivételével (a hagyományos vasúti ellenőrző-irányító-jelző rendszerre vonatkozó ÁME-ben meghatározottak szerint).
4.2.9.2. Szélvédő
4.2.9.2.1. Mechanikai jellemzők
Az ablakok méretei, elhelyezkedése és burkolata (a karbantartást is beleértve) nem akadályozhatják a mozdonyvezető (4.2.9.1.3.1. pontban meghatározott) kilátását és támogatnia kell a vezetési funkciókat.
A vezetőállás szélvédőjének képesnek kell lennie az EN 15152:2007 szabvány 4.2.7. pontjában meghatározott repülő testek ütésének és az EN 15152:2007 szabvány 4.2.9. pontjában meghatározott lepattogzásnak.
4.2.9.2.2. Optikai jellemzők
A vezetőállás szélvédője optikai jellemzői nem változtathatják meg a jelzések láthatóságát (alakját és színét) egy működési feltétel esetében sem (ideértve példaként a szélvédő párásodás és lefagyás megelőzésére történő fűtését).
Az elsődleges és a másodlagos képek által bezárt szög a beszerelt körülmények között nem haladhatja meg az EN 15152:2007 szabvány 4.2.2. pontjában meghatározott értékeket.
A megengedett optikai képtorzításokat az EN 15152:2007 szabvány 4.2.3. pontja határozza meg.
A homályosságnak meg kell felelnie az EN 15152:2007 szabvány 4.2.4. pontjának.
A fényátbocsátásnak meg kell felelnie az EN 15152:2007 szabvány 4.2.5. pontjának.
A színintenzitásnak meg kell felelnie az EN 15152:2007 szabvány 4.2.4. pontjának.
4.2.9.2.3. Tartozékok
A szélvédőt fel kell szerelni a mozdonyvezető által vezérelt jégmentesítő, páramentesítő és külső tisztító berendezéssel.
A szélvédőmosó és -tisztító eszközök helyzetének, típusának és minőségének biztosítania kell, hogy a mozdonyvezető tiszta kilátást tarthasson fenn a legtöbb időjárási és üzemi feltétel mellett és ne akadályozzák a vezető kilátását.
A nap ellen védelmet kell biztosítani, a védelem leengedett állapotában nem csökkentve a mozdonyvezető kilátását a külső jelekre, jelzésekre és más látható információra.
4.2.9.3. Vezető-gép kapcsolódási pont
4.2.9.3.1. A vezető aktivitásának ellenőrzését szolgáló funkció
A vezetőállást fel kell szerelni a vezető aktivitásának ellenőrzését szolgáló eszközökkel, és ennek a mozdonyvezető aktivitásának hiányában a vonatot automatikusan le kell állítania.
A vezető aktivitásának ellenőrzését (és aktivitása hiányának kimutatását) szolgáló eszközökre vonatkozó előírások:
A vezető tevékenységét a vonat vezetési konfigurációjában és mozgása közben kell ellenőrizni (a mozgás kimutatási kritériuma alacsony sebességhatárnál); ez az ellenőrzés a vezető meghatározott eszközökkel (pedál, nyomógombok, érzékelők...) végzett tevékenységére és/vagy a vonat irányító és ellenőrző rendszerére végzett tevékenységének ellenőrzésével történhet.
Amennyiben X másodpercnél hosszabb ideig semmiféle tevékenység nem figyelhető meg, a vezető tevékenységének hiánya üzenetet vált ki.
A rendszernek lehetővé kell tennie az X időtartam 5-60 másodperc közötti állítását (műhelyben, karbantartási tevékenységként).
Amennyiben ugyanazon tevékenység figyelhető meg legalább 60 másodpercnél hosszabb időn át, a vezető tevékenységének hiánya üzenetet vált ki.
A vezető tevékenysége hiányának jelzése előtt a vezetőt figyelmeztetni kell, hogy lehetősége legyen a reagálásra és a rendszer alaphelyzetbe visszaállítására.
A vezető aktivitása hiányának kimutatása biztonsággal kapcsolatos funkció; a szükséges biztonsági szint nyitott kérdés.
A rendszernek a "vezető aktivitása hiányának jelzése" információt tárolnia kell a más rendszereknek (pl. rádiórendszernek) történő továbbítás céljából.
A vezető aktivitása hiányának észlelésekor vonatszinten kiváltott intézkedések meghatározása:
A vonat vezetési konfigurációjában és mozgása közben a vezető aktivitása hiányának (a mozgás kimutatási kritériuma alacsony sebességhatárnál) a vonat üzemi vagy vészfékjének teljes működtetését kell kiváltania.
Az üzemi fék teljes működtetése esetében a tényleges működtetést automatikusan kell irányítani, és amennyiben nem következik be, a vészféknek kell működésbe lépnie.
Megjegyzés: megengedett, hogy az e pontban ismertetett funkciót az ellenőrző-irányító-jelző alrendszer lássa el.
Az is megengedett, hogy a rendszert állandó X időre állítsák be (átállítási lehetőség nélkül), ha ez az állandó idő 5-60 másodperc közötti. Egy tagállamok kérheti, hogy a biztonsági okokból határozzák meg a rögzített idő legmagasabb értékét, de semmi esetre nem gátolhatja meg, hogy a (megadott határokon belül) magasabb állandó időt alkalmazó vasúttársaság a vasúthálózatukat használja, kivéve, ha igazolni tudja, hogy az veszélyezteti a nemzeti biztonsági szintet.
4.2.9.3.2. Sebesség kijelzése
Ezt a funkciót és a vonatkozó megfelelőségi értékelést a hagyományos vasúti ellenőrző-irányító-jelző rendszerre vonatkozó ÁME határozza meg.
4.2.9.3.3. A vezető kijelzője és képernyői
A vezetőállásban szolgáltatott információkra és utasításokra vonatkozó funkcionális követelményeket az adott funkcióra vonatkozó más követelményekkel együtt a funkciót ismertető pont határozza meg. Ugyanez vonatkozik a kijelző egységeken és képernyőkön továbbítható információkra és utasításokra is.
Az ERTMS információkat és utasításokat (ideértve a kijelzőn megjelenőket is) a hagyományos vasúti ellenőrző-irányító-jelző rendszerre vonatkozó ÁME határozza meg.
Az ezen ÁME hatálya alá tartozó funkciók tekintetében a mozdonyvezető által a vonat irányítására használandó és kijelzőkön vagy képernyőkön adott információk és utasításokat úgy kell kialakítani, hogy azokat a mozdonyvezető megfelelően használhassa és azokra reagálhasson.
4.2.9.3.4. Kezelőszervek és jelzőműszerek
A funkcionális követelményeket az adott funkcióra vonatkozó más követelményekkel együtt a funkciót ismertető pont határozza meg.
Valamennyi jelzőfényt úgy kell kialakítani, hogy azokat természetes vagy mesterséges fényviszonyok (ideértve a véletlen megvilágítást) között is megfelelően le lehessen olvasni.
A megvilágított jelzőműszerek és gombok vezetőállás ablakán való esetleges tükröződése nem zavarhatja a mozdonyvezető látóterét szokásos vezetési pozíciójában.
A külső üzemi fényjelzésekkel való összetéveszthetőség kizárására a vezetőállásban zöld színű fény vagy megvilágítás nem lehet, a meglévő B osztályú jelzések kivételével (a hagyományos vasúti ellenőrző-irányító-jelző rendszerre vonatkozó ÁME-nek megfelelően).
A vezetőálláson belüli fedélzeti berendezések által generált hallható információk hangerejének legalább 6 dB(A)-rel meg kell haladnia a vezetőállás átlagos, a zajra vonatkozó ÁME-ben meghatározottak szerint mért zajszintjét.
4.2.9.3.5. Feliratozás
A vezetőállásban a következő információkat kell megjeleníteni:
- a legnagyobb sebesség (Vmax),
- a jármű azonosító száma (a vontató jármű száma),
- a hordozható felszerelések helye (pl. önmentő eszköz, jelzések),
- vészkijárat.
A kezelőszervek és jelzőműszerek jelölésére harmonizált piktogramokat kell használni.
4.2.9.3.6. Távirányítás a talajról
Ha az egység tehervontatási műveletek során talajról történő irányításához távirányítási funkció biztosított, azt úgy kell kialakítani, hogy lehetővé tegye a vezető számára a vonat mozgásának biztonságos irányítását és kizárja a használat közbeni hibákat.
Ezt a funkciót biztonsággal kapcsolatos funkciónak tekintik.
E távirányítási funkció kialakítását - a biztonsági vonatkozásokat is ideértve - elismert szabványok szerint kell értékelni.
4.2.9.4. Fedélzeti eszközök és hordozható berendezések
A vezetőállásban vagy a mellett helyet kell biztosítani a következő berendezések tárolására, a mozdonyvezető által vészhelyzetben történő használat céljából:
- vörös és fehér fényt kiadó kézi lámpa,
- megszakító a vágányáramkörökhöz,
- féksaruk, ha a rögzítőfék-hatásosság a vágány lejtési szögétől függően nem elegendő (lásd a 4.2.4.5.5. "Rögzítőfék" pontot),
- tűzoltó készülék a nagy sebességű vasúti járművekre vonatkozó ÁME (2008) 4.2.7.2.3.2. pontja szerint,
- az áruszállító vonatok kézi vezérlésű vontatóegységein: gázálarc, a vasúti alagutak biztonságára vonatkozó ÁME szerint (lásd a vasúti alagutak biztonságára vonatkozó ÁME 4.7.1. pontját).
4.2.9.5. Tárolási lehetőségek a személyzet számára
Minden vezetőállást fel kell szerelni a következőkkel:
- két akasztó a ruházat számára vagy fülke a ruházat számára szolgáló rúddal,
- szabad hely 300 mm × 400 mm × 400 mm méretű bőrönd vagy táska tárolására.
4.2.9.6. Rögzítőberendezés
A rögzítendő adatok listáját a hagyományos vasút üzemeltetésére vonatkozó ÁME-ben kell meghatározni, figyelemmel a hagyományos vasúti ellenőrző-irányító-jelző rendszerre vonatkozó ÁME-ben meghatározott információkra és a balesetek jelentéséért felelős vizsgáló szervek szükségességére vonatkozó, folyamatban lévő vizsgálatokra.
Az ezen információk rögzítésére szolgáló eszközök ezen ÁME hatálya alá tartoznak. A rögzítendő információk listájának elkészültéig a rögzítő berendezésre vonatkozó előírások nyitott kérdést alkotnak.
4.2.10. Tűzbiztonság és evakuálás
4.2.10.1. Általános előírások és besorolás
Ez a pont valamennyi egységre vonatkozik.
A hagyományos TEN-vonalakon való használatra szánt járműveket úgy kell kialakítani, hogy azok pl. fedélzeti tűz veszélye esetén védjék az utasokat és a vonatkísérő személyzetet és vészhelyzetben lehetővé tegyék a hathatós evakuálást és mentést. Ez a feltétel ezen ÁME követelményeinek betartásával teljesítettnek minősül.
A járműkategóriák közötti kompatibilitással és az alagutakban végzett műveletekkel a vasúti alagutak biztonságára vonatkozó ÁME foglalkozik.
4.2.10.1.1. A tehermozdonyok és vasúti munkagépek kivételével valamennyi egységre vonatkozó követelmények:
A. kategória:
A járműveknek legalább a következőknek kell megfelelniük:
- Az A kategóriájú járművekre a vasúti alagutak biztonságára vonatkozó ÁME-ben előírt követelmények, és
- az ezen ÁME 4.2.10.2-4.2.10.4. pontjában előírt követelmények.
Az A. járműkategória a TEN-infrastruktúrán üzemeltethető járművek minimumkategóriája.
Az A. kategóriájú járművek kompatibilitás és a vonat elhagyásához veszélyes 5 km-nél rövidebb vágányszakaszok (az alagutak kivételével, pl. magas szakaszok, rakpartok, árkok stb.) ezen ÁME hatálya alá tartoznak.
B. kategória:
A B. kategóriájú járműveknek a következőknek kell megfelelniük:
- az A. kategóriájú járművekre vonatkozó összes követelmény, és
- a B. kategóriájú járművekre a vasúti alagutak biztonságára vonatkozó ÁME-ben előírt követelmények, és
- az ezen ÁME 4.2.10.5. pontjában előírt követelmények.
A B. kategóriájú járműveket a TEN-infrastruktúra valamennyi részén való üzemre tervezik (beleértve a hosszú alagutakat és a hosszú magas szakaszokat).
4.2.10.1.2. A tehermozdonyokra és vasúti munkagépekre vonatkozó követelmények:
Tehermozdonyoknak a következőkben meghatározott követelményeket kell teljesíteniük:
- a vasúti alagutak biztonságára vonatkozó ÁME tehermozdonyokra vonatkozó rendelkezései (ideértve a járművekre általánosan vonatkozó rendelkezéseket), és
- ezen ÁME 4.2.10.2. (Anyagokra vonatkozó követelmények) és 4.2.10.3. (Gyúlékony folyadékokkal kapcsolatos különleges intézkedések) pontjának követelményei.
A vasúti munkagépeknek a következőkben meghatározott követelményeket kell teljesíteniük:
- a vasúti alagutak biztonságára vonatkozó ÁME következő pontjai: 4.2.5.1. (Járművek anyagának tulajdonságai), 4.2.5.6. (Fedélzeti tűzjelzők) és 4.2.5.7. (Vonatokon használandó kommunikációs eszközök).
- ezen ÁME 4.2.10.2. (Anyagokra vonatkozó követelmények) és 4.2.10.3 (Gyúlékony folyadékokkal kapcsolatos különleges intézkedések) pontjának követelményei.
4.2.10.1.3. A vasúti alagutak biztonságára vonatkozó ÁME követelményei
A következő lista áttekintést nyújt a vasúti alagutak biztonságára vonatkozó ÁME-ben tárgyalt alapvető, a járművekre ezen ÁME alkalmazási körében alkalmazandó paraméterekről (megjegyzés: nem minden paraméter vonatkozik az ÁME hatálya alá tartozó összes járműtípusra):
4.2.5.1. Járművek anyagának tulajdonságai (1)
4.2.5.2. Személyszállító járműveken használandó tűzoltó készülékek
4.2.5.3. Áruszállító vonatok tűzvédelme
4.2.5.4. Személyszállító járműveken használandó tűzvédelmi gátak (1)
4.2.5.5. Kiegészítő intézkedések személyszállító járművek működőképességének biztosítására fedélzeti tűz esetén
4.2.5.6. Fedélzeti tűzjelzők
4.2.5.7. Vonatokon használandó kommunikációs eszközök (2)
4.2.5.8. Vészfékezés felülbírálása (2)
4.2.5.9. Vészvilágítási rendszer a vonatokon
4.2.5.10. Légkondicionáló rendszer kikapcsolása a vonaton
4.2.5.11. Személyszállító járművekre érvényes menekülési terv (1)
4.2.5.12. Információk és elérési útvonalak biztosítása a mentőszolgálatok számára
Az (1) jelölésű pontokat érinti az ÁME 4.2.10. pontjának tartalma.
mivel ez az ÁME bizonyos követelmények tekintetében eltér a vasúti alagutak biztonságára vonatkozó ÁME-től, az ÁME-ket a következők szerint kell alkalmazni:
- a vasúti alagutak biztonságára vonatkozó ÁME 4.2.5.1. (Járművek anyagának tulajdonságai) pontját a hagyományos járművek tekintetében kiegészíti ezen ÁME 4.2.10.2. (Járművek anyagának tulajdonságai) pontja.
- a vasúti alagutak biztonságára vonatkozó ÁME 4.2.5.4. (Személyszállító járműveken használandó tűzvédelmi gátak) pontját a hagyományos járművek tekintetében kiegészíti ezen ÁME 4.2.10.5. (Tűzvédelmi gátak) pontja.
- a vasúti alagutak biztonságára vonatkozó ÁME 4.2.5.11.1. (Utasok által használandó vészkijáratok) pontját a hagyományos járművek tekintetében kiegészíti ezen ÁME 4.2.10.4. (Az utasok evakuálása) pontja.
A (2) jelölésű pontokat érinti az ÁME 4.2.5. pontjának tartalma (a részletek lásd a 4.2.5. pontban).
4.2.10.2. Az anyagokra vonatkozó követelmények
A hagyományos vasúti járművek tekintetében Ez a pont kiegészíti a vasúti alagutak biztonságára vonatkozó ÁME 4.2.5.1. (Járművek anyagának tulajdonságai) pontját.
A vasúti alagutak biztonságára vonatkozó ÁME rendelkezésein túlmenően (melyek visszautalnak a nagy sebességű vasúti járművekre vonatkozó ÁME-re) és az EN 45545-2 szabvány közzétételéig az anyagok tűzállósági tulajdonságaira és az alkatrészek kiválasztására vonatkozó követelmények teljesíthetőek a TS 45545-2:2009 szabvány szerinti megfelelőség-ellenőrzéssel is, a TS 45545-1:2009 szabványban meghatározott megfelelő üzemeltetési kategória használatával.
4.2.10.3. A gyúlékony folyadékokkal kapcsolatos különleges intézkedések
A vasúti járművekre olyan intézkedéseket kell hozni, amelyek megakadályozzák tűz gyúlékony folyadékok vagy gázok kiömlése miatti keletkezését és terjedését.
4.2.10.4. Az utasok evakuálása
A hagyományos vasúti járművek tekintetében Ez a pont kiegészíti a vasúti alagutak biztonságára vonatkozó ÁME 4.2.5.11.1. (Utasok által használandó vészkijáratok) pontját.
Vészkijárat : a vonatban tartózkodók veszélyhelyzetben való menekülését célzó, a vonaton található lehetőség. A vészkijárat sajátos típusa az utasok által használandó külső ajtó.
Átjáró útvonal : a vonat azon területe, amelynek megközelítése és elhagyása két különböző oldalról lehetséges és amely nem gátolja az utasok és a személyzet vonat hosszanti tengelye mentén történő mozgását. Az átjáró útvonalon belüli, nem reteszelhető belső ajtókat úgy kell tekinteni, hogy azok nem akadályozzák az utasok és a személyzet mozgását.
Utastér : az utasok által külön engedély nélkül használható terület
Fülke : utastér vagy személyzeti tér, amelyet az utasok, illetve személyzet átjárási útvonalként nem használhat.
Vészkijáratokat kell kialakítani és azokat meg kell jelölni.
A vészkijáratoknak az utasok által a vonaton belülről kinyithatónak kell lenniük.
A kinyitott vészkijáratoknak a személyek átjutásához megfelelő méretűnek kell lenniük. Ez a követelmény akkor minősül teljesítettnek, ha a kinyitott vészkijárat legalább 700 mm x 550 mm nagyságú, négyszög alakú szabad területet biztosít.
A vészkijárathoz vezető útvonalon lehetnek ülések vagy utasok általi használatra szolgáló más eszközök (asztal, ágy stb.), de azok nem gátolhatják a vészkijárat használatát, és nem torlaszolhatják el az előző pontban említett szabad teret.
Minden külső utasajtót fel kell szerelni vésznyitóval, hogy azok vészkijáratként is használhatóak legyenek.
Az átjáró útvonalba eső minden helyről a jármű hossztengelye mentén mérve 16 méteren belül vészkijáratnak elérhetőnek kell lennie. E követelmény alól a hálókocsik és étkezőkocsik mentesülnek.
Étkezőkocsik esetében minden helytől a jármű hossztengelye mentén mérve 16 méteren belül vészkijáratnak kell lennie.
Hálókocsik esetében minden hálófülkében kell vészkijáratnak lennie.
A mosdók és poggyásztér kivételével az utasfülkén belül egy hely sem lehet a vészkijárattól a jármű hossztengelye mentén mérve 6 m-nél távolabb. Az utasfülkék vészkijáratai tekintetében a biztonságos és gyors evakuálást biztosító további eszközöket kell nyújtani, ha a vészkijárat legalacsonyabb pontja és a sínkorona közötti távolság 1,8 m-nél nagyobb.
Minden, legfeljebb 40 utas bent tartózkodására tervezett járműben legalább 2 vészkijáratnak kell lennie.
Minden, 40-nél több utas bent tartózkodására tervezett járműben legalább három vészkijáratnak kell lennie.
Az utasszállításra szolgáló minden jármű mindkét oldalán legalább egy vészkijáratnak kell lennie.
4.2.10.5. Tűzgátak
A hagyományos vasúti járművek tekintetében ez a pont kiegészíti a vasúti alagutak biztonságára vonatkozó ÁME 4.2.5.4. (Személyszállító járműveken használandó tűzvédelmi gátak) pontját.
A vasúti alagutak biztonságára vonatkozó ÁME rendelkezésein túlmenően a B tűzbiztonsági kategóriába tartozó járművek esetében a teljes "keresztmetszetű válaszfalak az utastéren/személyzeti téren belül" követelmény teljesíthető a tűz terjedését gátló intézkedésekkel is:
Ha a teljes keresztmetszetű válaszfalak helyett tűz terjedését gátló intézkedéseket alkalmaznak, igazolni kell a következőket:
- az intézkedések biztosítják, hogy a tűz és veszélyes koncentrációjú füst a tűz keletkezésétől számított legalább 15 percig nem terjed az utastéren/személyzeti téren belül 28 méternél távolabbra,
- azokat az egység utasok és személyzet szállítására szolgáló minden járművén felszerelik,
- azok 15 perces integritással a teljes keresztmetszetű válaszfalakkal legalább megegyező személyi biztonságot nyújtanak, amit az EN 1363-1:1999 szabvány válaszfal tesztje követelményei szerint vizsgálnak és feltételezve, hogy a tűz a válaszfal bármelyik oldalán keletkezhet.
Ha a tűz terjedését gátló intézkedések rendszerek, alkatrészek vagy funkciók elérhetőségén alapulnak, az igazoláskor ezek biztonsági szintjét is figyelembe kell venni. Ebben az esetben a globális biztonsági szint nyitott kérdés.
4.2.11. Szervizelés
4.2.11.1. Általános előírások
A biztonságos üzemhez szükséges, karbantartások közötti szervizelést és kisebb javításokat el kell tudni végezni a vonat szokásos szervizelési honállomásától távoli részein is.
Ez a rész tömöríti a vonatok üzem közbeni vagy a hálózat más részein történő szervizelésére vonatkozó rendelkezéseket. E követelmények legtöbbjének célja annak biztosítása, hogy a jármű rendelkezzen az ezen ÁME más részein és az infrastruktúrára vonatkozó ÁME-ben előírt rendelkezések betartásához szükséges berendezésekkel.
4.2.11.2. A vonat külső tisztítása
4.2.11.2.1. Vezetőállás szélvédőjének tisztítása
Alkalmazási kör: vezetőállással felszerelt valamennyi egység.
Biztosítani kell a vezetőállás első ablakainak a vonaton kívüli, alkatrész vagy fedőlap leszerelése nélküli tisztítását.
4.2.11.2.2. Külső tisztítás mosóberendezéssel
Biztosítani kell a kívülről mosóberendezéssel megtisztítandó vonat vízszintes vágányon 2 km/h és 5 km/h közötti sebességgel történő vezetését.
E követelmény célja a mosóberendezésekkel való kompatibilitás biztosítása.
4.2.11.3. Illemhelyürítő rendszer
Alkalmazási kör: zárt gyűjtőrendszerrel felszerelt egységek.
Illemhelyürítő rendszerrel való kapcsolódási pont A nagy sebességű járművekre vonatkozó ÁME 4.2.9.3. pontját kell alkalmazni.
4.2.11.4. Vízfeltöltő berendezés
Alkalmazási kör: vízcsapokkal felszerelt valamennyi egység.
A kölcsönösen átjárható hálózaton a jármű vízfeltöltő berendezésének kapcsolódási pontjáig eljuttatott vizet a 98/83/EK irányelvnek megfelelően ivóvíznek kell tekinteni, a hagyományos vasúti infrastruktúrára vonatkozó ÁME 4.2.13.3. pontjában meghatározottak szerint.
A fedélzeti tároló berendezés nem kelthet az emberi egészségre nézve további, a fenti rendelkezéseknek megfelelően betöltött víz tárolásával kapcsolatos kockázatot.
Ez a követelmény a csővezetékek és a tömítések anyagának és minőségének értékelésével minősül teljesítettnek. Az anyagoknak alkalmasnak kell lenniük az emberi fogyasztásra alkalmas víz szállítására és tárolására.
4.2.11.5. Kapcsolódási pont vízfeltöltéshez
Alkalmazási kör: vízfeltöltő kapcsolódási ponttal felszerelt valamennyi egység.
A víztartályok beömlő csatlakozására a nagy sebességű járművekre vonatkozó ÁME 4.2.9.5.2 vonatkozik.
4.2.11.6. A vonatok tárolásának külön követelményei
Minden egységre vonatkozik.
Eltérő funkcionális szintek: a hagyományos vasúti járművekre a nagy sebességű járművekre vonatkozó ÁME 4.2.9.7. pontja vonatkozik
Ha az egységet felszerelték álló helyzetben használható áramforrással, annak a következő energiarendszerek legalább egyikével kompatibilisnek kell lennie:
- tápellátó vezeték (lásd a 4.2.8.2.9. "Az áramszedőre vonatkozó követelmények" pontot),
- "UIC 552-típusú" vonat tápellátó vezeték (1 kV-os váltakozó áramú, 1,5 kV-os váltakozó és egyenáramú, 3 kV-os egyenáramú),
- helyi külső kiegészítő áramellátás: ez nyitott kérdés.
4.2.11.7. Üzemanyagtöltő berendezés
Az üzemanyagtöltő rendszerrel felszerelt egységekre vonatkozik
Amennyiben a járművet üzemanyagtöltő rendszerrel felszerelték - pl. dízelolajat használó vonatok -, ennek a berendezésnek meg kell felelnie az UIC 627-2:Jul 1980 szabvány 1. szakaszának.
Megjegyzés: ezzel egy jelenleg előkészületben álló EN -szabvány fog foglalkozni.
Nyitott kérdés: qlternatív üzemanyagokhoz (bioüzemanyag, CNG stb.) való töltőnyílások.
4.2.12. Üzemeltetési és karbantartási dokumentáció
A 4.2.12. pontban meghatározott követelmények valamennyi egységre vonatkoznak.
4.2.12.1. Általános előírások
Az ÁME 4.2.12. pontja ismerteti a 2008/57/EK irányelv VI. melléklete 4. pontjának (címe: "Műszaki dokumentáció") (2) bekezdésében előírt dokumentációt:
"- más alrendszerek esetén: a kivitelezéssel megegyező általános és részletes tervrajzok, elektromos kapcsolási rajzok és a hidraulikus rendszer rajzai, vezérlőáramköri ábrák, adatfeldolgozó és automatikus rendszerek leírása, üzemeltetési és karbantartási kézikönyvek stb.,"
Ez a dokumentáció része a bejelentett szervezet által összeállított műszaki dokumentációnak és csatolni kell az EK-hitelesítési nyilatkozathoz.
A műszaki dokumentáció részét képező és a kérelmező által benyújtott dokumentációt a kérelmezőnek az alrendszer teljes élettartama alatt meg kell őriznie.
A kért dokumentáció az ebben az ÁME-ben azonosított alapvető paraméterekhez kapcsolódik. Tartalmát az alábbi pontok ismertetik.
4.2.12.2. Általános dokumentáció
A járműveket leíró következő dokumentációt kell megadni:
- általános rajzok,
- az érintett alrendszer funkciójának és működésének magyarázatához szükséges elektromos, pneumatikus és hidraulikus ábrák, valamint áramkörábrák,
- a számítógépes fedélzeti rendszerek ismertetése, beleértve a funkcióik, kapcsolódási pontjaik, az adatfeldolgozás és a protokollok ismertetését,
- súlykiegyenlítés a 4.2.2.10. pontban előírtak szerint figyelembe vett terhelési állapotokra vonatkozó feltételezéssel,
- tengelyterhelés és tengelytáv, a 4.2.3.2. pontban előírtak szerint,
- a dinamikus menetviselkedésre vonatkozó vizsgálati jegyzőkönyv, ideértve a tesztvágány minőségének feljegyzését, a 4.2.3.4.2. pontban előírtak szerint,
- a forgóváz futása miatti terhelés értékeléséhez tett feltevés a 4.2.3.5.1. pontban előírtak szerint,
- fékhatásosság a 4.2.4.5. pont szerint,
- az egységben mosdók jelenléte és azok típusa, az öblítéshez használt anyag jellemzői, ha az nem tiszta víz, a kiengedett vízhez használt kezelési módszer és a szabványok, amelyek tekintetében megfelelőség-ellenőrzést végeztek, a 4.2.5.1. pontban előírtak szerint,
- a környezeti paraméterek névleges tartománytól eltérő választott tartományával kapcsolatban a 4.2.6. pontban előírtak szerint tett intézkedések,
- vontatási teljesítmény, a 4.2.8.1.1. pontban előírtak szerint,
- a váltakozó áramú rendszerek 4.2.8.2.7. pontban előírt összeegyeztethetőségi vizsgálatához figyelembe vett feltevések és adatok,
- a felsővezetéki berendezéssel egyidejűleg érintkező áramszedők száma, azok távolsága és a felsővezeték értékelési vizsgálatokhoz használt távolságtervezési típusa (A, B vagy C), a 4.2.8.2.9.7. pontban előírtak szerint.
4.2.12.3. Karbantartási dokumentáció
A karbantartás azon tevékenységek összessége, amelyek célja valamely funkcionális egység azon állapotának megőrzése vagy visszaállítása, amelyben az előírt funkciót el tudja látni, biztosítva a biztonsági rendszerek folyamatos integritását és a vonatkozó szabványoknak való megfelelést (a meghatározás az EN 13 306 szabványból származik).
A járműveket karbantartásának elvégzéséhez szükséges következő információkat kell megadni:
- A karbantartás tervezését igazoló dokumentáció: ez kifejti a karbantartás annak biztosítását célzó meghatározását és tervezését, hogy a jármű jellemzői élettartama alatt az elfogadható használati határértékeken belül maradjanak.
- A dokumentációban szerepelnie kell az ellenőrzési kritériumként szolgáló kiindulási adatoknak és a karbantartási időköznek.
- A karbantartást ismertető dokumentáció: kifejti a karbantartás elvégzésének módját.
4.2.12.3.1. A karbantartás tervezését igazoló dokumentáció
A karbantartás tervezését igazoló dokumentációnak a következőket kell tartalmaznia:
- az egység karbantartásának tervezésére használt előzmények, elvek és módszerek,
- használati profil: a jármű normál használatához tartozó határértékek (pl. km/hónap, éghajlati határértékek, engedélyezett rakománytípusok stb.),
- a karbantartás tervezésénél alkalmazott megfelelő adatok és azok eredete (tapasztalati visszajelzés),
- a karbantartás tervezésekor elvégzett tesztek, vizsgálatok és számítások.
A karbantartáshoz szükséges többi eszközt (létesítmények, szerszámok...) a 4.2.12.3.2. "A karbantartást ismertető dokumentáció" pont ismerteti.
4.2.12.3.2. A karbantartást ismertető dokumentáció
A karbantartást ismertető dokumentáció leírja a karbantartás végzésének követendő módját.
A karbantartás körébe tartozik az összes szükséges tevékenység, úgymint az ellenőrzések, figyelemmel kísérés, vizsgálatok, mérések, cserék, beállítások, javítások.
A karbantartási tevékenységek az alábbiakra oszthatóak:
- megelőző karbantartás; ütemezett és ellenőrzött,
- korrekciós karbantartás.
A karbantartást ismertető dokumentáció a következőket tartalmazza:
- A részegység hierarchiája és működésének leírása: A hierarchia megállapítja a jármű határait azáltal, hogy felsorolja a jármű termékstruktúrájához tartozó összes elemet, és megfelelő számokkal különíti el az egyes szinteket. A hierarchia utolsó elemének cserélhetőnek kell lennie.
- Sematikus kapcsolási rajzok, csatlakoztatási rajzok és huzalozási rajzok.
- Alkatrészlista: tartalmazza a pótalkatrészek (cserélhető berendezések) műszaki leírását és a hivatkozásokat a megfelelő pótalkatrészek azonosításának és beszerzésének lehetővé tétele érdekében.
- A listának tartalmaznia kell az állapottól függően cserélendő alkatrészek listáját, illetve azok listáját, amelyeket elektromos vagy mechanikus meghibásodást követően kell cserélni, illetve amelyek cseréje véletlen károsodás következtében várhatóan szükséges (pl. szélvédő).
- A kölcsönös átjárhatóságot lehetővé tevő rendszerelemeket fel kell tüntetni és hivatkozni kell a vonatkozó megfelelőségi nyilatkozatra.
- Fel kell tüntetni azokat a határértékeket, amelyeket a rendszerelemek üzem közben nem léphetnek át, és megengedett a korlátozott módbeli (a határérték elérése esetén) üzemeltetési korlátozások megadása.
- Európai jogi kötelezettségek: amennyiben a részegységekre vagy rendszerekre meghatározott európai jogi kötelezettségek vonatkoznak, fel kell sorolni e kötelezettségeket.
- A feladatok rendezett felsorolása, amelybe beletartoznak a kérelmező által a karbantartás elvégzésére javasolt tevékenységek, eljárások és eszközök.
- A karbantartás ismertetése.
- A következő szempontokat kell dokumentálni:
-
- szét- és összeszerelési utasítások, a cserélhető alkatrészek helyes szét- és összeszereléséhez szükséges rajzokkal,
- karbantartási kritériumok,
- ellenőrzések és vizsgálatok,
- a feladat elvégzéséhez szükséges eszközök és anyagok,
- a feladat elvégzéséhez szükséges fogyóeszközök,
- személyi biztonsági rendelkezések és védőfelszerelés.
- A jármű egyes karbantartási műveletek utáni ismételt üzembe helyezése előtt elvégzendő, szükséges vizsgálatok és eljárások.
- Hibakeresési (hibadiagnosztikai) kézikönyv minden ésszerűen előre látható meghibásodáshoz, amely tartalmazza a rendszerek funkcionális és sematikus ábráit, vagy pedig számítógépes hibakereső rendszerek.
4.2.12.4. Üzemi dokumentáció
Az egység üzemeltetéséhez szükséges üzemi dokumentáció a következőkből áll:
- A normál üzemmód leírása, ideértve az egység üzemeltetési jellemzőit és korlátozásait (pl. a jármű nyomtávja, legnagyobb tervezési sebesség, tengelyterhelés, fékhatásosság...).
- Az ÁME-ben leírt berendezések vagy funkciók biztonsági szempontból jelentőséggel bíró meghibásodása esetén az ésszerűen előrelátható különböző korlátozott módok, a kapcsolódó elfogadható határértékekkel és az egység esetlegesen előforduló üzemeltetési feltételeivel.
Ez a műszaki üzemi dokumentáció a műszaki dokumentáció részét alkotja.
4.2.12.5. Emelési diagram és mentési utasítások
A dokumentációnak tartalmaznia kell:
- Az emelési eljárások leírása és a kapcsolódó utasítások.
- Az emelési kapcsolódási pontok leírása.
4.2.12.6. Mentési leiratok
A dokumentációnak tartalmaznia kell a következőket:
- A vészhelyzeti intézkedések alkalmazási eljárásainak leírása és a megteendő óvintézkedések, pl. a vészkijáratok használatára, a járműbe mentési céllal való belépésre, a fékek leválasztására, az elektromos földelésre, vontatásra vonatkozóan.
- A leírt vészhelyzeti intézkedések megtétele hatásának leírása, pl. a fékek leválasztását követően a fékhatásosság csökkenése.
4.3. A kapcsolódási pontok működési és műszaki előírásai
4.3.1. Kapcsolódási pont az energiaellátási alrendszerrel
7. táblázat
Kapcsolódási pontok az energiaellátási alrendszerrel
Megfeleltetés a hagyományos mozdonyokra és személyszállító járművekre vonatkozó ÁME-vel | Megfeleltetés a hagyományos vasút energiaellátására vonatkozó ÁME-vel | ||
Paraméter | Pont | Paraméter | Pont |
Nyomtáv | 4.2.3.1 | Villamos űrszelvény | E. melléklet |
Feszültség- és frekvenciatartományban való működés | 4.2.8.2.2 | Feszültség és frekvencia | 4.2.3 |
Az energiaellátási rendszer teljesítményéhez kapcsolódó paraméterek: | |||
– A felsővezetékből engedélyezett legnagyobb teljesítmény és áramerősség | 4.2.8.2.4 | — A vonat legnagyobb áramerőssége | 4.2.4 |
– Teljesítménytényező | 4.2.8.2.6 | — Teljesítménytényező | 4.2.4 |
– Legnagyobb áramfelvétel álló helyzetben | 4.2.8.2.5 | – Közepes hasznos feszültség | 4.2.4 |
– Áramterhelhetőség álló egyenáramú vonatok esetében | 4.2.6 | ||
Visszatápláló fékezés a felsővezetékbe történő energia-visszatáplálással | 4.2.8.2.3 | Visszatápláló fékezés | 4.2.7 |
Villamos fogyasztásmérő funkció | 4.2.8.2.8 | Villamosenergia-fogyasztás mérése | 4.2.21 |
– Az áramszedő magassága | 4.2.8.2.9.1 | A felsővezetékek geometriai adatai | 4.2.13 |
– Az áramszedőfej geometriája | 4.2.8.2.9.2 | ||
– Az áramszedőfej geometriája | 4.2.8.2.9.2 | Az áramszedő szabad áthaladási űrszelvénye | 4.2.14 |
– Nyomtáv | 4.2.3.1 | ||
A csúszóbetét anyaga | 4.2.8.2.9.4 | A munkavezeték anyaga | 4.2.18 |
Az áramszedő statikus sarunyomása | 4.2.8.2.9.5 | Közepes sarunyomás | 4.2.15 |
Az áramszedő sarunyomása és dinamikai viselkedése | 4.2.8.2.9.6 | Dinamikai jellemzők és az áramfelvétel minősége | 4.2.16 |
Az áramszedők elrendezése | 4.2.8.2.9.7 | A felsővezeték tervezéséhez használt áramszedő-távolság | 4.2.17 |
Áthaladás a fázis- vagy rendszerhatáron | 4.2.8.2.9.8 | Fázis- és rendszerhatárok: | |
– fázis | 4.2.19 | ||
– rendszer | 4.2.20 | ||
A vonat elektromos védelme | 4.2.8.2.10 | Az elektromos védelem összehangolásával kapcsolatos intézkedések | 4.2.8 |
A rendszer energiaellátási üzemzavarai váltakozó áramú rendszerek esetében | 4.2.8.2.7 | Felharmonikus hullámok és dinamikus hatások | 4.2.9 |
4.3.2. Kapcsolódási pont az infrastruktúra alrendszerrel
8. táblázat
Kapcsolódási pontok az infrastruktúra alrendszerrel
Megfeleltetés a hagyományos mozdonyokra és személyszállító járművekre vonatkozó ÁME-vel | Megfeleltetés a hagyományos vasúti infrastruktúrára vonatkozó ÁME-vel | ||
Paraméter | Pont | Paraméter | Pont |
Jármű kinematikus szerkesztési szelvénye | 4.2.3.1. | Minimális építési nyomtáv | 4.2.4.1 |
Vágánytengely-távolság | 4.2.4.2 | ||
Legkisebb függőleges ívsugár | 4.2.4.5 | ||
Tengelyterhelés paraméter | 4.2.3.2.1 | A vágány függőleges terheléssel szembeni ellenállása | 4.2.7.1 |
A vágány keresztirányú erőkkel szembeni ellenállása | 4.2.7.3 | ||
A hidak forgalmi terheléssel szembeni ellenállása | 4.2.8.1 | ||
Alépítmények egyenértékű függőleges irányú terhelése és talajnyomásbeli hatások | 4.2.8.2 | ||
Meglévő hidak és alépítmények forgalmi terheléssel szembeni ellenállása | 4.2.8.4 | ||
Menetdinamikai viselkedés | 4.2.3.4.2. | Túlemelés-hiány | 4.2.5.4 |
Menetdinamikai vágányterhelési határértékek | 4.2.3.4.2.2 | A vágány függőleges irányú terheléssel szembeni ellenállása | 4.2.7.1 |
A vágány keresztirányú erőkkel szembeni ellenállása | 4.2.7.3 | ||
Egyenértékű kúposság | 4.2.3.4.3 | Egyenértékű kúposság | 4.2.5.5 |
A kerékpár geometriai jellemzői | 4.2.3.5.2.1 | Névleges nyomtávolság | 4.2.5.1 |
A kerekek geometriai jellemzői | 4.2.3.5.2.2 | A nyíltvonali és állomási átmenő fővágány sínfejprofilja | 4.2.5.6 |
Változtatható nyomtávú kerékpárok | 4.2.3.5.2.3 | Kitérők üzem közbeni geometriája | 4.2.6.2 |
Legkisebb ívsugár | 4.2.3.6 | Legkisebb vízszintes ívsugár | 4.2.4.4 |
Átlagos legnagyobb lassulás | 4.2.4.5.1 | A vágány hosszanti erőkkel szembeni ellenállása | 4.2.7.2 |
A vontatás és a fékezés miatti hatások | 4.2.8.1.4 | ||
Légörvényhatások | 4.2.6.2.1 | Vágányok feletti vagy melletti új műtárgyak ellenállása | 4.2.8.3 |
Légnyomásimpulzus | 4.2.6.2.2 | Legnagyobb nyomásingadozás az alagutakban | 4.2.11.1 |
Legnagyobb nyomásingadozás az alagutakban | 4.2.6.2.3 | Dugattyúhatás föld alatti állomásokon | 4.2.11.2 |
4.2.6.2.4 | Vágánytengely-távolság | 4.2.4.2 | |
Oldalszél | 4.2.6.2.5 | Az oldalszél hatása | 4.2.11.6 |
Illemhelyürítő rendszer | 4.2.11.3 | Illemhelyürítés | 4.2.13.1 |
Külső tisztítás mosóberendezéssel | 4.2.11.2.2 | A szerelvény külső tisztítására szolgáló eszközök, | 4.2.13.2 |
Vízfeltöltő berendezés | |||
Kapcsolódási pont vízfeltöltéshez | 4.2.11.4 4.2.11.5 | Vízfeltöltő berendezés, | 4.2.13.3 |
Üzemanyag-feltöltő berendezés | 4.2.11.7 | Üzemanyag-feltöltés | 4.2.13.5 |
Vonatok tárolásának külön követelményei | 4.2.11.6 | Pálya menti áramellátás | 4.2.13.1 |
4.3.3. Kapcsolódási pont az üzemeltetés alrendszerrel
9. táblázat
Kapcsolódási pontok az üzemeltetés-alrendszerrel
Megfeleltetés a hagyományos mozdonyokra és személyszállító járművekre vonatkozó ÁME-vel | Megfeleltetés a hagyományos vasút üzemeltetésére vonatkozó ÁME-vel | ||
Paraméter | Pont | Paraméter | Pont |
Mentésre szolgáló kocsikapcsoló berendezés | 4.2.2.2.4 | Üzemmenet folytonosságát visszaállító intézkedések | 4.2.3.6.3 |
Tengelyterhelés paraméter | 4.2.3.2 | A vonatok összeállítása | 4.2.2.5 |
Fékhatásosság | 4.2.4.5 | A fékrendszerrel kapcsolatos minimális követelmények | 4.2.2.6.1 |
Külső elülső és hátsó lámpák | 4.2.7.1 | A vonat láthatósága | 4.2.2.1 |
Kürt | 4.2.7.2 | A vonat hallhatósága | 4.2.2.2 |
Kilátás | 4.2.9.1.3 | A jelzések láthatósága | 4.2.2.8 (1) |
a szélvédő jellemzői | 4.2.9.2.2 | ||
Belső világítás | 4.2.9.1.8 | ||
A vezető aktivitásának ellenőrzését szolgáló funkció | 4.2.9.3.1 | Vezetői éberségi berendezés | 4.2.2 9 19 |
Rögzítőberendezés | 4.2.9.6 | Adatrögzítés | 4.2.3.5.2 |
(1) Az OPE ÁME jövőbeni felülvizsgálatában. |
4.3.4. Kapcsolódási pontok az ellenőrző-irányító-jelző alrendszerrel
10. táblázat
Interfészek az ellenőrző-irányító és jelző alrendszerrel
Megfeleltetés a hagyományos mozdonyokra és személyszállító járművekre vonatkozó ÁME-vel | Megfeleltetés a vasúti ellenőrző-irányító és jelző alrendszerre vonatkozó ÁME-vel | ||
Paraméter | Pont | Paraméter | Pont |
A jármű sínbe épített vonatérzékelő rendszerrel való kompatibilitási jellemzői | 4.2.3.3.1.1. | A jármű geometriai adatai A járművek felépítése A kisugárzások izolálása EMC | Az ellenőrző-irányító és jelző alrendszerre vonatkozó ÁME A. mellékletének 77. hivatkozásában említett előírások |
A jármű tengelyszámlálón alapuló vonatérzékelő rendszerrel való kompatibilitási jellemzői | 4.2.3.3.1.2. | A jármű geometriai adatai A kerék geometriai méretei A járművek felépítése EMC | Az ÁME A. mellékletének 77. hivatkozásában említett előírások |
A jármű hurokberendezésen alapuló vonatérzékelési rendszerrel való kompatibilitási jellemzői | 4.2.3.3.1.3. | A járművek felépítése | Az ÁME A. mellékletének 77. hivatkozásában említett előírások |
Vészfékezés vezérlése | 4.2.4.4.1. | A fedélzeti ETCS funkciói | 4.2.2. |
Vészfékteljesítmény | 4.2.4.5.2. | A vonat garantált fékezési teljesítménye és jellemzői | 4.2.2. |
Kilátás | 4.2.9.1.3. | A pálya menti ellenőrző-irányító eszközök láthatósága | 4.2.15. |
4.3.5. Kapcsolódási pont a személyszállítási telematikai alkalmazások alrendszerrel
11. táblázat
Kapcsolódási pont a személyszállítási telematikai alkalmazások alrendszerrel
Megfeleltetés a hagyományos mozdonyokra és személyszállító járművekre vonatkozó ÁME-vel | Megfeleltetés a személyszállítási telematikai alkalmazásokra vonatkozó ÁME tervezetével | ||
Paraméter | Pont | Paraméter | Pont |
Ügyféltájékoztatás | 4.2.5 | Fedélzeti rendszer kijelzője | 4.2.13.1 |
Hangosbemondó rendszer | 4.2.5.2 | Automatikus hangosbemondó és közlemények | 4.2.13.2 |
Ügyféltájékoztatás | 4.2.5 |
4.4. Üzemeltetési szabályok
Figyelemmel a 3. pontban említett alapvető követelményekre, a vasúti járművek üzemeltetésére ezen ÁME hatálya alatt vonatkozó rendelkezéseket a következő pontok írják le:
- 4.3.3. "Kapcsolódási pont az üzemeltetés alrendszerrel" pont, amely ezen ÁME 4.2. pontjának vonatkozó pontjaira hivatkozik.
- 4.2.12. "Üzemeltetési és karbantartási dokumentáció" pont.
Az üzemeltetési szabályok kialakítása a vasúttársaság biztonsági irányítási rendszerének keretében történik.
Különösen az annak biztosítását szolgáló üzemeltetési szabályok, hogy a lejtőn az ÁME 4.2.4.2.1. és 4.2.4.5.5. pontjában (fékezésre vonatkozó követelmények) megadottak szerint megállított vonat mozdulatlan maradjon. A hangosbemondó rendszer, az utasok által működésbe hozható riasztó és a vészkijáratok használatára, valamint a fel- és leszállásra szolgáló ajtók működtetésére vonatkozó szabályok kidolgozásakor figyelembe kell venni ezen ÁME és az üzemeltetési dokumentáció vonatkozó rendelkezéseit.
A vágány mellett dolgozókra vagy ott tartózkodó utasokra vonatkozó biztonsági szabályokat az ÁME és az üzemeltetési dokumentáció vonatkozó rendelkezéseire figyelemmel kell kidolgozni.
A 4.2.12.4. pontban ismertetett műszaki üzemeltetési dokumentáció adja meg a járművek korlátozott módban történő üzemeltetése szabályainak meghatározásakor figyelembe veendő jellemzőit.
Az emelési eljárásokat meg kell határozni, ideértve a kisiklott vagy normál haladásra képtelen vasút mentési módszereit és eszközeit, figyelemmel az ÁME 4.2.2.6. és 4.2.12.5. pontjában leírt emelési szabályokra. A fékrendszerre mentéskor vonatkozó rendelkezéseket az ÁME 4.2.4.10. és 4.2.12.6. pontja írja le.
4.5. Karbantartási szabályok
Figyelemmel a 3. pontban említett alapvető követelményekre, a vasúti járművek karbantartására ezen ÁME hatálya alatt vonatkozó rendelkezéseket a következő pontok írják le:
- 4.2.11. pont: "Szervizelés",
- 4.2.12. pont: "Üzemeltetési és karbantartási dokumentáció".
A 4.2. pont más rendelkezései (4.2.3.4. és 4.2.3.5. pont) határozzák meg adott jellemzőkre a karbantartás során ellenőrizendő határértékeket.
A fent említett és a 4.2. pontban megadott információkból üzemeltetési szinten (az ezen ÁME hatálya alá tartozó értékelés körén kívül) határozzák meg a jármű élettartama alatt az alapvető követelményeknek való megfelelés biztosításához megfelelő tűréseket és időközöket; a következők képezik e tevékenység részét:
- az üzemi értékek meghatározása, ha azok ezen ÁME-ben nem kerültek meghatározásra, illetve ha az üzemeltetési feltételek lehetővé teszik az ÁME-ben meghatározottaktól eltérő üzemi határértékek használatát,
- az üzemi értékek indokolása, a 4.2.12.3.1. "A karbantartás tervezését igazoló dokumentáció" pontban előírtakkal egyenértékű információk megadásával.
Az e pontban fentebb említett információk alapján a karbantartási tervet üzemeltetési szinten határozzák meg (az ezen ÁME hatálya alá tartozó értékelés körén kívül), a terv a karbantartási feladatok rendezett felsorolásából áll, ideértve a karbantartási tevékenységeket, eljárásokat és eszközöket, a karbantartási kritériumokat, gyakoriságot és a karbantartás elvégzéséhez szükséges munkaidőt.
4.6. Szakmai alkalmasság
A vasúti járművek ezen ÁME hatálya alatti üzemeltetéséhez szükséges személyzet szakképesítését részben az üzemeltetési ÁME és a 2007/59/EK európai parlamenti és tanácsi irányelv ( 20 ) írja le.
4.7. Egészségvédelmi és biztonsági feltételek
A vasúti járművek ezen ÁME hatálya alatti üzemeltetéséhez és karbantartásához szükséges személyzet egészségére és biztonságára vonatkozó rendelkezéseket (a 2008/57/EK irányelv számozása szerint) az 1.1., 1.3., 2.5.1., 2.6.1. pontban foglalt alapvető követelmények határozzák meg. A 3.2. pontban szereplő táblázat tünteti fel ezen ÁME azon műszaki pontjait, amelyek az alapvető követelményekhez kapcsolódnak.
Különösen a 4.2. pont következő rendelkezései foglalkoznak a személyzet egészségével és biztonságával:
- 4.2.2.2.5. pont: A személyzet hozzáférése az összekapcsoláshoz/szétkapcsoláshoz,
- 4.2.2.5. pont: Passzív biztonság,
- 4.2.2.58. pont: Peronajtók a személyzet és a rakomány számára,
- 4.2.6.2.2. pont: Az elhaladó vonatok miatt a vágány mentén dolgozókat érő légörvényhatás,
- 4.2.7.2.2. pont: A figyelmeztető kürt hangnyomásszintje,
- 4.2.8.4. pont: Áramforrásból fakadó elektromos veszélyekkel szembeni védelem,
- 4.2.9. pont: Vezetőállás,
- 4.2.10. pont: Tűzbiztonság és evakuálás.
4.8. Az infrastruktúra-nyilvántartás és az engedélyezett járműtípusok európai nyilvántartása
A 2008/57/EK irányelv 34. cikkében megállapított, a nyilvántartás számára rendelkezésre bocsátandó adatokat az engedélyezett vasútijármű-típusok európai nyilvántartásáról szóló, 2011. október 4-i 2011/665/EU bizottsági végrehajtási határozat ( 21 ) tartalmazza.
5. KÖLCSÖNÖS ÁTJÁRHATÓSÁGOT LEHETŐVÉ TEVŐ RENDSZERELEMEK
5.1. Meghatározás
A 2008/57/EK irányelv 2. cikkének d) pontja szerint a kölcsönös átjárhatóságot lehetővé tevő rendszerelemek "a berendezések olyan elemi rendszerelemei, rendszerelem-csoportjai, szerkezeti részegységei vagy egésze, amelyeket beszereltek vagy beszerelni terveznek a hagyományos transzeurópai vasúti rendszer kölcsönös átjárhatóságát közvetlenül vagy közvetve meghatározó valamely alrendszerbe."
A "rendszerelem" fogalma materiális és immateriális javakat - úgymint szoftvert - egyaránt magában foglal;
Az 5.3. pontban ismertetett, kölcsönös átjárhatóságot lehetővé tevő rendszerelemek az alábbi rendszerelemek:
- Amelyekre vonatkozó előírások az ezen ÁME 4.2. pontjában meghatározott követelményre vonatkoznak. Az 5.3. pont tartalmazza a 4.2. pont megfelelő pontjára való hivatkozást és meghatározza azt, hogy a hagyományos transzeurópai vasúti rendszer kölcsönös átjárhatósága miként függ egy adott rendszerelemtől.
- Amennyiben az 5.3. pont valamely követelményt kölcsönös átjárhatóságot lehetővé tevő rendszerelem szintjén értékeltként jelöl meg, ugyanerre a követelményre vonatkozó alrendszer szintű értékelésre nincs szükség.
- Amelyek előírásaihoz esetlegesen további, úgymint kapcsolódási pontra vonatkozó követelmények szükségesek; ezeket a további követelményeket az 5.3. pont határozza meg.
- Amelyek értékelési eljárását a kapcsolódó alrendszertől függetlenül a 6.1. pont ismerteti.
A kölcsönös átjárhatóságot lehetővé tevő rendszerelem felhasználási területét mg kell adni és igazolni kell, az 5.3. pontban mindegyikük tekintetében ismertetett módon.
5.2. Innovatív megoldások
A jelen ÁME 4.1.1. pontjában ismertettek szerint az innovatív megoldások új előírásokat és/vagy új értékelési módszereket igényelhetnek. Ezeket az előírásokat és értékelési módszereket a 6.1.3. pontban leírt módszerrel kell kidolgozni mindazon esetekben, ha az innovatív megoldás a kölcsönös átjárhatóságot lehetővé tevő rendszerelemet érinti.
5.3. Az átjárhatóságot biztosító rendszerelemre vonatkozó előírások
A kölcsönös átjárhatóságot lehetővé tevő rendszerelemek felsorolása és részletes meghatározása a következő:
5.3.1. Mentésre szolgáló kapcsolók
A mentésre szolgáló kapcsolót az alábbiakkal meghatározott felhasználási területre kell kialakítani és értékelni:
- azon végkapcsolótípus, amelyhez csatlakoztatható,
- azon húzó és nyomóerők, amelyeknek képes ellenállni,
- a mentőegységre való felszerelés kívánt módja.
A mentőkapcsolónak meg kell felelnie az ezen ÁME 4.2.2.2.4. pontjában szereplő követelményeknek. Ezeket a követelményeket kölcsönös átjárhatóságot lehetővé tevő rendszerelem szintjén kell értékelni.
5.3.2. Kerekek
A kerekeket az alábbiakkal meghatározott felhasználási területre kell kialakítani és értékelni:
- Geometriai jellemzők: névleges futófelület-átmérő.
- Mechanikai jellemzők: legnagyobb statikus függőleges irányú erő, legnagyobb sebesség és élettartam.
- Termomechanikai jellemzők: legnagyobb fékezési energia.
A keréknek meg kell felelnie a 4.2.3.5.2.2. pontban meghatározott geometriai, mechanikai és termomechanikai jellemzőknek. Ezeket a követelményeket kölcsönös átjárhatóságot lehetővé tevő rendszerelem szintjén kell értékelni
5.3.3. Csúszásgátló rendszer
A kölcsönös átjárhatóságot lehetővé tevő rendszerelem csúszásgátló rendszert az alábbiakkal meghatározott felhasználási területre kell kialakítani és értékelni:
- Pneumatikus fékrendszertípus.
-
Megjegyzés: más típusú - hidraulikus, dinamikus és vegyes - fékrendszerek tekintetében a csúszásgátló rendszer nem minősül kölcsönös átjárhatóságot lehetővé tevő rendszerelemnek és ezt a pontot ezekre az esetekre nem kell alkalmazni.
- A legnagyobb üzemi sebesség.
A csúszásgátló rendszernek meg kell felelnie az ezen ÁME 4.2.4.6.2. pontjában szereplő követelményeknek.
5.3.4. Fényszórók
A fényszórók kialakítása és értékelése felhasználási területükre vonatkozó korlátozás nélkül történik.
A fényszóróknak meg kell felelniük a szín és fényerő tekintetében a 4.2.7.1.1. pontban meghatározott követelményeknek. Ezeket a követelményeket kölcsönös átjárhatóságot lehetővé tevő rendszerelem szintjén kell értékelni.
5.3.5. Helyzetjelző lámpák
A helyzetjelző lámpák kialakítása és értékelése a felhasználási területükre vonatkozó korlátozás nélkül történik.
A helyzetjelző lámpáknak meg kell felelniük a szín és fényerő tekintetében a 4.2.7.1.2. pontban meghatározott követelményeknek. Ezeket a követelményeket kölcsönös átjárhatóságot lehetővé tevő rendszerelem szintjén kell értékelni.
5.3.6. Zárjelző lámpák
A zárjelző lámpák kialakítása és értékelése felhasználási területükre vonatkozó korlátozás nélkül történik.
A zárjelző lámpáknak meg kell felelniük a szín és fényerő tekintetében a 4.2.7.1.3. pontban meghatározott követelményeknek. Ezeket a követelményeket a kölcsönös átjárhatóságot lehetővé tevő rendszerelem szintjén kell értékelni
5.3.7. Kürtök
A kürtök kialakítása és értékelése felhasználási területükre vonatkozó korlátozás nélkül történik.
A kürtöknek meg kell felelniük hangjelzések tekintetében a 4.2.7.2.1. pontban meghatározott követelményeknek. Ezeket a követelményeket a kölcsönös átjárhatóságot lehetővé tevő rendszerelem szintjén kell értékelni
5.3.8. Áramszedő
Az áramszedőt az alábbiakkal meghatározott felhasználási területre kell kialakítani és értékelni:
- a feszültségrendszer(ek) különböző típusai a 4.2.8.1.2. pontban meghatározottak szerint,
- a 4.2.8.2.9.2. pontban meghatározott kétféle áramszedőfej-geometria egyike,
- az áramterhelhetőség a 4.2.8.2.4. pontban meghatározottak szerint,
- az álló helyzetben felsővezetékenként felvehető legnagyobb áramerősség egyenáramú rendszerek tekintetében,
-
Megjegyzés: a 4.2.8.2.5. pontban meghatározott, álló helyzetben felvett legnagyobb áramerősségnek kompatibilisnek kell a fenti értékkel lennie, figyelemmel a felsővezeték jellemzőire (1 vagy 2 felsővezeték),
- a legnagyobb üzemi sebesség: a legnagyobb üzemi sebesség értékelését a 4.2.8.2.9.6. pontban meghatározottak szerint kell elvégezni.
A fenti listában megadott követelményeket kölcsönös átjárhatóságot lehetővé tevő rendszerelem szintjén kell értékelni.
Kölcsönös átjárhatóságot lehetővé tevő rendszerelemként kell értékelni a következőket is: az áramszedő magasságában megadott, a 4.2.8.2.9.1.2. pontban meghatározott működési tartománya, az áramszedőfej 4.2.8.2.9.2. pontban meghatározott geometriája, az áramszedő 4.2.8.2.9.3. pontban meghatározott statikus sarunyomása és magának az áramszedőnek a 4.2.8.2.9.6. pontban meghatározott dinamikus viselkedése.
5.3.8.1. Csúszóbetétek
A csúszóbetétek az áramszedő fej cserélhető részei, amelyek közvetlenül érintkeznek a felsővezetékkel.
A csúszóbetéteket az alábbiakkal meghatározott felhasználási területre kell kialakítani és értékelni:
- geometriájuk, a 4.2.8.2.9.4.1. pontban meghatározottak szerint,
- a csúszóbetétek anyaga a 4.2.8.2.9.4.2. pontban meghatározottak szerint,
- a feszültségrendszer(ek) különböző típusai a 4.2.8.1.2. pontban meghatározottak szerint,
- az áramterhelhetőség a 4.2.8.2.4. pontban meghatározottak szerint,
- az álló helyzetben felvett legnagyobb áramerősség egyenáramú rendszerek esetében a 4.2.8.2.5. pontban meghatározottak szerint.
A pontban fentebb megadott követelményeket kölcsönös átjárhatóságot lehetővé tevő rendszerelem szintjén kell értékelni.
Ezen túlmenően a szénből vagy átitatott szénből készült csúszóbetéteken el kell végezni a 6.1.2.2.7. pontban megadott megfelelőségértékelést.
5.3.9. Főmegszakító
A főmegszakítót az alábbiakkal meghatározott felhasználási területre kell kialakítani és értékelni:
- a feszültségrendszer(ek) különböző típusai a 4.2.8.1.2. pontban meghatározottak szerint,
- az áramterhelhetőség a 4.2.8.2.4. pontban (legnagyobb áramerősség) és a 4.2.8.2.10 (legnagyobb földzárlati hibaáram) pontban meghatározottak szerint.
A fenti pontokban megadott követelményeket kölcsönös átjárhatóságot lehetővé tevő rendszerelem szintjén kell értékelni.
A megszakításnak azonnalinak kell lennie (szándékos késleltetés nélkül) a hagyományos vasút energiaellátására vonatkozó ÁME K. mellékletében meghatározottak szerint, amelyre a 4.2.8.2.10 (a K. melléklet 2. megjegyzésében megadott, legnagyobb elfogadható érték) pont hivatkozik. Ezt kölcsönös átjárhatóságot lehetővé tevő rendszerelem szintjén kell értékelni.
5.3.10. Illemhelyürítés csatlakozása
Az illemhelyürítés csatlakozásának kialakítása és értékelése felhasználási területükre vonatkozó korlátozás nélkül történik.
Az illemhelyürítés csatlakozásának a méretek tekintetében meg kell felelnie a 4.2.11.3. pontban meghatározott követelményeknek.
5.3.11. Víztartályok beömlő csatlakozója
A víztartályok beömlő csatlakozójának kialakítása és értékelése felhasználási területükre vonatkozó korlátozás nélkül történik.
A víztartályok beömlő csatlakozójának a méretek tekintetében meg kell felelnie a 4.2.11.5. pontban meghatározott követelményeknek.
6. A MEGFELELŐSÉG VAGY ALKALMAZHATÓSÁG ÉRTÉKELÉSE ÉS EK-HITELESÍTÉS
6.1. A kölcsönös átjárhatóságot lehetővé tevő rendszerelemek
6.1.1. Megfelelőségértékelés
A gyártónak vagy hivatalos közösségi képviselőjének a 2001/57/EK irányelv 13. cikkének (1) bekezdésével összhangban álló EK-megfelelőségi nyilatkozatot vagy alkalmazhatósági nyilatkozatot kell kiállítania a kölcsönös átjárhatóságot lehetővé tevő valamely rendszerelem forgalmazásának megkezdése előtt.
A kölcsönön átjárhatóságot lehetővé tevő rendszerelem megfelelőségének vagy alkalmazhatóságának értékelését az adott rendszerelemre ezen ÁME 6.1.2. pontjában meghatározott modul(ok) szerint kell elvégezni.
Modulok a kölcsönös átjárhatóságot lehetővé tevő rendszerelem EK-megfelelőségi tanúsításához
CA. modul | Belső gyártásellenőrzés |
CA1. modul | Belső gyártásellenőrzés és termékellenőrzés egyedi vizsgálattal |
CA2. modul | Belső gyártásellenőrzés és véletlenszerű időközönként végzett termékellenőrzés |
CB. modul | EK-típusvizsgálat |
CC. modul | Típusmegfelelőség a belső gyártásellenőrzés alapján |
CD. modul | Típusmegfelelőség a gyártási eljárás minőségirányítási rendszere alapján |
CF. modul | Típusmegfelelőség a termékellenőrzés alapján |
CH. modul | Megfelelőség a teljes minőségirányítási rendszer alapján |
CH1. modul | Megfelelőség a teljes minőségirányítási rendszer és a tervezés vizsgálata alapján |
CV. modul | Típushitelesítés üzemi tapasztalatok alapján (használatra való alkalmasság) |
Ezeket a modulokat a Bizottság külön határozata ismerteti.
Amennyiben az ezen ÁME 4.2. pontjában meghatározott követelményeken túl az értékeléshez egy adott eljárást kell használni, ezt az alábbi 6.1.2.2. pont részletezi.
Az ezen ÁME-ben meghatározott kölcsönös átjárhatóságot lehetővé tevő rendszerelemek értékelésére jogosult bejelentett szervezetek kapnak felhatalmazást a hagyományos vasúti járműalrendszere és/vagy az áramszedő értékelésére.
6.1.2. Megfelelőségértékelési eljárások
6.1.2.1. Megfelelőségértékelési modulok
A gyártónak vagy a Közösség területén letelepedett meghatalmazott képviselőjének ki kell választania a következő táblázatban jelzett egyik modult vagy modulkombinációt a kívánt rendszerelemnek megfelelően.
Pont | Értékelendő rendszerelemek | CA. modul | CA1. vagy CA2. modul | CB + CC. modul | CB + CD. modul | CB + CF. modul | CH. modul | CH1. modul |
5.3.1 | Vontató kapcsolókészülékek mentésre | X (1) | X | X | X (1) | X | ||
5.3.2 | Kerekek | X (1) | X | X | X (1) | X | ||
5.3.3 | Csúszásgátló rendszer | X (1) | X | X | X (1) | X | ||
5.3.4 | Fényszórók | X (1) | X | X | X (1) | X | ||
5.3.5 | Helyzetjelző lámpák | X (1) | X | X | X (1) | X | ||
5.3.6 | Zárjelző lámpák | X (1) | X | X | X (1) | X | ||
5.3.7 | Kürtök | X (1) | X | X | X (1) | X | ||
5.3.8 | Áramszedő | X (1) | X | X | X (1) | X | ||
5.3.8.1 | Áramszedő csúszóbetétje | X (1) | X | X | X (1) | X | ||
5.3.9 | Főmegszakító | X (1) | X | X | X (1) | X | ||
5.3.10 | Illemhelyürítés csatlakozása | X | X | X | ||||
5.3.11 | Víztartályok beömlő csatlakozása | X | X | X | ||||
(1) A CA1., CA2. vagy CH. modult csak az ezen ÁME hatálybalépése előtt forgalomba hozott, ennélfogva ezt megelőzően kifejlesztett termékek esetében lehet használni, feltéve. hogy a gyártó bizonyítja a bejelentett szervezetnek, hogy a vizsgálatokat és a hitelesítést a korábbi kérelmek esetében összemérhető körülmények között elvégezték, és azok megfelelnek ezen ÁME követelményeinek. Ennek igazolását dokumentálni kell, és az ugyanolyan szintű bizonyítéknak minősül, mint a CB. modul vagy a CH1. modul szerinti konstrukcióvizsgálat. |
6.1.2.2. A kölcsönös átjárhatóságot lehetővé tevő rendszerelemek sajátos értékelési eljárásai
6.1.2.2.1. Csúszásgátló rendszer (5.3.3. pont)
A csúszásgátló rendszert az EN 15595:2009 szabvány 5. pontjában meghatározott módszertan szerint kell ellenőrizni; az EN 15595:2009 szabvány 6.2. "A szükséges vizsgálati programok áttekintése" pontjára hivatkozáskor csak a 6.2.3. pontot kell alkalmazni és az valamennyi csúszásgátló rendszerre vonatkozik.
6.1.2.2.2. Fényszórók (5.3.4. pont)
A megfelelőségértékelést az EN 15153:-1 szabvány 6.1. pontjával összhangban kell elvégezni.
A fényszórók fényerejét az EN 15153-1:2007 szabvány 6.2. pontjával összhangban kell bevizsgálni.
6.1.2.2.3. Helyzetjelző lámpák (5.3.5. pont)
A helyzetjelző lámpákat az EN 15153-1:2007 szabvány 6.1. pontjával összhangban kell bevizsgálni.
A helyzetjelző lámpák fényerejét az EN 15153-1:2007 szabvány 6.2. pontjának megfelelően kell bevizsgálni.
6.1.2.2.4. Zárjelző lámpák (5.3.6. pont)
A zárjelző lámpák színét az EN 15153-1:2007 szabvány 6.1. pontjával összhangban kell bevizsgálni.
A zárjelző lámpák fényerejét az EN 15153-1:2007 szabvány 6.2. pontjának megfelelően kell bevizsgálni.
6.1.2.2.5. Kürt (5.3.7. pont)
A figyelmeztető kürt hangnyomásszintjét az EN 15153-2:2007 szabvány 5. pontja szerint kell mérni és ellenőrizni.
6.1.2.2.6. Áramszedő (5.3.8. pont)
Egyenáramú rendszerekhez való áramszedők esetében álló helyzetben az áramszedőnként felvett legnagyobb áramerősséget a következő feltételek mellett kell ellenőrizni.
- az áramszedőnek egy réz felsővezetékkel kell érintkeznie,
- az áramszedőre az EN 50367:2006 szabvány 7.1. pontjában meghatározott statikus sarunyomást kell kifejteni
és az érintkezési pont hőmérsékletét pedig a 30 perces vizsgálat során folyamatosan figyelemmel kell kísérni és az nem haladhatja meg az EN 50119:2009 szabvány 5.1.2. pontjában meghatározott értékeket.
Minden áramszedő tekintetében az EN 50206-1:2010 szabvány 6.3.1. pontja szerint kell a statikus sarunyomást ellenőrizni.
Az áramszedő áramszedés tekintetében tanúsított dinamikus viselkedését az EN 50318:2002 szabvány szerinti szimulációval értékelni.
A szimulációkat az adott sebességnek ( 22 ) és az energiaellátó rendszernek megfelelő legalább két különböző, az ÁME-nek megfelelő ( 23 ) áramszedőtípus használatával kell elvégezni, a javasolt kölcsönös átjárhatóságot lehetővé tevő áramszedő tervezett sebességéig.
A szimuláció elvégzése megengedett olyan felsővezeték-típusokkal is, amelyek kölcsönös átjárhatóságot lehetővé tevő rendszerelemként történő tanúsítása folyamatban van, feltéve, hogy azok teljesítik a hagyományos vasút energiaellátására vonatkozó ÁME többi követelményét.
A szimulált áramfelvétel minőségének minden felsővezeték esetében a 4.2.8.2.9.6. pont szerint kell lennie a felemelkedés, a közepes sarunyomás és a szórás tekintetében.
Ha a szimuláció eredményei elfogadhatóak, helyszíni dinamikai vizsgálatot kell végezni egy vagy két, a szimulációban használt felsővezeték reprezentatív szakaszával.
A kölcsönhatás jellemzőit az EN 50317:2002 szabványnak megfelelően kell mérni.
A vizsgált áramszedőket a 4.2.8.2.9.6. pontban az áramszedő tervezési sebességére előírt alsó és felső értékek között közepes sarunyomást keltő járműre kell felszerelni. A vizsgálatokat mindkét haladási irányra el kell végezni és annak alacsony (a meghatározás szerint 5,0-5,3 m közötti) és magas (a meghatározás szerint 5,5-5,75 m közötti) felsővezeték-magasságú vágányszakaszokat is érintenie kell.
A vizsgálatot legalább 3, a vizsgált áramszedő tervezési sebességéig történő gyorsításra kell elvégezni.
Az egymást követő vizsgálatok közötti intervallum legfeljebb 50 km/h lehet.
A mért áramfelvétel-minőségnek minden áramszedő esetében a 4.2.8.2.9.6. pontban megadott határértékek között kell maradnia a felemelkedés, a közepes sarunyomás és a szórás vagy ívhúzás százalékos mértéke tekintetében.
Ha az összes fenti mérés sikeres volt, a vizsgált áramszedőtípust az áramfelvétel tekintetében az ÁME-nek megfelelőnek kell tekinteni.
Az EK-hitelesítési nyilatkozattal rendelkező áramszedők különböző kialakítású járműveken való használatához a járművek szintjén az áramszedés minősége tekintetében szükséges további vizsgálatokat a 6.2.2.2.14. pont határozza meg.
6.1.2.2.7. Csúszóbetétek (5.3.8.1. pont)
A szénből vagy átitatott szénből készült csúszóbetéteket a 5.2.2., 5.2.3., 5.2.4., 5.2.6. pontban és az EN 50405:2006 szabvány 5.2.7. pontjában meghatározott módon kell ellenőrizni.
Más anyagból készült csúszóbetétek: az ellenőrzés nyitott kérdés.
6.1.2.3. Projektszakaszok, amelyekben értékelést kell végezni
Ezen ÁME H. melléklete részletezi, hogy a projekt mely szakaszában kell értékelést végezni a kölcsönös átjárhatóságot lehetővé tevő rendszerelemre vonatkozó követelmények tekintetében:
- Tervezési és fejlesztési fázis:
-
- a tervezés felülvizsgálata és/vagy tervvizsgálat,
- típusteszt esetlegesen a konstrukció ellenőrzését szolgáló tesztek, a 4.2. pontban meghatározottak szerint.
- Gyártási fázis: rutinteszt a gyártásmegfelelőség ellenőrzésére.
- A rutinvizsgálatok elvégzéséért felelős szerv meghatározása a választott értékelési modul szerint történik.
A H. melléklet a 4.2. pontnak megfelelően tagolódik. A kölcsönös átjárhatóságot lehetővé tevő rendszerelemekre vonatkozó követelményeket és az értékelésüket az 5.3. pont a 4.2. pont egyes pontjaira hivatkozással állapítja meg, adott esetben pedig megadja a fenti 6.1.2.2. pont alpontjára vonatkozó hivatkozást is.
6.1.3. Innovatív megoldások
Ha egy kölcsönös átjárhatóságot lehetővé tevő rendszerelem számára javasolt megoldás az 5.2. pont meghatározása értelmében innovatív (a 4.1.1. pontban meghatározottak szerint), a gyártó vagy a Közösségben székhellyel rendelkező meghatalmazott képviselője megállapítja az ÁME megfelelő pontjától való eltéréseket, és azokat benyújtja elemzésre a Bizottsághoz.
Ha az elemzés kedvező eredménnyel zárul, a Bizottság engedélye alapján kifejlesztik a rendszerelemek működésére és a kapcsolódási pontjaira vonatkozó megfelelő előírásokat és az értékelési módszert, amelyeket a rendszerelem használatának lehetővé tétele érdekében az ÁME-be fel kell venni.
A működésre és kapcsolódási pontokra vonatkozóan így kialakított megfelelő előírások és az értékelési módszerek felülvizsgálati eljárással kerülnek az ÁME-be beépítésre.
A 2008/57/EK irányelv 29. cikke alapján hozott bizottsági határozatról szóló értesítés után engedélyezhető az innovatív megoldásoknak azok ÁME-be történő beépítése előtti használata.
6.1.4. A nagysebességű járművekre vonatkozó ÁME és ezen ÁME szerint EK-hitelesítést igénylő rendszerelemek
Ez a pont azon kölcsönös átjárhatóságot lehetővé tevő rendszerelemek esetére vonatkozik, amelyekre vonatkozik az ezen ÁME szerinti értékelés és:
- amelyeket a nagy sebességű vasúti járművekre vonatkozó ÁME szerint is értékelni kell, vagy
- amelyek a nagy sebességű vasúti járművekre vonatkozó ÁME szerint már megkapták az EK-megfelelőségi, illetve EK-alkalmazhatósági nyilatkozatot.
Ezen ÁME 6.2.5. pontja tartalmazza a kölcsönös átjárhatóságot lehetővé tevő rendszerelemeket meghatározó és mindkét ÁME-ben ugyanúgy szereplő paramétereket.
Ebben az esetben a kölcsönös átjárhatóságot lehetővé tevő rendszerelemeket ezen ÁME szerint nem kell újra értékelni. A nagy sebességű járművekre vonatkozó ÁME szerinti értékelést mindkét ÁME tekintetében érvényesnek fogadják el.
Ez a következő kölcsönös átjárhatóságot lehetővé tevő rendszerelemekre terjed ki:
- fényszórók,
- helyzetjelző lámpák,
- zárjelző lámpák,
- kürt,
- áramszedő, amennyiben a 6.2.5. pont követelményei teljesülnek,
- áramszedő csúszóbetétje,
- illemhelyürítés csatlakozása,
- víztartályok beömlő csatlakozója.
A fent felsorolt kölcsönös átjárhatóságot lehetővé tevő rendszerelemek esetében az ezen ÁME szerinti EK-megfelelőségi, illetve EK-alkalmazhatósági nyilatkozat hivatkozhat a nagy sebességű járművekre vonatkozó ÁME szerinti EK-megfelelőségi, illetve EK-alkalmazhatósági nyilatkozatra.
6.1.5. A használatra való alkalmasság értékelése
Az alkalmazhatóságnak üzem közbeni tapasztalati eljárás alapján történő típushitelesítése (CV. modul) szerinti értékelése kötelező a kölcsönös átjárhatóságot lehetővé tevő következő rendszerelemek esetében:
- kerekek,
- csúszásgátló rendszer,
Az üzem közbeni vizsgálatok megkezdése előtt megfelelő modul (CB vagy CH) használatával hitelesíteni kell a rendszerelem konstrukcióját.
6.2. Járműalrendszer
6.2.1. EK-hitelesítés (általános előírások)
Az EK-hitelesítési eljárásokat a 2008/57/EK irányelv VI. melléklete írja le.
A járművek megfelelőségi értékelését az alábbi modulok egyike vagy azok kombinációja alapján kell elvégezni, az ezen ÁME 6.2.2. pontjában meghatározottak szerint.
Az alrendszerek EK-hitelesítésére szolgáló modulok:
SB. modul | EK-típusvizsgálat |
SD. modul | EK-hitelesítés a gyártási eljárás minőségirányítási rendszere alapján |
SG. modul | Egyedi ellenőrzésen alapuló EK-hitelesítés |
SF. modul | Termékellenőrzésen alapuló EK-hitelesítés |
SH1. modul | EK-hitelesítés a teljes minőségirányítási rendszer és a tervezés vizsgálata alapján |
Ezeket a modulokat a Bizottság külön határozata ismerteti.
Amennyiben az ezen ÁME 4.2. pontjában meghatározott követelményeken túl az értékeléshez egy adott eljárást kell használni, ezt az alábbi 6.2.2.2. pont részletezi.
Amennyiben a kérelmező a tervezési, illetve a tervezési és gyártási szakaszra kiterjedő első értékelési lépést kér, a bejelentett szervezet választása szerint kiad egy közbenső hitelesítési nyilatkozatot (ISV), és kiállításra kerül az alrendszer közbenső EK-megfelelőségi nyilatkozata.
6.2.2. Megfelelőségértékelési eljárások (modulok)
6.2.2.1. Megfelelőségértékelési modulok
A kérelmező a következő modulkombinációkból választhat egyet:
(SB + SD) vagy (SB + SF) vagy (SH1) minden egyes érintett alrendszer (vagy részalrendszer) tekintetében.
Az értékelést ezt követően a választott modulkombináció alapján kell elvégezni.
Amennyiben több EK-hitelesítés (pl. az ugyanazzal az alrendszerrel foglalkozó több ÁME szerint) igényel ugyanazon a gyártásértékelésen (SD vagy SF modul) alapuló hitelesítést, megengedett több SB modul szerinti értékelésnek egy gyártásmodul értékeléssel (SD vagy SF) való párosítása. Ebben az esetben az ISV-ket az SB modul szerint kell kiállítani a tervezési és fejlesztési szakaszra.
Ha az SB modult használják, a típusvizsgálati bizonyítvány érvényességét ezen ÁME 7.1.3. "Az EK-hitelesítésre vonatkozó szabályok" pontja B. alpontjára vonatkozó rendelkezéseinek megfelelően kell megadni.
6.2.2.2. Az alrendszerek sajátos vizsgálati eljárásai
6.2.2.2.1. Terhelési állapotok és terhelt tömeg (4.2.2.10.)
A "tervezési tömeg menetkész állapotban" terhelési állapotot az EN 14363:2005 szabvány 4.5. pontjában előírt járműmérlegelési módszerrel kell elvégezni minden (gyártott) járműre.
6.2.2.2.2. Nyomtáv (4.2.3.1. pont)
Az egység űrszelvényét az EN 15273-2:2009 szabvány B.3. pontjában leírt kinematikus módszer használatával kell értékelni.
6.2.2.2.3. Kerékterhelés (4.2.3.2.2. pont)
A kerékterhelést az EN 14363:2005 szabvány 4.5. pontja szerint kell mérni, a "tervezési tömeg menetkész állapotban" terhelési állapot figyelembevételével.
6.2.2.2.4. Fékezés - biztonsági követelmények (4.2.4.2.2. pont)
A 4.2.4.2.2. pont 6. táblázatában megadott biztonsági követelményeknek való megfelelés igazolását az alábbiak szerint kell végezni:
- Ezen értékelés alkalmazási köre szigorúan a járműtervezésre korlátozódik, mivel az üzemeltetés, a vizsgálat és a karbantartás a kérelmező által meghatározott (a műszaki dokumentációban leírt) szabályok szerint zajlik.
-
Megjegyzés: a vizsgálati és karbantartási követelmények meghatározásakor a kérelmezőnek a teljesítendő biztonsági szintet kell figyelembe vennie (egységesség); a megfelelés igazolása kiterjed a vizsgálati és karbantartási követelményekre is.
- Más alrendszereket és emberi tényezőket (hibákat) nem kell figyelembe venni.
- A felhasználási cél vonatkozásában figyelembe vett összes feltételezést az igazolás során egyértelműen dokumentálni kell.
A 4.2.4.2. pont 6. táblázatában az 1. sz. és 2. sz. veszélyre meghatározott követelményeknek való megfelelést az alábbi módszerek egyikével kell igazolni:
1. A 10 órára elviselhető kockázati arány harmonizált kritérium alkalmazása.
Ez a kritérium megfelel a 352/2009/EK rendelet (a továbbiakban: a kockázatelemzési és -értékelési rendelet) I. melléklete 2.5.4. pontjának.
A kérelmezőnek kell igazolnia a harmonizált kritériumnak való megfelelést a kockázatelemzési és -értékelési rendelet I-3. mellékletének alkalmazásával. Az igazoláshoz a következő elvek használhatóak: a hivatkozási rendszerrel (rendszerekkel) való hasonlóság; magatartási kódexek alkalmazása; valószínűségi megközelítés alkalmazása.
A kérelmezőnek kell kijelölnie az általa tartott bemutatót támogató értékelő szervezetet: ez lehet a járműalrendszerre választott bejelentett szervezet vagy a kockázatelemzési és -értékelési rendeletben meghatározott értékelő szervezet.
Az értékelést dokumentálni kell a bejelentett szervezet által kiállított EK-bizonyítványban vagy a kérelmező által kiállított EK-hitelesítési nyilatkozatban.
Az EK-hitelesítési nyilatkozatnak meg kell említenie az e kritériumnak való megfelelést és azt valamennyi tagállamban el kell ismerni.
A jármű üzembe helyezésének további engedélyeztetése esetén a 2008/57/EK irányelv 23. cikkének (1) bekezdésétét kell alkalmazni.
vagy
2. Kockázatelemzés és értékelés alkalmazása a kockázatelemzési és -értékelési rendeletnek megfelelően.
Az EK-hitelesítési nyilatkozatnak meg kell említenie e módszer használatát.
A kérelmezőnek kell kijelölnie az általa tartott bemutatót támogató értékelő szervezetet, a kockázatelemzési és -értékelési rendeletnek megfelelően.
Biztonságértékelésre vonatkozó jelentést kell adni, amely dokumentálja az elvégzett kockázatelemzést és értékelést. A jelentésnek a következőket kell tartalmazni:
- kockázatelemzés,
- kockázatelfogadási elv, kockázatelfogadási kritérium és végrehajtandó biztonsági intézkedések,
- a kockázatelfogadási kritériumnak és a végrehajtandó biztonsági intézkedéseknek való megfelelés bemutatása.
A nemzeti biztonsági hatóság figyelembe veszi a biztonságértékelési jelentést, a kockázatelemzési és -értékelési rendelet I. mellékletének 2.5.6. pontjának és 7. cikke (2) bekezdésének megfelelően.
A jármű üzembe helyezésének további engedélyeztetése esetén a kockázatelemzési és -értékelési rendelet 7. cikkének (4) bekezdése érvényesül a biztonságértékelési jelentés más tagállamokban való elfogadása tekintetében.
6.2.2.2.5. Vészfékezés (4.2.4.5.2. pont)
A vizsgálat tárgyát képező fékhatásosság az EN 14531-1:2005 szabvány 5.11.3. pontjában meghatározott féktávolság. A lassulás számítása a féktávolságból történik.
Vizsgálatokat kell végezni száraz síneken a következő sebességekről (ha ezek a legnagyobb sebességnél alacsonyabbak): 30 km/h; 80 km/h; 120 km/h; 140 km/h; 160 km/h; 200 km/h; az egység legnagyobb tervezési sebessége.
Vizsgálatokat kell végezni a jármű (4.2.2.10. pontban meghatározott) "tervezési tömeg menetkész állapotban" és "tervezési tömeg átlagos hasznos teher mellett" tervezési állapotára.
A vizsgálati eredményeket a következő szempontokat figyelembe vevő módszertannal kell értékelni:
- a nyers adatok korrekciója,
- a vizsgálat megismételhetősége: a vizsgálati eredmények validálására a vizsgálatot többször meg kell ismételni; értékelni kell az eredmények abszolút eltérését és a szórást értékelni kell.
6.2.2.2.6. Üzemi fékezés (4.2.4.5.3. pont)
A vizsgálat tárgyát képező fékhatásosság az EN 14531-1:2005 szabvány 5.11.3. pontjában meghatározott féktávolság. A lassulás számítása a féktávolságból történik.
A vizsgálatokat száraz sínen kell végezni az egység legnagyobb tervezési sebességének megfelelő kezdősebességről, a terhelési állapotnak a 4.2.2.10. pontban meghatározott állapotok egyikének kell lennie.
A vizsgálati eredményeket a következő szempontokat figyelembe vevő módszertannal kell értékelni:
- a nyers adatok korrekciója,
- a vizsgálat megismételhetősége: a vizsgálati eredmények validálására a vizsgálatot többször meg kell ismételni; értékelni kell az eredmények abszolút eltérését és a szórást értékelni kell.
6.2.2.2.7. Csúszásgátló rendszer (4.2.4.6.2. pont)
Ha az egységet WSP-vel szerelték fel, el kell végezni az egység alacsony tapadási viszonyok melletti vizsgálatát az 15595:2009 szabvány 6.4. pontja szerint a WSP-rendszer hatékonyságának ellenőrzésére (a féktávolság legnagyobb növekedése a száraz sínen való féktávolsághoz képest), az egységbe beszereléskor.
6.2.2.2.8. Egészségügyi rendszerek (4.2.5.1. pont)
Amennyiben az egészségügyi rendszer lehetővé teszi folyadékok környezetbe (azaz a vágányokra) történő kiengedését, a megfelelőségértékelés alapulhat korábbi üzemi vizsgálatokon, amennyiben a következő feltételek teljesülnek:
- Az üzemi vizsgálat eredményeit azonos kezelési módszerű berendezéstípusokból nyerték.
- A vizsgálat feltételei hasonlóak az értékelt egységre feltételezett feltételekhez a terhelés nagysága, környezeti feltételek és minden más olyan feltétel tekintetében, amely befolyásolja a kezelési eljárás hatékonyságát és eredményességét.
Ha nincsenek meg a szükséges üzemi feltételek, típusteszteket kell végezni.
6.2.2.2.9. A belső levegő minősége (4.2.5.9. és 4.2.9.1.7. pont)
Megengedett a CO2-szintek megfelelőségértékelésének megállapítása a frisslevegő-szellőzés számítása révén, feltételezve, hogy a külső levegőminőség 400 ppm CO2-t tartalmaz és az utasok óránként 32 gramm CO2-t bocsátanak ki. A számításba veendő utaslétszámot a "tervezési tömeg átlagos hasznos teher mellett" terhelési állapotból kell levezetni, az ezen ÁME 4.2.2.10. pontjában előírtak szerint.
6.2.2.2.10. Az elhaladó vonatok miatt a peron mentén tartózkodó utasokat érő légörvényhatás (4.2.6.2.1. pont)
A megfelelőséget az EN 14067-4:2005/A1:2009 szabvány 7.5.2. pontjában meghatározott feltételek mellett eredeti méretekkel kell értékelni. A méréseket a sínkorona felett 100 mm és 400 mm peronmagasságnál kell elvégezni.
6.2.2.2.11. Az elhaladó vonatok miatt a vágány mentén dolgozókat érő légörvényhatás (4.2.6.2.2. pont)
A megfelelőség értékelése eredeti méretekkel és az EN 14067-4:2005/A1:2009 szabvány 8.5.2. pontjában meghatározott feltételek mellett történik.
6.2.2.2.12. Légnyomásimpulzus (4.2.6.2.3. pont)
A megfelelőség értékelése eredeti méretekkel és az EN 14067-4:2005/A1:2009 szabvány 5.5.2. pontjában meghatározott feltételek mellett történik. Ehelyett és 190 km/h alatti sebességekre korlátozva a megfelelés értékelhető az EN 14067-4:2005/A1:2009 szabvány 5.3. pontjában leírt, validált numerikus áramlástani szimulációkkal vagy kiegészítő alternatív megfelelésként az EN 14067-4:2005/A1:2009 szabvány 5.4.3. pontja szerinti mozgó modellvizsgálatokkal.
6.2.2.2.13. A felsővezetékről felvehető megengedett legnagyobb teljesítmény és áramerősség (4.2.8.2.4. pont)
A megfelelőségértékelést az EN 50388:2005 szabvány 14.3. pontjával összhangban kell elvégezni.
6.2.2.2.14. Teljesítménytényező (4.2.8.2.6. pont)
A megfelelőségértékelést az EN 50388:2005 szabvány 14.2. pontjával összhangban kell elvégezni.
6.2.2.2.15. az áramszedők dinamikus viselkedése (4.2.8.2.9.6. pont)
Amennyiben a kölcsönös átjárhatóságot lehetővé tevő rendszerelemként történő használatra EK-megfelelőségi nyilatkozattal vagy EK-alkalmazhatósági nyilatkozattal rendelkező áramszedőt építettek egy hagyományos mozdonyokra és személyszállító járművekre vonatkozó ÁME szerint értékelt járműegységbe, dinamikus vizsgálatokat kell végezni a sarunyomás, a szórás és az ívhúzás mérése érdekében, az EN 50317:2002 szabvány szerint, az egység tervezési sebességéig.
A vizsgálatokat minden felszerelt áramszedőre mindkét haladási irányra el kell végezni és annak alacsony (a meghatározás szerint 5,0-5,3 m közötti) és magas (a meghatározás szerint 5,5-5,75 m közötti) felsővezeték-magasságú vágányszakaszokat is érintenie kell.
A vizsgálatot legalább 3, az egység tervezési sebességéig történő gyorsításra kell elvégezni. Az egymást követő vizsgálatok közötti intervallum legfeljebb 50 km/h lehet.
A mért eredménynek minden áramszedő esetében a 4.2.8.2.9.6. pontban megadott határértékek között kell maradnia a közepes sarunyomás és a szórás vagy ívhúzás százalékos mértéke tekintetében.
6.2.2.2.16. Áramszedők elrendezése (4.2.8.2.9.7. pont)
Az áramszedő dinamikus viselkedéséhez kapcsolódó jellemzőket a fenti 6.2.2.2.15. pontban meghatározottak szerint kell értékelni.
6.2.2.2.17. Szélvédő (4.2.9.2. pont)
A szélvédő jellemzőit az EN 15152:2007 szabvány 6.2.1-6.2.7. pontja szerint kell ellenőrizni.
6.2.2.2.18. Tűzgátak (4.2.10.5. pont)
Ha a tűz terjedését gátló intézkedések tekintetében a 4.2.10.5. pont követelményeinek értékelése numerikus áramlástani szimulációkkal történik, a szimulációkat az ÁME-értékelés alatt álló egységre vonatkozó feltételeket reprezentáló modellen végzett 1:1 vizsgálatokkal, kell validálni. Figyelembe kell venni az igazolási módszer pontosságát.
6.2.2.3. Projektszakaszok, amelyekben értékelést kell végezni
Ezen ÁME H. melléklete részletezi, hogy a projekt mely szakaszában kell értékelést végezni:
- Tervezési és fejlesztési fázis:
-
- A tervezés felülvizsgálata és/vagy tervvizsgálat.
- Típusteszt: esetlegesen a konstrukció ellenőrzését szolgáló tesztek, a 4.2. pontban meghatározottak szerint.
- Gyártási fázis: rutinteszt a gyártásmegfelelőség ellenőrzésére.
- A rutinvizsgálatok elvégzéséért felelős szerv meghatározása a választott értékelési modul szerint történik.
A H. melléklet a 4.2. pontnak megfelelően tagolódik, amely meghatározza a járműalrendszerre vonatkozó követelményeket és megadja a fenti 6.1.2.2. pont alpontjára vonatkozó hivatkozást is.
Különösen ha a H melléklet típustesztet ad meg, a 4.2. pontot kell figyelembe venni a tesztre vonatkozó feltételek és követelmények tekintetében.
Amennyiben több EK-hitelesítés (pl. az ugyanazzal az alrendszerrel foglalkozó több ÁME szerint) igényel ugyanazon a gyártásértékelésen (SD vagy SF modul) alapuló hitelesítést, megengedett több SB modul szerinti értékelésnek egy gyártásmodul értékeléssel (SD vagy SF) való párosítása. Ebben az esetben az ISV-ket az SB modul szerint kell kiállítani a tervezési és fejlesztési szakaszra.
Ha az SB modult használják, az EK közbenső alrendszer-megfelelőségi nyilatkozat érvényességét ezen ÁME 7.1.3. "Az EK-hitelesítésre vonatkozó szabályok" pontja B. alpontja vonatkozó rendelkezéseinek megfelelően kell megadni.
6.2.3. Innovatív megoldások
Ha az alrendszer a 4.1.1. pontban definiált innovatív megoldásokat tartalmaz, a kérelmező megállapítja az ezen ÁME vonatkozó rendelkezéseitől való eltéréseket, és elemzésre benyújtja azokat a Bizottsághoz.
Ha az elemzés kedvező eredménnyel zárul, a megoldás megengedése érdekében kifejlesztik a rendszerelemek működésére és kapcsolódási pontjaira vonatkozó megfelelő előírásokat és az értékelési módszert.
Az így elkészült, működésre és kapcsolódási pontokra vonatkozó megfelelő előírásokat és az értékelési módszereket ezt követően felülvizsgálati eljárással beépítik az ÁME-be.
A 2008/57/EK irányelv 29. cikke alapján hozott bizottsági határozatról szóló értesítés után engedélyezhető az innovatív megoldásoknak azok ÁME-be történő beépítése előtti használata.
6.2.4. Az üzemeltetés és karbantartás tekintetében kért dokumentáció értékelése
A 2008/57/EK irányelv 18. cikkének (3) bekezdésével összhangban a bejelentett szervezet felel az üzemeltetés és a karbantartás tekintetében kért dokumentációt is tartalmazó műszaki dokumentáció összeállításáért.
A bejelentett szervezet csak azt ellenőrzi, hogy megadták-e az üzemeltetés és a karbantartás tekintetében kért, ezen ÁME 4.2.12. pontjában meghatározott dokumentációt. A bejelentett szervezet nem köteles hitelesíteni a megadott dokumentációban lévő adatokat.
6.2.5. A nagy sebességű járművekre vonatkozó ÁME és ezen ÁME szerint EK-hitelesítést igénylő egységek
Ez a pont azon egységtípusok esetére vonatkozik, amelyekre vonatkozik az ezen ÁME szerinti értékelés és:
- amelyeket a nagy sebességű vasúti járművekre vonatkozó ÁME szerint is értékelni kell, vagy
- amelyek a nagy sebességű vasúti járművekre vonatkozó ÁME szerint már megkapták az EK-hitelesítési nyilatkozatot.
A mindkét ÁME-ben szereplő és egyaránt meghatározott paramétereket az alábbi táblázat tartalmazza. Ezeket a paramétereket az ezen ÁME szerinti értékelés elvégzésére kijelölt bejelentett szervezetnek nem kell újból értékelnie; a nagy sebességű járművekre vonatkozó ÁME szerinti értékelés mindkét ÁME tekintetében érvényesnek elfogadott.
Az egységtípus megfelelésének dokumentálására a bejelentett szervezet által elkészített EK-hitelesítési bizonyítvány hivatkozhat a az ÁME következő pontjai tekintetében nagy sebességű járművekre vonatkozó ÁME-nek való megfelelést igazoló EK-hitelesítési bizonyítványra, feltéve, hogy a vonatkozó pontra alábbiakban feltüntetett feltétel teljesül:
A járműalrendszer eleme | Ezen ÁME pontja | A nagy sebességű járművekre vonatkozó ÁME pontja | A nagy sebességű vasúti járművekre vonatkozó ÁME szerinti értékelés érvényességének feltétele |
Szerkezetek és mechanikus részek | 4.2.2 | ||
Végkapcsoló-készülék | 4.2.2.2.3 | 4.2.2.2 | — |
Mentésre szolgáló kocsikapcsoló berendezés | 4.2.2.2.4 | 4.2.2.2 | — |
A személyzet hozzáférése az összekapcsoláshoz/szétkapcsoláshoz | 4.2.2.2.5 | 4.2.2.2 | — |
A jármű szerkezetének szilárdsága | 4.2.2.4 | 4.2.2.3 | — |
Passzív biztonság | 4.2.2.5 | 4.2.2.3 | — |
Megközelítési ajtó a személyzet számára | 4.2.2.8 | 4.2.2.4.2.2 | — |
A jármű és a vágány kölcsönhatása és annak méretezése | 4.2.3 | ||
Űrszelvény – kinematikus szerkesztési szelvény | 4.2.3.1 | 4.2.3.1 4.2.3.9 | — |
Kerékterhelés | 4.2.3.2.2 | 4.2.3.2 | — |
A járművek ellenőrző-irányító-jelző alrendszert befolyásoló paraméterei | 4.2.3.3.1 | 4.2.3.2 4.2.3.3.1 4.2.3.4.9.1 4.2.3.4.9.3 4.2.3.10 | — |
A tengelycsapágy állapotának figyelemmel kísérése | 4.2.3.3.2 | 4.2.3.3.2 | — |
Menetdinamikai viselkedés | 4.2.3.4.2 | 4.2.3.4.1 | Az értékelésnek ki kell terjednie a hagyományos vasúti hálózaton való üzemi sebességen történő értékelésre. |
A menetbiztonság határértékei | 4.2.3.4.2.1 | 4.2.3.4.2 | — |
Vágányterhelési határértékek | 4.2.3.4.2.2 | 4.2.3.4.3 | — |
Egyenértékű kúposság: új kerékprofilok tervezési értékei | 4.2.3.4.3.1 | 4.2.3.4.6 4.2.3.4.7 | Szimulációkat kell végezni a hagyományos mozdonyokra és személyszállító járművekre vonatkozó ÁME-ben meghatározott 3 további sínprofilra. |
A kerekek geometriai jellemzői | 4.2.3.5.2.2 | 4.2.3.4.9.2 | — |
Fékezés | 4.2.4 | ||
Funkcionális követelmények | 4.2.4.2.1 | 4.2.4.3 4.2.4.6 | — |
Vészfékezés | 4.2.4.4.1 | 4.2.4.3 | — |
Üzemi fékezés | 4.2.4.4.2 | 4.2.4.3 | — |
Vészfék fékhatásossága | 4.2.4.5.2 | 4.2.4.1 | Az értékelésnek ki kell terjednie a hagyományos vasúti hálózaton való üzemi sebességen történő értékelésre. |
Üzemi fékhatásosság | 4.2.4.5.3 | 4.2.4.4 | Az értékelésnek ki kell terjednie a hagyományos vasúti hálózaton üzemi sebességen történő értékelésre. |
Rögzítőfék fékhatásossága | 4.2.4.5.5 | 4.2.4.6 | — |
A kerék és a sín közötti tapadás profiljának határértéke | 4.2.4.6.1 | 4.2.4.2 | — |
Mentési célú fékkövetelmények | 4.2.4.10 | 4.2.4.3 | — |
Személyszállítási elemek | 4.2.5 | ||
Egészségügyi rendszerek | 4.2.5.1 | 4.2.2.5 | — |
Hangosbemondó rendszer: hallható kommunikációs rendszer | 4.2.5.2 | 4.2.5.1 | — |
Az utasok által működtetett riasztó: funkcionális követelmények | 4.2.5.3 | 4.2.5.3 | — |
Az utasoknak szóló biztonsági utasítások – jelek | 4.2.5.4 | 4.2.5.2 | — |
Környezeti feltételek és aerodinamikai hatások | 4.2.6 | ||
Az elhaladó vonatok miatt a peron mentén tartózkodó utasokat érő légörvényhatás | 4.2.6.2.1 | 4.2.6.2.2 | — |
Az elhaladó vonatok miatt a vágány mentén dolgozókat érő légörvényhatás | 4.2.6.2.2 | 4.2.6.2.1 | — |
Légnyomásimpulzus | 4.2.6.2.3 | 4.2.6.2.3 | — |
Külső világítás és figyelmeztető hang- és fényjelző eszközök | 4.2.7 | ||
Külső elülső és hátsó lámpák | 4.2.7.1 | 4.2.7.4.1 | — |
Kürt | 4.2.7.2 | 4.2.7.4.2 | — |
Vontatási és elektromos berendezések | 4.2.8 | ||
Vontatási teljesítmény | 4.2.8.1 | 4.2.8.1 | — |
Energiaellátás | 4.2.8.2.1 – 4.2.8.2.7 | 4.2.8.3 | — |
Az áramszedővel kapcsolatos követelmények | 4.2.8.2.9 | 4.2.8.3.6 – 3.8 | Az értékelésnek ki kell terjednie a hagyományos vasúti hálózaton üzemi sebességen történő értékelésre. |
A vonat elektromos védelme | 4.2.8.2.10 | 4.2.8.3.6.6 + nyitott kérdés | — |
Áramforrásból fakadó elektromos veszélyekkel szembeni védelem | 4.2.8.4 | 4.2.7.3 | — |
Vezetőállás és a mozdonyvezető-gép közötti kapcsolódási pont | 4.2.9 | ||
Be- és kiszállás | 4.2.9.1.2 | 4.2.2.6 4.2.7.1.2 | — |
Kilátás | 4.2.9.1.3 | 4.2.2.6 | — |
Belső elrendezés | 4.2.9.1.4 | 4.2.2.6 | — |
Vezetőülés | 4.2.9.1.5 | 4.2.2.6 | — |
Hőmérséklet szabályozása és levegőminőség | 4.2.9.1.7 | 4.2.7.7 | — |
Szélvédő | 4.2.9.2 | 4.2.2.7 | — |
Tárolási lehetőségek a személyzet számára | 4.2.9.5 | 4.2.2.8 | — |
Tűzbiztonság és evakuálás | 4.2.10 | ||
Általános előírások és besorolás | 4.2.10.1 | 4.2.7.2 | — |
Az anyagokra vonatkozó követelmények | 4.2.10.2 | 4.2.7.2.2 | — |
A gyúlékony folyadékokkal kapcsolatos különleges intézkedések | 4.2.10.3 | 4.2.7.2.5.2 | — |
Az utasok evakuálása | 4.2.10.4 | 4.2.7.1.1 | — |
Tűzvédelmi gátak | 4.2.10.5 | 4.2.7.2.3.3 | — |
Szervizelés | 4.2.11 | ||
A vonat külső tisztítása | 4.2.11.2 | 4.2.9.2 | — |
Illemhelyürítő rendszer | 4.2.11. 3 | 4.2.9.3 | — |
Vízfeltöltő berendezés | 4.2.11.4 | 4.2.9.5 | — |
Kapcsolódási pont vízfeltöltéshez | 4.2.11.5 | 4.2.9.5.2 | — |
Üzemeltetési és karbantartási dokumentáció | 4.2.12 | ||
Karbantartási dokumentáció | 4.2.12.3 | 4.2.10.2 | — |
Üzemi dokumentáció | 4.2.12.4 | 4.2.1.1 | — |
6.2.6. Általános üzemre használni kívánt egységek értékelése
Amennyiben általános üzemre használni kívánt új, korszerűsített vagy felújított egyes járműveket értékelnek ezen ÁME szerint (a 4.1.2. pont szerint), egyes ÁME-követelmények értékeléséhez referenciavonatra van szükség. Erről a 4. pont megfelelő rendelkezései tesznek említést. Hasonlóképpen, egyes vonat szintű ÁME-követelmények nem értékelhetők egység szintjén. Ezek az esetek ezen ÁME 4.2. pontjának vonatkozó követelményei tekintetében kerülnek ismertetésre.
A bejelentett szervezet nem ellenőrzi járműtípus vonatkozásában azt a felhasználási terület, amely az értékelendő egységgel együtt biztosítja, hogy a vonat az ÁME-nek megfelelő.
Miután egy ilyen egység forgalombahozatali engedélyt kapott, annak vonatszerelvényben történő használata (függetlenül attól, hogy az ÁME-nek megfelelő-e vagy sem) a vasúttársaság felelőssége, a hagyományos vasút üzemeltetésére vonatkozó ÁME 4.2.2.5. pontjában meghatározott szabályok szerint.
6.2.7. Előre meghatározott összeállítás(ok)ban használni kívánt egységek értékelése
Amennyiben előre meghatározott összeállításban használni kívánt új, korszerűsített vagy felújított egyes járműveket értékelnek ezen ÁME szerint (a 4.1.2. pont szerint), az EK-tanúsításnak meg kell adnia azokat az összeállításokat, amelyekre az értékelés érvényes: az értékelendő egységgel összekapcsolt járművek típusa, az összeállításban szereplő járművek száma, a járművek összeállításon belüli elrendezése, amely biztosítani fogja, hogy a vonat-összeállítás ennek az ÁME-nek meg fog felelni.
A vonatszintű ÁME-követelményeket az ebben az ÁME-ben meghatározott referencia vonat-összeállítás használatával kell értékelni, ha ilyen van.
Miután egy ilyen egység forgalombahozatali engedélyt kapott, azt az EK-hitelesítési bizonyítványban meghatározott más egységekkel lehet összekapcsolni.
6.2.8. Különleges eset: meglévő rögzített összeállításban használni kívánt egységek értékelése
6.2.8.1. Háttér
Az értékelés e különleges esete egy már üzembe helyezett fix összeállítás valamely részének kicserélése esetén alkalmazandó.
Az alábbiakban két eset kerül ismertetésre, a fix összeállítás ÁME-helyzetétől függően.
A fix összeállítás értékelt részére a szöveg az alábbiakban egységként hivatkozik.
6.2.8.2. Az ÁME-nek megfelelő fix összeállítás esete
Amennyiben fix összeállításban használni kívánt új, korszerűsített vagy felújított egyes járműveket értékelnek ezen ÁME szerint és rendelkezésre áll a meglévő fix összeállítás tekintetében érvényes EK-hitelesítési bizonyítvány, az ÁME-értékelésre csak az új egység tekintetében van szükség, a meglévő fix összeállítás bizonyítványának frissítése érdekében, amit megújítottnak kell tekinteni (lásd még a 7.1.2.2. pontot).
6.2.8.3. Az ÁME-nek nem megfelelő fix összeállítás esete
Amennyiben fix összeállításban használni kívánt új, korszerűsített vagy felújított egyes járműveket értékelnek ezen ÁME szerint, és nem áll rendelkezésre a meglévő fix összeállítás tekintetében érvényes EK-hitelesítési bizonyítvány, az EK-hitelesítési bizonyítványnak fel kell tüntetnie, hogy az értékelés nem terjed ki a fix összeállításra, hanem csak az értékelt egységre vonatkozó ÁME követelményeire.
6.3. Kölcsönös átjárhatóságot lehetővé tevő, EK-nyilatkozattal nem rendelkező rendszerelemeket tartalmazó alrendszer
6.3. 1 Feltételek
Az ezen ÁME-re vonatkozó bizottsági határozat 6. cikkében előírt átmeneti időszak alatt a bejelentett szervezet még akkor is kiadhat EK-ellenőrzési tanúsítványokat egy alrendszerről, ha az alrendszer részét képező, kölcsönös átjárhatóságot lehetővé tevő egyes rendszerelemek nem rendelkeznek az ezen ÁME szerinti EK-megfelelőségi és/vagy alkalmazhatósági nyilatkozatokkal (kölcsönös átjárhatóságot lehetővé tevő, nem tanúsított rendszerelemek, a következő feltételek teljesülése esetén:
a) a bejelentett szervezet ellenőrizte az alrendszer megfelelőségét az ezen ÁME 4., és 6.2-7. pontjában (a "Különleges esetek" kivételével) meghatározott követelmények szempontjából. Ezen túlmenően nem érvényesül a kölcsönös átjárhatóságot lehetővé tevő rendszerelemek 5. és 6.1. pontban foglaltaknak való megfelelése; és
b) az EK-megfelelőségi, illetve EK-alkalmazhatósági nyilatkozattal nem rendelkező, kölcsönös átjárhatóságot lehetővé tevő rendszerelemeket ezen ÁME alkalmazásának napja előtt a tagállamok egyikében jóváhagyott és üzemelő alrendszerben már alkalmazták.
Az ilyen módon értékelt, kölcsönös átjárhatóságot lehetővé tevő rendszerelemek esetében nem lehet kiadni EK megfelelőségi vagy használatra való alkalmassági nyilatkozatokat.
6.3.2. Dokumentáció
Az alrendszer EK-hitelesítési tanúsítványának egyértelműen jeleznie kell, hogy a bejelentett szervezet a kölcsönös átjárhatóságot lehetővé tevő rendszerelemek közül amelyeket értékelte az alrendszer hitelesítésének részeként.
Az alrendszer EK-hitelesítési nyilatkozatának egyértelműen jeleznie kell a következőket:
a) a kölcsönös átjárhatóságot lehetővé tevő rendszerelemek közül melyeket értékelték az alrendszer részeként;
b) annak megerősítése, hogy az alrendszer azokat a kölcsönös átjárhatóságot lehetővé tevő rendszerelemeket tartalmazza, amelyek azonosak az alrendszer részeként tanúsítottakkal;
c) adott esetben annak oka vagy okai, hogy a gyártó miért nem biztosított EK-megfelelőségi, illetve EK-alkalmazhatósági nyilatkozatot, mielőtt az ilyennel nem rendelkező, kölcsönös átjárhatóságot lehetővé tevő rendszerelemeket az alrendszerbe beépítette volna, beleértve a 2008/57/EK irányelv 17. cikkével összhangban bejelentett nemzeti szabályok alkalmazását is.
6.3.3. A 6.3.1. pont szerint hitelesített alrendszerek karbantartása
Az átmeneti időszak alatt és azt követően az EK-megfelelőségi és/vagy EK-alkalmazhatósági nyilatkozattal nem rendelkező, azonos típusú kölcsönös átjárhatóságot lehetővé tevő rendszerelemek az alrendszer korszerűsítéséig vagy felújításáig (az ÁME alkalmazására vonatkozó tagállami döntésre figyelemmel) tovább használhatók karbantartással kapcsolatos cserék céljára (pótalkatrészeként), az ECM felelősségére.
Az ECM-nek mindenesetre biztosítania kell, hogy a karbantartással kapcsolatos cserék a céljukra megfelelnek, azokat saját felhasználási területükön használják, valamint azok lehetővé teszik a vasúti rendszer kölcsönös átjárhatóságának elérését, egyidejűleg megfelelve az alapvető követelményeknek. Az ilyen rendszerelemeknek visszakereshetőnek és a nemzeti vagy nemzetközi szabályoknak vagy a vasúti területen széles körben elismert magatartási szabályzatnak megfelelően tanúsítottnak kell lenniük.
7. VÉGREHAJTÁS
7.1. A végrehajtás általános szabályai
7.1.1. Alkalmazás újonnan épült járművekre
7.1.1.1. Általános előírások
Ez az ÁME az alkalmazási körébe tartozó és az ezen ÁME alkalmazásának napja után üzembe helyezett járművek minden egységére vonatkozik, kivéve, amennyiben az alábbi 7.1.1.2. "Átmeneti időszak" vagy a 7.1.1.3. "Alkalmazás vasúti munkagépekre" pont alkalmazandó.
Ez az ÁME a korszerűsítés vagy felújítás esetét kivéve (lásd a 7.1.2. pontot) nem vonatkozik egy tagállam hálózatán (vagy annak egy részén) a határozat alkalmazásakor már üzembe helyezett, meglévő járművek egységeire.
A határozat alkalmazási napját követően kialakított konstrukció szerint gyártott minden járműnek meg kell felelnie ennek az ÁME-nek.
7.1.1.2. Átmeneti időszak
7.1.1.2.1. Bevezetés
A határozat alkalmazási napja előtt megindult jelentős számú projekt, illetve szerződés eredményeként olyan hagyományos vasúti járműveket fognak gyártani, amelyek nem teljesen felelnek meg ennek az ÁME-nek.
Amint azt a határozat 2. cikkének (2) bekezdése előírja, az ilyen projektekkel vagy szerződésekkel érintett járművek tekintetében és a 2008/57/EK irányelv 5. cikke (3) bekezdésének f) pontjával összhangban átmeneti időszak került meghatározásra, amely alatt az ÁME alkalmazása nem kötelező, ha a járműveket az átmeneti időszak záró napja előtt üzembe helyezik. Az átmeneti időszak záró napját az ezen ÁME-re vonatkozó bizottsági határozat 2. cikkének (2) bekezdése határozza meg.
Ezt az átmeneti időszakot a következőkre kell alkalmazni:
- az ÁME 7.1.1.2.2. pontjában említett, a kidolgozás előrehaladott állapotában lévő projektek,
- az ÁME 7.1.1.2.3. pontjában említett, teljesítés alatt álló szerződések,
- az ÁME 7.1.1.2.4. pontjában említett, meglévő konstrukciójú járművek.
Az átmeneti időszak alatt, ha a kérelmező az ÁME alkalmazásának mellőzését választja, a jármű üzembe helyezése a 2008/57/EK irányelv 24. (első engedély) vagy 25. (további engedély) cikke, nem pedig a 22. vagy 23. cikke szerint történik.
Az e pontban ismertetett átmeneti időszak végét követően üzembe helyezett minden járműnek teljes egészében meg kell felelnie ennek az ÁME-nek, a 2008/57/EK irányelv 9. cikkének sérelme nélkül, amelynek értelmében a tagállamok eltérést kérhetnek az ugyanebben a cikkben meghatározott feltételek mellett.
7.1.1.2.2. A kidolgozás előrehaladott állapotában lévő projektek
Ez a pont azokra a járművekre vonatkozik, amelyeket az irányelv 2. cikkének t) pontjának megfelelően a kidolgozás előrehaladott állapotában lévő projektek keretében fejlesztettek ki és gyártottak le. A projektnek akkor kell a kidolgozás előrehaladott állapotában lennie, amikor ezt az ÁME-t az Európai Unió Hivatalos Lapjában közzéteszik.
Ezen ÁME e pont hatálya alá tartozó járművekre való alkalmazása a 7.1.1.2.1. pontban megadott átmeneti időszak alatt nem kötelező, ha a járműveket a határozat 2. cikkének (2) bekezdésében előírtak szerint az étmeneti időszak vége előtt üzembe helyezik.
7.1.1.2.3. Teljesítés alatt álló szerződések
Ez a pont azokra a járművekre vonatkozik, amelyeket az ÁME Európai Unió Hivatalos Lapjában való közzétételét megelőzően aláírt szerződések alapján fejlesztenek ki és gyártanak le.
A kérelmezőnek kell bizonyítékkal szolgálnia a vonatkozó eredeti szerződés aláírásának időpontjára vonatkozóan. A szóban forgó szerződés aláírása időpontjának meghatározásakor az eredeti szerződés módosításának formájában történő kiegészítését nem veszik figyelembe.
Ezen ÁME e pont hatálya alá tartozó járművekre való alkalmazása a 7.1.1.2.1. pontban megadott átmeneti időszak alatt nem kötelező, ha a járműveket a határozat 2. cikkének (2) bekezdésében előírtak szerint az átmeneti időszak vége előtt üzembe helyezik.
7.1.1.2.4. Meglévő konstrukciójú jármű
Ez a pont azokra a járművekre vonatkozik, amelyeket az ÁME Európai Unió Hivatalos Lapjában való közzétételét megelőzően kifejlesztett konstrukció alapján fejlesztenek ki és gyártanak le, és amelyeket ennélfogva nem értékeltek ezen ÁME szerint.
Ezen ÁME e pont hatálya alá tartozó járművekre való alkalmazása a 7.1.1.2.1. pontban megadott átmeneti időszak alatt nem kötelező, ha a járműveket a 2. cikk (2) bekezdésében előírtak szerint az étmeneti időszak vége előtt üzembe helyezik.
Ezen ÁME alkalmazásában a jármű akkor minősül meglévő konstrukció alapján építettnek, ha a következő feltételek egyike teljesül:
- A jármű megrendelése vagy üzembe helyezése tekintetében: a kérelmező bizonyítani tudja, hogy az újonnan épített jármű olyan dokumentált konstrukció alapján fog készülni, amelynek esetében az üzembe helyezést valamely tagállamban ezen ÁME Európai Unió Hivatalos Lapjában való közzétételét megelőzően engedélyezték.
- Az olyan típusú járművek esetében, amelyek nem szerződés keretében, hanem a gyártó kezdeményezésére készülnek: a gyártó vagy a kérelmező bizonyítani tudja, hogy a projekt az ÁME közzétételének napján gyártást megelőző vagy sorozatgyártási szakaszban volt. Ennek bizonyításához legalább egy prototípusnak összeszerelési fázisban kell lennie, egy meglévő, azonosítható kocsiszekrénnyel, és az albeszállítóktól már megrendelt alkatrészeknek az alkotóelemek teljes értékének 90 %-át kell képviselnie.
A kérelmezőnek igazolnia kell a nemzeti vasútbiztonsági hatóság felé, hogy az e pont alpontjaiban meghatározott feltételek (az adott esettől függően) teljesülnek.
A meglévő (ÁME-nek meg nem felelő) konstrukció módosításai tekintetében az átmeneti időszak alatt a következő szabályok vonatkoznak:
- A szigorúan a jármű fix összeállításokkal való kompatibilitásának biztosításához szükséges (infrastruktúra, energiaellátás vagy ellenőrző-irányító-jelző alrendszerrel való kapcsolódási pontnak megfelelő) konstrukciómódosítások esetében ezen ÁME alkalmazása nem kötelező. A "módosított" konstrukció szerint gyártott jármű a 2008/57/EK irányelv 24. vagy 25. cikke szerint engedélyezhető.
- Más konstrukciómódosítások esetében nem érvényesül a meglévő konstrukcióra vonatkozó e pont, ennélfogva a konstrukció újnak minősül, és ezt az ÁME-t alkalmazni kell.
7.1.1.3. Alkalmazás vasúti munkagépekre
Ezen ÁME (2.2. és 2.3. pontban meghatározott) vasúti munkagépekre történő alkalmazása nem kötelező.
A 6.2.1. pontban leírt megfelelőségértékelési eljárást a kérelmezők önkéntes alapon használhatják annak érdekében, hogy létrehozzák az EK-hitelesítési bizonyítványt. Ezt az EK-hitelesítési bizonyítványt a tagállamoknak ilyenként el kell ismerniük.
Amennyiben a kérelmező az EK-hitelesítési bizonyítvány létrehozásának mellőzését választja, a vasúti munkagépek a 2008/57/EK irányelv 24. vagy 25. cikkének megfelelően engedélyezhetőek.
7.1.1.4. Kapcsolódási pont más ÁME-k végrehajtásával
Amint arra a 2.1. pont emlékeztet, a járműalrendszerre más ÁME-k is vonatkoznak. A többi ÁME az alkalmazási körébe tartozó követelmények tekintetében határoz meg végrehajtási szabályokat.
A többi ÁME és a hagyományos mozdonyokra és személyszállító járművekre vonatkozó ezen ÁME végrehajtási szabályainak nem megfelelő értelmezésének megelőzése érdekében ha ez az ÁMA más ÁME-kre hivatkozik, a következőket kell alkalmazni:
- amennyiben a hagyományos mozdonyokra és személyszállító járművekre vonatkozó ezen ÁME olvasójának szóló, tájékoztató jellegű hivatkozásról van szó, a másik ÁME végrehajtási szabályait kell alkalmazni (pl. a mozgáskorlátozott személyekre vonatkozó ÁME, a vasúti alagutak biztonságára vonatkozó ÁME vagy a zajra vonatkozó ÁME valamely rendelkezésére emlékeztetőül való hivatkozáskor),
- amennyiben a kötelező hivatkozás célja az, hogy elkerülje egy másik ÁME valamely pontjának megismétlését (pl. a nagy sebességű járművekre vonatkozó ÁME vagy a vasúti alagutak biztonságára vonatkozó ÁME rendelkezéseinek a hagyományos mozdonyokra és személyszállító járművekre vonatkozó ezen ÁME-re való kiterjesztésével), a hivatkozás a hagyományos mozdonyokra és személyszállító járművekre vonatkozó ezen ÁME egyik követelménye és a hagyományos mozdonyokra és személyszállító járművekre vonatkozó ÁME végrehajtási stratégiája érvényesül.
7.1.2. Meglévő járművek korszerűsítése vagy felújítása
7.1.2.1. Bevezetés
Ez a pont a 2008/57/EK irányelv 20. cikkéhez kapcsolódó tájékoztatást nyújt.
7.1.2.2. Felújítás
A tagállamoknak az ezen ÁME felújításra történő alkalmazásának alapjaként a következő elveket kell használniuk:
- Az ÁME követelményei szerinti új értékelés csak azon alapvető paraméterek tekintetében szükséges, amelyek teljesítményét a módosítások befolyásolták.
- A meglévő, ÁME-nek nem megfelelő járművek esetében, amennyiben a felújítás során gazdaságilag nem kifizetődő az ÁME követelményeinek teljesítése, a felújítás elfogadható, ha az alapvető paraméterek nyilvánvalóan az ÁME-ben meghatározott teljesítmény irányába javultak.
- A nemzeti átállási stratégiák más ÁME-k végrehajtásából eredő hatása.
Az ÁME-nek nem megfelelő elemeket is tartalmazó projektek esetében az alkalmazandó megfelelőségértékelési és EK-hitelesítési eljárásokról a tagállammal kell megállapodni.
Nem igényel ezen ÁME szerinti megfelelőségértékelést a létező, ÁME-nek nem megfelelő járműkonstrukció, a teljes egység vagy járművön (járműveken) belül egység(ek) kicserélése (pl. súlyos károsodást követő csere, amennyiben az egység vagy jármű(vek) azonos(ak) azzal, amit felváltanak. Az ilyen egységeknek visszakereshetőnek és a nemzeti vagy nemzetközi szabályoknak vagy a vasúti területen széles körben elismert magatartási szabályzatnak megfelelően tanúsítottnak kell lenniük.
Az ÁME-nek megfelelő egységek vagy járművek lecserélése esetén az ÁME szerinti megfelelőségértékelésre szükség van.
7.1.2.3. Korszerűsítés
A tagállamoknak az ezen ÁME korszerűsítésre történő alkalmazásának alapjaként a következő elveket kell használniuk:
- A korszerűsítéssel nem érintett alkatrészek és alapvető paraméterek mentesülnek az ezen ÁME rendelkezései szerinti megfelelőségértékelés alól.
- Az ÁME követelményei szerinti új értékelés csak azon alapvető paraméterek tekintetében szükséges, amelyek teljesítményét a módosítások befolyásolták.
- A meglévő, ÁME-nek nem megfelelő járművek esetében, amennyiben a korszerűsítés során gazdaságilag nem kifizetődő az ÁME követelményeinek teljesítése, a korszerűsítés elfogadható, ha az alapvető paraméterek nyilvánvalóan az ÁME-ben meghatározott teljesítmény irányába javultak.
- Az alkalmazási útmutatóban szerepelnek a tagállamoknak szóló útmutatások a korszerűsítésnek minősülő ilyen módosításokra vonatkozóan.
- A nemzeti átállási stratégiák más ÁME-k végrehajtásából eredő hatása.
Az ÁME-nek nem megfelelő elemeket is tartalmazó projektek esetében az alkalmazandó megfelelőségértékelési és EK-hitelesítési eljárásokról a tagállammal kell megállapodni.
7.1.3. A típus- vagy konstrukcióvizsgálati tanúsítványra vonatkozó szabályok
7.1.3.1. Járművek
Ez a pont a 2008/57/EK irányelv 2. cikkének w) pontjában meghatározott azon járműtípust (ezen ÁME-vel összefüggésben egységtípust) tárgyalja, amelyre ezen ÁME 6.2.2.1. pontjával összhangban EK-típus- vagy konstrukcióvizsgálati tanúsítvány vonatkozik.
A típus- vagy konstrukcióvizsgálat ÁME szerinti értékelésének alapját az ÁME H. mellékletének 2. és 3. oszlopa adja meg (tervezési és fejlesztési szakasz).
A. fázis
Az A. fázis akkor kezdődik, amikor a kérelmező kijelöli az EK-hitelesítésért felelős bejelentett szervezetet, és akkor végződik, amikor az EK-típusvizsgálati tanúsítványt kiadják.
A típus ÁME szerinti értékelésének alapja az A. fázis tekintetében meghatározott, legfeljebb hétéves időtartammal. Az A. fázis során a bejelentett szervezet által használt EK-hitelesítéshez használt értékelési alap nem fog változni.
Amennyiben ezen ÁME felülvizsgált változata az A. fázis ideje alatt lép hatályba, a felülvizsgált változat használata megengedett, de nem kötelező.
B. fázis
A B. fázis határozza meg bejelentett szervezet által kiadott típusvizsgálati tanúsítvány érvényességi idejét. Ezen időszak alatt az egységek EK-hitelesítése lehetséges a típusmegfelelőség alapján.
Az alrendszer EK-hitelesítésének típusvizsgálati tanúsítványa a kiállítást követően hétéves B. fázisra érvényes, akkor is, ha ezen ÁME felülvizsgált változata hatályba lép. Ezen idő alatt azonos típusú új járművek a típusvizsgálati tanúsítványra hivatkozó EK-hitelesítési bizonyítvány alapján helyezhetők üzembe.
A már típus- vagy konstrukcióvizsgálati tanúsítványt kapott járműtípus módosításaira a következő szabályok vonatkoznak:
- A változások végrehajthatók azon módosítások újbóli értékelésével, amelyek az ÁME akkoriban hatályos legfrissebb felülvizsgált változatának alapvető paramétereit befolyásolják.
- Az EK-hitelesítési bizonyítvány elkészítéséhez a bejelentett szervezet az alábbiakra hivatkozhat:
-
- a konstrukció változatlan alkatrészeinek eredeti típus- vagy konstrukcióvizsgálati tanúsítványa, amennyiben az még érvényes (a B. fázis hét éve alatt),
- az (eredeti tanúsítványt módosító) további típus- vagy konstrukcióvizsgálati tanúsítvány a konstrukció olyan módosított alkatrészei tekintetében, amelyek befolyásolják az ÁME akkoriban hatályos legfrissebb felülvizsgált változatának alapvető paramétereit.
7.1.3.2. A kölcsönös átjárhatóságot lehetővé tevő rendszerelemek
Ez a pont a típusvizsgálat (SB modul) vagy alkalmazhatósági vizsgálat (CV modul) körébe tartozó, kölcsönös átjárhatóságot lehetővé tevő rendszerelemekre vonatkozik.
A típus- vagy konstrukcióvizsgálati vagy alkalmazhatósági tanúsítványa ötéves időtartamig érvényes. Ezen idő alatt azonos típusú rendszerelemek új típusvizsgálat nélkül helyezhetők üzembe. Az ötéves időtartam vége előtt értékelni kell a rendszerelemet ezen ÁME akkor hatályos felülvizsgált változata szempontjából, a hitelesítés alapjához képest megváltozott vagy új követelmények tekintetében.
7.2. Kompatibilitás más alrendszerekkel
A hagyományos vasúti "mozdonyok és személyszállító járművek" ÁME kifejlesztése a megfelelő hagyományos vasúti ÁME-nek megfelelő más alrendszerek figyelembevételével zajlott. Ezért a hagyományos vasút helyhez kötött berendezéseiből álló infrastruktúrával, az energiaellátással, valamint az ellenőrző-irányító-jelző alrendszerrel való kapcsolódási pontok a hagyományos vasúti infrastruktúrára vonatkozó ÁME-nek, a hagyományos vasút energiaellátására vonatkozó ÁME-nek és a hagyományos vasúti ellenőrző-irányító-jelző rendszerre vonatkozó ÁME-nek megfelelő alrendszerek tekintetében kerültek ismertetésre.
Ezt követően a járművekre vonatkozó végrehajtási módszerek és azok szakaszai a hagyományos vasúti infrastruktúrára vonatkozó ÁME, a hagyományos vasút energiaellátására vonatkozó ÁME és a hagyományos vasúti ellenőrző-irányító-jelző rendszerre vonatkozó ÁME végrehajtásának előrehaladásától függenek.
Ezen túlmenően, a hagyományos vasút helyhez kötött berendezéseiből álló infrastruktúrát tárgyaló ÁME lehetővé tesz változatokat.
A járművek tekintetében ezek a változatok a 2008/57/EK irányelv 34. cikke szerinti engedélyezett járműtípusok európai nyilvántartásában feltüntetendő műszaki jellemzők részét fogják képezni.
Az infrastruktúra tekintetében ezek a változatok a 2008/57/EK irányelv 35. cikke szerinti infrastruktúra-nyilvántartásában feltüntetendő fő jellemzők részét fogják képezni.
7.3. Különleges esetek
7.3.1. Általános előírások
A következő pontban felsorolt különleges esetek az egyes tagállamok adott hálózatain szükséges és engedélyezett egyedi rendelkezéseket ismertetik.
Az ilyen különleges esetek osztályozása:
"P" esetek : állandó ("permanent") esetek,
"T" esetek : ideiglenes ("temporary") esetek, amelyeknél ajánlott a célrendszer 2020-ig való megvalósítása (a 884/2004/EK határozattal módosított, 1692/96/EK európai parlamenti és tanácsi határozatban kitűzött cél ( 24 )).
Az ÁME hatálya alá tartozó járművekre vonatkozó különleges esetekkel ebben az ÁME-ben kell foglalkozni.
Egyes különleges esetek kapcsolódnak más ÁME-khez. Amennyiben ezen ÁME valamely pontja egy másik olyan ÁME-re hivatkozik, amelyre a különleges eset vonatkozik, illetve amennyiben valamely különleges eset amiatt vonatkozik a járművekre, mert az egy másik ÁME-ben szerepel, ezek ebben az ÁME-ben újfent szerepelnek.
Ezen túlmenően egyes különleges esetek nem akadályozzák az ÁME-nek megfelelő járművek számára a nemzeti hálózat használatát. Ilyen esetben ez kifejezetten szerepel az alábbi 7.3.2. pont érintett szakaszában.
7.3.2. Különleges esetek felsorolása
7.3.2.1. Általános különleges esetek
("P") Az 1 000 mm-es peloponnészoszi hálózaton való futásra szánt járművekre a nemzeti szabályok vonatkoznak.
("P") Az ÁME 1 520 mm-es hálózatokon történő használatra való alkalmazása nyitott kérdés.
("P") A Finnország és harmadik országok között az 1 520-as hálózaton zajló forgalomban használatos, harmadik országbeli járművek tekintetében megengedett az ezen ÁME-ben rögzített követelmények helyett a nemzeti műszaki szabályok alkalmazása.
("P") A tagállamok és harmadik országok között az 1 520-as hálózaton zajló forgalomban használatra szánt, harmadik országbeli járművek tekintetében megengedett az ezen ÁME-bn rögzített követelmények helyett a nemzeti műszaki szabályok alkalmazása.
7.3.2.2. Mechanikai kapcsolódási pontok - végkapcsoló-készülék (4.2.2.2.3)
("P") Ha a Finnországban való közlekedésre szánt járműveket ütközővel szerelték fel, az ütközők középvonalai közötti távolságnak 1 830 mm-nek (± 10 mm) kell lennie.
A 4.2.2.2.3. "Végkapcsoló-készülék" pont többi rendelkezését alkalmazni kell.
("T") Ha a Spanyolországban az 1 668 mm-es nyomtávú hálózaton való közlekedésre szánt járműveket ütközővel és csavaros kapcsolókészülékkel szerelték fel, az ütközők középvonalai közötti távolságnak 1 850 mm-nek (± 10 mm) kell lennie.
A 4.2.2.2.3. "Végkapcsoló-készülék" pont többi rendelkezését alkalmazni kell.
("P") Ha az Írországban való közlekedésre szánt járműveket ütközővel és csavaros kapcsolókészülékkel szerelték fel, az ütközők középvonalai közötti távolságnak 1 905 mm-nek (± 10 mm), és az ütköző- és vonókészülék sín feletti magasságának legalább 1 067 mm és legfeljebb 1 092 mm között kell lennie terheletlen állapotban.
7.3.2.3. Nyomtáv (4.2.3.1)
("P") A 1 524-es hálózatokra tervezett egységek esetében az egységnek a FIN1 nyomtávon belül kell maradnia az EN 15273-2:2009 szabványban meghatározottak szerint.
Megjegyzés: lásd még a nyomtávra a 7.3.2.8. "Kerékpárok" pont különleges esetet.
("P") A portugál hálózatra tervezett egységeknek a PTb, PTb + vagy PTc nyomtávon belül kell maradniuk az EN 15273-2:2009 szabványban meghatározottak szerint.
Megjegyzés: lásd még a nyomtávra a 7.3.2.8. "Kerékpárok" pont különleges esetet.
("P") A svéd hálózaton való üzemre tervezett egységeknek a SEA vagy SEC nyomtávon belül kell maradniuk az EN 15273-2:2009 szabványnak megfelelően.
Ez a különleges eset nem akadályozza az ÁME-nek megfelelő járművek számára a nemzeti hálózat használatát.
("P") Az egyesült királyságbeli hálózatra tervezett egységeknek a hagyományos vasúti infrastruktúrára vonatkozó ÁME 7.6.12.2. pontjában meghatározott kinematikus szerkesztési szelvényen belül kell maradniuk.
A kinematikus szerkesztési szelvény vonatkozásában a megfelelés értékelésének a bejelentett nemzeti műszaki szabályokban meghatározott módszertanoknak megfelelően kell zajlania.
Felújított és korszerűsített vonalak esetében a Nagy-Britanniában használt járművek áramszedőinek a bejelentett nemzeti műszaki szabályokban meghatározott űrszelvényen belül kell maradniuk.
("P") A holland hálózaton való üzemre tervezett egységeknek az NL1 vagy NL2 kinematikus szerkesztési szelvényen belül kell maradniuk az EN 15273-2:2009 szabványnak (M. melléklet) megfelelően.
Ez a különleges eset nem akadályozza az ÁME-nek megfelelő járművek számára a nemzeti hálózat használatát.
Megjegyzés: az infrastruktúra és a járművekre vonatkozó NL1 és NL2 nyomtáv kompatibilitását ellenőrizni kell, mivel nem minden vonal kompatibilis mindkét nyomtávval.
("P") A spanyol 1 668 mm-es hálózaton való üzemre tervezett egységeknek a GHE16 referencia-körvonalon és az e célra bejelentett nemzeti szabályokban meghatározott kapcsolódó szabályokon belül kell maradniuk.
Megjegyzés: lásd még a nyomtávra a 7.3.2.8. "Kerékpárok" pont különleges esetet.
("T") A nyomtáv kinematikus szerkesztési szelvénye nyitott kérdés.
7.3.2.4. A tengelycsapágy állapotának figyelemmel kísérése (4.2.3.3.2)
("P") A tengelycsapágy állapotának figyelemmel kísérése tekintetében pálya mellett elhelyezett berendezéstől függő finnországi hálózaton (1 435 mm-es nyomtávon) való használatra tervezett járművek esetében a tengelyágy alsó részén lévő azon célterületnek, amelynek akadálymentesnek kell lennie, hogy lehetővé tegye a pálya melletti hőnfutásjelző általi megfigyelést, az EN 15437-1:2009 szabványban meghatározott méreteket kell használnia, és az értékeket az alábbiakkal kell felváltania:
Pálya mellett elhelyezett berendezésen alapuló rendszer:
Az EN 15437-1:2009 szabvány 5.1. és 5.2. pontjában szereplő méretek helyébe a következő méretek lépnek. Két eltérő célterület (I. és II.) létezik, ideértve azok meghatározott tiltott és mérési övezeteit is:
- Az I. célterület méretei:
-
- WTA, legalább 50 mm,
- LTA, legalább 200 mm,
- YTA, 1 045 mm és 1 115 mm közötti,
- WPZ, legalább 140 mm,
- LPZ, legalább 500 mm,
- YPZ, 1 080 mm ± 5 mm.
- A II. célterület méretei:
-
- WTA, legalább 14 mm,
- LTA, legalább 200 mm,
- YTA, 892 mm és 896 mm közötti,
- WPZ, legalább 28 mm,
- LPZ, legalább 500 mm,
- YPZ 894 mm ± 2 mm.
("P") A tengelycsapágy állapotának figyelemmel kísérése tekintetében pálya mellett elhelyezett berendezéstől függő spanyol 1 668 mm-es nyomtávú hálózaton való használatra tervezett járművek esetében a tengelyágy alsó részén lévő célterületnek, amelynek a pálya menti berendezés számára láthatónak kell lennie, az EN 15437-1:2010 szabvány 5.1. és 5.2. pontjában meghatározott méreteket kell használnia, az ott szereplő értékek helyett az alábbiakat figyelembe véve:
- YTA = 1 176 ± 10 mm (célterület középpontjának oldalirányú helyzete a jármű középvonalához viszonyítva),
- WTA ≥ 55 mm (a célterület szélessége oldalirányban),
- LTA ≥ 100 mm (a célterület hosszanti irányú hosszúsága),
- YPZ = 1 176 ± 10 mm (a tiltott övezet középpontjának oldalirányú helyzete a jármű középvonalához viszonyítva),
- WPZ ≥ 110 mm (a tiltott övezet szélessége oldalirányban),
- LPZ ≥ 500 mm (a tiltott övezet hosszanti irányú hosszúsága).
("P") A tengelycsapágy állapotának figyelemmel kísérése tekintetében pálya mellett elhelyezett berendezéstől függő portugál hálózaton (1 668 mm-es nyomtávon) való használatra tervezett járművek esetében a tengelyágy alsó részén lévő azon célterületnek, amelynek akadálymentesnek kell lennie, hogy lehetővé tegye a pálya melletti hőnfutásjelző általi megfigyelést, illetve annak a jármű középvonalától való távolságának a következőnek kell lennie:
- YTA = 1 000 mm (célterület középpontjának oldalirányú helyzete a jármű középvonalához viszonyítva),
- WTA ≥ 65 mm (a célterület szélessége oldalirányban),
- LTA ≥ 100 mm (a célterület hosszanti irányú hosszúsága),
- YPZ = 1 000 mm (a tiltott övezet középpontjának oldalirányú helyzete a jármű középvonalához viszonyítva),
- WPZ ≥ 115 mm (a tiltott övezet szélessége oldalirányban),
- LPZ ≥ 500 mm (a tiltott övezet hosszanti irányú hosszúsága).
("P") A tengelycsapágy állapotának figyelemmel kísérése tekintetében pálya mellett elhelyezett berendezéstől függő ír hálózaton való használatra tervezett járművek tekintetében a nemzeti szabályok határozzák meg a tengelyágy alsó részén lévő azon célterületnek, amelynek akadálymentesnek kell lennie.
("T") Ez a különleges eset vonatkozik minden olyan járműre, amelyet nem szereltek el a járművön levő berendezéssel a tengelycsapágy állapotának figyelemmel kísérésére és amelyet nem korszerűsített hőnfutásjelzőkkel felszerelt vonalakon kívánnak üzemeltetni. A vasúthálózat-használati szabályzat ezeket a vonalakat e tekintetben az ÁME-nek meg nem felelőnek tünteti fel.
Oldalsó méretek a tengelycsapágy állapotának figyelemmel kíséréséhez:
A tengelyágy/tengelycsapágy alatti, a pálya menti berendezés számára látható övezetnek a függőleges megfigyelés lehetővé tételére szabadnak kell lennie:
- a kerékpár középpontjához viszonyítva 842 és 882 mm között oldalirányban,
- legalább 40 mm-es megszakítás nélküli szélesség a kerékpár középpontjához viszonyítva oldalirányban legalább 865 mm és a kerékpár középpontjához viszonyítva oldalirányban legfeljebb 945 mm távolságon belül.
Tiltott övezet:
A keréktengely középvonalához képest középpontban elhelyezkedő 500 mm hosszanti irányú hosszúságon belül a tengelyágynál/tengelycsapágynál magasabb hőmérsékletű terület nem helyezhető az oldalsó térközhöz 10 mm-nél közelebb.
7.3.2.5. A járművek dinamikus viselkedésE (4.2.3.4)
("T") A meglévő hálózat síktorzulása és más vonatkozó vágányminőség eltérő határértékei miatt a 4.2.3.4. pontban és alpontjaiban és az EN 14363:2005 szabványban és más hivatkozott szabványokban is szereplő számos határértéket és fogalmat ki kell igazítani annak érdekében, hogy azok az Ír Köztársaságban és Észak-Írországban üzemeltetendő járművekre alkalmazhatóak legyenek.
Ennek a kiigazításnak teljesítenie kell az I.E.-CME 302 műszaki szabványát vagy Észak-Írországnak az Egyesült Királysághoz tartozó területein érvényes műszaki előírásokat.
Ezt a következő pontokra kell alkalmazni: 4.2.3.4.1. "Féloldali vágánysüppedésen való kisiklással szembeni biztonság", 4.2.3.4.2. "Menetdinamikai viselkedés", 4.2.3.4.2.1. "A menetbiztonság határértékei", 4.2.3.4.2.2. "Vágányterhelési határértékek", 4.2.3.4.3. "Egyenértékű kúposság", 4.2.3.4.3.1. "Új kerékprofilok tervezési értékei", 4.2.3.4.3.2. "A kerékpár egyenértékű kúposságának üzem közbeni értékei".
Egyébként a pontban és az EN:14363 szabványban és más szabványokban szereplő minden más elvnek az ezen ÁME-ben meghatározott megközelítést kell követnie.
("P") Az EN 14363:2005 szabvány 4.1.3.4.1. pontjában meghatározott 3. módszer használatára vonatkozó korlátozások nem vonatkoznak a kizárólag az Egyesült Királyság nemzeti fővonalain nemzeti használatra szánt járművekre.
Ez a különleges eset nem akadályozza az ÁME-nek megfelelő járművek számára a nemzeti hálózat használatát.
7.3.2.6. Vágányterhelési határértékek (4.2.3.4.2.2.)
("P") Az 1 668 mm-es nyomtávon való használatra szánt járművek esetében a Yqst sínre gyakorolt kvázi statikus irányító erő határértékeit legalább 250 m-es és 400 m alatti ívsugarak tekintetében kell értékelni.
A határérték a következő: (Yqst)lim = (33 + 11 550/Rm) kN.
7.3.2.7. Új kerékprofilok tervezési értékei (4.2.3.4.3.1.)
("P") A finnországi hálózaton való közlekedésre tervezett vonatok kerékpárjainak kompatibilisnak kell lenniük az 1 524 mm-es nyomtávval.
2. táblázat
Egyenértékű kúposság tervezési határértékei
A jármű legnagyobb üzemi sebessége (km/h) | Az egyenértékű kúposság határértékei | Vizsgálati feltételek (lásd: 3. táblázat) |
≤ 60 | Nem alkalmazható | Nem alkalmazható |
> 60 és ≤ 190 | 0,30 | összes |
> 190 | A nagy sebességű járművekre vonatkozó ÁME-ben meghatározott értékek | A nagy sebességű járművekre vonatkozó ÁME-ben meghatározott feltételek |
3. táblázat
Vágányvizsgálati feltételek a finn TEN-hálózatra jellemző egyenértékű kúposság tekintetében
Vizsgálati feltétel sz. | Sínfejprofil | Síndőlés | Nyomtáv |
1. | Az EN 13674-1:2003 szabványban meghatározott 60 E 1 sínmetszet | 1:40 | 1 524 mm |
2. | Az EN 13674-1:2003 szabványban meghatározott 60 E 1 sínmetszet | 1:40 | 1 526 mm |
3. | Az EN 13674-1:2003 szabványban meghatározott 54 E 1 sínmetszet | 1:40 | 1 524 mm |
4. | Az EN 13674-1:2003 szabványban meghatározott 54 E 1 sínmetszet | 1:40 | 1 526 mm |
Az EN 13715:2006 szabvány meghatározása szerint az aktív felületek között 1 505 és 1 511 mm közötti hézaggal rendelkező, le nem kopott S1002 vagy GV 1/40 profilokkal rendelkező kerékpárokról vélelmezik, hogy teljesítik e pont követelményeit.
("P") Portugália esetében az 54E1 és 60E1. szakaszon az 1 668 mm-es nyomtávot 1-20 közötti síndőléssel kell figyelembe venni.
("P") Az 1 668 mm-es nyomtávon való használatra szánt járművek esetében a 2. táblázatban meghatározott egyenértékűkúposság-határértékek nem léphetőek túl, amikor a tervezett kerékpár a modellezés során áthalad a vágány alábbi 3. táblázatban meghatározott vizsgálati feltételeinek reprezentatív mintáján.
2. táblázat
Egyenértékű kúposság tervezési határértékei
A jármű legnagyobb üzemi sebessége (km/h) | Az egyenértékű kúposság határértékei | Vizsgálati feltételek (lásd: 3. táblázat) |
≤ 60 | Nem alkalmazható | Nem alkalmazható |
> 60 és ≤ 190 | 0,30 | összes |
> 190 | A nagy sebességű járművekre vonatkozó ÁME-ben meghatározott értékek | A nagy sebességű járművekre vonatkozó ÁME-ben meghatározott feltételek |
3. táblázat
A vágány vizsgálati feltételei egyenértékű kúposság esetén
Vizsgálati feltétel sz. | Sínfejprofil | Síndőlés | Nyomtáv |
1 | Az EN 13674-1:2003 szabványban meghatározott 60 E 1 sínmetszet | 1:20 | 1 668 mm |
2 | Az EN 13674-1:2003 szabványban meghatározott 60 E 1 sínmetszet | 1:20 | 1 670 mm |
3 | Az EN 13674-1:2003 szabványban meghatározott 54 E1 sínmetszet | 1:20 | 1 668 mm |
4 | Az EN 13674-1:2003 szabványban meghatározott 54 E1 sínmetszet | 1:20 | 1 670 mm |
A pr EN 13715:2006 szabvány meghatározása szerint az aktív felületek között 1 653 és 1 659 mm közötti hézaggal rendelkező le nem kopott S1002 vagy GV 1/40 profilokkal rendelkező kerékpárokról vélelmezik, hogy teljesítik e pont követelményeit.
7.3.2.8. Kerékpárok (4.2.3.5.2)
("P") A finnországi hálózaton való közlekedésre tervezett vonatok kerékpárjainak kompatibilisnek kell lenniük az 1 524 mm-es nyomtávval.
A kerékpárok és kerekek 1 520 és 1 524 mm-es nyomtávval kapcsolatos méretei az M. melléklet M.2. táblázatában találhatók.
Megnevezés | D kerékátmérő (mm) | Névleges érték (mm) | Legkisebb érték (mm) | Legnagyobb érték (mm) |
Alrendszerrel kapcsolatos követelmények | ||||
Előoldalak közötti távolság (SR) (az aktív felületek közötti távolság) SR = AR + Sd (bal oldali kerék) + Sd (jobb oldali kerék) | D > 725 | 1 510 | 1 487 | 1 514 |
725 > D ≥ 400 | – | 1 506 | 1 509 | |
A két hátoldal közötti távolság (AR) | D > 725 | 1 445 +/- 1 | 1 442 | 1 448 |
725 > D ≥ 400 | 1 445 +/- 1 | 1 444 | 1 446 | |
A kerékre mint kölcsönös átjárhatóságot biztosító rendszerelemre vonatkozó követelmények | ||||
Megnevezés | D kerékátmérő (mm) | Névleges érték (mm) | Legkisebb érték (mm) | Legnagyobb érték (mm) |
A kerékkoszorú szélessége (BR + sorja) | D ≥ 400 | 135 +/- 1 | 134 | 136 |
140 +/- 1 () | 139 () | 141 () | ||
A nyomkarima vastagsága (Sd) | D > 840 | 32,5 | 22 | 33 |
840 > D ≥ 760 | 32,5 | 25 | 33 | |
760 > D ≥ 400 | 32,5 | 27,5 | 33 | |
A nyomkarima magassága (Sh) | D > 760 | 28 | 27,5 | 36 |
760 > D ≥ 630 | 30 | 29,5 | 36 | |
630 > D ≥ 400 | 32 | 31,5 | 36 | |
A nyomkarima felülete (qR) | ≥ 400 | – | 6,5 | – |
(1) opcionálisan megengedett a vontató egységekre. |
(P) A finn 1 524-es hálózat és harmadik ország 1 520-as hálózata közötti forgalomban használatos járművek esetében megengedett a nyomtávkülönbség áthidalására tervezett kerékpárok használata.
("P") A kerékpár mechanikai és geometriai jellemzői:
A névleges nyomtávra (1 668 mm) a portugál vasúti hálózat egyedi Ar és Sr értékei a következők:
- Ar = 1 593 0/-3 (mm) - új kerékpár,
- Ar = 1 593 + 3/-3 (mm) - legnagyobb üzemi,
- 1 646 ≤ Sr ≤ 1 661 (mm).
A kerekek mechanikai és geometriai jellemzői:
E különleges esetben az Sd és Sh határértékei:
— D ≥ 800 mm esetében | 22 ≤ Sd ≤ 33 (mm), |
— D < 800 mm esetében | 27,5 ≤ Sd ≤ 33 (mm), |
— Sh ≤ 36 (mm). |
("P") Az SR és AR kerékpárok geometriai méreteinek meg kell felelnie az alább meghatározott határértékeknek. Ezeket a határértékeket kell tervezési értéknek (új kerékpárok) és (karbantartási célokra használatos) üzemi határértéknek tekinteni.
Kerékátmérő (mm) | Minimum (mm) | Maximum (mm) | |
SR | 840 ≤ D ≤ 1 250 | 1 643 | 1 659 |
330 ≤ D < 840 | 1 648 | 1 659 | |
AR | 840 ≤ D ≤ 1 250 | 1 590 | 1 596 |
330 ≤ D < 840 | 1 592 | 1 596 |
("T") Az 1 668 mm-es nyomtávon való közlekedésre tervezett járművek tekintetében a nyomkarima vastagságának (Sd) 840 mm kerékátmérő felett legalább 25 mm-nek, és a 330 mm és 840 mm kerékátmérő között 27,5 mm-nek kell lennie.
("P") A 4.2.3.5. pont és alpontjai tekintetében a kerékpárok valamennyi geometriai méretének meg kell felelnie az I.E.-CME 301 műszaki szabványnak vagy Észak-Írországnak az Egyesült Királysághoz tartozó területein érvényes műszaki előírásoknak.
Ezt a következőkre kell alkalmazni: 4.2.3.5.2. "Kerékpárok", 4.2.3.5.2.1. "A kerékpár mechanikai és geometriai jellemzői", 4.2.3.5.2.2. "A kerekek mechanikai és geometriai jellemzői".
7.3.2.9. A kerekek geometriai jellemzői (4.2.3.5.2.2)
("P") A csak nemzeti használatra szánt járművek esetében a nyomkarima szélességének legkisebb értéke (BR + sorja) lehet (133 mm helyett) 127 mm.
Ez a különleges eset nem akadályozza az ÁME-nek megfelelő járművek számára a nemzeti hálózat használatát.
7.3.2.10. Az elhaladó vonatok miatt A peron mentén tartózkodó utasokat érő légörvényhatás (4.2.6.2.1.)
("P") Megengedett a nagy-britanniai hálózaton üzemelő járművek következő követelmények szerinti vizsgálata.
A nyílt terepen vtr > 160 km/h (100 mérföld/h) legnagyobb sebességgel haladó jármú elhaladása következtében a levegő sebessége nem haladhatja meg az u2σ = 11,5 m/s értéket a peron felszínétől számított 1,2 m magasságban és a vágánytengelytől számított 3,0 m távolságban a jármű elhaladása közben.
A megfelelőséget az EN 14067-4:2005/A1:2009 szabvány 7.5.2. pontjában meghatározott feltételek mellett eredeti méretben kell értékelni. A méréseket a sínkorona felett legfeljebb 915 mm peronmagasságnál kell elvégezni.
Ez a különleges eset nem akadályozza az ÁME-nek megfelelő járművek számára a nemzeti hálózat használatát.
7.3.2.11. Légnyomásimpulzus (4.2.6.2.3)
("P") A 4.2.6.2.3. pontban meghatározott követelményrendszer helyett a nagy-britanniai hálózaton való üzemre tervezett járművekre a következők vonatkoznak:
A nyílt terepen 160 km/h feletti sebességgel közlekedő jármű elhaladása következtében a két csúcsérték közötti legnagyobb nyomásváltozás nem haladhatja meg a Δp2σ = 665 értéket a sínkorona fölötti 1,5 és 3,3 m közötti magasságban és a vágánytengelytől mért 2,5 m távolságban a vonat elejének elhaladása alatt.
7.3.2.12. A figyelmeztető kürt hangnyomás szintjei (4.2.7.2.2.)
("P") A csak nemzeti használatra szánt járművek megfelelhetnek az e célból az Egyesült Királyságban bejelentett nemzeti műszaki szabályokban szereplő hangnyomásértékeknek.
A nemzetközi használatra szánt vonatoknak az ebben az ÁME-ben előírt hangnyomásértékeknek kell megfelelniük.
Ez a különleges eset nem akadályozza az ÁME-nek megfelelő járművek számára a nemzeti hálózat használatát.
7.3.2.13. Energiaellátó rendszerek - általában (4.2.8.2.1)
("P") Megengedett a 600/750 V-os egyenárammal működő villamosenergia-ellátó rendszerrel felszerelt és harmadik vagy negyedik sín formájában talajszinten futó áramvezető sínt alkalmazó vonalakon való üzemre szánt és azzal kompatibilis járművek beszerzése. A bejelentett nemzeti műszaki szabályok alkalmazandók.
7.3.2.14. Feszültség- és frekvenciatartományban való működés (4.2.8.2.2)
("T") A hagyományos vasút energiaellátására vonatkozó ÁME 7.5.2.2.1. pontjában megadott 1,5 kV-os egyenáramú rendszereken üzemeltetendő villamos egységeknek képesnek kell lenniük a hagyományos vasút energiaellátására vonatkozó ÁME 7.5.2.2.1. pontjában megadott feszültségtartományon belüli üzemre.
7.3.2.15. Működési tartomány az áramszedő magasságában (4.2.8.2.9.1.)
("P") A járműre szerelt áramszedőknek a FIN1 nyomtáv szerint tervezett vágányok esetében a sínkorona fölött 5 600 és 6 500 mm magasságban kell lehetővé tenniük a munkavezetékekből való áramfelvételt.
("P") Az Egyesült Királyság váltakozó áramú 25kV-os 50Hz-es rendszerén üzemeltetendő minden olyan jármű, amelyet nem korszerűsítettek a hagyományos vasút energiaellátására vonatkozó ÁME szerint, a következő követelmények vonatkoznak:
Az áramszedők működési tartománya 2 100 mm. A villamos egységre felszerelt áramszedőnek a sínkorona felett 4 140 mm (az alsó működési helyzet, az EN 50206-1 szabvány 3.2.13 pontja szerint) és 6 240 mm (a felső működési helyzet, az EN 50206-1 szabvány 3.2.13 pontja szerint) magasságban kell működnie.
Kivételes földrajzi viszonyok mellett, ahol az elektromos térközöket fizikai akadályok korlátozzák és a csökkentett legnagyobb (statikus) járműmagasság érvényesül, e járművek áramszedőinek működési tartománya 2 315 mm. A villamos egységre felszerelt áramszedőnek a sínkorona felett 3 925 mm (az alsó működési helyzet, az EN 50206-1 szabvány 3.2.13. pontja szerint) és 6 240 mm (a felső működési helyzet, az EN 50206-1 szabvány 3.2.13. pontja szerint) magasságban kell működnie.
("T") Az 1 500 V-os egyenáramú holland hálózat korlátozásmentes eléréséhez az áramszedő legnagyobb magassága legfeljebb 5 860 mm.
7.3.2.16. Az áramszedőfej geometriája (4.2.8.2.9.2.)
("T") Az Egyesült Királyság váltakozó áramú 25 kV-os 50 Hz-es rendszerén üzemeltetendő járművekre, amelyeket nem korszerűsítettek a hagyományos vasút energiaellátására vonatkozó ÁME szerint, a következő követelmények vonatkoznak:
A meglévő infrastruktúrával való kompatibilitás fenntartására az áramszedőfej profiljának az EN 50367:2006 szabvány B.7. mellékletében ábrázoltnak kell lennie.
A rendszerhatárokon való áthaladásra vonatkozó követelményekkel való kompatibilitás fenntartása érdekében az áramszedőfejek vágányszélességen való legnagyobb túlnyúlása 250 mm lehet, amennyiben az infrastruktúra-nyilvántartásban szereplő szabályok mást nem engedélyeznek.
("P") Az olyan vonalakon üzemeltetendő járművekre, amelyeknek energiaellátását nem korszerűsítettek a hagyományos vasút energiaellátására vonatkozó ÁME szerint, az áramszedőfej hosszára a következő követelmények vonatkoznak:
- 1 450 mm a 25 kV-os váltakozó áramú rendszerekre, és
- 2 180 mm a 1,5 kV-os egyenáramú rendszerekre.
("T") A meglévő és csak az 1 450 mm-es áramszedőfej-hosszúsággal kompatibilis felsővezeték-rendszerrel szerelt TEN-vonalakon áthaladó vonatokra 1 450 mm-es fejhosszúságú áramszedőket kell szerelni.
A csak nemzeti használatra szánt és az 1 600 mm és 1 450 mm hosszú áramszedőfej-geometriával egyaránt kompatibilis vonalakon áthaladó vonatokon megengedett csak 1 450 mm-es hosszúságú áramszedők felszerelése.
("P") Az Olaszországban és Svájcban vagy csak az 1 450 mm-es áramszedőfej-hosszúsággal kompatibilis felsővezeték-rendszerrel szerelt más nem TEN-vonalakon történő üzemre szánt vonatokat 1 450 mm széles áramszedőfejjel kell felszerelni. Ezeken a vonatokon megengedett csak 1 450 mm-es hosszúságú áramszedők felszerelése, amennyiben az 1 450 mm hosszú áramszedőfej-geometriával kompatibilis vonalakon haladnak át.
Az áramszedőfej profiljának az EN 50367:2006 szabvány B.2. mellékletében ábrázoltnak kell lennie.
("P") A Franciaországban és Svájcban vagy csak az 1 450 mm-es áramszedőfej-hosszúsággal kompatibilis felsővezeték-rendszerrel szerelt más nem TEN-vonalakon történő üzemre szánt vonatokat 1 450 mm széles áramszedőfejjel kell felszerelni. Ezeken a vonatokon megengedett csak 1 450 mm-es hosszúságú áramszedők felszerelése, amennyiben azok csak az 1 450 mm hosszú áramszedőfej-geometriával kompatibilis vonalakon haladnak át.
Az áramszedőfej profiljának az EN 50367:2006 szabvány B.2. mellékletében ábrázoltnak kell lennie.
("P") Ez a különleges eset a nem korszerűsített felsővezeték-rendszerrel szerelt vonalakon való üzemre szánt egységekre vonatkozik. A vasúthálózat-használati szabályzat ezeket a vonalakat e vonatkozásban az ÁME-nek meg nem felelőnek tünteti fel.
Az áramszedő űrszelvényének meg kell felelnie a JVS-FS 2006:1 és BVS 543 330 svéd műszaki előírások követelményeinek.
("P") Az alábbi vonalakon üzemeltetendő villamos egységekre:
- A csak az 1 450 mm hosszú áramszedőfej-geometriával kompatibilis vonalakon 1 450 mm-es hosszúságú áramszedőket kell felszerelni, és megengedett csak 1 450 mm-es hosszúságú áramszedők felszerelése.
- Az 1 450 mm és 1 600 mm hosszú áramszedőfej-geometriával kompatibilis vonalakon megengedett csak 1 450 mm-es hosszúságú áramszedők felszerelése, amennyiben azok csak az 1 450 mm hosszú áramszedőfej-geometriával kompatibilis vonalakon haladnak át.
Az áramszedőfej profiljának az EN 50367:2006 szabvány B.2. mellékletében ábrázoltnak kell lennie.
7.3.2.17. Az áramszedő sarunyomása és dinamikai viselkedése (4.2.8.2.9.6.)
("P") A járművet és a járműre szerelt áramszedőt úgy kell kialakítani és bevizsgálni, hogy az a hagyományos vasút energiaellátására vonatkozó ÁME 4.2.16 pontjában meghatározott tartományba eső Fm közepes sarunyomást fejtse ki a munkavezetékre az áramfelvétel minőségének ívhúzásmentes biztosítására, másrészt pedig a csúszóbetétek kopásának csökkentése és sérülésének elkerülése érdekében. Dinamikus vizsgálatok végzésekor a sarunyomást állítani kell.
Az áramszedés minősége megfelelőségértékelésének elveit a hagyományos vasút energiaellátására vonatkozó ÁME 4.2.16. pontja ismerteti.
A 4.2.8.2.9.6., a 6.1.2.2.6. és a 6.2.2.2.15. pont alkalmazásában a Nagy-Britanniában és másutt történő használatra tanúsítani kívánt vonatokon a vizsgálatokat el kell végezni 4 700 mm és 4 900 mm munkavezeték-magasság mellett is.
A 4.2.8.2.9.6., 6.1.2.2.6. és 6.2.2.2.15. pont alkalmazásában a csak Nagy-Britanniában történő használatra tanúsítani kívánt vonatokon megengedett a megfelelőségnek csak a 4 700 mm és 4 900 mm közötti munkavezeték-magasság tartományban történő ellenőrzése.
("P") Ez a különleges eset a nem korszerűsített felsővezeték-rendszerrel szerelt vonalakon való üzemre szánt egységekre vonatkozik. A vasúthálózat-használati szabályzat ezeket a vonalakat e vonatkozásban az ÁME-nek meg nem felelőnek tünteti fel.
Az áramszedő sarunyomásának meg kell felelnie a JVS-FS 2006:1 és BVS 543 330 svéd műszaki előírások követelményeinek.
("P") A 4.2.8.2.9.6., a 6.1.2.2.6. és a 6.2.2.2.15. pont alkalmazásában a 1,5 kV-os egyenáramú rendszereken üzemeltetni kívánt vonatokon a sarunyomásnak a hagyományos vasút energiaellátására vonatkozó ÁME 7.5.2.2.2. pontjának kell megfelelnie.
7.3.2.18. Kilátás előre (4.2.9.1.3.1.)
("P") A 4.2.9.1.3.1. pontban meghatározott követelmények helyett az egyesült királyságbeli hálózaton való üzemre tervezett járműveknek a következőknek kell megfelelniük:
A vezetőállást úgy kell kialakítani, hogy a vezető ülő helyzetéből tisztán és akadálymentesen láthasson ki a rögzített jelzések észlelése érdekében a GM/RT2161 "A vasúti járművek vezetőállására vonatkozó követelmények" nemzeti műszaki szabálynak megfelelően.
7.3.2.19. Vezetőállás - ergonómiai kialakítás (4.2.9.1.6.)
("P") Amennyiben a 4.2.9.1.6. pont utolsó bekezdésének a fékkar és/vagy vonóerőkar mozgásának irányára vonatkozó követelményei nem kompatibilisek a Nagy-Britanniában működő vasúttársaság biztonságirányítási rendszerével, megengedett a fékezés és vonóerő karja mozgásirányának megfordítása.
7.3.2.20. Az anyagokra vonatkozó követelmények(4.2.10.2.)
("T") A csak a spanyol hálózaton történő nemzeti használatra szánt járművek esetében és az EN 45545 szabvány közzétételéig a spanyol DT-PCI/5A tűzbiztonsági szabvány alkalmazása megengedett az ÁME 4.2.10.2. pontjának anyagokra vonatkozó követelményei helyett.
Ez a különleges eset nem akadályozza az ÁME-nek megfelelő járművek számára a nemzeti hálózat használatát.
7.3.2.21. Kapcsolódási pontok vízfeltöltéshez (4.2.11.5.) és illemhelyürítéshez (4.2.11.3.)
("P") Az ÁME 4.2.11.6. pontjában meghatározottak helyett vagy mellett megengedett fúvókás típusú vízfeltöltő csatlakozás felszerelése. Ennek a fúvókás típusú vízfeltöltő csatlakozásnak teljesítenie kell az I.E.-CME 307 műszaki szabvány 1. függelékének követelményeit vagy Észak-Írországnak az Egyesült Királysághoz tartozó területein érvényes műszaki előírásokat.
Ez a különleges eset nem akadályozza az ÁME-nek megfelelő járművek számára a nemzeti hálózat használatát.
("P") A 4.2.11.5. pontban meghatározottak helyett vagy mellett megengedett vízfeltöltő csatlakozók számára a finn hálózat pálya menti építményeivel az AII1 ábra szerint kompatibilis csatlakozások elhelyezése.
Ez a különleges eset nem akadályozza az ÁME-nek megfelelő járművek számára a nemzeti hálózat használatát.
AII1. ábra

Típus: C csatlakozó NCU1 tűzoltáshoz
Anyag: sárgaréz vagy alumínium
Külön meghatározás az SFS 3802 szabványban (a tömítést az egyes csatlakozógyártók határozzák meg.
("P") A 4.2.11.3. pontban meghatározottak helyett vagy mellett megengedett illemhelyürítő vagy az egészségügyi hulladéktartály öblítésére szolgáló csatlakozók számára a finn hálózat pálya menti építményeivel az AI1. és AI2. ábra szerint kompatibilis csatlakozások elhelyezése.
Ez a különleges eset nem akadályozza az ÁME-nek megfelelő járművek számára a nemzeti hálózat használatát.
AI1. ábra

SFS 4428 gyorscsatlakozó, A csatlakozóméret, DN80-as méret
Anyag: saválló rozsdamentes acél
Tömítés az ellencsatlakozó oldalán
Külön meghatározás az SFS 4428 szabványban
AI2. ábra

Gyorscsatlakozó zárószeleppel, 3/4″ méretű
Anyag: saválló rozsdamentes acél
Tömítés az ellencsatlakozó oldalán
Különleges típus: Stäubli Faverges RBE11.7154
7.3.2.22. A vonatok tárolásának külön követelményei (4.2.11.6.)
("P") A 4.2.11.7. pont tekintetében a leparkolt vonatok pálya menti energiaellátásának meg kell felelnie az I.E.-CME 307 műszaki szabványnak vagy Észak-Írországnak az Egyesült Királysághoz tartozó területein érvényes műszaki előírásoknak.
7.3.2.23. Üzemanyag-feltöltő berendezés (4.2.11.7. pont)
("P") Amennyiben a járművet üzemanyagtöltő rendszerrel felszerelték - pl. dízelolajat használó vonatok - az ÁME 4.2. pontjában meghatározottak helyett vagy mellett megengedett a következő szabványnak megfelelő üzemanyagtöltő berendezés használata: BS 3818:1964 Öntömítő csatlakozások dízelmozdonyokhoz és dízel motorkocsikhoz.
Ez a különleges eset nem akadályozza az ÁME-nek megfelelő járművek számára a nemzeti hálózat használatát.
("P") A 4.2.11.7. pont tekintetében az üzemanyagtöltő csatlakozásának meg kell felelnie az I.E.-CME 307 műszaki szabványnak vagy Észak-Írországnak az Egyesült Királysághoz tartozó területein érvényes műszaki előírásoknak.
("P") A finn hálózaton való üzemanyag-feltöltéshez a dízel üzemanyagtöltő csatlakozással ellátott egységek üzemanyagtartályát fel kell szerelni az SFS 5684 és SFS 5685 szabvány szerinti túlfolyás-szabályozóval.
7.4. Különleges környezeti viszonyok
Különleges viszonyok Finnországban
Téli körülmények között a finn hálózat járművek általi korlátozásmentes eléréséhez igazolni kell, hogy a járművek megfelelnek a következő követelményeknek:
- a 4.2.6.1.2. pontban meghatározott T2 hőmérsékleti övezetet kell választani,
- a 4.2.6.1.5. pontban meghatározott súlyos hó, jég és jégeső viszonyokat kell választani, a hófúvás esetének kizárásával,
- a páratartalom tekintetében a 4.2.6.1.3. pontban meghatározott követelményeket kell teljesíteni, a figyelembe vett legnagyobb hőmérsékleti ingadozás kivételével, ami 60 K-nak felel meg,
- a fékrendszer tekintetében igazolni kell, hogy ezen ÁME fékhatásosságra vonatkozó követelményei téli viszonyok esetén is teljesülnek.
- Ez a követelmény akkor tekinthető teljesítettnek, ha:
-
- a vonatszerelvény vagy személykocsi névleges sebessége meghaladja a 140 km/h-t, legalább egy forgóvázat mágneses vágányfékkel szereltek fel.
- a vonatszerelvény vagy személykocsi névleges sebessége meghaladja a 180 km/h-t, valamennyi forgóvázat mágneses vágányfékkel szereltek fel.
Különleges viszonyok Svédországban
Téli körülmények között a svéd hálózat járművek általi korlátozásmentes eléréséhez igazolni kell, hogy a járművek megfelelnek a következő követelményeknek:
- a 4.2.6.1.2. pontban meghatározott T2 hőmérsékleti övezetet kell választani,
- a 4.2.6.1.5. pontban meghatározott súlyos hó, jég és jégeső viszonyokat kell választani.
Különleges viszonyok Ausztriában
Téli körülmények között az osztrák hálózat járművek általi korlátozásmentes eléréséhez
- biztosítani kell a 4.2.6.1.5. pontban a súlyos hó-, jég- és jégesőviszonyokra meghatározottak szerint a terelőlap nagyobb teljesítményét a hó elkotrása érdekében, valamint
- a mozdonyokat és vontató egységeket homokszóró eszközökkel kell felszerelni.
Különleges viszonyok Spanyolországban
Nyári körülmények között a spanyol hálózat korlátozásmentes eléréséhez a 4.2.6.1.2. pontban meghatározott T3 hőmérsékleti övezetet kell választani.
Megjegyzés: a készülőben lévő vonatkozó EN szabvány külön rendelkezéseket fog meghatározni az A járművek (konstrukció és teszt) T3 övezetnek való megfelelésére, különösen a vonat tetejére vagy a vonat alá szerelt biztonsági felszerelések tekintetében, amelyeket "forró kavicságy" hatás érint.
Különleges viszonyok Portugáliában
Nyári körülmények között a portugál hálózat korlátozásmentes eléréséhez a 4.2.6.1.2. pontban meghatározott T3 hőmérsékleti övezetet kell választani.
7.5. A felülvizsgálatkor vagy az ügynökség más tevékenységei során figyelembe veendő vonatkozások
Az ezen ÁME készítése során végzett elemzés nyomán azonosításra kerültek olyan sajátos vonatkozások, amelyek az EU vasúti rendszerének jövőbeni fejlesztése tekintetében érdekesek.
Ezek a vonatkozások 3 csoportba sorolhatóak:
1. amelyekre már ebben az ÁME-ben alapvető paraméter vonatkozik, az ÁME felülvizsgálatakor a megfelelő előírások esetleges fejlesztésével;
2. amelyeket a jelenlegi technikai viszonyok mellett alapvető paraméternek nem tekintenek, de amelyekre kutatási projektek vannak folyamatban;
3. amelyek az EU vasúti rendszeréhez kapcsolódó, folyamatban lévő vizsgálatok keretében kapnak jelentőséget és nem tartoznak ÁME-k alkalmazási körébe.
Ezeket a vonatkozásokat az alábbiakban kerülnek azonosításra, és az ÁME 4.2. pontjának tagolása szerinti besorolásra.
7.5.1. Az ÁME alapvető paramétereihez kapcsolódó vonatkozások
7.5.1.1. Tengelyterhelési paraméter (4.2.3.2.1. pont)
Ez az alapvető paraméter az infrastruktúra és a járművek között a függőleges terhelés tekintetében meglévő kapcsolódási pontra vonatkozik.
A hagyományos vasúti infrastruktúrára vonatkozó ÁME szerint a vonalak besorolása az EN 15528:2008 szabványban meghatározottak szerint történik. Ez a szabvány határozza meg a vasúti járműve, a teherkocsik, illetve a mozdonyok és személyszállító járművek egyes típusainak besorolását is. Az ÁME-t valamennyi járműtípusra való kiterjesztése érdekében felül fogják vizsgálni.
E felülvizsgálat elkészültekor érdekes lehet a bejelentett szervezet által készített EK-bizonyítványba az értékelt egység "tervezési" besorolásának felvétele:
- a tervezési tömeg átlagos hasznos teher mellett állapot szerinti besorolás,
- a tervezési tömeg rendkívüli hasznos teher mellett állapot szerinti besorolás.
Ezt a vonatkozást ezen ÁME - amelynek már jelenlegi változata is előírja az e besorolás megállapításához szükséges összes adat feljegyzését - felülvizsgálatakor meg kell majd fontolni.
Meg kell jegyezni, hogy a vasúttársaságokra az üzemi terhelés meghatározása és ellenőrzése tekintetében a hagyományos vasút üzemeltetésére vonatkozó ÁME 4.2.2.5. pontjában meghatározott kötelezettség változatlan marad.
7.5.1.2. Vágányterhelési határértékek (4.2.3.4.2.2. pont)
Ez az alapvető paramétercsoport meghatározza a vágányterhelés határértékeit (kvázi statikus vezetőerő, kvázi statikus kerékerő, legnagyobb kerékerő).
A meghatározott határértékek érvényesülnek a hagyományos vasúti infrastruktúrára vonatkozó ÁME 4.2.2. pontjában említett tengelyterhelés-tartományban; a magasabb tengelyterhelésre tervezett vágányok tekintetében harmonizált terhelési határértékeket nem határoztak meg.
A kvázi statikus vezetőerő tekintetében a meghatározott határérték túllépése esetén az infrastruktúra korlátozhatja a jármű üzemi teljesítményét (pl. legnagyobb sebességét), a vágányjellemzőkre (pl. ívsugár, túlemelés, sínmagasság) figyelemmel.
Az ÁME felülvizsgálatakor szükség lehet e határértékek meghatározásának kiegészítésére.
A "kvázi statikus vezetőerő" tekintetében ennek értékét az ÁME mostani felülvizsgálata szerint fel kell jegyezni és ez szerepelni fog az engedélyezett járműtípusok európai nyilvántartásában.
7.5.1.3. Aerodinamikai hatások (4.2.6.2. pont)
Az elhaladó vonatok miatti légörvényhatásra és légnyomásimpulzusra vonatkozó követelményeket kizárólag a 160 km/h feletti legnagyobb üzemi sebességű járművekre a nagy sebességű járművekre vonatkozó ÁME-vel összhangban került meghatározásra.
Ez a sebességhatár arra figyelemmel került meghatározásra, hogy a hagyományos vasúti rendszeren 160 km/h-nál nagyobb sebességgel üzemeltetett vonatokra vonatkozó tapasztalati visszajelzések igen korlátozottak.
A magukra a követelményekre és azok megfelelőségértékelésére vonatkozó tapasztalati visszajelzések száma az elkövetkezendő években várhatóan jelentősen nőni fog a nagy sebességű vasúti járművekre vonatkozó ÁME alkalmazása következtében, illetve az európai kutatási projektek (Aerotrain) keretében is.
Ezért a tervek szerint az ÁME felülvizsgálatakor a követelményeket két célból fogják felülvizsgálni:
- Annak biztosítására, hogy azok illeszkedjenek a vasúttársaság üzemeltetési szükségleteihez. Például érdekes lehet annak meghatározása, hogyan lehet azokat különleges körülmények között (például állomáson, alagúton való áthaladás, vonatok egymás melletti elhaladása esetén) sebességkorlátozások meghatározására felhasználni.
- Annak biztosítására, hogy a megfelelőségértékelés megfelelő szintű pontossággal, korlátozott számú vizsgálattal és lehetőleg szimulációkkal legyen elvégezhető.
7.5.2. Az ÁME alapvető paramétereihez nem kapcsolódó, de kutatási projektek tárgyát képező vonatkozások
7.5.2.1. További követelmények biztonsági célból
A járművek utasokkal és vonatkísérő személyzettel érintkező belső felületének kell ütközés esetére védelmet nyújtania az abban tartózkodók számára, biztosítva a következőket:
- a bútorzattal és belső szerelvényekkel való másodlagos ütközés miatti sérülések kockázatának a legkisebbre csökkentése,
- a későbbi menekülést esetlegesen kizáró sérülések minimumra csökkentése.
2006-ban beindítottak néhány uniós projektet a vasúti balesetek (ütközés, kisiklás) utasokra való következményeinek tanulmányozása és különösen a sérülések kockázatának és szintjének értékelése céljából. A cél a vasúti járművek belső elrendezéséhez és alkatrészeihez kapcsolódó követelmények és a vonatkozó megfelelőségértékelési eljárások meghatározása.
Ez az ÁME már most is rendelkezik számos előírásról az ilyen kockázatok lefedése céljából, ilyen például a 4.2.2.5., a 4.2.2.7., a 4.2.2.9. és a 4.2.5. pont.
A közelmúltban tagállami és európai szinten (a Bizottság Közös Kutatóközpontja) is indítottak vizsgálatokat az utasok terroristatámadás esetére történő védelme vonatkozásában.
Az Ügynökség ezeket a vizsgálatokat figyelemmel fogja kísérni, és eredményüket figyelembe fogja venni annak meghatározásakor, hogy szükséges-e a Bizottság számára további, az utasok baleset vagy terrortámadás esetén történő védelmére vonatkozó alapvető paramétereket vagy követelményeket javasolnia. Szükséges esetén ez az ÁME módosításra kerül.
Ezen ÁME felülvizsgálatáig a tagállamok ezen kockázataik kezelésére nemzeti szabályaikat használhatják. Ez semmi esetre nem akadályozhatja a tagállamok között közlekedő, az ÁME-nek megfelelő járművek számára a nemzeti hálózat használatát.
7.5.3. Az uniós vasúti rendszer vonatkozásában jelentős, de ezen ÁME alkalmazási körén kívül eső vonatkozások
7.5.3.1. A vágány kölcsönhatása (4.2.3. pont) - a nyomkarima vagy a sín kenése
Ezen ÁME készítésekor megállapítást nyert, hogy a nyomkarima vagy a sínek kenése nem alapvető paraméter (nincs kapcsolódás az irányelvben meghatározott alapvető követelményekhez).
Ennek ellenére úgy tűnik, hogy a vasúti ágazat szereplői (pályahálózat-működtetők, vasúttársaságok, nemzeti vasútbiztonsági hatóságok) támogatást igényelnek az Ügynökségtől a jelenlegi gyakorlatról egy olyan felfogásra való áttéréshez, amely biztosítja az átláthatóságot és megelőzi a járművek uniós hálózaton való mozgásának indokolatlan akadályait.
Ebből a célból az Ügynökség javasolta az európai pályahálózat-működtetővel együtt egy vizsgálat indítását azzal a céllal, hogy meghatározzák e funkció kulcsfontosságú műszaki és gazdasági vonatkozásait, figyelemmel a jelenlegi helyzetre is:
- egyes pályahálózat-működtetők kérik a kenést, mások pedig tiltják,
- a kenés történhet a pályahálózat-működtető által telepített rögzített berendezésekkel vagy a vasúttársaság által adott fedélzeti eszközökkel,
- a vágány teljes hosszán történő zsírozáskor a környezeti vonatkozásokat figyelembe kell venni.
Minden esetre tervek vannak a "nyomkarima vagy vágány kenése" szempont infrastruktúra-nyilvántartásba való felvételére, és az engedélyezett járműtípusok európai nyilvántartása is meg fogja említeni, hogy a járművet felszerelték-e fedélzeti nyomkarima-kenéssel. A fent említett vizsgálat fogja tisztázni az üzemeltetési szabályokat is.
Időközben a tagállamok továbbra is használhatják nemzeti szabályaikat a jármű-vágány kölcsönhatás e kérdésének rendezésére. Ezeket a szabályokat vagy a 2008/57/EK irányelv 17. cikke szerint kell bejelenteni a Bizottságnak vagy ugyanezen irányelv 35. cikke szerinti infrastruktúra-nyilvántartás útján kell hozzáférhetővé tenni.
A. MELLÉKLET - ÜTKÖZŐK ÉS CSAVAROS KAPCSOLÓRENDSZEREK
A.1. ÜTKÖZŐK
Amennyiben valamely egység végét ütközőkkel szerelték fel, azoknak párban kell lenniük (két oldalon szimmetrikusan elhelyezve) és azonos jellemzőkkel kell rendelkezniük.
Az ütközők középvonala magasságának a sín szintjétől számított 940 és 1 065 mm között kell lennie minden terhelési és kopási állapot esetén.
A legnagyobb terhelésig megrakott autószállítók és mozdonyok esetében megengedett a 940 mm-es legkisebb magasság.
Az ütközők középvonalai közötti szabványos távolság névlegesen 1 750 mm ± 10 mm, szimmetrikusan a jármű középvonalához képest. A szabványos és széles nyomtávú hálózatokon való üzemre szánt kettős nyomtávú egységek esetében megengedett az ütközők vonala közötti más távolság is (pl. 1 850 mm), feltéve, hogy biztosított a szabványos 1 435 mm-es nyomtávhoz szolgáló ütközőkkel való kompatibilitás.
Az ütközőket úgy kell méretezni, hogy ívekben és S-kanyarokban a járművek ütközőit ne lehessen reteszelni. Csatlakoztatott állapotban az ütközőfejek legkisebb vízszintes átfedésének 25 mm-nek kell lennie.
Értékelő vizsgálat:
Az ütközőméret meghatározását két, 190 m sugarú, köztes egyenes pont nélküli S-íven (vágány nyomtávja: 1,458 m) és egy legalább 6 m-es köztes egyenes szakaszt tartalmazó, 150 m sugarú S-íven (vágány nyomtávja: 1,470 m) haladó járművel kell végezni.
A.2. CSAVAROS KAPCSOLÓKÉSZÜLÉK
A járművek közötti szabvány csavaros vonókészülék nem folytonos, és a horogra állandóan rögzített csavarkapocsból, egy vonóhorogból és egy elasztikus rendszerű vonórúdból áll.
A vonóhorog középvonalának magassága a sín szintjétől számított 920 és 1 045 mm között van minden terhelési és kopási állapot esetén.
A legnagyobb terhelésig megrakott autószállítók és mozdonyok esetében megengedett a 920 mm-es legkisebb magasság. A jármű csavaros kapcsolókészülékének középvonalában az "üres jármű (tervezési tömeg menetkész állapotban) új kerekekkel" és a "terhelt jármű (átlagos hasznos teher) teljesen lekopott kerekkel" állapotok között mért legnagyobb magasságeltérés azonos jármű esetén a 85 mm-t nem haladhatja meg. Az értékelést számítással kell végezni.
Az összes jármű végén lennie kell egy tartószerkezetnek a használaton kívüli D-bilincs számára. A csavarkapocs egységének egyetlen eleme sem érhet a sínkorona felső élétől mért 140 mm távolságnál alacsonyabbra, amikor az ütközők a legalacsonyabb engedélyezett helyzetben vannak.
- A csavaros kapcsolókészülék, a vonóhorog és a vonókészülék méreteinek és jellemzőinek az EN 15566:2009 szabványnak kell megfelelniük.
- A csavaros kapcsolókészülék legnagyobb tömege nem haladhatja meg a 36 kg-ot, a csatlakozó horog csapszege nélkül (az 1. sz. tétel az EN 15566:2009 szabvány 4. és 5. ábráján).
A.3. A VONÓ- ÉS ÜTKÖZŐKÉSZÜLÉK KÖLCSÖNHATÁSA
- A vonókészülékek és ütközők statikus jellemzőit össze kell hangolni annak érdekében, hogy a vonat képes legyen az ÁME 4.2.3.6. pontjában meghatározott legkisebb ívek normál kapcsolási feltétele mellett (azaz záróütközők stb. nélkül) történő bevételére.
- A csavaros kapcsolókészülék és ütköző elrendezése:
- A vonóhorog nyílásának elülső széle és a nyugalmi állapotban levő ütközők elülső oldala közötti távolság 355 mm + 45/- 20 mm, új állapotban, az A1. ábráján bemutatott körülmények között.
Szerkezetek és mechanikus részek
Ütközők

I Teljesen kinyújtott ütköző
II A vonóhorog nyílása

I. Sínkorona
II. Lépcső
III. Teljesen összenyomott ütközők érintkezési síkja
B. MELLÉKLET - EMELÉSI PONTOK
Megjegyzés: A következő adatok vonatkozásában egy EN-szabvány előkészületben van.
B.1 FOGALOMMEGHATÁROZÁSOK
B.1.1. Visszahelyezés a sínre
A sínre való visszahelyezés a kisiklott jármű sínekre való visszahelyezés céljából történő megemeléséből és elfordításából áll. Ezt a műveletet a váratlan esemény helyszínén szakosodott mentőegységek mentőfelszereléssel végzik.
B.1.2. Vontatás
A vonal felszabadítása az ütközés, kisiklás vagy más váratlan esemény folytán mozgásképtelenné vált járműtől.
B.1.3. Emelési pontok
A járművön megadott azon helyek, ahova az emelőeszközöket csatlakoztatni kell, különösen a jármű mentőberendezéssel történő felemelésének lehetővé tételére.
Megjegyzés: megengedett az emelési pontok más célú (pl. műhelyben karbantartási stb. célra történő) használata is.
B.2. A KISIKLÁS HATÁSA A JÁRMŰ KONSTRUKCIÓJÁRA
Minden jármű tekintetében lehetségesnek kell lennie a sínre való, többféle eszközzel (pl. daruval vagy emelővel, harmonizált kapcsolódási pontokkal rendelkező mentő berendezéssel) történő biztonságos visszahelyezésnek
E célból megfelelő kocsiszekrény-kapcsolódási pontokat kell kialakítani, amelyek lehetővé teszik a függőleges vagy csaknem függőleges erőhatások kifejtését.
Emellett a jármű tervezésekor biztosítani kell a teljes, futóművel együtt történő felemelést (pl. a forgóvázak kocsiszekrényhez rögzítésével).
B.3. AZ EMELÉSI PONTOK HELYE A JÁRMŰSZEKRÉNYEN
A sínre való visszahelyezési műveletek céljaira rögzített vagy áthelyezhető emelési pontokat kell biztosítani.
- Minden egyes emelési pontnak és a körülötte levő szerkezetnek tartós alakváltozás nélkül el kell viselnie a jármű emelése közben fellépő erőket, a legközelebbi futómű járműszekrényhez való erősítése mellett.
- Megjegyzés: ajánlott az emelési pontok olyan megtervezése, hogy azokat a jármű alvázához rögzített összes futóművel együtt való felemeléshez is használni lehessen.
Hely:
- Az emelési pontoknak úgy kell elhelyezkedniük, hogy azok lehetővé tegyék a jármű biztos és biztonságos felemelését. Megfelelő helyet kell hagyni minden emelési pont mellett és alatt a mentőberendezések egyszerű felszerelhetősége érdekében (a megfelelő szabvány elkészültéig ez nyitott kérdés).
- Az emelési pontokat úgy kell kialakítani, hogy a személyzet normál üzemben vagy a mentőberendezés használatakor ne legyen indokolatlan kockázatnak kitéve. (A megfelelő szabvány elkészültéig ez nyitott kérdés);
Amennyiben a kocsiszekrény alsó szerkezete nem teszi lehetővé állandóan beépített emelési pontok biztosítását, a szerkezetet olyan szerelvényekkel kell felszerelni, amelyek lehetővé teszik a sínre való visszahelyezés közben a változtatható helyű emelési pontok rögzítését.
Az emelési pontok helyének részletes előírásai a vonatkozó szabvány elkészültéig nyitott kérdést alkotnak.
B.4. EMELÉSI PONTOK GEOMETRIÁJA
B.4.1. Állandóan beépített emelési pontok
- Nyitott kérdés
B.4.2. Eltávolítható emelési pontok
- Nyitott kérdés
B.5 A FUTÓMŰ RÖGZÍTÉSE AZ ALVÁZHOZ
A jármű sínre való visszahelyezésének elősegítése céljából biztosítani kell a felfüggesztési út korlátozását (pl. láncok, pántok vagy más mozgó emelő csigasor stb. révén.)
A részletes műszaki követelményekre vonatkozó előírások nyitott kérdést alkotnak.
B.6. A MENTÉSI EMELÉSI PONTOK JELÖLÉSE
Minden rögzített vagy mobil emelési pontot a következő ábrák egyikével kell jelölni:
B.6.1. Az egész jármű (futóművel vagy anélkül történő) felemelésére szolgáló pontok jelölése:

B.6.2. A jármű szomszédos végének futóművel együtt történő felemelésére szolgáló pontok jelölése:

B.6.3. A jármű szomszédos végének futómű nélkül történő felemelésére szolgáló pontok jelölése:

B.7. EMELÉSI UTASÍTÁSOK
Minden járműtípus tekintetében emelési ábrát kell mellékelni az ÁME 4.2.12. pontjában ismertetett műszaki dokumentációban.
Az ébrén legalább a következőket kell feltüntetni:
- a jármű oldalnézete, feltüntetve azon az emelési pontok helyét, megadva a tömeget mindegyik pont vonatkozásában,
- minden emelési pont oldalirányú metszete a pontos méretekkel,
- az egyes pontokon használandó emelők vagy emelőberendezések leírása,
- a mentőcsapatnak szóló, a sínre való visszahelyezés biztonságos elvégzését szolgáló utasítások.
Az utasításokat lehetőség szerint piktogramokkal kell megadni.
C. MELLÉKLET
KÜLÖN RENDELKEZÉSEK A VASÚTI INFRASTRUKTÚRA ÉPÍTÉSÉT ÉS KARBANTARTÁSÁT SZOLGÁLÓ MOBIL BERENDEZÉSEK TEKINTETÉBEN
C.1. A JÁRMŰ SZERKEZETÉNEK SZILÁRDSÁGA
Az ezen ÁME 4.2.2.4. pontjában előírt követelmények a következőkkel egészülnek ki:
A gép vázának az ott megadott megengedett értékek túllépése nélkül el kell viselnie az EN 12663-1:2010 szabvány 6.1-6.5. pontjában vagy az EN 12663-2:2010 szabvány 5.2.1-5.2.4. pontjában meghatározott statikus erőket.
Az EN 12663-2 szabvány megfelelő strukturális kategóriája:
- az olyan gépek esetében, amelyeknek szalasztásos vagy gurítódombos tolatása nem megengedett: F-II,
- az összes többi gép esetében: F-I.
Az EN 12663-1:2010 szabvány 13. táblázata vagy az EN 12663-2:2010 szabvány 10. táblázata szerint az x irányban történő gyorsulás 3 g.
C.2. EMELÉS
A gép felépítményén emelési pontok találhatók, amelyeknél fogva az egész gép biztonságosan felemelhető. Meg kell határozni az emelési pontok helyét.
A javítás vagy karbantartás, illetve a vágányra helyezés során a munka elősegítésére a gépeket mindkét hosszanti oldalukon legalább 2 emelési ponttal kell ellátni, amelyeknél fogva a gép üres vagy terhelt állapotban felemelhető. Ezeket a pontokat meg kell adni, a jelen ÁME B. mellékletében ismertetett módon.
Ezeket az emelési pontokat lehetőség szerint az egyes kerékpárok közepétől 1 400 mm-re kell elhelyezni.
Az emelőeszközök illesztésének lehetővé tételére az emelési pontok alatt szabad helyet kell hagyni, amelyet el nem távolítható alkatrészek nem blokkolhatnak. A terhelési állapotoknak meg kell felelniük az ÁME C.1. mellékletében választott állapotoknak és azok a szerelőműhelyi és szervizelési körülmények közötti emelésre is vonatkoznak.
C.3. MENETDINAMIKAI VISELKEDÉS
A menetjellemzők meghatározása megengedett üzemi tesztekkel vagy egy hasonló jóváhagyott típusú gépre az ÁME 4.2.3.4.2. pontjában részletezettek szerinti hivatkozással vagy szimulációval.
Az EN 14363:2005 szabványt a következő eltérésekkel kell alkalmazni:
- A vizsgálatot mindig az ilyen típusú gépekre előírt egyszerűsített módszerrel kell végezni.
- Az EN 14363:2005 szabvány szerinti üzemi tesztek új állapot kerékprofillal történő végzésekor ez legfeljebb 50 000 km távolságra érvényes. 50 000 km felett a következők szükségesek:
-
- a kerekek újraesztergálása, vagy
- a kopott profil egyenértékű kúposságának kiszámítása és annak ellenőrzése, hogy ez nem tér el 50 %-ot meghaladóan az EN 14363:2005 szabvány szerinti teszt eredményétől (legfeljebb 0,05 legnagyobb különbség mellett),
- új tesztet kell végezni az EN 14363:2005 szabvány szerint, kopott kerékprofillal,
- általában nincsen szükség álló helyzetben végzett vizsgálatokra a jellemző futómű paramétereinek az EN 14363:2005 szabvány 5.4.3.2. pontja szerinti meghatározására;
- ha a szükséges vizsgálati sebesség elérésére maga a gép nem képes, a gépet a vizsgálathoz vontatni kell.
- a 3. övezet tesztelésének (az EN 14363:2005 szabvány 9. táblázatában leírtak szerint) használatakor elegendő legalább 25 megfelelő vágányszakasz.
A menetviselkedés igazolható az EN 14363:2005 szabványban leírt teszt szimulálásával (a fentiekben meghatározott kivétellel), amennyiben létezik a reprezentatív vágány és a gép működési feltételei tekintetében validált modell.
A menetjellemzők szimulációjához a gépmodellt a modell eredményeinek az ugyanolyan vágányjellemzők mellett végzett üzemi vizsgálatok eredményeinek összehasonlításával kell validálni.
A validált modell egy olyan szimulációs modell, amelyet egy olyan tényleges üzemi teszttel ellenőriztek, amely a felfüggesztést megfelelően gerjeszti, és amelynél szoros korreláció mutatkozik a üzemi teszt eredménye és ugyanazon tesztvágányon a szimulációs modellre vonatkozó előrejelzések között.
D. MELLÉKLET - ENERGIAFOGYASZTÁS-MÉRŐ
1. Bevezetés
1.1. A villamos fogyasztásmérő készülék járművekre felszerelt része olyan rendszer, amely a vontató egység által a felsővezetékből felvett vagy abba (visszatápláló fékezés során) visszavezetett, a külső elektromos vontatási rendszerből származó villamos energia mérésére szolgál.
A rendszer funkciói a következők:
1.1. 1 Villamos fogyasztásmérési funkció (EMF), beleértve a feszültség- és áramerősség mérését és az energiaadatok kiszámítását;
1.1. 2 Adatkezelő rendszer (Adatkezelési rendszer), amely a villamos fogyasztásmérési funkcióból származó adatokat az időadatokkal és földrajzi helyre vonatkozó adatokkal egyesíti, valós energiaértékeket tartalmazó teljes adatsorokat előállítva és tárolva (kWh/k-ban és Varh-ban), amelyek készen állnak a kommunikációs rendszernek történő továbbküldésre;
1.1. 3 Fedélzeti helyzetmeghatározó funkció, amely megadja az egység földrajzi helyzetét
A fent említett funkcionális elemeket elláthatják külön készülékek, de ezek lehetnek egy készülékben vagy más funkciókat is integráló készülékben.
1. ábra
Az villamos fogyasztásmérő készülék funkcionális ábrája

2. Követelmények a villamos fogyasztásmérő készülék járművekre felszerelt része tekintetében
2. 1 Energiafogyasztás-mérési funkció
2.1.1. A fedélzeti villamos fogyasztásmérő készüléknek rendelkeznie kell villamos fogyasztásmérési funkcióval, amely tartalmazza e D. melléklet 1.1.1. pontjában ismertetett alkotóelemeket.
2.1.2. A villamos fogyasztásmérési funkciónak kell mérnie az összes olyan villamos vontató rendszer által szolgáltatott energiát, amelyre a vontató egységet tervezték.
2.1.3. A villamos fogyasztásmérési funkciót olyan módon kell csatlakoztatni, hogy a felsővezetékből a vonatnak átadott és visszatáplált összes (vontatási és kiegészítő) energiát rögzítse. Váltakozó áramú villamos fogyasztásmérő készülékek esetében a visszatáplált energiát is rögzíteni kell.
2.1.4. A villamos fogyasztásmérési funkciónak váltakozó áramú rendszerek esetében az aktív energia tekintetében legalább 1,5 % -os, egyenáramú rendszerek esetében pedig 2 %-os (vagy alacsonyabb hibaszázalékos) pontossággal kell rendelkezniük.
A pontosságot a következő képlet szerint kell meghatározni:

Ahol:
εΕΜF = a villamos fogyasztásmérési funkció teljes pontossága;
εVMF = a feszültségmérési funkció legnagyobb hibaszázaléka;
εCMF = az áramerősség-mérési funkció legnagyobb hibaszázaléka;
εΕCF = a villamos fogyasztásmérési funkció legnagyobb hibaszázaléka.
2.1.4.1. Az egyes funkciók fent említett legnagyobb hibaszázalékainak a következő referenciafeltételek mellett kell teljesülniük:
- az Umin1 és Umax2 közötti minden feszültség, az EN 50163:2004 szabvány 4.1. pontjának 1. táblázatában meghatározott Umin1 és Umax2 értékekkel,
- a villamos fogyasztásmérési funkció elsődleges névleges áramerőssége 10 %-a és 120 %-a közötti bármely áramerősség,
- a hagyományos vasút energiaellátására vonatkozó ÁME 4.2.3. pontjában megengedett vontatási áramellátó rendszerek frekvenciájára vonatkozó ± 0,3 %-os frekvencia,
- 0,85 és 1 közötti teljesítménytényező,
- 23 °C ± 2 °C környezeti hőmérséklet.
2.1.4.2. A villamos fogyasztásmérő készülék névleges áramerősségének és feszültségének meg kell felelnie a vontató egység névleges áramerősségének és feszültségének.
2.1.5. Az villamos fogyasztásmérési funkció végrehajtására használt alkatrészeken jogszabályban előírt metrológiai ellenőrzést kell elvégezni a következők szerint:
2.1.5.1. Minden alkotóelem pontosságát e D. melléklet 2.1.4.1. pontja szerinti referencia-körülmények között kell bevizsgálni annak ellenőrzésére, hogy azok a megadott hibamaximumon belüliek.
2.1.5.2. Az e D. melléklet 2.1.5.1. pontjának megfelelő minden alkotóelemet jelöléssel kell ellátni a metrológiai ellenőrzés a megadott maximális hibaarány jelzésére.
2.1.5.3. Az egyes alkotóelemek konfigurációját a metrológiai ellenőrzés részeként dokumentálni kell.
2.1.6. Az villamos fogyasztásmérési funkciónak UTC-időben meghatározott 5 perces időreferencia-időszakkal kell rendelkeznie minden referencia-időszak végén; egy időreferencia időszaknak 24:00:00-kor kell lejárnia.
Megengedett rövidebb időreferencia használata, ha az adatok 5 perces referencia-időszakra összesíthetőek.
2.1.7. A villamos fogyasztásmérési funkciót védeni kell a rendszerhez és adataihoz való illetéktelen hozzáféréstől.
2.2. Adatkezelési rendszer
2.1.1. A villamos fogyasztásmérő készüléknek rendelkeznie kell adatkezelési rendszerrel, amely tartalmazza e D. melléklet 1.1.2. pontjában ismertetett funkciókat.
2.2.2. Az adatkezelési rendszernek az adatok megváltoztatása nélkül kell a mért energiafogyasztási adatokat más adatokkal összeállítania.
2.2.3. Az adatkezelési rendszer időreferenciaként ugyanazt az órát használja, mint a villamos fogyasztásmérési funkció.
2.2.4. Az adatkezelési rendszer az adattárolást (a használt időreferenciától függetlenül) legalább az utolsó 60 nap folyamatos működés alatt az elfogyasztott/visszatáplált aktív és adott esetben reaktív energia adatainak az időreferenciával és helyzeti adatokkal együttes tárolásához szükséges memóriakapacitással kombinálja.
2.2.5. Az adatkezelési rendszernek biztosítania kell a fedélzeten arra felhatalmazott személy általi, megfelelő eszközzel (pl. hordozható számítógéppel) történő lekérdezhetőséget, az ellenőrzési lehetőség és alternatív adatkinyerési módszer biztosítására.
2.2.6. A villamosenergia-számlázáshoz alkalmas összeállított adatokat az e D. melléklet 2.1.6. pontja szerinti egyes 5 perces időreferencia időszakok vége szerinti időrendi sorrendben történő továbbításra készen kell tárolni, és a következőket kell tartalmaznia:
2.2.6.1. egyedi egységazonosító szám, beleértve az európai járműszámot;
2.2.6.2. az egyes letelt energiafogyasztás-mérési időszakok befejeződési időpontja, év-hó-nap-óra-perc-másodperc bontásban;
2.2.6.3. a D. melléklet 2.3.3. pontjában meghatározott helyzetadatok minden egyes mérési időszak végén;
2.2.6.4. az elfogyasztott/visszatáplált aktív (és adott esetben reaktív) energia mindegyik időszakaszban.
2.3. Helyzetmeghatározási funkció
2.3.1. A helyzetmeghatározási funkciót e D. melléklet 1.1.3. pontja ismerteti.
2.3.2. A helyzetmeghatározási funkcióból származó adatokat a UTC szerinti időnek és időszaknak megfelelően szinkronizálni kell a fedélzeti villamos fogyasztásmérési funkcióval.
2.3.3. A helyzetmeghatározási funkciónak a helyzetet földrajzi szélességben és hosszúságban kifejezve kell megadni.
2.3.4. A helyzetmeghatározási funkciónak nyílt pályán legalább 250 m-es pontosságúnak kell lennie.
2.4. Egyéb követelmények
2.4.1. Megengedett az adatkezelési rendszer adatainak más, a vonat hatékony működésével kapcsolatos célra (pl. a mozdonyvezetőnek történő visszajelzésre) történő felhasználása, feltéve, hogy igazolható az, hogy ez a művelet az e D. melléklet 2.2.6. pontjában felsorolásra került, azt rögzítették, és a továbbított adatok integritását nem sérti.
2.4.2. Az e D. melléklet 2.2.6. pontjában felsorolt adatokat akkor is meg kell tartani, ha az energiafogyasztás-mérő rendszert az áramellátásáról leválasztják.
2.5. A villamos fogyasztásmérő készülék járművekre felszerelt összes részének megfelelőségértékelése
2.5.1. A villamos fogyasztásmérő készülék járművekre felszerelt összes részének (villamos fogyasztásmérő) megfelelőségét a villamos fogyasztásmérő alkotóelemeinek tervfelülvizsgálatával és típustesztjével kell értékelni, ideértve a villamos fogyasztásmérési funkció végrehajtásához szükséges alkotóelemek metrológiai ellenőrzésének bizonyítékát is. A villamos fogyasztásmérő konfigurációját a metrológiai ellenőrzés részeként dokumentálni kell.
2.5.2. A villamos fogyasztásmérési funkció megadott, a D. melléklet 2.1.5.1. pontja szerint ellenőrzött legnagyobb hibahatárát be kell illeszteni a D. melléklet 2.1.4. pontjában szereplő képletbe, annak ellenőrzésére, hogy a teljes pontosság a megadott határértéken belül van.
E. MELLÉKLET - A MOZDONYVEZETŐ TESTMÉRETEI
Az alábbi adatok a tudomány általánosan elismert jelenlegi állását képviselik és ezeket kell használni.
Megjegyzés: ezek vonatkozásában egy EN -szabvány előkészületben van.
1. A legalacsonyabb és a legmagasabb vonatvezetők alapvető testméretei
Az UIC 651(4.,kiadás, 2002. július) szabvány E. függelékében megadott méreteket kell figyelembe venni.
2. A legalacsonyabb és a legmagasabb vonatvezetők további testméretei
Az UIC 651(4.,kiadás, 2002. július) szabvány G. függelékében megadott méreteket kell figyelembe venni.
F. MELLÉKLET - KILÁTÁS ELŐRE
Az alábbi adatok a tudomány általánosan elismert jelenlegi állását képviselik és ezeket kell használni.
Megjegyzés: ezek vonatkozásában egy EN -szabvány előkészületben van.
F.1. Általános előírások
- A vezetőállás kialakításának segítenie kell a vezető összes olyan külső információra való kilátását, amelyek a vezetési feladatok részét képezik, valamint védenie kell a vezetőt a vizuális zavarás külső forrásaitól. Ez a következőket foglalja magában:
-
- mérsékelni kell a szélvédő alsó szélén a villódzást, ami kimerültséget okozhat,
- a nap és a szembejövő vonat fényszórójának vakítása ellen védelmet kell biztosítani, a mozdonyvezető kilátását nem csak a külső jelekre, jelzésekre és más látható információra korlátozva,
- a vezetőállás berendezéseinek elhelyezkedése nem foghatja el és nem torzíthatja a külső információk vezető általi láthatóságát,
- az ablakok méretei, elhelyezkedése és burkolata (a karbantartást is beleértve) nem akadályozhatják a mozdonyvezető kilátását és támogatnia kell a vezetési funkciókat,
- a szélvédőmosó és -tisztító eszközök helyzetének, típusának és minőségének biztosítania kell, hogy a mozdonyvezető tiszta kilátást tarthasson fenn a legtöbb időjárási és üzemi feltétel mellett és ne akadályozzák a vezető kilátását,
- a vezetőállást úgy kell kialakítani, hogy a mozdonyvezető vezetéskor menetirányban üljön,
- a vezetőállást úgy kell kialakítani, hogy a vezető ülő helyzetéből tisztán és akadálymentesen láthasson ki az egyenes vágány és a legalább 300 m sugarú ívű pálya mindkét oldalán elhelyezett rögzített jelzések UIC 651(4.,kiadás, 2002. július) szabvány D. függelékében meghatározottak szerint történő észleléséhez.
Megjegyzés: a D. mellékletben említett üléshelyzetet példának kell tekinteni; az ÁME nem határozza meg a vezetőülés vezetőállásán belüli helyét (bal oldalon, középen vagy jobb oldalon).
A fenti mellékletben ismertetett szabályok egyenes vágányon és legalább 300 m sugarú íven minden irányba történő kilátásra vonatkoznak. Ezek a vezető helyzetére vonatkoznak.
Megjegyzés: a 2 vezetőüléssel felszerelt vezetőállások esetében ezek a két ülő helyzetre vonatkoznak.
F.2. A jármű vágányhoz viszonyított referenciahelyzete
Az UIC 651 (4.,kiadás, 2002. július) szabvány 3.2.1. pontját kell figyelembe venni.
A tartozékokat és hasznos terhet az EN 15663:2009 szabványban és ezen ÁME 4.2.2.10. pontjában meghatározottak szerint kell figyelembe venni.
F.3. Referenciahelyzet a kísérőszemélyzet kilátásához
Az UIC 651 (4.,kiadás, 2002. július) szabvány 3.2.2. pontját kell figyelembe venni.
Ülő helyzetben a vezető szeme és a szélvédő közötti távolságnak legalább 500 mm-nek kell lennie.
F.4. Kilátási feltételek
Az UIC 651 (4.,kiadás, 2002. július) szabvány 3.3. pontját kell figyelembe venni.
G. MELLÉKLET
fenntartva
H. MELLÉKLET - A JÁRMŰALRENDSZER ÉRTÉKELÉSE
H.1. Alkalmazási kör
Ez a melléklet a járműalrendszer megfelelőségének értékelését írja le.
H.2. Jellemzők és modulok
Az alrendszereknek a tervezés, a fejlesztés és a gyártás különböző fázisaiban vizsgálandó jellemzői a H.1. táblázatban "X"-szel vannak jelölve. A H1. táblázat 4. oszlopában szereplő "X" jelzés azt mutatja, hogy a vonatkozó jellemzőket az alrendszerek egyenkénti vizsgálatával kell hitelesíteni.
H.1. táblázat
A járműalrendszer értékelése
1 | 2 | 3 | 4 | 5 | |
Értékelendő paraméterek az ÁME 4.2. pontjában meghatározottak szerint | Tervezési és fejlesztési fázis | Gyártási fázis | Sajátos értékelési eljárás | ||
Terv felülvizsgálata | Típusvizsgálat | Rutinvizsgálat | |||
A járműalrendszer eleme | Pont | Pont | |||
Szerkezetek és mechanikus részek | 4.2.2 | ||||
Belső kapcsolókészülék | 4.2.2.2.2 | X | n.a. | n.a. | — |
Végkapcsoló-készülék | 4.2.2.2.3 | X | n.a. | n.a. | — |
Mentésre szolgáló kocsikapcsoló berendezés | 4.2.2.2.4 | X | X | n.a. | — |
A személyzet hozzáférése az összekapcsoláshoz/szétkapcsoláshoz | 4.2.2.2.5 | X | X | n.a. | — |
Átjárók | 4.2.2.3 | X | X | n.a. | — |
A jármű szerkezetének szilárdsága | 4.2.2.4 | X | X | n.a. | — |
Passzív biztonság | 4.2.2.5 | X | X | n.a. | — |
Emelés | 4.2.2.6 | X | X | n.a. | — |
Készülékek rögzítése a kocsiszekrény szerkezetére | 4.2.2.7 | X | n.a. | n.a. | — |
Megközelítési ajtó | 4.2.2.8 | X | X | n.a. | — |
Üvegek műszaki jellemzői | 4.2.2.9 | X | n.a. | n.a. | — |
Terhelési állapot és terhelt tömeg | 4.2.2.10 | X | X | X | 6.2.2.2.1 |
A jármű és a vágány kölcsönhatása és annak méretezése | 4.2.3 | ||||
Kinematikus szerkesztési szelvény | 4.2.3.1 | X | n.a. | n.a. | 6.2.2.2.2 |
Kerékterhelés | 4.2.3.2.2 | X | X | n.a. | 6.2.2.2.3 |
A járművek ellenőrző-irányító-jelző alrendszert befolyásoló paraméterei | 4.2.3.3.1 | X | X | X | — |
A tengelycsapágy állapotának figyelemmel kísérése | 4.2.3.3.2 | X | X | n.a. | — |
Féloldali vágánysüppedésen való kisiklással szembeni biztonság | 4.2.3.4.1 | X | X | n.a. | — |
Dinamikus menetviselkedés | 4.2.3.4.2 | X | X | n.a. | — |
A menetbiztonság határértékei | 4.2.3.4.2.1 | X | X | n.a. | — |
Vágányterhelési határértékek | 4.2.3.4.2.2 | X | X | n.a. | — |
Egyenértékű kúposság | 4.2.3.4.3 | X | n.a. | n.a. | — |
Új kerékprofilok tervezési értékei | 4.2.3.4.3.1 | X | n.a. | n.a. | — |
A kerékpár egyenértékű kúposságának üzem közbeni értékei | 4.2.3.4.3.2 | nyitott kérdés | nyitott kérdés | nyitott kérdés | nyitott kérdés |
A forgóváz strukturális kialakítása | 4.2.3.5.1 | X | X | n.a. | — |
A kerékpár mechanikai és geometriai jellemzői | 4.2.3.5.2.1 | X | X | X | — |
A kerekek mechanikai és geometriai jellemzői | 4.2.3.5.2.2 | X | X | X | — |
Változtatható nyomtávú kerékpár | 4.2.3.5.2.3 | nyitott kérdés | nyitott kérdés | nyitott kérdés | nyitott kérdés |
Legkisebb ívsugár | 4.2.3.6 | X | n.a. | n.a. | — |
Életvédelmi eszközök | 4.2.3.7 | X | n.a. | n.a. | — |
Fékezés | 4.2.4 | ||||
Funkcionális követelmények | 4.2.4.2.1 | X | X | n.a. | — |
Biztonsági követelmények | 4.2.4.2.2 | X | n.a. | n.a. | 6.2.2.2.4 |
Fékrendszerek típusa | 4.2.4.3 | X | X | n.a. | — |
Fékvezérlés | 4.2.4.4 | ||||
Vészfékezés | 4.2.4.4.1 | X | X | X | — |
Üzemi fékezés | 4.2.4.4.2 | X | X | X | — |
Közvetlen fékezés vezérlése | 4.2.4.4.3 | X | X | X | — |
Dinamikus fékezés vezérlése | 4.2.4.4.4 | X | X | n.a. | — |
Rögzítő fékezés vezérlése | 4.2.4.4.5 | X | X | X | — |
Fékhatásosság | 4.2.4.5 | ||||
Általános előírások | 4.2.4.5.1 | X | n.a. | n.a. | — |
Vészfékezés | 4.2.4.5.2 | X | X | X | 6.2.2.2.5 |
Üzemi fékezés | 4.2.4.5.3 | X | X | X | 6.2.2.2.6 |
Hőkapacitással kapcsolatos számítások | 4.2.4.5.4 | X | n.a. | n.a. | — |
Rögzítőfék | 4.2.4.5.5 | X | n.a. | n.a. | — |
A kerék és a sín közötti tapadás profiljának határértéke | 4.2.4.6.1 | X | n.a. | n.a. | — |
Csúszásgátló rendszer | 4.2.4.6.2 | X | X | n.a. | 6.2.2.2.7 |
Csúszásgátló rendszer (IC) | 5.3.3 | X | X | X | 6.1.2.2.1 |
Kapcsolódási pont a vontatással – vontatórendszerhez kapcsolt fékrendszerek (elektromos, hidrodinamikus) | 4.2.4.7 | X | X | n.a. | — |
A tapadási feltételektől független fékrendszerek | 4.2.4.8 | ||||
Általános előírások | 4.2.4.8.1. | X | n.a. | n.a. | — |
Mágneses sínfék | 4.2.4.8.2. | X | X | n.a. | — |
Örvényáramú fékek | 4.2.4.8.3 | nyitott kérdés | nyitott kérdés | nyitott kérdés | nyitott kérdés |
Fékállapot- és hibajelzés | 4.2.4.9 | X | X | n.a. | — |
Mentési célú fékkövetelmények | 4.2.4.10 | X | X | n.a. | — |
Személyszállítási elemek | 4.2.5 | ||||
Egészségügyi rendszerek | 4.2.5.1 | X | n.a. | n.a. | 6.2.2.2.8 |
Hangosbemondó rendszer: hallható kommunikációs rendszer | 4.2.5.2 | X | X | X | — |
Az utasok által működtetett riasztó: funkcionális követelmények | 4.2.5.3 | X | X | X | — |
Az utasoknak szóló biztonsági utasítások – jelek | 4.2.5.4 | X | n.a. | n.a. | — |
Utasok által használható kommunikációs eszközök | 4.2.5.5 | X | X | X | — |
Külső ajtók: a jármű elérése és kijárat a járműből | 4.2.5.6 | X | X | X | — |
Az ajtórendszer kialakítása | 4.2.5.7 | X | n.a. | n.a. | — |
Egységeket összekötő ajtók | 4.2.5.8 | X | X | n.a. | — |
A belső levegő minősége | 4.2.5.9 | X | n.a. | n.a. | 6.2.2.2.9 |
A kocsiszekrény oldalablakai | 4.2.5.10 | X | — | ||
Környezeti feltételek és aerodinamikai hatások | 4.2.6 | ||||
Környezeti feltételek | 4.2.6.1 | ||||
Magasság | 4.2.6.1.1 | X | n.a. | n.a. | — |
Hőmérséklet | 4.2.6.1.2 | X | n.a./X (1) | n.a. | — |
Páratartalom | 4.2.6.1.3 | X | n.a. | n.a. | — |
Eső | 4.2.6.1.4 | X | n.a. | n.a. | — |
Hó, jég és jégeső | 4.2.6.1.5 | X | n.a./X (1) | n.a. | — |
Napsugárzás | 4.2.6.1.6 | X | n.a. | n.a. | — |
Szennyezésnek való ellenállás | 4.2.6.1.7 | X | n.a. | n.a. | — |
Aerodinamikai hatások | 4.2.6.2 | ||||
Az elhaladó vonatok miatt a peronon tartózkodó utasokat érő légörvényhatás | 4.2.6.2.1 | X | X | n.a. | 6.2.2.2.10 |
Az elhaladó vonatok miatt a vágány mentén dolgozókat érő légörvényhatás | 4.2.6.2.2 | X | X | n.a. | 6.2.2.2.11 |
Légnyomásimpulzus | 4.2.6.2.3 | X | X | n.a. | 6.2.2.2.12 |
Maximális nyomásingadozás alagutakban | 4.2.6.2.4 | nyitott kérdés | nyitott kérdés | nyitott kérdés | nyitott kérdés |
Oldalszél | 4.2.6.2.5 | nyitott kérdés | nyitott kérdés | nyitott kérdés | nyitott kérdés |
Külső világítás és figyelmeztető hang- és fényjelző eszközök | 4.2.7 | ||||
Külső elülső és hátsó lámpák | 4.2.7.1 | ||||
Fényszórók | 4.2.7.1.1 | X | X | n.a. | 6.1.2.2.2 |
Helyzetjelző lámpák | 4.2.7.1.2 | X | X | n.a. | 6.1.2.2.3 |
Zárjelző lámpák | 4.2.7.1.3 | X | X | n.a. | 6.1.2.2.4 |
Lámpák működtető szerelvényei | 4.2.7.1.4 | X | X | n.a. | — |
Kürt | 4.2.7.2 | ||||
Általános előírások | 4.2.7.2.1 | X | X | n.a. | — |
A figyelmeztető kürt hangnyomás szintjei | 4.2.7.2.2 | X | X | n.a. | 6.1.2.2.5 |
Védelem | 4.2.7.2.3 | X | n.a. | n.a. | — |
Ellenőrzés | 4.2.7.2.4 | X | X | n.a. | — |
Vontatási és elektromos berendezések | 4.2.8 | ||||
Vontatási teljesítmény | 4.2.8.1 | ||||
Általános előírások | 4.2.8.1.1 | ||||
Teljesítménykövetelmények | 4.2.8.1.2 | X | n.a. | n.a. | — |
Energiaellátás | 4.2.8.2 | ||||
Általános előírások | 4.2.8.2.1 | X | n.a. | n.a. | — |
Feszültség- és frekvenciatartományban való működés | 4.2.8.2.2 | X | X | n.a. | — |
Visszatápláló fék a felsővezetékbe történő energia-visszatáplálással | 4.2.8.2.3 | X | X | n.a. | — |
A felsővezetékről felvehető megengedett legnagyobb teljesítmény és áramerősség | 4.2.8.2.4 | X | X | n.a. | 6.2.2.2.13 |
Legnagyobb áramerősség a villamos vontatójármű álló helyzetében egyenáramú rendszerek esetében | 4.2.8.2.5 | X | X | n.a. | — |
Teljesítménytényező | 4.2.8.2.6 | X | X | n.a. | 6.2.2.2.14. |
Zavarok a rendszer energiaellátásában | 4.2.8.2.7 | X | X | n.a. | — |
Villamos fogyasztásmérő funkció | 4.2.8.2.8 | X | X | n.a. | — |
Az áramszedővel kapcsolatos követelmények | 4.2.8.2.9 | X | X | n.a. | 6.2.2.2.15 és 16 |
Áramszedő (IC) | 5.3.8 | X | X | X | 6.1.2.2.6 |
Csúszóbetétek (IC) | 5.3.8.1 | X | X | X | 6.1.2.2.7 |
A vonat elektromos védelme | 4.2.8.2.10 | X | X | n.a. | — |
Dízel- és más termikus vontatási rendszerek | 4.2.8.3 | — | — | — | Másik irányelv |
Áramforrásból fakadó elektromos veszélyekkel szembeni védelem | 4.2.8.4 | X | X | n.a. | — |
Vezetőállás és üzemeltetés | 4.2.9 | ||||
Vezetőállás | 4.2.9.1 | X | n.a. | n.a. | — |
Általános előírások | 4.2.9.1.1 | X | n.a. | n.a. | — |
Be- és kiszállás | 4.2.9.1.2 | X | n.a. | n.a. | — |
Fel- és leszállás üzemi körülmények között | 4.2.9.1.2.1 | X | n.a. | n.a. | — |
A vezetőállás vészkijárata | 4.2.9.1.2.2 | X | n.a. | n.a. | — |
Kilátás | 4.2.9.1.3 | X | n.a. | n.a. | — |
Kilátás előre | 4.2.9.1.3.1 | X | n.a. | n.a. | — |
Kilátás hátra és oldalra | 4.2.9.1.3.2 | X | n.a. | n.a. | — |
Belső elrendezés | 4.2.9.1.4 | X | n.a. | n.a. | — |
Vezetőülés | 4.2.9.1.5 | X | n.a. | n.a. | — |
Vezetőállás – ergonómiai kialakítás | 4.2.9.1.6 | X | n.a. | n.a. | — |
Hőmérséklet szabályozása és levegőminőség | 4.2.9.1.7 | X | X | n.a. | 6.2.2.2.9 |
Belső világítás | 4.2.9.1.8 | X | X | n.a. | — |
Szélvédő – mechanikai jellemzők | 4.2.9.2.1 | X | X | n.a. | 6.2.2.2.17 |
Szélvédő – fénytani jellemzők | 4.2.9.2.2 | X | X | n.a. | 6.2.2.2.17 |
Előfeldolgozó berendezés | 4.2.9.2.3 | X | X | n.a. | — |
Vezető–gép kapcsolódási pont | 4.2.9.3 | ||||
A vezető aktivitásának ellenőrzését szolgáló funkció | 4.2.9.3.1 | X | X | X | — |
Sebesség kijelzése | 4.2.9.3.2 | — | — | — | — |
A vezető kijelzője és képernyői | 4.2.9.3.3 | X | X | n.a. | — |
Kezelőszervek és jelzőműszerek | 4.2.9.3.4 | X | X | n.a. | — |
Feliratozás | 4.2.9.3.5 | X | n.a. | n.a. | — |
Távirányítás | 4.2.9.3.6 | X | X | n.a. | — |
Fedélzeti eszközök és hordozható berendezések | 4.2.9.4 | X | n.a. | n.a. | — |
Tárolási lehetőségek a személyzet számára | 4.2.9.5 | X | n.a. | n.a. | — |
Rögzítőberendezés | 4.2.9.6 | nyitott kérdés | nyitott kérdés | nyitott kérdés | nyitott kérdés |
Tűzbiztonság és evakuálás | 4.2.10 | ||||
Általános előírások és besorolás | 4.2.10.1 | X | n.a. | n.a. | — |
Az anyagokra vonatkozó követelmények | 4.2.10.2 | X | X | n.a. | — |
A gyúlékony folyadékokkal kapcsolatos különleges intézkedések | 4.2.10.3 | X | X | n.a. | — |
Az utasok evakuálása | 4.2.10.4 | X | n.a. | n.a. | — |
Tűzvédelmi gátak | 4.2.10.5 | X | X | n.a. | 6.2.2.2.18 |
Szervizelés | 4.2.11 | ||||
Vezetőállás szélvédőjének tisztítása | 4.2.11.2 | X | X | n.a. | — |
Illemhelyürítő rendszer | 4.2.11.3 | X | n.a. | n.a. | — |
Vízfeltöltő berendezés | 4.2.11.4 | X | n.a. | n.a. | — |
Kapcsolódási pont vízfeltöltéshez | 4.2.11.5 | X | n.a. | n.a. | — |
A vonatok tárolásának külön követelményei | 4.2.11.6 | X | X | n.a. | — |
Üzemanyagtöltő berendezés | 4.2.11.7 | X | n.a. | n.a. | — |
Üzemeltetési és karbantartási dokumentáció | 4.2.12 | ||||
Általános előírások | 4.2.12.1 | X | n.a. | n.a. | — |
Általános dokumentáció | 4.2.12.2 | X | n.a. | n.a. | — |
Karbantartási dokumentáció | 4.2.12.3 | X | n.a. | n.a. | — |
A karbantartás tervezését igazoló dokumentáció | 4.2.12.3.1 | X | n.a. | n.a. | — |
A karbantartási dokumentáció | 4.2.12.3.2 | X | n.a. | n.a. | — |
Üzemi dokumentáció | 4.2.12.4 | X | n.a. | n.a. | — |
(1) Típusvizsgálat a kérelmező meghatározása szerint. |
I. MELLÉKLET
AZOK A VONATKOZÁSOK, AMELYEKRE MŰSZAKI ELŐÍRÁS NEM ÁLL RENDELKEZÉSRE (NYITOTT KÉRDÉSEK)
A teljes hálózatot érintő, általános nyitott kérdések
A járműalrendszer eleme | Ezen ÁME pontja | Az ÁME hatálya alá nem tartozó műszaki vonatkozások | Megjegyzések |
A hagyományos vasúti járművekre a nagy sebességű hálózaton való biztonságos üzemhez szükséges követelmények | 1.2 | Minden követelmény | Az érintett hálózattal való kompatibilitás. |
Észtország, Lettország, Litvánia, Lengyelország és Szlovákia különleges esete az 1 520 mm-es rendszer tekintetében | 7.3.2 | Az ÁME minden pontja nyitott kérdés | Nyitott kérdés annak jelzésére, hogy az 1 520 mm-es rendszer tekintetében további munka szükséges. |
A jármű és az adott hálózat között műszaki kompatibilitáshoz kapcsolódó nyitott kérdések
A járműalrendszer eleme | Ezen ÁME pontja | Az ÁME hatálya alá nem tartozó műszaki vonatkozások | Megjegyzések |
A tengelycsapágy állapotának figyelemmel kísérése | 4.2.3.3.2 4.2.3.5.2.1 | A pálya mellett elhelyezett berendezések működési hőmérséklettartománya | A műszaki dokumentációban rögzített hőmérsékleti határérték. Az érintett hálózattal való kompatibilitást ellenőrizni kell. |
Dinamikus menetviselkedés | 4.2.3.4.2 | Referenciavágány a vizsgálatokhoz (a vágány geometriai minősége) | A vizsgálati jegyzőkönyvben szerepel a vizsgálathoz használt vágányfeltételek leírása. Megvizsgálandó, az érintett hálózattal való kompatibilitás ellenőrzésére. |
Dinamikus menetviselkedés | 4.2.3.4.2 | A sebesség, az ív és a túlemelési elégtelenség EN 14363 szabvány szerinti kombinációi | A vizsgálati jegyzőkönyvben szerepel a vizsgálathoz használt vágány leírása. Megvizsgálandó, az érintett hálózattal való kompatibilitás ellenőrzésére. |
Kerékpárok – egyenértékű kúposság | 4.2.3.4.3.2 | A kerékpár egyenértékű kúposságának üzem közbeni értékei | A hálózati feltételektől függően karbantartási kritériumokat kell meghatározni. |
A tapadási feltételektől független fékrendszerek | 4.2.4.8.3 | Örvényáramú fékek | A berendezés nem kötelező. Az érintett hálózattal való kompatibilitást ellenőrizni kell. |
Az áramszedő leengedése | 4.2.8.2.9.10 | Az automatikus leengedő készülék kötelező | Az automatikus leengedő készülék elfogadott a TEN hagyományos vonalain; nem mindenütt kötelező (nemzeti szabály). |
A jármű és a hálózat műszaki kompatibilitásához nem kapcsolódó nyitott kérdések
A járműalrendszer eleme | Ezen ÁME pontja | Az ÁME hatálya alá nem tartozó műszaki vonatkozások | Megjegyzések |
Biztonsággal kapcsolatos funkciók | 4.2.1 | A biztonsági szint a következő pontokban nincs meghatározva: — 4.2.3.4. (a dinamikus viselkedés szoftveres tervezésének lehetősége), | — Tervezési lehetőség. (1) |
Biztonsággal kapcsolatos funkciók | 4.2.1 | — 4.2.4.9 (fékezés, központi vezérlőrendszer lehetőség) | — Tervezési lehetőség (1) |
Biztonsággal kapcsolatos funkciók | 4.2.1 | — 4.2.5.3 (riasztó tervezési lehetőség) | — Tervezési lehetőség (1) |
Biztonsággal kapcsolatos funkciók | 4.2.1 | — 4.2.5.6 (a D és E pontokban leírt ajtóvezérlő rendszer) | |
Biztonsággal kapcsolatos funkciók | 4.2.1 | — 4.2.8.2.10 (a főmegszakító vezérlése) | |
Biztonsággal kapcsolatos funkciók | 4.2.1 | — 4.2.9.3.1 (a vezető aktivitásának ellenőrzése) | |
Biztonsággal kapcsolatos funkciók | 4.2.1 | — 4.2.10.5 (a teljes válaszfaltól eltérő tervezési lehetőség) | — Tervezési lehetőség (1) |
Passzív biztonság | 4.2.2.5 | Az 1. és 2. eset alkalmazása középső kapcsolókészülékkel felszerelt nehéz tehermozdonyokra | Ha nem zárják le az üzembe helyezési engedély megadása előtt (nem áll rendelkezésre műszaki megoldás), üzemi szinten korlátozás lehetséges (3) |
Passzív biztonság | 4.2.2.5 | A középső vezetőállással felszerelt mozdonyok 3. eset szerinti követelményeknek való megfelelésének értékelése. | Ha nem zárják le az üzembe helyezési engedély megadása előtt (nem áll rendelkezésre műszaki megoldás), üzemi szinten korlátozás lehetséges (3) |
Emelőberendezés-kapcsolódási pontok | 4.2.2.6 B. melléklet | A kapcsolódási pontok helye és geometriája | A műszaki dokumentáció ismerteti; vizsgálandó az üzemeltetés és karbantartás tekintetében (2) |
A tengelycsapágy állapotának figyelemmel kísérése | 4.2.3.3.2 | Nem kötelező fedélzeti berendezés | Tervezési lehetőség (1) |
Változtatható nyomtávú kerékpár | 4.2.3.5.2.3 | Megfelelőségértékelés | Tervezési lehetőség (1) |
Az elhaladó vonatok miatt a peronon tartózkodó utasokat érő légörvényhatás (160 km/h sebesség felett). | 4.2.6.2.1 | Légörvényhatás az általános üzemre értékelt egységek tekintetében (a vonat-összeállítás nincs meghatározva) | Az adott egység értékeléséhez nincs meghatározva a vonat-összeállítás. Üzemi szinten korlátozás lehetséges (3) |
Az elhaladó vonatok miatt a pályán dolgozókat érő légörvényhatás (160 km/h sebesség felett). | 4.2.6.2.2 | Légörvényhatás az általános üzemre értékelt egységek tekintetében (a vonat-összeállítás nincs meghatározva) | Az adott egység értékeléséhez nincs meghatározva a vonat-összeállítás. Üzemi szinten korlátozás lehetséges (3) |
Oldalszél | 4.2.6.2.5 | Oldalszélhatás valamennyi hagyományos vasúti jármű tekintetében: vizsgálandók a szél jellemzői és az értékelési módszer. | Az üzembe helyezési engedély megadása előtt le kell zárni a tervezéskor figyelembe vett oldalszél feltüntetésével (Az ÁME előírásinak megfelelően). Ellenőrizni kell az üzemeltetési feltételekkel való kompatibilitást; esetleges intézkedések az üzemeltetés vagy az infrastruktúra szintjén. |
Áramszedő – a csúszóbetét anyaga | 4.2.8.2.9.4 | Más anyag használandó a váltakozó áramú és/vagy egyenáramú vonalakon | Más anyag használata esetén ellenőrzés a nemzeti szabályok alkalmazásával. A műszaki dokumentáció ismerteti; vizsgálandó az üzemeltetés és karbantartás tekintetében (2) |
Rögzítőberendezés | 4.2.9.6 | A rögzítő eszköz és annak a járműbe való beépítésének meghatározása | Nyitott kérdés az üzemeltetésre vonatkozó (elfogadandó) ÁME felülvizsgálatakor. Lásd még a 2008/87/EK irányelv 23. cikke (3) bekezdésének b) pontját. |
A vonatok tárolásának külön követelményei | 4.2.11.6 | Helyi külső 400 V áramforrás (a MODTRAIN vizsgálat befejezésére vár) | A műszaki dokumentáció ismerteti; vizsgálandó az üzemeltetés és karbantartás tekintetében (2) |
Üzemanyag-feltöltés | 4.2.11.7 | A nem dízelolajhoz való töltőnyílások | A műszaki dokumentáció ismerteti; vizsgálandó az üzemeltetés és karbantartás tekintetében (2) |
(1) Az átjárhatóságot az ÁME 4.2. pontjában teljeskörűen meghatározott műszaki megoldás biztosítja. (2) Ez a nyitott kérdés olyan műszaki vonatkozásokat érint, amelyek befolyásolhatják az üzemeltetés és/vagy karbantartást; a használt műszaki megoldást az EK-ellenőrzési nyilatkozattal együtt benyújtott műszaki dokumentációban kell ismerteni annak érdekében, hogy azt üzemeltetési szinten figyelembe vegyék. (3) Ez a nyitott kérdés olyan műszaki vonatkozásokat érint, amelyekkel kapcsolatban a jelenlegi műszaki fejlettségi szinten nem áll rendelkezésre műszaki előírás a járműalrendszerre vonatkozóan; a kérdést nemzeti szabályozásnak kell lezárnia az üzembe helyezési engedély megadása előtt vagy a jármű használatának korlátozásával. |
J. MELLÉKLET - AZ ÁME-BEN EMLÍTETT SZABVÁNYOK VAGY NORMATÍV DOKUMENTUMOK
ÁME | Szabvány | ||
Értékelendő jellemzők | Kötelező hiv. szabvány száma | Pontok | |
A járműalrendszer eleme | Ezen ÁME pontja | ||
Szerkezetek és mechanikus részek | 4.2.2. | ||
Belső kapcsolókészülék | 4.2.2.2.2. | EN 12663-1:2010 | 6.5.3. és 6.7.5. pont a csuklós egységekre |
Végkapcsoló-készülék | 4.2.2.2.3. A melléklet | EN 15566:2009 | Ütköző és csavaros kapcsolókészülék |
EN 15551:2009 | Ütköző és csavaros kapcsolókészülék | ||
UIC 541-1:Nov 2003 | A fékcső és tömlők méretei és elrendezése | ||
UIC 648:Sep 2001 | A fékcsövek és csapok oldalsó elhelyezkedése | ||
A jármű szerkezetének szilárdsága | 4.2.2.4. | EN 12663-1:2010 | Összes |
Passzív biztonság | 4.2.2.5. | EN 15227:2008 | Az A. melléklet kivételével mind |
Emelés | 4.2.2.6 B. MELLÉKLET | EN 12663-1:2010 | 6.3.2., 6.3.3. és 9.2.3.1. pont |
Készülékek rögzítése a kocsiszekrény szerkezetére | 4.2.2.7. | EN 12663-1:2010 | 6.5.2. pont |
Terhelési állapotok | 4.2.2.10. | EN 15663:2009 | Feltételezések terhelési viszonyokra |
6.2.2.2.1. | EN 14363:2005 | 4.5. „Járműmérlegelés” pont | |
A jármű és a vágány kölcsönhatása és annak méretezése | 4.2.3. | ||
Kinematikus szerkesztési szelvény | 4.2.3.1. | EN 15273-2:2009 | A.3.12. pont |
6.2.2.2.2. | EN 15273-2:2009 | B.3. pont | |
Kerékterhelés | 4.2.3.2.2. | ||
6.2.2.2.3. | EN 14363:2005 | 4.5. „Kerékterhelés mérése” pont | |
A tengelycsapágy állapotának figyelemmel kísérése | 4.2.3.3.2. | EN 15437-1:2009 | 5.1. és 5.2. pont |
Féloldali vágánysüppedésen való kisiklással szembeni biztonság | 4.2.3.4.1. | EN 14363:2005 | 4.1. pont |
Dinamikus menetviselkedés | 4.2.3.4.2. C. melléklet | EN 14363:2005 | 5. pont |
EN 15686:2010 | Billenő vonatokra | ||
EN 13848-1 | A vágány geometriai minőségére | ||
Egyenértékű kúposság | 4.2.3.4.3. | EN 15302:2008 | Számítási módszer |
Új kerékprofilok tervezési értékei | 4.2.3.4.3.1. | EN 13674-1:2003/A1:2007 | Sínfejprofil az egyenértékű kúposság modellezéséhez |
EN 13715:2006 | Kerékprofilok meghatározása | ||
A forgóváz strukturális kialakítása | 4.2.3.5.1. | EN 13749:2005 | A 7. és 9.2. pont; C. melléklet |
A kerékpár mechanikai és geometriai jellemzői | 4.2.3.5.2.1. | EN 13260:2009 | 3.2.1. és 3.2.2. pont |
EN 13103:2009 | 4., 5. és 6. pont | ||
EN 13104:2009 | 4., 5. és 6. pont | ||
A kerekek mechanikai és geometriai jellemzői | 4.2.3.5.2.2. | EN 13979-1:2003/A1:2009 | 6.2., 6.3., 6.4., 7.2. és 7.3. pont |
Fékezés | 4.2.4. | ||
Biztonsági követelmények | 4.2.4.2.2. 6.2.2.2.4. | Közös biztonsági módszer | |
Fékrendszerek típusa | 4.2.4.3. | EN 14198:2004 | 5.4. pont „UIC-fékrendszer” |
Fékhatásosság | 4.2.4.5. | EN 14531-1:2005 | 5.3.1.4., 5.3.3., 5.11.3. és 5.12. pont |
6.2.2.2.4. 6.2.2.2.5. | EN 14531-6:2009 | ||
Csúszásgátló rendszer | 4.2.4.6.2. | EN 15595:2009 | 5. pont |
6.1.2.2.1. | EN 15595:2009 | 5. vagy 6.2. pont | |
6.2.2.2.6. | EN 15595:2009 | 6.4. pont | |
Mágneses sínfék | 4.2.4.8.2. | UIC 541-06:Jan 1992 | 3. függelék |
Személyszállítási elemek | 4.2.5. | ||
Környezeti feltételek | 4.2.6.1. | A szabványra csak az övezetek vagy az anyagok meghatározásakor történik hivatkozás. | |
Magasság | 4.2.6.1.1. | EN 50125-1:1999 | 4.2. pont |
Hőmérséklet | 4.2.6.1.2. | EN 50125-1:1999 | 4.3. pont |
Páratartalom | 4.2.6.1.3. | EN 50125-1:1999 | 4.4. pont |
Eső | 4.2.6.1.4. | EN 50125-1:1999 | 4.6. pont |
Hó, jég és jégeső | 4.2.6.1.5. | EN 50125-1:1999 | 4.7. pont |
Napsugárzás | 4.2.6.1.6. | EN 50125-1:1999 | 4.9. pont |
Szennyezésnek való ellenállás | 4.2.6.1.7. | EN 60721-3:1997 | Anyagok felsorolása |
Aerodinamikai hatások | 4.2.6.2. | ||
Az elhaladó vonatok miatt a peronon tartózkodó utasokat érő légörvényhatás | 4.2.6.2.1. | ||
6.2.2.2.9. | EN 14067-4:2005/A1:2009 | 7.5.2. pont | |
Az elhaladó vonatok miatt a vágány mentén dolgozókat érő légörvényhatás | 4.2.6.2.2. | ||
6.2.2.2.10. | EN 14067-4:2005/A1:2009 | 8.5.2. pont | |
Légnyomásimpulzus | 4.2.6.2.3. | ||
6.2.2.2.11. | EN 14067-4:2005/A1:2009 | 5.3., 5.4.3. és 5.5.2. pont | |
Külső világítás és figyelmeztető hang- és fényjelző eszközök | 4.2.7. | ||
Külső világítás | 4.2.7.1.1. | EN 15153-1:2007 | 5.3.5. pont |
6.1.2.2.2. | EN 15153-1:2007 | 6.1. és 6.2. pont | |
4.2.7.1.2. | EN 15153-1:2007 | 5.4.4. pont | |
6.1.2.2.3. | EN 15153-1:2007 | 6.1. és 6.2. pont | |
4.2.7.1.3. | EN 15153-1:2007 | 5.5.3. és 5.5.4. pont | |
6.1.2.2.4. | EN 15153-1:2007 | 6.1. és 6.2. pont | |
Kürt | 4.2.7.2. | EN 15153-2:2007 | 4.3.2. és 5. pont |
Vontatási és elektromos berendezések | 4.2.8. | ||
Visszatápláló fék a felsővezetékbe történő energia-visszatáplálással | 4.2.8.2.3. | EN 50388:2005 | 12.1.1. pont |
A felsővezetékről felvehető megengedett legnagyobb teljesítmény és áramerősség | 4.2.8.2.4. | EN 50388:2005 | 7.2. és 7.3. pont |
6.2.2.2.12. | EN 50388:2005 | 14.3. pont | |
Teljesítménytényező | 4.2.8.2.6. | ||
6.2.2.2.13. | EN 50388:2005 | 14.2. pont | |
A rendszer energiaellátási üzemzavarai váltakozó áramú rendszerek esetében | 4.2.8.2.7. | EN 50388:2005 | 10.1., 10.3., 10.4. pont, D. melléklet |
Működési tartomány az áramszedő magasságában | 4.2.8.2.9.1. | EN 50206-1:2010 | 4.2 és 6.2.3. pont |
Az áramszedőfej geometriája | 4.2.8.2.9.2. | EN 50367:2006 | 5.2. pont, A2. melléklet A.7 ábra; B.2. melléklet B.3 ábra |
Az áramszedő áramterhelhetősége | 4.2.8.2.9.3. | EN 50206-1:2010 | 6.13.2. pont |
6.1.2.2.6. | EN 50206-1:2010 | 6.13.1. pont | |
A csúszóbetét anyaga | 4.2.8.2.9.4. | ||
6.1.2.2.7. | EN 50405:2006 | 5.2.2., 5.2.3., 5.2.4., 5.2.6. és 5.2.7. pont | |
Az áramszedő statikus sarunyomása | 4.2.8.2.9.5. | ||
6.1.2.2.6. | EN 50206-1:2010 | 6.3.1. pont | |
Az áramszedő dinamikus viselkedése | 6.1.2.2.6. | EN 50318:2002 | Összes |
EN 50317:2002 | Összes | ||
Az áramszedő leengedése | 4.2.8.2.9.1.0 | EN 50206-1:2010 | 4.7. és 4.8. pont |
EN 50119:2009 | 2. táblázat | ||
A vonat elektromos védelme | 4.2.8.2.10. | EN 50388:2005 | 11. pont |
Áramforrásból fakadó elektromos veszélyekkel szembeni védelem | 4.2.8.4. | EN 50153:2002 | Összes |
Vezetőállás és üzemeltetés | 4.2.9. | ||
Vezetőállás | 4.2.9.1. | UIC 651:2002. július | |
E. melléklet | E. függelék, F. függelék | ||
F. melléklet | D. függelék, 3.2.1., 3.2.2., 3.3. pont | ||
Szélvédő | 4.2.9.2. | EN 15152:2007 | 4.2.2., 4.2.3., 4.2.4., 4.2.5., 4.2.6., 4.2.7. és 4.2.9. pont |
6.2.2.2.16. | EN 15152:2007 | 6.2.1–6.2.7. pont | |
Tűzbiztonság és evakuálás | 4.2.10. | ||
Az anyagokra vonatkozó követelmények | 4.2.10.2. | TS45545-2:2009 | A nagy sebességű járművekre vonatkozó ÁME-ben meghatározott szabványok helyett |
TS45545-1:2009 | A nagy sebességű járművekre vonatkozó ÁME-ben meghatározott szabványok helyett | ||
Tűzvédelmi gátak | 4.2.10.5. | EN 1363-1:1999 | Vagy egyenértékű biztonsági szint |
6.2.2.2.17. | |||
Üzemanyagtöltő berendezés | 4.2.11.8. | UIC 627-2:Jul 1980 | 1. pont |
( 1 ) HL L 191., 2008.7.18., 1. o.
( 2 ) HL L 110., 2001.4.20., 1. o.
( 3 ) HL L 319., 2010.12.4., 1. o.
( 4 ) HL L 64., 2008.3.7., 1. o.
( 5 ) HL L 235., 1996.9.17., 6. o.
( 6 ) HL L 164., 2004.4.30., 44. o.
( 7 ) HL L 84., 2008.3.26., 132. o.
( 8 ) HL L 64., 2008.3.7., 72. o.
( 9 ) HL L 64., 2008.3.7., 1. o.
( 10 ) HL L 37., 2006.2.8., 1. o.
( 11 ) HL L 45., 2009.2.14., 1. o.
( 12 ) HL L 344., 2006.12.8., 1. o.
( 13 ) HL L 359., 2006.12.18., 1. o.
( 14 ) HL L 108., 2009.4.29., 4. o.
( 15 ) HL L 228., 1996.9.9., 1. o.
( 16 ) Meghatározás az EN 14531-1:2005 szabvány 5.3.3. pontja szerint.
( 17 ) HL L 330., 1998.12.5., 32. o.
( 18 ) HL L 64., 2006.3.4., 37. o.
( 19 ) HL L 64., 2006.3.4., 52. o.
( 20 ) HL L 56., 2007.12.3., 51. o.
( 21 ) HL L 264., 2011.10.8., 32. o.
( 22 ) azaz a kétféle felsővezeték sebességének legalább egyenlőnek kell lennie a szimulált áramszedő tervezési sebességével.
( 23 ) azaz a hagyományos vagy nagy sebességű vasúti hálózatra vonatkozó ÁME szerint kölcsönös átjárhatóságot lehetővé tevő rendszerelemként tanúsított felsővezeték.
( 24 ) HL L 167., 2004.4.30., 1. o.
Lábjegyzetek:
[1] A dokumentum eredetije megtekinthető CELEX: 32011D0291 - https://eur-lex.europa.eu/legal-content/HU/ALL/?uri=CELEX:32011D0291&locale=hu Utolsó elérhető, magyar nyelvű konszolidált változat CELEX: 02011D0291-20130124 - https://eur-lex.europa.eu/legal-content/HU/ALL/?uri=CELEX:02011D0291-20130124&locale=hu