31993L0092[1]
A Tanács 93/92/EGK irányelve (1993. október 29.) a motorkerékpárok és segédmotoros kerékpárok világító- és fényjelző berendezéseinek beépítéséről
A TANÁCS 93/92/EGK IRÁNYELVE
(1993. október 29.)
a motorkerékpárok és segédmotoros kerékpárok világító- és fényjelző berendezéseinek beépítéséről
AZ EURÓPAI KÖZÖSSÉGEK TANÁCSA,
tekintettel az Európai Gazdasági Közösséget létrehozó szerződésre és különösen annak 100a. cikkére,
tekintettel a motorkerékpárok és segédmotoros kerékpárok típusjóváhagyásáról szóló, 1992. június 29-i 92/61/EGK tanácsi irányelvre ( 1 ),
tekintettel a Bizottság javaslatára ( 2 ),
az Európai Parlamenttel együttműködve ( 3 ),
tekintettel a Gazdasági és Szociális Bizottság véleményére ( 4 ),
mivel a motorkerékpárok és segédmotoros kerékpárok beépített világító- és fényjelző berendezéseinek valamennyi tagállamban kötelező rendelkezések által meghatározott műszaki jellemzőkkel kell rendelkezniük, amelyek tagállamonként eltérnek; mivel ezen eltérések miatt az ilyen előírások akadályt jelentenek a Közösségen belüli kereskedelemben;
mivel a belső piac működésének ezen akadályai megszüntethetők, ha nemzeti rendelkezései helyett valamennyi tagállam ugyanazokat a követelményeket fogadja el;
mivel a világító- és fényjelző berendezések beépítése vonatkozásában összehangolt követelmények bevezetése szükséges annak érdekében, hogy minden ilyen járműtípusra alkalmazni lehessen a 92/61/EGK irányelvben szereplő típus-jóváhagyási eljárást;
mivel a Közösségen kívüli országok piacaira való bejutás megkönnyítése érdekében a motorkerékpárok vonatkozásában ezen irányelv rendelkezéseit összhangba kell hozni az ENSZ EGB 53. számú rendeletének követelményeivel,
ELFOGADTA EZT AZ IRÁNYELVET:
1. cikk
Ez az irányelv a 92/61/EGK irányelv 1. cikkében meghatározott valamennyi jármű világító- és fényjelző berendezéseinek felszerelésére vonatkozik.
2. cikk
A motorkerékpárokra és segédmotoros kerékpárokra felszerelt világító- és fényjelző berendezésekre vonatkozó alkatrész-típusjóváhagyási eljárást, valamint az ilyen járművek szabad kereskedelmének feltételeit a 92/61/EGK irányelv rögzíti.
3. cikk
A 92/61/EGK irányelv 11. cikkének megfelelően elismerésre kerül az ezen irányelvben meghatározott, a kétkerekű motorkerékpárokra vonatkozó és az ENSZ EGB 53. számú rendeletében meghatározott (E/ECE/TRANS/505 Add.52/Amend 1) követelmények egyenértékűsége.
A tagállam alkatrész-típusjóváhagyást megadó hatóságai az ezen irányelv szerint kiadott típusjóváhagyások helyett elfogadják az említett 53. számú rendelet követelményeinek megfelelően kiadott jóváhagyásokat, valamint a megfelelő alkatrész-típusjóváhagyási jeleket.
4. cikk
Az I-VI. mellékletben foglaltaknak a műszaki haladáshoz történő hozzáigazítása miatti módosításait a 70/156/EGK irányelvben ( 5 ) meghatározott eljárásnak megfelelően kell elfogadni.
5. cikk
Azok a tagállamok, amelyek nemzeti jogukban a kétkerekű robogók féklámpáinak beépítésére az irányelvben szereplőnél kevésbé szigorú követelményeket határoznak meg, az irányelv alkalmazásának kezdetétől számított legfeljebb három évig továbbra is alkalmazhatják ezen előírásokat.
6. cikk
(1) A tagállamok legkésőbb 1995. május 1-jéig elfogadják és kihirdetik azokat a rendelkezéseket, amelyek szükségesek ahhoz, hogy ennek az irányelvnek megfeleljenek. Erről haladéktalanul tájékoztatják a Bizottságot.
Amikor a tagállamok elfogadják ezeket az intézkedéseket, azokban hivatkozni kell erre az irányelvre, vagy azokhoz kihirdetésük alkalmával ilyen hivatkozást kell csatolni. A hivatkozás módját a tagállamok határozzák meg.
Az első albekezdésben említett időponttól kezdődően a tagállamok nem tilthatják meg az irányelvnek megfelelő járművek első forgalomba helyezését a világító- és fényjelző berendezések felszerelésével kapcsolatos indokokkal.
A tagállamok az első albekezdésben szereplő rendelkezéseket 1995. november 1-jétől alkalmazzák.
(2) A tagállamok közlik a Bizottsággal nemzeti joguknak azokat az előírásait, amelyeket az irányelv által szabályozott területeken fogadtak el.
7. cikk
Ennek az irányelvnek a tagállamok a címzettjei.
MELLÉKLETEK JEGYZÉKE
I. MELLÉKLET: | Fogalommeghatározások és általános követelmények … |
1. függelék: | Lámpafelületek, vonatkozási tengely és vonatkozási pont, valamint a geometriai láthatósági szögek … |
2. függelék: | A lámpák színének meghatározása … |
II. MELLÉKLET: | Kétkerekű robogókra vonatkozó követelmények … |
1. függelék: | A piros színű lámpák elölről és a fehér lámpák hátulról való láthatósága … |
2. függelék: | Elrendezési vázlat … |
3. függelék: | Világító- és fényjelző berendezések adott típusú kétkerekű robogókra történő felszerelésére vonatkozó adatközlő lap … |
4. függelék: | Világító- és fényjelző berendezések adott típusú kétkerekű kismotorkerékpárra történő felszerelésére vonatkozó alkatrész-típusbizonyítvány … |
III. MELLÉKLET: | Háromkerekű robogókra és könnyű négykerekű motorbiciklikre vonatkozó követelmények … |
1. függelék: | A piros lámpák elölről és a fehér lámpák hátulról való láthatósága … |
2. függelék: | Elrendezési vázlat … |
3. függelék: | Világító- és fényjelző berendezések adott típusú háromkerekű robogókra történő felszerelésére vonatkozó adatközlő lap … |
4. függelék: | Világító- és fényjelző berendezések adott típusú háromkerekű robogókra történő felszerelésére vonatkozó alkatrész-típusbizonyítvány … |
IV. MELLÉKLET: | Kétkerekű motorkerékpárokra vonatkozó követelmények … |
1. függelék: | A piros lámpák elölről és a fehér lámpák hátulról való láthatósága … |
2. függelék: | Elrendezési vázlat … |
3. függelék: | Világító- és fényjelző berendezések adott típusú kétkerekű motorkerékpárra történő felszerelésére vonatkozó adatközlő lap … |
4. függelék: | Világító- és fényjelző berendezések adott típusú kétkerekű motorkerékpárra történő felszerelésére vonatkozó alkatrész-típusbizonyítvány … |
V. MELLÉKLET: | Oldalkocsis motorkerékpárokra vonatkozó követelmények … |
1. függelék: | A piros lámpák elölről és a fehér lámpák hátulról való láthatósága … |
2. függelék: | Elrendezési vázlat … |
3. függelék: | Világító- és fényjelző berendezések adott típusú oldalkocsis motorkerékpárra történő felszerelésére vonatkozó adatközlő lap … |
4. függelék: | Világító- és fényjelző berendezések adott típusú oldalkocsis motorkerékpárra történő felszerelésére vonatkozó alkatrész-típusbizonyítvány … |
VI. MELLÉKLET: | Motoros triciklikre vonatkozó követelmények … |
1. függelék: | A piros lámpák elölről és a fehér lámpák hátulról való láthatósága … |
2. függelék: | Elrendezési vázlat … |
3. függelék: | Világító- és fényjelző berendezések adott típusú motoros triciklire történő felszerelésére vonatkozó adatközlő lap … |
4. függelék: | Világító- és fényjelző berendezések adott típusú motoros triciklire történő felszerelésére vonatkozó alkatrész-típusbizonyítvány … |
I. MELLÉKLET
FOGALOMMEGHATÁROZÁSOK ÉS ÁLTALÁNOS KÖVETELMÉNYEK
A. FOGALOMMEGHATÁROZÁSOK
Ezen irányelv alkalmazásában:
1. járműtípus
a világító- és fényjelző berendezések felszerelését tekintetében olyan járművek, amelyek a következőkben felsorolt lényeges tulajdonságok tekintetében nem különböznek egymástól:
1.1. a jármű méretei és külső formája;
1.2. a berendezések száma és elhelyezése;
1.3. a következők sem számítanak "más típusú járműnek":
1.3.1. olyan járművek, amelyek az 1.1. és 1.2. pontok értelmében ugyan eltérőek, de ezek az eltérések nem járnak együtt az adott járműtípusra előírt lámpák típusát, számát, elhelyezését és geometriai láthatóságát illető változással;
1.3.2. olyan járművek, amelyek egy irányelv alapján akár típusjóváhagyással rendelkező választható lámpákkal vannak felszerelve, akár nincsenek;
2. keresztirányú sík
a jármű hosszanti középsíkjára merőleges függőleges sík;
3. terheletlen jármű
a vezető, utas, illetve terhelés nélküli, de teli tüzelőanyag-tartállyal és normál szerszámkészlettel ellátott jármű;
4. berendezés
olyan alkatrész vagy alkatrészek kombinációja, amely egy vagy több funkció végrehajtására szolgál;
5. lámpa
olyan berendezés, amely az úttest megvilágítására, illetve a többi közlekedő számára fényjelzések adására szolgál. Lámpának kell tekinteni továbbá a hátsó rendszámtáblát megvilágító lámpákat és a fényvisszaverőket is;
5.1. önálló lámpa
olyan berendezés, illetve egy olyan berendezés része, amely egyetlen funkcióval és egyetlen világítófelülettel és egy vagy több fényforrással rendelkezik. A járműre történő felszerelés tekintetében "önálló lámpának" minősül két azonos vagy eltérő fajtájú, de azonos funkciójú önálló vagy csoportos lámpa bármely kombinációja is, amennyiben ezek úgy vannak felszerelve, hogy a lámpák világítófelületeinek egy adott keresztirányú vetített vetülete legalább 60 %-át kitölti az említett világítófelületek vetületeit körülíró legkisebb négyszöget. Típus-jóváhagyási kötelezettség esetén minden egyes lámpát "D" típusú lámpaként kell jóváhagyni;
5.2. egyenértékű lámpák
olyan lámpák, amelyek azonos funkcióval rendelkeznek, és amelyeket jóváhagytak abban az országban, ahol a járművet nyilvántartásba vették; az ilyen lámpáknak eltérő jellemzőik lehetnek azoktól, amelyekkel a jármű fel volt szerelve, amennyiben ezeket a lámpákat azzal a feltétellel hagyták jóvá, hogy e melléklet követelményeinek megfelelnek;
5.3. független lámpák
saját világítófelülettel, saját fényforrásokkal és saját házzal rendelkező lámpák;
5.4. csoportos lámpák
külön világítófelülettel és fényforrásokkal, de közös házzal rendelkező lámpák;
5.5. kombinált lámpák
külön világítófelülettel, de közös fényforrással és közös házzal rendelkező lámpák;
5.6. kölcsönösen egymásba épített lámpák
olyan berendezések, amelyek külön fényforrásokkal vagy egyetlen, de eltérő feltételek (pl. optikai, mechanikai vagy elektromos eltérések) mellett működő fényforrással, teljesen vagy részben közös világítófelülettel és közös házzal rendelkeznek;
5.7. távolsági fényszóró
lámpa, amely arra szolgál, hogy a jármű előtt az úttestet nagy távolságra megvilágítsa;
5.8. tompított fényszóró
lámpa, amely arra szolgál, hogy a jármű előtt az úttestet megvilágítsa, anélkül hogy a szembe jövő járműveket és a többi közlekedőt elvakítaná vagy túlzottan zavarná;
5.9. irányjelző lámpa
lámpa, amely arra szolgál, hogy jelezze a többi közlekedőnek a jármű vezetőjének jobbra vagy balra történő irányváltoztatási szándékát;
5.10. féklámpa
lámpa, amely arra szolgál, hogy a többi közlekedőnek jelezze azt, hogy a jármű vezetője működteti az üzemi féket;
5.11. első helyzetjelző lámpa
lámpa, amely arra szolgál, hogy előrefelé jelezze a jármű jelenlétét;
5.12. hátsó helyzetjelző lámpa
lámpa, amely arra szolgál, hogy hátrafelé jelezze a jármű jelenlétét;
5.13. első ködfényszóró
lámpa, amely arra szolgál, hogy köd, hóesés, felhőszakadás vagy porfelhők esetén javítsa az úttest megvilágítását;
5.14. hátsó ködlámpa
lámpa, amely arra szolgál, hogy sűrű köd esetén észlelhetőbben jelezze hátrafelé a jármű jelenlétét;
5.15. hátrameneti lámpa
lámpa, amely arra szolgál, hogy a jármű mögött az úttestet megvilágítsa, és jelezze a többi közlekedőnek, hogy a jármű tolat, illetve tolatáshoz készül;
5.16. elakadásjelző
az összes irányjelző lámpa egyidejű működése; amely arra szolgál, hogy felhívja a figyelmet arra, hogy a jármű ideiglenesen különleges veszélyt jelent a többi közlekedő számára;
5.17. hátsó rendszámtáblát megvilágító lámpa
a hátsó rendszámtábla elhelyezésére szolgáló hely megvilágítására szolgáló berendezés; több optikai elemből állhat;
5.18. fényvisszaverő
berendezés, amely arra szolgál, hogy a fényforrás közelében lévő megfigyelő számára a jármű jelenlétét olyan fény visszaverésével jelezze, amely nem a járművön lévő fényforrásból származik; a melléklet alkalmazásában a fényvisszaverő rendszámtáblák nem fényvisszaverők;
6. világítófelület (lásd 1. függelék);
6.1. világítóberendezések, illetve fényvisszaverők fénykibocsátó felülete az átlátszó anyag külső felülete, illetve annak egy része, a vázlaton feltüntetett berendezés gyártója által a típus-jóváhagyási kérelemben (lásd 1. függelék) megjelöltek szerint;
6.2. világítókészülék világítófelülete (lásd az 5.7., 5.8., 5.13. és 5.15. pont) a tükör, illetve ellipszoid-tükrös fényszórók esetén a lencse teljes nyílásának a keresztsíkra vett merőleges vetületét jelenti. Ha a világítókészülék nem rendelkezik tükörrel, úgy a 6.3. pont szerinti meghatározást kell figyelembe venni. Ha a lámpa fénykibocsátó felülete a tükör teljes nyílásának csak egy részét fedi, akkor csak ennek a résznek a vetületét kell figyelembe venni. Tompított fényszóróknál a világítófelületet a világos-sötét határ nyomvonala korlátozza. Ha a tükör és a lencse egymáshoz képest állítható, akkor a középbeállítást kell figyelembe venni;
6.3. fényjelző berendezések világítófelülete, a fényvisszaverők kivételével (lásd 5.9.-5.12., 5.14., 5.16. és 5.17. pont) a lámpa merőleges vetülete egy a lámpa vonatkozási tengelyére merőlegesen álló és a lámpa fénykibocsátó felületének külső oldalát érintő síkra; ezt a vetületet az ebben a síkban fekvő fényellenző szélek határolják, amelyek mindegyike a lámpa teljes fényerejét annak 98 %-ára csökkenti a vonatkozási tengely irányában; a világítófelület alsó, felső és oldalsó határvonalának meghatározásához csak vízszintes vagy függőleges síkú fényellenzőket használnak;
6.4. fényvisszaverők világítófelülete (lásd 5.18. pont) a fényvisszaverő merőleges vetülete egy, a lámpa vonatkozási tengelyére merőlegesen álló és a fényvisszaverő felület külső széleit érintő és vonatkozási tengellyel párhuzamos síkokkal határolt síkra. A világítófelület alsó, felső és oldalsó határvonalának meghatározásához csak vízszintes vagy függőleges síkú fényellenzőket használnak;
7. látszó felület
egy meghatározott megfigyelési irányban, a gyártó, illetve annak megbízottja által megadottaknak megfelelően,
- vagy a világítófelületnek (a-b) a lencse külső felületére vetülő határvonalának,
- vagy pedig a fénykibocsátó felületnek (c-d)
a merőleges vetülete értendő egy, a megfigyelési irányra merőlegesen fekvő és a lencse legkülső pontját érintő síkban (lásd a vázlatokat az 1. függelékben);
8. vonatkozási tengely
a lámpára jellemző, a (lámpa) gyártója által meghatározott tengely, amely a fotometriai méréseknél és a lámpa járműre történő felszerelésnél vonatkozási irányként (H = 0o, V = 0o) szolgál a szögtartományokhoz;
9. vonatkozási pont
a vonatkozási tengelynek és a lámpa fénykibocsátó felületének a lámpa gyártója által megadott metszéspontja;
10. a geometriai láthatóság szögei
azok a minimális térszögtartományt behatároló szögek, amelyeken belül a lámpa látszó felületének láthatónak kell lennie. Ezt a térszögtartományt egy olyan gömb szegmensei határozzák meg, amelynek középpontja egybeesik a lámpa vonatkozási pontjával, és amelynek egyenlítője a talajjal párhuzamos. Ezek a szegmensek a vonatkozási tengelyhez viszonyítva kerülnek meghatározásra. A vízszintes szögek a hosszúságnak, a függőleges szögek pedig a szélességnek felelnek meg. A geometriai láthatósági szögeken belül - végtelen távolságból szemlélve - nem állhat semmilyen akadály a lámpa látszó felületének bármely részéről kisugárzott fény útjában.
Amennyiben a méréseket a lámpához közelebb végzik, a megfigyelési irányt párhuzamosan el kell tolni ahhoz, hogy azonos pontosságot lehessen elérni. A geometriai láthatósági szögeken belüli olyan akadályokat, amelyek a lámpa típusjóváhagyásakor már jelen voltak, nem veszik figyelembe.
Amennyiben egy felszerelt lámpa esetén a lámpa látszó felületének valamely részét a jármű valamilyen más alkatrésze eltakarja, úgy bizonyítani kell, hogy a lámpa el nem takart része a készülék optikai egységként való típusjóváhagyásához előírt fotometriai követelményeknek így is megfelel (lásd az 1. függeléket);
11. legkülső szél
a jármű mindegyik oldalán azt a jármű hosszanti középsíkjával párhuzamosan vett síkot jelenti, amelybe a jármű legkülső szélső pontja esik, az alábbi, kinyúló alkatrészek figyelmen kívül hagyásával:
11.1. visszapillantó tükrök;
11.2. irányjelző lámpák;
12. teljes szélesség
a 11. pontban megadott két függőleges sík közötti távolság;
13. két azonos irányban sugárzó lámpa közötti távolság
a 6. pontban meghatározott két világítófelület körvonalának egy, a vonatkozási tengelyre merőleges síkon vett merőleges vetülete közötti távolság;
14. működés-visszajelző lámpa
ellenőrző visszajelző lámpa, amely jelzi, hogy a bekapcsolt berendezés rendben működik vagy sem;
15. bekapcsolás-visszajelző lámpa
ellenőrző visszajelző lámpa, amely jelzi, hogy a berendezés be van kapcsolva, függetlenül attól, hogy rendben működik-e vagy sem.
B ÁLTALÁNOS ELŐÍRÁSOK
1. A világító- és fényjelző berendezéseket úgy kell felszerelni, hogy normál üzemi körülmények között és a fellépő rezgési igénybevételek ellenére előírt tulajdonságaikat megőrizzék, és hogy a jármű megfeleljen ezen irányelv követelményeinek. Különösen az nem fordulhat elő, hogy a lámpák beállításának megváltozása nem szándékoltan bekövetkezzen.
2. A világítókészülékeket úgy kell felszerelni, hogy helyes beállításuk könnyen elvégezhető legyen.
3. Oldalsó fényvisszaverők esetén a járműre szerelt lámpák vonatkozási tengelyének a jármű hosszanti középsíkjára derékszögben, minden egyéb fényjelző berendezés esetén pedig ezzel a síkkal párhuzamosan kell elhelyezkedniük. Ettől minden irányban 3o-os tűrés engedhető meg.
Ezen túlmenően a gyártó által a felszerelést illetően megadott minden külön előírást be kell tartani.
4. A lámpák magasságát és beállítását - külön előírások hiányában - a terheletlen, vízszintes, sík felületen álló járművön kell ellenőrizni úgy, hogy közben a jármű hosszanti középsíkja függőleges és kormánya, illetve kormánykereke az egyenes haladási irányhoz tartozó állásban legyen. Az abroncsok nyomása a gyártó által az adott terhelési feltételekhez megadottnak megfelelő legyen.
5. Külön előírások hiányában, az egy párt képező lámpák
5.1. a jármű hosszanti középsíkjához képest szimmetrikusan legyenek a járműre felszerelve;
5.2. a hosszanti középsíkra vonatkoztatva egymásra szimmetrikusak legyenek;
5.3. azonos színkövetelményeknek feleljenek meg;
5.4. alapvetően azonos fotometriai tulajdonságokkal rendelkezzenek.
6. Külön előírások hiányában az eltérő funkciójú lámpák lehetnek függetlenek vagy csoportosak, kombináltak vagy kölcsönösen egymásba építettek, feltéve hogy a lámpák mindegyike megfelel a rá vonatkozó követelményeknek.
7. Az úttest feletti maximális magasságot a világítófelület legfelső pontjától, a legkisebb magasságot pedig a világítófelület legalsó pontjától mérik. A tompított fényszóróknál az úttest feletti minimális magasságot a lencse, illetve a tükör alsó szélétől mérik, amennyiben ez utóbbi van magasabban.
8. Külön előírások hiányában a lámpák - az irányjelző és elakadásjelző lámpa kivételével - nem bocsáthatnak ki villogó fényt.
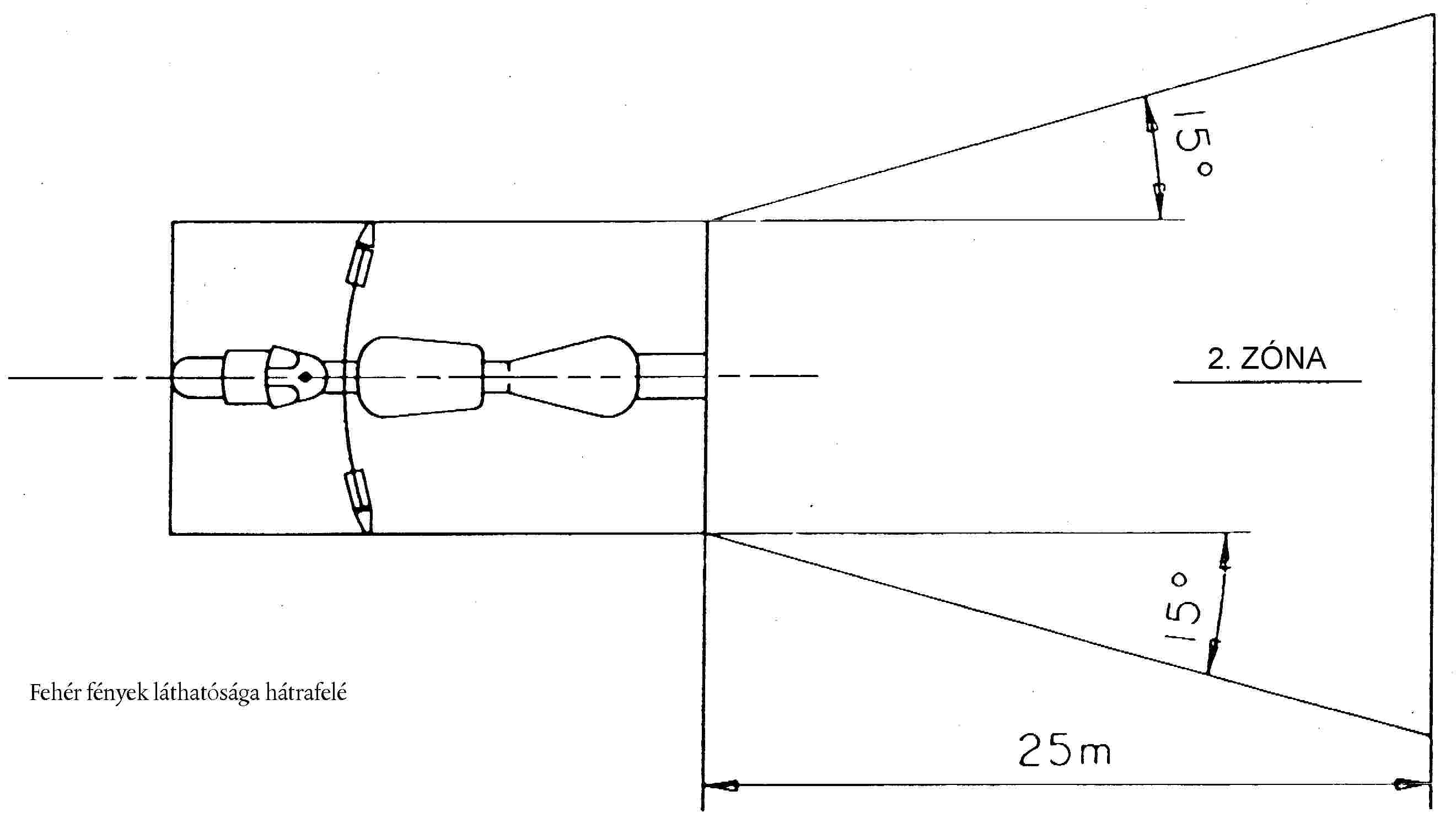
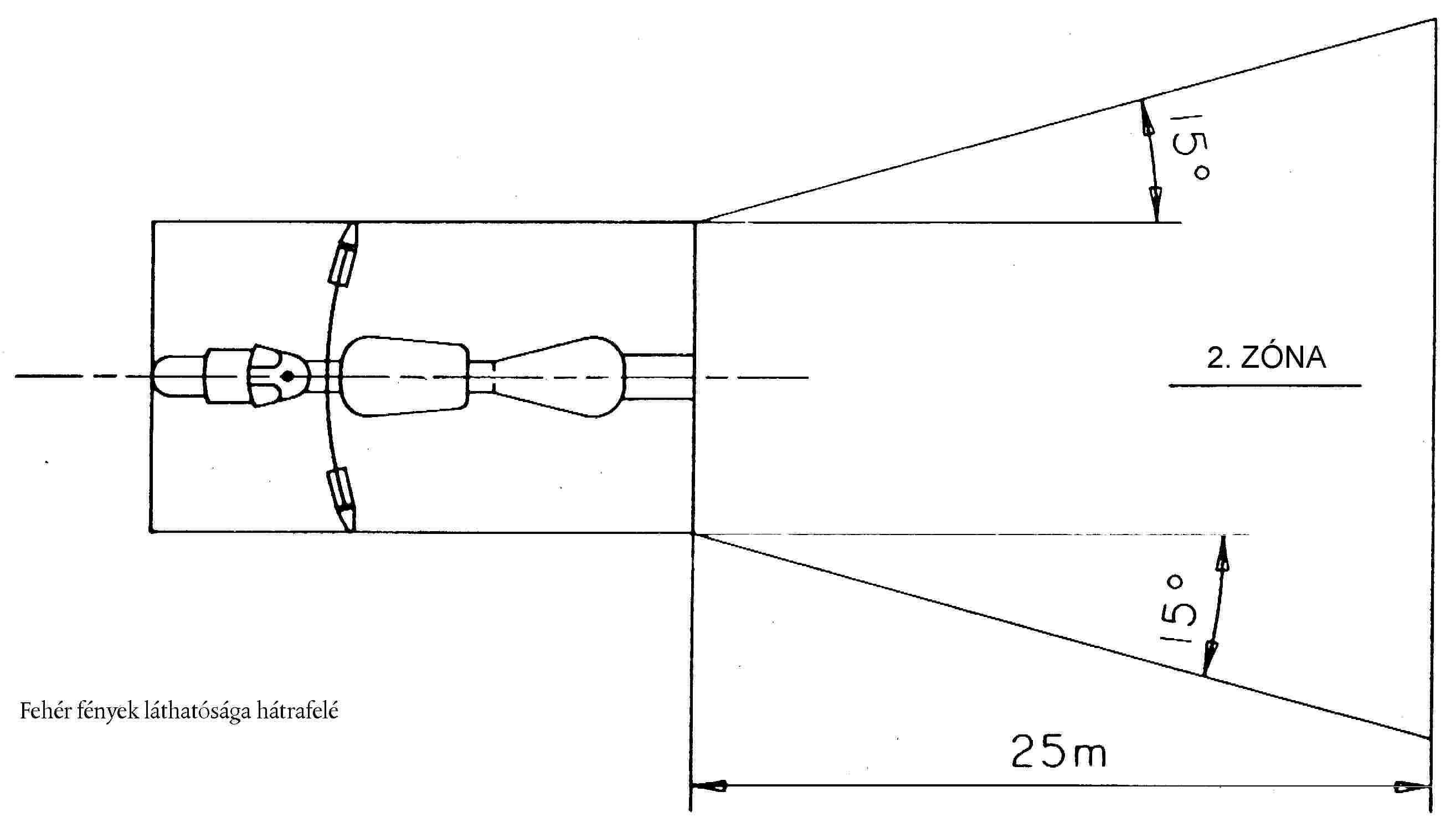
9. Piros fényt kibocsátó lámpa elölről nem lehet látható, hátulról pedig - a hátrameneti lámpa kivételével - nem lehet látható fehér fényű lámpa. E rendelkezés betartását a következőképpen ellenőrzik (lásd a megfelelő kétkerekű és háromkerekű járművekre vonatkozó rajzokat a II-VI. mellékletek 1. függelékében):
9.1. piros színű lámpák láthatósága elölről: egy olyan megfigyelő számára, aki a jármű legelső pontja előtt 25 m-re fekvő keresztirányú sík 1. zónájában mozog, egyik piros lámpa sem lehet közvetlenül látható;
9.2. fehér lámpák láthatósága hátulról: egy olyan megfigyelő számára, aki a jármű leghátsó pontja mögött 25 m-re fekvő keresztirányú sík 1. zónájában mozog, egyik fehér lámpa sem lehet közvetlenül látható;
9.3. a megfigyelő szeme által befogott 1. és 2. zónák határolása azok síkjaiban a következőképpen történik:
9.3.1. magasságban a föld felett 1, illetve 2,20 m magasságban lévő síkok által;
9.3.2. szélességben pedig két függőleges síkkal, amelyek a jármű hosszanti középsíkjához képest előre, illetve hátra 15o-os szöget képeznek kifelé. E síkokban fekszenek a jármű hosszanti középsíkjával párhuzamosan futó, a jármű teljes szélességét reprezentáló függőleges síkok és a jármú teljes hosszúságát reprezentáló keresztirányú síkok metszésvonalai.
10. Az elektromos csatlakozásokat úgy kell kialakítani, hogy a helyzetjelző lámpát, illetve, amennyiben nincs első helyzetjelző lámpa, a tompított fényszórót, a hátsó helyzetjelző lámpát és a hátsó rendszámtáblát megvilágító lámpát csak egyszerre lehessen be- és kikapcsolni.
11. Külön előírások hiányában az elektromos csatlakozásokat úgy kell kialakítani, hogy a távolsági fényszórót, a tompított fényszórót és a ködfényszórót csak akkor lehessen bekapcsolni, ha a 10. pontban említett lámpák szintén be vannak kapcsolva. Ez a rendelkezés azonban nem vonatkozik a távolsági fényszóróra, illetve tompított fényszóróra, ha ezekkel rövid villogó jelzéseket adunk, illetve amikor a tompított fényszórót és a távolsági fényszórót figyelmezető fényjelzés céljára rövid intervallumokban váltakozva felvillantjuk.
12. Visszajelző lámpák
12.1. Normál vezetőhelyzetben a vezető számára az összes visszajelző lámpának könnyen láthatónak kell lennie.
12.2. Amennyiben bekapcsolás-visszajelző lámpát írnak elő, ez egy működés-visszajelző lámpával helyettesíthető.
13. A lámpák színe
A lámpák által kibocsátott fény színe:
távolsági fényszóró: | fehér |
nem háromszög alakú első fényvisszaverő: | fehér |
tompított fényszóró: | fehér |
irányjelző lámpa: | borostyánsárga |
féklámpa: | piros |
első helyzetjelző lámpa: | fehér |
hátsó helyzetjelző lámpa: | piros |
ködfényszóró: | fehér/sárga |
hátsó ködlámpa: | piros |
hátrameneti lámpa: | fehér |
elakadásjelző: | borostyánsárga |
hátsó rendszámtáblát megvilágító lámpa: | fehér |
oldalsó nem háromszög alakú fényvisszaverő: | sárga |
hátsó nem háromszög alakú fényvisszaverő: | piros |
pedál-fényvisszaverő: | borostyánsárga |
A lámpák színének meghatározása a 2. függelékben meghatározottak szerint történik.
14. Minden világító- és fényjelző berendezés alkatrésztípusjóváhagyás-köteles. A legfeljebb 0,5 kW teljesítményű motorral készülő és 25 km/h-t meg nem haladó legnagyobb sebességű kismotorkerékpárok világító- és fényjelző berendezéseire vonatkozó harmonizált rendelkezések hatálybalépéséig azonban ezeket jóvá nem hagyott tompított fényszóróval, illetve hátsó helyzetjelző lámpával is fel lehet szerelni. Ilyen esetekben a gyártónak tanúsítania kell, hogy ezek a készülékek megfelelnek az ISO 6742/1 szabványnak. A 70/156/EGK irányelv 13. cikke szerinti eljárásban további különös követelményeket határoznak meg.
1. függelék
Lámpafelületek, vonatkozási tengely és vonatkozási pont, valamint a geometriai láthatósági szögek

Megj.:Az ábrázolás ellenére a látszó felület a fénykibocsátó felületet érintő felület.
2. függelék
A lámpák színének meghatározása
HÁROMSZÍN-KOORDINÁTÁK
Piros | határ sárga felé: | y ≤ 0,335 |
határ bíbor felé: | z ≤ 0,008 | |
Fehér | határ kék felé: | x ≥ 0,310 |
határ sárga felé: | x ≤ 0,500 | |
határ zöld felé: | y ≤ 0,150 + 0,640x | |
határ zöld felé: | y ≤ 0,440 | |
határ bíbor felé: | y ≥ 0,050 + 0,750x | |
határ piros felé: | y ≥ 0,382 | |
Sárga | határ piros felé: | y ≥ 0,138 + 0,580 |
határ zöld felé: | y ≤ 1,29x - 0,100 | |
határ fehér felé: | y ≥ - x + 0,940 | |
y ≥ 0,440 | ||
határ a spektrálérték felé: | y ≤ - x + 0,992 | |
Borostyánsárga | határ sárga felé: | y ≤ 0,429 |
határ piros felé: | y ≥ 0,398 | |
határ fehér felé: | z ≤ 0,007 |
A fenti határértékek ellenőrzésére 2 856oK színhőmérsékletű fényforrást használnak (a Nemzetközi Világítástechnikai Bizottság (CIE) szerinti Standard A érték).
II. MELLÉKLET
KÉTKEREKŰ ROBOGÓKRA VONATKOZÓ KÖVETELMÉNYEK
1. Az I. melléklet B. 14. pontjának sérelme nélkül, a kétkerekű robogókat a következő világító- és fényjelző berendezésekkel kell felszerelni:
1.1. tompított fényszóró;
1.2. hátsó helyzetjelző lámpa;
1.3. féklámpa. Ez a követelmény nem vonatkozik olyan robogókra, amelyekre az I. melléklet B. 14. pontjában előírt kivétel vonatkozik;
1.4. hátsó nem háromszög alakú fényvisszaverő;
1.5. oldalsó nem háromszög alakú fényvisszaverő;
1.6. pedál-fényvisszaverő (csak a nem felcsapható pedálos kétkerekű robogókra vonatkozik).
2. Emellett minden kétkerekű robogó felszerelhető a következő világító- és fényjelző berendezésekkel:
2.1. távolsági fényszóró;
2.2. irányjelző lámpák;
2.3. hátsó rendszámtáblát megvilágító lámpa;
2.4. első helyzetjelző
2.5. első nem háromszög alakú fényvisszaverő.
3. Az 1. és 2. pontban felsorolt világító- és fényjelző berendezéseket a 6. pont vonatkozó rendelkezéseinek megfelelően kell felszerelni.
4. Az 1. és 2. pontban felsoroltakon kívül más világító- és fényjelző berendezés nem szerelhető fel.
5. Az 1. és 2. szakaszban említett és motorkerékpárokra a 97/24/EK irányelv alapján típusjóváhagyott, vagy az M1 és N1 kategóriájú járművekre a vonatkozó 76/757/EGK, 76/758/EGK, 76/759/EGK, 76/760/EGK, 76/761/EGK, 76/762/EGK, 77/538/EGK vagy 77/539/EGK irányelv alapján típusjóváhagyott világító és fényjelző berendezések használatát segédmotoros kerékpárokon is meg kell engedni.
6. KÜLÖNLEGES FELSZERELÉSI KÖVETELMÉNYEK
6.1. Távolsági fényszórók
6.1.1. Száma: egy vagy kettő.
6.1.2. Elrendezési vázlat: nincs különleges előírás.
6.1.3. Elhelyezés
6.1.3.1. Szélességben:
- egy független távolsági fényszóró felszerelhető egy másik első lámpa fölé, alá vagy mellé. Amennyiben ezek a lámpák egymás fölött vannak, akkor a távolsági fényszóró vonatkozási pontjának a jármű hosszanti középsíkjában kell lennie, ha pedig egymás mellett vannak, akkor vonatkozási pontjaiknak a jármű hosszanti középsíkjára szimmetrikusan kell elhelyezkedniük,
- egy másik első lámpával kölcsönösen egymásba épített távolsági fényszórót úgy kell felszerelni, hogy vonatkozási pontja a jármű hosszanti középsíkjában legyen. Ha azonban a jármű egy független tompított fényszóróval is el van látva, amely a távolsági fényszóró mellett van elhelyezve, akkor vonatkozási pontjaiknak a jármű hosszanti középsíkjára szimmetrikusan kell elhelyezkedniük,
- két távolsági fényszórót, amelyek közül az egyik vagy mindkettő egy másik első lámpával van kölcsönösen egymásba építve, úgy kell felszerelni, hogy vonatkozási pontjaik a jármű hosszanti középsíkjára szimmetrikusan helyezkedjenek el.
6.1.3.2. Hosszirányban: a jármű elején. Ez az előírás akkor teljesül, ha a jármű vezetőjét a kisugárzott fény nem zavarja sem közvetlenül, sem közvetetten a visszapillantó tükörből, illetve a jármű egyéb visszaverő felületén tükröződve.
6.1.3.3. Önálló távolsági fényszóró esetén világítófelületének széle és a tompított fényszóró világítófelületének széle közötti távolság nem lehet nagyobb 200 mm-nél.
6.1.3.4. Két távolsági fényszóró esetén a két világítófelület közötti távolság nem lehet nagyobb 200 mm-nél.
6.1.4. Geometriai láthatóság A világítófelület láthatóságát biztosítani kell egy olyan tartományon belül, amelyet a világítófelület kontúrvonalából kiinduló és a fényszóró vonatkozási tengelyével legalább 5o-os szöget képező alkotók határolnak, még azokban a zónákban is, amelyek a szóban forgó megfigyelési irányban nem tűnnek megvilágítottnak. A geometriai láthatósági szög csúcspontjának a világítófelületnek a távolsági fényszóró lencséjének homokfelületét érintő keresztirányú síkon vett vetületeit kell tekinteni.
6.1.5. Irányítás: előre. Elfordulhat a kormányzási szöggel együtt.
6.1.6. Csoportosítható a tompított fényszóróval és az első helyzetjelző lámpával.
6.1.7. Más lámpával nem kombinálható.
6.1.8. Kölcsönösen egymásba építhető a következő lámpákkal:
6.1.8.1. tompított fényszóró;
6.1.8.2. első helyzetjelző lámpa.
6.1.9. Elektromos kapcsolás A távolsági fényszórók csak egyidejűleg bekapcsolhatók lehetnek. A tompítottról távolsági fényre történő átváltásnál az összes távolsági fényszórónak világítania kell. A távolsági fényről tompítottra történő átváltásnál az összes távolsági fényszórónak egyszerre kell kikapcsolódnia. A tompított fényszórók távolsági fényszórókkal együtt is égve maradhatnak.
6.1.10. Bekapcsolás-visszajelző lámpa: választható. Kék színű, nem villogó visszajelző lámpa.
6.2. Tompított fényszórók
6.2.1. Száma: egy vagy kettő.
6.2.2. Elrendezési vázlat: nincs különleges előírás.
6.2.3. Elhelyezés
6.2.3.1. Szélességben:
- egy független tompított fényszóró felszerelhető egy másik első lámpa fölé, alá vagy mellé. Amennyiben ezek a lámpák egymás fölött vannak, akkor a tompított fényszóró vonatkozási pontjának a jármű hosszanti középsíkjában kell lennie, ha pedig egymás mellett vannak, akkor a vonatkozási pontjaiknak a jármű hosszanti középsíkjával szimmetrikusan kell elhelyezkedniük,
- egy másik első lámpával kölcsönösen egymásba épített tompított fényszórót úgy kell felszerelni, hogy vonatkozási pontjának a jármű hosszanti középsíkjában kell lennie. Ha azonban a jármű egy független távolsági fényszóróval is el van látva, amely a tompított fényszóró mellett van elhelyezve, akkor vonatkozási pontjaiknak a jármű hosszanti középsíkjára szimmetrikusan kell elhelyezkedniük,
- két tompított fényszórót, amelyek közül az egyik vagy mindkettő egy másik első lámpával van kölcsönösen egymásba építve, úgy kell felszerelni, hogy vonatkozási pontjaik a jármű hosszanti középsíkjára szimmetrikusan helyezkedjenek el.
6.2.3.2. Magasságban: a talaj felett legalább 500 mm és legfeljebb 1 200 mm-re.
6.2.3.3. Hosszirányban: a jármű elején. Ez az előírás akkor teljesül, ha a jármű vezetőjét a kisugárzott fény nem zavarja sem közvetlenül, sem közvetetten a visszapillantó tükörben, illetve a jármű egyéb visszaverő felületén tükröződve.
6.2.3.4. Két tompított fényszóró esetén a két világítófelület közötti távolság nem lehet nagyobb 200 mm-nél.
6.2.4. Geometriai láthatóság
Ezt az I. melléklet A. 10. pontjában megadott α és β, szögek határozzák meg, nevezetesen:
α = 15° felfelé és 10° lefelé;
β
=
45° balra és jobbra egyetlen tompított fényszóró esetén.
45° kifelé és 10° befelé két tompított fényszóró esetén.
A fényszóró közelében lévő lemezek és az egyéb alkatrészekből eredő másodlagos hatások nem zavarhatják a többi úthasználót.
6.2.5. Irányítás: előre. Elfordulhat a kormányzási szöggel együtt.
6.2.6. Csoportosítható a távolsági fényszóróval és az első helyzetjelző lámpával.
6.2.7. Más lámpával nem kombinálható.
6.2.8. Kölcsönösen egymásba építhető a távolsági fényszóróval és az első helyzetjelző lámpával.
6.2.9. Elektromos kapcsolás A tompított fényre történő átkapcsoláskor a távolsági fénynek egyidejűleg ki kell aludnia, míg a tompított fény a távolsági fényre kapcsoláskor bekapcsolva maradhat.
6.2.10. Bekapcsolás-visszajelző lámpa: választható. Zöld színű, nem villogó visszajelző lámpa.
6.2.11. Egyéb követelmény: nincs.
6.3. Irányjelző lámpák
6.3.1. Oldalanként kettő
6.3.2. Elrendezési vázlat: két irányjelző lámpa elöl és két irányjelző lámpa hátul.
6.3.3. Elhelyezés
6.3.3.1. Szélességben:
6.3.3.1.1. Az első irányjelző lámpákra a következőknek kell egyidejűleg teljesülniük:
6.3.3.1.1.1. a világítófelületeik közötti távolság legalább 240 mm;
6.3.3.1.1.2. a fényszóró(k) világítófelületének külső szélét érintő függőleges hosszanti síkokon kívül kell elhelyezkedniük;
6.3.3.1.1.3. az irányjelző lámpák és a legközelebbi tompított fényszóró közötti legkisebb távolság:
- 75 mm, ha az irányjelző minimális fényereje 90 cd,
- 40 mm, ha az irányjelző minimális fényereje 175 cd,
- 20 mm, ha az irányjelző minimális fényereje 250 cd,
- ≤ 20 mm, ha az irányjelző minimális fényereje 400 cd.
6.3.3.1.2. A hátsó irányjelző lámpák világítófelületének belső széle közötti távolság legalább 180 mm.
6.3.3.2. Magasságban: legalább 350 mm és legfeljebb 1 200 mm a talaj felett.
6.3.3.3. Hosszirányban: a jármű leghátsó pontján átmenő keresztirányú síktól előrefelé a hátsó irányjelző lámpa vonatkozási pontjáig mért távolság nem lehet 300 mm-nél nagyobb.
6.3.4. Geometriai láthatóság
Vízszintes szög: lásd 2. függelék.
Függőleges szög: a vízszintestől 15° felfelé és lefelé.
A vízszintes alatti függőleges szög azonban 5°-ra csökkenthető, ha az irányjelző lámpa 750 mm-nél kisebb magasságban van elhelyezve.
6.3.5. Irányítás Az első irányjelző lámpák elfordulhatnak a kormányzási szöggel együtt.
6.3.6. Egy vagy több lámpával csoportosítható.
6.3.7. Más lámpával nem kombinálható.
6.3.8. Nem építhető kölcsönösen egymásba egy másik lámpával.
6.3.9. Elektromos kapcsolás Az irányjelző lámpáknak más lámpáktól függetlenül kell kapcsolódniuk. A jármű azonos oldalán lévő összes irányjelző lámpa ki- és bekapcsolásának ugyanazzal a kapcsolóval kell történnie.
6.3.10. Működés-visszajelző: választható. Ez lehet optikai vagy akusztikus, vagy mindkettő. Ha optikai, akkor minden normál vezetési testtartásból látható zöld villogó fénynek kell lennie. Ennek az egyik irányjelző lámpa üzemzavara esetén ki kell aludnia, vagy villogás nélkül kell folyamatosan égnie, vagy a villogás gyakoriságának kell egyértelműen változnia. Ha a visszajelző akusztikusan működik, akkor ennek jól hallhatónak kell lennie, és az optikai működés-visszajelzővel megegyező működési tulajdonságokat kell mutatnia.
6.3.11. Egyéb követelmény
A következő jellemzők mérése során az áramfejlesztő generátor csak a motor és a világítóberendezések működtetéséhez szükséges áramköröket táplálhatja.
6.3.11.1. A villogó jelzés bekapcsolását követően a lámpáknak legfeljebb egy másodperc múlva fel kell gyulladniuk, majd ezt az első lámpa kialvásának legfeljebb másfél másodperc múlva kell követnie.
6.3.11.2. Minden olyan járműnél, amelynek irányjelző lámpái egyenárammal működnek:
6.3.11.2.1. a villogási frekvenciának percenként 90 ± 30-nak kell lennie;
6.3.11.2.2. a jármű azonos oldalán lévő irányjelző lámpáknak azonos fázisban és frekvenciával kell villogniuk.
6.3.11.3. Minden olyan járműre, amelynek irányjelző lámpái váltóárammal működnek - ha a motor fordulatszáma a maximális sebességhez tartozó fordulatszám 50 és 100 %-a között van -, a következők vonatkoznak:
6.3.11.3.1. a villogási frekvenciának percenként 90 ± 30-nak kell lennie;
6.3.11.3.2. a jármű azonos oldalán lévő irányjelző lámpák villoghatnak egyidejűleg vagy váltakozva. Az 1. függelékben meghatározott zónákban az első lámpák nem látszódhatnak hátulról, a hátsó lámpák pedig elölről.
6.3.11.4. Minden olyan járműre, amelynek irányjelző lámpái váltóárammal működnek - ha a motor fordulatszáma a gyártó által megadott üresjárati fordulatszám és a maximális sebességhez tartozó fordulatszám 50 %-a között van -, a következők vonatkoznak:
6.3.11.4.1. a villogási frekvenciának a 90 + 30 és a 90 - 45 per perc tartományban kell lennie;
6.3.11.4.2. a jármű azonos oldalán lévő irányjelző lámpák villoghatnak egyidejűleg vagy váltakozva. Az 1. függelékben meghatározott zónákban az első lámpák nem látszódhatnak hátulról, a hátsó lámpák pedig elölről.
6.3.11.5. Az egyik irányjelző lámpa - nem rövidzárlatból eredő - üzemzavara esetén a többi lámpának tovább kell villognia, illetve folyamatosan világítania, azonban az előbbi esetben a villogási frekvencia eltérhet az előírt frekvenciától.
6.4. Féklámpák
6.4.1. Száma: egy vagy kettő.
6.4.2. Elrendezési vázlat: nincs különleges előírás.
6.4.3. Elhelyezés
6.4.3.1. Szélességben: A vonatkozási pontnak a jármű hosszanti középsíkjában kell lennie, ha csak egy féklámpa van, két féklámpa esetén ezek vonatkozási pontjainak a jármű hosszanti középsíkjára szimmetrikusan kell elhelyezkedniük.
6.4.3.2. Magasságban: legalább 250 mm és legfeljebb 1 500 mm a talajszint felett.
6.4.3.3. Hosszirányban: a jármű hátulján.
6.4.4. Geometriai láthatóság
Vízszintes szög: 45° balra és jobbra.
Függőleges szög: a vízszintestől 15° felfelé és lefelé.
A vízszintes alatti függőleges szög azonban 5°-ra csökkenthető, ha a féklámpa 750 mm-nél kisebb magasságban van elhelyezve.
6.4.5. Irányítás: hátrafelé.
6.4.6. Csoportosítható egy vagy több hátsó lámpával.
6.4.7. Más lámpával nem kombinálható.
6.4.8. Kölcsönösen egymásba építhető a hátsó helyzetjelző lámpával.
6.4. 9 Elektromos kapcsolás: fel kell gyulladnia, ha legalább az egyik üzemi féket működtetik.
6.4.10. Bekapcsolás-visszajelző lámpa: nem megengedett.
6.5. Első helyzetjelző lámpák
6.5.1. Száma: egy vagy kettő.
6.5.2. Elrendezési vázlat: nincs különleges előírás.
6.5.3. Elhelyezés
6.5.3.1. Szélességben:
- egy független első helyzetjelző lámpa felszerelhető egy másik első lámpa fölé, alá vagy mellé. Amennyiben ezek a lámpák egymás fölött vannak, akkor az első helyzetjelző lámpa vonatkozási pontjának a jármű hosszanti középsíkjában kell lennie, ha pedig egymás mellett, akkor vonatkozási pontjaiknak a jármű hosszanti középsíkjával szimmetrikusan kell elhelyezkedniük,
- egy másik első lámpával kölcsönösen egymásba épített első helyzetjelző lámpát úgy kell felszerelni, hogy vonatkozási pontjának a jármű hosszanti középsíkjában kell lennie,
- két első helyzetjelző lámpát, amelyek közül az egyik vagy mindkettő egy másik első lámpával van kölcsönösen egymásba építve, úgy kell elhelyezni, hogy vonatkozási pontjaik a jármű hosszanti középsíkjára szimmetrikusan helyezkedjenek el.
6.5.3.2. Magasságban: legalább 350 mm és legfeljebb 1 200 mm a talaj felett.
6.5.3.3. Hosszirányban: a jármű elején.
6.5.4. Geometriai láthatóság
Vízszintes szög: 80° jobbra és balra egyetlen első helyzetjelző lámpa; 80° kifelé és 45° befelé két első helyzetjelző lámpa esetén.
Függőleges szög: a vízszintestől 15° felfelé és lefelé. A vízszintes alatti függőleges szög azonban 5°-ra csökkenthető, ha a lámpa 750 mm-nél kisebb magasságban van elhelyezve.
6.5.5. Irányítás: előre.
Elfordulhatnak a kormányzási szöggel együtt.
6.5.6. Csoportosítható minden más első lámpával.
6.5.7. Kölcsönösen egymásba építhető minden más első lámpával.
6.5.8. Elektromos kapcsolás: nincs különleges előírás.
6.5.9. Bekapcsolás-visszajelző lámpa: választható.
Zöld színű, nem villogó visszajelző lámpa.
6.5.10. Egyéb követelmény: nincs.
6.6. Hátsó helyzetjelző lámpák
6.6.1. Száma: egy vagy kettő.
6.6.2. Felszerelési vázlat: nincs különleges előírás.
6.6.3. Elhepyezés
6.6.3.1. Szélességben: a vonatkozási pontnak egyetlen hátsó helyzetjelző lámpa esetén a jármű hosszanti középsíkjában kell lennie, két hátsó helyzetjelző lámpa esetén pedig ezek vonatkozási pontjainak a jármű hosszanti középsíkjára szimmetrikusan kell elhelyezkedniük.
6.6.3.2. Magasságban: legalább 250 mm és legfeljebb 1 500 mm a talajszint felett.
6.6.3.3. Hosszirányban: a jármű hátulján.
6.6.4. Geometriai láthatóság
Vízszintes szög: 80° balra és jobbra egyetlen hátsó helyzetjelző lámpa, 80° kifelé és 45° befelé két hátsó helyzetjelző lámpa esetén.
Függőleges szög: a vízszintestől 15° felfelé és lefelé.
A vízszintes alatti függőleges szög azonban 5°-ra csökkenthető, ha a lámpa 750 mm-nél kisebb magasságban van elhelyezve.
6.6.5. Irányítás: hátrafelé.
6.6.6. Csoportosítható minden más hátsó lámpával.
6.6.7. Kölcsönösen egymásba építhető a féklámpával vagy a hátsó nem háromszögű fényvisszaverővel vagy mindkettővel.
6.6.8. Elektromos kapcsolás: nincs különleges előírás.
6.6.9. Bekapcsolás-visszajelző lámpa: választható. Ezt a funkciót esetleg az első helyzetjelzőkhöz való berendezés is betöltheti.
6.6.10. Egyéb követelmény: nincs.
6.7. Oldalsó nem háromszögű fényvisszaverők
6.7.1. Száma oldalanként: egy vagy kettő IA osztályú ( 6 ).
6.7.2. Elrendezési vázlat: nincs különleges előírás.
6.7.3. Elhelyezés
6.7.3.1. Szélességben: nincs különleges előírás.
6.7.3.2. Magasságban: legalább 300 mm és legfeljebb 900 mm a talajszint felett.
6.7.3.3. Hosszirányban: a fényvisszaverőt normál körülmények között ne takarja el se a vezető, se utasa, és ezek ruházata sem.
6.7.4. Geometriai láthatóság
Vízszintes szög: 30° előre és hátra.
Függőleges szög: a vízszintestől 15° felfelé és lefelé. A vízszintes alatti függőleges szög azonban 5°-ra csökkenthető, ha az irányjelző lámpa 750 mm-nél kisebb magasságban van elhelyezve.
6.7.5. Beállítás: a fényvisszaverők referenciatengelyének merőlegesnek kell lennie a jármű hosszanti középsíkjára, és kifelé kell nézniük. Az elöl elhelyezett fényvisszaverők a kormányelfordulás szögével egyezően fordulhatnak el.
6.7.6. Csoportosítható más fényjelző berendezésekkel.
6.8. Hátsó nem háromszögű fényvisszaverő
6.8.1. Száma: egy, IA osztályú (6) .
6.8.2. Elrendezési vázlat: nincs különleges előírás.
6.8.3. Elhelyezés
6.8.3.1. Szélességben: a vonatkozási pontnak a jármű hosszanti középsíkjában kell lennie.
6.8.3.2. Magasságban: legalább 250 mm és legfeljebb 900 mm a talajszint felett.
6.8.3.3. Hosszirányban: a jármű hátulján.
6.8.4. Geometriai láthatóság
Vízszintes szög: 30° balra és jobbra.
Függőleges szög: a vízszintestől 15° felfelé és lefelé.
A vízszintes alatti függőleges szög azonban 5°-ra csökkenthető, ha a fényvisszaverő lámpa 750 mm-nél kisebb magasságban van elhelyezve.
6.8.5. Irányítás: hátrafelé.
6.8.6. Csoportosítható minden más lámpával.
6.8.7. Egyéb követelmény: a fényvisszaverő világítófelületének lehetnek más, piros fényű hátsó lámpákkal közös részei.
6.9. Pedál-fényvisszaverők
6.9.1. A kétkerekű kismotorkerékpár mindegyik pedálját két pedál-fényvisszaverővel kell felszerelni.
6.9.2. Felszerelési vázlat: nincs különleges előírás.
6.9. 3 Egyéb követelmény A fényvisszaverő világítófelületének saját keretébe süllyesztettnek kell lennie. A fényvisszaverőket úgy kell a pedáltestbe beépíteni, hogy előre, illetve hátrafelé egyaránt jól láthatók legyenek. A fényvisszaverők vonatkozási tengelyének a pedál tengelyére merőlegesnek kell lennie és alakjuknak a pedál taposójához kell igazodniuk. Pedál-fényvisszaverőket csak olyan járműpedálokra szükséges felszerelni, amelyek a motor helyett a jármű hajtására szolgálhatnak, nem kell felszerelni olyan pedálokra, amelyek a jármű kezelésére, illetve csupán lábtartóul szolgálnak a vezető, illetve az utas számára.
6.10. Első nem háromszög alakú fényvisszaverő
6.10.1. Száma: egy, IA osztályú (6) .
6.10.2. Elrendezési vázlat: nincs különleges előírás.
6.10.3. Elhelyezés
6.10.3.1. Szélességben: a vonatkozási pontnak a jármű hosszanti középsíkjában kell lennie.
6.10.3.2. Magasságban: legalább 400 mm és legfeljebb 1 200 mm a talajszint felett.
6.10.3.3. Hosszirányban: a jármű elején.
6.10.4. Geometriai láthatóság
Vízszintes szög: 30° balra és jobbra.
Függőleges szög: a vízszintestől 15° felfelé és lefelé.
A vízszintes alatti függőleges szög azonban 5°-ra csökkenthető, ha fényvisszaverő 750 mm-nél kisebb magasságban van elhelyezve.
6.10.5. Irányítás: előre. A fényvisszaverő elfordulhat a kormányzási szöggel együtt.
6.10.6. Csoportosítható egy vagy több lámpával.
6.10.7. Egyéb követelmény: nincs.
6.11. Hátsó rendszámtáblát megvilágító lámpa
SZÖVEG HIÁNYZIK |

Kép #1
1. függelék
A piros színű lámpák elölről és a fehér lámpák hátulról való láthatósága
(Lásd az 1. melléklet B. 9. pontját és ezen melléklet 6.3.11.4.2. pontját)

1. ábra

2. ábra
2. függelék
Elrendezési vázlat

3. függelék
Világító- és fényjelző berendezések adott típusú kétkerekű kismotorkerékpárra történő felszerelésére vonatkozó információs adatlap
(Az alkatrész-típusjóváhagyási kérelemhez csatolandó, amennyiben ezt a jármű típus-jóváhagyási kérelmétől függetlenül nyújtják be)

4. függelék

III. MELLÉKLET
HÁROMKEREKŰ ROBOGÓKRA ÉS KÖNNYŰ NÉGYKEREKŰ MOTORKERÉKPÁROKRA VONATKOZÓ KÖVETELMÉNYEK
1. A háromkerekű robogókat a következő világító- és fényjelző berendezésekkel kell felszerelni:
1.1. tompított fényszóró;
1.2. első helyzetjelző lámpa;
1.3. hátsó helyzetjelző lámpa;
1.4. hátsó nem háromszögű fényvisszaverő;
1.5. pedál-fényvisszaverő, amennyiben a kétkerekű robogó pedállal van ellátva;
1.6. féklámpa;
1.7. irányjelző lámpák zárt felépítményű háromkerekű robogókra.
2. Ezenkívül a háromkerekű robogó felszerelhető a következő világító- és fényjelző berendezésekkel:
2.1. távolsági fényszóró;
2.2. irányjelző lámpa zárt felépítmény nélküli háromkerekű robogókhoz;
2.3. hátsó rendszámtáblát megvilágító lámpa;
2.4. oldalsó nem háromszögű fényvisszaverő;
2.5. ködfényszóró;
2.6. hátsó ködlámpa;
2.7. hátrameneti lámpa;
2.8. elakadásjelző.
3. Az 1. és 2. pontban felsorolt világító- és fényjelző berendezést a következő 6. pont idevágó rendelkezéseinek megfelelően kell felszerelni.
4. Az 1. és 2. pontban felsoroltakon kívül más világító- és fényjelző berendezés felszerelése nem megengedett.
5. Az 1. és 2. szakaszban említett és a motorkerékpárokra a 97/24/EK irányelv alapján típusjóváhagyott, vagy az M1 és N1 kategóriájú járművekhez a vonatkozó 76/757/EGK, 76/758/EGK, 76/759/EGK, 76/760/EGK, 76/761/EGK, 76/762/EGK, 77/538/EGK vagy 77/539/EGK irányelv alapján típusjóváhagyott világító és fényjelző berendezések használatát háromkerekű és négykerekű segédmotoros kerékpárokon is meg kell engedni.
6. KÜLÖNLEGES FELSZERELÉSI KÖVETELMÉNYEK
6.1. Távolsági fényszórók
6.1.1. Száma: egy vagy kettő.
Olyan háromkerekű robogóknál azonban, amelyek legnagyobb szélessége az 1 300 mm-t meghaladja, két távolsági fényszóró kötelező.
6.1.2. Elrendezési vázlat: nincs különleges előírás.
6.1.3. Elhelyezés
6.1.3.1. Szélességben:
- egy független távolsági fényszóró felszerelhető egy másik első lámpa fölé, alá vagy mellé. Amennyiben ezek a lámpák egymás felett vannak, akkor a távolsági fényszóró vonatkozási pontjának a jármű hosszanti középsíkjában kell lennie, ha pedig egymás mellett, akkor vonatkozási pontjaiknak a jármű hosszanti középsíkjára szimmetrikusan kell elhelyezkedniük,
- egy másik első lámpával kölcsönösen egymásba épített távolsági fényszórót úgy kell felszerelni, hogy vonatkozási pontja a jármű hosszanti középsíkjában legyen. Ha azonban a jármű, a távolsági fényszóró mellett elhelyezett független tompított fényszóróval is fel van szerelve, ezek vonatkozási pontjainak a jármű hosszanti középsíkjára szimmetrikusan kell elhelyezkedniük,
- két távolsági fényszórót, amelyek közül az egyik vagy mindkettő egy másik első lámpával van egymásba építve, úgy kell felszerelni, hogy vonatkozási pontjaik a jármű hosszanti középsíkjára szimmetrikusan helyezkedjenek el.
6.1.3.2. Hosszirányban: a jármű elején. Ez az előírás akkor teljesül, ha a jármű vezetőjét a kisugárzott fény nem zavarja sem közvetlenül, sem közvetetten a visszapillantó tükörből, illetve a jármű egyéb visszaverő felületén tükröződve.
6.1.3.3. Egy független távolsági fényszóró esetén a világítófelület széle és a tompított fényszóró világítófelületének széle közötti távolság fényszórópáronként nem lehet nagyobb, mint 200 mm.
6.1.4. Geometriai láthatóság A világítófelület láthatóságát biztosítani kell egy olyan tartományon belül, amelyet a világítófelület kontúrvonalából kiinduló és a fényszóró vonatkozási tengelyével legalább 5°-os szöget képező alkotók határolnak, még azokban a zónákban is, amelyek a szóban forgó megfigyelési irányban nem tűnnek megvilágítottnak. A geometriai láthatósági szög csúcspontjának a világítófelületnek a távolsági fényszóró lencséjének homokfelületét érintő keresztirányú síkon vett vetületeit kell tekinteni.
6.1.5. Irányítás: előre. Elfordulhat a kormányzási szöggel együtt.
6.1.6. Csoportosítható a tompított fényszóróval és az első helyzetjelző lámpával.
6.1.7. Más lámpával nem kombinálható.
6.1.8. Kölcsönösen egymásba építhető a következő lámpákkal:
6.1.8.1. tompított fényszóró;
6.1.8.2. első helyzetjelző lámpa.
6.1.9. Elektromos kapcsolás A távolsági fényszórók csak egyidejűleg bekapcsolhatók lehetnek. A tompítottról távolsági fényre történő átváltásnál az összes távolsági fényszórónak világítania kell. A távolsági fényről tompítottra történő átváltásnál az összes távolsági fényszórónak egyszerre kell kikapcsolódnia. A tompított fényszórók távolsági fényszórókkal együtt is égve maradhatnak.
6.1.10. Bekapcsolás-visszajelző lámpa: kötelező. Kék színű, nem villogó visszajelző lámpa.
6.2. Tompított fényszórók
6.2.1. Száma: egy vagy kettő.
Olyan háromkerekű kismotorkerékpár esetén azonban, amelynek legnagyobb szélessége meghaladja az 1 300 mm-t, két tompított fényszóró az előírás.
6.2.2. Elrendezési vázlat: nincs különleges előírás.
6.2.3. Elhelyezés
6.2.3.1. Szélességben:
- egy független tompított fényszóró felszerelhető egy másik első lámpa fölé, alá vagy mellé. Amennyiben ezek a lámpák egymás fölött vannak, akkor a tompított fényszóró vonatkozási pontjának a jármű hosszanti középsíkjában kell lennie, ha pedig egymás mellett van, akkor vonatkozási pontjaiknak a jármű hosszanti középsíkjára szimmetrikusan kell elhelyezkedniük,
- egy másik első lámpával kölcsönösen egymásba épített tompított fényszórót úgy kell felszerelni, hogy vonatkozási pontja a jármű hosszanti középsíkjában legyen. Ha azonban a jármű el van látva egy független távolsági fényszóróval is, amely a tompított fényszóró mellett van elhelyezve, akkor vonatkozási pontjaiknak a jármű hosszanti középsíkjára szimmetrikusan kell elhelyezkedniük,
- két tompított fényszórót, amelyek közül az egyik vagy mindkettő egy másik első lámpával van kölcsönösen egymásba építve, úgy kell felszerelni, hogy vonatkozási pontjaik a jármű hosszanti középsíkjára szimmetrikusan helyezkedjenek el.
Két tompított fényszóróval ellátott jármű esetén:
- a világítófelületnek a jármű hosszanti középsíkjától legtávolabbi szélei legfeljebb 400 mm-re lehetnek a szélességében legkülső ponttól,
- a világítófelület belső széleinek egymástól való távolsága legalább 500 mm.
Ez a távolság 400 mm-re csökkenthető, ha a jármű legnagyobb szélessége 1 300 mm-nél kevesebb.
6.2.3.2. Magasságban: a talaj felett legalább 500 mm és legfeljebb 1 200 mm-re.
6.2.3.3. Hosszirányban: a jármű elején. Ez az előírás akkor teljesül, ha a jármű vezetőjét a kisugárzott fény nem zavarja sem közvetlenül, sem közvetetten a visszapillantó tükörből, illetve a jármű egyéb visszaverő felületen tükröződve.
6.2.4. Geometriai láthatóság
Ezt az I. melléklet A. 10. pontjában megadott α és β szögek határozzák meg:
α = 15° felfelé és 10° lefelé;
β
=
45° balra és jobbra egyetlen tompított fényszóró esetén;
45° kifelé és 10° befelé két tompított fényszóró esetén.
6.2.5. Irányítás: előre. Elfordulhat a kormányzási szöggel együtt.
6.2.6. Csoportosítható a távolsági fényszóróval és az első helyzetjelző lámpával.
6.2.7. Más lámpával nem kombinálható.
6.2.8. Kölcsönösen egymásba építhető a távolsági fényszóróval és az első helyzetjelző lámpával.
6.2.9. Elektromos kapcsolás A tompított fényre történő átkapcsoláskor a távolsági fénynek egyidejűleg ki kell aludnia, míg a tompított fény a távolsági fénnyel együtt bekapcsolva maradhat.
6.2.10. Bekapcsolás-visszajelző lámpa: választható. Zöld színű nem villogó visszajelző lámpa.
6.2.11. Egyéb követelmény: nincs.
6.3. Irányjelző lámpák
6.3.1. Száma: oldalanként kettő.
6.3.2. Elrendezési vázlat: két irányjelző lámpa elöl és két irányjelző lámpa hátul.
6.3.3. Elhelyezés
6.3.3.1. Szélességben:
- a világítófelületnek a jármű hosszanti középsíkjától legtávolabbi szélei legfeljebb 400 mm-re lehetnek a jármű legkülső pontjától,
- a világítófelületek belső széleinek egymástól vett távolsága legalább 500 mm,
- az irányjelző lámpa és a hozzá legközelebbi tompított fényszóró közötti legkisebb távolság:
-
- 75 mm, ha az irányjelző minimális fényereje 90 cd,
- 40 mm, ha az irányjelző minimális fényereje 175 cd,
- 20 mm, ha az irányjelző minimális fényereje 250 cd,
- ≤ 20 mm, ha az irányjelző minimális fényereje 400 cd.
6.3.3.2. Magasságban: legalább 350 mm és legfeljebb 1 500 mm a talajszint felett.
6.3.4. Geometriai láthatóság
Vízszintes szög: lásd 2. függelék.
Függőleges szög: a vízszintestől 15° felfelé és lefelé.
A vízszintes alatti függőleges szög azonban 5°-ra csökkenthető, ha a lámpák 750 mm-nél kisebb magasságban vannak elhelyezve.
6.3.5. Irányítás Az első irányjelző lámpák elfordulhatnak a kormányzási szöggel együtt.
6.3.6. Egy vagy több lámpával csoportosítható.
6.3.7. Más lámpával nem kombinálható.
6.3.8. Nem építhető kölcsönösen egymásba másik lámpával.
6.3.9. Elektromos kapcsolás Az irányjelző lámpáknak más lámpáktól függetlenül kell kapcsolódniuk. A jármű azonos oldalán lévő összes irányjelző lámpa ki- és bekapcsolásának ugyanazzal a kapcsolóval kell történnie.
6.3.10. Működés-visszajelző lámpa: választható. Ez lehet optikai, vagy akusztikus, vagy mindkettő. Ha optikai, akkor minden normál vezetési testtartásból látható zöld villogó fénynek kell lennie. Ennek az egyik irányjelző lámpa üzemzavara esetén ki kell aludnia, vagy villogás nélkül kell folyamatosan égnie, vagy a villogás gyakoriságának kell egyértelműen változni. Ha a visszajelző akusztikusan működik, akkor ennek jól hallhatónak kell lennie, és az optikai működés-visszajelzővel megegyező működési tulajdonságokat kell mutatnia.
6.3.11. Egyéb követelmény
A következő jellemzők mérése során az áramfejlesztő generátor csak a motor és a világítókészülékek működtetéséhez szükséges áramköröket táplálhatja.
6.3.11.1. A villogó jelzés bekapcsolását követően a lámpáknak legfeljebb egy másodperc múlva fel kell gyulladniuk, majd ezt az első lámpa kialvásának legfeljebb másfél másodperc múlva kell követnie.
6.3.11.2. Minden olyan járműnél, amelynek irányjelző lámpái egyenárammal működnek:
6.3.11.2.1. A villogási frekvenciának percenként 90 ± 30-nak kell lennie.
6.3.11.2.2. A jármű azonos oldalán lévő irányjelző lámpáknak azonos fázisban és frekvenciával kell villogniuk.
6.3.11.3. Minden olyan járműre, amelynek irányjelző lámpái váltóárammal működnek - ha a motor fordulatszáma a maximális sebességhez tartozó fordulatszám 50 és 100 %-a között van -, a következők vonatkoznak:
6.3.11.3.1. A villogási frekvenciának percenként 90 ± 30-nak kell lennie.
6.3.11.3.2. A jármű azonos oldalán lévő irányjelző lámpák villoghatnak egyidejűleg vagy váltakozva. Az 1. függelékben meghatározott zónákon belül az első lámpák nem látszódhatnak hátulról, a hátsó lámpák pedig elölről.
6.3.11.4. Minden olyan járműre, amelynek irányjelző lámpái váltóárammal működnek - ha a motor fordulatszáma a gyártó által megadott üresjárati fordulatszám és a maximális sebességhez tartozó fordulatszám 50 %-a között van -, a következők vonatkoznak:
6.3.11.4.1. A villogási frekvenciának a 90 + 30 és a 90 - 45 per perc tartományban kell lennie.
6.3.11.4.2. A jármű azonos oldalán lévő irányjelző lámpák villoghatnak egyidejűleg vagy váltakozva. Az 1. függelékben meghatározott zónákban az első lámpák nem látszódhatnak hátulról, a hátsó lámpák pedig elölről.
6.3.11.5. Az egyik irányjelző lámpa - nem rövidzárlatból eredő - üzemzavara esetén a többi lámpának tovább kell villognia, illetve folyamatosan világítania, azonban a villogási frekvencia eltérhet az előírt frekvenciától.
6.4. Féklámpák
6.4.1. Száma: egy vagy kettő. 1 300 mm teljes szélesség feletti háromkerekű robogóknál azonban két féklámpa van előírva.
6.4.2. Elrendezési vázlat: nincs különleges előírás.
6.4.3. Elhelyezés
6.4.3.1. Szélességben: A vonatkozási pontnak a jármű hosszanti középsíkjában kell lennie, ha csak egy féklámpa van, két féklámpa esetén ezek vonatkozási pontjainak a jármű hosszanti középsíkjára szimmetrikusan kell elhelyezkedniük. Két hátsó kerékkel rendelkező járművek esetén a két lámpa közötti távolságnak legalább 600 mm-nek kell lennie. Ez a távolság 400 mm-re csökkenthető, ha a jármű legnagyobb szélessége kevesebb, mint 1 300 mm.
6.4.3.2. Magasságban: legalább 250 mm és legfeljebb 1 500 mm a talajszint felett.
6.4.3.3. Hosszirányban: a jármű hátulján.
6.4.4. Geometriai láthatóság
Vízszintes szög: 45° balra és jobbra.
Függőleges szög: a vízszintestől 15° felfelé és lefelé.
A vízszintes alatti függőleges szög azonban 5°-ra csökkenthető, ha az irányjelző lámpa 750 mm-nél kisebb magasságban van elhelyezve.
6.4.5. Irányítás: hátrafelé.
6.4.6. Csoportosítható egy vagy több hátsó lámpával.
6.4.7. Más lámpával nem kombinálható.
6.4.8. Kölcsönösen egymásba építhető a hátsó helyzetjelző lámpával.
6.4. 9 Elektromos kapcsolás: fel kell gyulladnia, ha legalább az egyik üzemi féket működtetik.
6.4.10. Bekapcsolás-visszajelző lámpa: nem megengedett.
6.5. Első helyzetjelző lámpák
6.5.1. Száma: egy vagy kettő.
1 300 mm teljes szélesség feletti háromkerekű robogóknál azonban két első helyzetjelző lámpa van előírva.
6.5.2. Elrendezési vázlat: nincs különleges előírás.
6.5.3. Elhelyezés
6.5.3.1. Szélességben:
- egy független első helyzetjelző lámpa felszerelhető egy másik első lámpa fölé, alá vagy mellé. Amennyiben ezek a lámpák egymás fölött vannak, akkor az első helyzetjelző lámpa vonatkozási pontjának a jármű hosszanti középsíkjában kell lennie, ha pedig egymás mellett vannak, akkor vonatkozási pontjaiknak a jármű hosszanti középsíkjára szimmetrikusan kell elhelyezkedniük,
- másik első lámpával kölcsönösen egymásba épített egyetlen hátsó helyzetjelző lámpát úgy kell felszerelni, hogy vonatkozási pontja a jármű hosszanti középsíkjában helyezkedjen el,
- két első helyzetjelző lámpát, amelyek közül az egyik vagy mindkettő egy másik első lámpával van kölcsönösen egymásba építve, úgy kell elhelyezni, hogy vonatkozási pontjaik a jármű hosszanti középsíkjára szimmetrikusan helyezkedjenek el.
Két első helyzetjelző lámpával ellátott jármű esetén:
- a világítófelület a jármű hosszanti középsíkjától legtávolabbi széle legfeljebb 400 mm-re lehet a járműszélesség legkülső pontjától,
- a világító felületek belső széleinek egymástól legalább 500 mm-re kell lenniük. E távolság 400 mm-re csökkenthető, ha a jármű legnagyobb szélessége 1 300 mm-nél kisebb.
6.5.3.2. Magasságban: legalább 350 mm és legfeljebb 1 200 mm a talaj felett.
6.5.3.3. Hosszirányban: a jármű elején.
6.5.4. Geometriai láthatóság
Vízszintes szög: 80° jobbra és balra egyetlen első helyzetjelző lámpa esetén; 80° kifelé és 45° befelé két első helyzetjelző lámpa esetén.
Függőleges szög: a vízszintestől 15° felfelé és lefelé. A vízszintes alatti függőleges szög azonban 5°-ra csökkenthető, ha az irányjelző lámpa 750 mm-nél kisebb magasságban van elhelyezve.
6.5.5. Irányítás: előre.
Elfordulhat a kormányzási szöggel együtt.
6.5.6. Csoportosítható minden egyéb első lámpával.
6.5.7. Kölcsönösen egymásba építhető minden más első lámpával.
6.5.8. Elektromos kapcsolás: nincs különleges előírás.
6.5.9. Bekapcsolás-visszajelző lámpa: választható.
Zöld színű, nem villogó visszajelző lámpa.
6.5.10. Egyéb követelmény: nincs.
6.6. Hátsó helyzetjelző lámpák
6.6.1. Száma: egy vagy kettő.
1 300 mm teljes szélesség feletti háromkerekű robogóknál azonban két hátsó helyzetjelző lámpa van előírva.
6.6.2. Elrendezési vázlat: nincs különleges előírás.
6.6.3. Elhelyezés
6.6.3.1. Szélességben: A vonatkozási pontnak egyetlen hátsó helyzetjelző lámpa esetén a jármű hosszanti középsíkjában kell lennie, két hátsó helyzetjelző lámpa esetén pedig ezek vonatkozási pontjainak a jármű hosszanti középsíkjára szimmetrikusan kell elhelyezkedniük. Két hátsó kerékkel rendelkező járművek esetén: a két lámpa közötti távolságnak legalább 600 mm-nek kell lennie. Ez a távolság 400 mm-re csökkenthető, ha a jármű legnagyobb szélessége kevesebb, mint 1 300 mm.
6.6.3.2. Magasságban: legalább 250 mm és legfeljebb 1 500 mm a talajszint felett.
6.6.3.3. Hosszirányban: a jármű hátulján.
6.6.4. Geometriai láthatóság
Vízszintes szög: 80° balra és jobbra egyetlen hátsó helyzetjelző lámpa esetén; 80° kifelé és 45° befelé két hátsó helyzetjelző lámpa esetén.
Függőleges szög: a vízszintestől 15° felfelé és lefelé. A vízszintes alatti függőleges szög azonban 5°-ra csökkenthető, ha az irányjelző lámpa 750 mm-nél kisebb magasságban van elhelyezve.
6.6.5. Irányítás: hátrafelé.
6.6.6. Csoportosítható minden más hátsó lámpával.
6.6.7. Kölcsönösen egymásba építhető a féklámpával vagy a hátsó nem háromszögű fényvisszaverővel vagy mindkettővel.
6.6.8. Elektromos kapcsolás: nincs különleges előírás.
6.6.9. Bekapcsolás-visszajelző lámpa: választható.
Ezt a funkciót esetleg az első helyzetjelző lámpákhoz alkalmazott berendezés is elláthatja.
6.6.10. Egyéb követelmény: nincs.
6.7. Hátsó nem háromszög alakú fényvisszaverő
6.7.1. Száma: gy vagy kettő, IA osztályú ( 7 ).
1 000 mm teljes szélesség feletti háromkerekű robogóknál azonban két hátsó nem háromszög alakú fényvisszaverő van előírva.
6.7.2. Elrendezési vázlat: nincs különleges előírás.
6.7.3. Elhelyezés
6.7.3.1. Szélességben: a vonatkozási pontnak a jármű hosszanti középsíkjában kell lennie, ha csak egy fényvisszaverő van. Két fényvisszaverő esetén ezek vonatkozási pontjainak a jármű hosszanti középsíkjára szimmetrikusan kell elhelyezkedniük.
Két hátsó fényvisszaverővel ellátott jármű esetén:
- a világítófelületnek a jármű hosszanti középsíkjától legtávolabb eső pontja legfeljebb 400 mm-re lehet a jármű szélességének legkülső pontjától,
- a fényvisszaverők belső széleinek egymástól vett távolsága legalább 500 mm. Ez a távolság 400 mm-re csökkenthető, ha a jármű legnagyobb szélessége 1 300 mm-nél kevesebb.
6.7.3.2. Magasságban: legalább 250 mm és legfeljebb 900 mm a talajszint felett.
6.7.3.3. Hosszirányban: a jármű hátulján.
6.7.4. Geometriai láthatóság
Vízszintes szög: 30° balra és jobbra.
Függőleges szög: a vízszintestől 15° felfelé és lefelé.
A vízszintes alatti függőleges szög azonban 5°-ra csökkenthető, ha a fényvisszaverő 750 mm-nél kisebb magasságban van elhelyezve.
6.7.5. Irányítás: hátrafelé.
6.7.6. Csoportosítható minden más lámpával.
6.7.7. Egyéb követelmény: a fényvisszaverő világítófelületének lehetnek más hátsó lámpákkal közös részei.
6.8. Pedál-fényvisszaverők
A háromkerekű robogó mindegyik pedálját két pedál-fényvisszaverővel kell felszerelni. Ezeket úgy kell felszerelni, hogy működő felületük a pedálon kívül és a pedál taposó-felületére merőlegesen álljon, optikai tengelyük pedig a jármű hosszanti középsíkjával párhuzamos legyen.
6.8.1. Száma: négy fényvisszaverő, illetve fényvisszaverő-csoport.
6.8.2. Elrendezési vázlat: nincs különleges előírás.
6.8.3. Egyéb követelmény A fényvisszaverő világítófelületének a keretébe süllyesztettnek kell lennie. A fényvisszaverőket úgy kell beépíteni a pedáltestbe, hogy előre, illetve hátrafelé egyaránt jól láthatók legyenek, és alakjukat a pedál alakjához kell igazítani. A fényvisszaverők vonatkozási tengelyének a pedáltengelyre merőlegesnek kell lennie. Pedál-fényvisszaverőket csak olyan járműpedálokra kell felszerelni, amelyek hajtókarként vagy hasonló eszközként, motor helyett a jármű hajtására szolgálnak. Nem kell felszerelni olyan pedálokra, amelyek a jármű kezelésére, illetve csupán lábtartóul szolgálnak a vezető, illetve az utas számára.
6.9. Oldalsó nem háromszögű fényvisszaverők
6.9.1. Száma oldalanként: egy vagy kettő, IA osztályú (7) .
6.9.2. Felszerelési vázlat: nincs különleges előírás.
6.9. 3 Elhelyezés
6.9.3.1. Szélességben: nincs különleges előírás.
6.9.3.2. Magasságban: legalább 300 mm és legfeljebb 900 mm a talajszint felett.
6.9.3.3. Hosszirányban: olyan legyen, hogy a fényvisszaverőt normál körülmények között ne takarja el se a vezető, se utasa, és ezek ruházata sem.
6.9.4. Geometriai láthatóság
Vízszintes szög: 30° előre és hátra.
Függőleges szög: a vízszintestől 15° felfelé és lefelé.
A vízszintes alatti függőleges szög azonban 5°-ra csökkenthető, ha a lámpa 750 mm-nél kisebb magasságban van elhelyezve.
6.9.5. Irányítás: a fényvisszaverők vonatkozási tengelyeinek a jármű hosszanti középsíkjára merőlegesnek kell lenniük és kifelé kell irányulniuk. Az első fényvisszaverők a kormányzási szöggel együtt is elfordulhatnak.
6.9.6. Csoportosítható más fényjelző berendezésekkel.
6.10. Hátsó rendszámtáblát megvilágító lámpa
SZÖVEG HIÁNYZIK |

Kép #2
6.11. Ködfényszórók
6.11.1. A követelmények azonosak a VI. melléklet 6.7.1-6.7.11. tételében meghatározottakkal.
6.12. Hátsó ködlámpák
6.12.1. A követelmények azonosak a VI. melléklet 6.8.1-6.8.11. tételében meghatározottakkal.
6.13. Hátrameneti lámpák
6.13.1. A követelmények azonosak a VI. melléklet 6.9.1-6.9.10. tételében meghatározottakkal.
6.14. Elakadásjelző
6.14.1. A rendelkezések azonosak a VI. melléklet 6.10.1-6.10.4. tételében meghatározottakkal.
1. függelék
A piros lámpák elölről és a fehér lámpák hátulról való láthatósága
(Lásd az 1. melléklet B. 9. pontját és ezen melléklet 6.3.11.4.2. pontját)

1. ábra

2. ábra
2. függelék
Elrendezési vázlat
Irányjelző lámpa - Geometriai láthatóság

3. függelék
Világító- és fényjelző berendezések adott típusú háromkerekű robogóra történő felszerelésére vonatkozó adatközlő lap
(Az alkatrész-típusjóváhagyási kérelemhez csatolandó, amennyiben ezt a jármű típus-jóváhagyási kérelmétől függetlenül nyújtják be)

4. függelék

IV. MELLÉKLET
KÉTKEREKŰ MOTORKERÉKPÁROKRA VONATKOZÓ KÖVETELMÉNYEK
1. Valamennyi kétkerekű motorkerékpárt a következő világító- és fényjelző berendezésekkel kell felszerelni:
1.1. távolsági fényszóró;
1.2. tompított fényszóró;
1.3. irányjelző lámpa;
1.4. féklámpa;
1.5. első helyzetjelző lámpa;
1.6. hátsó helyzetjelző lámpa;
1.7. hátsó rendszámtáblát megvilágító lámpa;
1.8. hátsó nem háromszögű fényvisszaverő.
2. Emellett minden kétkerekű motorkerékpárra felszerelhetők a következő világító- és fényjelző berendezések:
2.1. ködfényszóró;
2.2. hátsó ködlámpa;
2.3. elakadásjelző;
2.4. oldalsó nem háromszögű fényvisszaverők.
3. Az 1. és 2. pontban felsorolt minden világító- és fényjelző berendezést a 6. pont vonatkozó rendelkezéseinek megfelelően kell felszerelni.
4. Az 1. és 2. pontban felsoroltakon kívül más világító- és fényjelző berendezés felszerelése nem megengedett.
5. Az 1. és 2. szakaszban említett és az M1 és N1 kategóriájú járművekre a vonatkozó 76/757/EGK, 76/758/EGK, 76/759/EGK, 76/760/EGK, 76/761/EGK, 76/762/EGK, 77/538/EGK vagy 77/539/EGK irányelv alapján típusjóváhagyott világító és fényjelző berendezések használatát motorkerékpárokon is meg kell engedni.
6. KÜLÖNLEGES FELSZERELÉSI KÖVETELMÉNYEK
6.1. Távolsági fényszórók
6.1.1. Száma: egy vagy kettő.
6.1.2. Elrendezési vázlat: nincs különleges előírás.
6.1.3. Elhelyezés
6.1.3.1. Szélességben:
- egy független távolsági fényszóró felszerelhető egy másik első lámpa fölé, alá vagy mellé. Amennyiben ezek a lámpák egymás fölött vannak, akkor a távolsági fényszóró vonatkozási pontjának a jármű hosszanti középsíkjában kell lennie, ha pedig egymás mellett vannak, akkor vonatkozási pontjaiknak a jármű hosszanti középsíkjára szimmetrikusan kell elhelyezkedniük,
- egy másik, az első lámpával kölcsönösen egymásba épített távolsági fényszórót úgy kell felszerelni, hogy vonatkozási pontja a jármű hosszanti középsíkjában legyen. Ha azonban a jármű a távolsági fényszóró mellett elhelyezett független tompított fényszóróval is fel van szerelve, ezek vonatkozási pontjainak a jármű hosszanti középsíkjára szimmetrikusnak kell lenniük,
- két távolsági fényszórót, amelyek közül az egyik vagy mindkettő egy másik első lámpával van egymásba építve, úgy kell felszerelni, hogy vonatkozási pontjaik a jármű hosszanti középsíkjára szimmetrikusan helyezkedjenek el.
6.1.3. 2 Hosszirányban: a jármű elején. Ez az előírás akkor teljesül, ha a jármű vezetőjét a kisugárzott fény nem zavarja sem közvetlenül, sem közvetetten a visszapillantó tükörből, illetve a jármű egyéb visszaverő felületén tükröződve.
6.1.3.3. Független távolsági fényszóró esetén a világítófelület széle és a tompított fényszóró világítófelületének széle közötti távolság nem lehet nagyobb 200 mm-nél.
6.1.3.4. Két távolsági fényszóró esetén a két világítófelület közötti távolság nem lehet nagyobb 200 mm-nél.
6.1.4. Geometriai láthatóság A világítófelület láthatóságát biztosítani kell egy olyan tartományon belül, amelyet a világítófelület kontúrvonalából kiinduló és a fényszóró vonatkozási tengelyével legalább 5°-os szöget képező alkotók határolnak, még azokban a zónákban is, amelyek a szóban forgó megfigyelési irányban nem tűnnek megvilágítottnak. A geometriai láthatósági szög csúcspontjának a világítófelületnek a távolsági fényszóró lencséjének homokfelületét érintő keresztirányú síkon vett vetületeit kell tekinteni.
6.1.5. Irányítás: előre. A fényszórók elfordulhatnak a kormányzási szöggel együtt.
6.1.6. Csoportosítható a tompított fényszóróval és más első lámpákkal.
6.1.7. Más lámpával nem kombinálható.
6.1.8. Kölcsönösen egymásba építhető a következő lámpákkal:
6.1.8.1. tompított fényszóró;
6.1.8.2. első helyzetjelző lámpa;
6.1.8.3. ködfényszóró.
6.1.9. Elektromos kapcsolás A távolsági fényszórók csak egyidejűleg bekapcsolhatók lehetnek. A tompítottról távolsági fényre történő átváltásnál az összes távolsági fényszórónak világítania kell. A távolsági fényről tompítottra történő átváltásnál az összes távolsági fényszórónak egyszerre kell kikapcsolódnia. A tompított fényszórók a távolsági fényszórókkal együtt is égve maradhatnak.
6.1.10. Bekapcsolás-visszajelző lámpa: kötelező. Kék színű, nem villogó visszajelző lámpa.
6.1.11. Egyéb követelmény: az egyidejűleg bekapcsolt távolsági fényszórók fényereje nem lehet nagyobb 225 000 candela értéknél (alkatrész-típusjóváhagyási érték).
6.2. Tompított fényszórók
6.2.1. Száma: egy vagy kettő.
6.2.2. Elrendezési vázlat: nincs különleges előírás.
6.2.3. Elhelyezés
6.2.3.1. Szélességben:
- egy független tompított fényszóró felszerelhető egy másik első lámpa fölé, alá vagy mellé. Amennyiben ezek a lámpák egymás fölött vannak, akkor a tompított fényszóró vonatkozási pontjának a jármű hosszanti középsíkjában kell lennie, ha pedig egymás mellett, akkor vonatkozási pontjaiknak a jármű hosszanti középsíkjára szimmetrikusan kell elhelyezkedniük,
- egy másik első lámpával egymásba épített tompított fényszórót úgy kell felszerelni, hogy vonatkozási pontja a jármű hosszanti középsíkjában legyen. Ha azonban a jármű el van látva egy független távolsági fényszóróval is, amelyik a tompított fényszóró mellett van elhelyezve, akkor vonatkozási pontjaiknak a jármű hosszanti középsíkjára szimmetrikusan kell elhelyezkedniük,
- két tompított fényszórót, amelyek közül az egyik vagy mindkettő egy másik első lámpával van kölcsönösen egymásba építve, úgy kell felszerelni, hogy vonatkozási pontjaiknak a jármű hosszanti középsíkjára szimmetrikusan kell elhelyezkedniük.
6.2.3.2. Magasságban: a talaj felett legalább 500 mm és legfeljebb 1 200 mm-rel.
6.2.3.3. Hosszirányban: a jármű elején. Ez az előírás akkor teljesül, ha a jármű vezetőjét a kisugárzott fény nem zavarja sem közvetlenül, sem közvetetten a visszapillantó tükörből, illetve a jármű egyéb visszaverő felületén tükröződve.
6.2.3.4. Két tompított fényszóró esetén a két világítófelület közötti távolság nem lehet nagyobb 200 mm-nél.
6.2.4. Geometriai láthatóság
Ezt az I. melléklet A. 10 pontjában megadott α és β szögek határozzák meg:
α = 15° felfelé és 10° lefelé;
β
=
45° balra és jobbra egyetlen tompított fényszóró esetén;
45° kifelé és 10° befelé két tompított fényszóró esetén.
A fényszóró közelében lévő lemezek és egyéb alkatrészekből eredő másodlagos hatások nem zavarhatják a többi úthasználót.
6.2.5. Irányítás:
előre.
Elfordulhat a kormányzási szöggel együtt.
A tompított fény függőleges lejtésének - 0,5 % és - 2,5 % között kell lennie, kivéve külső beállítóberendezés esetén.
6.2.6. Csoportosítható a távolsági fényszóróval és más első lámpákkal.
6.2.7. Más lámpával nem kombinálható.
6.2.8. Kölcsönösen egymásba építhető a távolsági fényszóróval és más első lámpákkal.
6.2.9. Elektromos kapcsolás A tompított fényre történő átkapcsoláskor a távolsági fénynek egyidejűleg ki kell aludnia, míg a tompított fény a távolsági fényre kapcsoláskor bekapcsolva maradhat.
6.2.10. Bekapcsolás-visszajelző lámpa: választható.
Zöld színű, nem villogó visszajelző lámpa.
6.2. 11 Egyéb követelmény: nincs.
6.3. Irányjelző lámpák
6.3.1. Száma: oldalanként kettő.
6.3.2. Elrendezési vázlat: két irányjelző lámpa elöl és két irányjelző lámpa hátul.
6.3.3. Elhelyezés
6.3.3.1. Szélességben:
6.3.3.1.1. az első irányjelző lámpákra a következők vonatkoznak egyidejűleg:
6.3.3.1.1.1. a világítófelületeik közötti távolság legalább 240 mm;
6.3.3.1.1.2. a fényszóró(k) világítófelületének külső szélét érintő függőleges hosszanti síkokon kívül kell elhelyezkedniük;
6.3.3.1.1.3. az irányjelző lámpák és a legközelebbi tompított fényszóró világítófelülete között betartandó legkisebb távolság:
- 75 mm, ha az irányjelző minimális fényereje 90 cd,
- 40 mm, ha az irányjelző minimális fényereje 175 cd,
- 20 mm, ha az irányjelző minimális fényereje 250 cd,
- 20 mm, ha az irányjelző minimális fényereje 400 cd;
6.3.3.1.2. a hátsó irányjelző lámpák világítófelületének belső szélei közötti távolság - az I. melléklet A. 10. pontja előírásainak betartása mellett - legalább 180 mm, még akkor is, ha a rendszámtábla fel van szerelve.
6.3.3.2. Magasságban: legalább 350 mm és legfeljebb 1 200 mm a talaj felett.
6.3.3.3. Hosszirányban: a jármű hosszirányban lévő leghátsó pontján átmenő keresztirányú sík és a hátsó irányjelző lámpák vonatkozási pontja közötti távolság nem lehet 300 mm-nél nagyobb.
6.3.4. Geometriai láthatóság
Vízszintes szög: lásd 2. függelék.
Függőleges szög: a vízszintestől 15° felfelé és lefelé.
A vízszintes alatti függőleges szög azonban 5°-ra csökkenthető, ha az irányjelző lámpa 750 mm-nél kisebb magasságban van elhelyezve.
6.3.5. Irányítás Az első irányjelző lámpák elfordulhatnak a kormányzási szöggel együtt.
6.3.6. Csoportosíthatók egy vagy több lámpával.
6.3.7. Más lámpával nem kombinálhatók.
6.3.8. Nem építhetők kölcsönösen egymásba egy másik lámpával.
6.3.9. Elektromos kapcsolás Az irányjelző lámpáknak más lámpáktól függetlenül kell kapcsolódniuk. A jármű azonos oldalán lévő összes irányjelző lámpa ki- és bekapcsolásának ugyanazzal a kapcsolóval kell történnie.
6.3.10. Működés-visszajelző lámpa: választható. Lehet optikai, vagy akusztikus, vagy mindkettő. Ha optikai, akkor minden normál vezetési testtartásból látható zöld villogó fénynek kell lennie. Ennek az egyik irányjelző lámpa üzemzavara esetén ki kell aludnia, vagy villogás nélkül kell folyamatosan égnie, vagy a villogás gyakoriságának kell egyértelműen változni. Ha a visszajelző akusztikusan működik, akkor ennek jól hallhatónak kell lennie, és az optikai működés-visszajelzővel megegyező működési tulajdonságokat kell mutatnia.
6.3.11. Egyéb követelmény
A következő jellemzők mérése során az áramfejlesztő generátor csak a motor és a világítókészülékek működtetéséhez szükséges áramköröket táplálhatja.
6.3.11.1. A villogó jelzés bekapcsolását követően a lámpáknak legfeljebb egy másodperc múlva fel kell gyulladniuk, majd ezt az első lámpa kialvásának legfeljebb másfél másodperc múlva kell követnie.
6.3.11.2. Minden olyan járműnél, amelynek irányjelző lámpái egyenárammal működnek:
6.3.11.2.1. A villogási frekvenciának percenként 90 ± 30-nak kell lennie.
6.3.11.2.2. A jármű azonos oldalán lévő irányjelző lámpáknak azonos fázisban és frekvenciával kell működniük.
6.3.11.3. Minden olyan járműre, amelynek irányjelző lámpái váltóárammal működnek - ha a motor fordulatszáma a maximális sebességhez tartozó fordulatszám 50 és 100 %-a között van -, a következők vonatkoznak:
6.3.11.3.1. A villogási frekvenciának percenként 90 ± 30-nak kell lennie.
6.3.11.3.2. A jármű azonos oldalán lévő irányjelző lámpák villoghatnak egyidejűleg vagy váltakozva. Az 1. függelékben meghatározott zónákban az első lámpák nem látszódhatnak hátulról, a hátsó lámpák pedig elölről.
6.3.11.4. Minden olyan járműre, amelynek irányjelző lámpái váltóárammal működnek - ha a motor fordulatszáma a gyártó által megadott üresjárati fordulatszám és a maximális sebességhez tartozó fordulatszám 50 %-a között van -, a következők vonatkoznak:
6.3.11.4.1. a villogási frekvenciának a 90 + 30 és a 90 - 45 per perc tartományban kell lennie;
6.3.11.4.2. a jármű azonos oldalán lévő irányjelző lámpák villoghatnak egyidejűleg vagy váltakozva. Az 1. függelékben meghatározott zónákban az első lámpák nem látszódhatnak hátulról, a hátsó lámpák pedig elölről.
6.3.11.5. Az egyik irányjelző lámpa - nem rövidzárlatból eredő - üzemzavara esetén a többi lámpának tovább kell villognia, illetve folyamatosan világítania, azonban az előbbi esetben a villogási frekvencia eltérhet az előírt frekvenciától.
6.4. Féklámpák
6.4.1. Száma: egy vagy kettő.
6.4.2. Elrendezési vázlat: nincs különleges előírás.
6.4.3. Elhelyezés
6.4.3.1. Szélességben: a vonatkozási pontnak a jármű hosszanti középsíkjában kell lennie, ha csak egy féklámpa van, két féklámpa esetén ezek vonatkozási pontjainak a jármű hosszanti középsíkjára szimmetrikusan kell elhelyezkedniük.
6.4.3.2. Magasságban: legalább 250 mm és legfeljebb 1 500 mm a talajszint felett.
6.4.3.3. Hosszirányban: a jármű hátulján.
6.4.4. Geometriai láthatóság
Vízszintes szög: 45° balra és jobbra.
Függőleges szög: a vízszintestől 15° felfelé és lefelé.
A vízszintes alatti függőleges szög azonban 5°-ra csökkenthető, ha az irányjelző lámpa 750 mm-nél kisebb magasságban van elhelyezve.
6.4.5. Irányítás: hátra.
6.4.6. Csoportosíthatók egy vagy több hátsó lámpával.
6.4.7. Más lámpával nem kombinálhatók.
6.4.8. Kölcsönösen egymásba építhetők a hátsó helyzetjelző lámpával.
6.4. 9 Elektromos kapcsolás: fel kell gyulladnia, ha legalább az egyik üzemi féket működtetik.
6.4.10. Bekapcsolás-visszajelző lámpa: nem megengedett.
6.5. Első helyzetjelző lámpák
6.5.1. Száma: egy vagy kettő.
6.5.2. Elrendezési vázlat: nincs különleges előírás.
6.5.3. Elhelyezés
6.5.3.1. Szélességben:
- egy független első helyzetjelző lámpa felszerelhető egy másik első lámpa fölé, alá vagy mellé. Amennyiben ezek a lámpák egymás fölött vannak, akkor az első helyzetjelző lámpa vonatkozási pontjának a jármű hosszanti középsíkjában kell lennie, ha pedig egymás mellett, akkor vonatkozási pontjaiknak a jármű hosszanti középsíkjára szimmetrikusan kell elhelyezkedniük,
- egy másik első lámpával kölcsönösen egymásba épített első helyzetjelző lámpát úgy kell felszerelni, hogy vonatkozási pontja a jármű hosszanti középsíkjában legyen,
- két első helyzetjelző lámpát, amelyek közül az egyik vagy mindkettő egy másik első lámpával van kötelezően egymásba építve, úgy kell elhelyezni, hogy vonatkozási pontjaik a jármű hosszanti középsíkjára szimmetrikusan helyezkedjenek el.
6.5.3.2. Magasságban: legalább 350 mm és legfeljebb 1 200 mm a talaj felett.
6.5.3.3. Hosszirányban: a jármű elején.
6.5.4. Geometriai láthatóság
Vízszintes szög: 80° jobbra és balra egyetlen első helyzetjelző lámpa esetén; 80° kifelé és 45 ° befelé két első helyzetjelző lámpa esetén.
Függőleges szög: a vízszintestől 15° felfelé és lefelé. A vízszintes alatti függőleges szög azonban 5°-ra csökkenthető, ha a lámpa 750 mm-nél kisebb magasságban van elhelyezve.
6.5.5. Irányítás: előre.
Elfordulhat a kormányzási szöggel együtt.
6.5.6. Csoportosítható minden más első lámpával.
6.5.7. Kölcsönösen egymásba építhető minden más első lámpával.
6.5.8. Elektromos kapcsolás: nincs különleges előírás
6.5.9. Bekapcsolás-visszajelző lámpa: kötelező.
Zöld színű, nem villogó visszajelző lámpa; ettől a visszajelzőtől el lehet tekinteni, ha a műszerfal-világítás csak az első helyzetjelző lámpával egyidejűleg kapcsolható be és ki.
6.5.10. Egyéb követelmény: nincs.
6.6. Hátsó helyzetjelző lámpák
6.6.1. Száma: egy vagy kettő.
6.6.2. Elrendezési vázlat: nincs különleges előírás.
6.6.3. Elhelyezés
6.6.3.1. Szélességben: a vonatkozási pontnak egyetlen hátsó helyzetjelző lámpa esetén a jármű hosszanti középsíkjában kell lennie, két hátsó helyzetjelző lámpa esetén ezek vonatkozási pontjainak a jármű hosszanti középsíkjára szimmetrikusan kell elhelyezkedniük.
6.6.3.2. Magasságban: legalább 250 mm és legfeljebb 1 500 mm a talajszint felett.
6.6.3.3. Hosszirányban: a jármű hátulján.
6.6.4. Geometriai láthatóság
Vízszintes szög: 80° balra és jobbra egyetlen hátsó helyzetjelző lámpa esetén; 80° kifelé és 45° befelé két hátsó helyzetjelző lámpa esetén.
Függőleges szög: a vízszintestől 15° felfelé és lefelé. A vízszintes alatti függőleges szög azonban 5°-ra csökkenthető, ha az irányjelző lámpa 750 mm-nél kisebb magasságban van elhelyezve.
6.6.5. Irányítás: hátrafelé.
6.6.6. Csoportosítható minden más hátsó lámpával.
6.6.7. Kombinálható a hátsó rendszámtáblát megvilágító lámpával.
6.6.8. Kölcsönösen egymásba építhető a féklámpával vagy a hátsó nem háromszögű fényvisszaverővel vagy mindkettővel, vagy pedig a hátsó helyzetjelző ködlámpával.
6.6.9. Elektromos kapcsolás: nincs különleges előírás.
6.6.10. Bekapcsolás-visszajelző lámpa: választható.
Ezt a funkciót esetleg az első helyzetjelzőhöz használt berendezés is betöltheti.
6.6.11. Egyéb követelmény: nincs.
6.7. Ködfényszórók
6.7.1. Száma: egy vagy kettő.
6.7.2. Elrendezési vázlat: nincs különleges előírás.
6.7.3. Elhelyezés
6.7.3.1. Szélességben:
- egy ködfényszóró felszerelhető egy másik első lámpa fölé, alá vagy mellé. Amennyiben ezek a lámpák egymás fölött vannak, akkor a ködfényszóró vonatkozási pontjának a jármű hosszanti középsíkjában kell lennie, ha pedig egymás mellett, akkor vonatkozási pontjaiknak a jármű hosszanti középsíkjára szimmetrikusan kell elhelyezkedniük,
- egy másik első lámpával kölcsönösen egymásba épített ködfényszórót úgy kell felszerelni, hogy vonatkozási pontja a jármű hosszanti középsíkjában legyen,
- két ködfényszórót, amelyek közül az egyik vagy mindkettő egy másik első lámpával van kölcsönösen egymásba építve, úgy kell felszerelni, hogy vonatkozási pontjaik a jármű hosszanti középsíkjára szimmetrikusan helyezkedjenek el.
6.7.3.2. Magasságban: legalább 250 mm a talajszint felett. A világítófelület egyetlen pontja sem lehet a tompított fényszóró világítófelületének legmagasabb pontja felett.
6.7.3.3. Hosszirányban: a jármű elején. Ez az előírás akkor teljesül, ha a kisugárzott fény nem zavarja a vezetőt sem közvetlenül, sem a visszapillantó tükörből, illetve a jármű egyéb visszaverő felületéről.
6.7.4. Geometriai láthatóság
Ezt az I. melléklet A. 10. pontjában megadott α és β szögek határozzák meg:
α = 5° felfelé és lefelé;
β = 45° balra és jobbra, kivéve a nem középen elhelyezett lámpa esetén, ekkor a szög befelé
β = 10° legyen.
6.7.5. Irányítás: előre. A ködfényszóró elfordulhat a kormányzási szöggel együtt.
6.7.6. Csoportosítható más első lámpákkal.
6.7.7. Nem kombinálható más első lámpával.
6.7.8. Egymásba építhető távolsági fényszóróval és első helyzetjelző lámpával.
6.7.9. Elektromos kapcsolás A ködfényszórónak a távolsági fényszórótól vagy a tompított fényszórótól függetlenül be- és kikapcsolhatónak kell lennie.
6.7.10. Bekapcsolás-visszajelző lámpa: választható.
Zöld színű, nem villogó visszajelző lámpa.
6.7.11. Egyéb követelmény: nincs.
6.8. Hátsó helyzetjelző ködlámpák
6.8.1. Száma: egy vagy kettő.
6.8.2. Elrendezési vázlat: nincs különleges előírás.
6.8.3. Elhelyezés
6.8.3.1. Szélességben: egy független hátsó helyzetjelző ködlámpa felszerelhető egy másik hátsó lámpa fölé, alá vagy mellé. Amennyiben ezek a lámpák egymás fölött vannak, akkor a hátsó helyzetjelző ködlámpa vonatkozási pontjának a jármű hosszanti középsíkjában kell lennie, ha pedig egymás mellett vannak, akkor vonatkozási pontjaiknak a jármű hosszanti középsíkjára szimmetrikusan kell elhelyezkedniük. Egy másik hátsó lámpával kölcsönösen egymásba épített hátsó helyzetjelző ködlámpát úgy kell felszerelni, hogy vonatkozási pontja a jármű hosszanti középsíkjában legyen.
6.8.3.2. Magasságban: legalább 250 mm és legfeljebb 900 mm a talajszint felett.
6.8.3.3. Hosszirányban: a jármű hátulján.
6.8.3.4. A hátsó ködlámpa és a féklámpa világítófelülete közötti távolság legalább 100 mm.
6.8.4. Geometriai láthatóság
Ezt az I. melléklet A. 10. pontjában megadott α és β szögek határozzák meg:
α = 5° felfelé és lefelé;
β = 25° balra és jobbra.
6.8.5. Irányítás: hátrafelé.
6.8.6. Csoportosítható minden más hátsó lámpával.
6.8.7. Más lámpával nem kombinálható.
6.8.8. Kölcsönösen egymásba építhető a hátsó helyzetjelző lámpával.
6.8.9. Elektromos kapcsolás
A lámpa csak akkor lehet bekapcsolható, ha a következő lámpák közül egy vagy több már be van kapcsolva: távolsági fényszóró, tompított fényszóró vagy a ködfényszóró.
Ha a jármű fel van szerelve ködfényszóróval, akkor a hátsó ködlámpának a ködfényszórótól függetlenül kikapcsolhatónak kell lennie.
6.8.10. Bekapcsolás-visszajelző lámpa: kötelező.
Borostyánsárga színű, nem villogó visszajelző lámpa.
6.8.11. Egyéb követelmény: nincs.
6.9. Elakadásjelző
6.9.1. A 6.3.-6.3.8. pontban foglalt előírások érvényesek.
6.9.2. Elektromos kapcsolás Bekapcsolásának egy külön kapcsoló működtetésével kell történnie, amely lehetővé teszi az irányjelző lámpák egyidejű áramellátását.
6.9. 3 Bekapcsolás-visszajelző lámpa: kötelező. Piros színű villogó visszajelző lámpa vagy ennek hiányában: a 6.3.10. pontban előírt visszajelző lámpák egyidejű működése.
6.9.4. Egyéb követelmény
Az elakadásjelző villogási frekvenciája percenként 90 ± 30. Az irányjelző lámpáknak az elakadásjelző bekapcsolását követően legfeljebb egy másodperc múlva fel kell gyulladniuk, majd ezt követően legalább másfél másodperccel ki kell aludniuk.
A vészvillogónak akkor is bekapcsolhatónak kell lennie, ha a motor indítását, illetve leállítását végző kapcsoló olyan állásban van, amelynél a motor nem járhat.
6.10. Hátsó rendszámtáblát megvilágító lámpa
SZÖVEG HIÁNYZIK |

Kép #3
6.11. Oldalsó nem háromszögű fényvisszaverők
6.11.1. Száma oldalanként: egy vagy kettő, IA osztályú ( 8 ).
6.11.2. Elrendezési vázlat: nincs különleges előírás.
6.11.3. Elhelyezés
6.11.3.1. Szélességben: nincs különleges előírás.
6.11.3.2. Magasságban: legalább 300 mm és legfeljebb 900 mm a talajszint felett.
6.11.3.3. Hosszirányban: olyan legyen, hogy normál körülmények között se a vezető, se utasa, se ezek ruházata ne takarja el a fényvisszaverőt.
6.11.4. Geometriai láthatóság
Vízszintes szög: 30° előre és hátra.
Függőleges szög: a vízszintestől 15° felfelé és 15° lefelé.
A vízszintes alatti függőleges szög azonban 5°-ra csökkenthető, ha a fényvisszaverő 750 mm-nél kisebb magasságban van elhelyezve.
6.11.5. Irányítás: a fényvisszaverők vonatkozási tengelyének a jármű hosszanti középsíkjára merőlegesnek kell lennie, és kifelé kell irányulnia. Az első fényvisszaverők elfordulhatnak a kormányzási szöggel együtt.
6.11.6. Csoportosítható más fényjelző berendezésekkel.
6.12. Hátsó nem háromszögű fényvisszaverő
6.12.1. Száma: egy, IA osztályú (8) .
6.12.2. Elrendezési vázlat: nincs különleges előírás.
6.12.3. Elhelyezés
6.12.3.1. Szélességben: a vonatkozási pontnak a jármű hosszanti középsíkjában kell lennie.
6.12.3.2. Magasságban: legalább 250 mm és legfeljebb 900 mm a talajszint felett.
6.12.3.3. Hosszirányban: a jármű hátulján.
6.12.4. Geometriai láthatóság
Vízszintes szög: 30° balra és jobbra.
Függőleges szög: a vízszintestől 15° felfelé és lefelé.
A vízszintes alatti függőleges szög azonban 5°-ra csökkenthető, ha a fényvisszaverő 750 mm-nél kisebb magasságban van elhelyezve.
6.12.5. Irányítás: hátrafelé.
6.12.6. Csoportosítható minden más lámpával.
6.12.7. A fényvisszaverő világítófelületének lehetnek más hátsó lámpákkal közös részei.
1. függelék
A piros lámpák elölről és a fehér lámpák hátulról való láthatósága
(Lásd az 1. melléklet B. 9. pontját és ezen melléklet 6.3.11.4.2. pontját)

1. ábra

2. ábra
2. függelék
Elrendezési vázlat

3. függelék
Világító- és fényjelző berendezések adott típusú kétkerekű motorkerékpárra történő felszerelésére vonatkozó adatközlő lap
(Az alkatrész-típusjóváhagyási kérelméhez csatolandó, amennyiben ezt a jármű típus-jóváhagyási kérelmétől függetlenül nyújtják be)

4. függelék

V. MELLÉKLET
OLDALKOCSIS MOTORKERÉKPÁROKRA VONATKOZÓ KÖVETELMÉNYEK
1. Az oldalkocsis motorkerékpárokat a következő világító- és fényjelző berendezésekkel kell felszerelni:
1.1. távolsági fényszóró;
1.2. tompított fényszóró;
1.3. irányjelző lámpák;
1.4. féklámpa;
1.5. első helyzetjelző lámpa;
1.6. hátsó helyzetjelző lámpa;
1.7. hátsó rendszámtáblát megvilágító lámpa;
1.8. hátsó nem háromszögű fényvisszaverő.
2. Az oldalkocsis motorkerékpárokra a következő világító- és fényjelző berendezések is felszerelhetők:
2.1. ködfényszóró;
2.2. hátsó helyzetjelző ködlámpa;
2.3. elakadásjelző;
2.4. oldalsó nem háromszögű fényvisszaverő.
3. Az 1. és 2. pontban felsorolt világító- és fényjelző berendezéseket a 6. pont vonatkozó rendelkezéseinek megfelelően kell felszerelni.
4. Az 1. és 2. pontban felsoroltakon kívül más világító- és fényjelző berendezések felszerelése nem megengedett.
5. Az 1. és 2. szakaszban említett és az M1 és N1 kategóriájú járművekre a vonatkozó 76/757/EGK, 76/758/EGK, 76/759/EGK, 76/760/EGK, 76/761/EGK, 76/762/EGK, 77/538/EGK vagy 77/539/EGK irányelv alapján típusjóváhagyott világító és fényjelző berendezések használatát oldalkocsis motorkerékpárokon is meg kell engedni.
6. KÜLÖNLEGES FELSZERELÉSI KÖVETELMÉNYEK
6.1. Távolsági fényszórók
6.1.1. Száma: egy vagy kettő.
6.1.2. Elrendezési vázlat: nincs különleges előírás.
6.1.3. Elhelyezés
6.1.3.1. Szélességben:
- egy független távolsági fényszóró felszerelhető egy másik első lámpa fölé, alá vagy mellé. Amennyiben ezek a lámpák egymás fölött vannak, akkor a távolsági fényszóró vonatkozási pontjának a jármű hosszanti középsíkjában kell lennie, ha pedig egymás mellett, akkor vonatkozási pontjaiknak a jármű hosszanti középsíkjával szimmetrikusan kell elhelyezkedniük,
- egy másik első lámpával kölcsönösen egymásba épített távolsági fényszórót úgy kell felszerelni, hogy vonatkozási pontja a jármű hosszanti középsíkjában legyen. Ha azonban a jármű a távolsági fényszóró mellett elhelyezett független tompított fényszóróval is fel van szerelve, ezek vonatkozási pontjainak a jármű hosszanti középsíkjára szimmetrikusan kell elhelyezkedniük,
- két távolsági fényszórót, amelyek közül az egyik vagy mindkettő egy másik első lámpával van kölcsönösen egymásba építve, úgy kell felszerelni, hogy vonatkozási pontjaik a jármű hosszanti középsíkjára szimmetrikusan helyezkedjenek el.
6.1.3. 2 Hosszirányban: a jármű elején. Ez az előírás akkor teljesül, ha a jármű vezetőjét a kisugárzott fény nem zavarja sem közvetlenül, sem közvetetten a visszapillantó tükörből, illetve a jármű egyéb visszaverő felületén tükröződve.
6.1.3.3. Önálló távolsági fényszóró esetén a világítófelület széle és a tompított fényszóró világítófelületének széle közötti távolság nem lehet nagyobb 200 mm-nél.
6.1.3.4. Két távolsági fényszóró esetén a két világítófelület közötti távolság nem lehet nagyobb 200 mm-nél.
6.1.4. Geometriai láthatóság A világítófelület láthatóságát biztosítani kell egy olyan tartományon belül, amelyet a világítófelület kontúrvonalából kiinduló és a fényszóró vonatkozási tengelyével legalább 5°-os szöget képező alkotók határolnak, még azokban a zónákban is, amelyek a szóban forgó megfigyelési irányban nem tűnnek megvilágítottnak. A geometriai láthatósági szög csúcspontjának a világítófelületnek a távolsági fényszóró lencséjének homokfelületét érintő keresztirányú síkon vett vetületeit kell tekinteni.
6.1.5. Irányítás: előre.
Elfordulhat a kormányzási szöggel együtt.
6.1.6. Csoportosítható a tompított fényszóróval és az első helyzetjelző lámpával.
6.1.7. Más lámpával nem kombinálható.
6.1.8. Kölcsönösen egymásba építhető a következő lámpákkal:
6.1.8.1. tompított fényszóró;
6.1.8.2. első helyzetjelző lámpa;
6.1.8.3. ködfényszóró.
6.1.9. Elektromos kapcsolás A távolsági fényszórók csak egyidejűleg bekapcsolhatók lehetnek. A tompítottról távolsági fényre történő átváltásnál az összes távolsági fényszórónak világítania kell. A távolsági fényről tompítottra történő átváltásnál az összes távolsági fényszórónak egyszerre kell kikapcsolódnia. A tompított fényszórók távolsági fényszórókkal együtt is égve maradhatnak.
6.1.10. Bekapcsolás-visszajelző lámpa: kötelező.
Kék fényű nem villogó visszajelző lámpa.
6.1.11. Egyéb követelmény: az egyidejűleg bekapcsolt távolsági fényszórók fényereje nem lehet nagyobb 225 000 candela értéknél (alkatrész-típusjóváhagyási érték).
6.2. Tompított fényszórók
6.2.1. Száma: egy vagy kettő.
6.2.2. Elrendezési vázlat: nincs különleges előírás.
6.2.3. Elhelyezés
6.2.3.1. Szélességben:
- egy független tompított fényszóró felszerelhető egy másik első lámpa fölé, alá vagy mellé. Amennyiben ezek a lámpák egymás fölött vannak, akkor a tompított fényszóró vonatkozási pontjának a jármű hosszanti középsíkjában kell lennie, ha pedig egymás mellett, akkor vonatkozási pontjaiknak a jármű hosszanti középsíkjával szimmetrikusan kell elhelyezkedniük,
- másik első lámpával kölcsönösen egymásba épített tompított fényszórót úgy kell felszerelni, hogy vonatkozási pontja a jármű hosszanti középsíkjában legyen. Ha azonban a jármű el van látva egy független távolsági fényszóróval is, amely a tompított fényszóró mellett van elhelyezve, akkor vonatkozási pontjaiknak a jármű hosszanti középsíkjára szimmetrikusan kell elhelyezkedniük,
- két tompított fényszórót, amelyek közül az egyik vagy mindkettő egy másik első lámpával van egymásba építve, úgy kell felszerelni, hogy vonatkozási pontjaik a jármű hosszanti középsíkjára szimmetrikusan helyezkedjenek el.
6.2.3.2. Magasságban: legalább 500 mm és legfeljebb 1 200 mm a talajszint felett.
6.2.3.3. Hosszirányban: a jármű elején. Ez az előírás akkor teljesül, ha a jármű vezetőjét a kisugárzott fény nem zavarja sem közvetlenül, sem közvetetten a visszapillantó tükörből, illetve a jármű egyéb visszaverő felületén tükröződve.
6.2.3.4. Két tompított fényszóró esetén a két világítófelület közötti távolság nem lehet nagyobb 200 mm-nél.
6.2.4. Geometriai láthatóság
Ezt az I. melléklet A. 10. pontjában megadott α és β szögek határozzák meg:
α = 15° felfelé és 10° lefelé;
β
=
45° balra és jobbra, egyetlen tompított fényszóró esetén;
45° kifelé és 10° befelé, két tompított fényszóró esetén
A fényszóró közelében lévő lemezek és az egyéb részekből eredő másodlagos hatások nem zavarhatják a többi úthasználót.
6.2.5. Irányítás: előre.
Elfordulhat a kormányzási szöggel együtt.
A tompított fény függőleges irányítottságának - 0,5 % és - 2,5 % között kell lennie, kivéve külső beállító berendezés esetén.
6.2.6. Csoportosítható a távolsági fényszóróval és más első lámpákkal.
6.2.7. Más lámpával nem kombinálható.
6.2.8. Kölcsönösen egymásba építhető a távolsági fényszóróval és egyéb első lámpákkal.
6.2.9. Elektromos kapcsolás A tompított fényre történő átkapcsoláskor a távolsági fénynek egyidejűleg ki kell aludnia, míg a tompított fény a távolsági fényre kapcsoláskor égve maradhat.
6.2.10. Bekapcsolás-visszajelző lámpa: választható.
Zöld színű, nem villogó visszajelző lámpa.
6.2. 11 Egyéb követelmény: nincs.
6.3. Irányjelző lámpák
6.3.1. Száma: oldalanként kettő.
6.3.2. Elrendezési vázlat: két irányjelző lámpa elöl és két irányjelző lámpa hátul.
6.3.3. Elhelyezés
6.3.3.1. Szélességben:
- a világítófelületnek a hosszanti középsíktól vett legtávolabbi szélei 400 mm-nél nem lehetnek távolabb a jármű legkülső szélességi pontjától,
- a világítófelületek belső széleinek egymástól legalább 600 mm távolságra kell lenniük,
- az irányjelző lámpák és a legközelebbi tompított fényszóró világítófelülete közötti legkisebb távolság:
-
- 75 mm, ha az irányjelző minimális fényereje 90 cd,
- 40 mm, ha az irányjelző minimális fényereje 175 cd,
- 20 mm, ha az irányjelző minimális fényereje 250 cd,
- ≤ 20 mm, ha az irányjelző minimális fényereje 400 cd.
6.3.3.2. Hosszirányban: a jármű hosszirányban leghátsó pontján átmenő keresztirányú sík és a hátsó irányjelző lámpák vonatkozási pontja közötti távolság nem lehet 300 mm-nél nagyobb. Az oldalkocsi első irányjelző lámpájának az oldalkocsi tengelye előtt, a hátsó irányjelző lámpájának pedig az oldalkocsi tengelye mögött kell lennie.
6.3.4. Geometriai láthatóság
Vízszintes szög: lásd a 2. függeléket
Függőleges szög: a vízszintestől 15° felfelé és lefelé.
A vízszintes alatti függőleges szög azonban 5°-ra csökkenthető, ha a lámpa 750 mm-nél kisebb magasságban van elhelyezve.
6.3.5. Irányítás Az első irányjelző lámpák elfordulhatnak a kormányzási szöggel együtt.
6.3.6. Egy vagy több lámpával csoportosítható.
6.3.7. Más lámpával nem kombinálható.
6.3.8. Nem építhető kölcsönösen egymásba másik lámpával.
6.3.9. Elektromos kapcsolás Az irányjelző lámpáknak más lámpáktól függetlenül kell kapcsolódniuk. A jármű azonos oldalán lévő összes irányjelző lámpa ki- és bekapcsolásának ugyanazzal a kapcsolóval kell történnie.
6.3.10. Működés-visszajelző lámpa: kötelező. Ez lehet optikai vagy akusztikus vagy mindkettő. Ha optikai, akkor minden normál vezetési testtartásból látható zöld villogó fénynek kell lennie. Ennek az egyik irányjelző lámpa üzemzavara esetén ki kell aludnia, vagy villogás nélkül kell folyamatosan égnie, vagy a villogás gyakoriságának kell egyértelműen változni. Ha a visszajelző akusztikusan működik, akkor ennek jól hallhatónak kell lennie, és az optikai működés-visszajelzővel megegyező működési tulajdonságokat kell mutatnia.
6.3.11. Egyéb követelmény
A következő jellemzők mérése során az áramfejlesztő generátor csak a motor és a világítókészülékek működtetéséhez szükséges áramköröket táplálhatja.
6.3.11.1. A villogó jelzés bekapcsolását követően a lámpáknak legfeljebb egy másodperc múlva fel kell gyulladniuk, majd ezt az első lámpa kialvásának legfeljebb másfél másodperc múlva kell követnie.
6.3.11.2. Minden olyan járműnél, amelynek irányjelző lámpái egyenárammal működnek:
6.3.11.2.1. A villogási frekvencia percenként 90 ± 30.
6.3.11.2.2. A jármű azonos oldalán lévő irányjelző lámpáknak azonos fázisban és frekvenciával kell villogniuk.
6.3.11.3. Minden olyan járműre, amelynek irányjelző lámpái váltóárammal működnek - ha a motor fordulatszáma a maximális sebességhez tartozó fordulatszám 50 és 100 %-a között van -, a következők vonatkoznak:
6.3.11.3.1. A villogási frekvenciának percenként 90 ± 30-nak kell lennie.
6.3.11.3.2. A jármű azonos oldalán lévő irányjelző lámpák villoghatnak egyidejűleg vagy váltakozva. Az 1. függelékben meghatározott zónákban az első lámpák nem látszódhatnak hátulról, a hátsó lámpák pedig elölről.
6.3.11.4. Minden olyan járműre, amelynek irányjelző lámpái váltóárammal működnek - ha a motor fordulatszáma a gyártó által megadott üresjárati fordulatszám és a maximális sebességhez tartozó fordulatszám 50 %-a között van -, a következők vonatkoznak:
6.3.11.4.1. A villogási frekvenciának a 90 + 30 és a 90 - 45 per perc tartományban kell lennie.
6.3.11.4.2. A jármű azonos oldalán lévő irányjelző lámpák villoghatnak egyidejűleg vagy váltakozva. Az 1. függelékben meghatározott zónákban az első lámpák nem látszódhatnak hátulról, a hátsó lámpák pedig elölről.
6.3.11.5. Az egyik irányjelző lámpa - nem rövidzárlatból eredő - üzemzavara esetén a többi lámpának tovább kell villognia, illetve folyamatosan világítania, azonban az előbbi esetben a villogási frekvencia eltérhet az előírt frekvenciától.
6.4. Féklámpák
6.4.1. Száma: egy vagy három (ezek közül az oldalkocsin csak egy).
6.4.2. Elrendezési vázlat: nincs különleges előírás.
6.4.3. Elhelyezés
6.4.3.1. Szélességben: a legkülső féklámpák világítófelületének külső széle és a jármű szélességben legkülső pontja közötti oldalirányú távolság nem lehet 400 mm-nél nagyobb. Amennyiben egy harmadik féklámpa is fel van szerelve, ennek a másik - nem az oldalkocsira szerelt - féklámpához képest a motorkerékpár hosszanti középsíkjára szimmetrikusan kell elhelyezkednie.
6.4.3.2. Magasságban: legalább 250 mm és legfeljebb 1 500 mm a talajszint felett.
6.4.3.3. Hosszirányban: a jármű hátulján.
6.4.4. Geometriai láthatóság
Vízszintes szög: 45° balra és jobbra. Az oldalkocsira szerelt féklámpánál: 45° kifelé és 10° befelé.
Függőleges szög: a vízszintestől 15° felfelé és lefelé.
A vízszintes alatti függőleges szög azonban 5°-ra csökkenthető, ha az irányjelző lámpa 750 mm-nél kisebb magasságban van elhelyezve.
6.4.5. Irányítás: hátrafelé.
6.4.6. Csoportosítható egy vagy több hátsó lámpával.
6.4.7. Más lámpával nem kombinálható.
6.4.8. Kölcsönösen egymásba építhető a hátsó helyzetjelző lámpával.
6.4. 9 Elektromos kapcsolás: fel kell gyulladnia, ha legalább az egyik üzemi féket működtetik.
6.4.10. Bekapcsolás-visszajelző lámpa: nem megengedett.
6.5. Első helyzetjelző lámpák
6.5.1. Száma: kettő vagy három (ezek közül az oldalkocsin csak egy).
6.5.2. Elrendezési vázlat: nincs különleges előírás.
6.5.3. Elhelyezés
6.5.3.1. Szélességben: a legkülső első helyzetjelző lámpák világítófelületének külső széle és a jármű szélességben legkülső pontja közötti oldalirányú távolság nem lehet 400 mm-nél nagyobb. Amennyiben egy harmadik első helyzetjelző lámpa is fel van szerelve, ennek a másik - nem az oldalkocsira szerelt - első helyzetjelző lámpához képest a motorkerékpár hosszanti középsíkjára szimmetrikusan kell elhelyezkednie.
6.5.3.2. Magasságban: legalább 350 mm és legfeljebb 1 200 mm a talaj felett.
6.5.3.3. Hosszirányban: a jármű elején.
6.5.4. Geometriai láthatóság
Vízszintes szög: 80° kifelé és 45° befelé.
Függőleges szög: a vízszintestől 15° felfelé és lefelé. A vízszintes alatti függőleges szög azonban 5°-ra csökkenthető, ha a lámpa 750 mm-nél kisebb magasságban van elhelyezve.
6.5.5. Irányítás: előre.
Elfordulhat a kormányzási szöggel együtt.
6.5.6. Csoportosítható minden egyéb első lámpával.
6.5.7. Kölcsönösen egymásba építhető minden más első lámpával.
6.5.8. Elektromos kapcsolás: nincs különleges előírás.
6.5.9. Bekapcsolás-visszajelző lámpa: kötelező.
Zöld színű nem villogó visszajelző lámpa; ettől a visszajelzőtől el lehet tekinteni, ha a műszerfal-világítás csak az első helyzetjelző lámpával egyidejűleg kapcsolható be és ki.
6.5.10. Egyéb követelmény: nincs.
6.6. Hátsó helyzetjelző lámpák
6.6.1. Száma: kettő vagy három (ezek közül az oldalkocsin csak egy).
6.6.2. Elrendezési vázlat: nincs különleges előírás.
6.6.3. Elhelyezés
6.6.3.1. Szélességben: a legkülső hátsó helyzetjelző lámpák világítófelületének külső széle és a jármű szélességben legkülső pontja közötti oldalirányú távolság nem lehet 400 mm-nél nagyobb. Amennyiben egy harmadik hátsó helyzetjelző lámpa is fel van szerelve, ennek a másik - nem az oldalkocsira szerelt - hátsó helyzetjelző lámpához képest a motorkerékpár hosszanti középsíkjára szimmetrikusan kell elhelyezkednie.
6.6.3.2. Magasságban: legalább 250 mm és legfeljebb 1 500 mm a talajszint felett.
6.6.3.3. Hosszirányban: a jármű hátulján.
6.6.4. Geometriai láthatóság
Vízszintes szög: 80° kifelé és 45° befelé.
Függőleges szög: a vízszintestől 15° felfelé és lefelé.
A vízszintes alatti függőleges szög azonban 5°-ra csökkenthető, ha az irányjelző lámpa 750 mm-nél kisebb magasságban van elhelyezve.
6.6.5. Irányítás: hátra.
6.6.6. Csoportosítható minden más hátsó lámpával.
6.6.7. Kombinálható a hátsó rendszámtáblát megvilágító lámpával.
6.6.8. Kölcsönösen egymásba építhető a féklámpával vagy a hátsó nem háromszögletű fényvisszaverővel vagy mindkettővel, vagy pedig a hátsó helyzetjelző ködlámpával.
6.6.9. Elektromos kapcsolás: nincs különleges előírás.
6.6.10. Bekapcsolás-visszajelző lámpa: választható.
Ezt a funkciót esetleg az első helyzetjelzőhöz használt berendezés is betöltheti.
6.6.11. Egyéb követelmény: nincs.
6.7. Ködfényszórók
6.7.1. Száma: egy vagy kettő.
6.7.2. Elrendezési vázlat: nincs különleges előírás.
6.7.3. Elhelyezés
6.7.3.1. Szélességben:
- egy ködfényszóró felszerelhető egy másik első lámpa fölé, alá vagy mellé. Amennyiben ezek a lámpák egymás fölött vannak, akkor a ködfényszóró vonatkozási pontjának a jármű hosszanti középsíkjában kell lennie, ha pedig egymás mellett, akkor vonatkozási pontjaiknak a jármű hosszanti középsíkjára szimmetrikusan kell elhelyezkedniük,
- egy másik első lámpával egymásba épített ködfényszórót úgy kell felszerelni, hogy vonatkozási pontja a jármű hosszanti középsíkjában legyen,
- két ködfényszórót, amelyek közül az egyik vagy mindkettő egy másik első lámpával van egymásba építve, úgy kell felszerelni, hogy vonatkozási pontjaik a jármű hosszanti középsíkjára szimmetrikusan helyezkedjenek el.
6.7.3.2. Magasságban: legalább 250 mm a talajszint felett. A világítófelület egyetlen pontja sem lehet a tompított fényszóró világítófelületének legmagasabb pontja felett.
6.7.3.3. Hosszirányban: a jármű elején. Ez az előírás akkor teljesül, ha a kisugárzott fény nem zavarja a vezetőt sem közvetlenül, sem a visszapillantó tükrökből, illetve a jármű egyéb visszaverő felületéről.
6.7.4. Geometriai láthatóság
Ezt az I. melléklet A. 10. pontjában megadott α és β szögek határozzák meg:
α = 5° felfelé és lefelé;
β = 45° kifelé és 10° befelé.
6.7.5. Irányítás: előre.
Elfordulhat a kormányzási szöggel együtt.
6.7.6. Csoportosítható más első lámpákkal.
6.7.7. Nem kombinálható más első lámpával.
6.7.8. Kölcsönösen egymásba építhető egy távolsági fényszóróval és egy első helyzetjelző lámpával.
6.7.9. Elektromos kapcsolás A ködfényszórónak a távolsági fényszórótól vagy a tompított fényszórótól függetlenül be- és kikapcsolhatónak kell lennie.
6.7.10. Bekapcsolás-visszajelző lámpa: választható.
Zöld színű, nem villogó visszajelző lámpa.
6.7.11. Egyéb követelmény: nincs.
6.8. Hátsó helyzetjelző ködlámpák
6.8.1. Száma: egy vagy kettő.
6.8.2. Elrendezési vázlat: nincs különleges előírás.
6.8.3. Elhelyezés
6.8.3.1. Szélességben: egyetlen hátsó helyzetjelző ködlámpa esetén a felszerelési helyének a jármű hosszirányú középsíkjához viszonyítva azon az oldalon kell lennie, amelyik ellentétes azzal az oldallal, amelyet a közúti közlekedési szabályzat a közlekedésre előír abban a tagállamban, ahol a járművet nyilvántartásba vették.
6.8.3.2. Magasságban: legalább 250 mm és legfeljebb 900 mm a talajszint felett.
6.8.3.3. Hosszirányban: a jármű hátulján.
6.8.3.4. A hátsó helyzetjelző ködlámpa és a féklámpa világítófelülete közötti távolság legalább 100 mm.
6.8.4. Geometriai láthatóság
Ezt az I. melléklet A. 10. pontjában megadott α és β szögek határozzák meg:
α = 5° felfelé és lefelé;
β = 25° balra és jobbra.
6.8.5. Irányítás: hátrafelé.
6.8.6. Csoportosítható minden más hátsó lámpával.
6.8.7. Más lámpával nem kombinálható.
6.8.8. Kölcsönösen egymásba építhető a hátsó helyzetjelző lámpával.
6.8.9. Elektromos kapcsolás
A lámpa csak akkor éghet, ha a következő lámpák közül egy vagy több is ég: távolsági fényszóró, tompított fényszóró vagy ködfényszóró.
Ha a jármű ködfényszóróval is fel van szerelve, akkor a hátsó helyzetjelző ködlámpának a ködfényszórótól függetlenül kikapcsolhatónak kell lennie.
6.8.10. Bekapcsolás-visszajelző lámpa: kötelező. Borostyánsárga színű, nem villogó visszajelző lámpa.
6.8.11. Egyéb követelmény: nincs.
6.9. Elakadásjelző
6.9.1. A 6.3.-6.3.8. pontban foglalt előírások érvényesek.
6.9.2. Elektromos kapcsolás Bekapcsolásának egy külön kapcsoló működtetésével kell történnie, amely lehetővé teszi az irányjelző lámpák egyidejű áramellátását.
6.9. 3 Bekapcsolás-visszajelző lámpa: kötelező.
Piros színű, villogó visszajelző lámpa vagy ennek hiányában: a 6.3.10. pontban előírt visszajelző lámpák egyidejű működése.
6.9.4. Egyéb követelmény
Az elakadásjelzés frekvenciája percenként 90 ± 30.
Az irányjelző lámpáknak az elakadásjelző bekapcsolását követően legalább egy másodpercen belül ki kell gyulladniuk, majd ezt követően legalább másfél másodperccel ki kell aludniuk.
Az elakadásjelzőnek akkor is bekapcsolhatónak kell lennie, ha a motor indítását, illetve leállítását végző kapcsoló olyan állásban van, amelynél a motor nem működhet.
6.10. Hátsó rendszámtáblát megvilágító lámpa
SZÖVEG HIÁNYZIK |

Kép #4
6.11. Oldalsó nem háromszögletű fényvisszaverők
6.11.1. Száma oldalanként: egy vagy kettő, IA osztályú ( 9 ).
6.11.2. Elrendezési vázlat: nincs különleges előírás.
6.11.3. Elhelyezés
6.11.3.1. Szélességben: nincs különleges előírás.
6.11.3.2. Magasságban: legalább 300 mm és legfeljebb 900 mm a talajszint felett.
6.11.3.3. Hosszirányban: olyan legyen, hogy normál körülmények között se a vezető, se utasa, se ezek ruházata ne takarja el a fényvisszaverőt.
6.11.4. Geometriai láthatóság
Vízszintes szög: 30° előre és hátra.
Függőleges szög: a vízszintestől 15° felfelé és lefelé.
A vízszintes alatti függőleges szög azonban 5°-ra csökkenthető, ha az irányjelző lámpa 750 mm-nél kisebb magasságban van elhelyezve.
6.11.5. Irányítás: a fényvisszaverők vonatkozási tengelyének a jármű hosszanti középsíkjára merőlegesnek kell lennie, és kifelé kell irányulnia. Az első fényvisszaverők elfordulhatnak a kormányzási szöggel együtt.
6.11.6. Csoportosítható más fényjelző berendezésekkel.
6.12. Hátsó nem háromszögletű fényvisszaverő
6.12.1. Száma: egy, IA osztályú (9) .
6.12.2. Elrendezési vázlat: nincs különleges előírás.
6.12.3. Elhelyezés
6.12.3.1. Szélességben:
- a világítófelületeknek a jármű hosszanti középsíkjától legtávolabbi szélei a jármű legkülső szélességi pontjától 400 mm-nél nem lehetnek távolabb,
- a fényvisszaverők belső széleinek egymástól legalább 500 mm távolságban kell lenniük. Ez a távolság 400 mm-re csökkenthető, ha a jármű legnagyobb szélessége 1 300 mm-nél kisebb.
6.12.3.2. Magasságban: legalább 250 mm és legfeljebb 900 mm a talajszint felett.
6.12.3.3. Hosszirányban: a jármű hátulján.
6.12.4. Geometriai láthatóság
Vízszintes szög: 30° kifelé és 10° befelé.
Függőleges szög: a vízszintestől 15° felfelé és lefelé.
A vízszintes alatti függőleges szög azonban 5°-ra csökkenthető, ha a fényvisszaverő 750 mm-nél kisebb magasságban van elhelyezve.
6.12.5. Irányítás: hátra.
6.12.6. Csoportosítható minden más lámpával.
6.12.7. A fényvisszaverő világítófelületének lehetnek más hátsó lámpákkal közös részei.
1. függelék
A piros lámpák elölről és a fehér lámpák hátulról való láthatósága
(Lásd az 1. melléklet B. 9. pontját és ennek a mellékletnek a 6.3.11.4.2. pontját)

1. ábra

2. ábra
2. függelék
Elrendezési vázlat
Két irányjelző lámpa elöl és hátul.

3. függelék
Világító- és fényjelző berendezések adott típusú oldalkocsis motorkerékpárra történő felszerelésére vonatkozó adatközlő lap
(Az alkatrész-típusjóváhagyási kérelemhez csatolandó, amennyiben ezt a jármű típus-jóváhagyási kérelmétől függetlenül nyújtják be)

4. függelék

VI. MELLÉKLET
MOTOROS TRICIKLIKRE VONATKOZÓ KÖVETELMÉNYEK
1. A motoros tricikliket a következő világító- és fényjelző berendezésekkel kell felszerelni:
1.1. távolsági fényszóró;
1.2. tompított fényszóró;
1.3. irányjelző lámpák;
1.4. féklámpa;
1.5. első helyzetjelző lámpa;
1.6. hátsó helyzetjelző lámpa;
1.7. hátsó rendszámtáblát megvilágító lámpa;
1.8. hátsó nem háromszögletű fényvisszaverő;
1. 9 elakadásjelző.
2. A motoros triciklire felszerelhetők a következő világító- és fényjelző berendezések:
2.1. ködfényszóró;
2.2. hátsó helyzetjelző ködlámpa;
2.3. hátrameneti lámpa;
2.4. oldalsó nem háromszögletű fényvisszaverő.
3. Az 1. és 2. pontban felsorolt világító- és fényjelző berendezések felszerelésének meg kell felelnie a 6. pont vonatkozó rendelkezéseinek.
4. Az 1. és 2. pontban felsoroltakon kívül más világító- és fényjelző berendezések felszerelése nem megengedett.
5. Az 1. és 2. szakaszban említett és az M1 és N1 kategóriájú járművekre a vonatkozó 76/757/EGK, 76/758/EGK, 76/759/EGK, 76/760/EGK, 76/761/EGK, 76/762/EGK, 77/538/EGK vagy 77/539/EGK irányelv alapján típusjóváhagyott világító és fényjelző berendezések használatát motoros tricikliken is meg kell engedni.
6. KÜLÖNLEGES FELSZERELÉSI KÖVETELMÉNYEK
6.1. Távolsági fényszórók
6.1.1. Száma: egy vagy kettő.
Azonban az 1 300 mm-t meghaladó legnagyobb szélességű motoros triciklikre két távolsági fényszóró kötelező.
6.1.2. Elrendezési vázlat: nincs különleges előírás.
6.1.3. Elhelyezés
6.1.3.1. Szélességben:
- egy független távolsági fényszóró felszerelhető egy másik első lámpa fölé, alá vagy mellé. Amennyiben ezek a lámpák egymás fölött vannak, akkor a távolsági fényszóró vonatkozási pontjának a jármű hosszanti középsíkjában kell lenien, ha pedig egymás mellett vannak, akkor vonatkozási pontjaiknak a jármű hosszanti középsíkjára szimmetrikusan kell elhelyezkedniük,
- egy másik első lámpával kölcsönösen egymásba épített távolsági fényszórót úgy kell felszerelni, hogy vonatkozási pontja a jármű hosszanti középsíkjában legyen. Ha azonban a jármű a távolsági fényszóró mellett elhelyezett független tompított fényszóróval is fel van szerelve, ezek vonatkozási pontjainak a jármű hosszanti középsíkjára szimmetrikusan kell elhelyezkedniük,
- két távolsági fényszórót, amelyek közül az egyik vagy mindkettő egy másik első lámpával van kölcsönösen egymásba építve, úgy kell felszerelni, hogy vonatkozási pontjaik a jármű hosszanti középsíkjára szimmetrikusan helyezkedjenek el.
6.1.3. 2 Hosszirányban: a jármű elején. Ez az előírás akkor teljesül, ha a jármű vezetőjét a kisugárzott fény nem zavarja sem közvetlenül, sem közvetetten a visszapillantó tükörből, illetve a jármű egyéb visszaverő felületén tükröződve.
6.1.3.3. Önálló távolsági fényszóró esetén a világítófelület széle és a tompított fényszóró világítófelületének széle közötti távolság nem lehet nagyobb 200 mm-nél.
Két távolsági fényszóró esetén a két világítófelület közötti távolság nem lehet nagyobb 200 mm-nél.
6.1.4. Geometriai láthatóság A világítófelület láthatóságát biztosítani kell egy olyan tartományon belül, amelyet a világítófelület kontúrvonalából kiinduló és a fényszóró vonatkozási tengelyével legalább 5°-os szöget képező alkotók határolnak, még azokban a zónákban is, amelyek a szóban forgó megfigyelési irányban nem tűnnek megvilágítottnak. A geometriai láthatósági szög csúcspontjának a világítófelületnek a távolsági fényszóró lencséjének homokfelületét érintő keresztirányú síkon vett vetületeit kell tekinteni.
6.1.5. Irányítás: előre.
Elfordulhatnak a kormányzási szöggel együtt.
6.1.6. Csoportosítható a tompított fényszóróval és a többi első lámpával.
6.1.7. Más lámpával nem kombinálható.
6.1.8. Kölcsönösen egymásba építhető a következő lámpákkal:
6.1.8.1. tompított fényszóró;
6.1.8.2. első helyzetjelző lámpa;
6.1.8.3. ködfényszóró.
6.1.9. Elektromos kapcsolás A távolsági fényszórók csak egyidejűleg bekapcsolhatók lehetnek. A tompítottról távolsági fényre történő átváltásnál az összes távolsági fényszórónak világítania kell. A távolsági fényről tompítottra történő átváltásnál az összes távolsági fényszórónak egyszerre kell kikapcsolódnia. A tompított fényszórók távolsági fényszórókkal együtt is égve maradhatnak.
6.1.10. Bekapcsolás-visszajelző lámpa: kötelező.
Kék színű, nem villogó visszajelző lámpa.
6.1.11. Egyéb előírások: az egyidejűleg bekapcsolt távolsági fényszórók fényereje nem lehet nagyobb 225 000 candela értéknél (alkatrész-jóváhagyási érték).
6.2. Tompított fényszórók
6.2.1. Száma: egy vagy kettő.
6.2.2. Elrendezési vázlat: nincs különleges előírás.
6.2.3. Elhelyezés
6.2.3.1. Szélességben:
- egy független tompított fényszóró felszerelhető egy másik első lámpa fölé, alá vagy mellé. Amennyiben ezek a lámpák egymás felett vannak, akkor a tompított fényszóró vonatkozási pontjának a jármű hosszanti középsíkjában kell lennie, ha pedig egymás mellett vannak, akkor vonatkozási pontjaiknak a jármű hosszanti középsíkjára szimmetrikusan kell elhelyezkedniük,
- egy másik első lámpával egymásba épített tompított fényszórót úgy kell felszerelni, hogy vonatkozási pontja a jármű hosszanti középsíkjában legyen. Ha azonban a jármű el van látva egy független távolsági fényszóróval is, amely a tompított fényszóró mellett van elhelyezve, akkor vonatkozási pontjaiknak a jármű hosszanti középsíkjára szimmetrikusan kell elhelyezkedniük,
- két tompított fényszórót, amelyek közül az egyik vagy mindkettő egy másik első lámpával van kölcsönösen egymásba építve, úgy kell felszerelni, hogy vonatkozási pontjaik a jármű hosszanti középsíkjára szimmetrikusan helyezkedjenek el.
Két tompított fényszóróval felszerelt jármű esetén:
- a jármű szimmetria-középsíkjától legtávolabb eső világítófelületek szélső élei nem lehetnek 400 mm-nél távolabb a jármű legkülső szélétől,
- a világítófelületek legbelső éleinek egymástól legalább 500 mm-re kell lenniük. Ez a távolság 400 mm-re csökkenthető, ha a jármű szélessége 1 300 mm-nél kevesebb.
6.2.3.2. Magasságban: legalább 500 mm és legfeljebb 1 200 mm a talajszint felett.
6.2.3.3. Hosszirányban: a jármű elején. Ez az előírás akkor teljesül, ha a jármű vezetőjét a kisugárzott fény nem zavarja sem közvetlenül, sem közvetetten a visszapillantó tükörből, illetve a jármű egyéb visszaverő felületén tükröződve.
6.2.4. Geometriai láthatóság
Ezt az I. melléklet A. 10. pontjában megadott α és β szögek határozzák meg:
α = 15° felfelé és 10° lefelé;
β
=
45° balra és jobbra egyetlen tompított fényszóró esetén;
45° kifelé és 10° befelé két tompított fényszóró esetén.
A fényszóró közelében lévő lemezektől és az egyéb alkatrészektől eredő másodlagos hatások nem zavarhatják a többi úthasználót.
6.2.5. Irányítás: előre.
Elfordulhat a kormányzási szöggel együtt.
A tompított fény irányítottságának lefelé - 0,5 % és - 2,5 % között kell lennie, kivéve külső beállítóberendezés esetén.
6.2.6. Csoportosítható a távolsági fényszóróval és más első lámpákkal.
6.2.7. Más lámpával nem kombinálható.
6.2.8. Kölcsönösen egymásba építhető a távolsági fényszóróval és más első lámpákkal.
6.2.9. Elektromos kapcsolás A tompított fényre történő átkapcsoláskor a távolsági fénynek egyidejűleg ki kell aludnia, míg a tompított fény a távolsági fényre kapcsoláskor bekapcsolva maradhat.
6.2.10. Bekapcsolás-visszajelző lámpa: választható.
Zöld színű nem villogó visszajelző lámpa.
6.2.11. Egyéb követelmény: nincs.
6.3. Irányjelző lámpák
6.3.1. Száma: oldalanként kettő.
6.3.2. Elrendezési vázlat: két irányjelző lámpa elől és két irányjelző lámpa hátul.
6.3.3. Elhelyezés
6.3.3.1. Szélességben:
- a világítófelületeknek a jármű hosszanti középsíkjától legtávolabbi szélei 400 mm-nél nem lehetnek távolabb a jármű legkülső szélességi pontjától,
- a világítófelületek belső széleinek egymástól legalább 500 mm távolságra kell lenniük,
- az irányjelző lámpák és a legközelebbi tompított fényszóró között betartandó legkisebb távolság:
-
- 75 mm, ha az irányjelző minimális fényereje 90 cd,
- 40 mm, ha az irányjelző minimális fényereje 175 cd,
- 20 mm, ha az irányjelző minimális fényereje 250 cd,
- ≤ 20 mm, ha az irányjelző minimális fényereje 400 cd.
6.3.3.2. Magasságban: legalább 350 mm és legfeljebb 1 500 mm a talajszint felett.
6.3.4. Geometriai láthatóság
Vízszintes szög: lásd a 2. függeléket.
Függőleges szög: a vízszintestől 15° felfelé és lefelé.
A vízszintes alatti függőleges szög azonban 5°-ra csökkenthető, ha az irányjelző lámpa 750 mm-nél kisebb magasságban van elhelyezve.
6.3.5. Irányítás Az első irányjelző lámpák elfordulhatnak a kormányzási szöggel együtt.
6.3.6. Egy vagy több lámpával csoportosítható.
6.3.7. Más lámpával nem kombinálható.
6.3.8. Nem építhető kölcsönösen egymásba egy másik lámpával.
6.3.9. Elektromos kapcsolás Az irányjelző lámpáknak más lámpáktól függetlenül kell kapcsolódniuk. A jármű azonos oldalán lévő összes irányjelző lámpa ki- és bekapcsolásának ugyanazzal a kapcsolóval kell történnie.
6.3.10. Működés-visszajelző lámpa: kötelező.
Ez lehet optikai vagy akusztikus vagy mindkettő. Ha optikai, akkor minden normál vezetési testtartásból látható zöld villogó fénynek kell lennie. Ennek az egyik irányjelző lámpa üzemzavara esetén ki kell aludnia, vagy villogás nélkül kell folyamatosan égnie, vagy a villogás gyakoriságának kell egyértelműen változni. Ha a visszajelző akusztikusan működik, akkor ennek jól hallhatónak kell lennie, és az optikai működés-visszajelzővel megegyező működési tulajdonságokat kell mutatnia.
6.3.11. Egyéb követelmény
A következő jellemzők mérése során az áramfejlesztő generátor csak a motor és a világítókészülékek működtetéséhez szükséges áramköröket táplálhatja.
6.3.11.1. A villogó jelzés bekapcsolását követően a lámpáknak legfeljebb egy másodperc múlva fel kell gyulladniuk, majd ezt az első lámpa kialvásának legfeljebb másfél másodperc múlva kell követnie.
6.3.11.2. Minden olyan járműnél, amelynek irányjelző lámpái egyenárammal működnek:
6.3.11.2.1. az irányjelzés-frekvencia percenként 90 ± 30;
6.3.11.2.2. a jármű azonos oldalán lévő irányjelző lámpák azonos fázisban és frekvenciával kell villogniuk.
6.3.11.3. Minden olyan járműre, amelynek irányjelző lámpái váltóárammal működnek - ha a motor fordulatszáma a maximális sebességhez tartozó fordulatszám 50 és 100 %-a között van -, a következők vonatkoznak:
6.3.11.3.1. a villogási frekvencia percenként 90 ± 30;
6.3.11.3.2. a jármű azonos oldalán lévő irányjelző lámpák villoghatnak egyidejűleg vagy váltakozva. Az 1. függelékben meghatározott zónákban az első lámpák nem látszódhatnak hátulról, a hátsó lámpák pedig elölről.
6.3.11.4. Minden olyan járműre, amelynek irányjelző lámpái váltóárammal működnek - ha a motor fordulatszáma a gyártó által megadott üresjárati fordulatszám és a maximális sebességhez tartozó fordulatszám 50 %-a között van -, a következők vonatkoznak:
6.3.11.4.1. a villogási frekvenciának a 90 + 30 és a 90 - 45 per perc tartományban kell lennie;
6.3.11.4.2. a jármű azonos oldalán lévő irányjelző lámpák villoghatnak egyidejűleg vagy váltakozva. Az 1. függelékben meghatározott zónákban az első lámpák nem látszódhatnak hátulról, a hátsó lámpák pedig elölről.
6.3.11.5. Az egyik irányjelző lámpa - nem rövidzárlatból eredő - üzemzavara esetén a többi lámpának tovább kell villognia, illetve folyamatosan világítania, azonban az előbbi esetben a villogási frekvencia eltérhet az előírt frekvenciától.
6.4. Féklámpák
6.4.1. Száma: egy vagy kettő.
1 300 mm-t meghaladó legnagyobb szélességű motoros tricikliknél azonban két féklámpa van előírva.
6.4.2. Elrendezési vázlat: nincs különleges előírás.
6.4.3. Elhelyezés
6.4.3.1. Szélességben: a vonatkozási pontnak a jármű hosszanti középsíkjában kell lennie, ha csak egy féklámpa van, két féklámpa esetén ezek vonatkozási pontjainak a jármű hosszanti középsíkjára szimmetrikusan kell elhelyezkedniük.
Két hátsó kerékkel rendelkező járművek esetén: a két lámpa között legalább 600 mm-nek kell lennie. Ez a távolság 400 mm-re csökkenthető, ha a jármű legnagyobb szélessége 1 300 mm-nél kevesebb.
6.4.3.2. Magasságban: legalább 250 mm és legfeljebb 1 500 mm a talajszint felett.
6.4.3.3. Hosszirányban: a jármű hátulján.
6.4.4. Geometriai láthatóság
Vízszintes szög: 45° balra és jobbra.
Függőleges szög: a vízszintestől 15° felfelé és lefelé.
A vízszintes alatti függőleges szög azonban 5°-ra csökkenthető, ha az irányjelző lámpa 750 mm-nél kisebb magasságban van elhelyezve.
6.4.5. Irányítás: hátrafelé.
6.4.6. Csoportosítható egy vagy több hátsó lámpával.
6.4.7. Más lámpával nem kombinálható.
6.4.8. Kölcsönösen egymásba építhető a hátsó helyzetjelző lámpával.
6.4. 9 Elektromos kapcsolás: fel kell gyulladnia, ha legalább az egyik üzemi féket működtetik..
6.4.10. Bekapcsolás-visszajelző lámpa: nem megengedett.
6.5. Első helyzetjelző lámpák
6.5.1. Száma: egy vagy kettő.
1 300 mm-t meghaladó legnagyobb szélességű motoros tricikliknél azonban két első helyzetjelző lámpa van előírva.
6.5.2. Elrendezési vázlat: nincs különleges előírás.
6.5.3. Elhelyezés
6.5.3.1. Szélességben:
- egy független első helyzetjelző lámpa felszerelhető egy másik első lámpa fölé, alá vagy mellé. Amennyiben ezek a lámpák egymás fölött vannak, akkor az első helyzetjelző lámpa vonatkozási pontjának a jármű hosszanti középsíkjában kell lennie, ha pedig egymás mellett vannak, akkor vonatkozási pontjaiknak a jármű hosszanti középsíkjára szimmetrikusan kell elhelyezkedniük,
- egy másik első lámpával kölcsönösen egymásba épített első helyzetjelző lámpát úgy kell felszerelni, hogy vonatkozási pontja a jármű hosszirányú középsíkjában legyen,
- két első helyzetjelző lámpát, amelyek közül az egyik vagy mindkettő egy másik első lámpával van kombinálva, úgy kell elhelyezni, hogy vonatkozási pontjaik a jármű hosszanti középsíkjára szimmetrikusan helyezkedjenek el.
Két első helyzetjelző lámpával ellátott jármű esetén:
- a világítófelületnek a jármű hosszanti középsíkjától legtávolabbi szélei legfeljebb 400 mm-re lehetnek a jármű szélességének legkülső pontjától,
- a világító felületek belső széleinek egymástól legalább 500 mm-re kell lenniük. Ez a távolság 400 mm-re csökkenthető, ha a jármű legnagyobb szélessége 1 300 mm-nél kisebb.
6.5.3.2. Magasságban: legalább 350 mm és legfeljebb 1 200 mm a talaj felett.
6.5.3.3. Hosszirányban: a jármű elején.
6.5.4. Geometriai láthatóság
Vízszintes szög: 80° balra és jobbra, egyetlen helyzetjelző lámpa esetén; 80° kifelé és 45° befelé, ha két helyzetjelző lámpa van.
Függőleges szög: a vízszintestől 15° felfelé és lefelé.
A vízszintes alatti függőleges szög azonban 5°-ra csökkenthető, ha a lámpa 750 mm-nél kisebb magasságban van elhelyezve.
6.5.5. Irányítás: előre.
Elfordulhat a kormányzási szöggel együtt.
6.5.6. Csoportosítható minden más első lámpával.
6.5.7. Kölcsönösen egymásba építhető minden más első lámpával.
6.5.8. Elektromos kapcsolás: nincs különleges előírás.
6.5.9. Bekapcsolás-visszajelző lámpa: kötelező.
Zöld színű, nem villogó visszajelző lámpa; ettől a visszajelzőtől el lehet tekinteni, ha a műszerfal-világítás csak az első helyzetjelző lámpával egyidejűleg kapcsolható be és ki.
6.5.10. Egyéb követelmény: nincs.
6.6. Hátsó helyzetjelző lámpák
6.6.1. Száma: egy vagy kettő.
1 300 mm-t meghaladó legnagyobb szélességű motoros tricikliknél azonban két hátsó helyzetjelző lámpa van előírva.
6.6.2. Elrendezési vázlat: nincs különleges előírás.
6.6.3. Elhelyezés
6.6.3.1. Szélességben: ha csak egy hátsó helyzetjelző lámpa van, ennek vonatkozási pontjának a jármű hosszanti középsíkjában kell lennie, ha pedig két hátsó helyzetjelző lámpa van, ezeknek a jármű hosszanti középsíkjára szimmetrikusan kell elhelyezkedniük. Két hátsó kerékkel rendelkező járművek esetén: a két lámpa közötti távolságnak legalább 600 mm-nek kell lennie. Ez a távolság 400 mm-re csökkenthető, ha a jármű legnagyobb szélessége 1 300 mm-nél kevesebb.
6.6.3.2. Magasságban: legalább 250 mm és legfeljebb 1 500 mm a talajszint felett.
6.6.3.3. Hosszirányban: a jármű hátulján.
6.6.4. Geometriai láthatóság
Vízszintes szög: 80° balra és jobbra, egyetlen helyzetjelző lámpa estén; 80° kifelé és 45° befelé, ha két helyzetjelző lámpa van.
Függőleges szög: a vízszintestől 15° felfelé és lefelé.
A vízszintes alatti függőleges szög azonban 5°-ra csökkenthető, ha az irányjelző lámpa 750 mm-nél kisebb magasságban van elhelyezve.
6.6.5. Irányítás: hátrafelé.
6.6.6. Csoportosítható minden más hátsó lámpával.
6.6.7. Kombinálható a hátsó rendszámtáblát megvilágító lámpával.
6.6.8. Kölcsönösen egymásba építhető a féklámpával vagy a hátsó nem háromszögletű fényvisszaverővel vagy mindkettővel, vagy pedig a hátsó ködlámpával.
6.6.9. Elektromos kapcsolás: nincs különleges előírás.
6.6.10. Bekapcsolás-visszajelző lámpa: választható.
Ezt a funkciót, szükség esetén, az első helyzetjelző lámpához használt berendezés is betöltheti.
6.6.11. Egyéb követelmény: nincs.
6.7. Ködfényszórók
6.7.1. Száma: egy vagy kettő.
6.7.2. Elrendezési vázlat: nincs különleges előírás.
6.7.3. Elhelyezés
6.7.3.1. Szélességben:
- egy ködfényszóró felszerelhető egy másik első lámpa fölé, alá vagy mellé. Amennyiben ezek a lámpák egymás fölött vannak, akkor a ködfényszóró vonatkozási pontjának a jármű hosszanti középsíkjában kell lennie, ha pedig egymás mellett, akkor vonatkozási pontjaiknak a jármű hosszanti középsíkjára szimmetrikusan kell elhelyezkedniük,
- egy másik első lámpával kölcsönösen egymásba épített ködfényszórót úgy kell felszerelni, hogy vonatkozási pontja a jármű hosszanti középsíkjában legyen,
- két ködfényszórót, amelyek közül az egyik vagy mindkettő egy másik első lámpával van kölcsönösen egymásba építve, úgy kell felszerelni, hogy vonatkozási pontjaik a jármű hosszanti középsíkjára szimmetrikusan helyezkedjenek el,
- a világítófelületeknek a jármű hosszanti középsíkjától legtávolabbi szélei legfeljebb 400 mm-re lehetnek a jármű legkülső szélétől.
6.7.3.2. Magasságban: legalább 250 mm a talajszint felett. A világítófelület egyetlen pontja sem lehet a tompított fényszóró világítófelületének legmagasabb pontja felett.
6.7.3.3. Hosszirányban: a jármű elején. Ez az előírás akkor teljesül, ha a kisugárzott fény nem zavarja a vezetőt sem közvetlenül, sem a visszapillantó tükörből, illetve a jármű egyéb visszaverő felületéről.
6.7.4. Geometriai láthatóság
Ezt az I. melléklet A. 10. pontjában megadott α és β szögek határozzák meg:
α = 5° felfelé és lefelé;
β = 45° balra és jobbra egyetlen nem középen elhelyezett lámpa esetén, itt a β szög = 10° befelé.
6.7.5. Irányítás: előre.
Elfordulhat a kormányzási szöggel együtt.
6.7.6. Csoportosítható más első lámpákkal.
6.7.7. Nem kombinálható más első lámpával.
6.7.8. Kölcsönösen egymásba építhető távolsági fényszóróval és első helyzetjelző lámpával.
6.7.9. Elektromos kapcsolás A ködfényszórónak a távolsági fényszórótól vagy a tompított fényszórótól függetlenül be- és kikapcsolhatónak kell lennie.
6.7.10. Bekapcsolás-visszajelző lámpa: választható.
Zöld színű, nem villogó visszajelző lámpa.
6.7.11. Egyéb követelmény: nincs.
6.8. Hátsó helyzetjelző ködlámpák
6.8.1. Száma: egy vagy kettő.
6.8.2. Elrendezési vázlat: nincs különleges előírás.
6.8.3. Elhelyezés
6.8.3.1. Szélességben: ha csak egy hátsó helyzetjelző ködlámpa van, ennek vonatkozási pontjának a jármű hosszanti középsíkjában kell lennie, ha pedig két hátsó helyzetjelző ködlámpa van, ezeknek a jármű hosszanti középsíkjára szimmetrikusan kell elhelyezkedniük. Két hátsó kerékkel rendelkező járművek esetén: a két lámpa közötti távolságnak legalább 600 mm-nek kell lennie. Ez a távolság 400 mm-re csökkenthető, ha a jármű legnagyobb szélessége 1 300 mm-nél kevesebb.
6.8.3.2. Magasságban: legalább 250 mm és legfeljebb 1 000 mm a talajszint felett.
6.8.3.3. Hosszirányban: a jármű hátulján. Ha csak egyetlen hátsó ködlámpa van, ennek a jármű hosszanti középsíkjának a normál haladási iránnyal ellentétes oldalán kell lennie; a vonatkozási pont lehet a jármű hosszanti szimmetriasíkjában is.
6.8.3.4. A hátsó ködlámpa és a féklámpa világítófelülete közötti távolságnak legalább 100 mm-nek lennie.
6.8.4. Geometriai láthatóság
Ezt az I. melléklet A. 10. pontjában megadott α és β szögek határozzák meg:
α = 5° felfelé és lefelé;
β = 25° balra és jobbra.
6.8.5. Irányítás: hátrafelé.
6.8.6. Csoportosítható minden más hátsó lámpával.
6.8.7. Más lámpával nem kombinálható.
6.8.8. Kölcsönösen egymásba építhető a hátsó helyzetjelző lámpával.
6.8.9. Elektromos kapcsolás A lámpa csak akkor éghet, ha a következő lámpák közül is ég valamelyik: a távolsági fényszóró, a tompított fényszóró vagy a ködfényszóró.
6.8.10. Bekapcsolás-visszajelző lámpa: kötelező.
Borostyánsárga színű, nem villogó visszajelző lámpa.
6.8.11. Egyéb követelmény: nincs.
6.9. Hátrameneti lámpák
6.9.1. Száma: egy vagy kettő.
6.9.2. Elrendezési vázlat: nincs különleges előírás.
6.9. 3 Elhelyezés
6.9.3.1. Szélességben: nincs különleges előírás.
6.9.3.2. Magasságban: legalább 250 mm és legfeljebb 1 200 mm a talajszint felett.
6.9.3.3. Hosszirányban: a jármű hátulján.
6.9.4. Geometriai láthatóság
Ezt az I. melléklet A. 10. pontjában megadott α és β szögek határozzák meg:
α = 15° felfelé és 5° lefelé;
β = 45° balra és jobbra, ha csak egyetlen lámpa van;
β = 45° kifelé és befelé 30°, ha két lámpa van.
6.9.5. Irányítás: hátrafelé.
6.9.6. Csoportosítható bármilyen hátsó lámpával.
6.9.7. Nem kombinálható bármilyen más lámpával.
6.9.8. Nem építhető kölcsönösen egymásba másik lámpával.
6.9.9. Elektromos kapcsolás A lámpa csak akkor éghet, ha a sebességváltó hátramenetbe van kapcsolva, és a gyújtáskapcsoló olyan állásban van, hogy a motor működhet.
6.9.10. Bekapcsolás-visszajelző lámpa: választható.
6.10. Elakadásjelző
6.10.1. A 6.3.-6.3.8. pontban foglalt előírások vonatkoznak.
6.10.2. Elektromos kapcsolás Bekapcsolásának egy külön kapcsoló működtetése útján kell történnie, amelyik az irányjelző lámpák egyidejű áramellátását biztosítja.
6.10.3. Bekapcsolás-visszajelző lámpa: kötelező.
Piros színű villogó visszajelző lámpa vagy ennek hiányában: a 6.3.10. pontban előírt visszajelző lámpák egyidejű működése.
6.10.4. Egyéb követelmény
Az elakadásjelző villogási frekvenciája percenként 90 ± 30. Az irányjelző lámpáknak az elakadásjelző bekapcsolását követően legfeljebb egy másodpercen belül fel kell gyulladniuk, majd legalább másfél másodperc múlva kialudniuk.
Az elakadásjelzőnek akkor is bekapcsolhatónak kell lennie, ha a motor indítását, illetve leállítását végző kapcsoló olyan állásban van, amelyben a motor nem járhat.
6.11. Hátsó rendszámtáblát megvilágító lámpa
SZÖVEG HIÁNYZIK |

Kép #5
6.12. Hátsó nem háromszögletű fényvisszaverő
6.12.1. Száma: egy vagy kettő, IA osztályú ( 10 ).
1 000 mm-t meghaladó legnagyobb szélességű motoros tricikliknél azonban két hátsó nem háromszögletű fényvisszaverő van előírva.
6.12.2. Elrendezési vázlat: nincs különleges előírás.
6.12.3. Elhelyezés
6.12.3.1. Szélességben: a vonatkozási pontnak a jármű hosszanti középsíkjában kell lennie, ha csak egy fényvisszaverő van, két fényvisszaverő esetén ezek vonatkozási pontjainak a jármű hosszanti középsíkjára szimmetrikusnak kell lenniük. Két hátsó fényvisszaverővel ellátott jármű esetén a világítófelületnek a jármű hosszanti középsíkjától legtávolabbi széle legfeljebb 400 mm-re lehet a jármű legkülső pontjától. A fényvisszaverők belső szélei közötti távolságnak legalább 500 mm-nek kell lennie.
Ez a távolság 400 mm-re csökkenthető, ha a jármű legnagyobb magassága 1 300 mm-nél kevesebb.
6.12.3.2. Magasságban: legalább 250 mm és legfeljebb 900 mm a talajszint felett.
6.12.3.3. Hosszirányban: a jármű hátulján.
6.12.4. Geometriai láthatóság
Vízszintes szög: 30° balra és jobbra.
Függőleges szög: a vízszintestől 15° felfelé és lefelé. A vízszintes alatti függőleges szög azonban 5°-ra csökkenthető, ha az irányjelző lámpa 750 mm-nél kisebb magasságban van elhelyezve.
6.12.5. Irányítás: hátra.
6.12.6. Csoportosítható minden más lámpával.
6.12.7. Egyéb előírások: a fényvisszaverő világítófelületének lehetnek más piros fényű hátsó lámpával közös részei.
6.13. Oldalsó nem háromszögletű fényvisszaverők
6.13.1. Száma oldalanként: egy vagy kettő IA osztályú (10) .
6.13.2. Elrendezési vázlat: nincs különleges előírás.
6.13.3. Elhelyezés
6.13.3.1. Szélességben: nincs különleges előírás.
6.13.3.2. Magasságban: legalább 300 mm és legfeljebb 900 mm a talajszint felett.
6.13.3.3. Hosszirányban: olyan legyen, hogy a fényvisszaverőt normál körülmények között se a vezető, se utasa, se ezek ruházata ne takarja el.
6.13.4. Geometriai láthatóság
Vízszintes szög: 30° előre és hátra.
Függőleges szög: a vízszintestől 15° felfelé és lefelé.
A vízszintes alatti függőleges szög azonban 5°-ra csökkenthető, ha a fényvisszaverő 750 mm-nél kisebb magasságban van elhelyezve.
6.13.5. Irányítás: A fényvisszaverők vonatkozási tengelyének a jármű hosszanti középsíkjára merőlegesnek kell lennie, és kifelé kell irányulnia. Az elöl lévő fényvisszaverők elfordulhatnak a kormányzási szöggel együtt.
6.13.6. Csoportosítható más fényjelző berendezésekkel.
1. függelék
A piros lámpák elölről és a fehér lámpák hátulról való láthatósága
(Lásd az 1. melléklet B. 9. pontját és ezen a melléklet 6.3.11.3.2. és 6.3.11.4.2. pontját)

1. ábra

2. ábra
2. függelék
Elrendezési vázlat
Irányjelző lámpa - Geometriai láthatóság

3. függelék
Világító- és fényjelző berendezések adott típusú háromkerekű gépjárműre történő felszerelésére vonatkozó adatközlő lap
(Az alkatrész-típusjóváhagyási kérelemhez csatolandó, amennyiben ezt a jármű típus-jóváhagyási kérelmétől függetlenül nyújtják be)

4. függelék

( 1 ) HL L 225., 1992.8.10., 72. o.
( 2 ) HL C 93., 1992.4.13., 39. o.
( 3 ) HL C 305., 1992.11.23., 115. o. és az 1993. október 27-i határozat (Hivatalos Lapban még nem tették közzé).
( 4 ) HL C 313., 1992.11.30., 7. o.
( 5 ) HL L 42., 1970.2.23., 1. o., legutóbb a 92/53/EGK irányelv (HL L 225., 1992.8.10., 1. o.) módosította.
( 6 ) A 76/757/EGK irányelv szerinti osztályozásnak megfelelően.
( 7 ) A 76/757/EGK irányelv szerinti osztályozásának megfelelően.
( 8 ) A 76/757/EGK irányelv szerinti osztályozásnak megfelelően.
( 9 ) A 76/757/EGK irányelv szerinti osztályozásnak megfelelően.
( 10 ) A 76/757/EGK irányelv szerinti osztályozásnak megfelelően.
Lábjegyzetek:
[1] A dokumentum eredetije megtekinthető CELEX: 31993L0092 - https://eur-lex.europa.eu/legal-content/HU/ALL/?uri=CELEX:31993L0092&locale=hu Utolsó elérhető, magyar nyelvű konszolidált változat CELEX: 01993L0092-20001219 - https://eur-lex.europa.eu/legal-content/HU/ALL/?uri=CELEX:01993L0092-20001219&locale=hu